|
|
|
РЕСПУБЛИКАНСКИЕ СТРОИТЕЛЬНЫЕ НОРМЫ ИНЖЕНЕРНЫЕ ИЗЫСКАНИЯ ДЛЯ СТРОИТЕЛЬСТВА. РСН 72-88 Госстрой РСФСР ГОСУДАРСТВЕННЫЙ КОМИТЕТ РСФСР РАЗРАБОТАНЫ научно-производственным объединением по инженерно-строительным изысканиям (НПО «Стройизыскания») Госстроя РСФСР. Руководитель темы И.И. Либман. Исполнители: канд. техн. наук Л.Я. Кельман инж. Т.Н. Кукушкина. ВНЕСЕНЫ НПО «Стройизыскания» Госстроя РСФСР. ПОДГОТОВЛЕНЫ К УТВЕРЖДЕНИЮ Управлением новой техники технического нормирования и типового проектирования Госстроя РСФСР (исполнитель - инж. С.П. Климова). Вводятся впервые. СОДЕРЖАНИЕ
Настоящие Нормы устанавливают технические требования к производству съемок существующих подземных (надземных) коммуникаций и сооружений (инженерных коммуникаций) при инженерно-геодезических изысканиях, выполняемых для строительства новых зданий и сооружений городов, поселков и сельских населенных пунктов, производственных объектов сельскохозяйственного назначения, а также строительства, реконструкции и технического перевооружения промышленных предприятий на территории РСФСР. Требования настоящих Норм не распространяются на съемки инженерных коммуникаций, выполняемые при инженерно-геодезических изысканиях для гидротехнического, энергетического, транспортного, нефтехимического и других специальных видов строительства. Исполнительные съемки законченных строительством подземных инженерных коммуникаций в открытых траншеях входят в комплекс геодезических работ, выполняемых в процессе строительства, и осуществляются в соответствии с требованиями раздела 4 настоящих РСН.
1. ОБЩИЕ ПОЛОЖЕНИЯ1.1. Подземные и надземные коммуникации и сооружения, относящиеся к ним, являются одним из основных элементов содержания инженерно-топографических планов, а также специальных планов инженерных коммуникаций масштабов 1:5000-1:500, используемых для проектирования объектов промышленного, жилищно-гражданского и сельскохозяйственного назначения. Специальные планы создаются по дополнительному требованию заказчика при большой насыщенности инженерно-топографического плана элементами подземных (надземных) коммуникаций и их характеристиками. 1.2. К подземным коммуникациям и сооружениям относятся: трубопроводы, кабельные сети различного назначения, общие коллекторы, тоннели, подземные переходы и другие сооружения, расположенные ниже поверхности земли. 1.3. К надземным коммуникациям и сооружениям относятся коммуникации, расположенные на земле и над поверхностью земли и предназначенные для транспортировки и хранения материалов, жидкостей, газов, энергии: трубопроводы на опорах, воздушные линии электропередач и связи, эстакады, транспортные сооружения промышленных предприятий, станции перекачки, насосные станции, резервуары, фильтры, газгольдеры, водонапорные башни и т.п. 1.4. Инженерно-топографические и специальные планы, отображающие инженерные коммуникации, должны создаваться согласно требованиям действующих нормативных документов, утвержденных или согласованных Госстроем СССР, а также настоящих РСН. 1.5. Степень детализации съемки инженерных коммуникаций определяется стадией и видом проектирования и отражается в техническом задании, которое составляется в соответствии с требованиями СНиП 1.02.07-87 на съемку подземных (надземных) сооружений. 1.6. До производства съемки подземных (надземных) коммуникаций территории населенного пункта или промышленного предприятия на основе технического задания необходимо разработать программу, составляемую в соответствии с требованиями п.2.5 СНиП 1.02.07-87. 2. НАЗНАЧЕНИЕ ПЛАНОВ ИНЖЕНЕРНЫХ КОММУНИКАЦИЙ2.1. Для комплексного проектирования подземных (надземных) сетей и сооружений при разработке генпланов на этапе ТЭО (ТЭР) служат инженерно-топографические и специальные планы инженерных коммуникаций масштабов 1:10000, 1:5000 на площадках нового строительства и масштабов 1:5000, 1:2000 при реконструкции предприятий. При выборе масштаба плана следует руководствоваться указаниями п. 2.24 СНиП 1.02.07-87. Примечания: 1. Планы масштаба 1:10000 используют для территорий с редкой застройкой и малым количеством инженерных коммуникаций. 2 Планы масштаба 1:2000 используют при густой сети инженерных коммуникаций в большом количестве выходов коммуникаций (колодцев) на единицу площади. 3. Масштабы планов для разработки проектов планировки населенных пунктов устанавливаются в соответствии с требованиями ведомственных строительных норм, утвержденных Госгражданстроем. 3.2. Для проектирования инженерных коммуникаций на стадии проекта (рабочего проекта) и стадии рабочей документации при реконструкции и техническом перевооружении промышленных предприятий и при разработке проектов застройки населенных пунктов служат инженерно-топографические и специальные планы масштабов 1:1000 и 1:500 (1:200). Примечание. Для проектирования отдельных участков промышленных предприятий и улиц (проездов, переходов) городов с густой сетью подземных (надземных) коммуникаций допускается составление инженерно-топографических планов в масштабе 1:200, что должно быть указано в техническом задании заказчика и обосновано в программе работ. 3. ТРЕБОВАНИЯ К СОДЕРЖАНИЮ ПЛАНОВ ИНЖЕНЕРНЫХ КОММУНИКАЦИЙ3.1. Инженерно-топографические планы масштабов 1:5000 (1:10000) и 1:2000 в части отображения на них подземных (надземных) коммуникаций носят учетно-справочный характер и дают общее представление о наличии подземных (надземных) коммуникаций, их взаимном расположении, назначении, назначении и основных характеристиках. На планах масштабов 1:1000, 1:500 отражается точное плановое положение и глубина заложения подземных сетей, а также данные, характеризующие подземные (надземные) сооружения. 3.2. На планах масштаба 1:5000 (1:10000) показывают магистральные и распределительные трубные прокладки (с указанием внутреннего диаметра и материала труб), кабельные и воздушные ЛЭП и ЛЭС: по водопроводу - водоводы магистральные диаметром 300 мм и более, водоводы транзитные диаметром 200 мм и более, водоводы технические без ограничений; по канализации - трубопроводы напорные диаметром 200 мм и более, трубопроводы самотечные диаметром 300 мм и более; по водостоку - ливневая канализация без ограничений; по теплосети - магистральные теплопроводы диаметром 100 мм и более (до всех ЦТП); по газовым сетям - газопроводы высокого, среднего и низкого давлений диаметром 100 мм и более, без внутриквартальной разводки; по кабельным линиям - междугородные кабели связи (в том числе транзитные), межстанционные, магистральные радио фидеры, кабельные сети напряжением 1 кв. и более; по воздушным ЛЭП - линии напряжением 35 кВ и более; по тоннелям (общим коллекторам) - все коллекторы с указанием их назначения и сечения (в виде произведения ширины тоннеля на всю его высоту, мм) На планах масштаба 1:5000 показывают опоры линий высокого напряжения, а на незастроенных территориях - поворотные столбы низкого напряжения и связи без указания количества проводов, напряжения и вводов в отдельные здания. Выходы подземных коммуникаций (колодцы, камеры, коверы) показывают только на незастроенных территориях, на углах поворота сетей. На планы масштаба 1:5000 наносят все здания и сооружения, относящиеся к подземным коммуникациям: водозаборные узлы и сооружения, технические водозаборы, очистные сооружения хозяйственно-фекальных стоков и ливневой канализации, котельные, электроподстанции, площадки ГРС, ГРП, ЦТП, АТС, РУС и др. Высоты инженерных сооружений на планы масштаба 1:5000 не наносятся. 3.3. На планах масштаба 1:2000 показывают следующие трубные (с указанием внутреннего диаметра и материала труб), кабельные и воздушные прокладки: по водопроводу - все коммуникации без вводов в отдельные здания; по канализации - все коммуникации без выпусков из зданий; по водостоку и дренажу - все коммуникации без разводки на водоприемные сооружения; по газопроводу - все трубопроводы без вводов в отдельные здания; по теплосети - все коммуникации, идущие от ТЭЦ или котельных, без вводов в здания; по кабельным и воздушным сетям - все сети, все опоры (столбы) линий высокого и низкого напряжения и связи без вводов в отдельные здания. Напряжение в сетях, количество прокладок и число прокладок указывают на планах по дополнительным требованиям. На планах показывают все коллекторы (с указанием сечения), в которых размещены сети разного назначения, выходы подземных коммуникаций. Вводы коммуникаций в здания, высоты люков колодцев, эстакад наносят только по дополнительным требованиям. 3.4. На планах масштабов 1:1000, 1:500 (1:200) обязательному отображению подлежат: плановое положение всех трубопроводов и сооружений с указанием назначения, внутреннего диаметра и материала всех труб; высоты кольца люка колодцев (или его выступающей вверх части при наклонном положении кольца), поверхности земли или покрытия у колодца, верха труб, лотка, верха и низа каналов теплотрасс, траверсов эстакад и опор надземных трубопроводов; кабельные линии; для воздушных ЛЭП и ЛЭС - направления к соседним опорам и зданиям; габариты колодцев и камер, если их размеры в натуре не менее 9 м2 при съемке в масштабе 1:1000, 4 м2 - в масштабе 1:500 и 1 м2 - в масштабе 1:200; внецентренность прокладок в колодцах (камерах) при расстоянии между центром люка и осью прокладки, равном или более 1 мм плана. По дополнительному заданию заказчика на планах указываются: высоты дна колодца, высоты верха и низа блока телефонной канализации, высоты провеса проводов ЛЭП и ЛЭС и др.; диаметр и материал труб вводов в здания, количество проводов ЛЭП и ЛЭС, число кабелей в пучке или канале, марка проводов кабелей, габариты и номера опор и т.п.. Дополнительно, могут быть, указаны и другие характеристики. Методика их определения при необходимости указывается в программе работ. Технические характеристики при большой нагрузке плана разрешается давать с показом на плане номера сооружения в виде ведомостей, экспликаций и т.п. 4. СЪЕМКА
ИНЖЕНЕРНЫХ КОММУНИКАЦИЙ.
|
|||||||||||||||||||||||||||||||||||||||||||||||||||||||||||||||||||||||||||||||||||||||||||||||||||||||||||||||||||||||||||||||||||||||||||||||||||||||||||||||||||||||||||||||||||||||||||||||||||||||||||||||||||||||||||||||||||||||||||||||||||||||||||||||||||||||||||||||||||||||||||||||||||||||||||||||||||||||||||||||||||||||||||||||||||||||||||||||||||||||||||||||||||||||||||||||||||||||||||||||||
|
Схема |
Обозначение трубы по схеме |
Диаметр трубы, мм |
Глубина от обечайки, м |
Отметка лотка, м |
|
|
1 |
2 |
3 |
4 |
5 |
|
|
колодец № 114 |
1 2 |
300 300 |
1,81 1,80 |
147,92 |
|
|
|
Материал труб керам. Отметка обечайки, м 149,73 |
|
|||
|
месторасположение
|
|
||||
|
колодец № 115
|
1 2 3 |
300 150 300 |
1,86 1,85 1,85 |
147,96 |
|
|
Материал труб керам. Отметка обечайки, м 149,82
|
|||||
|
месторасположение
|
|
||||
Сеть: телефонная канализация
|
Схема |
Обозначение трубы по схеме |
Диаметр трубы, мм |
Глубина от обечайки, м |
Отметка в.канала н.канала |
|
|
1 |
2 |
3 |
4 |
5 |
|
|
колодец № 876
|
1 2 |
100 100 |
1,24 0,73 |
148,72 148,62 149,23 149,13 |
|
|
Материал труб асбест. Отметка обечайки, м 149,96
|
|||||
|
месторасположение
|
|
||||
|
колодец № 877
|
1 2 |
100 100 |
0,90 0,95 |
149,00 148,90 148,95 148,85 |
|
|
Материал труб асбест. Отметка обечайки, м 149,90 |
|||||
|
месторасположение
|
|
||||
Сеть: тепловая канальная
|
Схема |
Обозначения по схеме |
Диаметр трубы, мм |
Промеры от дна (м) в.короба н.короба |
Отметка (м) в.короба н.короба |
|
|
1 |
2 |
3 |
4 |
5 |
|
|
колодец № 43
|
1-2 |
2´150 |
0,65 0,35 |
119,83 119,53 |
|
|
|
Материал труб сталь Отметка обечайки, м 120,98 Глубина колодца, м 1,80 Отметка дна, м 119,18
|
|
|||
|
месторасположение
|
|
||||
|
колодец № 44
|
1-2 3 |
2´150 2´100 |
0,65 0,35 0,65 0,40 |
116,97 116,67 116,97 116,72 |
|
|
Материал труб сталь Отметка обечайки, м 118,12 Глубина колодца, м 1,80 Отметка дна, м 116,32 |
|||||
|
месторасположение
|
|
||||
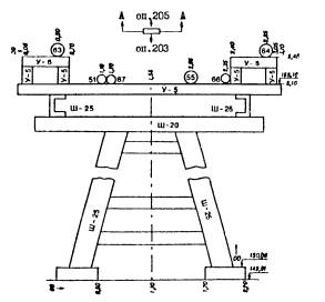
Сеть: водопровод колодец № 73
Разрез по В-Г

План по А-Б

|
№ трубы |
Диаметр, мм |
Глубина от обечайки, м |
Отметка верха трубы, м |
|
1 |
300 |
1,87 |
148,11 |
|
2 |
300 |
1,87 |
148,11 |
|
3 |
100 |
1,97 |
148,01 |
|
4 |
100 |
1,27 |
148,73 |
Материал:
труб чугун
стен колодца кирпич
крышки колодца чугун
Отметка обечайки, м 149,99
Опора 204

|
№ по эскизу |
Назначение |
Диаметр, мм |
|
63 |
прямая вода |
100 |
|
51 |
воздух КИП |
50 |
|
67 |
газ |
50 |
|
55 |
пар |
100 |
|
66 |
сброс конденсата |
50 |
|
64 |
обратная вода |
100 |
Материал: труб - сталь
опоры - сталь
Вклейка 1

Вклейка 2

Вклейка 3
КАТАЛОГ СМОТРОВЫХ КОЛОДЦЕВ ПОДЗЕМНЫХ КОММУНИКАЦИЙ
Объект: водопровод производственный
|
№ |
№ |
№ листа |
Координаты центра люка |
Отметка, м |
Трубы |
Схема |
Приме- |
||||||
|
земли (мощенья) |
обечайки |
лотка |
верха трубы (верха канала) |
дна (низа канала) |
№ трубы |
материал (марка кабеля |
диаметр, мм |
||||||
|
1 |
2 |
3 |
4 |
5 |
6 |
7 |
8 |
9 |
10 |
11 |
12 |
13 |
14 |
|
|
7 |
б |
766,05 510,54 |
149,92 |
149,92 |
|
147,42 |
|
1,2 |
ЧУГ. |
300 |
|
колодец кирпичный 1,6X1,2 |
|
|
8 |
6 |
765,51 536,34 |
149,90 |
149,90 |
|
147,95 |
|
1.2 3 |
ЧУГ. ЧУГ. |
300 100 |
|
колодец железобетонный Æ1,2 |
|
|
9 |
6 |
766,56 571,13 |
149,98 |
149,98 |
|
148,11 |
|
1.2 3 |
ЧУГ. ЧУГ. |
300 100 |
|
колодец железобетонный Æ1,2 |
Вклейка 4
![]()

Экспликация трубопроводов
|
№ по схеме |
Диаметр, мм |
|
|
1 |
Конденсат |
50 |
|
2 |
Обратная вода |
100 |
|
3 |
Прямая вода |
100 |
|
4 |
Пар |
100 |
|
5 |
Диэтиламин |
75 |
|
6 |
Диметиламин |
50 |
|
7 |
Азот |
50 |
|
8 |
Пар |
50 |
|
9 |
Изопропиловый спирт |
50 |
|
10 |
Воздух КИП |
50 |
|
|
. . . . . . . . . . . . |
|
|
12 |
Высшие спирты |
75 |
|
13 |
Сточные воды |
75 |
|
|
. . . . . . . . . . . . |
|
|
22 |
Ксинол (нед) |
75 |
|
|
. . . . . . . . . . . . |
|
|
36 |
Конденсат |
50 |
|
|
. . . . . . . . . . . . |
|
|
51 |
Воздух КИП |
50 |
|
52 |
Обратная вода |
350 |
|
53 |
Прямая вода |
350 |
|
54 |
Пар |
200 |
|
55 |
Пар |
100 |
|
|
. . . . . . . . . . . . |
|
|
59 |
Раствор хлорист. Кальция (рассол) |
150 |
|
60 |
Углекислый газ СО2 (нед) |
50 |
|
|
. . . . . . . . . . . . |
|
|
63 |
Прямая вода |
100 |
|
64 |
Обратная вода |
100 |
|
|
. . . . . . . . . . . . |
|
|
66 |
Сброс конденсата |
50 |
|
67 |
Газ |
50 |
|
Заказ № ________ Объект _______________________ ________________________________________________________ Краткое описание расположения участка согласований: ___________ ________________________________________________________ ________________________________________________________ Номенклатура планшетов: ___________________________________ |
|
№ п/п |
Название служб (организаций) |
Дата, штамп (печать) согласования, пояснительный текст |
|
|
1 |
2 |
3 |
|
|
|
|
|
|
|
|
|
|
|
|
|
|
|
|
|
|
|
|
|
|
|
|
|
|
|
|
|
|
|
|
|
|
|
|
|
|
|
|
|
|
|
|
|
|
|
|
|
|
|
|
Согласование производил: _______________________________ ________________________________________________________ |
|
||
|
ГОСТЫ, СТРОИТЕЛЬНЫЕ и ТЕХНИЧЕСКИЕ НОРМАТИВЫ. Некоммерческая онлайн система, содержащая все Российские Госты, национальные Стандарты и нормативы. В Системе содержится более 150000 файлов нормативно-технической документации, действующей на территории РФ. Система предназначена для широкого круга инженерно-технических специалистов. Copyright © www.gostrf.com, 2008 - 2026 |