Крупнейшая бесплатная информационно-справочная система онлайн доступа к полному собранию технических нормативно-правовых актов РФ. Огромная база технических нормативов (более 150 тысяч документов) и полное собрание национальных стандартов, аутентичное официальной базе Госстандарта. GOSTRF.com - это более 1 Терабайта бесплатной технической информации для всех пользователей интернета. Все электронные копии представленных здесь документов могут распространяться без каких-либо ограничений. Поощряется распространение информации с этого сайта на любых других ресурсах. Каждый человек имеет право на неограниченный доступ к этим документам! Каждый человек имеет право на знание требований, изложенных в данных нормативно-правовых актах!

  


 

ГОСГРАЖДАНСТРОЙ ЛенЗНИИЭП

РЕКОМЕНДАЦИИ

ПО ПРОЕКТИРОВАНИЮ НАРУЖНЫХ СТЕН

ПАНЕЛЬНЫХ ЖИЛЫХ ЗДАНИЙ

ДЛЯ СЕВЕРНОЙ СТРОИТЕЛЬНО-КЛИМАТИЧЕСКОЙ ЗОНЫ

РСН 58-86

Утверждены Государственным комитетом РСФСР

по делам строительства

Постановлением № 42 от 22 апреля 1986 г.

Ленинград 1986

СОДЕРЖАНИЕ

1. ОБЩИЕ ПОЛОЖЕНИЯ.. 2

2. МАТЕРИАЛЫ... 2

2.1.Бетон. 2

2.2. Растворы для монтажных швов и бетоны для замоноличивания стыков. 3

2.3. Арматура. 3

2.4. Утеплители. 4

3. КОНСТРУКЦИИ ПАНЕЛЕЙ И СТЫКОВ.. 4

3.1. Стены.. 4

3.2. Трехслойные панели. 5

3.3. Однослойные панели. 8

3.4. Стыки панелей для массового строительства. 9

3.5. Стыки панелей для экспериментального строительства. 10

3.6. Водо - воздухозащита стыков панелей наружных стен. 11

3.7. Защитные слои и отделка панелей. 13

4. ИЗГОТОВЛЕНИЕ, ПЕРЕВОЗКА И МОНТАЖ ПАНЕЛЕЙ.. 13

5. РАСЧЕТ СТЕН НА НАГРУЗКИ И ВОЗДЕЙСТВИЯ.. 14

5.1. Общие положения расчета. 14

5.2. Расчет прочности, деформативности и трещиностойкости. 14

5.3. Теплофизический расчет. 15

6. РАСЧЕТ ДОЛГОВЕЧНОСТИ НАРУЖНЫХ СТЕН.. 15

6.1. Общие положения расчета. 15

6.2. Расчет нестационарного температурного поля однослойной наружной стены в зимне-весеннее время и летне-осеннем периодах года для прогнозирования ее долговечности без применения ЭВМ    18

6.3. Расчет нестационарного температурного поля трехслойной наружной стены с эффективным утеплителем на зимне-весеннем и летне-осеннем периодах года дли прогнозирования ее долговечности без применения ЭВМ... 20

6.4. Определение характеристик климатической активности района строительства, влияющих на долговечность наружных ограждающих конструкций, при ее прогнозировании без применения ЭВМ    22

Приложение 1. 23

Приложение 2. 24

Приложение 3. 25

Приложение 4. 25

Приложение 5. 34

Приложение 6. 37

Приложение 7. 41

ЛИТЕРАТУРА.. 42

В "Рекомендациях" изложены основные принципы выбора материалов, расчета и конструирования наружных бетонных стен, панелей и их соединений, а также технологические требования к антикоррозионной защите связей и герметизации стыков.

"Рекомендации" разработаны кандидатами техн. наук-Г.В. Косой, А.В. Копацким, Г.М. Зайцевой, инж. И.Н. Сидько, Ю.Ф. Медведевой, В.А. Чуркиной, О.Л. Федотовым (ЛенЗНИИЭП), д-ром техн. наук проф. С.В. Александровским (НИИСФ) и лауреатом Государственной премии Совета Министров СССР, Заслуженным строителем РСФСР А.Н.Вожовым (Госстрой РСФСР).

При этом были использованы материалы НИИЖБа (кандидаты техн. наук Л.И. Карпикова, Б.П. Филиппов), ЦНИИЭП жилища (инженер А.В. Кривакин), СибЗНИИЭПа (инженер А.И. Аронов), Норильского вечернего индустриального института (канд. техн. наук Т.В. Златинская), ЛатНИИ строительства (канд. техн. наук Г.С. Кобринский).

"Рекомендации" предназначены для инженеров проектных организаций и домостроительных предприятий и отражают требования к типовому и экспериментальному проектированию наружных стен полносборных жилых зданий массовой застройки в северной строительно-климатической зоне.

1. ОБЩИЕ ПОЛОЖЕНИЯ

1.1. Настоящие "Рекомендации" разработаны на основании и в развитие СНиП II-3-79* [1], СНиП 2.03.01-84 [2] и ВСН 32-77 [3].

1.2. Рекомендации распространяются на проектирование наружных стен из бетонных материалов для надземных этажей жилых зданий, строящихся в северной строительно-климатической зоне, исключая сейсмические районы.

1.3. Рекомендации предназначены для проектирования стен жилых зданий на основе конструктивных систем с поперечными и продольными несущими стенами, с поперечными несущими стенами, с продольными несущими стенами, высотой не более 9 этажей, однорядной и горизонтальной полосовой разрезки.

1.4. Конструкции стеновых панелей должны отвечать требованиям СНиП II-3-79* [1], СНиП 2.03.01-84 [2], ГОСТ 11024-84 [4] и других нормативных документов.

1.5. Выбор конструкции наружных стен производится с учетом климата района строительства, наличия или возможностей доставки строительных материалов и изделий, имеющейся базы строительной индустрии и технико-экономических показателей вариантов конструктивных решений с целью снижения приведенных затрат, в том числе затрат на отопление.

1.6. Конструкции панелей, их соединений между собой, с перекрытиями и внутренними стенами должны обеспечивать их совместную работу со зданием в условиях температурно-влажностных воздействий и неравномерной осадки основания.

1.7. Стены могут быть несущими или ненесущими. Панели из ячеистого бетона следует проектировать ненесущими.

1.8. Панели стен выполняется однослойными или трехслойными с эффективным утеплителем, с высокой степенью заводской готовности, с учетом требований надежности и унификации конструкций.

1.9. Вновь разрабатываемые типовые проекты зданий должны предусматривать однослойный и трехслойный варианты наружных стен.

1.10. Проектирование стен, панелей и их стыков выполняется на основе теплофизических. расчетов и расчетов по предельным состояниям первой и второй групп, а также расчетов долговечности.

1.11. При выборе типа ограждения предпочтение следует отдавать, при равноценных прочих условиях, более долговечной конструкции, отвечающей требованиям по долговечности раздела 6 настоящих "Рекомендаций".

1.12. Материалы для наружных стен (компоненты бетонной смеси, арматура, арматурные и закладные изделия, отделочные и теплоизоляционные материалы) должны удовлетворять требованиям действующих нормативных документов и раздела 2 настоящих "Рекомендаций".

2. МАТЕРИАЛЫ

2.1.Бетон

2.1.1. Для бетонных слоев трехслойных панелей и для однослойных панелей следует применять бетоны видов, структур и классов или проектных марок по прочности на сжатие, принимаемых, в соответствии с ГОСТ 11024-84 [4]. При этом для трехслойных панелей с жесткими связями следует применять легкие бетоны марок по средней плотности D 1200-D 1500.

2.1.2. Однослойные панели изготавливаются из следующих видов бетонов (в том числе поризованных) на пористых заполнителях: керамзитобетона, шлакопемзобетона, шунгизитобетона, керамзитоперлитобетона, керамзитополистиролбетона, бетона на зольном гравии, а также из ячеистых бетонов вида А.

В качестве мелкого заполнителя следует преимущественно применять пористые пески.

Допускается при технико-экономическом обосновании изготовление панелей из других видов бетонов на местных пористых заполнителях, удовлетворяющих требованиям действующих стандартов и технических условий.

2.1.3. Конструкционно-теплоизоляционные бетоны на пористых заполнителях должны соответствовать требованиям ГОСТ 25820-83 [5], а ячеистые бетоны вида А - ГОСТ 25485-82 [6].

Ячеистый бетон должен приниматься марок по средней плотности: D 600, D 700, D 800, D 900, D 1000.

2.1.4. Тяжелый бетон наружных слоев трехслойных панелей на гибких связях должен соответствовать требованиям ГОСТ 25192-82 [7].

2.1.5. Нормативные и расчетные сопротивления бетонов, а также коэффициенты условий работы принимаются по СНиП 2.03.01-84 [2].

2.1.6. Марку бетона по морозостойкости для панелей наружных стен следует назначать в соответствии с результатами расчета их долговечности по методике, приведенной в разделе 6 настоящих "Рекомендаций". При этом марка бетона по морозостойкости должна быть не менее приведенной в табл. 10 СНиП 2.03.01-84 [2] и в ГОСТ 11024-84 [4].

2.1.7. В пояснительной записке к проектам должны быть учтены положения "Руководства" [8].

2.2. Растворы для монтажных швов и бетоны для замоноличивания стыков

2.2.1. При выборе вида, проектных марок и состава раствора для монтажных швов необходимо учитывать требования СН 290-74 [9].

Замоноличивание стыков следует осуществлять с учетом требований СНиП III-15-76 [10] и СНиП III-16-80 [11].

2.2.2. Рекомендуется применять растворы марок по средней плотности не более D 1600, изготовленные на легких заполнителях (фракция не более 5 мм).

2.2.3. Для заполнения стыков и швов следует применять растворы и бетоны марок по морозостойкости F не ниже принятых для панелей.

2.2.4. Применение бетонов с противоморозными добавками для замоноличивания стыков панелей наружных стен должно осуществляться в соответствии с указаниями "Руководств" [12, 13], "Пособия" [14].

2.2.5. Электропрогрев бетона с противоморозными добавками производится только при температуре воздуха ниже минус 25°С в соответствии с требованиями "Руководства" [15].

2.3. Арматура

2.3.1. Для армирования панелей следует применять арматурную сталь видов и классов, указанных в ГОСТ 11024-84 [4].

При выборе вида и марок арматурной стали должны учитываться температурные условия эксплуатации конструкций и характер их нагружения согласно приложению 1 СНиП 2.03.01-84 [2].

2.3.2. Для гибких связей рекомендуется применять арматурную строительную сталь, указанную в работе [16], с учетом п .2.3.1 и 2.3.7 настоящих "Рекомендаций".

2.3.3. Для закладных деталей, воспринимающих нагрузки при температуре наружного воздуха от -40 до -60°С, следует применять стали в соответствии с табл. 50 СНиП II-23-81 [17].

2.3.4. Монтажные петли должны изготовляться из стали классов и марок, указанных в п. 2.24 СНиП 2.03.01-84 [2], с учетом расчетной зимней температуры при монтаже конструкций.

2.3.5. Сварку арматуры и закладных деталей следует осуществлять в соответствии с СН 393-78 [18].

Типы сварных соединений арматуры должны приниматься с учетом приложений 3 и 4 СНиП 2.03.01-84 [2].

2.3.6. Закладные и накладные металлические детали должны быть защищены от коррозии в соответствии со СНиП II-28-73* [19].

2.3.7. При типовом проектировании защиту от коррозии гибких связей из стали классов АI и AII в панелях с утеплителем из пенопласта полистирольного (ГОСТ 15588-70*) [20] следует предусматривать цинкованием с толщиной слоя покрытия не менее 100 мкм или в соответствии с подпунктами а) и б).

При экспериментальном проектировании защиту от коррозии гибких связей из стали классов АI и AII в средах утеплителей из феноло-резольного пенопласта ФРП-1 (ГОСТ 20916-75) [21], минеральной ваты на синтетическом связующем (ГОСТ 9573-82 [22]) следует предусматривать:

а) покрытием из эпоксидных порошковых композиций П-ЭП-971 (ТУ-6-10-1604-77 [23]), П-ЭП-534 (ТУ-6-10-1090-83 [24]) толщиной не менее 300-350 мкм;

б) комбинированными покрытиями, состоящими из полимерной пленки толщиной 250-300 мкм на основе порошкового полиэтилена высокого ПЭВД (ТУ-6-05-1866.78 [25]) или низкого давления ПЭНД (ГОСТ 16338-77 [26]) по цинковому покрытию толщиной не менее 50 мкм, нанесенному металлизацией или гальваническим способом.

2.3.8. Рекомендуемые защитные покрытия на основе порошковых полимеров должны наноситься в заводских условиях методом электростатического осаждения порошковой полимерной композиции на предварительно очищенную и обезжиренную поверхность гибких связей с последующим оплавлением композиции и охлаждением расплавленного покрытия в соответствии с приложением 1.

2.4. Утеплители

2.4.1. Для утепления трехслойных панелей следует применять эффективные теплоизоляционные материалы с плотностью не более 200 кг/м3.

2.4.2. В качестве наиболее эффективного теплоизоляционного материала для трехслойных панелей наружных стен и для теплопакетов в стыках рекомендуется пенопласт полистирольный ПСБ ми ПСБ-С, отвечающий требованиям ГОСТ 15588-70* [20].

Утеплитель из пенополистирола на торцах панелей должен быть защищен несгораемыми материалами толщиной 25 мм, расположенными либо в панели, либо в стыке между панелями. В качестве таких материалов следует применять: асботкань, асбокартон или слой цементно-песчаного раствора толщиной не менее 25 мм.

2.4.3. В качестве теплоизоляции в трехслойных панелях и для теплопакетов в стыках рекомендуется применять жесткие плиты и блоки из пенопласта на основе резольных формальдегидных смол (ГОСТ 20916-75* [21].

 2.4.4. Допускается применение в качестве утеплителей, в трехслойных панелях и для теплопакетов в стыках, жестких плит из минеральной ваты на синтетическом связующем марки не ниже 125 при условии их соответствия требованиям ГОСТ 9573-82* [22], а также плит минераловатных повышенной жесткости на синтетическом связующем, соответствующих требованиям ГОСТ 22950-78 [27].

3. КОНСТРУКЦИИ ПАНЕЛЕЙ И СТЫКОВ

3.1. Стены

3.1.1. Конструкции стен технических этажей и теплых чердаков принимаются аналогичными конструкциям стен рядовых этажей.

3.1.2. Применение панелей из ячеистого бетона в цокольной части зданий или в технических этажах не допускается.

3.1.3. Разрезка стен температурными и осадочными швами осуществляется в той же плоскости, что и внутренних конструкций.

В зданиях, возводимых на вечномерзлых основаниях, используемых по II принципу, поперечные стены в зоне швов должны иметь конструкцию, аналогичную конструкции наружных стен.

3.1.4. Конструкция торцевых стен должна, как правило, предусматривать опирание на них перекрытий. Допускается в случае необходимости постановка в торцах дополнительных поперечных несущих стен.

3.1.5. В рабочих чертежах элементов наружных крупнопанельных стен должны указываться: вид материала, его плотность и влажность в изделиях при отпуске их с завода, а также его основные характеристики, класс бетона по прочности на сжатие, марка бетона по морозостойкости. Кроме того, должны быть указаны вид, класс и марка стали арматуры и закладных деталей и предусмотрена их защита от коррозии.

3.1.6. С целью экономии стали, в панелях наружных стен рекомендуется применять закладные крепежные и строповочные детали со штампованными полосовыми анкерами, проектирование которых следует осуществлять в соответствии с РСТ Латв. CCP 944-84 [28] и с учетом требований "Пособия" [29].

3.1.7. Все горизонтальные наружные участки стен, выступающие за внешнюю плоскость более чем на 50 мм, а также другие части стен, подверженные прямому воздействию атмосферной влаги (например, подоконные сливы), должны иметь уклон не менее 10%, капельники и оцинкованные металлические окрытия, с выносом не менее 40 мм, обеспечивающие отвод атмосферной влаги от стен и защиту их от увлажнения.

Оцинкованные окрытия, устраиваются на парапетах, подоконниках, за водосточными желобами и лотками, под козырьками, у обрезов цоколя, на балконах, лоджиях, эркерах и т.п.

Подоконные отливы должны иметь по бокам отвороты высотой не менее 50 мм. Высота примыкающей к стене части металлических окрытий, должна быть не менее 50 мм.

3.2. Трехслойные панели

3.2.1. В районах с низкими температурами наружного воздуха наиболее целесообразны трехслойные панели с эффективным утеплителем.

3.2.2. Связь между наружным и внутренним бетонными армированными слоями трехслойных панелей осуществляется либо одиночными металлическими стержнями (гибкие связи), либо обетонированными стальными сварными каркасами, образующими железобетонные ребра (жесткие связи).

Соединение слоев может осуществляться армированными отдельными связями-шпонками из бетона.

3.2.3. Предпочтение следует отдавать панелям с гибкими связями, обеспечивающими свободу температурно-влажностных деформаций наружного железобетонного слоя относительно внутреннего.

3.2.4. Применение трехслойных панелей с жесткими связями между наружным и внутренним слоями допускается только при отсутствии технической возможности применения трехслойных панелей с гибкими связями.

3.2.5. По конструктивному решению трехслойные панели выполняются однорядной разрезки.

3.2.6. С целью обеспечения наиболее благоприятных санитарно-гигиенических условий жилища, улучшения влажностного режима конструкций стен трехслойные панели предпочтительно изготавливать из бетона на пористых заполнителях.

3.2.7. Толщина панели и ее слоев принимается на основании теплотехнического расчета и расчета на прочность и раскрытие трещин, но не менее значений, оговоренных ГОСТ 11024-84 [4].

3.2.8. Сопротивление паропроницанию внутреннего слоя трехслойной панели должно быть больше, чем наружного, не менее чем на 20 %.

3.2.9. Ориентировочные значения сопротивления теплопередаче трехслойных панелей в зависимости от их конструкции и условий эксплуатации приведены в табл. 1 и 2. Требуемое и экономически целесообразное сопротивление теплопередаче в зависимости от расчетных температур наружного воздуха приведено в табл. 3.

Таблица 1

Сопротивление теплопередаче трехслойных наружных стен Rо в условиях эксплуатации А

Сечение трехслойной панели, мм

Материал наружного

и внутреннего слоев панели

Расчетный коэффициент

теплопроводности бетонных слоев

l, Вт/(м×°С)

Материал

слоя утеплителя

Расчетный коэффициент

теплопроводности слоя утеплителя

l, Вт/(м×°С)

Сопротивление

теплопередаче Ro, м2×°С/Вт

наружного слоя

слоя утеплителя

внутреннего слоя

65

135

100

Тяжелый бетон

D 2500

1,92

Пенополистирол (gо=40 кг/м3)

0,041

3,56

Резольно-фенолформальдегидный пенопласт (gо=75 кг/м3)

0,050

2,97

Жесткие плиты из минеральной ваты (gо=200 кг/м3)

0,076

2,04

80

120

100

Легкий бетон

на пористых заполнителях

D 1400

0,56

Пенополистирол
(
gо=40 кг/м3)

0,041

3,43

Резольно-фенол­формальдегидный пенопласт (gо=75 кг/м3)

0,050

2,90

Жесткие плиты из минеральной ваты (gо=200 кг/м3)

0,076

2,08

Таблица 2

Сопротивление теплопередаче трехслойных наружных стен Rо в условиях эксплуатации Б

Сечение трехслойной панели, мм

Материал наружного

и внутреннего слоев панели

Расчетный коэффициент

теплопроводности бетонных слоев l,

Вт/(м×°С)

Материал

слоя утеплителя

Расчетный коэффициент

теплопроводности слоя утеплителя l, Вт/(м×°С)

Сопротивление

теплопередаче Ro, м2×°С/Вт

наружного слоя

слоя утеплителя

внутреннего слоя

65

135

100

Тяжелый бетон

D 2500

2,04

Пенополистирол (gо=40 кг/м3)

0,05

2,96

Резольно-фенол­формальдегидный пенопласт (gо=75 кг/м3)

0,07

2,19

Жесткие плиты из минеральной ваты

(gо=200 кг/м3)

0,08

1,95

80

120

100

Легкий бетон

на пористых заполнителях

D 1400

0,65

Пенополистирол
(gо=40 кг/м3)

0,05

2,86

Резольно-фенол­формальдегидный пенопласт

(gо=75 кг/м3)

0,07

2,17

Жесткие плиты из минеральной ваты

(gо=200 кг/м3)

0,08

1,96

Таблица 3

Сопротивления теплопередаче  и  трехслойных наружных стен с гибкими связями

Расчетная

температура

наружного воздуха

Сопротивления теплопередаче, м2×°С/Вт

требуемое

экономически

целесообразное

-35

-40

-45

-50

-55

-60

1,05

1,15

1,24

1,34

1,44

1,53

1,57

1,72

1,86

2,01

2,16

2,30

3.2.10. По периметру трехслойных панелей с гибкими связями следует делать утолщение с наружной или внутренней стороны наружного слоя с целью образования профиля, необходимого для размещения в монтажных швах герметизирующих и уплотняющих материалов.

Предпочтение следует отдавать утолщениям с наружной стороны (рис. 1) для сохранения одинаковой толщины утеплителя по всей плоскости стены и соответственно для обеспечения равного сопротивления теплопередаче стен по полю панели и в зоне стыков, для защиты вертикальных и горизонтальных стыков от затекания воды с поверхности панели, а также для упрощения технологии формования панелей "лицом вниз".

3.2.11. Армирование трехслойных панелей осуществляется, в соответствии с расчетом, каркасами, расположенными по контуру панели и проемов во внутреннем слое, и сетками, расположенными у наружных и внутренних поверхностей соответствующих слоев.

3.2.12. В зоне углов оконных и дверных проемов на участках панелей шириной 300 мм размер ячеек сеток рекомендуется принимать вдвое меньшим, чем по полю панелей, или укладывать в этих местах дополнительные сетки.

3.2.13. Конструкции гибких связей и их сечения следует принимать в соответствии с "Рекомендациями" [30].

Гибкие связи трехслойных панелей могут устанавливаться отдельно или в виде элементов каркасов.

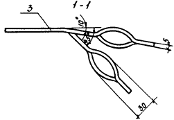
Рис 1. Стыки трехслойных панелей наружных стен с ребрами наружу:

а - вертикальный стык; 6 - горизонтальный стык

1 - панель наружной стены; 2 - панель внутренней стены; 3 - теплоизоляционный вкладыш; 4 - бетон; 5 - оклеечная воздухоизоляция; 6 - уплотняющая прокладка; 7 - герметизирующая мастика; 8 - панель перекрытия; 9 - цементно-песчаный раствор

3.2.14. Соединение элементов гибких связей трехслойных панелей с каркасами следует осуществлять вязальной проволокой или электросваркой - в случае применения связей из нержавеющих сталей, не требующих антикоррозионных покрытий.

3.2.15. Подъемные петли в трехслойных панелях с гибкими связями рекомендуется располагать во внутреннем бетонном слое. Анкерующие крюки подъемных петель должны быть развернуты в плоскости бетонных слоев и соединены с арматурой этих слоев.

3.2.16. Выпуски стержней и закладные детали для устройства связей в стыках трехслойных панелей должны размещаться во внутреннем слое панелей.

3.2.17. Бетонные ребра панелей с жесткими связями должны обеспечивать защиту арматуры от коррозии и быть толщиной не менее 50 мм.

3.2.18. Трехслойные панели с местными связями (шпонками) рекомендуется выполнять из двух ребристых железобетонных слоев с взаимно перпендикулярными ребрами и заключенных между ними двух слоев плитного утеплителя (рис.2) [65].

Внутренний несущий железобетонный слой проектируется с вертикальными ребрами, наружный железобетонный слой - с горизонтальными.

Места пересечения вертикальных и горизонтальных ребер армируются для образования шпонки размером не менее 60´60 мм, соединяющей внутренний и наружный слои.

                        Фасад                      Вид с внутренней стороны

Рис. 2. Трехслойная панель со шпонками в местах пересечения ребер наружного и внутреннего слоев:

1 - сетка наружного слоя; 2 - сетка внутреннего слоя; 3 - каркас ребра; 4 - арматура шпонки; 5 - утеплитель

3.2.19. Теплоизоляционные плиты или блоки должны быть расположены в один или несколько слоев плотно друг к другу. При их расположении в несколько слоев, они должны быть уложены со смещением швов в смежных слоях на величину не менее их толщины.

3.2.20. Влагоемкие утеплители должны быть защищены от увлажнения водонепроницаемой пленкой в процессе изготовления и при транспортировании панелей.

3.2.21. В трехслойных панелях с утеплителем, не защищенным в торцах от проникновения воздуха бетонными ребрами, должна быть предусмотрена воздухоизоляция верхней и нижней горизонтальных граней панелей, осуществляемая путем оклейки воздухо-защитными лентами. Воздухоизоляция вертикальных торцевых граней таких панелей обеспечивается с помощью оклеечной изоляции в стыках.

3.3. Однослойные панели

3.3.1. По конструктивному решению однослойные панели из легкого бетона выполняются цельными однорядной разрезки или горизонтальной полосовой разрезки, из автоклавного ячеистого бетона - однорядной разрезки и горизонтальной полосовой разрезки цельными или составными.

Укрупнительную сборку составных панелей из поясных элементов и простенков следует производить в соответствии с "Руководством" [3l].

3.3.2. Рекомендуемые толщины однослойных панелей в зависимости от применяемых материалов для различных условий эксплуатации приведены в табл. 4 и 5.

Таблица 4

Рекомендуемые толщины однослойных панелей наружных стен для условий эксплуатации

А, мм

Расчетная температура наружного воздуха

tн , °С

Ячеистый бетон

D 600

l = 0,22 Вт/(м×°С)

Ячеистый бетон

D 700

l = 0,28 Вт/(м×°С)

Ячеистый бетон

D 1000

l = 0,3 Вт/(м×°С)

Керамзитополистиролбетон

D 900

l = 0,32 Вт/(м×°С)

Ячеистый бетон

D 800

l = 0,33 Вт/(м×°С)

Перлитобетон

D 1000

Шунгизитобетон

D 1000

Керамзитобетон на керамзитовом песке

D 1000

l = 0,33 Вт/(м×°С)

Керамзитобетон на перлитовом песке

D 1000

l = 0,35 Вт/(м×°С)

Бетон на зольном гравии D 1200

Керамзитобетон на кварцевом песке

D 1000

l = 0,41 Вт/(м×°С)

Шунгизитобетон

D 1200

Керамзитобетон на керамзитовом песке

D 1200

l = 0,44 Вт/(м×°С)

-35

300

350

300

350

400

350

350

450

450

-40

300

400

350

350

450

400

400

450

-

-45

350

400

400

400

-

400

450

-

-

-50

350

450

450

450

-

450

450

-

-

-55

400

-

450

450

-

-

-

-

-

-60

400

-

-

-

-

-

-

-

-

Таблица 5

Рекомендуемые толщины однослойных панелей наружных стен для условий эксплуатации Б, мм

Расчетная температура воздуха tн, °С

Ячеистый бетон

D 600

l =0,26 Вт/(м°С)

Ячеистый бетон

D 700

l =0,32 Вт/(м°С)

Ячеистый бетон

D 1000

l =0,35 Вт/(м°С)

Ячеистый бетон

D 800

l =0,37 Вт/(м°С)

Шунгизитобетон

D 1000 Перлитобетон

D 1000

l =0,38 Вт/(м°С)

Керамзитобетон на керамзитовом и перлитовом песке

D 1000

l =0,41 Вт/(м°С)

-35

350

400

350

450

400

450

-40

350

450

400

-

450

450

-45

400

450

450

-

450

-

-50

450

-

450

-

-

-

-55

450

-

-

-

-

-

3.3.3. Армирование однослойных панелей из легкого бетона осуществляется в соответствии с расчетом или конструктивно каркасами, расположенными по контуру панелей и окон. Перемычки армируются пространственными каркасами.

В углах оконных и дверных проемов с фасадной стороны необходимо устанавливать Г-образные сварные сетки с ячейками 50´50 мм, заводя их за грани углов проемов на 300 мм.

3.3.4. Закладные элементы в панелях из ячеистого бетона, следует устанавливать в изделия до термообработки или замоноличивать в полости, рассверленные после термовлажностной обработки изделий, или крепить винтовыми анкерами с редкой и глубокой нарезкой.

3.3.5. Арматура и закладные детали в панелях из ячеистого бетона должны быть защищены от коррозии.

3.4. Стыки панелей для массового строительства

3.4.1. Стыки наружных стен должны удовлетворять требованиям прочности, долговечности, тепло - и звукоизоляции и быть воздухо - и влагонепроницаемыми. Закладные детали и соединительные элементы должны быть расположены таким образом, чтобы исключалась возможность их разрушения от коррозии в течение общего срока службы здания.

3.4.2. Стыки однослойных и трехслойных панелей наружных стен следует осуществлять с обязательной установкой теплоизоляционных вкладышей из эффективных материалов и заливкой полости стыков бетоном или раствором с противоморозными добавками.

3.4.3. Соединение панелей осуществляется путем сварки закладных деталей, расположенных вне зоны замоноличиваемой полости стыка, а также установки соединительных скоб в петлевые выпуски панелей (рис. 3) или в штампованные закладные детали (рис. 4) с последующим их бетонированием. Все металлические соединения защищаются слоем цементного раствора.

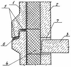
Рис. 3. Стык трехслойных панелей наружных стен с гибкими связями, с петлевыми выпусками, заполненный бетоном и термовкладышем:

1 - панель наружной стены; 2 - панель внутренней стены; 3 - бетон; 4 - теплоизоляционный вкладыш; 5 - арматурные выпуски с монтажными диафрагмами; 6 - соединительные детали; 7 - несгораемый утеплитель

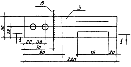
Рис.4. Стык однослойных панелей наружных стен со штампованными закладными деталями:

1 - панель наружной стены; 2 - панель внутренней стены; 3 - штампованная закладная деталь; 4 - соединительная деталь; 5 - бетон; 6 - уровень поверхности бетона

3.4.4. Установка теплоизоляционных вкладышей в полость стыка должна производиться после монтажа смежных панелей наружных стен и приклейки воздухо-защитной пленки, перед установкой панели внутренней стены.

3.4.5. Конструкция узлов соединения трехслойных панелей наружных стен с перекрытиями должна обеспечивать передачу вертикальных нагрузок на внутренний бетонный слой панели шириной не менее 100 мм.

3.4.6. Горизонтальный стык однослойных и трехслойных панелей наружных стен из легкого или тяжелого бетонов следует проектировать с противодождевым барьером и с укладкой тепло пакета в уровне перекрытия. Высота противодождевого барьера должна приниматься не менее высоты подъема водяного столба, эквивалентного скоростному нормативному напору ветра и не менее 80 мм (рис. 1,б).

3.4.7. Для применения в сухой зоне, а также в районах Севера, где ветровой напор (с учетом повышающего коэффициента, учитывающего высоту здания) не превышает 60 кгс/м2, разрешается горизонтальные стыки выполнять без противодождевого барьера, но с декомпрессионной камерой в виде треугольной выемки высотой 60 мм в вышестоящей панели (рис. 5) [50].

Рис. 5. Горизонтальный стык панелей наружных стен с декомпрессионной камерой:

1 - панель наружной стены; 2 - панель перекрытия; 3 - цементно-песчаный раствор; 4 - декомпрессионная камера

3.5. Стыки панелей для экспериментального строительства

3.5.1. При экспериментальном строительстве вертикальные стыки рекомендуется выполнять "сухими" или с заполнением полости стыков заливочным пенопластом.

3.5.2. При заполнении полости стыков заливочным пенопластом соединение панелей наружных и внутренних стен следует осуществлять с помощью сварки металлических закладных и накладных деталей, расположенных вне зоны пенопласта (рис. 6). Заливка пенопласта производится в "чулок" из синтетической пленки во избежание растекания заливочной композиции.

Рис. 6. Стык трехслойных панелей наружных стен с гибкими связями, заполненный заливочным пенопластом:

а - в уровне верха панели; б - в уровне низа панели

1 - панель наружной стены; 2 - панель внутренней стены; 3 - заливочный пенопласт; 4 - оклеечная воздухоизоляция; 5 - закладная деталь; 6 - соединительная накладная деталь; 7 - несгораемый утеплитель; 8 - цементно-песчаный раствор

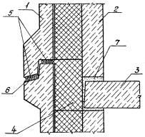
3.5.3. Рекомендуется применять "сухие" стыки "внахлестку" с заведением концов панелей наружных стен смежных пролетов друг за друга (рис. 7). Соединение панелей наружных и внутренних стен при этом может осуществляться с помощью электросварки или накладок, прикрепленных болтами к гайкам, приваренным к закладным деталям.

Рис. 7. "Сухой" стык панелей наружных стен внахлест:

1 - панель наружной стены; 2 - панель внутренней стены; 3 - пакля, смоченная в гипсовом растворе; 4 - гипсовый раствор; 5 -уплотняющая прокладка; 6 - герметизирующая мастика; 7 - закладная деталь; 8 - накладная соединительная деталь

3.5.4. Для обеспечения сохранности противодождевого барьера и повышения воздухо-защитных свойств горизонтального стыка целесообразно выполнять его лабиринтным, располагая нижнюю грань "зуба" в одном уровне с горизонтальной плоскостью внутреннего, несущего слоя панели (рис. 8) или выше его [63].

Рис.8. Лабиринтный горизонтальный стык трехслойных панелей наружных стен с гибкими связями:

1 - наружный слой; 2 - внутренний слой; 3 - панель перекрытия; 4 - теплоизоляционный вкладыш; 5 - уплотняющая прокладка; 6 - герметизирующая мастика; 7 - цементно-песчаный раствор

3.6. Водо - воздухозащита стыков панелей наружных стен

3.6.1. Стыки между панелями наружных стен следует применять закрытого типа.

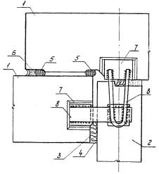
3.6.2. В снегозаносимых районах (при объеме снегопереноса более 400 м3/м, см. рис.1 СНиП 2.01.01-82 [32] и во влажной зоне (см. приложение 1 СНиП II-3-79* [l]) рекомендуется применять стыки панелей "внахлестку" (рис. 7) или стыки с нащельниками (рис. 9).Нащельники могут быть изготовлены из алюминия и алюминиевых сплавов (ГОСТ 24767-81 [33]).

Узел А

Рис. 9. Стык трехслойных стеновых панелей с нащельником:

1 - панель наружной стены; 2 - панель внутренней стены; 3 - бетон; 4 - арматурные выпуски; 5 - соединительные детали; 6 - теплоизоляционный вкладыш; 7- оклеечная воздухоизоляция; 8 - нащельник; 9 - мастика; 10 - герметик; 11 - шпилька с резьбой; 12 - упорная планка

3.6.3. Водо - и воздухоизоляция стыков обеспечивается герметизацией устья стыка мастикой "Тегерон" (ТУ 21-29-87-82 [34]) на основе бутилкаучуков по упругой прокладке "Бутапор" (ТУ-550-2-123-80 [35]) или других морозостойких прокладок (ГОСТ 19177-81 [36]). При этом на чертежах следует указывать на необходимость применения грунтов КН-2 (ГОСТ 24064-80 [37]) или 51-Г-18 для покрытия поверхности стыка, а также подосновы из "Бутапора" перед нанесением мастики. Герметизация устья стыков производится в соответствии с "Рекомендациями" [38] и приложением 3 настоящих "Рекомендаций".

3.6.4. Допускается применение мастики "Эластосил 11-06" (ТУ 6-02-775-76 [39]) и уплотняющих прокладок "Вилатерм-С" (ТУ 6-05-221-653-84 [40]).

3.6.5. Рекомендуется применение двухступенчатой герметизации, при которой уплотняющие прокладки заводятся не только снаружи, в устье стыка, но также устанавливаются во внутренней зоне стыка: в горизонтальных стыках - по верху противодождевого гребня; в вертикальных стыках однослойных панелей - в монтажном шве непосредственно за воздухо-защитной лентой; в вертикальных стыках трехслойных панелей - в монтажных швах между внутренним слоем наружных стен и боковыми гранями поперечных внутренних стен.

Пористые прокладки, устанавливаемые изнутри помещений, обеспечивают дополнительную защиту от инфильтрации воздуха к защиту стыка от проникновения пара из помещения.

3.6.6. В колодцах вертикальных стыков следует устраивать оклеечную воздухоизоляцию с внутренней стороны устья воздухо-защитными лентами "Герлен" (ТУ 400-1-165-79 [41]); "Герволент" (ТУ 21-29-46-76 [42]) или "Ликален" (ТУ 21-29-88-80 [43]).

3.6.7. Защитное покрытие мастики в стыках снаружи следует предусматривать из полимерцементного состава или краски ПХВ.

3.6.8. Указания по герметизации швов панелей наружных стен в проектах следует давать дифференцированно в зависимости от расчетных температур наружного воздуха.

3.6.9. Указания по герметизации стыков в проектах должны быть составлены с учетом "Инструктивного письма" [44].

3.6.10. Герметизация мест примыкания оконных и дверных блоков к элементам стен производится мастикой "Тегерон".

3.7. Защитные слои и отделка панелей

3.7.1. Отделка многослойных и однослойных панелей, формуемых в горизонтальном положении, должна производиться в соответствии с ВСН 66-89-76 [45] и ГОСТ 11024-84 [4].

3.7.2. Однослойные и многослойные панели должны иметь защитные слои надлежащей долговечности. Их марка по морозостойкости должна быть на одну ступень выше, чем материал стены, но не ниже F 50.

3.7.3. Класс или марка бетона и раствора наружного защитно-декоративного слоя по прочности на сжатие должны быть: для однослойных панелей из легкого бетона - В 7,5 или М 100, для сплошных трехслойных панелей - равными классу или марке бетона наружного слоя панели или отличающимися от них не более, чем на одну ступень, но не ниже В 7,5 или М 100 и не выше В 15 или М 200.

3.7.4. Отделка осуществляется долговечными паропроницаемыми декоративными покрытиями, выбираемыми с учетом возможностей базы стройиндустрии, а именно: цветными поризованными бетонами и растворами, бетонами на пористых заполнителях с вскрытием их замедлителями твердения, каменными дроблеными материалами, нанесенными по свежеуложенному раствору или по клеющей подложке, а также пневматическим нанесением полимерцементных или полимер минеральных паст.

3.7.5. Адгезия отделочных покрытий должна составлять не менее 0,7 МПа.

3.7.6. Стеновые панели из ячеистого бетона должны иметь долговечные наружные защитно-декоративные слои из эластичных паропроницаемых материалов. При выборе наружной отделки таких панелей следует учитывать СН 277-80 [46].

3.7.7. Применение различных видов отделки панелей наружных стен следует осуществлять в соответствии с приложением 2.

4. ИЗГОТОВЛЕНИЕ, ПЕРЕВОЗКА И МОНТАЖ ПАНЕЛЕЙ

4.1. Составы бетонов, режимы тепловой или автоклавной обработки изделий и последующих операций с ними на заводах должны выбираться с учетом ограничения образования и раскрытия технологических трещин в панелях.

4.2. Формование панелей может осуществляться как лицевой поверхностью вниз, так и вверх. Однако предпочтение следует отдавать изготовлению панелей лицевой поверхностью вниз для получения более долговечного наружного слоя и повышения качества фасадной поверхности изделий.

4.3. На заводах должен соблюдаться строгий контроль за качеством изделия в соответствии с требованиями ГОСТ 11024-84 [4] и ГОСТ 8829-85 [47]. Должны соблюдаться правила хранения и транспортирования изделий в соответствии с требованиями ГОСТ 13015.0-83 [48]. Не допускается глубокая разделка трещин под затирку раствором.

4.4. При изготовлении трехслойных панелей с гибкими связями их подъем из горизонтального в вертикальное положение рекомендуется производить с помощью кантователя.

4.5. Транспортные средства для перевозок панелей должны быть соответствующим образом оборудованы для обеспечения их сохранности при перевозках.

4.6. Транспортировка и хранение панелей должны производиться в вертикальном положении, в закрепленном состоянии с зазором между панелями не менее 10 см и на необходимом числе (не менее трех) упругих прокладок.

4.7. При транспортировке и складировании панели должны быть защищены от увлажнения.

4.8. Монтаж крупнопанельных стен при температуре наружного воздуха ниже минус 50°С не допускается.

4.9. При производстве монтажных работ в зимних условиях для заделки швов и стыков панелей наружных стен рекомендуется применение растворов с начальной подвижностью, соответствующей хорошей водоудерживающей способности.

Каждый стык должен быть замоноличен без перерывов во времени.

4.10. Необходимо исключать превышения ширины растворных швов в стыках над проектной шириной, неравномерное нанесение растворного слоя и применение частично затвердевших или промороженных растворов.

4.11. При монтаже стен должны применяться ограничители, гарантирующие минимальную ширину стыка, требуемую для заполнения его герметиком. В процессе строительства должен соблюдаться строгий контроль за качеством герметика.

Допуск ширины монтажных швов между стеновыми панелями следует назначать в соответствии с расчетом по методике ГОСТ 21780-83 (СТ СЭВ 3740-82) [49].

4.12. Монтаж стен должен осуществляться с учетом требований СНиП III-16-80 [50].

4.13. При монтаже стен антикоррозионная защита стальных соединительных элементов должна осуществляться с учетом положений СНиП III-3-76 [51]

5. РАСЧЕТ СТЕН НА НАГРУЗКИ И ВОЗДЕЙСТВИЯ

5.1. Общие положения расчета

5.1.1. При проектировании стен должны быть произведены: теплофизический расчет, расчет на все виды нагрузок и воздействий с учетом их работы в системе здания.

5.1.2. Значения нагрузок и параметры воздействий, значения коэффициентов перегрузок, коэффициентов сочетаний, а также подразделение нагрузок и воздействий на постоянные и временные (длительные, кратковременные, особые) должны приниматься в соответствии с требованиями СНиП II-6-74 [52].

5.2. Расчет прочности, деформативности и трещиностойкости

5.2.1. При расчете на нагрузки учитываются все статические и динамические усилия, возникающие в панелях на стадии их изготовления, транспортирования, монтажа и эксплуатации.

5.2.2. Расчет стены в системе элементов здания выполняется на температурно-влажностные воздействия, неравномерную осадку здания при строительстве на вечномерзлых грунтах по II принципу их использования и на ветровые нагрузки.

Постоянные нагрузки собственной массы стен и опирающихся на них перекрытий и покрытий, временные нагрузки на перекрытия (масса мебели, перегородок, людей) и покрытия (масса снегового покрова) определяются без учета взаимодействия панелей стен с другими элементами здания.

5.2.3. Расчет стен на температурно-влажностные воздействия выполняется в соответствии с "Рекомендациями" [53].

Расчет выполняется для двух стадий: монтажной и эксплуатационной. Определение температурных усилий на стадии монтажа следует выполнять с учетом изменения расчетной схемы стены вследствие ее наращивания.

5.2.4. Проверку величин усилий в сварных стыках и ширины раскрытия трещин в бетоне панелей, а также проверку величин температурных деформаций и ширины раскрытия трещин вертикальных стыков между панелями следует осуществлять в соответствии с "Рекомендациями" [54]. При этом расчет температурных деформаций вертикальных стыков между стеновыми панелями производится для зоны герметизации и зоны замоноличивания.

5.2.5. Расчет усилий в стенах, вызванных неравномерной осадкой зданий, расположенных на оттаивающих вечномерзлых основаниях, производится в соответствии с рекомендациями "Руководства" [55].

5.2.6. Расчет наружных стен на ветровые воздействия выполняется только для жилых зданий точечного типа. При этом наружные стены рассматриваются как диафрагмы, жестко соединенные с перекрытиями.

5.2.7. Расчет стен в системе здания рекомендуется выполнять по программам:

"STEP" (ЛенЗНИИЭП) - на температурные воздействия;

АПЖБК (НИИАС) и ИТ-К-51 (ЛенЗНИИЭП) - на неравномерные осадки оттаивающего основания;

"Парад-ЕС" (ЦНИИЭПжилища) и ИТ-К-4В (ЛенЗНИИЭП) - на ветровые воздействия.

5.2.8. Расчет стен следует производить по методикам, содержащимся в ВСН 32-77 [3] и "Рекомендациях" [30].

5.2.9. При расчете панели в своей плоскости ее расчетная модель принимается в виде рамы.

5.2.10. Расчет элементов панели (простенков, перемычек), ее связей и стыков по предельным состояниям первой и второй групп осуществляется в соответствии с требованиями СНиП 2.03.01-84 [2] и с учетом рекомендаций BCH 32-77 [3].

5.2.11. При расчете панелей на усилия, возникающие при подъеме, транспортировании и монтаже, собственную массу элемента следует вводить в расчет с коэффициентом динамичности, равным при транспортировании 1,8; при подъеме и монтаже - 1,5; при этом коэффициент перегрузки к собственной массе элемента не вводится.

5.2.12. Расчет трехслойных панелей с жесткими связями должен производиться с учетом совместной работы внутреннего и наружного железобетонных слоев. При этом должна быть проверена прочность и трещиностойкость этих слоев.

Проверку прочности внутреннего наиболее нагруженного слоя допускается производить без учета его совместной работы с наружным слоем.

5.2.13. Расчет закладных деталей производится с учетом требований СНиП 2.03.01-84 [2] и "Пособия" [29].

5.3. Теплофизический расчет

5.3.1. По теплозащитным свойствам, а также по паропроницанию и воздухопроницанию панели наружных стен должны удовлетворять требованиям СНиП II-3-79* [1].

5.3.2. Сопротивление теплопередаче Rо наружных стен, следует принимать равным экономически целесообразному сопротивлению теплопередаче , определенному по методике СНиП II-3-79* [1] и в соответствии с "Руководствами" [56], [64]. При этом сопротивление теплопередаче Ro должно быть не менее требуемого сопротивления теплопередаче по санитарно-гигиеническим условиям, определенного по формуле [l] СНиП II-3-79* [1].

При вариантном проектировании конструкций допускается определение экономически целесообразного сопротивления теплопередаче путем введения повышающего коэффициента Кэк к значению требуемого сопротивления теплопередаче .

Величина коэффициента Кэк принимается равной для трехслойных панелей:

с жесткими связями - 1,3;

с гибкими связями - 1,5;

для однослойных панелей:

из бетонов на пористых заполнителях - 1,1;

из ячеистых бетонов - 1,3.

5.3.3. Расчет сопротивления паропроницанию выполняется по СНиП II-3-79* [l] из условия недопустимости накопления влаги в конструкции в период эксплуатации с учетом сопротивления паропроницанию наружных защитно-декоративных слоев и водонепроницаемой пленки, в которую оборачиваются влагоемкие утеплители при изготовлении трехслойных панелей.

5.3.4. Термическое сопротивление наружных стен с оконными проемами и теплопроводными включениями следует определять как приведенное термическое сопротивление Rпр неоднородной ограждающей конструкции, в соответствии со СНиП II-3-79* [l].

6. РАСЧЕТ ДОЛГОВЕЧНОСТИ НАРУЖНЫХ СТЕН

6.1. Общие положения расчета

6.1.1. Долговечность наружных ограждающих конструкций определяется сроком их службы с сохранением в требуемых пределах эксплуатационных качеств в данных климатических условиях при заданном режиме эксплуатации зданий.

Для наружных ограждающих конструкций жилых зданий установлены следующие степени долговечности:

I степень - со сроком службы не менее 100 лет;

II степень - со сроком службы не менее 50 лет;

III степень - со сроком службы не менее 20 лет.

6.1.2. Требуемая степень долговечности наружных ограждающих конструкций для жилых зданий устанавливается в зависимости от их класса по капитальности.

6.1.3. По СНиП II-Л.1-71* [57] жилые здания подразделяются на четыре класса по капитальности в соответствии с требованиями главы СНиП II-А.3-62 [58] и по степени огнестойкости в соответствии с требованиями главы СНиП II-А-80 [59]. Жилые здания следует проектировать:

I класса - по долговечности и огнестойкости основных конструкций не ниже 1 степени;

II класса - по долговечности и огнестойкости основных конструкций - не ниже II степени;

III класса - по долговечности основных конструкций не ниже II степени и огнестойкости - не ниже III степени;

IV класса - по долговечности основных конструкций не ниже III степени, степень огнестойкости не нормируется.

6.1.4. Жилые здания следует проектировать: I класса - любой этажности; II класса - высотой не более девяти этажей; III класса - высотой не более пяти этажей и IV класса - высотой не более двух этажей.

6.1.5. Жилые панельные здания для северной строительно-климатической зоны должны проектироваться II и III классов с наружными ограждающими конструкциями II степени долговечности.

6.1.6. Требуемую долговечность наружных стен следует обеспечивать применением материалов, имеющих надлежащие прочность, морозостойкость и влагостойкость, а также соответствующими конструктивными решениями, предусматривающими, в случае необходимости, специальную защиту элементов конструкции, выполняемых из недостаточно стойких материалов.

6.1.7. Срок службы отдельных элементов, от которых зависит долговечность наружных стен (стальные закладные и крепежные детали, связи, узлы и их сопряжения), должен быть не ниже срока службы всей конструкции.

6.1.8. Наружные панели стен должны иметь защитные слои надлежащей долговечности. Их марка по морозостойкости должна быть на 1-2 ступени выше, чем у материала стены.

Панели наружных стен без защитного слоя не экономичны, так как по условиям их долговечности должны в целом изготавливаться из материала с более высокой маркой по морозостойкости по сравнению со стеной с защитным слоем.

6.1.9. Обеспечение требований долговечности наружных крупнопанельных стен является обязательным этапом их проектирования, а при выборе типа ограждения предпочтение следует отдавать более долговечной конструкции.

6.1.10. Долговечность наружной ограждающей конструкции оценивается по ее сравнительному или фактическому значениям. Под долговечностью понимается продолжительность в годах первого до ремонтного периода эксплуатации ремонтируемой ограждающей конструкции или ее элемента, например, защитного слоя (сравнительная долговечность) или продолжительность срока службы ремонтируемой конструкции, а также неремонтируемой конструкции или ее неремонтируемой части, например, простенка.

Сравнительная долговечность ограждающей конструкции не должна быть ниже нормативной периодичности комплексных капитальных ремонтов, предусмотренной "Положением" [60] и равной для зданий с крупнопанельными стенами 30 годам.

Фактическая долговечность ограждающей конструкции не должна быть ниже требуемой степени ее долговечности (см. п. 6.1.1) для жилых зданий II класса (см. п.п. 6.1.3 и 6.1.4) равной 50 годам.

6.1.11. Наружная ограждающая конструкция, долговечность которой прогнозируется, должна удовлетворять всем требованиям СНиП 2.03.01-84 [2] и СНиП II-3-79* [l].

6.1.12. Долговечность q, лет, наружной стены или ее наружного защитного слоя определяется по формуле

                                    (1)

где N - выдерживаемое материалом стены или соответственно ее наружным защитным слоем число циклов попеременного замораживания при стандартных испытаниях на морозостойкость, численно равное цифровому индексу устанавливаемой в них его марки по морозостойкости (например, 35 при F 35);

wн - массовое отношение влаги в материале, соответствующее его полному водонасыщению без вакуумирования, принимаемое по табл. 6;

wр - равновесное массовое отношение влаги в материале, ниже которого при температуре минус 20°С лед не образуется, принимаемое по табл. 7;

wэ(з), wэ(л) - массовые отношения влаги в материале в зоне промерзания ограждения в условиях его эксплуатации на зимне-весеннем (з) и летне-осеннем (л) периодах года соответственно при расчетах на долговечность;

x(ti) - соответствующие данному - зимне-весеннему или летне-осеннему периоду года переменные коэффициенты, принимаемые по табл. 8 в зависимости от достигаемой материалом отрицательной температуры ti в каждом отдельном случае i ее перехода через 0°C ниже температуры начала замерзания tнз в нем жидкой влаги (см. табл. 6);

ni(з), ni) - число таких случаев i достижения температуры в году на этих периодах соответственно.

Таблица 6

Материал

gо,

кг/м3

wн,

% по массе

tнз ,

°С

Цементно-песчаный раствор

 

 

 

1: 1

2120

8,3

-2,7

1: 2

1935

9,4

-3,5

1: 4

1725

10,8

-1,9

Поризованный раствор

1320

35,8

-1,3

Ячеистый бетон

800

54,0

-1,8

Керамзитобетон

1430

10,3

-1,8

 

1000

18,0

-2,7

Шунгизитогазобетон

1100

33,0

-1,6

Таблица 7

Материал

wр, % по массе

Ячеистые бетоны

4,0

Шунгизитогазобетоны

2,2

Керамзитобетоны

1,8

Цементно-песчаные растворы

0,6

При обычно наблюдаемом нестационарном (неустановившемся) температурном поле ограждения при данной температуре ti (см. разделы 6.2 и 6.3) наблюдается только один цикл i, поэтому в этом случае

Для установления числа случаев i и соответствующих им температур ti, по которым находятся коэффициенты x(ti), необходимо предварительное определение полных нестационарных температурных полей ограждающей конструкции в зимне-весеннем и летне-осеннем периодах года с учетом характеристик климатической активности района строительства, влияющих на долговечность наружных ограждений.

6.1.13. При рабочем проектировании однослойных наружных стен без или с наружным защитным слоем долговечность тела стены qст определяется в соответствии с п. 6.1.12 по программе "KLIMAT", разработанной НИИСФ и приведенной с соответствующими пояснениями в приложении 4. Долговечность же наружного защитного слоя qсл при этом определяется по формуле

где индексы "ст" и "сл" указывают на принадлежность данной величины к материалу тела стены или защитного слоя соответственно.

6.1.14. При вариантном проектировании наружных стен, а также при отсутствии ЭВМ, долговечность стены и ее наружного слоя может определяться по формуле (1) с учетом указаний п.п. 6.1.15-6.1.17 и разделов в 2.; 6.3 и 6.4 (см. приложения 5, 6, 7).

Таблица 8

Материал

Коэффициенты x (ti) при температуре ti, °С

gо, кг/м3

tнз

-3

-4

-5

-6

-7

-8

-9

-10

-15

-20

-30 и более

Цементно-песчаный раствор

 

 

 

 

 

 

 

 

 

 

 

 

 

1:1

2120

0

0,097

0,363

0,522

0,628

0,704

0,761

0,805

0,840

0,947

1

1,004

1: 2

1935

0

-

0,153

0,365

0,506

0,607

0,682

0,741

0,788

0,929

1

1,070

1: 4

1725

0

0,407

0,582

0,686

0,756

0,806

0,843

0,872

0,895

0,965

1

1,035

Поризованный раствор

1320

0

0,605

0,721

0,791

0,837

0,870

0,896

0,915

0,931

0,977

1

1,023

Ячеистый бетон

800

0

0,444

0,607

0,706

0,771

0,818

0,853

0,880

0,902

0,967

1

1,033

Керамзитобетон

1430

0

0,133

0,454

0,711

0,775

0,821

0,855

0,882

0,903

0,967

1

1,032

1000

0

0,106

0,369

0,527

0,632

0,707

0,763

0,807

0,842

0,947

1

1,052

Шунгизитогазобетон

1100

0

0,522

0,663

0,747

0,803

0,843

0,873

0,897

0,916

0,972

1

1,028

6.1.15. Долговечность наружного защитного слоя наружной стеновой панели без применения ЭВМ определяется по формуле (1) при коэффициентах x (ti), найденных для середины этого слоя по ее полному температурному полю, отыскиваемому с учетом указаний разделов 6.2 или 6.3.

6.1.16. Долговечность тела наружной стеновой панели без применения ЭВМ определяется по формуле (1) при коэффициентах x (ti), найденных для середины слоя устойчивого промерзания при активных периодах года, по ее полному температурному полю, отыскиваемому с учетом указаний разделов 6.2 или 6.3.

Толщина слоя устойчивого промерзания стены при активных периодах года устанавливается в соответствии с указаниями п.п. 6.2.6 или 6.3.7.

6.1.17. Массовые отношения влаги в материале wэ(з) и wэ(л) в зоне промерзания стены в условиях ее эксплуатации в зимне-весеннем (з) и летне-осеннем (л) периодах года при расчете ее долговечности без применения ЭВМ принимаются соответственно равными

                                   (2)

где gо и gоmin - плотности материала стены в сухом состоянии соответственно расчетная и минимальная из указанных в приложении 3 СНиП II-3-79* [1] для такого материала из данной родственной группы;

w - соответствующее расчетное массовое отношение влаги в материале при теплофизических расчетах, приведенное в этом приложении;

Dwср - его предельно допустимое приращение, принимаемое по табл. 14 СНиП II-3-79* [1].

6.2. Расчет нестационарного температурного поля однослойной наружной стены в зимне-весеннее время и летне-осеннем периодах года для прогнозирования ее долговечности без применения ЭВМ

6.2.1. Стена с защитным слоем считается однослойной. При определении ее температурного поля различия в теплофизических характеристиках защитного слоя и тела стены не учитываются. Их значения принимаются соответствующими материалу тела стены.

6.2.2. Теплофизические характеристики материала стены g(w), с(w), l(w) и  принимаются постоянными, а их значения -соответствующими расчетному массовому отношению влаги в материале для теплотехнических расчетов w, и определяются по приложению 3 СНиП II-3-79* [l].

6.2.3. Квазистационарная составляющая температурного поля в зимне-весеннем и летне-осеннем периодах года однослойной стены общей толщиной d, связанная с годовым ходом среднемесячных температур наружного воздуха t см, при температуре внутреннего воздуха tв определяется по формуле

                                            (3)

где х - координата точки стены, отсчитываемая от ее наружной поверхности;

t - время, отсчитываемое от середины месяца зимне-весеннего или, соответственно, летне-осеннего периодов года, предшествующего началу периодических оттепелей или соответственно заморозков на этих периодах с переходом через tнз;

mi -  постоянные коэффициенты, определяемые по формулам:

                                                                    (4)

в которых

                                                                                    (5)

                                                                                                        

                                                    (6)

причем  -  коэффициент температуропроводности материала стены;

b - темп изменения среднемесячных температур наружного воздуха в зимне-весеннем или летне-осеннем периодах года, определяемый в соответствии с указаниями п. 6.4.4;

tв - расчетная температура внутреннего воздуха, принимаемая по ГОСТ 12.1.005-76 и нормам проектирования жилых зданий, а

                                                                                        (7)

Здесь

                                                                                    (8)

где aв и aн - коэффициенты теплоотдачи внутренней поверхности стены и наружной поверхности стены для зимних условий, определяемые, соответственно, по табл. 4 и 6 СНиП II-3-79* [l].

6.2.4. Гармонические составляющие температурного поля однослойной стены определяются с учетом соответствующих амплитуд и периодов, назначаемых в соответствии с указаниями п.п. 6.4.3 и 6.4.6.

Учитываются две таких составляющих:

составляющая, связанная с суточными колебаниями температуры наружного воздуха со средней амплитудой Ас (см. п. 6.4.3) и периодом Р=24 ч;

составляющая, связанная с устойчивыми периодическими заморозками и оттепелями со средними амплитудами Ар, периодами Рр и числом mp в году (см. п. 6.4.6).

6.2.5. Амплитуды суточных колебали температуры в слое стены, отстоящем на расстоянии Х от ее наружной поверхности, определяются по формуле

                                                                           (9)

где  - амплитуда суточных колебаний температуры на наружной поверхности стены, равная

                                                                     (10)

В формулах (9) и (10): Р - период суточных колебаний температуры, равный 24 ч;

 - средняя амплитуда суточных колебаний температуры наружного воздуха, принимаемая по указаниям п. 6.4.3.

6.2.6. Амплитуды колебаний температуры в слое стены, отстоящем на расстоянии Х от ее наружной поверхности, связанные с устойчивыми периодическими заморозками и оттепелями с периодом Рр (см. п. 6.4.6), находится по формуле

                                                                                 (11)

где Ар - средняя расчетная амплитуда этих заморозков и оттепелей на данном зимне-весеннем или, соответственно, летне-осеннем периодах года, определяемая в соответствии с указаниями п. 6.4.6;

d -  толщина стены.

6.2.7. Полное температурное поле однослойной стены находится наложением на его составляющую (3) двух гармонических колебаний (см. п. 6.2.4) с амплитудами и периодами, назначаемыми в соответствии с указанием п.п. 6.2.5, 6.2.6, 6.4.3 и 6.4.6.

6.2.8. Глубина устойчивого промерзания однослойной стены в активном периоде года находится приравниванием 0°С левой части уравнения (3). Она определяется дважды: для начала зимне-весеннего и конца летне-осеннего периодов, находится как среднеарифметическое из этих двух ее значений.

6.3. Расчет нестационарного температурного поля трехслойной наружной стены с эффективным утеплителем на зимне-весеннем и летне-осеннем периодах года дли прогнозирования ее долговечности без применения ЭВМ

6.3.1. Расчет нестационарного температурного поля трехслойной наружной стены производится с учетом указаний п.п. 6.2.1 и 6.2.2.

6.3.2. Квазистационарная составляющая температурного поля трехслойной стены (рис. 10) на зимне-весеннем и летне-осеннем периодах года, связанная с годовым ходом среднемесячных температур наружного воздуха t см, при температуре внутреннего воздуха tв для  каждого из трех слоев стены определяется, соответственно, по формулам:

      (12)

Здесь: х и t - имеют тот же смысл, что и в формуле (3);

а1, а2, а3 -  коэффициенты температуропроводности отдельных слоев стены;

bi и сi - постоянные коэффициенты, которые определяются по формулам

                                                              (13)

где                                                                                   (14)

                                                                                                                                                                   (15)

l1, l2, l3 - коэффициенты теплопроводности слоев стены;

d1, d2, d3 - толщины этих слоев;

                                                                                                (16)

                                                                           

                                                                                                   

                                                                                     

                                                                                                   

где                                                                                              (17)

,                                                                                                      (18)

а остальные постоянные сi находятся решением системы совместных уравнений

                                              (19)

коэффициенты Кi и правые части bi которых равны:

                                        (20)              (21)

Рис. 10. Схема трехслойной стены с эффективным утеплителем

6.3.3. Гармонические составляющие температурного поля трехслойной стены с соответствующими амплитудами и периодами определяются в соответствии с указаниями п. 6.2.4. При этом суточные колебания температуры учитываются только для наружного слоя стены.

6.3.4. Амплитуды суточных колебаний температуры в наружном слое трехслойной стены определяются в соответствии с указаниями п. 6.2.5.

6.3.5. Амплитуды колебаний температуры каждого из трех слоев трехслойной стены, связанные с устойчивыми периодическими заморозками и оттепелями с периодом Рр (см. п. 6.4.6), определяются, соответственно по формулам:

                          (22)

где  имеет тот же смысл, что и в формуле (11).

6.3.6. Полные температурные поля для каждого из трех слоев трехслойной стены находятся наложением на их соответствующую квазистационарную составляющую (12) двух гармонических колебаний (см. п.п. 6.3.3 и 6.2.4) с амплитудами и периодами, назначаемыми в соответствии с п.п. 6.3.4, 6.2.5, 6.3.5 и 6.4.6.

6.3.7. Глубина устойчивого промерзания трехслойной стены в активные периоды года принимается равной толщине d1 ее наружного холодного слоя (рис. 10).

6.4. Определение характеристик климатической активности района строительства, влияющих на долговечность наружных ограждающих конструкций, при ее прогнозировании без применения ЭВМ

6.4.1. Для расчета полных нестационарных температурных полей наружных ограждающих конструкций в зимне-весеннем и летне-осеннем периодах года, с учетом которых производится прогнозирование их долговечности, необходимо располагать данными о характеристиках климатической активности района строительства. К их числу относятся следующие данные о температуре наружного воздуха:

среднемесячные температуры t см по месяцам года;

средние амплитуды Ас суточных колебаний температуры по месяцам года с периодом Р = 24 ч;

среднесуточные температуры t см по дням месяцев года;

темп в изменениях среднемесячных температур t см в их годовом ходе в зимне-весеннем и летне-осеннем периодах года;

средние расчетные полупериоды Рр устойчивых периодических заморозков и оттепелей по отношению к годовому ходу среднемесячных температур t см в зимне-весеннем и летне-осеннем периодах года;

средние расчетные амплитуды Ар этих заморозков и оттепелей с полупериодом Рр в зимне-весеннем к летне-осеннем периодах года;

среднее расчетное число mp указанных заморозков и оттепелей в году в зимне-весеннем и летне-осеннем периодах года;

средняя календарная дата начала устойчивых периодических оттепелей по отношению к годовому ходу среднемесячных температур t см в зимне-весеннем периоде года;

средняя календарная дата начала устойчивых периодических заморозков по отношению к годовому ходу среднемесячных температур t см в летне-осеннем периоде года.

Указанные характеристики климатической активности района строительства определяются с помощью указаний п.п. 6.4.2-6.4.7.

Примечание. Зимне-весенним и летне-осенним периодами года называются его активные периоды в указанное время, на которых возможны периодические оттепели и заморозки с переходами температуры наружного воздуха через 0°С.

6.4.2. Среднемесячные температуры t см наружного воздуха определяются по СНиП 2.01.01-82 [32].

6.4.3. Средние амплитуды Ас суточных колебаний температуры наружного воздуха определятся по приложению 2 СНиП 2.01.01-82.

Примечание. В приложении 2 СНиП 2.01.01-82 [32] указаны удвоенные значения Ас.

6.4.4. Темп в изменении среднемесячных температур t см наружного воздуха в зимне-весеннем и летне-осеннем периодах года определяется по графику их годового хода (см. п. 6.4.2) на указанных его участках, где эти температуры изменяются практически линейно (см. приложение 5).

6.4.5. Среднесуточные температуры t cм наружного воздуха определяются по наблюдениям за год близлежащей к району строительства метеорологической станции, публикуемым в специальных ежегодно выпускаемых метеорологических ежемесячниках (см. приложение 5).

6.4.6. Средние расчетные, амплитуд Ар, средние расчетные периоды Рр, среднее значение mp и календарные даты начала устойчивых периодических оттепелей и заморозков в зимне-весеннем и летне-осеннем периодах года определяются как средние арифметические за последние 5 лет по графикам годового хода его среднемесячных температур (п. 6.4.2). При этом учитываются только периодические оттепели и периодические заморозки с переходом на tнз (см. приложение 5).

6.4.7. Для ряда городов северной строительно-климатической зоны средние расчетные характеристики климатической активности Рр, Ар, mр, связанные с устойчивыми периодическими заморозками и оттепелями, и календарные даты начала последних, найденные в соответствии с указаниями п. 6.4.6, приведены в табл. 9.

Таблица 9

Средние расчетные характеристики климатической активности для ряда городов северной строительно-климатической зоны

Город

Зимне-весенний период года

Летне-осенний период года

оттепели

заморозки

оттепели

заморозки

начало (число, месяц)

полупериод РР, сут.

АР, оС

mР, цикл

год

полупериод РР, сут.

АР, оС

mР, цикл

год

начало (число, месяц)

полупериод РР, сут.

АР, оС

mР, цикл

год

полупериод РР, сут.

АР, оС

mР, цикл

год

Воркута

30.04

1,9

3,8

4

4,7

4,1

7

29.09

4,8

3,2

3

3,3

3,1

2

Магадан

02.05

2,0

2,1

3

4,7

2,2

3

08.10

4,9

4,4

1

4,7

2,9

1

Надым

16.04

3,6

5,2

4

5,7

6,1

6

29.09

3,7

3,0

3

3,4

3,8

2

Новый Уренгой

20.04

3,3

2,7

3

5,7

7,0

6

28.09

3,9

2,8

3

2,5

3,2

2

Норильск

27.04

1,6

3,7

1

10,8

10,5

3

28.09

4,0

4,1

1

1,6

2,5

1

Сургут

04.04

5,8

5,7

5

3,4

4,0

6

03.10

6,1

7,5

4

2,4

3,5

5

Тында

09.04

3,5

3,6

3

5,2

3,8

3

01.10

3,4

3,6

2

2,9

3,4

2

Якутск

16.04

4,6

4,6

2

6,1

4,4

2

25.10

2,7

1,8

2

5,7

5,2

2

Приложение 1

ТЕХНОЛОГИЯ НАНЕСЕНИЯ АНТИКОРРОЗИОННЫХ ПОКРЫТИЙ НА ОСНОВЕ ПОРОШКОВЫХ ПОЛИМЕРОВ НА ГИБКИЕ СВЯЗИ

1.1. Нанесение антикоррозионных покрытий на гибкие связи производят после выполнения механических и термических операций.

Перед нанесением порошковых композиций поверхность металла очищают от загрязнений, рыхлой ржавчины механическим способом. Жировые загрязнения удаляют растворителем - бензином, уайт - спиритом и др.

1.2. После очистки и обезжиривания сухую поверхность гибких связей покрывают полимерными порошковыми композициями. Полимерные порошковые композиции наносятся на гибкие связи методом электростатического распыления или в ваннах ионизированного кипящего слоя.

1.3. Для нанесения порошковых композиций применяются специально сконструированные камеры.

Осаждение порошковых композиций осуществляется при напряжении электростатического поля 40-70 кВ.

Длительность процесса осаждения, необходимая для получения заданной толщины покрытия 300-350 мкм, должна быть 15-20 с.

1.4. Оплавление осаждающего слоя порошковой полимерной композиции производится в печах конвективного, индукционного или лучистого нагрева.

Оплавление полиэтиленовых композиций осуществляется при температуре 220-230°С, эпоксидных композиций - при 180-210°С.

Длительность процесса пленкообразования без учета инерции массы стержня составляет для полиэтиленового покрытия 7 мин, для эпоксидного - 15 мин.

1.5. Охлаждение расплавленного покрытия из полиэтилена производится водой в душевой или ванной установке.

Охлаждение эпоксидного расплава осуществляется на воздухе, на участке, оборудованном вентиляцией.

1.6. Заводской участок по нанесению покрытий из порошковых полимеров должен иметь два отделения:

подготовки поверхности арматуры;

нанесения и оплавления покрытия.

Выбор, и конструирование технологического оборудования участка определяется требуемой производительностью цеха по выпуску изделий.

В случае применения комбинированных покрытий отделение подготовки поверхности арматуры должно включать пост для нанесения цинкового покрытия.

Приложение 2

ОБЛАСТИ ПРИМЕНЕНИЯ РАЗЛИЧНЫХ ВИДОВ НАРУЖНОЙ ОТДЕЛКИ ОСНОВНЫХ ТИПОВ КРУПНОПАНЕЛЬНЫХ СТЕН В РАЗЛИЧНЫХ ПОДРАЙОНАХ
СЕВЕРНОЙ СТРОИТЕЛЬНО-КЛИМАТИЧЕСКОЙ ЗОНЫ

Климатический подрайон

Географическое положение подрайона

Тип панелей и основные материалы

Способы отделки

1

2

3

4

IА

Северные части Восточной Сибири за исключением прибрежных участков.

Основные города: Верхоянск, Мирный, Оймякон, Туруханск, Хатанга, Якутск

Однослойные ячеистые бетоны вида А

При формовании в горизонтальном положении "лицом вниз":

1) цветными поризованными растворами (D 1200-1400) с гладкой поверхностью и последующей гидрофобизацией кремнийорганическими составами;

2) цветными поризованными растворами с рельефной поверхностью (укладка на дно формы профилированных матриц, формование на полиэтиленовой пленке, механическая обработка поверхности после термообработки);

3) каменными дроблеными материалами (до 20 мм) по слою цветного поризованного раствора

При формовании по резательной технологии: нанесение пневматическим способом защитно-декоративных слоев (толщина не менее 1,2 мм) из эластичных паропроницаемых полимерцементных и полимерминеральных на основе латекса СКС 65-ГП "б", поливинилацетатной эмульсии, кремнийорганических соединений

 

 

Трехслойные тяжелые бетоны и бетоны на пористых заполнителях

Однослойные бетоны на пористых заполнителях

При формовании "лицом вниз":

1) декоративными поризованными бетонами или бетонами на пористых заполнителях с вскрытием с помощью замедлителей твердения;

2) нанесением пневматическим способом защитно-декоративных слоев из полимерцементных и полимерминеральных паст (для легкобетонных панелей)

IБ и IГ

Азиатская часть прибрежной зоны, прилегающей к Северному Ледовитому океану (IБ).

Основные города: Диксон, Норильск, Тикси, Амбарчик

Европейская часть побережья Северного Ледовитого океана и Тихоокеанское побережье, за исключением его южной части (от Чукотки до Охотска) (IГ).

Основные города:

Нарьян-Мар, Воркута, Салехард, Анадырь, Магадан

Трехслойные тяжелые бетоны и бетоны на пористых заполнителях

Однослойные бетоны на пористых заполнителях

При формовании "лицом вверх":

1) слоем декоративного поризованного раствора с фактурой "под шубу", получаемой рассыпкой через сито влажного песка, образующего при падении комками на свежеуложенную поверхность декоративной рельеф;

2) нанесением пневматическим путем цветных полимерцементных и полимерминеральных паст толщиной не менее 1,2 мм;

3) плазменной обработкой поверхности.

При формовании "лицом вниз":

1) декоративными поризованными бетонами или бетонами на пористых заполнителях с обнажением зерен заполнителя с помощью замедлителей твердения;

2) слоем декоративного поризованного цементного раствора, наносимого на целлофановую или полиэтиленовую пленку с уложенными под ней рельефообразующими материалами и последующей гидрофобизацией поверхности;

3) нанесением пневматическим путем цветных полимерцементных и полимерминеральных паст толщиной не менее 1,2 мм

Приложение 3

ТЕХНИЧЕСКИЕ ХАРАКТЕРИСТИКИ МАСТИКИ "ТЕГЕРОН"
И ПРАВИЛА ПРОИЗВОДСТВА РАБОТ ПО ГЕРМЕТИЗАЦИИ СТЫКОВ ПАНЕЛЕЙ

3.1. Мастика "Тегерон" представляет собой вязкую однородную массу, изготовленную на основе синтетического каучука, наполнителей, пластификаторов и добавок.

3.2. На строительную площадку мастика "Тегерон" поставляется готовой к применению в виде брикетов диаметром 40 мм, длиной 40-50 см, массой 2-2,5 кг, упакованных в полиэтиленовую пленку толщиной не более 40 мкм по ГОСТ 10354-82 [61]. Допускается поставка мастики "Тегерон" в виде жгутов того же диаметра длиной 1-1,5 м, упакованных также в полиэтиленовую пленку.

3.3. Герметизирующая мастика "Тегерон" должна отвечать требованиям технических условий ТУ 21-29-87-82 [34] и соответствовать нормам, указанным в таблице 10.

Таблица 10

Наименование показателя

Норма

высшая категория

1-я категория

Предел прочности при растяжении
не менее, МПа

0,01

0,007

Относительное удлинение при максимальной нагрузке не менее, %

15

10

Характер разрушения

Когезионный

Когезионный

Водопоглощение не более, %

0,4

0,4

Стекание мастики при 70°С (теплостойкость) не более, мм

2

2

Относительное удлинение при температуре минус 60°С, не менее

10

7

3.4. Упаковку и маркировку мастики "Тегерон" производят в соответствии с ГОСТ 14791-79 [62] и транспортируют в любых крытых транспортных средствах, хранят в закрытых помещениях, предохраняющих ее от воздействия солнечных лучей, атмосферных осадков, растворителей и механических повреждений.

3.5. Гарантийный срок хранения мастики "Тегерон" один год со дня ее изготовления.

3.6. В качестве уплотнительного материала и упругой подосновы под мастичный герметик "Тегерон" используются пористые прокладки.

3.7. Мастика "Тегерон" и пористые прокладки, доставленные на стройплощадку, хранятся в специально подготовленном закрытом помещении, которое в зимний период времени должно обогреваться. По мере необходимости указанные материалы подаются в будку герметизаторщика.

3.8. Работы по герметизации стыков панелей мастикой "Тегерон" проводятся только в сухую погоду.

3.9. Герметизация стыков панелей мастикой "Тегерон" осуществляется при помощи электрогерметизатора.

Для герметизации стыков панелей при отрицательных температурах включается обогреватель герметизатора, который обеспечивает температуру мастики на выходе +35 ¸ +40°С.

3.10. Мастика укладывается в полость стыка ровным валиком толщиной 15-20 мм. Загерметизированный стык панелей сразу после нанесения мастики уплотняется при помощи расшивки.

Приложение 4

ПРОГРАММА "KLIMAT" ДЛЯ РАСЧЕТА ДОЛГОВЕЧНОСТИ НАРУЖНЫХ СТЕН НА ЭВМ

Программа "KLIMAT" разработана на базе общих принципов расчета долговечности наружных стен, изложенных в разделе 6 настоящих "Рекомендаций". Она позволяет, основываясь на метеорологических данных о климате района строительства, определить долговечность однослойной наружной стены.

Расчет долговечности по программе "KLIMAT" осуществляется по климатическим данным за каждый один выбранный год из числа последних пяти лет. Для этого в соответствии с п. 6.4.5 "Рекомендаций" задаются значениями среднесуточных температур по дням месяцев этого года на его активных летне-осеннем и зимне-весеннем периодах. Продолжительность этих периодов обычно равна 60-90 суток. Промежуточными результатами такого расчета являются: определение температурного поля стены на каждом из указанных активных периодов; вычисление максимальной глубины зоны промерзания стенового ограждения на каждом из этих периодов. Расчет долговечности повторяют для каждого года. 'За окончательное значение долговечности стены принимается среднее значение долговечности ее наименее долговечного слоя по пяти расчетным годам.

Программа написана на языке Фортран-4. Объем машинной памяти, необходимый для ее реализации, 26 кбайт.

Некоторые обозначения, принятые в программе "KLIMAT"

ALI, AL2 - соответственно, коэффициенты теплоотдачи внутренней dв и наружной dн (для зимних условий) поверхностей стены;

LA - коэффициент теплопроводности материала стены lм;

НЗ - толщина стены d;

ТВ - температура воздуха внутри помещения tв;

АО - коэффициент температуропроводности материала стены aм

СU - удельная теплоемкость материала стены См;

ОМ - объемная масса материала ограждения gм;

ОМRZ - число циклов попеременного замораживания , соответствующее марке по морозостойкости F материала стены;

В10, В11, В12, В13 - коэффициенты регрессии b0, b1, b2, b3 для определения количества не замерзшей воды в материале, необходимые для вычисления переменных значений коэффициента x(ti);

IKLMN - число активных периодов в году, равное двум;

N - число суток в рассматриваемом интервале времени одного активного периода года;

D1 - разность среднесуточных температур начальных к последних суток рассматриваемого активного периода года;

TN - начальная среднесрочная температура на рассматриваемом активном периоде года;

АМР - амплитуда суточных колебаний температуры наружного воздуха Ас;

WR - равновесное массовое отношение влаги в материале, ниже которого при температуре -20°С лед в нем не образуется Wр;

WN - массовое отношение влаги в материале, соответствующее его полному водонасыщению без вакуумирования (при испытании на морозостойкость по стандартной методике) Wн;

А6, В6, В7 - коэффициенты расчетной эпюры распределения влажности по толщине наружной стены a, b, d (рис. 11);

Рис.11. Расчетная эпюра распределения влажности по толщине однослойной стены, принятая в программе "KLIMAT"

У(1) - массив значений среднесуточных температур наружного воздуха на данном активном периоде года.

Подготовка исходных данных для расчета долговечности наружной стены по программе "KLIMAT"

1. Ввод данных о материала и геометрических размерах наружной стены осуществляется оператором READ на строке 10, посредством которого происходит считывание с перфокарт значений следующих величин: aн, aв, lм, d, tв, ам, см, gм, , b0, b1, b2, b3.

Значения aв, aн приведены в табл. 4 и 6 СНиП II-3-79* [l].

Значение lм принимается соответствующим среднему для всей стены массовому отношению влаги в материале в эксплуатационных условиях Wcp=КС, где К=0,71 для материалов, у которых величина С определяется по формуле (22).

Для материалов, у которых вид расчетной эпюры распределения влажности определен по данным натурных обследований (см., например, табл. 11), .

Для определения lм используются экспериментальные данные о зависимости  lм от W, или при отсутствии таких данных, линейная интерполяция на случай  данных приложения 3 СНиП II-3-79* [l], относящихся к случаю Б.

Расчетная эпюра распределения влажности по толщине наружной стены приведена на рис. 11. Параметры этой эпюры, характерные для наружных однослойных стен зданий, строящихся в северной строительной климатической зоне, по данным их натурных обследований для трех материалов приведены в табл. 11.

Анализ большого числа данных натурных обследований наружных стен показал, что для однослойных стен без облицовки, или с наружными защитными слоями, имеющими обычную паропроницаемость, значение массовых отношений влаги в толще ограждения близки в летне-осеннем и зимне-весеннем периодах, поэтому их можно принимать одинаковыми и равными . Для материалов, не указанных в табл. 11, при отсутствии данных натурных обследований при расчете долговечности наружных стен можно принимать

,                                                                                              (22)

где W - расчетное массовое отношение влаги в материале в эксплуатационных условиях, принимаемое по приложению 3 СНиП II-3-79* [l];

Таблица 11

Материал

а,% по

массе

b,% по

массе

см

c,% по

массе

d, % по

массе

см

Ячеистый бетон, g0 = 700 кг/м3

5,60

0,46

11,10

-0,40

Керамзитобетон, g0 = 1000 кг/м3

3,30

0,85

14,60

-0,40

Шунгизитогазобетон,

g0 = 1160 кг/м3

3,70

0,93

14,40

-0,56

Толщина ограждения d задается в метрах, величина tв - b°С. Значение tв принимается по ГОСТ 12.1.005-76 и Нормам проектирования зданий. Для жилых зданий tв = 18°С.

Значение ам для материалов во влажном состоянии определяется по формуле

                                                        (23)

где  - удельная теплоемкость жидкости

 - то же для материала стены в сухом состоянии (определяется по приложению 3 СНиП II-3-79*;

 - объемная масса материала в сухом состоянии (указана там же).

Объемная теплоемкость  и объемная масса  материала во влажном состоянии определяются по формулам

;                                                                        (24)

                                                                                          (25)

Марка материала по морозостойкости принимается по результатам стандартных испытаний на морозостойкость.

Коэффициенты регрессии b0, b1, b2, b3 принимаются по табл. 12.

Таблица 12

Материал

g0, кг/м3

b0×102, кг/кг

b1

b2,°С

b3×102, (кг/кг) °С

Цементно-песчаный раствор

2120

1935

1725

3,239

0,549

2,197

0,411

0,786

0,260

9,052

0,573

1,915

-1,637

-0,605

-1,193

Шунгизитогазобетон

1160

4,063

0,219

-3,875

-0,304

Керамзитобетон

1430

1000

3,833

4,448

0,219

0,129

-4,269

0,934

-0,340

-1,758

Ячеистый бетон

850

2,353

0,242

-7,670

-1,135

2. Ввод значения IKLMN, соответствующего числу активных периодов года, осуществляется оператором READ (строка 18). На протяжении одного года обычно наблюдаются два периода (IKLMN=2).

3. Ввод климатических данных и данных о влажностном состоянии материала ограждения осуществляется посредством оператора "READ" на строке 23. Этот оператор выполняется один раз для каждого активного периода года, в результате чего осуществляется считывание с перфокарт значений величин N, D1, TN, Ac, WP Wн, а, b, d.

Величина N соответствует числу суток в выбранном интервале времени на изучаемом активном периоде года. Непременным условием реализации программы является задание числа N четным.

IN - среднесуточная температура наружного воздуха в первые сутки на выбранном интервале времени для каждого активного периода года.

D1 - разность между среднесуточными температурами наружного воздуха первых и последних суток на данном активном периоде года.

TN и D1 - определяются по метеорологическим данным о среднесуточных температурах наружного воздуха в районе строительства (п. 6.4.5 "Рекомендаций").

Ас - амплитуда суточных колебаний температуры наружного воздуха средняя для всего активного периода года. Значение Ас может быть взято по метеорологическим ежегодникам, непосредственно по данным ближайшей к пункту строительства метеостанции или определено с учетом данных СНиП 2.01.01-82 [32].

Значения WP и Wн, соответственно, берутся из табл. 6 и 7 раздела 6 настоящих "Рекомендаций".

4. Ввод хода среднесуточных температур осуществляется оператором READ (строка 27). Необходимо задавать среднесуточные температуры в виде одномерного массива с числом значений N, которое выбирается таким образом, чтобы в активный период года попали все случаи переходов через 0°С на данном летне-осеннем или зимне-весеннем периоде.

Программа расчета долговечности наружной стены

1

PROGRAM KLIMAT

2

С МОДЕЛИРОВАНИЕ ХОДА ТЕМПЕРАТУР

3

IHTEGER S, C2

4

REAL LA

5

COMPLЕХ C7, S7

6

EXTERNAL C7, S7

7

DIMEINSION Y (96), А (48), В (48), F (96), С2 (96)

8

1,G4 (80), I10 (99), 120(99), G50 (99),

9

2G55(300), VD (10, 20), TS (10, 180)

10

READ (5,83) AL1, AL2, LA, H3, TB, AO, CU, OM

11

1,0MRZ, В10, В11, B12, В13

12

С AL1, AL2 (BT/M2*OC) LA (BT/M*OC) H3(M) TB(OC) АО(M2/Ч)

13

С CU(КДЖ/КГ*OC) ОМ (КГ/М3)

14

83 FORMAT (3F12.6)

15

WRITE (6,3) AL1, AL", LA, H3, TB, AO, CU, OM

16

1,OMRZ, B10, B11, B12, B13

17

3 FORMAT (1Х,27НИСХОДНЫЕ О МАТЕРИАЛЕ/1Х,7F12/6)

18

READ (5,8) IKLMN

19

8 FORMAT (18)

20

DO 200 IKLM=1, IKLMN

21

WRITE (6,9) IKLM

22

9 FORMAT (1Х,//1Х, 9Н ВАРИАНТ N, 1X, 18//)

23

READ (5,10) N, D1, TN, AMP, WR, WN, A6, B6, B7

24

10 FORMАТ (18,8F6, 1)

25

WRITE (6,11) N, D1, TN, AMP, WR, WN, A6, B6, В7

26

11 FORMAT (1X, 16Н ДАННЫЕ О КЛИМАТЕ,/1Х, 18, 8F6.1)

27

READ (5,20)(Y (1), 1=1,N)

28

20 FORMАТ (4F8.1)

29

A0=0.0

30

Q=Д1/N

31

0 30 I=1,N

32

Y (I)=Y (I)-(Q*6,28*I/N+TN)

33

30 AO=AO+Y (I)

34

J = (N-2)/2

35

J1=N*2

36

T=AO/N

37

D0 40 K=1,J

38

A (K)=0.0

39

B (K)=0.0

40

DO 40 I=1,N

41

R=SIN (K*1*6,28/N)

42

P=COS (K*l*6,28/N)

43

A1=(2.0/N)*Y (I)*P

44

B1=(2.0/N)*Y (I)*R

45

A (K)=A (K)+A1

46

40 B (K)=B (K)+B1

47

WRITE (6,50)

48

50 FORMAT (4X, 37HKОЭФФИЦИЕНТЫ МОДЕЛИ T=Q=A (K)= B (К)=))

49

VRITE (6,60) T, Q, (A (S), D (S), S= 1,J)

50

60 FORMAT (1X, 6F8, 1)

51

DO 70 I=1,N

52

Х=6.28*1/N

53

F1=G (A, B, X, J)

54

70 F (I) = Q*X+TN+T+F1

55

OST=0

56

DO 64 L=1,N

57

Y (L)=Y (L)+(Q*6.28*L/N+TN)

58

64 OST=OST+(Y (L)-F (L))/L

59

OST=OST/N/6.28

60

D0 66 I=1,N

61

66 F (I)=F (I)+OST*6.28*/1/N

62

Q=Q+OST

63

WRITE (6,67)

64

67 FORMAT (4X, 35H...CИCTEМАТИЧECKAЯ ОШИБКА УЧТЕНА...)

65

WRITE (6,622) OST

66

622 FORMAT (1X, 4HOST=, F10.8)

67

WRITE (6,59)

68

59 FORMAT (4х, 20НAЗНАЧЕНИЯ Y (I) И F (I))

69

WRIТЕ (6,62) (Y (L), F (L), L=1,N)

70

62 FORMAT (1X, 8F8, 1)

71

С ПРОВЕРКА АДЕКВАТНОСТИ МОДЕЛИ

72

S1=0.0

73

S11=0.0

74

N1=N-2*J-1

75

N2=3*N-N

76

DO 80 I=1,N

77

S11=S11+3*(0.05*Y (I))**2

78

80 S1=S1+(Y (I)-F (I)**2

79

S2=S1/N1/S11/N2

80

WRITE (6,81)

81

81 FORMAT (1Х,18 НКРИТЕРИЙ ФИШЕРА F=)

82

WRITE (6,82) S2, N1, N2

83

82 FORMAT (1X,F8.4,25Н (СРАВНИТЬ С ТАБЛИЧНЫМ ДЛЯ, 3HN1=,

84

113, ЗHN2=, 13, 1H))

85

С РАСЧЕТ ДОЛГОВЕЧНОСТИ ОГРАЖДАЮЩЕЙ КОНСТРУКЦИИ

86

Т=Т+TN

87

DO 502 N3=1,7

88

A2=0.01

89

IF (N3.EQ.7) GO TO 506

90

А2=НЗ/NЗ-0.01

91

506 CONTINUE

92

WEX=A6+A2*B6

93

IF (A2.LE.H3/3) GО-ТО 601

94

WEХ=А6+Н/3*В6+А2*В7

95

601      CONTINUE

96

TNZ=(B12+B13*WEX)/(WEX*(1.0-B11)-B10)

97

DO 500 I=2,J1

98

A3=6.28*1/J1

99

SF1=TS4 (A2, A3, AL2, LA, AO, AMP, N)

100

SF1=TS4 (A2, A3, AL2, LA, AO, AMP, N)

101

GALL TS3 (A2, A3, A, B, AL2, LA, AO, CU, OM, AL1, H3, J, C7, S7, TS31)

102

TS (N3, 1)=SF1+TS31-TNZ

103

500 СОNTINUE

104

WRIТЕ (6,501) A2, TNZ

105

501 FORMAT (1Х,8НСЛОЙ А2=,F8.4, 5Н ТNZ=,F8.4)

106

С ОПРЕДЕЛЕНИЕ ГЛУБИНЫ УСТОЙЧИВОГО ПРОМЕРЗАНИЯ

107

IF (KONTR.EQ.5) GO TO 502

108

F2=0.0

109

F3=0.0

110

DO 504 N=2,J1

111

F2=F2+ABS (TS (N3, N4))

112

F3=F3+TS (N3, N4)

113

504 CONTINUE

114

IF (F2.EQ.F3) GO ТO 502

115

KONTR=5

116

WRITE (6,505) A2

117

505 FORMAT (1Х, 23Н ГЛУБИНА ПРОМЕРЗАНИЯ А2=,F8.4)

118

502 CONTINUE

119

DO 602 N5=1,7

120

А2=0.01

121

IF (N5. ЕQ.7) GO TO 603

122

А2=НЗ/N5-0,01

123

60 CONTINUE

124

WEX=A6+A2*B6

125

IF (A2.LE.H3/3) GO TO 605

126

WEX=A6+H/3*B6+A2*B7

127

605 CONTIHUE

128

C НАХОЖДЕНИЕ ТОЧЕК TS-TNZ

129

M=1

130

С2(М)=2

131

DO 84 I=3,J1

132

M1=I-1

133

G2=TS (NS, I)

134

G3=TS (NS, M1)

135

IF (ABS (G2+GЗ), GT.ABS (G2-GЗ)) GO TO 84

136

M+M+1

137

IF (G2, LЕ.GЗ) C2 (M)=M1

138

IF (G2.GT.G3) C2 (M)=I

139

84 COUTINUE

140

C2 (M+1)=J1

141

С БЛОК ФОРМИРОВАНИЯ МАССИВА АМПЛИТУД ЗАМОРОЗКОВ

142

DO 98 К1=2,J1

143

I1=С2(К1)

144

IF (I1.EQ.O) GO TO 98

145

K2=K1-1

146

12=C2 (K2)

147

M=0

148

DO 94 I=12,I1

149

М=M+1

150

G4 (М)=ТS (N5, 1)

151

94 CONTINUE

152

G5=0.0

153

DO 95 M=1,39

154

IF (G4 (M). GE.G4 (IM+1)) CO TO 95

155

IF (G4 (M). GE.G5) GO TO 95

156

G5=G4 (V)

157

95 CONTINUE

158

IF (G5.NE.O.O) GO TO 109

159

DO 61 М=1,39

160

IF (G4 (M). LE.G4 (M+1)) GO TO 61

161

IF (G4 (M). LE.G5) GO TO 61

162

G5=G4 (M)

163

61 CONTINUE

164

109 K3=K1-1

165

I10 (K3)=I1

166

120 (K3)=12

167

G50 (K3)=G5

168

DO 97 M=1,40

169

97 G4 (M)=0.0

170

98 CONTINUE

171

K4=0

172

КЗ =1

173

89 K4=K4+3

174

G55 (K4-2)=FLOAT (I20 (K3))

175

G55 (K4-1)=FLOAT (I10 (KЗ))

176

G55 (K4)=G50(K3)

177

IF (I10 (K3). EQ.J1) GO TO 91

178

IF (G50 (K3). NE.G50 (K3+1)) GO TO 99

179

IF (I10 (K3). NE.120 (K3+1)) GO TO 99

180

G55 (K4-1)=FLOAT (I10 (K3+1))

181

K3=K3+1

182

99 K3=K3+1

183

IF (КЗ.LE.98) GO TO 89

184

91 CONTINUE

185

K5=0

186

DO 105 N7=1,300

187

IF (G55 (N7). LT.O.O) K5=K5+1

188

105 CONTINUE

189

К6=К5*6+3

190

WRITE (6,  106) K5

191

106 FORMAT (1X,18НПЕРЕХОДЫ ЧЕРЕЗ TNZ/1Х,2НN=,14)

192

WRITE (6,102)

193

102      FORMAT (1Х,3(13Н НОМ.ТОЧЕК,ЗХ,4НАМП.))

194

WRITE (6,10T) (G55(N),N=1,К6)

195

101      FORMAT (1X,9(F5.1,2X))

196

U20=-B10+(1-B11)*WN-(B12+B13*WN)/(-20)

197

N8=9

198

IF (G55 (3). LT.O.O) GO TO 401

199

N8=6

200

401 CONTINUE

201

К6=К6-3

202

V=0.0

203

IF (N8, GT.K6) GO TO 604

204

DO 402 N6=N8, К6, 6

205

W1=WEX-WR

206

IF (W1.LE.O.O) WEX=WR+0,00001

207

IF (G55 (N6). EQ.O.O) GO TO 402

208

U=-B10+(1-B11)*WN- (B12+B13*WN)/G55 (N6)

209

IF (U.LE.O.O) U=0.00001

210

V=V+(U/U20)*(WEX-WR)

211

WRITE (6,14) N6, WEX, U, 20,V, G55 (N6)

212

14 FORMAT (1X,I4, 5F12.6)

213

402 CONTINUE

214

604 VD (IKLM, NS)=V

215

DO 606 N9=1,300

216

G55 (N9)=0.0

217

606 CONTINUE

218

DO 602 I=2,J1

219

ТS (N5,I)=0,0

220

602 CONTINUE

221

KONTR=0

222

200 CONTINUE

223

DO 900 N5=1,7

224

A2=0.01

225

IF (N5.EQ.7) GO TO 901

226

A2=H3/N5-0.01

227

901      СОNTINUE

228

DО 900 IKLM=1, IKLMN,2

229

VDS=VD (IKLM, N5)+VD (IKLM, N5)

230

WRITE (6,16) VDS

231

16 FORMAT (1Х, 4НVDS=, F11.6)

232

IF (VDS.EQ.O.O) GO TO 903

233

DUR=OMRZ*(WN-WR)/VDS

234

WRITE (6,902) IKLM, A2, DUR

235

902 FORMAТ(1Х,5НГОД N, 13, 8НСЛОЙ А2=,F8.4,

236

118Н ДОЛГОВЕЧНОСТЬ DUR=,F12.3/)

237

GO TO 900

238

903 WRITE (6,904) IKLM, A2

239

904 FORMAT (1Х,9НВАРИАНТ N, 13, 8HСЛОЙ А2=,F8.4

240

1,23Н ПЕРЕХОДОВ ЧЕРЕЗ TNZ НЕТ/)

241

900 CONTINUE

242

STOP

243

END

 

1

SUBROUTINE IS3 (Z1, X3, A, B, AL2, LA, AO, CU, OM, AL1, H3, J, C7, S7, TS31)

2

REAL LA

3

COMPLEX C7, S7

4

COMPLEX A7, PB7, P7, B7, S70, C70

5

DIMENSION A (48), B (48)

6

TS31=0.0

7

N=2*J+2

8

DO 300 K=1,J

9

S=SQRT (2*3,14*CU*OM*LA*K/24/3.6N)

10

A7=(S*(H3-Z1)/LA)*(1/1.414+(0.0,1.0) 31.414

11

PB7=(AL1/S)/(1/1.414+(0.0,1.0)/1.414)

12

S70=S7 (A7)

13

C70=C7 (A7)

14

Р7=(S70+PB7*С70)/(С70+PB7*S70)

15

SZ=0,5*EXP(H3*S/LA/1.414)*SQRT((1+AL1*1.414/S+(AL1/S)**2)*

16

1 (1+S*1,414/AL2*(S/AL2)**2))

17

SF=H3*S/LA/1.414-ATAN (1/(1+S/AL1*1.414))+ATAN (1/(1+AL2/S*1.414))

18

IF (ZI, EQ.O.O) GO TO 200

19

В7=С7+PВ7*S70

20

GO TO 100

21

200 B7=1+P7*S/AL2

22

100 CONTINUE

23

A4=SZ/CABS (B7)

24

FAZ=SF-ATAN (REAL (B7)/AIMAG (B7))

25

T831=TS31+(A (K)/A4)*COS (K*XЗ+FAZ)+(B (K)/A4)* SIN (K*X3+FAZ)

26

300 CONTINUE

27

RETURN

28

END

 

1

FUNCTION G (V, U, Z,J)

2

DIMENSION V (48), U (48)

3

G1=0.0

4

DO 64 K=1,J

5

64 G1=G1+V (K)*COS (K*Z)+U (K)*SIN (K*Z)

6

G=G1

7

RETURN

8

END

 

1

FUNCTION TS1 (Z1, XЗ, AL1, AL2, LA, HЗ, TB, T, AO, Q)

2

REAL LA

3

H1=AL1/LA

4

Н2=АL2/LА

5

H=H1*H2/(H1+H2+H1*H2*H3)

6

C2=(-Q*H*H3/(144*H1*H2))»(3*(2.0+H1»H3)*(H2-H)

7

1-Н2*Н*НЗ*(3.0+Н1+H3))

8

C=C2/H2

9

SК2=Н*(TВ-Т)

10

SK1=(SK2+H2*T)/H2

11

HM1=SК1+С/АО

12

HM2=Q/(24*H2)*(H2-H)

13

HM3=SK2+C2/AO

14

HM4=-H*Q/24

15

НM5=НМ2/(2*АО)

16

НМ6=-H*Q/144/АО

17

TS1=HM1+HM3*Z1+HMS*Z1**2+HM6*Z1**3+(HM2+HM4*Z1)*X3

18

RETURN

19

END

 

1

FUNCTION TS4 (Z1, ХЗ, АL2, LА, АО, AMP, N)

2

REAL LA

3

D2=SQRT (3.14/AO)

4

AN=AMP/SQRT (1+2*D2*LA/AL2+2*D2**2*(LA/AL2)**2)

5

AM=ATAN (1/(1+AL2/D2/LA))

6

TS4=AN*EXP (-Z1*D2)*COЗ (XЗ*N- (Z1*D2+AM))

7

RETURN

8

END

 

1

COMPLEX FUNCTIONS S7 (X7)

2

COMPLEX X7, SI, S

3

S=(0.0,0.0)

4

DO 1 I=1,20

5

M=2*I-1

6

G=1.0

7

DO 2 L1=1,М

8

2 G=G*1

9

S1=(X7**M)/G

10

S=S+S1

11

1 CONTINUE

12

4 S7=S

13

RETURN

14

END

 

1

COMPLEX FUNCTION C7 (X7)

2

COMPLEX X7, C1, C

3

C=(0.0,0.0)

4

DO 11 I=1,20

5

M=2*I

6

G=1.0

7

DO 21 L1=1,2

8

21      G=G*L1

9

C1=(X7 **M)/G

10

C=C+C1

11

11      СONTINUE

12

41 C7=C+(1.0,0.0)

13

RETURN

14

END

Приложение 5

ПРИМЕР РАСЧЕТА ХАРАКТЕРИСТИК КЛИМАТИЧЕСКОЙ АКТИВНОСТИ РАЙОНА СТРОИТЕЛЬСТВА ДЛЯ ПРОГНОЗИРОВАНИЯ ДОЛГОВЕЧНОСТИ НАРУЖНЫХ ОГРАЖДЕНИЙ БЕЗ ПРИМЕНЕНИЯ ЭВМ

Дано: район строительства - Норильск.

Определить: характеристики климатической активности района строительства.

Ввиду отсутствия данных полных многолетних метеорологических наблюдений в Норильске воспользуемся данными метеорологической станции п. Дудинка, весьма близко расположенного к Норильску (табл. 13 и 14).

Таблица 13

Район

строительства

Среднемесячные температуры наружного воздуха tсм по месяцам года, °С

I

II

III

IV

V

VI

VII

VIII

IX

X

XI

XII

Норильск

-27,6

-25,2

-21,4

-14,0

-5,2

5,9

13,4

10,4

3,6

-8,8

-21,8

-25,6

Таблица 14

Район

строительства

Средние суточные амплитуды температуры наружного воздуха АС по месяцам года, °С

I

II

III

IV

V

VI

VII

VIII

IX

X

XI

XII

Норильск

4,1

3,7

4,35

4,75

3,75

4,1

4,65

4,05

3,05

3,15

3,9

4,0

По наблюдениям этой станции, взятым из метеорологических ежемесячников, найдены среднесуточные температуры по дням за 1973-1976 гг. для летне-осеннего (сентябрь-ноябрь) и зимне-весеннего (апрель-май) периодов года. Пример соответствующего графика годового хода этих температур за 1973 г. на летне-осеннем периоде этого года показан на рис. 12. Там же нанесена кривая годового хода среднемесячных температур (табл. 13) на указанном периоде года и на нем выделены границы участка, где наблюдаются периодические изменения среднесуточных температур с переходами через 0°С, за пределами которого температура наружного воздуха уже скачкообразно, но устойчиво повышается или понижается без переходов через 0°С. В границах этого участка, определены полупериоды и амплитуды соответствующих переходов (заморозков и оттепелей) через кривую годового хода среднемесячных температур. Таким же образом для каждого из рассматриваемых годов были найдены полупериоды оттепелей и заморозков, их амплитуды и их количества в году на зимне-весеннем и летне-осеннем периодах (табл. 15 и 16).

Рис.12. Годовой ход среднесуточных и среднемесячных температур на летне-осеннем периоде 1973 г. в Норильске

Таблица 15

Год

Характеристики

климатической активности

Летне-осенний период

Зимне-весенний период

оттепели

заморозки

оттепели

заморозки

1973

Амплитуда, °С

2,7

9,6

12,8

8,8

9,8

11,2

5,6

14,5

7,2

11,5

средняя 8,4

средняя 9,9

средняя 5,6

средняя 11,1

Полупериод, сут.

2,25

2,25

6,75

9,5

7,0

5,0

2,6

8,75

8,75

13,0

средний 3,75

средний 7,2

средний 2,6

средний 10,2

1974

Амплитуда, °С

5,6

6,0

9,6

9,6

6,2

5,4

средняя 5,6

средняя 6,0

средняя 9,6

средняя 7,1

Полупериод, сут.

6,0

10,5

11,0

14,0

12,5

11,5

средний 6,0

средний 10,5

средний 11,0

средний 12,7

1975

Амплитуда, °С

-

-

15,0

11,6

7,8

11,0

средняя 0

средняя 0

средняя 13,3

средняя 9,4

Полупериод, сут.

-

-

6,0

5,0

7,0

18,0

средний 0

средний 0

средний 5,5

средний 12,5

1976

Амплитуда, °С

-

-

12,8

8,0

6,2

7,0

средняя 0

средняя 0

средняя 10,0

средняя 6,6

Полупериод, сут.

-

-

8,0

5,0

4,0

16,0

средний 0

средний 0

средний 6,5

средний 10,25

Таблица 16

Год

Зимне-весенний период

Летне-осенний период

количество оттепелей m

количество заморозков m

начало оттепелей

количество оттепелей m

количество заморозков m

начало оттепелей

1973

1

3

5 мая

3

3

23 сентября

1974

1

3

27 апреля

1

1

19 сентября

1975

2

2

14 апреля

-

-

-

1976

2

2

19 апреля

-

-

-

Итого

за 4

года

6

10

~ 25 апреля

4

4

~ 20 сентября

Пользуясь табл. 15, найдем, что на зимне-весеннем периоде года:

средняя амплитуда оттепелей

средняя амплитуда заморозков

средний полупериод оттепелей

средний полупериод заморозков

Таким образом, на зимне-весеннем периоде:

средняя расчетная амплитуда заморозков и оттепелей

средний расчетный период оттепелей и заморозков

среднее расчетное число заморозков и оттепелей в год

Аналогичным образом найдем, что на летне-осеннем периоде года:

средняя амплитуда оттепелей

средняя амплитуда заморозков

средний полупериод оттепелей

средний полупериод заморозков

Таким образом, на летне-осеннем периоде:

средняя расчетная амплитуда заморозков и оттепелей

средний расчетный период оттепелей и заморозков

среднее расчетное число заморозков и оттепелей в год

На рис. 13 по данным табл. 13 построена кривая годового хода среднемесячных температур и с помощью табл. 14 определены приближенно зимне-весенний и летне-осенний периоды года, на которых возможны переходы температуры наружного воздуха через 0°С, и для них определены темпы изменения среднемесячных температур, как тангенсы угла наклона соответствующих участков кривой к выбранным осям времени t с началом его отсчета в предшествующем им месяце. Эти темпы оказались равными:

на зимне-весеннем периоде ,

на летне-осеннем периоде

Рис. 13. Годовой ход среднемесячных температур в Норильске по данным многолетних наблюдений

Таким образом все характеристики климатической активности района строительства tсм, tсс, b, Ас, Ар, Рр, mр и начала оттепелей и заморозков определены.

Приложение 6

Пример РАСЧЕТА ДОЛГОВЕЧНОСТИ ЗАЩИТНОГО СЛОЯ ОДНОСЛОЙНОЙ СТЕНЫ

Дано: Стена жилого дома толщиной d = 0,4 м из керамзитобетона gо = 1000 кг/мЗ с F 35 на пористом песке с защитным слоем толщиной dр = 3 см из цементно-песчаного раствора состава 1:2 с gо = 1935 кг/мЗ и F 50.

Район строительства - Норильск. Условия эксплуатации Б (см. приложения 1 и 2 СНиП II-3-79* [l]).

Оценить долговечность защитного слоя

Находим: w = 0,1;

              lо= 0,27 Вт/м°С;

              Со = 0,84 кДж/кг°С; (СНиП II-3-79* [1], приложение 3)

              l = 0,41 Вт/м°С;

              Dwср = 0,05 (СНиП II-3-79, табл. 14);

              aн = 23 Вт/м2°С (СНиП II-3-79, табл. 6);

              aв = 8,7 Вт/м2°С (СНиП II-3-79, табл. 4);

              tв = 18°С (ГОСТ 12.1.005-76);

              tсм - по табл. 11;

              Ас - по табл.12;

              Сж - 4,19 кДж/кг°С

Далее находим*:

(п. 6.2.2)

                                    (формулы 8)

_______________________

* С учетом того, что 1 кДж = 0,278 Вт×ч.

 м-1 (формула 7).

Определяем квазистационарное температурное поле стены (п. 6.2.3) на зимне-весеннем периоде года при tcм = -14,0°С (табл. 13, рис. 13) и b = 0,0131 °С/ч  (приложение 5).

°С/м;

°С (формулы 5);

°С×м2/ч (формулы 6).

Далее находим:

°С/ч;

°С/м;

°С/м×ч;

°С/м2;

°С/м3 (формулы 4).

Для срединной плоскости защитного слоя (х = 0,015 м) (п.6.1.15)

Таким образом, для него (формула 3):

Амплитуду Ac суточных колебаний температуры наружного воздуха найдем как среднюю для V и VI месяцев (табл. 14):

и для них (п. 6.2.4)

При этом

и амплитуда суточных температурных колебаний на наружной поверхности стены (формула 10) равна

а в слое  (формула 9)

Амплитуда же колебаний температуры этого слоя на указанном периоде, связанная с устойчивыми периодическими оттепелями и заморозками (приложение 5), равна

 

Интервал времени, где возможны переходы температуры стены в точке х = 0,015 м через 0°С, равен 30-50 сут. (рис. 13). Для его границ (формула 3) для t = 30 сут.

а для t = 50 сут.

На рис. 14 с учетом этого для срединной плоскости защитного слоя х = 0,015 м построен линейный график квазистационарного изменения (0,015; t) во времени в интервале 30-50 сут. на зимне-весеннем периоде года и на него с учетом п. 6.2.4 наложены два гармонических колебания температуры этой плоскости с найденными амплитудами А (0,015) = 2,7°С и периодом Р = 24 ч и А (0,015) = 8,8°С и периодом 16,7 сут.

Теперь определим квазистационарное температурное поле стены на летне-осеннем периоде года при tсм= 13,4°С (табл. 13) и b = -0,0166 °С/ч (приложение 5):

°С (формулы 5);

° (формулы 6).

Далее находим:

;

 (формулы 4).

Рис. 14. График изменения температуры срединной плоскости защитного слоя однослойной панели на зимне-весеннем периоде года

Рис.15. График изменения температуры срединной плоскости защитного слоя однослойной панели на летне-осеннем периоде года

Для срединной плоскости защитного слоя (х = 0,015м) (п. 6.1.15)

Таким образом

Суточные колебания температуры наружного воздуха на летне-осеннем периоде года (IX месяц) имеют амплитуду Ас = 3,1°С (табл. 14) и для них (п. 6.2.4) Р = 24 ч.

Поэтому амплитуда суточных колебаний на наружной поверхности стены (формула 10) на летне-осеннем периоде года будет равна

а в слое х = 0,015 м (формула 9)

Амплитуда же колебаний температуры этого слоя на указанном периоде года, связанная с устойчивыми заморозками и оттепелями (приложение 5)

Возможный интервал времени, где могут быть переходы температуры стены в точке х = 0,015 м через 0°С, равен 25-45 сут. Для его границ (формула 3) для t = 25 сут.

а для t = 45 сут.

На рис. 15 с учетом этого построен линейный график квазистационарного изменения t (0,015; t) во времени в интервале 25-45 сут. на летне-осеннем периоде года и на него наложены два гармонических колебания температуры этого слоя с найденными амплитудами А (0,015) = 2,2 °С и периодом Р = 24 ч и А (0,015) = 7,7 °С и периодом Р = 12,3 сут.

Из рис. 14 и 15 следует, что на зимне-весеннем периоде года в защитном слое будет 15 переходов через 0°С, из них 2 (5 и 9) за tнз =-3,5°С (табл. 6), а на летне-осеннем периоде - 3 перехода через 0°С и из них 2 (1 и 3) через tнз. Для указанных переходов за tнз определяем температуры переходов ti и им соответствующие коэффициенты x (ti) (табл. 8):

зимне-весенний период

1.             

2.             

летне-осенний период

1.               

2.               

Для материала защитного слоя (цементно-песчаный раствор) мы будем иметь:

 (табл. 6);

(табл. 7);

 (СНиП II-3-79*[1], приложение 3);

Dwср = 0,035 (СНиП II-3-79* [1], табл. 14, среднее для легкого и

тяжелого бетонов).

Поэтому (формулы 2)

При этом долговечность защитного слоя по формуле (1) будет равна

Таким образом, для обеспечения нормативного срока службы защитного слоя, равного 50 годам (см. п.п. 6.1.1-6.1.5), понадобится либо один капитальный ремонт, либо повышение марки защитного слоя по морозостойкости до F 75. В этом случае долговечность защитного слоя

и будет уже близка к нормативной.

Приложение 7

ПРИМЕР РАСЧЕТА ДОЛГОВЕЧНОСТИ ОДНОСЛОЙНОЙ СТЕНЫ

Дано: Условия приложения 6.

Оценить долговечность всей стены.

Квазистационарное распределение температуры в стене с учетом формулы (3) и найденных в приложении 6 коэффициентов будет равно:

на зимне-весеннем периоде

;

на летне-осеннем периоде

Пользуясь указаниями п. 6.2.8, для отыскания глубины промерзания стены будем иметь два уравнения:

на начало зимне-весеннего периода (при t = 30 сут.)

для конца летне-осеннего периода (при t = 45 сут.)

Решая эти уравнения, найдем глубину промерзания стены:

в первом случае х = 7,78 см;

во втором случае х = 7,42 см.

Таким образом, для обоих случаев можно принять

Из них на защитный слой приходится 3 см и на тело стены 4,6 см. Таким образом, придется оценить долговечность стены для слоя

По полной аналогии с примером 6 для зимне-весеннего и летне-осеннего периодов года строим линейные графики квазистационарного изменения температуры установленного слоя стены t (0,05; t) во времени и на них накладываем два гармонических колебания температуры рассматриваемого слоя. После чего найдем, что на зимне-весеннем периоде в стене будет 6 переходов через 0°С и из них 2 (4 и 6) - за tнз =  - 2,7°С (табл.6), а на летне-осеннем периоде 6 переходов за 0°С и из них два (1 и 6) - за tнз. Для указанных переходов за tнз определяем температуры переходов ti и коэффициенты x(ti) (табл. 8):

зимне-осенний период

1.             

2.                

летне-весенний период

1.               

2.               

Для материала стены (керамзитобетон) мы будем иметь:

 (табл. 6);

 (табл. 7);

 (СНиП II-3-79*[1], приложение 3);

 (СНиП II-3-79* табл. 14).

Поэтому (формулы 2)

                                

Теперь по формуле (1) находим долговечность стены:

что меньше нормативной долговечности ограждающих конструкций жилых зданий, равной 50 годам (см. п.п. 6.1.1-6.1.5). Поэтому необходимо повысить марку по морозостойкости материала тела стены до F50. Тогда мы будем иметь ее долговечность, равную нормативной

ЛИТЕРАТУРА

1. СНиП II-3-79*. Строительная теплотехника. Нормы проектирования. М., Стройиздат, 1982.

2. СНиП 2.03.01-84. Бетонные и железобетонные конструкции. М., Стройиздат, 1985.

3. ВСН 32-77. Инструкция по проектированию конструкции панельных жилых зданий. М., Госгражданстрой, 1978.

4. ГОСТ 11024-84. Панели стеновые наружные бетонные и железобетонные для жилых и общественных зданий. Общие технические условия.

5. ГОСТ 25820-83. Бетоны легкие. Технические условия.

6. ГОСТ 25485-82. Бетоны ячеистые. Технические условия.

7. ГОСТ 25192-82. Бетоны. Классификация и общие технические требования.

8. Руководство по повышению морозостойкости бетонных и железобетонных конструкций для условий Крайнего Севера. М., НИИЖБ, Госстрой СССР, 1973.

9. СН 290-74. Инструкция по приготовлению и применению строительных растворов. М., Стройиздат, 1975.

10. СНиП III-15-76. Бетонные и железобетонные конструкции монолитные. М., Стройиздат, 1976.

11. СНиП III-16-80. Правила производства и приемки работ. Бетонные и железобетонные конструкции сборные.

12. Руководство по применению бетона с противоморозными добавками. М., Стройиздат, 1978.

13. Руководство по производству бетонных работ в зимних условиях в районах Дальнего Востока, Сибири и Крайнего Севера. М., Стройиздат, 1982.

14. Пособие по возведению каменных и полносборных зданий в зимних условиях. М., ЦНИИСК, 1984.

15. Руководство по электротермообработке бетона. М., Стройиздат, 1971.

16. Рекомендации по обеспечению коррозионной стойкости гибких связей наружных стеновых трехслойных бетонных и железобетонных панелей. М., ЦНИИЭПжилища, 1983.

17. СНиП II-23-81. Стальные конструкции. Нормы проектирования. М., Стройиздат, 1982.

18. СН 393-78. Инструкция по сварке соединений арматуры и закладных деталей железобетонных конструкций. М., Стройиздат, 1979.

19. СНиП II-28-73*. Защита строительных конструкций от коррозии. Нормы проектирования. М., Стройиздат, 1980.

20. ГОСТ 15588-70*. Плиты теплоизоляционные из пенопласта полистирольного.

21. ГОСТ 20916-75. Плиты теплоизоляционные из пенопласта на основе резольных фенолоформальдегидных смол.

22. ГОСТ 9573-82Х. Плиты теплоизоляционные из минеральной ваты на синтетическом связующем. Технические условия.

23. ТУ-6-10-1604-77. Краска порошковая серая П-ЭП-971. Технические условия.

24. ТУ-6-10-1890-83. Краска порошковая серая П-ЭП-534. Технические условия.

25. ТУ-6-05-1866.78. Полиэтилен высокого давления 16803-070. Технические условия.

26. ГОСТ 16338-77. Полиэтилен низкого давления. Технические условия.

27. ГОСТ 22950-78. Плиты минераловатные повышенной жесткости на синтетическом связующем. Технические условия.

28. PСT Латв.ССР 944-84. Детали закладные со штампованными полосовыми анкерами для сборных железобетонных конструкций.

29. Пособие по применению закладных крепежных и строповочных деталей со штампованными полосовыми анкерами с объемно-просечными усилениями. (ЛатНИИстроительства, ЦНИИЭПжилища, Рига, 1984).

30. Рекомендации по конструированию, изготовлению и применению трехслойных панелей наружных стен с гибкими связями повышенной стойкости к атмосферной коррозии. М., ЦНИИЭПжилища, 1971.

31. Руководство по проектированию, изготовлению и применению составных стеновых панелей из ячеистого бетона. М., ЦИНИС, 1975.

32. СНиП 2.01.01-82. Строительная климатология и геофизика. М., Стройиздат, 1983.

33. ГОСТ 24767-81. Профили холодногнутые из алюминия и алюминиевых сплавов для ограждающих строительных конструкций. Технические условия.

34. ТУ 21-29-87-82. Мастика герметизирующая нетвердеющая морозостойкая строительная "Тегерон".

35. ТУ 550.2.123-80. Прокладки резиновые пористые уплотняющие "Бутапор".

36. ГОСТ 19177-81. Прокладки резиновые пористые уплотняющие. Технические условия.

37. ГОСТ 24064-80. Мастики клеящие каучуковые.

38. Рекомендации по применению нетвердеющей морозостойкой строительной мастики "Тегерон" для герметизации стыков крупнопанельных зданий, эксплуатирующихся на Севере. М., ВНИИстройполимер, 1982.

39. ТУ 6-02-775-76. Клей-герметик кремнийорганический "Эластосил 11-06".

40. ТУ 6-05-221-653-84. Уплотняющая прокладка "Вилатерм-С".

41. ТУ 400-1-165-79. Лента воздухозащитная "Герлен".

42. ТУ 21-29-46-76. Лента воздухозащитная "Герволент".

43. ТУ 21-29-88-80. Лента герметизирующая липкая "Ликален" для стыков строительных конструкций.

44. Инструктивное письмо по устройству водо - и воздухоизоляции стыков панелей наружных стен в крупнопанельных зданиях. М., ЦНИИЭПжилища, 1983.

45. ВСН 66-89-76. Инструкция по отделке фасадных поверхностей панелей наружных стен. М., Госстройиздат, 1977.

46. СН 277-80. Инструкция по технологии изготовления изделий из автоклавных ячеистых бетонов. М., Стройиздат, 1981.

47. ГОСТ 8829-85. Конструкции и изделия бетонные и железобетонные сборные. Методы испытаний нагружением и оценка прочности, жесткости и трещиностойкости.

48. ГОСТ 13015.0-83. Конструкции и изделия бетонные и железобетонные сборные. Общие технические требования.

49. ГОСТ 21780-83. (СТ СЭВ 3740-82). Система обеспечения точности геометрических параметров в строительстве. Расчет точности.

50. А. с. № 1000528. Горизонтальное сопряжение наружных стеновых панелей. Б.И., 1983, № 8.

51. СНиП III-23-76. Правила производства и приемки работ. Защита строительных конструкций и сооружений от коррозии.

52. СНиП II-6-74. Нагрузки и воздействия. Нормы проектирования. М., Стройиздат, 1976.

53. Рекомендации по расчету конструкций крупнопанельных зданий на температурно-влажностные воздействия. М., Стройиздат, 1983.

54. Рекомендации по проверке прочности, трещиностойкости и деформативности наружных стен из однослойных и слоистых бетонных и железобетонных панелей при температурно-усадочных воздействиях. М., ЦНИИЭПжилища, 1981.

55. Руководство по проектированию конструкций панельных жилых зданий для особых грунтовых условий. М., Стройиздат, 1982.

56. Руководство по определению экономически оптимального сопротивления теплопередаче ограждающих конструкций зданий различного назначения. М., Стройиздат, 1981.

57. СНиП II-Л.1-71*. Жилые здания. Нормы проектирования. М., Стройиздат, 1980.

58. СНиП II-А.3-62. Классификация зданий и сооружений. Основные положения проектирования. М., Стройиздат, 1962.

59. СНиП II-2-80. Противопожарные нормы проектирования зданий и сооружений. М., Стройиздат, 1980.

60. Положение о проведении планово-предупредительного ремонта жилых и общественных зданий. Госстрой СССР, Рига, "Авотс", 1981.

61. ГОСТ 10354-82. Пленка полиэтиленовая.

62. ГОСТ 14791-79. Мастика герметизирующая нетвердеющая строительная. Технические условия.

63. Патент Франции № 2092185, Е04В2/00. Многослойный наружный стеновой элемент для сборного строительства.

64. Руководство по теплотехническому расчету и проектированию ограждающих конструкций зданий. М., НИИСФ, 1985.

65. А.с. № 170163. Способ изготовления трехслойных плит. Б.И., 1965, № 8.

 




ГОСТЫ, СТРОИТЕЛЬНЫЕ и ТЕХНИЧЕСКИЕ НОРМАТИВЫ.
Некоммерческая онлайн система, содержащая все Российские Госты, национальные Стандарты и нормативы.
В Системе содержится более 150000 файлов нормативно-технической документации, действующей на территории РФ.
Система предназначена для широкого круга инженерно-технических специалистов.

Рейтинг@Mail.ru Яндекс цитирования

Copyright © www.gostrf.com, 2008 - 2026