Крупнейшая бесплатная информационно-справочная система онлайн доступа к полному собранию технических нормативно-правовых актов РФ. Огромная база технических нормативов (более 150 тысяч документов) и полное собрание национальных стандартов, аутентичное официальной базе Госстандарта. GOSTRF.com - это более 1 Терабайта бесплатной технической информации для всех пользователей интернета. Все электронные копии представленных здесь документов могут распространяться без каких-либо ограничений. Поощряется распространение информации с этого сайта на любых других ресурсах. Каждый человек имеет право на неограниченный доступ к этим документам! Каждый человек имеет право на знание требований, изложенных в данных нормативно-правовых актах!

  


 

МИНИСТЕРСТВО СТРОИТЕЛЬСТВА РОССИЙСКОЙ ФЕДЕРАЦИИ

ПОСТАНОВЛЕНИЕ

13.07.95                                                                                                                       № 18-66

Москва

О введении в действие изменения к СНиП 2.06.04-82*

Министерство строительства Российской Федерации ПОСТАНОВЛЯЕТ:

Ввести в действие с 1 июля 1996 года на территории Российской Федерации представленное Главтехнормированием Минстроя России изменение N 2 СНиП 2.06.04-82* «Нагрузки и воздействия на гидротехнические сооружения (волновые, ледовые и от судов)», разработанное ВНИИГом им. Веденеева и принятое Межгосударственной научно-технической комиссией по стандартизации и техническому нормированию.

Министр                                                                                                                 Е.В. Басин

ИЗМЕНЕНИЕ № 2

СНиП 2.06.04-82* "Нагрузки и воздействия на гидротехнические сооружения (волновые, ледовые и от судов)"

1. Раздел 5 СНиП 2.06.04-82* изложить в следующей редакции:

"5. ЛЕДОВЫЕ НАГРУЗКИ НА ГИДРОТЕХНИЧЕСКИЕ СООРУЖЕНИЯ ОСНОВНЫЕ ПОЛОЖЕНИЯ

5. ЛЕДОВЫЕ НАГРУЗКИ НА ГИДРОТЕХНИЧЕСКИЕ СООРУЖЕНИЯ

ОСНОВНЫЕ ПОЛОЖЕНИЯ

5.1. Нагрузки от льда на гидротехнические сооружения должны определяться на основе статистических данных о физико-механических свойствах льда, гидрометеорологических и ледовых условиях в районе сооружения для периода времени с наибольшими ледовыми воздействиями.

5.2. Прочностные характеристики льда при сжатии Rc и изгибе Rf, МПа, основные прочностные характеристики, определяющие значение ледовой нагрузки, следует определять по формулам:

;                                                                                             (114)

Rf = 0,4(Cb + Db);                                                                                                    (115)

где N - количество слоев одинаковой толщины, на которое разбивается (по толщине) рассматриваемое ледяное поле, при этом N ³ 3;

Ci - среднее (арифметическое) значение максимального предела прочности льда при одноосном сжатии, МПа, в i-ом слое при температуре ti, определяемое по опытным данным (методика испытаний льда на одноосное сжатие дана в Приложении 4);

Di - доверительная граница случайной погрешности определений Сi, МПа, определяемая методами математической статистики при заданных значениях доверительной вероятности a и количестве параллельных измерений (числе испытанных образцов) n;

Cb и Db - среднее (арифметическое) значение максимального предела прочности льда при одноосном сжатии, МПа, в нижнем слое рассматриваемого ледяного поля при температуре tb и доверительная граница случайной погрешности определений Cb, МПа, определяемые так же, как Сi и Di.

При отсутствии опытных данных допускается принимать значения (Сi + Di) по табл. 27 и 28.

5.3. Расчетная толщина ровного льда hd, м, принимается равной:

- для пресноводного льда Европейской части России и в районах Сибири, расположенных южнее 65° северной широты - 0,8 от максимальной за зимний период толщины льда 1 %-ной обеспеченности;

- для районов Азиатской части России, расположенных между 65° и 70° северной широты - 0,9 от максимальной толщины льда обеспеченностью 1 %;

- для районов Азиатской части России, расположенных севернее 70° северной широты - максимальной толщине льда 1 %-ной обеспеченности;

- для морского льда - максимальной толщине льда 1 %-ной обеспеченности.

В зимний период в случае смерзания сооружения с ледяным полем за трое суток и более до момента наибольшего воздействия льда на сооружение расчетная толщина льда на границе сооружение - лед принимается по данным натурных наблюдений, а при их отсутствии допускается толщину примерзшего к сооружению льда считать равной 1,5hd.

Таблица 27

Тип кристаллической структуры пресноводного льда

Температура льда в i-ом слое ледяного поля ti,°С

0

-3

-15

-30

Значения (Сi ± Di), МПа (при a = 0,95, n = 5)

Зернистый (снежный)

1,2 ± 0,1

3,1 ± 0,2

4,8 ± 0,5

5,8 ± 0,4

Призматический (столбчатый)

1,5 ±0,2

3,5 ± 0,3

5,3 ±0,4

6,5 ± 0,5

Волокнистый (шестовато-игольчатый)

0,8 ± 0,1

2,0 ± 0,2

3,2 ± 0,3

3,8 ± 0,4

ti - температура льда в i-ом слое ледяного поля, °С, определяемая по опытным данным, а при их отсутствии - по формуле

ti = tuzi,                                                                                                      (116)

где tu - температура льда на границе воздух (или снег) - лед, °С, определяемая методами тепло- и массообмена по данным о температуре воздуха, толщине снежного покрова и скорости ветра или принимаемая равной среднесуточной температуре воздуха до момента наибольшего воздействия льда на сооружение при данной толщине льда: 0,5м - за 5 суток; 0,75 м - за 11 суток; 1,0 м - за 19 суток; 1,5 м - за 43 суток; 2,0 м - за 77 суток;

zi - расстояние от границы лед - вода до середины i-го слоя в долях толщины ледяного поля.

Примечание. В период весеннего ледохода допускается принимать tu = 0 °С при переходе температуры воздуха через ноль до момента наибольшего воздействия льда на сооружение при данной толщине льда: 0,5 м - за 1 сутки; 1,0 м - за 5 суток; 1,5 м - за 11 суток; 2,0 м - за 19 суток.

Таблица 28

Тип кристаллической структуры морского льда

Количество жидкой фазы в i-ом слое ледяного поля - ni, %o

1

10

25

50

100

200

Значения (Сi ± Di), МПа (при a = 0,95, n = 5)

Зернистый

8,4±0,5

6,0±0,5

3,40,4

1,6±0,2

1,0±0,2

0,8±0,2

Волокнистый

6,00,5

3,9±0,4

1,9±0,2

0,7±0,1

0,4±0,1

0,3±0,1

νi - количество жидкой фазы в i-ом слое ледяного поля, °/оо, и определяемое по «Океанографическим таблицам» при заданных значениях температуры и солености льда, t и si.

ti - температура льда в i-ом слое ледяного поля, °С, определяемая по опытным данным, а при их отсутствии - по формуле

ti = (tu - tb)zi + tb,                                                                                      (117)

где tb - температура льда на границе лед - вода (температура замерзания), °С, определяемая по «Океанографическим таблицам» при заданном значении солености воды sw;

tu, zi - обозначения те же, что в формуле (116), табл.27.

si - соленость льда в i-ом слое ледяного поля, определяемая по опытным данным, а при их отсутствии принимаемая одинаковой по толщине поля и равной 0,2sw для льда возрастом до двух месяцев или 0,15sw для льда возрастом два месяца и более.

5.4. Строение ледяного поля (по толщине) определяется по данным кристаллографического исследования, а при их отсутствии допускается принимать:

ледяной покров открытых озер, водохранилищ и крупных рек состоит из зернистого и призматического льдов;

ледяной покров морей и устьевых участков рек, впадающих в моря, состоит из зернистого и волокнистого льдов;

толщина слоя зернистого льда, располагающегося в верхней части ледяного покрова, составляет 0,25hd, а толщина слоя призматического или волокнистого льда - 0,75hd.

Примечания. 1. Настоящие требования распространяются на пресноводный и морской однолетний лед.

2. Доверительная вероятность значений Rc и Rf при расчетах ледовых нагрузок на сооружения II и III класса принята a = 0,95, а для сооружений I класса при соответствующем обосновании допускается назначать большую доверительную вероятность, но не выше a = 0,99.

3. Для морей Арктического и Дальневосточного бассейнов нагрузки на сооружения уточняются по опытным данным.

НАГРУЗКИ ОТ ЛЕДЯНЫХ ПОЛЕЙ НА СООРУЖЕНИЯ

5.5. Силу от воздействия движущихся ледяных полей на сооружения с вертикальной передней гранью необходимо определять:

от воздействия ледяного поля на отдельно стоящую опору, рис. 35 с передней гранью в виде треугольника, многогранника или полуциркульного очертания Fc,p, МН, по формуле

;                                                                                   (118)

от воздействия ледяного поля на секцию протяженного сооружения, рис. 36, Fc,w, МН, по формуле

,                                                                                        (119)

где ν - скорость движения ледяного поля, м/с, определяемая по данным натурных наблюдений, а при их отсутствии допускается принимать ее равной:

- для рек и приливных участков морей - скорости течения воды;

- для водохранилищ и морей - 3 % от значения скорости ветра 1 %-ной обеспеченности в период движения льда;

m - коэффициент, принимаемый по табл. 29;

А - максимальная площадь ледяного поля (или суммарная площадь нескольких ледяных полей, оказывающих давление друг на друга) 1 %-ной обеспеченности, м2, определяемая по натурным наблюдениям в данном или смежных пунктах;

kb - коэффициент, принимаемый по табл. 30;

kν - коэффициент, принимаемый по табл. 31;

g - половина угла заострения передней грани опоры в плане на уровне действия льда, град (для опоры с передней гранью в виде многогранника или полуциркульного очертания необходимо принимать g = 70°).

Рис. 35. Схема приложения нагрузки от движущегося ледяного поля на отдельно стоящую вертикальную опору

Рис. 36. Схема приложения нагрузки от движущегося ледяного поля на секцию сооружения

Таблицы 29

Коэффициент формы опоры в плане

Для опор с передней гранью в виде

треугольника с углом заострения в плане 2 g , град

многогранника или полуциркульного очертания

прямоугольника

45

60

75

90

120

m

0,41

0,47

0,52

0,58

0,71

0,83

1

Примечание. В случае внезапной подвижки смерзшегося с опорой ледяного поля для опоры с передней гранью в виде треугольника и прямоугольника принимается m = 1, для опор с передней гранью в виде многогранника или полуциркульного очертания m = 1,26.

Таблица 30

Значение b/hd

0,3 и менее

1

3

10

20

30 и более

Коэффициент kb

для пресноводного льда

5,3

3,1

2,5

1,9

1,8

1,5

для морского льда

5,7

3,6

3,0

2,3

1,9

1,5

b - ширина опоры или секции сооружения по фронту на уровне действия льда, м.

Таблица 31

Значение -1

10-7 и менее

5×10-5

10-4-5×10-4

10-3

5×10-3

10-2 и более

Коэффициент kν

0,1

0,9

1,0

0,8

0,5

0,3

* - эффективная скорость деформации льда в зоне его взаимодействия с опорой, с-1, определяемая по формуле

 = ν/4b                                                                                                                                   (120)

При этом, сила Fc,p, определенная по формуле (119) не может быть больше силы Fb,p, МН, определяемой по формуле

Fb,p = mkbkνRchd,                                                                                                          (121)

а сила Fc,w, определенная по формуле (119) не может быть больше силы Fb,w, МН, определяемой по формуле

Fb,w = kkνRcbhd,                                                                                                           (122)

где k - коэффициент, принимаемый по табл. 32

Таблица 32

Значения b/hd

0,3 и менее

1

3

10

20

30 и более

Коэффициент k

1

0,9

0,8

0,6

0,5

0,4

Силу от воздействия ледяного поля на опору с передней гранью в виде прямоугольника следует определять по формуле (121)

Rc и hd - обозначения те же, что в пп. 5.2 и 5.3.

5.6. Силу от воздействия движущегося ледяного поля на отдельно стоящую коническую опору, рис. 37, или конический ледорез полуциркульного очертания при отсутствии смерзания со льдом необходимо определять по формулам:

а) горизонтальную составляющую силы Fh,p, МН,

Fh,p = [kh,1Rfhd2 + kh,2rghdd2 + kh,3rghd(d2 - dt2)]kh,4;                                                  (123)

б) вертикальную составляющую силы Fν,p, МН,

Fν,p = kν,1Fh,p + kν,2rghd(d2 - dt2),                                                                                 (124)

а на секцию откосного профиля, рис. 38, или отдельно стоящую опору прямоугольного сечения с наклонной передней гранью по формулам:

а) горизонтальную составляющую силы Fh, МП,

Fh = 0,1Rfbhdtgb;                                                                                                        (125)

б) вертикальную составляющую силы Fν, МН,

Fν = Fhctgb,                                                                                                                 (126)

где kh,1, kh,2 - коэффициенты, принимаемые по табл. 33;

kh,3, kh,4, kν,1, kν,2 - коэффициенты, принимаемые по табл. 34;

r - плотность воды, кг/м3;

g - ускорение свободного падения, равное 9,81 м/с2;

d - диаметр конуса по ватерлинии, м;

dt - верхний диаметр конуса, м;

b - угол наклона образующей конуса (передней грани сооружения откосного профиля) к горизонту, град.

Rf, hd, b - обозначения те же, что в пп. 5.2, 5.3 и 5.5.

Рис. 37. Схема приложения нагрузок от движущегося ледяного поля на отдельно стоящую коническую опору

Рис. 38. Схема приложения нагрузок от движущегося ледяного поля на сооружение откосного профиля

Таблица 33

Значение rgd2/Rfhd

0,1

0,5

1

5

10

25

50

100

Коэффициенты:

 

 

 

 

 

 

 

 

kh,1

1,6

1,6

1,7

1,9

2,1

2,5

2,9

3,5

kh,2

0,31

0,24

0,21

0,11

0,08

0,05

0,02

0,02

Таблица 34

Значение b, град

20

30

40

50

60

70

Коэффициенты:

0,25

0,27

0,31

0,36

0,46

0,67

kh,3

 

 

 

 

 

 

kh,4

0,7

0,9

1,3

1,8

2,6

5,3

kν,1

2,2

1,6

1,1

0,8

0,5

0,3

kν,2

0,041

0,042

0,039

0,034

0,026

0,017

Примечание. Данные этой таблицы соответствуют коэффициенту трения между льдом и сооружением, равному 0,15.

Примечание. В случае подвижки смерзшегося с коническим сооружением ледяного поля горизонтальная составляющая силы Fh,f, МН, определяется как на цилиндрическую опору с расчетной шириной b, равной диаметру конуса на уровне действия льда, по формуле

Fh,f = kbFb,p,                                                                                                                                                            (127)

где kb - коэффициент, принимаемый по табл. 35;

Fb,p - обозначение то же, что в п. 5.5.

Вертикальная составляющая силы Fν,p в этом случае отсутствует.

Таблица 35

Угол наклона образующей конуса b, град

45

60

75

90

Коэффициент kb

0,6

0,7

0,9

1

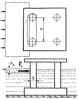
5.7. Силу от воздействия движущегося ледяного поля на сооружение, состоящее из системы вертикальных колонн, Fp, МН, рис. 39, необходимо определять по формуле

Fp = ntk1k2Fb,p,                                                                                                            (128)

где nt - общее число колонн в сооружении;

k1 - коэффициент, определяемый по формуле

k1 = 0,83 + 0,17nt-1/2,                                                                                                   (129)

k2 - коэффициент, принимаемый по табл. 36;

Таблица 36

Значение b/a

0,1 и менее

0,5

1

Коэффициент k2

1

a - шаг колонн, м;

kn - коэффициент, принимаемый по табл.32 при (nfb)/hd;

nf - число колонн в первом ряду по фронту сооружения.

Примечание. Значения коэффициента k1, определенные по формуле (129), соответствуют коэффициенту вариации предела прочности льда при одноосном сжатии, равному 0,2.

hd, Fb,p, b и k - обозначения те же, что в пп. 5.3 и 5.5.

Рис. 39. Схема приложения нагрузок от движущегося ледяного поля на сооружение из системы вертикальных колонн

5.8. Силу от воздействия остановившегося ледяного поля, наваливающегося на сооружение при действии течения воды и ветра FS, МН, необходимо определять по формуле

Fs = (Pm + Pν + Pi + Pm,a)A,                                                                                         (130)

в которой величины Pm, Pν, Pi и Pm,a, МПа, определяются по формулам:

Pm = 5×10-6ν2max;                                                                                                           (131)

;                                                                                               (132)

Pi = 9,2×10-3hdi;                                                                                                            (133)

Pm,a = 2×10-8ν2w,max                                                                                                        (134)

где Νmax - максимальная скорость течения воды подо льдом 1 %-ной обеспеченности в период ледохода, м/с;

Νw,max - максимальная скорость ветра 1 %-ной обеспеченности в период ледохода, м/с;

Lm - средняя длина ледяного поля по направлению потока, принимаемая по данным натурных наблюдений, а при их отсутствии для рек допускается принимать Lm равной утроенной ширине реки, м;

i - уклон поверхности потока;

hd и A - обозначения те же, что в пп. 5.3 и 5.5.

При этом, сила Fs, определенная по формуле (130), не может быть больше силы Fb,w, определенной по формуле (122) при kν = 0,1.

Примечание. Расчетная ширина ледяного поля принимается по данным натурных наблюдений, а для затворов или аналогичных сооружений - не более ширины пролета сооружения.

5.9. Точку приложения равнодействующей ледовой нагрузки, определенной согласно пп. 5.1-5.4, необходимо принимать ниже расчетного уровня воды на 0,2hd в зимний период, а в период весеннего ледохода - на 0,4hd.

Нагрузки на сооружения от движущегося торосистого ледяного поля необходимо увеличить умножением их на коэффициент торосистости kr, принимаемый равным:

- для Азовского, Балтийского, Каспийского, Черного и Японского морей - 1,3;

- для Белого, Берингова, Арктических и Дальневосточных морей - 1,5.

При соответствующем обосновании допускается принимать для Арктических и Дальневосточных морей kr = 2.

НАГРУЗКИ НА СООРУЖЕНИЯ ОТ СПЛОШНОГО ЛЕДЯНОГО ПОКРОВА ПРИ ЕГО ТЕМПЕРАТУРНОМ РАСШИРЕНИИ

5.10. Горизонтальную линейную нагрузку (на 1 пог. м длины по фронту протяженного сооружения) от сплошного ледяного покрова при его температурном расширении q, МН/м, необходимо принимать равной наибольшему значению из полученных за рассматриваемый ряд лет.

Значения q определяются по графикам рис.40 при заданных значениях перепадов температуры воздуха Dq, °С, и соответствующих им реальных и приведенных толщинах льда, hc, м, и hred, м.

Значения Dq следует выбирать из графика хода температуры воздуха по данным срочных наблюдений в ледоставный период для каждого года из рассматриваемого ряда лет (30 лет и более) при длительности перепадов от 5 часов до 20 суток.

Значения hc принимаются равными средним толщинам льда за время перепада температуры.

Значения hred, м, необходимо определять по формуле

hred = hc + 1,43hs + hr,                                                                                                 (135)

где hs - средняя толщина снега за время перепада температуры, м;

hr - добавочная толщина льда, м, принимаемая по табл. 37.

Рис. 40. График значений нагрузки q

Таблица 37

Средняя скорость ветра за время перепада температуры νw, м/с

Добавочная тонина льда hr, м, при средней температуре воздуха за время перепада температуры qa, °С

0

-10

-20

0

0,57

0,46

0,39

2,5

0,32

0,26

0,22

5

0,16

0,14

0,12

10

0,05

0,05

0,05

20

0,01

0,01

0,01

5.11. Силу от воздействия ледяного покрова на отдельно стоящее сооружение Ft, МН, необходимо определять по формуле

Ft = klqb,                                                                                                                     (136)

где kl - коэффициент принимаемый по табл. 38;

b и q - обозначения те же, что в пп. 5.5 и 5.10.

Таблица 38

Значение L/b

1

5

15

25

50

75

109

Коэффициент kl

1

2

4

6

10

14

17

L - расстояние от отдельно стоящего сооружения до берега или протяженного сооружения, м

При этом сила Ft, определенная по формуле (136) не может быть больше силы, Ft,b, МН, определяемой по формуле

Ft,b = Rcbhc,                                                                                                                  (137)

где Rc - обозначение то же, что в п. 5.2.

5.12. Точку приложения равнодействующей ледовой нагрузки, определенной согласно пп. 5.10 и 5.11, необходимо принимать ниже расчетного уровня воды на 0,25hc.

НАГРУЗКИ НА СООРУЖЕНИЯ ОТ ЗАТОРНЫХ И ЗАЖОРНЫХ МАСС ЛЬДА

5.13. Силу от движущейся заторной массы льда на отдельно стоящую опору Fb,i, МН, необходимо определять по формуле

Fb,i = 0,5mRb,ibhb,i,                                                                                                      (138)

где Rb,i - нормативное сопротивление заторной массы льда смятию, МПа, определяемое по данным натурных наблюдений, а при их отсутствии допускается принимать равным:

- для участков рек севернее линии Воркута - Ханты-Мансийск - Красноярск - Улан-Удэ - Благовещенск - Николаевск на Амуре 0,45 МПа;

- между линиями Воркута - Ханты-Мансийск - Красноярск - Улан-Удэ - Благовещенск - Николаевск на Амуре и Архангельск - Киров - Уфа - Усть-Каменогорск 0,35 МПа;

- южнее линии Архангельск - Киров - Уфа - Усть-Каменогорск 0,25 МПа;

hb,i - расчетная толщина заторной массы, м, определяемая по данным натурных наблюдений, а при их отсутствии по формуле

hb,i = aiHb,i,                                                                                                                  (139)

где ai - коэффициент, принимаемый по табл. 39;

Нb,i - средняя глубина реки выше затора при максимальном расходе воды заторного периода, м;

m, b - обозначения те же, что в п. 5.5.

Таблица 39

Значение Нb,i, м

3

5

10

15

20

25

Коэффициент ai

0,85

0,75

0,45

0,40

0,35

0,28

5.14. Силу от движущейся зажорной массы на отдельно стоящую опору Fb,j, МН, необходимо определять по формуле

Fb,j = mRb,jbhj,                                                                                                             (140)

где Rb,j - нормативное сопротивление зажорной массы смятию, МПа, определяемое по данным натурных наблюдений, а при их отсутствии допускается принимать равным 0,12 МПа;

hj - расчетная толщина зажора, м, определяемая по данным натурных наблюдений, а при их отсутствии допускается принимать равной 0,8 от средней глубины потока при расходе воды зажорного периода;

m, b - обозначения те же, что в п. 5.5.

НАГРУЗКИ ОТ ПРИМЕРЗШЕГО К СООРУЖЕНИЮ ЛЕДЯНОГО ПОКРОВА ПРИ ИЗМЕНЕНИИ УРОВНЯ ВОДЫ

5.15. Вертикальную линейную нагрузку (на 1 пог. м длины по фронту сооружения) от примерзшего к сооружению ледяного покрова при изменении уровня воды fd, МН/м, рис.41, необходимо определять по формуле

,                                                                                                       (141)

где h0 - изменение уровня воды, м; при этом h0 £ hmax;

hmax - максимальная толщина ледяного покрова, м, обеспеченностью 1 %.

Рис. 41. Схема приложения нагрузок от примерзшего к сооружению ледяного покрова при изменении уровня воды (УВ)

а - при понижении (УВ); б - при повышении (УВ); УВЛ - уровень воды при ледоставе

5.16. Момент силы, воспринимаемый 1 пог. м протяженного сооружения от примерзшего ледяного покрова, Мl, МН×м/м, при изменении уровня воды, рис. 41, необходимо определять по формуле

,                                                                                                     (142)

где h0, hmax - обозначения те же, что в п. 5.15.

При этом, момент силы Мl, определенный по формуле (142) не может быть больше момента Мl,lim, МН×м/м, определяемого по формуле

,                                                                                           (143)

где sс - сдельное напряжение в сжатом слое изгибаемого ледяного покрова, МПа, определяемое как (С + D) для нижнего слоя ледяного покрова при температуре tb в случае понижения уровня воды или - для верхнего слоя ледяного покрова при температуре tu в случае повышения уровня воды;

st - предельное напряжение в растянутом слое изгибаемого ледяного покрова, МПа, определяемое как 0,3(С + D) для верхнего слоя ледяного покрова при температуре tu в случае понижения уровня воды или - для нижнего слоя ледяного покрова при температуре tb в случае повышения уровня воды;

C, D, tu и tb - обозначения те же, что в п. 5.2.

5.17. Вертикальную силу на отдельно стоящую опору или свайный куст от примерзшего к сооружению ледяного покрова при изменении уровня воды Fd,p, МН, рис. 42, необходимо определять по формуле

Fd,p = kfRfh2max,                                                                                                            (144)

где kf - коэффициент, определяемый по формуле

kf = 0,6 + 0,15D/hmax,                                                                                                  (145)

где D - поперечный размер (диаметр) опоры или свайного куста, м;

Rf и hmax - обозначения те же что в пп. 5.2 и 5.15.

Примечание. При прямоугольной форме опоры в плане со сторонами b и с, м, или для сооружения, состоящего из системы колонн, или куста свай с внешними габаритами опорной части на уровне действия льда b и с, м, допускается принимать , м.

Рис. 42. Схемы приложения нагрузки от примерзшего к отдельно стоящей опоре ледяного покрова при изменении уровня воды (УВ)

а - при понижении УВ; б - при повышении УВ

Рис. 43. Схемы приложения нагрузки от примерзшего к сооружению из системы вертикальных колонн ледяного покрова при повышении уровня воды

Примечание. При понижении уровня воды сила Fd,f направлена вниз

Рис. 44. Графики значений коэффициента Kk

5.18. Вертикальную силу на сооружение, состоящее из системы вертикальных колонн, от примерзшего к опорам ледяного покрова при изменении уровня воды Fd,f, МН, рис. 43, необходимо определять по формуле

Fd,f = KFd,p,                                                                                                                 (146)

где K - коэффициент, определяемый по формуле

,                                                                                                              (147)

где Kk - коэффициент для k-ой колонны, принимаемый по графикам рис. 44 при заданных значениях ak, b, hmax;

ak - расстояние от оси произвольно выбранной основной колонны до оси k-ой колонны (см. рис .43), м;

b, nt, hmax и Fd,p - обозначения те же, что в пп. 5.5, 5.7, 5.15 и 5.17.

Директор института                                                                                                  Д.А. Ивашинцов

Руководитель темы                                                                                                   А.П. Пак

Ответственный исполнитель                                                                                  М.Г. Гладков

2. Дополнить текст СПиП 2.06.04-82* рекомендуемым приложением 4:

"ПРИЛОЖЕНИЕ 4

Рекомендуемое.

ИСПЫТАНИЕ ЛЬДА НА ОДНООСНОЕ СЖАТИЕ

Отбор, изготовление и подготовка образцов к испытанию

Образцы льда отбираются из N слоев ледяного поля так, чтобы их длинные оси были перпендикулярны направлению роста кристаллов; при этом N ³ 3, толщина испытываемого ледяного поля должна быть не менее 0,6hd.

Образцы льда изготовляются в виде призм квадратного сечения или цилиндров круглого сечения с отношением высоты к ширине (диаметру), равны 2,5. Ширина образца должна не менее чем в 10 раз превышать средний поперечный размер кристалла, определяемый по данным кристаллографического исследования.

Отклонение размеров образцов от номинальных не должно превышать ±1 %. Образцы должны иметь гладкую ровную поверхность без трещин, сколов, раковин, заусенцев и др. дефектов.

Цилиндрические образцы следует изготовлять на токарном станке, а призматические - на горизонтально-фрезерном станке.

Грани призматических образцов рекомендуется обрабатывать попарно двумя фрезами, установленными на одном валу с расстоянием между ними, равным ширине образца при обработке боковых граней и с расстоянием, равным высоте образца при обработке опорных граней.

Перед испытанием образцы исследуемого слоя выдерживаются не менее чем 1 час при температуре слоя ti, определяемой по опытным данным, а при их отсутствии - по формулам (116) и (117).

Оборудование

Испытательные машины должны быть устроены по типу машин с управляемой скоростью деформации. Наибольшая создаваемая машиною нагрузка должна не менее чем в два раза превышать разрушающую нагрузку для испытываемых образцов.

Испытательные машины должны иметь автоматическую запись кривой «нагрузка – деформация», обеспечивать измерение нагрузки с погрешностью не более ±5 %.

Проведение испытаний

Образцы сжимаются вдоль длинных осей.

Образцы исследуемого слоя испытываются при температуре ti и постоянной скорости деформации, принимаемой для пресноводного льда равной , с-1, а для морского льда по табл. 1.

Таблица 1

Температура льда в i-ом слое ti, °С

-2

-10

-15

-23 и ниже

Значение , с-1

0,5

1,5

2,0

3,0

Обработка результатов

Разрушающее напряжение (предел прочности) при сжатии для каждого образца Сj, МПа, вычисляется по формуле

,                                                              (163)

где (Pmax)j -  максимальная нагрузка для j-го образца, определяемая по диаграмме «нагрузка - деформация» (см. рис. 1), МН;

f - площадь первоначального поперечного сечения образца, м2.

За результат испытания серии образцов исследуемого слоя принимается величина

С ± D, МПа,

где С - среднее (арифметическое) значение параллельных определений предела прочности при сжатии, МПа, определяемое по формуле

;                                                              (164)

D и n - обозначения те же, что в п. 5.2.

Рис. 1. Диаграммы «нагрузка - деформация» для льда, испытываемого при различных постоянных скоростях деформации:

1, 2 - пластическое разрушение; 3 - хрупко-пластическое разрушение; 4 - хрупкое разрушение

Графически результат испытания серии образцов исследуемого слоя изображается точкой и двумя разными отрезками, отложенными вверх и вниз от этой точки; точка соответствует среднему (арифметическому) значению предела прочности льда, а отрезок - среднему квадратическому отклонению случайной погрешности измерений. Указание количества испытанных образцов обязательно.

Примеры графического представления результатов испытаний нескольких серий образцов показаны на рис. 2 и 3.

Рис. 2. Зависимость максимального предела прочности пресноводного льда при одноосном сжатии от температуры

 - призматический лед (размеры образцов 25´25´50 см);

 - зернистый (снежный) лед (15´15´30 см);

 - волокнистый (шестовато-игольчатый) лед (22´22´45 см), n = 5.

Научно - исследовательская станция «Ладожское озеро», ААНИИ, 1979 - 1981 гг.

Рис. 3. Зависимость максимального предела прочности морского льда при одноосном сжатии от количества жидкой фазы

 - зернистый лед;

 - волокнистый лед.

Размеры образцов 4´4´10 см, n = 5.

Дрейфующая научно-исследовательская станция «Северный полюс-24», ААНИИ, 1978-1979 гг.»

 

 




ГОСТЫ, СТРОИТЕЛЬНЫЕ и ТЕХНИЧЕСКИЕ НОРМАТИВЫ.
Некоммерческая онлайн система, содержащая все Российские Госты, национальные Стандарты и нормативы.
В Системе содержится более 150000 файлов нормативно-технической документации, действующей на территории РФ.
Система предназначена для широкого круга инженерно-технических специалистов.

Рейтинг@Mail.ru Яндекс цитирования

Copyright © www.gostrf.com, 2008 - 2026