|
|
|
ГОСУДАРСТВЕННЫЙ СТАНДАРТ СОЮЗА ССР КРАНЫ-ШТАБЕЛЕРЫ СТЕЛЛАЖНЫЕ ОСНОВЫ РАСЧЕТА ГОСТ 28710-90 ГОСУДАРСТВЕННЫЙ КОМИТЕТ СССР Москва ГОСУДАРСТВЕННЫЙ СТАНДАРТ СОЮЗА ССР
Дата введения 01.01.92 Настоящий стандарт устанавливает основы расчета кранов-штабелеров стеллажных (далее - краны-штабелеры) исполнений СА и САД по ГОСТ 16553 на стадии проектирования. Требования настоящего стандарта являются обязательными. 1. ОБЩИЕ ПОЛОЖЕНИЯ1.1. Расчет крана-штабелера выполняется для проверки: безопасности крана-штабелера в работе; безопасности крана-штабелера при испытаниях; соответствия расчетных параметров крана-штабелера требованиям технического задания и нормативно-технических документов; обеспечения нормального взаимодействия крана-штабелера с тарой и стеллажом. 1.2. Безопасность крана-штабелера должна быть обеспечена для следующих случаев: нормальной работы с номинальным грузом; статических испытаний с грузом, превышающим на 25 % номинальную грузоподъемность; динамических испытаний с грузом, превышающим на 10 % номинальную грузоподъемность; аварийного наезда движущегося на полной скорости крана-штабелера на тупиковый упор; аварийного упора в препятствие телескопическим захватом при его выдвижении; аварийного упора грузоподъемника при подъеме (опускании) в крайнем верхнем (нижнем) положении (нижнее положение рассматривается для механизмов подъема с цепным органом при замкнутой схеме запасовки). 1.3. Исходные данные для расчета должны соответствовать параметрам, указанным в конструкторской документации на кран-штабелер. При этом размеры элементов крана-штабелера должны определяться по проектной геометрической схеме его конструкции без учета деформаций. Номинальная масса элементов должна быть вычислена по их номинальным размерам; расчетная масса оператора крана-штабелера назначается равной 80 кг. 1.5. Расчетные ускорения (замедления) механизмов крана-штабелера должны находиться в пределах, указанных в табл. 1. Таблица 1 м/с2
1.6. Прочность кранов-штабелеров достаточна для использования их в сейсмических районах без ограничений (т.е. учет сейсмических нагрузок не требуется). 2. РАСЧЕТ МЕХАНИЗМОВ2.1. Общие положения 2.1.1. Расчетные характеристики режима работы механизмов в соответствии с табл. 2. Таблица 2
__________ * Для таких сочетаний параметров крана-штабелера и проектной длины стеллажа, при которых время подъема груза на полную высоту равно или превышает время передвижения в конец стеллажа. 2.1.2. 90 %-ный ресурс механизмов должен быть не менее указанного в табл. 2 общего времени работы механизма. Если для механизма предусматривается капитальный ремонт, то указанный ресурс исчисляется до капитального ремонта. 2.1.3. Циклограммы для расчета механизмов приведены на черт. 1, где по оси абсцисс отложено относительное количество циклов, по оси ординат - относительное значение нагрузки. Черт. 1 Абсолютное значение количества циклов определяется как частное от деления необходимого ресурса (п. 2.1.2) на длительность одного цикла при установившемся движении (для вращающихся элементов циклом является один оборот). Абсолютное значение наибольшей ординаты нагрузки для механизма передвижения соответствует моменту при разгоне с расчетным ускорением; для механизма подъема - моменту при установившемся движении подъема с номинальным грузом; для механизма выдвижения - при взятии номинального груза из ячейки стеллажа, т.е. на наибольшем вылете захвата, но без учета сил инерции. 2.1.4. Электродвигатели должны быть проверены по наибольшим нагрузкам пусковых и тормозных режимов, а также на нагрев с учетом данных табл. 2 и черт. 1. 2.1.5. Элементы механизмов должны быть проверены на прочность по наибольшим нагрузкам пусковых и тормозных режимов, а также на выносливость (или долговечность) с учетом п. 2.1.2 и черт. 1. При этом расчет цилиндрических эвольвентных зубчатых передач внешнего зацепления следует выполнять по ГОСТ 21354, выбор зубчатых муфт - по ГОСТ 5006. Коэффициент запаса прочности и выносливости валов должен быть не менее 1,5; необходимые для расчета характеристики сопротивления усталости следует определять по ГОСТ 25.504. 2.2. Механизм передвижения крана-штабелера 2.2.1. Сопротивление передвижению крана-штабелера определяется как сила, необходимая для преодоления трения качения ходовых колес и подшипников, умноженная на коэффициент 1,1, учитывающий трение в боковых роликах. Уклон пути не учитывается. Коэффициент трения шариковых и роликовых подшипников назначается равным 0,015. Коэффициент трения качения назначается равным 0,4 мм для колес диаметром не более 320 мм; 0,6 мм - для колес диаметром более 320 мм и не более 560 мм; 0,8 мм - для колес диаметром более 560 мм и не более 700 мм; 1,0 мм - для колес диаметром более 700 мм. При этом грузоподъемник устанавливается в крайнее верхнее положение; горизонтальные инерционные силы, соответствующие расчетному ускорению (замедлению), вводятся в расчет без динамического коэффициента, а их направление назначается соответствующим разгрузке приводных колес. Коэффициент сцепления колеса с рельсом принимается равным 0,20. Для кранов-штабелеров с гибким токоподводом следует дополнительно учесть воздействие усилий статического натяжения и сопротивления передвижению кабельной подвески, если эти усилия вызывают разгрузку приводного колеса. При этом кабельную подвеску следует рассматривать в наиболее растянутом положении. 2.2.3. При расчете коэффициента запаса сцепления массы крана-штабелера и груза принимаются в своем номинальном значении. Все прочие расчеты выполняются при значении массы-штабелера 1,05 от номинальной и массы груза 1,1 от номинальной. 2.2.5. Расчетные усилия на ходовые колеса крана-штабелера для проверки контактных напряжений определяются в режимах разгона и торможения при крайнем верхнем положении грузоподъемника с грузом. Инерционные силы, соответствующие расчетному ускорению (замедлению), вводятся в расчет без динамического коэффициента, а их направление назначается соответствующим догрузке ходовых колес. Случай наезда на конечные упоры не рассматривается. Если кран-штабелер снабжен также и верхними буферами, то определение упомянутых усилий выполняется в процессе расчетов согласно пп. 3.2.1; 4.1.2. 2.2.7. При расчете выносливости динамический коэффициент (п. 2.2.4), а также нагрузки (п. 2.2.6) не учитываются. 2.3. Механизм подъема груза 2.3.2. Диаметры блоков и грузовых барабанов должны удовлетворять требованиям «Правил устройства и безопасной эксплуатации грузоподъемных кранов», утвержденных Госгортехнадзором СССР. 2.3.3. В нижнем положении грузоподъемника на грузовом барабане должно оставаться не менее 1,5 витков каната, не считая каната, находящегося под зажимным устройством. 2.3.4. Коэффициент запаса торможения должен соответствовать ГОСТ 28433. При этом масса грузоподъемника, груза, кабины и оператора принимается по ее номинальному значению и учитывается разгружающее действие сил трения. Динамические нагрузки в механизме не учитываются. 2.3.5. При расчете пускового режима электродвигателя, а также при расчете прочности передаточных звеньев механизма, масса грузоподъемника, кабины и оператора принимается равным 1,05, а груза - 1,25 от ее номинального значения; при этом учитываются силы трения и инерционные нагрузки, соответствующие расчетному ускорению (замедлению). 2.3.6. При расчете нагрева электродвигателя, а также при расчете выносливости (долговечности) передаточных звеньев механизма масса грузоподъемника, груза, кабины и оператора принимается по ее номинальному значению и учитывается трение в передачах, блоках, роликах грузоподъемника и на барабане. 2.3.7. Прочность передаточных звеньев механизма должна быть проверена на статическое действие наибольшего момента электродвигателя при упоре грузоподъемника в крайнем положении. 2.4. Механизм выдвижения грузозахватного органа Наибольшая величина сопротивления соответствует начальному моменту движения груза из ячейки стеллажа. При этом учитывается сила, необходимая для преодоления трения качения роликов и подшипников, умноженная на коэффициент 1,1, учитывающий трение в боковых роликах. Учитывается также влияние уклона криволинейной траектории движения центра масс груза в указанной позиции, вычисленного с учетом проектных уклонов, зазоров, допусков и жесткостей телескопического захвата, грузоподъемника и колонны крана-штабелера (см. приложение 1). Коэффициент трения шариковых и роликовых подшипников принимается равным 0,015, коэффициент трения качения роликов - 0,3 мм. При наличии группы роликов по длине секции захвата в расчете учитываются только крайние ролики в нагруженной группе или же крайние пары роликов, если последние установлены на балансирах. 2.4.2. При расчете пускового режима электродвигателя, а также при расчете прочности передаточных звеньев и роликов, масса груза принимается равной 1,25 от номинальной. При этом учитывается сопротивление движению (п. 2.4.1), инерционные нагрузки и трение в передачах. 2.4.3. Прочность передаточных звеньев механизма должна быть проверена также на статическое действие наибольшего момента электродвигателя при упоре порожним захватом в препятствие. При этом если на кране-штабелере установлено два или более захватов, усилие упора считается приложенным полностью к одному из них. 2.4.4. При расчете нагрева электродвигателя, а также при расчете выносливости (долговечности) передаточных звеньев механизма, масса груза принимается равной номинальной, инерционные нагрузки не учитываются. 2.5. Расчетные значения КПД 2.5.1. В расчетах принимаются следующие значения КПД: блоков и грузовых барабанов - 0,98; промежуточных валов - 0,98; открытых цилиндрических зубчатых передач в сборе с валом - 0,96; закрытых цилиндрических зубчатых передач в сборе с валом - 0,98; закрытых конических зубчатых передач - 0,96; зубчатых муфт - 0,99; шарнирных муфт - 0,98; звездочек для цепей - 0,97; клиноременных передач - 0,95; стандартных редукторов - по документации поставщика. 3. РАСЧЕТ МЕТАЛЛОКОНСТРУКЦИЙ3.1. Общие положения 3.1.1. При расчете металлоконструкций проверяется прочность, устойчивость, жесткость, выносливость и затухание колебаний конструкций в целом и отдельных элементов. 3.1.2. Проверка прочности, устойчивости и выносливости стальных конструкций и их элементов выполняется по методике СНиП II-23-81 «Нормы проектирования. Стальные конструкции», а алюминиевых конструкций - по методике СНиП 2.03.06-85 «Алюминиевые конструкции», утвержденных Госстроем СССР, с учетом требований настоящего стандарта. 3.1.3. Проверка прочности проводится по формулам для упругой стадии работы материала. Пластические деформации элементов не допускаются. 3.2. Расчет прочности и устойчивости 3.2.1. Прочность и устойчивость металлоконструкций колонн и ходовой балки, а также верхней балки двухколонных кранов-штабелеров проверяется для расчетного случая торможения крана-штабелера при наезде на конечные упоры с замедлением 4 м/с2. При этом учитываются силы тяжести масс конструкции с коэффициентом перегрузки 1,05, груза с коэффициентом 1,1 и соответствующие им горизонтальные силы инерции при динамическом коэффициенте 1,8. Грузоподъемник с грузом располагается в крайнем верхнем положении, если кран-штабелер снабжен только нижними буферами (т.е. расположенными на уровне наземного рельсового пути). Если же кран-штабелер снабжен также и верхними буферами, то расчет динамических напряжений в металлоконструкции выполняется методом математического моделирования совместно с выбором оптимальных характеристик буферов (п. 4.1.2). При проверке прочности устанавливаемых на ходовой балке рельсовых подхватов (п. 5.2) коэффициент условий работы материала и соединений принимается равным 0,5. 3.2.2. Прочность и устойчивость металлоконструкций колонн, грузоподъемника и телескопических захватов проверяется на статическое действие силы тяжести груза массой 1,25 от номинальной на наибольшем вылете захватов и сил тяжести масс конструкций с коэффициентом 1,05. При этом для расчета колонн грузоподъемник устанавливается в нижнее рабочее положение. При подъеме груза двумя отдельными захватами расчетная нагрузка на один захват принимается равной 0,6, а на второй 0,4 от полной нагрузки на захватах. При подъеме длинномерного груза на трех и более захватах расчетная нагрузка на захватах при расчете рамы грузоподъемника распределяется равномерно между всеми захватами. При расчете прочности конструкции захвата и его крепления к раме грузоподъемника, полученная указанным способом нагрузка на один захват умножается на коэффициент неравномерности 1,4 при трех захватах; 1,3 - при четырех захватах и 1,2 - при пяти захватах по длине груза. 3.2.3. Прочность и устойчивость металлоконструкций колонн, грузоподъемника и телескопических захватов проверяется на действие нагрузки по п. 2.4.3. При этом для расчета колонн грузоподъемник устанавливается в среднее положение по высоте. 3.2.5. Прочность подхватов кабины или элементов ее крепления к собственным кареткам, снабженным ловителями, проверяется на статическое действие четырехкратной силы тяжести масс кабины и оператора в их номинальном значении. При этом коэффициент условий работы материала и соединений принимается равным 0,5. 3.2.6. Прочность направляющих одноколонных кранов-штабелеров, снабженных грузоподъемником по п. 3.2.4, проверяется на действие усилий роликов каретки грузоподъемника при нагрузках по п. 3.2.4. 3.3. Расчет выносливости 3.3.1. При расчете выносливости металлоконструкций масса груза принимается равной 0,8 от номинальной; масса конструкций учитывается с коэффициентом 1,05. 3.3.2. При расчете колонн, ходовой балки, а также верхней балки двухколонных кранов-штабелеров, наибольшие и наименьшие по абсолютной величине напряжения в рассчитываемом элементе определяются анализом расчетов простого цикла работы крана-штабелера (перемещение к заданной ячейке, взятие груза, перемещение с грузом в исходную позицию, выдача груза на загрузочное устройство). При этом учитываются горизонтальные инерционные усилия при разгоне и торможении крана-штабелера с расчетным ускорением (замедлением) и коэффициентом динамичности 1,8 при крайнем верхнем положении грузоподъемника с грузом. Инерционные усилия при подъеме груза и выдвижении захватов не учитываются. 3.3.3. При расчете грузоподъемника и телескопических захватов наибольшие и наименьшие по абсолютной величине напряжения в рассчитываемом элементе определяются анализом расчета цикла работы механизмов подъема и выдвижения. При этом учитываются инерционные усилия при подъеме, принимаемые равными 0,1 от соответствующих сил тяжести. Инерционные усилия при выдвижении захватов не учитываются. Распределение нагрузки между телескопическими захватами при их числе два и более принимается равномерными. 3.3.4. Необходимый для расчета выносливости стальных конструкций коэффициент α принимается равным 0,77 для элементов 1-й и 2-й групп по СНиП II-23-81 и 0,74 - для прочих элементов. 3.4.1. Для одноколонных кранов-штабелеров исполнения СА полная величина ƒ упругого статического горизонтального (вдоль пути) перемещения невыдвинутого телескопического захвата с грузом массой 1,25 от номинальной в крайнем верхнем положении грузоподъемника по отношению к позиции ненагруженного захвата в нижнем рабочем положении не должна превышать 16 мм; доля этой величины, обусловленная только упомянутым грузом (т.е. без учета сил тяжести грузоподъемника и кабины), не должна превышать 8 мм (черт. 2). 3.4.2. Для кранов-штабелеров исполнений СА и САД полная величина упругого статического вертикального перемещения конца выдвинутого телескопического захвата с грузом массой 1,25 от номинальной в крайнем верхнем положении грузоподъемника по отношению к позиции невыдвинутого ненагруженного захвата в том же положении грузоподъемника не должна превышать 20 мм (черт. 3). 3.5. Расчет затухания колебаний 3.5.1. Для кранов-штабелеров исполнения СА при остановке крана-штабелера с номинальным грузом (грузоподъемник в верхнем положении) амплитуда горизонтальных (вдоль пути) колебаний груза в момент включения выдвижения захватов не должна превышать 2 мм. Расчетное значение логарифмического декремента колебаний принимается равным 0,2. Методика расчета затухания колебаний приведена в приложении 2. Черт. 2 Черт. 3 4. РАСЧЕТ УСТРОЙСТВ БЕЗОПАСНОСТИ4.1. Буферное устройство 4.1.1. Буферное устройство, устанавливаемое на кране-штабелере для ограничения перемещения крана-штабелера в конце пути и поглощения его кинетической энергии, рассчитывается на торможение крана-штабелера с замедлением 4 м/с2 с включенным приводом передвижения при начальной скорости передвижения, равной наибольшей расчетной скорости. Учитываемые в расчете массы крана-штабелера и груза принимаются по их номинальным значениям. Тормозное воздействие в группе одинаковых верхних или нижних буферов считается равномерно распределенным между буферами группы. 4.1.3. Возвратное устройство буфера должно обеспечивать автоматическую установку буфера в исходное положение после обратного отката крана-штабелера. При этом наименьшее усилие возвратного устройства должно находиться в пределах 1,1-1,2 от необходимого усилия возврата. 4.1.5. Если тормозное усилие буфера представляет собой периодически изменяющуюся функцию, то требование п. 4.1.4 должно соблюдаться для сглаженной осредненной функции. При этом относительная амплитуда пульсаций усилия на первых 90 % хода буфера не должна превышать 20 %. 4.1.6. Методика расчета рекомендуемой конструкции гидравлического буфера приведена в приложении 3. 4.2. Ограничитель грузоподъемности 4.2.1. Расчетное усилие срабатывания ограничителя грузоподъемности, включенного в ветвь грузового каната или цепи, принимается равным статическому усилию в этой ветви, когда на грузоподъемнике помещен груз массой 1,25 от номинальной грузоподъемности крана-штабелера. Массы элементов конструкции учитываются по их номинальным значениям. 4.2.2. Напряжения растяжения, сжатия и изгиба элементов ограничителя грузоподъемности, соответствующие расчетному усилию срабатывания, должны иметь не менее чем двукратный запас по отношению к пределу текучести материала. 4.3. Ограничитель скорости 4.3.1. Расчетная скорость срабатывания ограничителя скорости должна соответствовать требованиям ГОСТ 12.2.053. 4.3.2. Усилие, создаваемое ограничителем скорости, должно соответствовать требованиям ГОСТ 12.2.053. 4.3.3. Расчетный запас прочности тягового органа ограничителя скорости должен соответствовать требованиям ГОСТ 12.2.053. При этом расчетное усилие в тяговом органе принимается как наибольшее в процессе срабатывания ограничителя скорости и ловителей. 4.4. Ловители 4.4.1. Расчетное замедление, создаваемое ловителями при аварийном торможении кабины с оператором, должно соответствовать требованиям ГОСТ 12.2.053. 4.4.2. Прочность ловителей и их крепления проверяется на статическое действие четырехкратной силы тяжести улавливаемых масс, принимаемых по их номинальным значениям. При этом должен быть обеспечен не менее чем трехкратный запас прочности по отношению к разрушающей нагрузке. 5. РАСЧЕТ УСТОЙЧИВОСТИ5.1. Расчетное давление на каждое из неприводных ходовых колес крана-штабелера с грузом и без груза в режимах разгона и торможения должно быть не менее 20 % соответствующего статического давления на колесо. При этом массы крана-штабелера и груза принимаются в своем номинальном значении, грузоподъемник устанавливается в крайнее верхнее положение; горизонтальные инерционные силы, соответствующие расчетному ускорению (замедлению), вводятся в расчет с динамическим коэффициентом 1,8. Для кранов-штабелеров с гибким токоподводом следует дополнительно учесть воздействие усилий от токоподвода (п. 2.2.2), если эти усилия вызывают разгрузку неприводного колеса. 5.2. Устойчивость крана-штабелера при наезде на конечные упоры обеспечивается рельсовыми подхватами (п. 3.2.1). 6. РАСЧЕТ ПОЗИЦИОНИРОВАНИЯ6.1. Правильность позиционирования телескопических захватов крана-штабелера при загрузке и разгрузке стеллажа и загрузочных устройств в автоматическом и полуавтоматическом режимах обеспечена в направлениях вдоль и по высоте стеллажа при условии соблюдения норм жесткости (п. 3.4) и затухания колебаний (п. 3.5), а также при соблюдении значений допусков на изготовление и монтаж крана-штабелера и стеллажа и зазоров в ячейке стеллажа, значения которых приведены в приложении 1. 6.2. Правильность позиционирования в направлении выдвижения телескопических захватов проверяется по формуле Δ1 - Δ2 - Δ3 > 0, (1) где Δ1 - номинальный зазор между тарой и стеллажом в глубину ячейки, мм; Δ2 - наиболее неблагоприятная сумма допусков и зазоров крана-штабелера, стеллажа и тары в направлении выдвижения захватов, мм (см. приложение 1); Δ3 - поперечный горизонтальный прогиб колонн крана-штабелера при выдвижении захватов с номинальным грузом на высоте 0,21 от высоты крана-штабелера, отсчитываемой от уровня головки наземного рельсового кранового пути, мм. Значение (Δ3) определяется по формуле Δ3 = 32QlH2/(EJn), (2) где Q - сила тяжести номинального груза и приведенных к его центру масс выдвижных частей телескопических захватов в крайнем выдвинутом положении, Н; l - номинальное выдвижение телескопических захватов, м; Н - высота крана-штабелера от уровня головки наземного рельсового кранового пути до верхних направляющих боковых роликов, м; E - модуль упругости материала колонны, Па; J - момент инерции сечения колонны при ее изгибе в направлении выдвижения захватов, м4; n - число колонн крана-штабелера. ПРИЛОЖЕНИЕ 1
|
||||||||||||||||||||||||||||||||||||||||||||||||||||||||||||||||||||||||||||||||||||||||||||||||||||||||||||||||||||||||||||||||||||||||||||
|
Значение допуска, зазора или уклона для исполнений |
||
|
СА |
САД |
|
|
Отклонение колонн крана-штабелера от вертикали, измеренное по направляющим для перемещения грузоподъемника |
±5 |
±10 |
|
Уклон опорных поверхностей телескопических захватов, не более |
1:1000 |
1:1000 |
|
Уклон осей телескопических захватов по отношению к плоскости, перпендикулярной к продольной оси межстеллажного прохода |
1:1000 |
1:1000 |
|
Суммарный зазор между нижними направляющими роликами и головкой наземного рельсового кранового пути |
2 ± 1 |
4 ± 1 |
|
Суммарный зазор между верхними направляющими роликами и профилем верхнего рельсового кранового пути |
2 ± 1 |
4 ± 1 |
|
Суммарный зазор между боковыми роликами грузоподъемника и направляющими на колонне крана-штабелера |
1 ± 0,5 |
1 ± 0,5 |
|
Зазоры между клиньями ловителей и направляющими на колонне крана-штабелера |
2,5 ± 0,5 |
2,5 ± 0,5 |
|
Допуск на величину хода верхней выдвижной рамы телескопических захватов |
±5 |
±10 |
|
Отклонение от симметричности верхней рамы телескопических захватов при их среднем положении |
±5 |
±10 |
|
Смещение телескопических захватов относительного номинального положения: |
|
|
|
в вертикальном направлении |
±5 |
±5 |
|
в горизонтальном направлении |
±5 |
±5 |
2. Допуски на изготовление и монтаж стеллажей приведены в табл. 4.
3. Допуски на установку наземного и верхнего рельсовых крановых путей приведены в табл. 5.
4. Боковой зазор между габаритом крана-штабелера с грузом на захвате и стеллажом - по ГОСТ 16553.
5. Изменение разности диаметров ходовых колес при эксплуатации должно быть не более 1 мм.
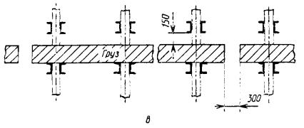
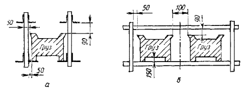
6. Значения минимально необходимых зазоров в ячейках стеллажа даны на черт. 4.
Таблица 4
мм
|
Значение допуска или уклона |
|
|
Отклонение основания под установку стеллажей от горизонтальной плоскости |
±2 |
|
Уклон основания под установку стеллажей, не более |
1:1000 |
|
Смещение осей стоек стеллажей относительно разбивочных осей |
±3 |
|
Отклонение от горизонтальной плоскости опорных поверхностей полок незагруженных стеллажей, расположенных на одном уровне |
±5 |
|
Отклонение осей стоек незагруженных стеллажей от вертикали в поперечном и продольном направлениях |
±5 |
|
Уклон опорных поверхностей полок стеллажей, не более |
5:1000 |
|
Отклонение оси наземного рельсового кранового пути относительно оси прохода между стеллажами |
±2 |
|
Уклон оси наземного рельсового кранового пути по отношению к оси прохода между стеллажами, не более |
1:1000 |
|
Отклонение головки наземного рельсового кранового пути от горизонтальной плоскости |
±2 |
|
Продольный уклон наземного рельсового кранового пути, не более |
2:5000 |
|
Отклонение расстояния от головки наземного рельсового кранового пути до опорных поверхностей полок стеллажей, находящихся в одном горизонтальном ряду |
±5 |
|
Поперечный уклон наземного и верхнего рельсовых крановых путей, не более |
20:1000 |
|
Взаимное смещение торцов стыкуемых путей, в плане и по высоте |
1 |
|
Отклонение положения верхнего рельсового кранового пути относительно наземного рельсового кранового пути: |
|
|
в горизонтальном направлении |
±5 |
|
в вертикальном направлении |
±5 |

Черт. 4
Расчет затухания колебании по п. 3.5.1 выполняется в следующей последовательности.
Приведенная колеблющаяся масса крана-штабелера с грузом (т), кг:
m = m1 + m2/3 + Q, (3)
где m1 - масса грузоподъемника (в сборе с грузовыми захватами), оголовка колонны и кабины с оператором, кг;
m2 - масса колонн, кг;
Q - номинальная грузоподъемность крана-штабелера, кг.
Период колебаний (Т), с
Т =
, (4)
где δ11 - податливость конструкции в направлении движения крана-штабелера на уровне верхнего положения грузовых захватов, м/Н.
Амплитуда горизонтальных колебаний груза (А) в метрах в момент включения выдвижения грузовых захватов
A = maδ11 (1 + e-0,2 t1/T) e-0,2 t2/T, (5)
где а - расчетное замедление крана-штабелера с грузом при торможении его с помощью электрической системы механизма передвижения (или с помощью механического тормоза, если он является единственным средством торможения) от полной расчетной скорости передвижения до малой (установочной) скорости, м/с2;
t1 - время торможения при указанных выше условиях, с;
t2 - время с момента перехода на малую (установочную) скорость до полной установки, с.
Должно выполняться условие
A £ 0,002. (6)
При невыполнении условия (6) следует уменьшить податливость конструкции или же увеличить время t2, или же применить виброгасительное устройство.
1. Рассматриваемая конструкция (черт. 5) состоит из рабочего цилиндра 4, по образующей которого просверлен ряд конусообразных отверстий 5, поршня 3 со штоком 1, наружного цилиндра 6, возвратной пружины 2 и резервуара 8. Внутренние полости рабочего 4 и наружного 6 цилиндров и частично резервуара 8 заполнены жидкостью 7.
Черт. 5
При наезде крана-штабелера на конечный упор, взаимодействующий с последним, шток 1 перемещает поршень 3 вдоль цилиндра 4. При этом рабочая жидкость 7 перетекает из полости рабочего цилиндра 4 через отверстия 5 в полость наружного цилиндра 6, и далее - в резервуар 8, поглощая кинетическую энергию крана-штабелера. После отката крана-штабелера, осуществляемого реверсом его механизма передвижения, возвратная пружина 2 возвращает поршень 3 в исходное положение.
2. Задачей расчета является определение необходимого количества отверстий, их диаметра и координат по длине цилиндра, обеспечивающих постоянное заданное значение среднего замедления 4,0 м/с2 в процессе торможения при амплитуде пульсаций тормозного усилия не более 20 %.
3. Рассматривается наиболее неблагоприятный случай: кран-штабелер с номинальным грузом движется на полной скорости, двигатель привода передвижения при наезде крана-штабелера на конечный упор продолжает работать.
4. Расчетное количество отверстий вдоль образующей цилиндра (n) вычисляют по формуле
n =
(7)
с учетом обозначений
;
, (8)
где υ - расчетная скорость движения крана-штабелера, м/с;
m - масса крана-штабелера номинальная с грузом номинальным, кг;
ω - расчетное замедление, принимаемое равным 4 м/с2;
P - усилие привода передвижения, Н; принимается как наименьшее значение усилия пробуксовки приводных колес и усилия на тех же колесах от максимального момента электродвигателя; при определении усилия пробуксовки коэффициент сцепления принимается равным 0,2, а вертикальное давление на приводные колеса берется как для неподвижного крана-штабелера;
R - сопротивление передвижению крана-штабелера, Н;
с - жесткость возвратной пружины, Н/м;
λ - предварительное поджатие пружины, м;
ρ - плотность рабочей жидкости, кг/м3;
μ - коэффициент расхода; для конусообразного диффузора с углом при вершине 90° принимается равным 0,6;
D - диаметр поршня, м;
d - диаметр отверстия, м;
z - количество одновременно работающих буферов.
Дробная часть n1 числа n реализуется как отверстие диаметром
d1 = d
, (9)
которое располагается вблизи днища цилиндра.
5. Координату центра i-го отверстия, отсчитываемую от торца поршня в его начальном положении (Si), м, вычисляют по формуле
Si =
, (10)
где i - порядковый номер отверстия.
6. Скорость поршня (υi) при прохождении i-го отверстия вычисляют по формуле
, (11)
где υi-1 - скорость поршня при прохождении предыдущего отверстия;
Si - координата центра i-гo отверстия;
Si-1 - координата центра предыдущего отверстия (S0 = 0);
li = Si - Si-1 - расстояние между соседними отверстиями;
. (12)
7. Усилие на
штоке (
) непосредственно перед i-м отверстием вычисляют по
формуле
. (13)
Усилие на штоке (Ti) сразу же после прохождения i-гo отверстия вычисляют по формуле
. (14)
8. Среднее значение усилия на штоке (Tср) вычисляют по формуле
Тср = (mω + P - R)/z. (15)
9. Коэффициент пульсации усилия (Ki) на i-м отверстии вычисляют по формуле
Ki = Ti/Tср. (16)
Для отверстий, отстоящих от днища цилиндра более чем на значение диаметра поршня, значение этого коэффициента должно быть не более 1,2. В противном случае следует уменьшить диаметр отверстий.
10. Допускаемое усилие на штоке (Тдоп) из условия прочности цилиндра вычисляют по формуле
Тдоп =
, (17)
где D1 - наружный диаметр цилиндра, м;
ψ - коэффициент, учитывающий концентрацию напряжений у отверстий; рекомендуемое значение равно 0,8;
σт - предел текучести материала цилиндра, Па;
φ - коэффициент запаса прочности; рекомендуемое значение равно 1,5.
Для отверстий, отстоящих от днища цилиндра более чем на величину диаметра поршня, должно выполняться условие:
Ti £ Tдоп. (18)
В противном случае следует увеличить диаметр поршня или толщину стенки цилиндра.
11. Жесткость возвратной пружины выбирают таким образом, чтобы наибольшее усилие сжатия (в конце хода поршня) не превышало 0,1 от значения Тср; предварительное поджатие должно быть не менее 0,08÷0,10 от рабочего хода поршня.
ИНФОРМАЦИОННЫЕ ДАННЫЕ
1. РАЗРАБОТАН И ВНЕСЕН Министерством тяжелого машиностроения СССР
РАЗРАБОТЧИКИ
И. И. Бененсон (руководитель темы); С. Э. Усаковский; В. Я. Перекалин; Л. А. Столярова
2. УТВЕРЖДЕН И ВВЕДЕН В ДЕЙСТВИЕ Постановлением Государственного комитета СССР по Управлению качеством продукции и стандартам от 30.10.90 № 2731
3. Срок первой проверки - 1996 г., периодичность - 5 лет
4. ВВЕДЕН ВПЕРВЫЕ
5. ССЫЛОЧНЫЕ НОРМАТИВНО-ТЕХНИЧЕСКИЕ ДОКУМЕНТЫ
|
Обозначение НТД, на который дана ссылка |
Номер пункта, приложения |
|
ГОСТ 12.2.053-83 |
|
|
ГОСТ 25.504-82 |
|
|
ГОСТ 5006-83 |
|
|
ГОСТ 16553-88 |
|
|
ГОСТ 21354-87 |
|
|
ГОСТ 28433-90 |
|
СОДЕРЖАНИЕ
|
ГОСТЫ, СТРОИТЕЛЬНЫЕ и ТЕХНИЧЕСКИЕ НОРМАТИВЫ. Некоммерческая онлайн система, содержащая все Российские Госты, национальные Стандарты и нормативы. В Системе содержится более 150000 файлов нормативно-технической документации, действующей на территории РФ. Система предназначена для широкого круга инженерно-технических специалистов. Copyright © www.gostrf.com, 2008 - 2026 |