| |
ГОСТ Р 51776-2001
ГОСУДАРСТВЕННЫЙ
СТАНДАРТ РОССИЙСКОЙ ФЕДЕРАЦИИ
ТРУБЫ ДВОЙНЫЕ КОЛОНКОВЫЕ
ДЛЯ ГЕОЛОГО-РАЗВЕДОЧНОГО БУРЕНИЯ
ТИПЫ И ОСНОВНЫЕ ПАРАМЕТРЫ
ГОССТАНДАРТ РОССИИ
Москва
Предисловие
1 РАЗРАБОТАН Всероссийским научно-исследовательским
институтом методики и техники разведки (ВИТР)
ВНЕСЕН Министерством природных ресурсов
Российской Федерации
2 ПРИНЯТ И ВВЕДЕН В ДЕЙСТВИЕ
Постановлением Госстандарта России от 10 июля 2001 г. № 262-ст
3 ВВЕДЕН ВПЕРВЫЕ
СОДЕРЖАНИЕ
ГОСТ Р 51776-2001
ГОСУДАРСТВЕННЫЙ
СТАНДАРТ РОССИЙСКОЙ ФЕДЕРАЦИИ
ТРУБЫ ДВОЙНЫЕ КОЛОНКОВЫЕ
ДЛЯ ГЕОЛОГО-РАЗВЕДОЧНОГО БУРЕНИЯ
Типы и основные параметры
Double tube core barrels for exploration
drilling.
Types and main parameters
Дата введения 2002-01-01
Настоящий стандарт
распространяется на двойные колонковые трубы общего назначения, применяемые для
отбора керна при геолого-разведочном бурении на твердые полезные ископаемые.
Стандарт не распространяется
на специальные технические средства для отбора керна.
Двойные колонковые трубы
должны соответствовать требованиям настоящего стандарта и комплекту
конструкторской документации, утвержденной в установленном порядке.
В настоящем стандарте
использованы ссылки на следующие стандарты:
ГОСТ
6238-77 Трубы обсадные колонковые для геолого-разведочного бурения и
ниппели к ним. Технические условия
ГОСТ 8734-75
Трубы стальные бесшовные холоднодеформированные. Сортамент
ГОСТ 11108-70 Коронки
твердосплавные для колонкового бурения пород средней твердости. Технические
условия
ГОСТ 19527-74 Коронки
алмазные для бурения геолого-разведочных скважин. Основные размеры
3.1 Двойные колонковые трубы
подразделяют согласно классификации горных пород по трудности отбора керна [1] на
пять типов, соответствующих горно-геологическим условиям и физико-механическим
свойствам горных пород (таблица 1).
Таблица 1 - Классификация типов двойных колонковых труб
|
Тип
колонковой трубы
|
Характеристика группы горных пород
|
Группа горных пород по классификации
|
|
ТДР
|
Слабые, рыхлые, разрушенные, размываемые,
сыпучие, I-III
категории по буримости
|
I
|
|
ТДМ
|
Мягкие, раздробленные, IV-V категории по буримости
|
II
|
|
ТДС
|
Средней твердости, различной степени
трещиноватости, VI-VII
категории по буримости
|
III
|
|
ТДТ
|
Твердые, слабо- и среднетрещиноватые, VII-X категории по буримости
|
IV
|
|
ТДК
|
Очень крепкие, твердые, монолитные, XI-XII категории по буримости
|
V
|
3.2 Обозначение двойных
колонковых труб:
Т - труба;
Д - двойная;
Р, М, С, Т, К - тип трубы;
36, 46, 59 и т.д. - диаметр
скважины;
В - вращающаяся
керноприемная труба;
Н - невращающаяся
керноприемная труба;
Р - разрезная керноприемная
труба;
Г - гильза керноприемная;
О - труба для бурения с
обратной циркуляцией промывочной жидкости;
Э - труба для бурения с
эрлифтом.
Примеры
условного обозначения двойных колонковых труб:
- трубы двойной для мягких
пород с невращающейся разрезной керноприемной трубой для скважин диаметром 112
мм:
ТДМ-НР-112 ГОСТ Р 51776-2001
- трубы двойной для пород
средней твердости с вращающейся керноприемной трубой и обратной циркуляцией
промывочной жидкости для скважин диаметром 93 мм:
ТДС-ВО-93 ГОСТ Р 51776-2001
3.3 Конструктивные параметры
двойных колонковых труб, определяющие степень защиты керна, приведены в таблице
2.
Таблица 2 - Конструктивные параметры двойных колонковых
труб, определяющие степень защиты керна
|
Тип
колонковой трубы
|
Технологический параметр двойных колонковых труб
|
Степень защиты керна
|
|
Подшипниковый узел
|
Крепление керноприемной трубы
|
Схема промывки
|
Тип кернорвателя
|
Тип керноприемной трубы
|
Зазор между керном и внутренней керноприемной трубой1, мм
|
Толщина режущей части буровой коронки
|
|
ТДР
|
Закрытый
|
Невращающаяся
|
Прямая
без контакта с керном
|
Закрытого
типа
|
Разрезная
с керноприемной гильзой
|
1,5-2,5
|
Увеличенная,
с пилотной частью
|
Высшая
|
|
ТДМ
|
То
же
|
То
же
|
Прямая
с выходом ниже кернорвателя
|
Паук,
лепестковый
|
Разрезная
|
1,5-2,5
|
Увеличенная
|
Высокая
|
|
ТДС
|
Открытый
|
То
же
|
То
же
|
Паук,
пружинный
|
То
же
|
1,0-1,5
|
Выше
стандартной
|
Средняя
|
|
ТДТ
|
На
пяте или без подшипникового узла
|
Вращающаяся
|
Прямая
с выходом выше кернорвателя
|
Пружинный
|
Неразрезная
|
1,0-1,5
|
Стандартная
|
Низкая
|
|
ТДК
|
Без
подшипникового узла
|
То
же
|
То
же
|
То
же
|
То
же
|
1,0-1,5
|
Уменьшенная
|
Минимальная
|
|
1 Керновый зазор.
|
3.4 Внутренняя конусность
корпуса коронки и корпуса кернорвателя для двойных колонковых труб всех пяти
типов равна 1:10.
3.5 Рекомендуемая область применения
двойных колонковых труб различных типов по диаметрам, определенная исходя из
геологических условий бурения, сложности отбора керна в конкретных
геологических условиях, характеристики породоразрущающего инструмента и ряда
других факторов, приведена в таблице 3.
Таблица 3 - Область применения двойных колонковых труб
различных типов по диаметрам
|
Тип
двойной колонковой трубы
|
Номинальный диаметр скважины, мм
|
|
36
|
46
|
59
|
76
|
93
|
112
|
132
|
151
|
|
ТДР
|
-
|
-
|
-
|
-
|
+
|
+
|
+
|
+
|
|
ТДМ
|
-
|
-
|
-
|
+
|
+
|
+
|
+
|
+
|
|
тдс
|
-
|
-
|
+
|
+
|
+
|
+
|
+
|
-
|
|
тдт
|
-
|
+
|
+
|
+
|
+
|
+
|
-
|
-
|
|
тдк
|
+
|
+
|
+
|
+
|
+
|
-
|
-
|
-
|
|
Примечание - Знак «+» - означает область
рационального применения двойных колонковых труб, знак «- » - означает
область нерационального применения двойных колонковых труб.
|
4.1 Основные параметры и размеры
двойных колонковых труб типов ТДР, ТДМ, ТДС, ТДТ и ТДК приведены в таблицах 4-8.
4.2 Размеры серийных коронок
для комплектации двойных колонковых труб для твердосплавных коронок по ГОСТ
11108 и для алмазных коронок по ГОСТ 19527 приведены в таблицах 4-8.
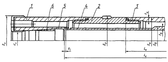
Таблица 4 - Параметры двойных
колонковых труб типа ТДР (рисунок 1)
В миллиметрах
|
Наименование
параметра
|
Условный диаметр скважины
|
|
93
|
112
|
132
|
151
|
|
Наружный
диаметр расширителя (калибратора) по резцам Dp
|
93,4
|
112,4
|
132,4
|
151,4
|
|
Наружный
диаметр коронки (по резцам) Dк
|
93,0
|
112,0
|
132,0
|
151,0
|
|
Внутренний
диаметр коронки (по резцам) dк
|
55,0
|
73,0
|
93,0
|
111,0
|
|
Наружный
диаметр наружной колонковой трубы Dн
|
89,0
|
108,0
|
127,0
|
146,0
|
|
Толщина
стенки наружной колонковой трубы tн
|
4,5
|
4,5
|
5,0
|
5,0
|
|
Наружный
диаметр внутренней керноприемной трубы Dв
|
73,0
|
89,0
|
108,0
|
130,0
|
|
Толщина
стенки внутренней керноприемной трубы tв
|
4,0
|
3,0
|
3,0
|
4,0
|
|
Длина
наружной трубы Lн
|
3000
|
3000
|
3000
|
3000
|
|
Длина
керноприемной трубы Lк, не
менее
|
2500
|
2500
|
2500
|
2500
|
|
Зазор по
длине между концом невращающейся керноприемной трубы и вращающимися частями
колонкового набора a1
|
1-1,5
|
1-2,0
|
1-2,0
|
2,0-2,5
|
|
Опережение
пилота или пилотной коронки по отношению к формирующей lп, не
менее
|
50,0
|
50,0
|
75,0
|
75,0
|
|
Наружный
диаметр разрезной керноприемной гильзы dг
|
63,0
|
80,0
|
100,0
|
120,0
|
|
Толщина
стенки керноприемной гильзы tг
|
1,5
|
1,5
|
1,5
|
3,0
|
|
Примечания
1
Размеры наружной колонковой трубы по ГОСТ
6238.
Размеры внутренней керноприемной трубы и керноприемной гильзы по ГОСТ
8734.
2
Допускается применение двух серийных коронок, объединенных через нижний
переходник (калибратор) для удобства обеспечения опережения пилота.
3
Значение регулировки длины керноприемной трубы от 50 до 100 мм.
|

1 - пилот-коронка; 2 - формирующая коронка; 3 -
кернорвательное кольцо; 4 - расширитель; 5 - наружная колонковая
труба; 6 - внутренняя керноприемная труба; 7 - керноприемная
гильза
Рисунок 1 - Схема конструкции нижней части двойной
колонковой трубы типа ТДР
Таблица 5 - Параметры двойных
колонковых труб типа ТДМ (рисунок 2)
В миллиметрах
|
Наименование параметра
|
Условный диаметр
скважины
|
|
76
|
93
|
112
|
132
|
151
|
|
Наружный диаметр расширителя (калибратора)
по резцам Dp
|
76,4
|
93,4
|
112,4
|
132,4
|
151,4
|
|
Наружный диаметр коронки (по резцам) Dк
|
76,0
|
93,0
|
112,0
|
132,0
|
151,0
|
|
Внутренний диаметр коронки (по резцам) dк, не более
|
46,0
|
62,0
|
77,0
|
95,0
|
112,0
|
|
Наружный диаметр наружной колонковой трубы Dн
|
73,0
|
89,0
|
108,0
|
127,0
|
146,0
|
|
Толщина стенки наружной колонковой трубы tн
|
4,0
|
4,5
|
4,5
|
5,0
|
5,0
|
|
Наружный диаметр внутренней керноприемной
трубы Dв
|
57,0
|
73,0
|
89,0
|
108,0
|
127,0
|
|
Толщина стенки внутренней керноприемной
трубы tв
|
4,0
|
4,0
|
4,5
|
4,5
|
5,0
|
|
Длина наружной трубы Lн
|
3000-4500
|
3000
|
3000
|
3000
|
3000
|
|
Длина керноприемной трубы Lк, не менее
|
2500
|
2500
|
2500
|
2500
|
2500
|
|
Зазор по длине между концом невращающейся
керноприемной трубы и вращающимися частями колонкового набора a1
|
1,5-2,0
|
1,5-2,0
|
1,5-2,0
|
1,5-2,0
|
2,0-2,5
|
|
Примечания
1 Размеры внутренней и наружной колонковых
труб по ГОСТ
6238.
2 Значение регулировки длины керноприемной
трубы от 50 до 100 мм.
|

1 - коронка; 2 - расширитель; 3 - наружная колонковая
труба; 4 - внутренняя керноприемная труба; 5 - корпус
кернорвателя; 6 - кернорвательное кольцо
Рисунок 2 - Схема конструкции нижней части
двойной колонковой трубы типа ТДМ
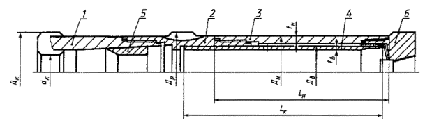
Таблица 6 - Параметры двойных колонковых труб типа ТДС
(рисунок 3)
В миллиметрах
|
Наименование параметра
|
Условный диаметр
скважины
|
|
59
|
76
|
93
|
112
|
132
|
|
Наружный диаметр расширителя (калибратора)
по резцам Dp
|
59,4
|
76,4
|
93,4
|
112,4
|
132,4
|
|
Наружный диаметр коронки (по резцам) Dк
|
59,0
|
76,0
|
93,0
|
112,0
|
132,0
|
|
Внутренний диаметр коронки (по резцам) dк, не более
|
39,0
|
54,0
|
67,0
|
87,0
|
102,0
|
|
Наружный диаметр наружной колонковой трубы Dн
|
57,0
|
73,0
|
89,0
|
108,0
|
127,0
|
|
Толщина стенки наружной колонковой трубы tн
|
4,0
|
4,0
|
4,5
|
4,5
|
5,0
|
|
Наружный диаметр внутренней керноприемной
трубы Dв
|
45,0
|
60,0
|
75,0
|
95,0
|
110,0
|
|
Толщина стенки внутренней керноприемной
трубы tв
|
2,0
|
2,0
|
2,5
|
2,5
|
2,5
|
|
Длина наружной трубы Lн
|
3000-4500
|
3000-4500
|
3000-4500
|
3000-4500
|
3000-4500
|
|
Длина керноприемной трубы Lк, не менее
|
2500
|
2500
|
2500
|
2500
|
2500
|
|
Зазор по длине между концом невращающейся керноприемной
трубы и вращающимися частями колонкового набора a1
|
1,5
|
1,5
|
2,0
|
2,0
|
2,5
|
|
Примечания
1 Размеры
наружной колонковой трубы по ГОСТ
6238.
2 Размеры
внутренней керноприемной трубы по ГОСТ 8734.
3 Значение
регулировки длины керноприемной трубы от 50 до 100 мм.
|

1 - коронка; 2 - расширитель; 3 - наружная колонковая
труба; 4 - внутренняя керноприемная труба; 5 - корпус
кернорвателя; 6 - керноприемное кольцо
Рисунок 3 - Схема конструкции нижней части
двойной колонковой трубы типа ТДС
Таблица 7 - Параметры двойных
колонковых труб типа ТДТ (рисунок 4)
В миллиметрах
|
Наименование параметра
|
Условный диаметр скважины
|
|
46
|
59
|
76
|
93
|
112
|
|
Наружный диаметр расширителя (калибратора)
по резцам Dp
|
46,4
|
59,4
|
76,4
|
93,4
|
112,4
|
|
Наружный диаметр коронки (по резцам) Dк
|
46,0
|
59,0
|
76,0
|
93,0
|
112,0
|
|
Внутренний диаметр коронки (по резцам) dк, не более
|
30,0
|
43,0
|
57,0
|
73,0
|
88,0
|
|
Наружный диаметр наружной колонковой трубы Dн
|
44,0
|
57,0
|
73,0
|
89,0
|
108,0
|
|
Толщина стенки наружной колонковой трубы tн
|
3,5
|
3,5
|
3,5
|
3,5
|
3,5
|
|
Наружный диаметр внутренней керноприемной
трубы Dв
|
35,0
|
48,0
|
63,0
|
80,0
|
95,0
|
|
Толщина стенки внутренней керноприемной
трубы tв
|
1,2
|
1,5
|
1,5
|
2,0
|
2,0
|
|
Длина наружной трубы Lн
|
3000-4500
|
3000-4500
|
3000-4500
|
3000
|
3000
|
|
Длина керноприемной трубы Lк, не менее
|
2500
|
2500
|
2500
|
2500
|
2500
|
|
Зазор по длине между концом невращающейся
керноприемной трубы и вращающимися частями колонкового набора a1
|
1,0
|
1,0
|
1,0
|
1,5
|
1,5
|
|
Примечания
1 Размеры наружной
колонковой трубы диаметром 44 мм по ГОСТ
6238.
2 Остальные
размеры наружной и внутренней колонковых труб по ГОСТ 8734.
3 Значение
регулировки длины керноприемной трубы от 50 до 100 мм.
|

1 - коронка; 2 - расширитель; 3 - наружная колонковая
труба; 4 - внутренняя керноприемная труба; 5 -
кернорвательное кольцо; 6 - шаровая пята; 7 - верхний переходник
Рисунок 4 - Схема конструкции двойной
колонковой трубы типа ТДТ
Таблица 8 - Параметры двойных
колонковых труб типа ТДК (рисунок 5)
В миллиметрах
|
Наименование
параметра
|
Условный диаметр скважины
|
|
36
|
46
|
59
|
76
|
93
|
|
Наружный
диаметр расширителя (калибратора) по резцам Dp
|
35,4
|
46,4
|
59,4
|
76,4
|
93,4
|
|
Наружный
диаметр коронки (по резцам) Dк
|
36,0
|
46,0
|
59,0
|
76,0
|
93,0
|
|
Внутренний
диаметр коронки (по резцам) dк, не
более
|
24,0
|
34,0
|
45,0
|
60,0
|
75,0
|
|
Наружный
диаметр наружной колонковой трубы Dн
|
34,0
|
45,0
|
57,0
|
73,0
|
89,0
|
|
Толщина
стенки наружной колонковой трубы tн
|
2,0
|
2,0
|
2,0
|
2,2
|
2,5
|
|
Наружный
диаметр внутренней керноприемной трубы Dв
|
28,0
|
38,0
|
50,0
|
65,0
|
80,0
|
|
Толщина
стенки внутренней керноприемной трубы tв
|
1,0
|
1,0
|
1,0
|
1,2
|
1,4
|
|
Длина наружной
трубы Lн
|
3000
|
3000
|
3000
|
3000-4500
|
3000-4500
|
|
Длина
керноприемной трубы Lк, не
менее
|
2500
|
2500
|
2500
|
2500
|
2500
|
|
Примечания
|
|
1 Размеры наружной и внутренней колонковых
труб по ГОСТ 8734.
|
|
2 Значение регулировки длины керноприемной
трубы от 50 до 100 мм.
|

1 - коронка; 2 - расширитель; 3 - наружная колонковая
труба; 4 - внутренняя керноприемная труба; 5 - кернорвательное
кольцо; 6 - верхний переходник
Рисунок 5 - Схема
конструкции двойной колонковой трубы типа ТДК
ПРИЛОЖЕНИЕ
(справочное)
[1]
Инструктивные указания по отбору керна при вращательном колонковом бурении
геолого-разведочных скважин. Авторы: В.А. Каулин, П.П. Пономарев, В.В.
Васильев, М.А. Денисов. Л., ВИТР, 1985 г.
Ключевые слова: стандарты, двойные трубы, размеры
|
|