Крупнейшая бесплатная информационно-справочная система онлайн доступа к полному собранию технических нормативно-правовых актов РФ. Огромная база технических нормативов (более 150 тысяч документов) и полное собрание национальных стандартов, аутентичное официальной базе Госстандарта. GOSTRF.com - это более 1 Терабайта бесплатной технической информации для всех пользователей интернета. Все электронные копии представленных здесь документов могут распространяться без каких-либо ограничений. Поощряется распространение информации с этого сайта на любых других ресурсах. Каждый человек имеет право на неограниченный доступ к этим документам! Каждый человек имеет право на знание требований, изложенных в данных нормативно-правовых актах!

  


 

ГОСТ 30682-2000

(МЭК 745-2-5-93)

МЕЖГОСУДАРСТВЕННЫЙ СТАНДАРТ

МАШИНЫ РУЧНЫЕ ЭЛЕКТРИЧЕСКИЕ

Частные требования безопасности и методы
испытаний дисковых пил и дисковых ножей

МЕЖГОСУДАРСТВЕННЫЙ СОВЕТ
ПО СТАНДАРТИЗАЦИИ, МЕТРОЛОГИИ И СЕРТИФИКАЦИИ

Минск

Предисловие

1 РАЗРАБОТАН Техническим комитетом по стандартизации МТК 262 «Инструмент механизированный и ручной»

ВНЕСЕН Госстандартом России

2 ПРИНЯТ Межгосударственным Советом по стандартизации, метрологии и сертификации (протокол № 17 от 22 июня 2000 г.)

За принятие проголосовали:

Наименование государства

Наименование национального органа по стандартизации

Азербайджанская Республика

Азгосстандарт

Республика Армения

Армгосстандарт

Республика Беларусь

Госстандарт Республики Беларусь

Республика Казахстан

Госстандарт Республики Казахстан

Кыргызская Республика

Кыргызстандарт

Республика Молдова

Молдовастандарт

Российская Федерация

Госстандарт России

Республика Таджикистан

Таджикгосстандарт

Туркменистан

Главгосинспекция «Туркменстандартлары»

Республика Узбекистан

Узгосстандарт

Украина

Госстандарт Украины

3 Настоящий стандарт содержит полный аутентичный текст международного стандарта МЭК 745-2-5-93 «Безопасность ручных электрических машин. Часть 2. Частные требования к дисковым пилам и дисковым ножам» с дополнительными требованиями, отражающими потребности экономики страны

4 Постановлением Государственного комитета Российской Федерации по стандартизации и метрологии от 1 февраля 2001 г. № 50-ст межгосударственный стандарт ГОСТ 30682-2000 (МЭК 745-2-5-93) введен в действие непосредственно в качестве государственного стандарта Российской Федерации с 1 июля 2001 г.

5 ВЗАМЕН ГОСТ 12.2.013.5-91 (МЭК 745-2-5-85)

СОДЕРЖАНИЕ

1 Область распространения. 2

2 Термины и определения. 2

3 Общие требования. 3

4 Испытания. Общие положения. 3

5 Номинальное напряжение. 3

6 Классификация. 3

7 Маркировка. 3

8 Защита от поражения электрическим током.. 4

9 Пуск. 4

10 Потребляемая мощность и ток. 4

11 Нагрев. 4

12 Ток утечки. 4

13 Подавление радио- и телепомех. 4

14 Влагостойкость. 4

15 Сопротивление изоляции и электрическая прочность. 4

16 Надежность. 4

17 Ненормальный режим работы.. 4

18 Механическая безопасность. 4

19 Механическая прочность. 8

20 Конструкция. 8

21 Внутренняя проводка. 8

22 Комплектующие изделия. 8

23 Подключение к сети и внешние гибкие кабели и шнуры.. 8

24 Зажимы для внешних проводов. 8

25 Заземление. 8

26 Винты и соединения. 8

27 Пути утечки, воздушные зазоры и толщина изоляции. 8

28 Теплостойкость, огнестойкость и стойкость к образованию токопроводящих мостиков. 8

29 Коррозионная стойкость. 9

Приложение А Термовыключатели и устройства защиты от перегрузок. 9

Приложение В Электрические схемы.. 9

Приложение С Конструкция безопасных изолирующих трансформаторов. 9

Приложение D Измерение путей утечки и воздушных зазоров. 9

Приложение 1 Правила безопасности при эксплуатации машин в условиях производства. 9

Приложение 2 Правила безопасности при эксплуатации машин в бытовых условиях. 9

Приложение 3 Приемка. 9

ГОСТ 30682-2000

(МЭК 745-2-5-93)

МЕЖГОСУДАРСТВЕННЫЙ СТАНДАРТ

МАШИНЫ РУЧНЫЕ ЭЛЕКТРИЧЕСКИЕ

Частные требования безопасности и методы
испытаний дисковых пил и дисковых ножей

Electric hand-held tools.
Particular safety requirements and methods of testing circular saws and circular knives

Дата введения 2001-07-01

Настоящий стандарт устанавливает требования безопасности и методы испытаний электрических ручных дисковых пил и дисковых ножей, которые дополняют, изменяют или заменяют пункты ГОСТ 12.2.013.0.

Методы испытаний выделены курсивом, требования, учитывающие национальные особенности, выделены вертикальной линией на полях.

Пункты, дополняющие ГОСТ 12.2.013.0, имеют нумерацию, начиная с 101.

Требования стандарта являются обязательными.

1 Область распространения

По ГОСТ 12.2.013.0 со следующим изменением:

1.1 Изменение

Замена первого абзаца

Настоящий стандарт распространяется на все типы дисковых пил и дисковых ножей, используемых для распиловки различных видов материалов.

Дополнение

Примечание - Данные требования не распространяются на дисковые пилы, используемые с абразивными кругами или как стационарные машины, установленные на опоре или каким-то другим образом. Алмазные круги рассматриваются как абразивные круги. Абразивные круги допускается использовать только в специальных машинах.

2 Термины и определения

По ГОСТ 12.2.013.0 со следующим изменением:

2.2.23 Замена

Нормальная нагрузка для дисковых пил, используемых для распиловки неметаллических материалов, - нагрузка при непрерывной работе в случае, когда пильный диск занимает вертикальное положение и потребляемая мощность в ваттах равна:

0,25 - для дисковых пил с асинхронным двигателем переменного тока;

0,20 - для остальных дисковых пил глубиной пропила свыше 55 мм;

0,13 - для остальных дисковых пил глубиной пропила до 55 мм, а также для многоцелевых машин, оборудованных пилой в качестве сменной насадки,

где S - наибольшая глубина пропила, мм;

п0 - частота вращения пильного диска на холостом ходу в об/мин, после того как дисковая пила проработала на холостом ходу 15 мин при номинальном напряжении или при верхнем пределе диапазона номинальных напряжений.

Дополнение

Примечание - Определение нормальной нагрузки для других видов дисковых пил, дисковых ножей и машин, используемых для резки металлических материалов, находится в стадии разработки.

Дополнительные пункты

2.101 Дисковая пила с наружным качающимся защитным кожухом - машина, нижний кожух которой в процессе работы поворачивается вокруг верхнего неподвижного кожуха (рисунок 101).

2.102 Дисковая пила с внутренним качающимся защитным кожухом - машина, нижний кожух которой в процессе работы поворачивается внутри верхнего неподвижного кожуха (рисунок 102).

2.103 Дисковая пила с защитным кожухом тянущегося типа - машина, нижний кожух которой в процессе работы скользит вдоль верхнего неподвижного кожуха (рисунок 103).

2.104 Погружная дисковая пила - машина, которая имеет только верхний неподвижный кожух, в который возвращается пильный диск, как только прекращается работа (рисунок 104).

2.105 Направляющая плита - деталь, с помощью которой дисковая пила направляется по распиливаемому материалу.

2.106 Проем направляющей плиты - отверстие в направляющей плите, позволяющее прохождение пильного диска, расклинивающего ножа и подвижного защитного кожуха, если он имеется.

2.107 Неподвижный защитный кожух - жестко соединенная с двигателем защита от прикосновения к части пильного диска, расположенного выше направляющей плиты.

2.108 Подвижный защитный кожух - кожух, который в состоянии покоя предотвращает прикосновение к части пильного диска, которая не закрыта неподвижным защитным кожухом и который в большинстве случаев расположен под направляющей плитой.

2.109 Расклинивающий нож - металлическая деталь, установленная в плоскости пильного диска, которая обеспечивает расклинивание реза и предотвращает обратный ход машины или защемление пильного диска.

2.110 Допустимый пильный диск - пильный диск, указанный изготовителем.

3 Общие требования

По ГОСТ 12.2.013.0.

4 Испытания. Общие положения

По ГОСТ 12.2.013.0.

5 Номинальное напряжение

По ГОСТ 12.2.013.0.

6 Классификация

По ГОСТ 12.2.013.0.

7 Маркировка

По ГОСТ 12.2.013.0 со следующим изменением

7.1 Дополнение

Маркировка дисковых пил должна включать:

- указание направления вращения пильного диска;

- номинальную частоту вращения рабочего шпинделя на холостом ходу.

7.11 Дополнение

Направление вращения пильного диска должно быть указано на неподвижном защитном кожухе выпуклой или выдавленной стрелкой или другим не менее заметным и устойчивым на стирание способом.

7.13 Дополнение

Ко всем типам дисковых пил следует прилагать руководство по эксплуатации со следующими указаниями:

- не применять поврежденных или деформированных пильных дисков;

- не применять пильные диски из высоколегированной быстрорежущей стали;

- не применять пильные диски, которые не соответствуют характеристикам, приведенным в инструкции по эксплуатации;

- не тормозить пильный диск путем бокового нажатия на какой-либо предмет;

- не фиксировать подвижный защитный кожух в открытом положении;

- обеспечить функционирование подвижного защитного кожуха без заеданий;

- обеспечить безупречную работу всех устройств, служащих для ограждения пил;

- вынуть вилку из розетки перед сменой пильного диска, при выполнении регулировочных работ и прочих работ по техническому обслуживанию;

- не использовать абразивные круги, если машина не предназначена для этой цели.

Кроме того, руководство по эксплуатации дисковых пил, предназначенных для распиловки древесины, должно дополнительно содержать следующие указания по безопасности:

- не использовать пильные диски, корпус которых толще или развод зубьев которых меньше толщины расклинивающего ножа;

- обеспечить настройку расклинивающего ножа так, чтобы его расстояние до зубчатого венца пильного диска было не более 5 мм, а расстояние между верхним краем расклинивающего ножа и верхней точкой зубчатого венца не превышало более 5 мм;

- использовать расклинивающий нож всегда, за исключением момента врезания;

- достаточную информацию для сборки и безопасного использования;

- максимальный и минимальный диаметры, толщину и другие характеристики применяемых пильных дисков;

- номинальную частоту вращения шпинделя на холостом ходу.

8 Защита от поражения электрическим током

По ГОСТ 12.2.013.0.

9 Пуск

По ГОСТ 12.2.013.0.

10 Потребляемая мощность и ток

По ГОСТ 12.2.013.0.

11 Нагрев

По ГОСТ 12.2.013.0 со следующим изменением

11.2 Замена

Испытания проводят при нормальной нагрузке или нагрузке тормозным моментом, при котором машина работает при номинальной потребляемой мощности в зависимости от того, что приводит к более высоким превышениям температуры, и при номинальном напряжении или верхнем пределе диапазона номинальных напряжений.

12 Ток утечки

По ГОСТ 12.2.013.0.

13 Подавление радио- и телепомех

По ГОСТ 12.2.013.0.

14 Влагостойкость

По ГОСТ 12.2.013.0.

15 Сопротивление изоляции и электрическая прочность

По ГОСТ 12.2.013.0.

16 Надежность

По ГОСТ 12.2.013.0.

17 Ненормальный режим работы

По ГОСТ 12.2.013.0

18 Механическая безопасность

По ГОСТ 12.2.013.0 со следующим изменением

18.1 Замена

Дисковые пилы должны быть оборудованы эффективной системой ограждения, которую нельзя снять без помощи инструмента.

Система ограждений дисковых пил, предназначенных для распиловки древесины или аналогичных материалов, должна удовлетворять требованиям 18.101, 18.102, 18.103 и 18.104

Проверку проводят осмотром.

Данные требования не распространяются на дисковые пилы с окружной скоростью пильного диска менее 5 м/с. Для этих дисковых пил соответствующие требования находятся в стадии разработки.

Допускается обеспечивать необходимую степень механической безопасности другими средствами при условии, что они столь же эффективны и надежны, как и указанные в настоящем стандарте.

Дополнительные пункты

18.101 Защитное ограждение, расположенное над направляющей плитой.

18.101.1 Над направляющей плитой зубчатый венец пильного диска, а также вращающиеся части со стороны рукоятки пилы должны быть оснащены неподвижным защитным кожухом, предотвращающим непреднамеренный контакт с ними.

18.101.1.1 Для дисковых пил, изображенных на рисунках 101, 102 и 103, неподвижный защитный кожух должен закрывать пильный диск, по крайней мере, до основания зубьев.

Для выполнения этого требования за диаметр основания зуба принимают не менее 0,9 диаметра наименьшего допустимого пильного диска.

Проверку проводят осмотром.

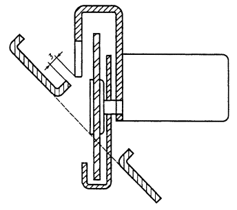
18.101.1.2 Погружные дисковые пилы, изображенные на рисунке 104, должны быть оснащены защитным кожухом, который в состоянии покоя автоматически закрывает пильный диск и расклинивающий нож.

Защитный кожух должен закрывать зубчатый венец до основания зуба при всех возможных глубинах пропила.

Отверстие в защитном кожухе, необходимое для прохождения пильного диска и расклинивающего ножа, должно быть как можно меньше. В закрытом положении расстояние а между наружной стороной защитного кожуха и периферией зубчатого венца наибольшего допустимого пильного диска и ширина b этого отверстия должны соответствовать значениям, указанным в таблице рисунка 108.

В качестве диаметра основания зуба принимается не менее 0,9 диаметра наименьшего допустимого пильного диска.

Это требование не относится к промежутку между направляющей плитой и нижней стороной двигателя, но не допускается, чтобы этот промежуток был более, чем это необходимо.

Защитный кожух в закрытом положении должен автоматически фиксироваться, если пилу взять за ее рукоятки и удерживать в любом положении, что может иметь место при обычной эксплуатации не в рабочем состоянии, когда направляющая плита не контактирует с обрабатываемым изделием.

Проверку проводят осмотром.

18.101.1.3 Все отверстия, включая отверстия для выброса опилок, должны быть выполнены и расположены так, чтобы они соответствовали нижеприведенным требованиям.

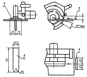
Все отверстия в защитном кожухе должны быть проверены жестким испытательным щупом а (рисунок 105). Независимо от угла наклона щупа должна быть исключена возможность касания щупом зубчатого венца пильного диска при любой глубине пропила, а также при настройке пилы на максимальную глубину пропила должна быть исключена возможность касания вращающихся частей со стороны рукоятки пилы.

Доступность зубчатого венца пильного диска с передней стороны дисковой пилы проверяют жестким испытательным щупом b (рисунок 106). Щуп укладывают так, чтобы его продольная ось была параллельна оси шпинделя пилы, а плоскость пильного диска пересекала его примерно посередине. Когда пилу наклоняют для пропила под прямым углом, должна быть исключена возможность касания зубчатого венца пильного диска испытательным щупом, который перемещают в поперечном направлении (рисунок 106).

18.101.1.4 У дисковых пил с наклонно устанавливаемой направляющей плитой доступность зубчатого венца пильного диска между частью защитного кожуха, находящегося на стороне, противоположной от двигателя, и направляющей плитой не проверяют испытательным щупом а (рисунок 105).

В этом случае расстояние в районе зубчатого венца между наружной стороной неподвижного кожуха и наиболее близко прилегающей частью направляющей плиты при установке наибольшего угла наклона и максимальной глубины пропила (при измерении перпендикулярно к направляющей плите) должно быть менее 3 мм (рисунок 107).

18.102 Защитное ограждение, расположенное под направляющей плитой

Дисковые пилы, изображенные на рисунках 101-103, с рабочей стороны под направляющей плитой должны иметь подвижный защитный кожух, который должен в нерабочем положении закрывать обе стороны зубчатого венца в радиальном направлении до основания зубьев.

В качестве диаметра основания зубьев принимается не менее 0,9 диаметра наименьшего допустимого пильного диска.

Защитный кожух должен автоматически закрываться, когда пила не используется, и не должен фиксироваться в открытом положении.

У дисковых пил, изображенных на рисунках 101 и 102, угол открытия на передней стороне защитного кожуха не должен превышать 10° (рисунок 106), когда дисковая пила установлена на максимальную глубину пропила и под прямым углом к направляющей плите.

Проверку проводят осмотром.

18.102.1 У дисковых пил, изображенных на рисунках 102 и 103, отверстие в подвижном кожухе, необходимое для прохождения пильного диска и (или) расклинивающего ножа, включая элементы его крепления, должно быть как можно меньше.

В закрытом состоянии расстояние а между наружной стороной защитного кожуха и периферией зубчатого венца наибольшего допустимого пильного диска, а также и ширина b этого отверстия должны соответствовать значениям, указанным на рисунке 108.

18.102.2 У дисковых пил с защитным кожухом тянущегося типа (рисунок 103) подвижный защитный кожух должен автоматически фиксироваться в закрытом состоянии, если пила удерживается за рукоятки в любом положении, что может иметь место при обычной эксплуатации в нерабочем состоянии, когда направляющая плита не контактирует с обрабатываемым изделием.

18.102.3 У дисковых пил с пильным диском диаметром, не превышающим 200 мм, время закрывания подвижного защитного кожуха из положения максимального открытия или из положения максимальной глубины пропила не должно превышать 0,2 с, а диаметром более 200 мм время закрывания в секундах допускается не менее чем диаметр, выраженный в метрах. При этом измерение проводят, когда дисковая пила установлена для пропила под прямым углом и на максимальную глубину пропила, направляющая плита находится в горизонтальном положении и рукоятка направлена вверх.

Соответствие требованиям 18.102, 18.102.1 - 18.102.3 проверяют осмотром и измерением, а для 18.102.1 следующим испытанием:

Когда подвижный защитный кожух полностью закрыт, должна отсутствовать возможность прикосновения испытательного щупа, а к зубьям пильного диска через отверстие (рисунок 105).

18.103 Расклинивающий нож

Дисковые пилы должны быть оборудованы расклинивающим ножом.

Примечание - Могут быть использованы другие эффективные устройства.

18.103.1 Расклинивающий нож должен быть неподвижно закреплен в плоскости пильного диска и расположен так, чтобы он легко проходил сквозь пропиливаемую канавку. Расклинивающий нож не должен перемещаться в сторону пильного диска.

Положение расклинивающего ножа при работе меняться не должно.

18.103.2 Конструкция расклинивающего ножа и устройство его крепления должны допускать регулирование расклинивающего ножа для всех диаметров пильного диска, дающих глубину пропила в диапазоне от 90 до 100 % номинальной глубины пропила, с соблюдением следующих условий (рисунок 109):

- под направляющей плитой расстояние между расклинивающим ножом и зубчатым венцом пильного диска ни в одной точке при любой глубине пропила не должно превышать 5 мм;

- расстояние между верхним краем расклинивающего ножа и верхней точкой зубчатого венца пильного диска должно быть, не более 5 мм.

Проверку на соответствие требованиям 18.103.2 проводят осмотром и измерением.

18.103.3 Для дисковых пил с номинальной глубиной пропила свыше 55 мм расклинивающий нож и устройство его крепления должны быть выполнены так, чтобы расклинивающий нож при изменении глубины пропила соответствовал требованиям 18.103.2.

Проверку проводят осмотром.

18.103.4 Расклинивающий нож должен иметь твердость 38...48 НRСэ и сопротивление разрыву не менее 800 МПа.

Его вершина должна быть закруглена радиусом не менее 2 мм.

18.103.5 Ширина расклинивающего ножа, измеренная на высоте направляющей плиты при установке дисковой пилы на максимальную глубину пропила, должна составлять не менее 1/8 диаметра пильного диска. В точке крепления расклинивающий нож должен иметь прочность (например, с помощью дополнительного средства крепления), равную той, которая имеет место в сечении ножа, имеющего ширину 1/8 диаметра пильного диска. Поверхности расклинивающего ножа должны быть плоскими, гладкими и параллельными и иметь небольшой скос к режущей кромке пильного диска.

18.103.6 Дисковая пила должна быть сконструирована и изготовлена так, чтобы при расположении ее на горизонтальной поверхности во всех стабильных положениях и при закрытом подвижном кожухе она не опиралась на расклинивающий нож.

Проверку на соответствие требованиям 18.103.5 и 18.103.6 проводят измерением и осмотром.

18.104 Направляющая плита

Направляющая плита должна иметь основные размеры, приведенные на рисунке 110.

Проверку проводят измерением

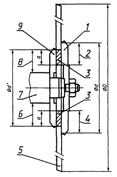
18.105 Фланцы

Наружный диаметр прижимной поверхности должен быть не менее 0,15 расчетного диаметра пильного диска и, как минимум, один из фланцев должен быть закреплен на шпинделе пилы без возможности проворота.

Во избежание недопустимой деформации перекрытие прижимной поверхностью двух фланцев а должно быть шириной не менее 1,5 мм (рисунок 111).

Проверку проводят измерением и осмотром.

18.106 Рукоятки

Дисковые пилы должны иметь две рукоятки.

У дисковых пил массой до 6 кг допускается корпус двигателя, если он имеет соответствующую форму, использовать как одну из рукояток.

Дисковая пила, которая предусматривается как дополнение для сверлильных машин, должна иметь, как минимум, одну рукоятку.

Проверку проводят осмотром.

18.107 Смена пильного диска

Для обеспечения легкой смены пильного диска должна быть предусмотрена возможность стопорения шпинделя пилы.

Проверку проводят осмотром.

18.108 Масса

Общая масса дисковой пилы, предназначенной для обслуживания одним оператором и снабженной самыми тяжелыми приспособлениями и кабелем длиной 1,5 м, должна быть не более 16 кг.

Проверку проводят измерением и осмотром.

18.109 Удаление пыли и стружек

Дисковые пилы должны быть сконструированы так, чтобы выбрасываемые стружки не могли представлять опасность для оператора.

Проверку проводят осмотром.

18.110 Для дисковых ножей следующие дополнения:

18.110.1 Дисковые ножи должны иметь защитное ограждение, предотвращающее любой ненамеренный контакт с вращающим ножом при любом положении при эксплуатации.

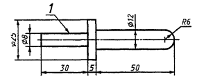
Над направляющей плитой доступ к периферии диска ножа с тыльной и боковой сторон должен надежно предотвращаться неподвижным защитным кожухом. Если это требуется условиями эксплуатации, то доступ к периферии диска ножа с передней стороны машины должен быть ограничен таким образом, чтобы исключалась возможность касания с периферией диска ножа испытательного щупа диаметром 13 мм и длиной 50 мм.

С нижней стороны направляющей плиты доступ к периферии диска ножа должен быть ограничен подвижным защитным кожухом.

В закрытом положении угол раскрытия между передней плоскостью кожуха и направляющей плитой не должен быть более:

- 10°, если паз на направляющей плите под нож сквозной;

- 25°, если паз на направляющей плите под нож с тыльной стороны закрыт.

Проверку проводят осмотром и измерением.

18.110.2 Общая масса дискового ножа, предназначенного для обслуживания одним оператором, должна быть не более 16 кг.

Общая масса - масса дискового ножа с самыми тяжелыми приспособлениями, указанными изготовителем, и гибким кабелем длиной 1,5 м.

Проверку проводят осмотром и измерением.

19 Механическая прочность

По ГОСТ 12.2.013.0 со следующим изменением:

19.1 Дополнение

Испытания проводятся и на защитных кожухах.

После испытаний защитные кожухи должны удовлетворять требованиям 18.101-18.103.

Не должно быть видно каких-либо разрушений невооруженным глазом.

19.2 Испытания по данному пункту не проводят.

20 Конструкция

По ГОСТ 12.2.013.0 со следующим изменением:

20.19 Дополнение

Дисковые пилы и дисковые ножи должны быть снабжены выключателем, при снятии усилия с приводного элемента которого подача тока автоматически прекращается.

Этот выключатель не должен иметь стопорящее устройство в положении «включено».

Это требование не относится к многоцелевым машинам, оборудованным дисковой пилой в качестве сменной насадки, при условии, если выключатель переводится в выключенное положение одним нажатием.

Дисковая пила и дисковый нож должны иметь такую конструкцию, чтобы их нельзя было использовать как стационарные в перевернутом положении без применения дополнительных устройств крепления.

Это требование считается выполненным, если в перевернутом положении машины не сохраняют устойчивое положение.

Проверку проводят осмотром.

21 Внутренняя проводка

По ГОСТ 12.2.013.0.

22 Комплектующие изделия

По ГОСТ 12.2.013.0.

23 Подключение к сети и внешние гибкие кабели и шнуры

По ГОСТ 12.2.013.0.

24 Зажимы для внешних проводов

По ГОСТ 12.2.013.0.

25 Заземление

По ГОСТ 12.2.013.0.

26 Винты и соединения

По ГОСТ 12.2.013.0.

27 Пути утечки, воздушные зазоры и толщина изоляции

По ГОСТ 12.2.013.0.

28 Теплостойкость, огнестойкость и стойкость к образованию токопроводящих мостиков

По ГОСТ 12.2.013.0.

29 Коррозионная стойкость

По ГОСТ 12.2.013.0.

Приложение А Термовыключатели и устройства защиты от перегрузок

По ГОСТ 12.2.013.0.

Приложение В Электрические схемы

По ГОСТ 12.2.013.0.

Приложение С Конструкция безопасных изолирующих трансформаторов

По ГОСТ 12.2.013.0.

Приложение D Измерение путей утечки и воздушных зазоров

По ГОСТ 12.2.013.0.

1 - неподвижный защитный кожух; 2 - отверстие для выброса опилок; 3 - указание направления вращения пильного диска; 4 - подвижный защитный кожух; 5 - направляющая плита; 6 - расклинивающий нож; 7 - направление открытия подвижного защитного кожуха; 8 - устройство крепления расклинивающего ножа; 9 - выключатель; 10 - пильный диск

Рисунок 101 - Дисковая пила с наружным качающимся защитным кожухом

1-10 (см. рисунок 101)

Рисунок 102 - Дисковая пила с внутренним качающимся защитным кожухом

1-10 (см. рисунок 101); 11 - рычаг разблокирования фиксации защитного кожуха тянущегося типа

Рисунок 103 - Дисковая пила с защитным кожухом тянущегося типа

1-3; 5; 6; 8-10 (см. рисунок 101); 11 - рычаг разблокирования фиксации погружения; 12 - направление погружения пильного диска

Рисунок 104 - Дисковая пила погружная

1 - рукоятка

Рисунок 105 - Испытательный щуп а

1 - испытательный щуп b

Рисунок 106 - Испытательный щуп b

Рисунок 107 - Дисковая пила с наклонно устанавливаемой направляющей плитой

1 - пильный диск; 2 - подвижный защитный кожух

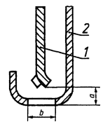
b, мм

а, мм, не менее

b £ 6

3

6 < b £ 12

b/2

Рисунок 108 - Отверстие в подвижном защитном кожухе

Рисунок 109 - Выставление расклинивающего ножа

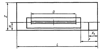
D - диаметр пильного диска; I - длина направляющей плиты; Z - ширина направляющей плиты; Н - расстояние плоскости пильного диска от края направляющей плиты; F - расстояние между проемом в направляющей плите и передним краем направляющей плиты; Х1 - длина проема в направляющей плите

L ³ 1,6D;

Z ³ 0,7D;

Н ³ 0,15D*;

F ³ 0,2D или 38 мм в зависимости от того, что больше;

Х1 £ F - 10**

Рисунок 110 - Основные размеры направляющей плиты

_____________

* У дисковых пил, предназначенных для специальных целей, например, для распиловки вдоль стены, размер Н может быть меньшим.

** Действительно, если проем в направляющей плите предусмотрен как указатель линии реза.

а ³ 1,5 мм

Æd¢ ³ 0,15ÆD

1 - наружный фланец; 2, 4 - контактная поверхность; 3 - перекрываемая поверхность; 5 - диск; 6, 8 - прижимная поверхность; 7 - шпиндель; 9 - внутренний фланец

Рисунок 111 - Характеристика фланцев

Ключевые слова: электрические ручные машины; дисковые пилы; дисковые ножи; безопасность; испытания

 




ГОСТЫ, СТРОИТЕЛЬНЫЕ и ТЕХНИЧЕСКИЕ НОРМАТИВЫ.
Некоммерческая онлайн система, содержащая все Российские Госты, национальные Стандарты и нормативы.
В Системе содержится более 150000 файлов нормативно-технической документации, действующей на территории РФ.
Система предназначена для широкого круга инженерно-технических специалистов.

Рейтинг@Mail.ru Яндекс цитирования

Copyright © www.gostrf.com, 2008 - 2026