Крупнейшая бесплатная информационно-справочная система онлайн доступа к полному собранию технических нормативно-правовых актов РФ. Огромная база технических нормативов (более 150 тысяч документов) и полное собрание национальных стандартов, аутентичное официальной базе Госстандарта. GOSTRF.com - это более 1 Терабайта бесплатной технической информации для всех пользователей интернета. Все электронные копии представленных здесь документов могут распространяться без каких-либо ограничений. Поощряется распространение информации с этого сайта на любых других ресурсах. Каждый человек имеет право на неограниченный доступ к этим документам! Каждый человек имеет право на знание требований, изложенных в данных нормативно-правовых актах!

  


 

ГОСУДАРСТВЕННЫЙ СТАНДАРТ СОЮЗА ССР

ПРИСПОСОБЛЕНИЯ СБОРНО-РАЗБОРНЫЕ
ПЕРЕНАЛАЖИВАЕМЫЕ ДЛЯ СБОРКИ ДЕТАЛЕЙ ПОД СВАРКУ

ТИПЫ, ПАРАМЕТРЫ И РАЗМЕРЫ

ГОСТ 31.2031.01-91

КОМИТЕТ СТАНДАРТИЗАЦИИ И МЕТРОЛОГИИ СССР

Москва

ГОСУДАРСТВЕННЫЙ СТАНДАРТ СОЮЗА ССР

ПРИСПОСОБЛЕНИЯ СБОРНО-РАЗБОРНЫЕ
ПЕРЕНАЛАЖИВАЕМЫЕ ДЛЯ СБОРКИ ДЕТАЛЕЙ
ПОД СВАРКУ

Типы, параметры и размеры

Readjustable built-up detachable fixtures
for assembly of elements to be welded.
Types, parameters and dimensions

ГОСТ
31.2031.01-91

Дата введения 01.07.92

Настоящий стандарт распространяется на переналаживаемые накладные сборно-разборные приспособления (далее - приспособления), их детали и сборочные единицы.

Приспособления предназначены для сборки под сварку цилиндрических деталей с гладкими и резьбовыми отверстиями, стержней и плоскостных деталей.

Требования пп. 1, 2, 4, 6-10 являются обязательными, другие требования настоящего стандарта являются рекомендуемыми.

1. Размеры деталей, устанавливаемых под сварку, должны соответствовать указанным в табл. 1.

Таблица 1

Размер

Значение, мм

1. Цилиндрические детали с гладкими и резьбовыми отверстиями:

 

длина, не более

60

диаметр наружный

8 ... 22

диаметр внутренний гладкий

3 ... 12

диаметр внутренний резьбовой

M3 ... M12

2. Стержни:

 

длина, не более

60

диаметр

3 ... 22

3. Плоскостные детали:

 

длина

10 ... 150

ширина

10 ... 150

высота

5 ... 40

2. Стандарт устанавливает типы приспособлений в зависимости от способа их базирования:

1 - по трем плоскостям;

2 - по двум плоскостям и отверстию;

3 - по плоскости и двум отверстиям;

4 - по двум плоскостям и риске;

5 - по плоскости, отверстию и риске.

3. Детали и сборочные единицы приспособлений по функциональному назначению подразделяются на базовые, соединительные, опорно-направляющие, фиксирующие и крепежные.

4. Стандарт устанавливает серии приспособлений, основные параметры которых должны соответствовать указанным в табл. 2.

Таблица 2

Серия

Диаметр базовой детали, мм

Собираемые приспособления

Габаритные размеры, мм, не более

Масса, кг, не более

1

16

835´415´200

8,0

2

20

1530´830´200

12,0

5. Основными конструктивными элементами соединения деталей приспособления являются: конические и цилиндрические базовые отверстия, П-образные базы и выступы, зубчатые зацепления.

6. Основные размеры конических базовых отверстий должны соответствовать указанным на черт. 1 и в табл. 3. Предельные отклонения углового размера - .

Черт. 1

Таблица 3

мм

Серия

d

h

1

6,2

5,7

2

8,2

9,7

7. Основные размеры цилиндрических базовых отверстий должны соответствовать указанным в табл. 4. Предельные отклонения размеров диаметров в соединительных деталях - Н9.

Таблица 4

Серия

Диаметр базового отверстия, мм

в соединительных деталях

в других деталях

1

16

6, 8, 10

2

20

8, 10, 12

8. Ширина П-образных пазов и выступов должна составлять 12 мм. Предельные отклонения - H9, h9 соответственно.

9. Основные размеры зубчатых зацеплений должны соответствовать указанным на черт. 2 и в табл. 5. Степень точности зубчатых зацеплений - 7-B ГОСТ 10242.

Таблица 5

мм

Серия

Высота зуба h

Модуль

1

1,5

0,8

2

1,8

Черт. 2

10. Неуказанные предельные отклонения размеров деталей и сборочных единиц приспособлений - Н14, h14,

11. Примеры типовых схем компоновок приспособлений приведены в приложении.


ПРИЛОЖЕНИЕ
Справочное

ПРИМЕРЫ ТИПОВЫХ СХЕМ КОМПОНОВОК, ПРИСПОСОБЛЕНИЙ

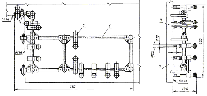
Приспособление с базированием по трем плоскостям (тип 1)

1 - каркас приспособления (1 шт.); 2 - сборочная единица фиксации (11 шт.); 3 - сборочная единица базирования (3 шт.); 4 - корпус изделия (1 шт.); 5 - привариваемая цилиндрическая деталь с гладким отверстием (11 шт.)

Черт. 3

Приспособление с базированием по двум плоскостям и отверстию (тип 2)

1 - каркас приспособления (1 шт.); 2 - сборочная единица фиксации (6 шт.); 3 - сборочная единица базирования (2 шт.); 4 - корпус изделия (1 шт.); 5 - привариваемый стержень (7 шт.).

Черт. 4

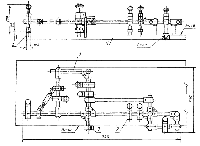
Приспособление с базированием по плоскости я двум отверстиям (тип 3)

1 - каркас приспособления (1 шт.); 2 - сборочная единица фиксации (6 шт.); 3 - сборочная единица базирования (2 шт.); 4 - корпус изделия (1 шт.); 5 - привариваемая плоскостная деталь (6 шт.)

Черт. 5

Приспособление с базированием по двум плоскостям и риске (тип 4)

(длина приспособления 980 мм)

1 - каркас приспособления (1 шт.); 2 - сборочная единица фиксации (9 шт.); 3 - сборочная единица базирования (2 шт.); 4 - корпус изделия (1 шт.); 5 - привариваемая цилиндрическая деталь с резьбовым отверстием (9 шт.)

Черт. 6

Приспособление с базированием по плоскости, отверстию и риске (тип 5)

1 - каркас приспособления (1 шт.); 2 - сборочная единица фиксации (5 шт.); 3 - сборочная единица базирования (1 шт.); 4 - корпус изделия (1 шт.); 5 - привариваемый стержень (4 шт.); 6 - привариваемая плоскостная деталь (2 шт.)

Черт. 7


ИНФОРМАЦИОННЫЕ ДАННЫЕ

1. РАЗРАБОТАН И ВНЕСЕН Министерством оборонной промышленности СССР

2. УТВЕРЖДЕН И ВВЕДЕН В ДЕЙСТВИЕ Постановлением Государственного комитета СССР по управлению качеством продукции и стандартам от 24.04.91 № 562

3. Срок проверки - 1996 г., периодичность проверки - 5 лет

4. ВВЕДЕН ВПЕРВЫЕ

5. ССЫЛОЧНЫЕ НОРМАТИВНО-ТЕХНИЧЕСКИЕ ДОКУМЕНТЫ

Обозначение НТД, на который дана ссылка

Номер пункта

ГОСТ 10242-81

9

 

 




ГОСТЫ, СТРОИТЕЛЬНЫЕ и ТЕХНИЧЕСКИЕ НОРМАТИВЫ.
Некоммерческая онлайн система, содержащая все Российские Госты, национальные Стандарты и нормативы.
В Системе содержится более 150000 файлов нормативно-технической документации, действующей на территории РФ.
Система предназначена для широкого круга инженерно-технических специалистов.

Рейтинг@Mail.ru Яндекс цитирования

Copyright © www.gostrf.com, 2008 - 2026