Крупнейшая бесплатная информационно-справочная система онлайн доступа к полному собранию технических нормативно-правовых актов РФ. Огромная база технических нормативов (более 150 тысяч документов) и полное собрание национальных стандартов, аутентичное официальной базе Госстандарта. GOSTRF.com - это более 1 Терабайта бесплатной технической информации для всех пользователей интернета. Все электронные копии представленных здесь документов могут распространяться без каких-либо ограничений. Поощряется распространение информации с этого сайта на любых других ресурсах. Каждый человек имеет право на неограниченный доступ к этим документам! Каждый человек имеет право на знание требований, изложенных в данных нормативно-правовых актах!

  


 

Ордена Трудового Красного Знамени

научно-исследовательский институт

бетона и железобетона

(НИИЖБ) Госстроя СССР

Центральный

научно-исследовательский

и проектно-экспериментальный

институт промышленных зданий

и сооружений

(ЦНИИПромзданий) Госстроя СССР

РЕКОМЕНДАЦИИ
ПО ПРОЕКТИРОВАНИЮ
МОНОЛИТНЫХ ЖЕЛЕЗОБЕТОННЫХ ПЕРЕКРЫТИЙ
СО СТАЛЬНЫМ ПРОФИЛИРОВАННЫМ НАСТИЛОМ

Москва Стройиздат 1987

Рекомендованы к изданию решением секции бетонных и железобетонных конструкций Научно-технического совета НИИЖБ Госстроя СССР.

Содержат основные положения по проектированию монолитных железобетонных перекрытий с применением стального профилированного настила в качестве опалубки и арматуры.

Рассмотрены вопросы расчета перекрытий и комбинированных балок плит на стадии возведения и эксплуатации. Указаны требования к конструированию и материалам. Даны примеры расчета.

Разработаны НИИЖБ Госстроя СССР (д-р техн. наук А.П. Васильев, канд. техн. наук В.М. Горшкова при участии д-ра техн. наук В.В. Жукова, инженеров В.И. Игнатьева, Д.Н. Лазовского) и ЦНИИПромзданий Госстроя СССР (канд. техн. наук Р.И. Рабинович, инженеры Г.Е. Ханукова, Г.Г. Орлов) совместно с Челябинским политехническим институтом (канд. техн. наук В.Г. Колбасин, инж. А.А. Кваша), Донецким ПромстройНИИпроектом (инженеры А.А. Богданов, М.Г. Карповский, В.И. Кантор), Челябинским ПромстройНИИпроектом (канд. техн. наук Б.В. Кучер), проектным институтом № 3 Минпромстроя СССР (канд. техн. наук И.Я. Подольский, инженеры А.И. Рапопорт, Ю.З. Гельман), Московским архитектурным институтом (канд. техн. наук В.Н. Голосов) и ЦНИИПроектстальконструкция (канд. техн. наук Э.Л. Айрумян, инж. И.А. Григорьева).

ОСНОВНЫЕ БУКВЕННЫЕ ОБОЗНАЧЕНИЯ

Усилия от внешних нагрузок в поперечном сечении элементов

М - изгибающий момент

Q - поперечная сила

T - продольная сила растяжения (сжатия)

Характеристики материалов

Rb - расчетное сопротивление бетона осевому сжатию

Rbt - расчетное сопротивление бетона осевому растяжению

Rn - расчетное сопротивление стального профилированного настила растяжению

Rns - расчетное сопротивление стального профилированного настила срезу

Rs - расчетное сопротивление стержневой арматуры растяжению

Rsc - расчетное сопротивление стержневой арматуры сжатию

Rsw - расчетное сопротивление стержневой поперечной арматуры растяжению

Rsa - расчетное сопротивление анкерного стержня растяжению

Rsg - расчетное сопротивление стали прогона растяжению, сжатию и изгибу, соответствующее СНиП II-23-81 "Стальные конструкции"

Eb - начальный модуль упругости бетона при сжатии и растяжении

En - модуль упругости стального профилированного настила

Es - модуль упругости стержневой арматуры

Esg - модуль упругости стали прогона

γn - коэффициент условий работы стального профилированного настила

Характеристики сечения плиты

bf - ширина полки таврового сечения плиты, ширина одного гофра стального профилированного настила

b - ширина ребра по низу таврового сечения плиты, ширина нижней (опорной) грани стального профилированного настила

b’ - ширина ребра по верху таврового сечения плиты

bi - ширина плоских участков сжатых полок, равная расстоянию между краями выкружек

h - высота таврового сечения плиты

hn - высота стального профилированного настила

hf - высота бетонной полки таврового сечения плиты

ho - рабочая высота сечения, равная расстоянию от сжатой грани бетона до равнодействующей усилий растяжения в стальном профилированном настиле и стержневой арматуре

t - толщина листа стального профилированного настила

х - высота сжатой зоны бетона

yc - расстояние от узкой грани профилированного настила до его центра тяжести

a, a’ - расстояния от равнодействующей усилий в стержневой арматуре соответственно в растянутой и сжатой зонах до ближайшей грани сечения

d - номинальный диаметр анкерного стержня

i - пролет плиты

А - площадь всего бетона в поперечном сечении плиты

Аb - площадь сечения сжатой зоны бетона

Аn1 - площадь сечения одного гофра стального профилированного настила

As, As - площади сечения стержневой арматуры, расположенной соответственно в растянутой и сжатой зонах, от действия внешних сил

Asw - площадь сечения поперечной стержневой арматуры

Ared - площадь приведенного сечения плиты

Ааn - площадь сечения анкерного стержня

Ix - момент инерции стального профилированного настила

Irs - собственный момент инерции плиты

Ired - момент инерции приведенного сечения плиты

fm - прогиб плиты от нагрузки, обусловленный деформацией изгиба

Характеристики сечения комбинированной балки

bb - ширина сечения комбинированной балки

Н - высота комбинированной балки

hsg - высота прогона

bsg, bsg - ширина полки соответственно по низу и верху прогона

δsg, δsg - толщина соответственно нижней и верхней полки прогона

δ - толщина стенки прогона

isg - длина пролета прогона

Isg - собственный момент инерции прогона

Asg - площадь сечения стального прогона

Ars - площадь сечения полки плиты в комбинированной балке

1. ОБЩИЕ ПОЛОЖЕНИЯ

1.1. Рекомендации распространяются на проектирование монолитных железобетонных перекрытий и покрытий с применением стального профилированного настила (СПН) в качестве несъемной опалубки и внешней арматуры плиты.

1.2. При проектировании конструкций с СПН необходимо соблюдать требования СНиП 2.03.01-84 "Бетонные и железобетонные конструкции", СНиП II-23-81 "Стальные конструкции" и настоящих Рекомендаций.

1.3. Монолитные железобетонные перекрытия со стальным профилированным настилом рекомендуется применять при возведении многоэтажных производственных и общественных зданий в широком диапазоне нагрузок при нестандартных шагах и пролетах конструкций, большом числе проемов и отверстий, при реконструкции зданий и устройстве рабочих площадок, а также при строительстве зданий в районах, недостаточно обеспеченных сборным железобетоном.

Не допускается использовать стальной профилированный настил в качестве внешней арматуры железобетонной плиты при повышенной влажности и химической агрессии среды, а также при динамических воздействиях с коэффициентом асимметрии цикла ρ<0,7.

1.4. Огнестойкость однопролетных плит перекрытий с открытой снизу внешней арматурой в виде стального профилированного настила составляет 30 мин, многопролетных неразрезных плит перекрытия при расположении верхней арматуры по всей длине пролета 45 мин и выше.

1.5. Монолитные перекрытия можно проектировать в зданиях с категорией производств А, Б, В при наличии спринклерных установок пожаротушения, а также при устройстве несгораемых подвесных потолков или огнезащитных покрытий поверхности СПН. В зданиях с категорией производств Г, Д, Е монолитные перекрытия по профилированному настилу допускается применять без устройства защиты и спринклерных установок.

1.6. Огнезащитное покрытие наносят в соответствии с требованиями "Руководства по нанесению огнезащитного вспучивающегося покрытия ВПМ-2" (М.: ВНИИПО МВД СССР, 1977).

1.7. Стальной профилированный настил, используемый в качестве арматуры железобетонной плиты, должен быть оцинкованным или иметь другое покрытие, обеспечивающее его коррозионную стойкость.

2. МАТЕРИАЛЫ

2.1. Для монолитных железобетонных плит, выполняемых по СПН, можно применять тяжелые бетоны на обычном или мелкозернистом заполнителе классов по прочности на сжатие не ниже В15, а также легкие бетоны на пористых заполнителях классов по прочности на сжатие не ниже В12,5. Расчетные и нормативные характеристики бетонов следует принимать в соответствии с указаниями СНиП 2.03.01-84.

2.2. В качестве внешней арматуры монолитных железобетонных плит рекомендуется использовать стальной профилированный настил с выштампованными рифами. Настил марок Н80A-674-1,0 и Н80А-674-0,9, выпускаемый Челябинским заводом стального профилированного настила Минтяжстроя СССР, показан на рис. 1. Характеристика настила приведена в табл. 1.

Таблица 1

Обозначение (марка) профиля

Угол наклона грани d, град

Размеры сечения

Площадь сечения Аn, см2

Масса 1 м длины профилированного настила, кг

Справочные величины на 1 м ширины профилированного настила

Масса 1 м2, кг

момент инерции Ix, см4

момент сопротивления, см3

расстояние до центра тяжести ус, см

t, мм

h, мм

Wx1

Wx2

Н80А-674-0,9

80,2

0,9

79,1

11,3

9,4

167,51

38,59

45,76

4,297

13,9

Н80А-674-1,0

80,2

1

79

12,5

10,3

185,58

42,76

50,7

4,288

15,3

2.3. Стальные прогоны изготовляют из прокатных двутавров или сварными из прокатной профильной либо листовой стали марок, предусмотренных для стальных конструкций.

2.4. Расчетные характеристики стали прогонов устанавливают по СНиП II-23-81.

2.5. Расчетные характеристики стали профилированного настила принимают по СНиП II-23-81 в соответствии с ее маркой и классом, указанными в технических условиях (ТУ) на СПН.

2.6. В качестве дополнительной гибкой арматуры плиты рекомендуется арматурная сталь, соответствующая требованиям ГОСТов, следующих видов и классов: стержневая периодического профиля классов А-II и А-III, проволочная класса Вр. Вертикальные анкеры, закрепляющие настил на опорах, должны быть выполнены из арматурной стали периодического профиля классов А-II и А-III диаметром 12-16 мм. Расчетные характеристики арматурной стали принимаются в соответствии со СНиП 2.03.01-84.

Рис. 1. Стальной профилированный настил, рекомендуемый для монолитных перекрытий

3. КОНСТРУКТИВНЫЕ ТРЕБОВАНИЯ

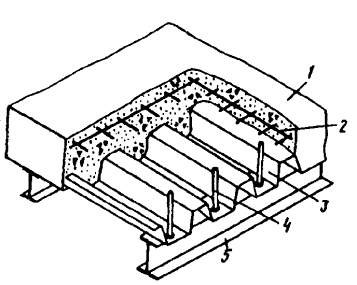
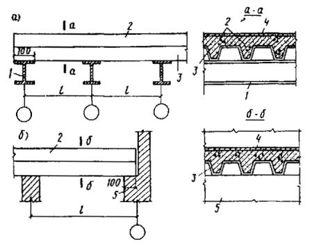
3.1. Перекрытие состоит из монолитной железобетонной плиты, бетонируемой по СПН, который, после набора бетоном заданной прочности, используется в качестве внешней арматуры. Плита может опираться на стальные или железобетонные прогоны, а также на кирпичные или бетонные стены (рис. 2). Целесообразно при опирании плиты на стальные прогоны обеспечивать их совместную работу (см. п. 3.5). В этом случае прогоны рассчитывают как комбинированные балки.

3.2. Плиту перекрытия можно проектировать по однопролетной или многопролетной неразрезной схеме.

Рис. 2. Конструктивные схемы монолитного перекрытия по СПН

1 - прогон; 2 - плита из монолитного бетона; 3 - стальной профилированный настил; 4 - арматурная сетка; 5 - стена (кирпичная или бетонная)

Рис. 3. Конструкция монолитного перекрытия по СПН с вертикальными стержневыми анкерами

1 - монолитный бетон; 2 - арматурная сетка; 3 - стальной профилированный настил; 4 - вертикальный анкер; 5 - прогон

3.3. Длину пролета плиты рекомендуется назначать в пределах 1,5-3 м. Допускаются большие пролеты при устройстве временных опор на период бетонирования и вызревания бетона.

3.4. Стальной профилированный настил, используемый в качестве арматуры плиты, должен иметь надежное сцепление с бетоном, что обеспечивается выштампованными при прокате рифами, образующими шпонки на его гранях, и специальными анкерными устройствами.

В качестве анкерных устройств рекомендуются вертикальные стержневые анкеры из арматурной стали, привариваемые в процессе монтажа через лист настила к верхней полке стального прогона (рис. 3).

3.5. Вертикальные стержневые анкеры, выполняемые по пп. 2.6 и 3.4, приваривают по всем прогонам, служащим опорами СПН, обеспечивая совместную работу прогонов с железобетонной плитой, а также анкеровку по его концам. В соответствии с этим проводится их расчет по пп. 4.21 и 5.6 настоящих Рекомендаций. Если совместная работа прогонов с плитой не учитывается, то число анкеров определяют из расчета плиты по п. 4.21 и принимают не менее одного в каждом гофре по концам СПН и не менее одного через два гофра на промежуточных опорах при непрерывности на них настила.

Расстояние от анкера до края СПН и грани прогона должно быть не менее 1,5d (где d - диаметр анкера), а между осями анкеров в одном гофре - не менее 70 мм.

Длину анкеров следует принимать равной высоте плиты за вычетом величины защитного слоя от торца анкера до поверхности бетона. Ширина гофра для приварки анкеров должна быть не менее 50 мм.

3.6. В пояснительной записке к рабочим чертежам необходимо указывать плотность примыкания СПН к прогонам в местах приварки вертикальных анкерных стержней, обеспечивающую прочность сварки и отсутствие прожогов настила. Допускается зазор не более 0,5 мм.

3.7. Приварка вертикальных анкеров производится в соответствии с требованиями "Рекомендаций по технологии приварки втавр под флюсом стержней и оцинкованного профилированного настила к стальным конструкциям" (М.: НИИЖБ, 1984).

3.8. Стыки листов стального профилированного настила по длине следует выполнять на прогонах впритык, без нахлестки.

По ширине листы стыкуют путем нахлестки боковых граней СПН, соединяя их между собой комбинированными заклепками с шагом не более 600 мм (ОСТ 34-14-017-78, ТУ 67-74-75).

3.9. Для общего или местного усиления перекрытия допускается установка дополнительной гибкой арматуры в виде отдельных стержней, каркасов и сеток, учитываемых в расчете. Нижние продольные стержни рабочей арматуры устанавливают в гофрах СПН без обрыва по длине пролета. Расстояние от конца гибкой арматуры до конца СПН на крайних опорах должно быть не более 20 мм. При недостаточной анкеровке гибкой арматуры предусматривают дополнительные анкеры в виде шайб, высаженных головок, приваренных в крест коротышей. Расстояние от стержня до стенок стального профилированного настила и нижней полки должно быть не менее 20 мм. В неразрезных плитах перекрытия устанавливают верхние продольные стержни, располагая их в соответствии с эпюрой моментов. При этом допускается обрыв стержней верхней арматуры в пролете, но не ближе чем в четверти пролета от оси опоры.

3.10. При отсутствии надопорной арматуры проектируют противоусадочную сетку, подбирая се из расчета 0,02 % площади сечения бетона над настилом, но не менее чем сетка диаметром 3 мм из проволоки Вр-I с шагом стержней в двух направлениях 200 мм. Сетки располагают с отступом по верхней поверхности плиты на величину защитного слоя бетона, равного 15 мм.

3.11. Толщину бетонной полки плиты перекрытия над профилированным настилом определяют путем расчета прочности и деформации, а также исходя из технико-экономических соображений. Она должна быть не менее 30 мм, а при отсутствии в конструкциях пола бетонной стяжки - не менее 50 мм.

3.12. Профилированный настил рекомендуется ориентировать широкими гофрами вниз. При отсутствии гибкой арматуры допускается ориентация СПН узкими полками вниз.

3.13. При устройстве отверстий в плите следует предусмотреть дополнительную арматуру для усиления прилегающих к СПН участков перекрытия и бортовую опалубку по контуру отверстия, что обеспечивает возможность вырезки настила.

Если размер отверстия поперек настила не превышает 500 мм, то рекомендуется усиливать перекрытое путем установки в примыкающих к отверстию гофрах арматуры в виде продольных стержней, заводя их за оси прогонов, а также в виде поперечных стержней, окаймляющих отверстие, заводя их за пределы подрезки на два-три гофра с каждой стороны. Продольную арматуру выбирают из условия ее эквивалентности по прочности сечению вырезанной части профилированного настила.

Если размер отверстия поперек гофр настила белее 500 мм, то в конструкции перекрытия по контуру отверстия должны предусматриваться дополнительные элементы балочной клетки, передающие нагрузку с ослабленного отверстием участка на прогоны. При этом концы настила крепят к балкам анкерными стержнями или самонарезающими болтами.

3.14. При совместной работе плиты и балки, что имеет место при устройстве, анкеров по п. 3.5 настоящих Рекомендаций, проектируют "комбинированную балку", сечение которой состоит из стального прогона и связанной с ним посредством анкеров, монолитной железобетонной плиты с внешней арматурой из стального профилированного настила.

3.15. На крайних опорах комбинированных балок в случае необходимости ставят упоры (п. 5.6 настоящих Рекомендаций), приваривая их по верхней полке прогонов таким образом, чтобы по своей высоте они доходили до верхней поверхности плиты и были длиной не менее ширины полки прогона. Упоры не должны иметь выступов в плоскости сопряжения с бетоном, способствующих раскалыванию бетона.

4. РАСЧЕТ ПЛИТЫ

4.1. При проектировании монолитных железобетонных плит с применением СПН расчет выполняют для двух стадий работы: возведения и эксплуатации.

4.2. В стадии возведения несущей конструкцией является стальной профилированный настил. При расчете определяют его прочность и жесткость как для стального тонкостенного изгибаемого элемента, работающего на нагрузку от собственной массы настила, массы свежеуложенного бетона и монтажной нагрузки, включающей массу оборудования и людей в процессе возведения перекрытия (табл. 2).

Таблица 2

Характеристика

Нормативная нагрузка на 1 м2, Н

Коэффициент перегрузки

Нагрузка от собственной массы настила

По ТУ или ГОСТ

1,05

Нагрузка от массы свежеуложенной бетонной смеси

По формуле γ(hb+hf)*

1,2

Монтажная нагрузка:

при выгрузке бетонной смеси из бадей вместимостью до 0,8 м3

2500

1,3

при подаче бетонной смеси бетоноводами

500

1,3

* γ - плотность бетонной смеси; hb - приведенная толщина бетона в пределах высоты сечения настила; hf - высота полки таврового сечения плиты.

Приведенная толщина бетона hb (рис. 4) определяется по формуле

                                              (1)

где sn - расстояние между осями гофров настила, см.

4.3. Прочность СПН проверяют для опорных и пролетных сечений по условиям:

                                                     (2)

                                                    (3)

где М - максимальный изгибающий момент от расчетных нагрузок (по п. 4.2 настоящих Рекомендаций) на 1 м ширины настила, Н·м; Wx - расчетный момент сопротивления на 1 м ширины настила, определяемый по п. 4.4 настоящих Рекомендаций, см3; Q - максимальное значение поперечной силы от расчетных нагрузок, приходящееся на 1 м ширины настила, Н.

4.4. Расчетный момент сопротивления СПН определяют в зависимости от уровня напряжений σn в сжатых полках гофров сечения. При этом учитываются приведенная ширина плоских участков сжатых полок настила bred, которую вычисляют по приведенной ниже формуле, длина стенок и ширина растянутых полок гофров:

                                       (4)

Рис. 4. К определению приведенной толщины бетона

Рис. 5. К определению ширины плоских участков сжатых полок

где σn - сжимающее напряжение в настиле, МПа, в первом приближении рассчитывается, принимая Wx по ТУ на данный тип профиля СПН или по табл. 1 для марок H80A-674-1,0 (0,9).

Ширину плоских участков сжатых полок настила bi определяют методом последовательного приближения, пока разница между последним и предыдущим значениями σn не будет меньше 3 %.

4.5. Если удовлетворяется условие

                                         (5)

то расчетные значения момента сопротивления принимают по табл. 1 [для марок Н80А-674-1,0 (0,9)] или ТУ на СПН.

4.6. Для настилов марок Н80А-674-1,0 и Н80А-674-0,9 допускается вычислять расчетное значение момента сопротивления по номограмме (рис. 6), которая построена с учетом изменения bred. В этом случае для сжатых узких полок настила, а при соблюдении условия (5) и для широких полок, расчетный момент сопротивления СПН принимается равным меньшему значению Wx по горизонтальным участкам номограмм или по табл. 1.

Если условие (5) не соблюдается, то для сжатых широких полок, СПН расчетный момент сопротивления принимают по нисходящим ветвям номограммы, учитывающим устойчивость сжатых полок настила, равным меньшему значению Wx1 и Wx2. Расчет выполняют методом последовательного приближения, пока разница между последним и предыдущим значением Wx будет не более 3 %.

Рис. 6. Номограммы для определения моментов сопротивления Wx

4.7. При расчете прогиба настила на стадии возведения перекрытия должно соблюдаться условие

                                      (6)

где fn - прогиб настила под нагрузкой в середине крайнего пролета, см; kn - коэффициент, определяемый в зависимости от схемы раскладки настила (для однопролетного настила 0,013, двухпролетного 0,0091, для настила с числом пролетов три и более 0,0088); qn - нормативная нагрузка от собственной массы настила, массы свежеуложенного бетона и монтажной нагрузки в соответствии с табл. 2, Н/м; in - расчетный пролет настила, см; Ix - расчетный момент инерции рассматриваемого сечения настила, определяемый по п. 4.8 или 4.9 настоящих Рекомендаций; a - эмпирическая величина, равная для многопролетных настилов 2 мм, для однопролетных 0.

4.8. Расчетный момент сопротивления Ix, входящий в формулу (6), зависит от уровня сжимающего напряжения в полках настила и от приведенной ширины bred плоских участков сжатых полок настила, определяемой по формуле

                                      (7)

где σn - напряжение сжатия в настиле в первом приближении принимается по нормативной величине максимального изгибающего момента Mn,span в пролете.

Приведенную ширину плоских участков сжатых полок СПН вычисляют методом последовательного приближения, пока разница между последним и предыдущим значениями σn не будет меньше 3 %. По полученному значению bred рассчитывают Wx2, которым следует пользоваться при определении величины Ix.

Если удовлетворяется условие

                                       (8)

где Mn,span - наибольший изгибающий положительный момент в пролете от нормативной нагрузки, при которой определяется прогиб, без учета собственной массы плиты, Н·м, то Ix принимают по табл. 1 [для марок Н80А-674-1,0 (0,9)] или ТУ на СПН.

4.9. Для настилов марок Н80А-674-1,0 и Н80А-674-0,9 допускается определять расчетный момент инерции Ix по номограмме рис. 7.

При сжатых узких полках Ix принимается по табл. 1. Это же значение расчетного момента инерции сохраняется при сжатых широких полках, если выполняется условие (8) п. 4.8 настоящих Рекомендаций. Если же это условие не соблюдается, то расчетный момент инерции Ix определяют по номограмме. При этом сначала подбирают по нисходящим ветвям номограммы путем последовательного приближения, пока разница с предыдущим значением не будет менее 3 %. Затем по последнему значению Wx2 находят σn и соответствующий этому напряжению расчетный момент инерции Ix.

4.10. В стадии эксплуатации несущей конструкцией является железобетонная плита, в которой СПН используется как внешняя рабочая арматура. При расчете плиты следует учитывать полную расчетную нагрузку на нее, включая собственную массу.

4.11. Расчет железобетонной плиты, армированной СПН, при отсутствии надопорной расчетной гибкой арматуры рекомендуется выполнять как для однопролетной конструкции. При этом опорные моменты, воспринимаемые настилом на промежуточных опорах, где он является непрерывным, допускается учитывать как внешнюю нагрузку, определяя эти моменты по сечению настила и расчетным сопротивлениям листа без учета бетона (рис. 8).

Рис. 7. Номограммы для определения моментов инерции ix

В случаях установки в плите над опорами расчетной гибкой арматуры, удовлетворяющей требованиям п. 3.9 настоящих Рекомендаций, определяют усилия в плите как для неразрезной железобетонной конструкции, допуская перераспределение моментов в соответствии с требованиями трещиностойкости.

Расчетный пролет железобетонной плиты принимают равным расстоянию между прогонами в их осях. При широких опорах допускается уменьшать пролет, но не менее чем до величины, равной пролету в свету между гранями смежных прогонов плюс 100 мм.

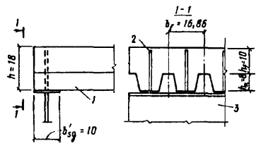
4.12. За расчетное сечение плиты в пролете принимают тавровое сечение шириной полки bf, равной расстоянию между осями гофров СПН, и высотой, равной высоте СПН и толщине слоя бетона над верхней гранью настила (рис. 9).

4.13. Расчет железобетонной плиты с внешней арматурой в виде СПН выполняют:

на прочность нормальных и наклонных сечений плиты (пп. 4.12-4.19 настоящих Рекомендаций) и анкеровки настила (п. 4.21);

на смятие ребер плиты по плоскости опор (п. 4.23);

по деформациям - определению прогиба (пп. 4.24-4.29).

Расчет плиты на образование и раскрытие трещин в растянутой зоне бетона снизу (с поверхности закрытой СПН) не проводится. Для верхней поверхности бетона надопорных зон он выполняется только в случаях установки расчетной надопорной гибкой арматуры, создающей неразрезность конструкции, как для железобетонного изгибаемого элемента с обычным армированием без учета СПН.

Рис. 8. Расчетная схема плиты при отсутствии гибкой арматуры в надопорной зоне

Рис. 9. Расчетное сечение плиты в пролете (выштампованные рифы в сечении условно не показаны)

4.14. При расчете прочности сечений плиты необходимо:

учитывать работу монолитного бетона и профилированного настила, считать сопротивление бетона растяжению равным нулю, а сопротивление сжатию равным расчетному сопротивлению Rb с равномерным распределением напряжений по сжатой зоне сечения;

рассматривать напряжения в СПН равномерно распределенными по высоте и равными расчетному сопротивлению листовой стали Rn с введением для настила с рифами коэффициента условий работы γn=0,8.

Напряжения в гибкой арматуре принимаются равными расчетным сопротивлениям Rs и Rsc с введением соответствующих коэффициентов условий работы.

4.15. Рабочая высота сечения ho должна определяться кик расстояние от крайней сжатой грани плиты до точки приложения равнодействующей растягивающих усилий в стальном профилированном настиле и гибкой арматуре.

4.16. Граничное значение относительной высоты сжатой зоны сечения плиты находят по формуле

                                         (9)

где ω - характеристика сжатой зоны (для тяжелого бетона ω=0,85-0,008Rb; для бетона на пористом заполнителе ω=0,8-0,008Rb); R - наибольшая из величин расчетных сопротивлений бетона растяжению настила или гибкой арматуры, МПа; σSR - напряжение в арматуре (п. 3.12 СНиП 2.03.01-84), МПа.

При подборе сечений плиты рекомендуется соблюдать условие xξRho. Если оно не соблюдается, то высоту сжатой зоны при расчете прочности нормальных сечений плиты следует принимать равной граничному значению x=ξRho.

4.17. Прочность нормальных сечений плиты в пролете, зависит от положения нейтральной оси. Возможны три случая расчета.

Случай 1. Нейтральная ось находится в пределах толщины полки плиты и не пересекает стенок профилированного настила (рис. 10).

Рис. 10. Схема усилий в пролетном сечении плиты при расположении нейтральной оси в пределах толщины полки плиты

Высоту сжатой зоны сечения плиты определяют по уравнению

                                   (10)

где γn - коэффициент условий работы профилированного настила как арматуры в нормальном сечении плиты.

При расчете прочности сечения плиты должно соблюдаться условие

                            (11)

где Mspan - изгибающий момент в рассматриваемом сечении плиты, Н·м.

Случай 2. Нейтральная ось находится в пределах, высоты ребер плиты и пересекает стенки профилированного настила (рис. 11).

Высоту сжатой зоны плиты определяют из уравнения

                     (12)

где An - площадь сечения верхней полки одного гофра настила, см2; A’’n - то же, нижней полки.

Рис. 11. Схема усилий в пролетном сечении плиты при расположении нейтральной оси в пределах ребра сечения

Рис. 12. Схема усилий в пролетном сечении плиты при расположении нейтральной оси в полке СПН

При расчете прочности сечения плиты должно соблюдаться условие

    (13)

где Sbx - статический момент площади сечения сжатого бетона относительно оси х, см3; Sn, S’’n - статические моменты площади соответственно верхней и нижней полок СПН относительно оси x, см3; Ssx, Ssx - статические моменты площади соответственно растянутой и сжатой арматуры относительно оси x, см3.

Случай 3. Нейтральная ось находится на уровне верхней полки профилированного настила x=hf (рис. 12).

При расчете прочности сечения плиты должно соблюдаться условие

                              (14)

Если при определении высоты сжатой зоны по формуле (10) х>hf, а по формуле (12) х<hf, то прочность нормального сечения плиты определяют по случаю 3.

4.18. Расчет прочности нормальных сечений плиты на ее промежуточных опорах выполняется только в случаях установки расчетной надопорной гибкой арматуры, обеспечивающей неразрезность конструкции. Прочность нормальных сечений плиты определяют как для сечений железобетонных элементов, армированных гибкой арматурой, по СНиП 2.03.01-84 без учета стального профилированного настила.

4.19. Прочность сечений, наклонных к продольной оси плиты перекрытия, рассчитывают на действие поперечной силы. Угол наклонной трещины принимается равным 45° к горизонтальной оси (рис. 13). При этом должны соблюдаться условия:

                                          (15)

                                          (16)

где 0,17Rnhn2t - поперечное усилие, воспринимаемое стенками настила в одном гофре; ΣRswAsw - сумма поперечных усилий, воспринимаемых поперечными стержнями, пересекающими наклонное сечение; Qb - поперечное усилие, воспринимаемое бетоном; φw1 и φb1 - коэффициенты, принимаемые по СНиП 2.03.01-84.

Рис. 13. Схема усилий в наклонном сечении плиты при расчете его прочности на действие поперечной силы

Поперечное усилие Qb, воспринимаемое бетоном, определяют по формуле

или

                                      (17)

где φb2(1+φf+φn) - коэффициенты, принимаемые по СНиП 2.03 01-84, вводимые при наличии поперечной арматуры; φb4(1+φn) - коэффициенты, принимаемые по СНиП 2.03.01-84, вводимые при отсутствии поперечной арматуры.

4.20. При динамических воздействиях в расчете на прочность нормальных и наклонных сечений плиты в формулы (10) и (12)-(15) вводится дополнительный коэффициент условий работы, снижающий расчетное сопротивление профилированного настила в зависимости от коэффициента асимметрии цикла ρ: при ρ=0,7 γ1=0,6; при ρ=0,8 γ1=0,7; при ρ=0,9 γ1=1.

Коэффициент условий работы, снижающий расчетное сопротивление гибкой арматуры при динамических воздействиях, принимается по СНиП 2.03.01-84.

4.21. Прочность анкеровки СПН в бетоне определяют для крайних пролетов плиты, считая от концов элементов настила на свободных опорах.

Расчет анкеровки выполняют для нормального сечения плиты в месте наибольшего изгибающего момента, в четверти пролета и в местах приложения сосредоточенных нагрузок. При этом должно соблюдаться условие

                                     (18)

где Таn - сопротивление анкеровки сдвигу на опорах по концам настила, Н; Trjf - сопротивление рифов, расположенных на стенках СПН, сдвигу, Н; zn, zs - расстояния от равнодействующей усилия сжатия в сечении соответственно до равнодействующей усилия растяжения в сечении настила и в гибкой арматуре, см (рис. 14) при определении х по формулам (10) и (12); man - коэффициент условий работы анкеровки стержневой арматуры; при расстоянии рассматриваемого нормального сечения от конца стержня L-h (см. рис. 16), равном или более длины зоны анкеровки арматуры man=1, при меньшем расстоянии man=(L-h)/ian.

Рис. 14. Схема усилий при расчете по прочности анкеровки

1 - прогон; 2 - анкер; 3 - стальной профилированный настил

Сопротивление анкеровки Tan принимается меньшим из трех условий:

1)                                                                                                            (19)

где k1 - коэффициент, принимаемый при учете совместной работы плиты с балкой (k1=0,8) и при расчете балки без учета совместной работы с плитой (k1=1); k - коэффициент, определяемый по формуле

                                         (20)

nаn - число вертикальных стержневых анкеров в одном гофре на конце настила; Аan - площадь сечения одного вертикального стержневого анкера, см2;

2)                                                                                                         (21)

где iant - площадь сечения настила, рассчитываемая на вырывание СПН вокруг анкеров и определяемая в соответствии с числом анкеров и их расположением по рис. 15;

3)                                                                                                  (22)

Сопротивление рифов Тrif определяют по формуле

                                                       (23)

где Arif - площадь смятия бетона по боковой поверхности одного рифа (для СПН марок Н80А-674-1,0 и Н80А-674-0,9 равна 0,5 см2); nrif - число рифов на стенках одного гофра СПН по длине участка настила L от рассматриваемого сечения до ближайшего конца (рис. 16). При наличии в ребрах плиты гибкой арматуры число вводимых в расчет рифов принимается по длине участка, уменьшенной на высоту сечения плиты.

Рис. 15. К определению ian

1 - балка; 2 - настил; d - диаметр анкера (для случаев а и б ian=2a+3d; для случая в ian=a1+a2+ba+3d)

4.22. Анкеровку гибкой арматуры проверяют по СНиП 2.03.01-84. Если полная анкеровка гибкой арматуры не обеспечивается, то ее расчетное сопротивление в формуле уменьшают.

4.23. Опорные концы ребер плиты рассчитывают на смятие (местное сжатие). При этом должно удовлетворяться условие

                                                     (24)

Здесь N - опорная реакция на один гофр, Н; Aioc - площадь смятия (местного сжатия), см, определяемая по формуле

Aioc=ba,

где b - ширина ребра по низу таврового сечения плиты, см; a - длина площадки опирания, равная ширине прогона, см.

4.24. Прогиб плиты перекрытия рассчитывают по формуле

                                         (25)

где frc - прогиб железобетонной плиты перекрытия от действия нагрузок в стадии эксплуатации (без учета собственной массы), см; fadd - дополнительный прогиб железобетонной плиты вследствие податливости анкерных связей, см.

4.25. Расчет прогиба железобетонной плиты, армированной СПН, выполняется по формулам строительной механики. При наличии расчетной надопорной гибкой арматуры, создающей неразрезность перекрытия, расчет прогиба рекомендуется выполнять как для неразрезной конструкции.

При отсутствии надопорной гибкой арматуры прогиб железобетонной плиты перекрытия определяется как для однопролетной свободно опирающейся конструкции по формуле

                                                              (26)

где 1/r - расчетная кривизна плиты на участке с наибольшим изгибающим моментом; s - коэффициент, рассчитываемый по табл. 3.

Дополнительный прогиб железобетонной плиты fadd рекомендуется определять как для однопролетной балки с моментами на опорах по формуле (26), принимая коэффициент s=1/8.

Рис. 16. Расположение рифов на стенках СПН по его концам

1-1 - сечение по пролету настила в месте наибольшего изгибающего момента, в четверти пролета, в местах приложения сосредоточенных сил; 1 - стальной профилированный настил; 2 - выштампованные рифы; L - длина участка расположения рифов на стенках настила, учитываемых в расчете его анкеровки по формуле (23)

4.26. Кривизну, значение которой входит в формулы для расчета прогиба, вычисляют по формуле

                                         (27)

где Мn,span - наибольший изгибающий положительный момент в пролете от нормативной нагрузки, при которой определяется прогиб, без учета собственной массы плиты, Н·м; Ired - момент инерции приведенного сечения плиты в пролете по пп. 4.28 и 4.29 настоящих Рекомендаций, см4; φb1, φb2 - коэффициенты, учитывающие влияние соответственно кратковременной и длительной ползучести бетона, принимаемые по СНиП 2.03.01-84.

Таблица 3

Если при расчете прогиба учитываются кратковременные и длительные нагрузки, то расчетная кривизна принимается равной сумме кривизн, определяемых по формуле раздельно для изгиба нагрузками кратковременного и длительного действия:

                                                        (28)

4.27. Дополнительную кривизну 1/radd, обусловленную податливостью анкерных связей, по которой определяется дополнительный прогиб плиты, вычисляют по формуле

                                                   (29)

Здесь k - коэффициент, принимаемый равным 2 для однопролетных плит; 1,5 и 1 - соответственно для крайних и средних пролетов неразрезных плит; 1,5 - для средних пролетов неразрезных плит, являющихся крайними для СПН; Δ - сдвиг настила относительно бетона, рассчитываемый по формуле:

                          (30)

где εа - коэффициент жесткости анкера, определяемый по формуле

                                               (31)

nan - число вертикальных анкерных стержней в одном гофре на рассматриваемой опоре.

4.28. Момент инерции приведенного сечения плиты в пролете следует определять относительно его центра тяжести, принимая коэффициенты приведения площади сечения арматуры к площади бетона αn и αs равными отношениям модулей упругости:

                                                 (32)

                                                  (33)

При расчете момента инерции приведенного сечения плиты площадь растянутого бетона исключают, полагая возможность образования в нем трещин.

4.29. Положение центра тяжести приведенного сечения плиты, занимаемое относительно крайней сжатой грани бетона х, можно определять по следующим формулам:

а) если нейтральная линия, на которой находится центр тяжести приведенного сечения, не пересекает ребра плиты, то

                           (34)

где ΣAred - сумма приведенных площадей сечения арматуры, см2; Sred - статический момент площади Ared относительно крайней сжатой грани сечения плиты, см3;

б) если нейтральная линия пересекает ребро плиты, то

                               (35)

где ΣAred - сумма приведенных площадей сечения арматуры и площади свесов таврового сечения бетона плиты, см2; Sred - статический момент площади Ared относительно крайней сжатой грани сечения плиты, см3;

в) если нейтральная линия совпадает с нижней гранью полки плиты, то x=hf.

Сумму приведенных площадей сечения ΣAred и ΣAred вычисляют по формулам:

                                        (36)

                                  (37)

где А’b - площадь свесов бетона таврового сечения, см2; αn, αs - рассчитывают по формулам (32) и (33) п. 4.28 настоящих Рекомендаций.

5. РАСЧЕТ КОМБИНИРОВАННОЙ БАЛКИ

5.1. Расчет комбинированных балок, как и плиты, выполняют для двух стадий работы: возведения и эксплуатации.

а) в стадии возведения (до набора бетоном плиты кубиковой прочности 10 МПа) стальной прогон рассчитывают в соответствии с требованиями СНиП II-23-81 "Стальные конструкции. Нормы проектирования" на нагрузки согласно указаниям главы СНиП III-15-76 "Бетонные и железобетонные конструкции монолитные". При этом расчетное сопротивление стали принимают с коэффициентом условий работы 0,9;

б) в стадии эксплуатации комбинированные балки рассчитывают в соответствии с указаниями настоящего раздела.

5.2. Расчет прочности комбинированной балки в стадии эксплуатации рекомендуется выполнять:

а) для прогона, входящего в состав комбинированной балки, - как стальной конструкции в соответствии с указаниями главы СНиП II-23-81 на воздействие изгибающего момента Мsg и продольной силы растяжения Т (рис. 17), определяемых согласно требованиям пп. 5.3 и 5.4 настоящих Рекомендаций;

б) для полки плиты перекрытия как бетонной или железобетонной конструкции - на внецентренное сжатие по нормальному сечению в соответствии со СНиП 2.03.01-84 от воздействия изгибающего момента Mb и осевой силы сжатия Т, определяемых согласно указаниям пп. 5.3 и 5.4;

Рис. 17. Схема усилий в комбинированной балке

1 - бетонная полка плиты; 2 - анкер; 3 - стальной прогон

в) для соединения плиты с прогоном (анкерные связи) - в соответствии с указаниями п. 5.6.

5.3. Продольные усилия растяжения в прогоне и сжатия в полке плиты по нормальным сечениям комбинированной балки принимаются равными усилию сдвига по их связям:

                                         (38)

где v - расстояние между центрами тяжести прогона и полки плиты, см; kt - коэффициент, учитывающий влияние вида нагрузки и податливости связей прогона с плитой, который определяется по табл. 4 в зависимости от жесткости плиты; γ - величина, получаемая по формуле

                       (39)

Значение коэффициента kt в формуле (38) определяют по табл. 4 в зависимости от величины λ, которую находят по формуле

                                                          (40)

Здесь                                                    εw=(εannan)/u;

εan=kadEb.

где εw - погонный коэффициент жесткости; εan - коэффициент жесткости вертикального анкера на сдвиг; пan - число стержневых анкеров в одном гофре настила; и - шаг между осями гофров настила, см; ka - коэффициент условий работы, принимаемый равным 0,13 при ориентации настила широкими полками вниз.

5.4. Изгибающие моменты в прогоне Мsg и в полке плиты Мb находят по формулам

                                (41)

                                   (42)

где v и Т - вычисляют по формуле (38) п. 5.3.

5.5. Ширину полки плиты bb, вводимую в расчет прочности нормальных сечений комбинированной балки, определяют в соответствии с указаниями СНиП 2.03.01-84.

В зоне отверстий в плите ширина ее полки уменьшается на величину подрезки отверстием. Ослабление плиты подрезкой можно компенсировать установкой арматуры вдоль пролета комбинированной балки, включаемой в работу полки плиты на сжатие.

5.6. Прочность соединения прогона с плитой обеспечивается при соблюдении условия

                                                                  (43)

где T1 - сдвигающее усилие, приходящееся на наиболее напряженную анкерную связь прогона с плитой (крайнее от опоры ребро плиты), Н; Таn - прочность анкерной связи, Н.

Сдвигающее усилие T1 вычисляют по формуле

                                       (44)

где v, γ, Esg, Eb, Isg, Irs, и принимаются по п. 5.3; R - опорная реакция комбинированной балки, Н; kτ - коэффициент, определяемый по табл. 4.

Таблица 4

Тип нагрузки

λi

kt при x=i/2

kτ

kt при x=i/3

kt при x=i/2

kτ

kt при x=i/2

kτ

1

0,112

0,08

0,094

0,098

0,1

0,072

0,11

2

0,294

0,24

0,262

0,3

0,32

0,259

0,35

3

0,489

0,4

0,439

0,502

0,52

0,399

0,57

4

0,639

0,52

0,568

0,65

0,67

0,52

0,73

5

0,732

0,61

0,657

0,751

0,78

0,608

0,84

6

0,800

0,67

0,72

0,816

0,85

0,667

0,9

7

0,847

0,71

0,765

0,867

0,89

0,714

0,94

8

0,88

0,75

0,8

0,897

0,93

0,75

0,96

9

0,903

0,78

0,825

0,926

0,95

0,778

0,98

10

0,921

0,8

0,845

0,941

0,96

0,8

0,99

11

0,935

0,82

0,86

0,954

0,97

0,818

0,99

12

0,944

0,83

0,872

0,966

0,98

0,833

1

13

0,953

0,85

0,883

0,974

0,99

0,846

1

14

0,959

0,86

0,892

0,979

0,99

0,857

1

15

0,964

0,87

0,9

0,984

0,99

0,869

1

18

0,976

0,89

0,916

0,992

1

0,889

1

20

0,98

0,9

0,925

0,995

1

0,9

1

Прочность анкерной связи Таn выбирают меньшей из трех условий возможного исчерпания ее несущей способности (Т’аn, Тb и Тb1):

1) по прочности вертикальных стержневых анкеров

                                                     (45)

где mp - коэффициент условий работы (mp=1 для прогонов, над которыми настил непрерывный, и для прогонов, на которые опираются его концы, при наличии надопорной гибкой арматуры, обеспечивающей неразрезность плиты перекрытия; mp=0,8 для прогонов настила, на которые опираются его концы, при отсутствии расчетной надопорной арматуры в плите); паn - число стержневых анкеров в одном гофре СПН; kp - коэффициент, определяемый по формуле

                    (46)

2) по выкалыванию бетона вокруг анкерных стержней

                                                         (47)

где Ac - площадь проекции тела выкалывания бетона на горизонтальную плоскость, см2 [Ac=b(ao+2ha)-hn(b-b)] (рис. 18);

Рис. 18. К определению площади проекции тела выкалывания бетона на горизонтальную плоскость Ac

3) по срезу бетона анкерными стержнями вдоль прогона

                                                              (48)

где Ac - площадь сечения плиты по ширине одного гофра СПН, см2; n - число плоскостей среза для одного ряда (n=1), для двух и более рядов анкеров (n=2).

Если условие (43) не соблюдается, то следует либо увеличивать диаметр анкерных стержней и их число, либо поставить упоры в соответствии с указаниями п. 3.15 настоящих Рекомендаций.

5.7. Если при проектировании комбинированных балок приняты условия: 1) стальные прогоны выполняются из прокатных профилей; 2) СПН ориентирован широкими полками вниз; 3) анкерные стержни диаметром не более 14 мм; 4) усилие сдвига на одну анкерную связь T1 и ее прочность Таn, рассчитанная согласно п. 5.6, различаются не более чем на 20 %, то прочность нормальных сечений комбинированных балок допускается вычислять по формулам, приведенным ниже, в зависимости от соотношения величин несущей способности:

а) стального прогона на растяжение

                                                         (49)

б) бетонной полки плиты на сжатие

                                                         (50)

в) связей прогона с плитой на участке сдвига от опоры до расчетного сечения

                                                       (51)

где Т, T1, Tan определяются по пп. 5.3 и 5.6.

Рис. 19. Расчетные сечения и схемы усилий для расчета нормальных сечений в пролете комбинированных балок

а - для случая 1; б - для случая 2а; в - для случая 2б

Случай 1. Наименьшей величиной является Nsg. Граница сжатой зоны сечения комбинированной балки проходит в полке плиты (рис. 19, а).

Высоту сжатой зоны определяют по формуле

                                                      (52)

В этом случае прочность сечения обеспечивается при соблюдении условия

                                      (53)

Случай 2. Наименьшей величиной является Nb или Т’. Граница сжатой зоны сечения комбинированной балки проходит в прогоне. При этом, если NbT, то полка плиты полностью сжата. При Nb>T полка плиты сжата частично на высоту от верхней грани, определяемую по формуле

                                                         (54)

Если же при этом удовлетворяется условие

                                                 (55)

где N - меньшая величина из Nb и Т’, Asg - площадь верхней полки прогона, см2, то граница сжатой зоны прогона располагается в его верхней полке (рис. 19, б). Верхняя полка в расчете не учитывается.

Прочность комбинированной балки по нормальному сечению обеспечивается при соблюдении условия

                      (56)

Если N<Rsg(Asg-2Asg), то граница сжатой зоны прогона пересекает его стенку (рис. 19, в).

Расстояние от верха прогона до границы его сжатой зоны находят по формуле

                                 (57)

В этом случае прочность комбинированной балки по нормальному сечению обеспечивается при соблюдении условия

               (58)

5.8. У крайнего гофра стального профилированного настила комбинированной балки следует устанавливать гнутую арматурную сетку (рис. 20) с рабочими стержнями вдоль прогона Ø 8-10А-III через 100 мм по длине пролета плиты.

5.9. Прочность комбинированных балок рассчитывают по их сечениям с максимальным изгибающим моментом, в месте приложения сосредоточенных сил и в четверти пролета.

5.10. Расчет опорных сечений стальных прогонов на действие поперечной силы выполняют как и для стальных балок, но без учета железобетонной плиты. Его можно не проводить при соблюдении условия

                                                       (59)

5.11. Деформацию (прогибы, углы поворота) комбинированных балок вычисляют по формулам строительной механики. При этом входящую в них кривизну определяют по рекомендациям настоящего раздела.

Рис. 20. Расположение гнутой арматурной сетки у крайнего гофра настила

5.12. Прогиб комбинированной балки рассчитывают по формуле

                                                               (60)

где frc - прогиб комбинированной балки в стадии эксплуатации без учета собственной массы перекрытия, см; fsg - прогиб стального прогона от действия собственной массы перекрытия, см.

Полную величину кривизны изгибаемых элементов находят по формуле

                                                           (61)

где 1/rf - кривизна без учета податливости анкерных связей (1/rf=1/r1+1/r2); 1/ra - кривизна, обусловленная податливостью анкерных связей.

Кривизна от кратковременных нагрузок и от длительного действия постоянных и длительных нагрузок 1/r1 и 1/r2 определяется по формуле

                                                (62)

где φb2, φb2 - коэффициенты, принимаемые по СНиП 2.03.01-84.

В расчет Ired вводят сечение бетона bbhf и сечение прогона, умноженное на α (α=Esg/Eb - отношение модуля упругости стали прогона к модулю упругости бетона плиты).

5.13. Кривизну, обусловленную податливостью анкерных связей, вычисляют по формуле

                          (63)

Значения коэффициента kf в зависимости от характеристики жесткости λi и вида загружения приведены в табл. 5.

Таблица 5

λi

0

1

1

1

2

0,71

0,715

0,704

4

0,381

0,39

0,38

6

0,213

0,222

0,215

8

0,132

0,141

0,133

12

0,062

0,069

0,063

16

0,038

0,042

0,035

20

0,024

0,027

0,025

Приложение

ПРИМЕРЫ РАСЧЕТА

Расчет СПН на стадии возведения

Пример 1. Дано: неразрезной трехпролетный настил марки Н80А-674-0,9 ориентирован широкими полками гофров вниз (Wx2 и Wx1 по табл. 1 настоящих Рекомендаций). Длина пролета 3 м. На профилированный настил с помощью бетононасосов укладывается монолитный бетон. Высота слоя бетона над настилом 20 см. Изгибающий момент в крайнем пролете от расчетных нагрузок Mspan=4100 Н·м, на средней опоре Мsup=5000 Н·м. Нормативная нагрузка на 1 м2 настила в стадии возведения составляет 3960 Н. Поперечная сила от расчетной нагрузки 5470 Н.

Требуется определить прочность и прогиб стального профилированного настила на стадии возведения.

Расчет 1. Вычисляем по формулам (2) и (3) прочность стального профилированного настила в пролете и на опоре.

В пролете по сжатой (узкой) полке

σn=Mspan/Wx1=4100/38,59=106 МПа < 220;

по растянутой (широкой) полке

σn=Mspan/Wx2=4100/45,76=89,6 МПа < 220.

Перед расчетом прочности стального профилированного настила на опоре проверяем по условию (5) устойчивость сжатой широкой полки;

σn=Msup/Wx2 ≤ 34,3·104(t/bi)2,

где bi=9,3-2r=9,3-2·0,5=8,3 см (см. рис. 5).

Таким образом,

σn=5000/45,76 ≤ 34,3·104(0,1/8,3)2=109,3 МПа > 49,39.

Условие не соблюдается. Значит, на опоре сжатая широкая полка частично выключается из работы. Поэтому Wx2 определяем с учетом приведенной ширины сжатых полок настила, которую находим по формуле (4):

Момент сопротивления стального профилированного настила при уменьшенной ширине сжатой полки bred определяется по правилам сопромата (Wx2=43,4 см3).

Соответствующее значению Wx2 сжимающее напряжение в полках настила на опоре равно:

σ’n=5000/43,4=115,2 МПа.

Продолжаем вычислять значения bred и соответствующее ему значение Wx2.

Определяем новое значение bred по формуле (4):

По номограмме рис. 6 значению bred должно соответствовать Wx2=W’’x2=42,6 см3.

Проверив разность между значениями Wx2 и W’’x2:

[(Wx2-W’’x2)/Wx2]100=5000/43,4=115,2 МПа.

Следовательно, окончательное значение момента сопротивления Wx2 принимаем равным 42,6 см3, а соответствующее ему сжимающее напряжение σn=5000/42,6=117,3 МПа < 220, т.е. прочность сечения на опоре обеспечена.

2. Определяем прочность настила по поперечной силе по условию (3):

Q/ΣthnRns.

На ширине 1 м поперечная сила воспринимается 12 стенками СПН: Σt=12·0,9=10,8 мм, hn=80 мм, Rns=140 МПа (расчетное сопротивление СПН срезу). Поперечная сила Q=5470 Н.

Таким образом, прочность настила

Qthn=5470/10,8·80=6,33 МПа < 140.

Следовательно, сечение в стадии возведения обладает достаточной несущей способностью.

3. Определяем наибольший прогиб профилированного настила в стадии возведения по формуле (6) п. 4.7 настоящих Рекомендаций:

fn=k(qni4/EnIx)+a.

Для крайнего пролета трехпролетной плиты k=0,0088, a=0,2 см.

Тогда прогиб настила в стадии возведения будет составлять

fn=0,0088[(39,6·3004)/(21·106·167,51)]+0,2=0,99 < 1/200i=1,5 см.

Следовательно, жесткость СПН на стадии возведения обеспечена.

Пример 2. Дано: неразрезной трехпролетный СПН марки Н80А-674-1,0 ориентирован узкими полками гофра вниз. Длина пролета 3 м. Высота слоя бетона над настилом 10 см. Бетон укладывается на монтаже с помощью бадей. Максимальный изгибающий момент в пролете от расчетной нагрузки Мspan=618 кН·см, от нормативной нагрузки 5900 Н/м Mn,span=500 кН·см. Расчетный момент на средней опоре Msup=769 кН·см. Расчетная поперечная сила составляет 15 кН.

Требуется проверить прочность и жесткость СПН в стадии возведения.

Расчет 1. Проверяем условие (5):

σn=Mspan/Wx2 ≤ 34,3·104(t/bi)2,

где bi=b-2r=9,3-2·0,5=8,3 см (см. рис. 5).

Таким образом,

σn=618/50,7 ≤ 34,3·104(0,1/8,3)2=121,8 МПа > 49,4.

Так как условие не соблюдается, сжатые широкие полки СПН в пролете частично выключаются из работы при бетонировании, в соответствии с этим настил работает меньшим сечением, что приводит к увеличению σn.

Для определения фактического значения σn воспользуемся приведенными в настоящих Рекомендациях номограммами (см. рис. 6):

при σn=121,8 МПа Wx2=42,4 см3;

при σn=618/42,5=141,5 МПа W’’x2=41 см3;

при σn=618/41=150 МПа W’’’x2=40,5 см3.

Проверяем разность моментов сопротивления:

[(W’’x2-W’’’x2)/W’’x2]100=[(41-40,5)/41]100=1,2 % < 3.

Так как разница между предыдущим и последующим значением момента сопротивления меньше 3 %, окончательно принимаем Wx2=W’’’x2=40,5 см3.

Таким образом, сжимающее напряжение в пролете в широких полках σn равно:

σn=Mspan/W’’’x2=618/40,5=152,6 МПа < 220.

Для определения напряжений растяжения в узких полках в пролете по номограмме σn=152,6 МПа находим значение Wx1. Оно равно 40,7 см3.

Следовательно, растягивающее напряжение в пролете (в узких полках) составляет σs=618/40,7=151,8 МПа < 220.

Рассчитаем напряжения в опорном сечении СПН.

В опорном сечении в зону действия сжимающих напряжений попадает узкая полка, не требующая проверки на устойчивость.

Сжимающее напряжение на опоре равно:

σn=769/42,76=179,8 МПа < 220.

Растягивающее напряжение в опорном сечении составляет

σs=768/50,7=151,6 МПа < 220.

2. По условию (3) определяем прочность стального профилированного настила по поперечной силе

QthnRns=15000/(12·80) ≤ 15,6 МПа < 140.

Следовательно, прочность настила на стадии возведения как в пролете, так и на опоре обеспечена.

3. Проверяем жесткость СПН на стадии возведения.

Расчетный момент инерции Ix, входящий в формулу для определения прогиба, находим по номограмме (см. рис. 7). Если соблюдается условие (8), то момент инерции принимаем по табл. 1 настоящих Рекомендаций, что соответствует горизонтальной части кривой Ix номограммы. Если же условие (8) не соблюдается, то расчетное значение Ix принимаем по нисходящей ветви номограммы. При этом сначала определяем фактическое значение момента сопротивления Wx2.

Подбираем значение Wx2 методом последовательного приближения до тех пор, пока их последующее и предыдущее значения не будут отличаться на 3 %.

По значению Wx2 определяем величину фактического сжимающего напряжения σn и по ней находим момент инерции Ix.

Проверяем условие (8):

Mn,span/Wx2 ≤ 57,4·104(t/bi)2=500/50,7 ≤ 57,4·104(0,1/8,3)2=98,6 МПа > 83,2.

Следовательно, условие не выполняется.

Определяем по номограмме рис. 7 расчетное значение Ix. При моменте сопротивления Wx2=Wx2=44,2 см3 сжимающее напряжение σn=98,6 МПа, а σ’n=500/44,2=113,12 МПа.

Значению σn по номограмме соответствует Wx2=W’’x2=43 см2.

Проверяем разность моментов сопротивления:

[(Wx2-W’’x2)/Wx2]100=[(44,2-43)/44,2]100=2,7 % < 3.

Принимаем Wx2=W’’x2=43 см3.

Определяем фактическое сжимающее напряжение:

σn=500/43=116,2 МПа.

При σn=116,2 МПа по кривой для Ix (см. рис. 7) расчетный момент инерции равен 179 см4.

По условию (6) определяем прогиб настила:

fn=kn(qni4)/(EnIx)+a ≤ 1/200i=0,0088(59·3004)/(21·106·179)+0,2=1,32 см < 1,5.

Следовательно, жесткость СПН в стадии возведения достаточна.

Расчет плиты монолитного перекрытия в стадии эксплуатации

Расчет прочности сечений нормальных к продольной оси изгибаемого элемента

Пример 3. Дано: монолитная железобетонная плита с внешней арматурой из СПН марки Н80А-674-1,0, An=3,05 см2, Rn=220 МПа, γ=0,8, yc=4,288 см. Настил ориентирован широкой полкой гофра вниз. Бетон класса В20. Rb=11,5·0,85=9,78 МПа. γb2=0,85 (коэффициент условий работы, учитывающий длительность действия нагрузки). Расчетный изгибающий момент 5000 Н·м. Расчетное сечение принимается по рис. 21.

Требуется проверить прочность сечения плиты в пролете.

Расчет. Расчетная характеристика сжатой зоны бетона равна:

w=α-0,008Rb=0,85-0,008·9,78=0,77.

Определяем граничное значение относительной высоты сжатой зоны бетона в сечении:

ξR=w/[1+Rn(1-w/1,1)/σSR]=0,77/[1+220(1-0,77/1,1)/500]=0,68.

Граничное значение высоты сжатой зоны бетона вычисляем по формуле

xR=ξRho=0,68·11,28=7,67 см,

где ho - рабочая высота сечения (ho=yc+hf= 4,288+7=11,288 см).

Из уравнения (10) находим высоту сжатой зоны бетона:

x=(γnRnAn)/(Rbbf)=(0,8·220·3,05)/(9,78·16,86)=537/164,89=3,25 см < 7,67.

Так как x<xR и х<hf, нейтральная ось расположена в полке сечения плиты, поэтому имеет место случай 1 (см. п. 4.17).

Расчет ведем по условию (11):

MspanRbbfx(ho-0,5x)=9,78·16,86·3,25(11,288-0,5·3,25)=5178 Н·м > 5000.

Следовательно, прочность сечения обеспечена.

Рис. 21. К примеру 3

Рис. 22. К примеру 4

Пример 4. Дано: монолитная железобетонная плита перекрытия армирована внешней арматурой из СПН марки Н80А-674-0,9. Аn=2,75 см2, Rn=220 МПа, γn=0,8, yc=4,297 см. Настил ориентирован широкой полкой гофров вниз. Бетон класса В15, Rb=8,5 МПа, γb2=0,85. Расчетное сечение принимаем по рис. 22.

Требуется определить несущую способность плиты по прочности нормального сечения в пролете.

Расчет. Находим граничное значение относительной высоты сжатой зоны ξR по формуле (9):

ξR=w/[1+Rn(1-w/1,1)/σSR].

Здесь

σSR=500,

w=α-0,008Rb,

где Rb=8,5-0,85=7,23 МПа; α=0,85,

откуда

w=0,85-0,008·7,23=0,792.

Таким образом, получаем:

ξR=0,792/[1+220(1-0,792/1,1)/500]=0,7.

Граничное значение высоты сжатой зоны бетона xR=ξRho, где ho - рабочая высота сечения (ho=yc+hf=4,297+3=7,297 см). Значит,

xR=0,7·7,297=5,1 см.

Высота сжатой зоны сечения равна:

x=(γnRnAn)/(Rbbf)=(0,8·220·2,75)/(7,23·16,86)=3,97 см.

Так как х>hf, нейтральная ось проходит в пределах высоты ребра. Следовательно, имеет место случай 2 расчета (п. 4.17 настоящих Рекомендаций).

Высоту сжатой зоны сечения плиты определяем из уравнения (12):

Rb[bx+(bf-b)hf]+γnRn[An+2t(x-hf)]=γnRn[A’’n+2t(hn+hf-x)]=

=7,23[(11,86х+(16,86-11,86)3]+0,8-220[0,5+2·0,1(х-3)]=0,8·220[0,93+2·0,1(8+3-x)],

отсюда х=3,02 см.

Так как х=3,02 см < 5,1, т.е. нейтральная ось проходит на уровне верхней полки СПН, имеет место случай 3 п. 4.17 настоящих Рекомендаций.

Несущую способность сечения проверяем по условию (14):

Mspan≤0,5Rbbfh2f+ γnRn(A’’nhn+th2n)=0,5·7,23·16,86·32+0,8·220(0,93·8+0,1·82)=2984 Н·м.

Пример 5. По данным примера 3 проверить несущую способность монолитной железобетонной плиты в пролете. Расчетный изгибающий момент составляет 8000 Н·м.

Расчет. Рассмотренная в примере 3 несущая способность плиты 5467 Н·м < 8000. Для обеспечения несущей способности 8000 Н·м при тех же размерах сечения плиты следует либо ввести гибкую арматуру, либо изменить габариты, увеличив высоту полки.

Вариант 1. Вводим в сечение гибкую арматуру 1 Ø 12А-III (рис. 23). Rs=375 МПа, As=1,13 см2.

Определяем хR. Если в сечении плиты имеет место смешанное армирование, то в знаменатель формулы для ξR записываем наибольшее из значений расчетных сопротивлений настила или гибкой арматуры:

ξR=w/[1+Rs(1-w/1,1)/500]=0,77/[1+375(1-0,77/1,1)/500]=0,62.

Тогда

xR=ξRho=0,62·11,28=6,99 см.

Находим высоту сжатой зоны бетона:

x=(γnRnAn+RsAs)/(Rbbf)=(0,8·220·3,05+375·1,13)/(9,78·16,86)=5,82 < xR.

Так как х<хR и х<hf, расчет ведем по первому случаю п. 4.17 настоящих Рекомендаций:

Mspan=Rbbfx(ho-0,5x)=9,78·16,86·5,82(11,288-0,5·5,82)=8040 Н·м > 8000.

Таким образом, прочность сечения в пролете обеспечена.

Вариант 2. Увеличиваем полку плиты до 12 см. Определяем высоту сжатой зоны x, рабочую высоту сечения ho и изгибающий момент M:

x=(γnRnAn)/(Rbbf)=(0,8·220·3,05)/(9,78·16,86)=3,26 см;

ho=yc+hf=4,288+12=16,288 см;

M=Rbbfx(ho-0,5x)=9,78·16,86·3,26(16,288-0,5·3,26)=7879 Н·м < 8000.

Принимаем hf=13 см. Тогда ho=4,288+13=17,288 см.

Значит,

M=9,78·16,86·3,26(17,288-0,5·3,26)=8416 Н·м > 8000.

Следовательно, прочность сечения в пролете обеспечена.

Рис. 23. К примеру 5

Расчет по прочности наклонных сечений к продольной оси

Пример 6. Дано: железобетонная плита с внешней арматурой из СПН марки Н80А-674-0,9 (Rn=220 МПа, An=2,75 см2). Настил расположен широкой полкой гофра вниз. Бетон класса В15 (Rb=7,65·0,85=6,5 МПа, Rbt=0,75·0,85=0,64 МПа, где 0,85 - коэффициент, учитывающий длительность приложения нагрузки). Размеры поперечного сечения даны на рис. 21. Расчетная поперечная сила на один гофр стального профилированного настила Q составляет 10 кН.

Требуется определить прочность наклонного сечения.

Расчет. Проверяем условие (16):

Q≤0,3φb1Rb[(b+b)/2]ho.

Коэффициент определяем по формуле (74) СНиП 2.03.01-84:

φb1=1-βRb,

где β - коэффициент, принимаемый для тяжелого бетона равным 0,01.

Следовательно,

φb1=1-0,01·6,5=0,93.

Рабочая высота сечения ho=hc+hf=4,288+7=11,29 см.

Таким образом,

Q=0,3·0,93·6,5[(9,3+11,86)/2] 11,29=31 кН > 10.

Следовательно, условие удовлетворяется.

Определяем поперечную силу Qb, воспринимаемую бетоном, по формуле (17) настоящих Рекомендаций:

Qb={[φb4(1+φn)Rbt(b+b)/2]h2o}/h.

Коэффициент φb4 в соответствии со СНиП 2.03.01-84 для тяжелого бетона принимаем 1,5. Коэффициент φn равен 0.

Тогда

Qb={[1,5·0,64(9,3+11,86)/2]11,292}/15=8,63 кН.

Проверяем условие (15):

Q≤0,17Rnhn2t+Qb=0,17·220·8·2·0,1+8,63=14,6 кН > 10.

Следовательно, прочность сечения по поперечной силе достаточна.

Расчет по прочности анкеровки СПН в бетоне плиты

Пример 7. Дано: монолитная железобетонная плита с внешней арматурой из СПН марки Н80А-674-1,0. Rn=220 МПа, An=3,05 см2. Настил ориентирован широким гофром вниз. Анкерные штыри Ø 14А-III по одному в каждом гофре (Rsa=375 МПа, Aan=1,54 см2). Бетон класса В20 (Rb=9,78 МПа с учетом γb2=0,85). Настил опирается на стальную балку с шириной полки b, равной 100 мм. Нагрузка равномерно распределенная. Наибольший изгибающий момент в середине пролета составляет 4000 Н·м. Момент в четверти пролета 3000 Н·м. Размеры поперечного сечения приняты по рис. 24.

Требуется проверить прочность анкеровки настила.

Расчет. Выполняем расчет в соответствии с п. 4.21 настоящих Рекомендаций для полосы перекрытия вдоль пролета шириной в один гофр.

Определяем сопротивление анкеровки настила сдвигу на его концах, принимая меньшее из условий (19), (21), (22)

Tan1=k1knanAanksa,                                                      (21)

где коэффициент k1=0,8 (учитывается совместная работа плиты с балкой).

Находим численное значение коэффициента k:

Вычисляем усилие сдвига, воспринимаемое вертикальным анкерным стержнем:

Tan1=k1knanAanRsa=0,8·0,42·1·1,54·375=194,04 кН.

Рассчитываем усилие вырывания настила вокруг анкера (для крайнего пролета СПН):

Tan2=Rniant=220·14,2·0,1=312,4 кН.

Длину площадки вырывания СПН определяем по случаю а (см. рис. 15):

ian=2a+3d=2·5+3·1,4=14,2 см.

Находим усилие разрыва СПН в зоне приварки анкера:

Tan3=Rn(b+hn)t=220(9,3+8)0,1=380,6 кН.

Рис. 24. К примеру 7

1 - стальной профилированный настил; 2 - анкер Ø 14А-III; 3 - прогон

Для дальнейших расчетов принимаем меньшее из усилий: Таn1, Таn2, Таn3, т.е. Таn1=194,04 кН.

По формуле (23) определяем усилие сдвига, воспринимаемое бетоном рифов:

Trif=0,5RbArifnrif,

где Arif=0,5 см2.

Число рифов на двух стенках одного гофра от конца настила до расчетного сечения принимаем по рис. 16.

В середине пролета

nrif=(0,5inrif)/s=(0,5·300·4)/5,9=101 риф;

в четверти пролета

nrif=(0,25inrif)/s=(0,25·300·4)/5,9=50 рифов.

где s - расстояние между осями рифов. Для марки Н80А-674-1,0 (0,9) s= 5,9 см.

Усилие сдвига, воспринимаемое бетоном рифов в середине пролета, равно:

Trif=0,5·9,78·0,5·101=247 кН.

Усилие сдвига, воспринимаемое бетоном рифов в четверти пролета равно:

Trif=0,5·9,78·0,5·50=122 кН.

Определяем расстояние zn от равнодействующей усилия сжатия в бетоне до равнодействующей усилия растяжения в профилированном настиле. Для этого вычисляем высоту сжатой зоны x:

x=(0,8RnAn)/(Rbbf)=(0,8·220·3,05)/(9,78·16,86)=3,26 см.

Таким образом,

zn=(yc+hf-x/2)=4,288+10-3,26/2=12,66 см.

По условию (18) проверяем прочность анкеровки по наибольшему моменту в середине пролета и по моменту в четверти пролета:

Mspan≤(Tan+Trif)zn;

Mspan0,5i=(194,04+247)12,66=5584 Н·м > 4000;

Mspan0,25i=(194,04+122)12,66=4001 Н·м > 3000.

Следовательно, прочность анкеровки обеспечена.

Расчет монолитной плиты перекрытия по деформациям

Пример 8. Дано: монолитная железобетонная плита с арматурой из СПН марки Н80А-674-1,0, Rn=220 МПа, An=3,05 см2, In=185,58 см4 на 1 м ширины настила, а на полосу bf=16,86 см In=(185,58·16,86)/100=31,3 см4. Настил расположен широкими полками вниз hf=12 см. Пролет плиты 3 м. Бетон класса В15, Еb=23·103 МПа, Rb=8,5 МПа·0,85=7,23 МПа, Мn=4125 Н·м (без учета собственной массы плиты).

Требуется определить прогиб плиты.

Расчет. Полный прогиб плиты определяем согласно указаниям п. 4.24 по формуле (25):

fm=frc+fadd≤1/150i.

Расчет ведется для приведенного сечения.

Коэффициент приведения находим по формуле (32):

αn=En/Eb=2,1·105/23·103=9,13.

Приведенная площадь стального профилированного настила

Ared=Anαn=3,05·9,13=27,85 см2.

Статический момент приведенного сечения настила относительно крайней сжатой грани плиты равен:

Sred=Ared(yc+hf)=27,85(4,288+8)=453,6 см3.

Определяем по формуле (34) расстояние центра тяжести приведенного сечения плиты от крайней сжатой грани бетона:

Вычисляем момент инерции приведенного сечения Ired без учета бетона растянутой зоны:

Кривизну 1/r от действия длительных нагрузок без учета собственной массы плиты определяем по формуле (27):

1/r=(Mn,spanφb2)/(IredEb φb1)=(4125·2)/(4446·23·103·0,85)=9,5·10-5 1/см.

По формуле (26) находим прогиб железобетонной плиты frc при s=5/48 (см. табл. 3):

frc=(1/r)si2=9,5·10-5(5/48)3002=0,89 см

и дополнительный прогиб плиты перекрытия от действия нагрузок в процессе эксплуатации при s=1/8 (по аналогии с загрузкой моментами на опорах).

Дополнительную кривизну 1/radd, обусловленную податливостью анкерных связей, рассчитываем по формуле (29).

Значение коэффициента жесткости анкера вычисляем по формуле (31):

εa=0,15паndEb=0,15·1·1,4·23·103=483 кН/см.

Определяем по формуле (30) сдвиг настила относительно бетона:

Δ=Mn,span/[εa(ho-0,5x)]=412,5/[483(16,29-0,5·4,4)]=0,06 см,

где х=(0,8RnAn)/(Rbbf)=(0,8·220·3,05)/(7,23·16,86)=4,4 см.

Вычисляем дополнительную кривизну плиты:

1/radd=kΔ/(0,75iho)=(2·0,06)/(0,75·300·16,29)=3,27·10-5 1/см.

Рассчитываем дополнительный прогиб плиты:

fadd=(1/radd)si2=3,27·10-5(1/8)3002=0,38 см.

Таким образом, полный прогиб плиты

fm=frc+fadd=0,89+0,38=1,2 см < 2

(2 см - предельно допустимый прогиб, равный 1/150i).

Следовательно, жесткость плиты обеспечена.

Расчет комбинированной балки

Пример 9. Дано: комбинированная балка, состоящая из монолитной железобетонной плиты с внешней арматурой из стального профилированного настила марки Н80А-674-1,0 (Rn=220 МПа, Аn=3,05 см2). Настил уложен широкими полками вниз. Плита опирается на стальные прогоны. Совместная работа плиты с прогонами обеспечивается вертикальными стержневыми анкерами. Шаг прогонов i равен 200 см.

Плита: бетон класса В20 (Rb=11,5·0,85=9,78 МПа; Rbt=0,9 МПа; Eb=27·103 МПа), высота полки плиты hf=7 см.

Прогон: 135Б2 (hsg=35 см; bsg=bsg=15,5 см; δ=0,6 см; δsg=δsg=1,05 см; Asg=54 см2; Isg=11600 см4; Rsg=230 МПа; Esg=2,1·105 МПа; isg=600 см).

Вертикальные стержневые анкеры, из горячекатаной арматурной стали класса A-III, d=14 мм; Aan=1,539 см2. В одном гофре плиты приварены два анкера. Rsa=375 МПа, шаг анкеров u=16,86 см, расстояние между анкерами в одном гофре ao=7 см, ha=13 см. Расчетная нагрузка 425,2 Н/см.

Требуется определить продольную силу T в сечениях, нормальных к продольным осям прогона и полки плиты, и сдвигающее усилие T1, приходящееся на наиболее напряженную крайнюю анкерную связь.

Расчет. Определяем максимальный изгибающий момент в пролете комбинированной балки:

Mspan=qi2/8=(425,2·6002)/8=19134 кН·см.

Ширину полки комбинированной балки bh согласно указаниям п. 3.16 СНиП 2.03.01-84 принимаем равной 200 см.

Находим по формуле (38) продольную силу T в соответствии с указаниями пп. 5.2 и 5.3:

T=vMspankt/[γ(EsgIsg+EbIrs)].

Здесь v - расстояние между центром тяжести прогона и полки плиты, равное:

v=hf/2+hn+hsg/2=7/2+8+35/2=29 см;

Irs=(bbh3f)/12=(200·73)/12=5717 см4;

γ=1/(EsgAsg)+1/(EbArs)+v2/(EsgIsg+EbIrs)=

=1/(2,1·105·54)+1/(27·103·200·7)+292/(2,1·105·11600+27·103·5717)=

=0,044·10-51/(МПа·см2),

где Ars - площадь полки плиты, см2.

Значение kt находим по табл. 4. Оно зависит от λi

Величину λ вычисляем по формуле (40):

где εw - погонный коэффициент жесткости, равный:

εw=εanan/u.

Коэффициент жесткости вертикального анкера на сдвиг определяем по формуле

εa=kadEb=0,13·1,4·0,27·105=0,049·105 МПа·см2.

Следовательно,

εw=(0,049·105·2)/16,86=0,0058·105 МПа,

откуда

λi=0,016·600=9,6.

Значение коэффициента kt по табл. 4 принимается равным 0,914. Таким образом, продольная сдвигающая сила Т составляет:

Т=29·19134·0,914/[0,044·10-5·2,1·105·11600+ 27·103·5717)]=445,038 кН.

Определяем сдвигающее усилие Т1, приходящееся на крайнюю анкерную связь.

Опорная реакция R=qi/2=(425,2·600)/2=127,56 кН.

В зависимости от λi по табл. 4 находим значение коэффициента kτ=0,79.

Сдвигающее усилие T1 рассчитываем по формуле (44):

T1=vRukτ/[γ(EsgIsg+EbIrs)]=

=29·127,56·16,86·0,79/[0,044·10-5(2,1·105·11600+27·103·5717)]=43,23 кН.

Пример 10. По данным примера 9 определить прочность анкерной связи прогона с плитой.

Расчет. Прочность анкерной связи прогона с плитой считается обеспеченной при соблюдении условия Т1Tаn. При этом Tаn принимается меньшей из трех величин: Tаn, Tb, Tb1.

Определяем величину несущей способности связи по анкерам Tаn по формуле (45):

Tan=mpkpRsaAannan.

Коэффициент kp находим по формуле (46):

сдвигающее усилие

Tan=1·0,348·375·1,539·2=40,17 кН.

По формуле (47) находим величину несущей способности связи по выкалыванию бетона вокруг анкерных стержней.

Tb=1,7RbtAc.

Здесь Аc=b(аo+2ha)-hn(b-b),

где b=16,86-5=11,86 см.

Откуда

Ас=11,86(7+2·13)-8(11,86-9,3)=370,62 см2.

Следовательно

Tb=1,7·370,62·0,9=56,7 кН.

Вычисляем по формуле (48) величину несущей способности связи по срезу бетона стержнями вдоль прогона:

Tb=RbtAcn.

Здесь n=2; А’с - площадь сечения плиты по ширине одного кофра настила, определяемая по формуле

Ac=bfhf+0,5(b+b)hn=16,86·7+0,5(9,3+11,86)8=202,66 см2.

Таким образом

Тb1=0,9·202,66·2=36,48 кН.

Следовательно, меньшая из трех величин

Tan=Tb1=36,48 кН < T1 = 43,23 кН.

Так как Тan<T1 (см. пример 9), для усиления анкеровки плиты по концам балок предусматриваем упоры по пп. 3.15 и 5.6.

Пример 11. По данным примера 9 требуется определить прочность нормального сечения.

Расчет. Прочность нормального сечения зависит от соотношения величин Nsg, Nb, T’.

Вычисляем по формуле (49) несущую способность стального прогона на растяжение Nsg:

Nsg=RsgAsg=230·54=1242 кН.

Несущую способность бетонной полки плиты на сжатие определяем по формуле (50):

Nb=Rbbbhf=9,78·200·7=1369,2 кН.

Несущую способность связей прогона с плитой рассчитываем по формуле (51):

T’=Т(Tan/T1).

где T=445,038 кН, Т=43,23 кН (см. пример 9), Tan=36,48 кН (см. пример 10).

Таким образом,

T=445,038(36,48/43,23)=375,549 кН.

Так как T<Nsg и Т’<Nb, расчет ведем по второму случаю п. 5.7 настоящих Рекомендаций. Для этого проверяем условие (55):

NRsg(Asg-2Asg)=230(54-2·16,3)=492,2 кН.

где

Asg=δsgbsg=1,05·15,5=16,3 см2.

Принимаем N меньшей из величин Nb и T.

В данном случае N=T=375,549 < 492,2. Следовательно, граница сжатой зоны прогона пересекает его стенку.

Расчет ведем по случаю 2б. Принимаем N=375,549 кН.

По формуле (57) определяем расстояние от верха прогона до границы его сжатой зоны:

а=[Asg-(N/Rsg)-2δ’sg(bsg-δ)]/2δ=[54-(375,549/23)-2·1,05(15,5-0,6)]/(2·0,6)=5,3 см.

Прочность сечения проверяем по условию (58):

МspanN(H-hsg+a-x/2)+Rsg{bsgδsg(hsg-a-δsg/2)+

+b’sg(a-δsg/2)+[δ(hsg-δsg-δsg)(hsg+δsg-δsg-2a)]/2)},

где высота сжатой зоны бетона

x=N/(Rfbb)=375,549/(0,978·200)=1,92 см.

Тогда

МspanM=375,549(50-35+5,3-0,5·1,92)+

+23{15,5·1,05(35-5,3-1,05/2)+15,5·1,05(5,3-1,05/2)+

+[0,6(35-1,05·2)(35+1,05-1,05-2·5,3)/2]}=24810,8 кН см > 19134.

Следовательно, прочность сечения обеспечена.

Пример 12. По данным примера 9 требуется определить прогиб комбинированной балки. Нормативный изгибающий момент от постоянной и временной нагрузок Мn,span без учета собственной массы балки и плиты составляет 132,75 кН·м.

Расчет. Прогиб комбинированной балки находим по формуле (60):

fmc=frc+fsg.

Здесь

frc=(1/rrc)si2,

где 1/rrc - полная кривизна комбинированной балки, определяемая по формуле (61).

Кривизну комбинированной балки 1/rf от эксплуатационной нагрузки без учета податливости анкерных связей рассчитываем по формуле (62):

1/rf=(Mn,spanφb2)/(IredEbφb1).

Находим момент инерции приведенного сечения комбинированной балки:

Ired=aIsg+[(bbh3f)/12]+bbhfy2c+αAsg(v-y2c),

где α=Esg/Eb=2,1·105/2,7·104=7,78; v=29 см (см. пример 9); yc - центр тяжести приведенного сечения, определяемый по формуле

yc=Sred/Ared=(αAsgv)/(bbhf+αAsg)=(7,78·54·29)/(200·7+7,78·54)=6,69 см.

Таким образом,

Ired=7,78·11600+[(200·73)/12]+200·7·6,692+7,78·54(29-6,69)2=67732 см4.

Следовательно, кривизна 1/rf равна:

1/rf=(13275·2)/(67732·2,7·103·0,85)=0,000031 1/см.

Кривизну 1/ra, обусловленную податливостью связей, определяем по формуле (63):

1/ra=kf1/rf{[φb1EbIred/(φb1EbIrs+φb2EsgIsg)]-1},

где

Irs=(bbh3f)/12=(200·73)/12=5717 см4.

Значение коэффициента kf находим по табл. 5 в зависимости от λi по интерполяции. λi=10 (см. пример 9). Коэффициент kf=0,097.

Следовательно, кривизна, обусловленная податливостью анкерных связей, равна:

1/ra=0,097·3,1·10-5{[0,85·2,7·106·346723/(0,85·2,9·106·5717+

+2·2,1·107·11600)]-1}=0,21·10-5 1/см.

Таким образом, полная кривизна комбинированной балки

1/r=3,1·10-5+0,21·10-5=3,31·10-5 1/см.

Находим полный прогиб комбинированной балки в процессе эксплуатации:

frc=3,31·10-5(5/48)6002=1,24 см.

Определяем прогиб стального прогона от действия собственной массы и массы перекрытия:

fsg=5/384[(qi4)/(EsgIsg)].

где q - суммарная нагрузка, действующая на прогон в стадии возведения, равная 89,1 Н/см.

Получаем

fsg=5/384[(89,1·6004)/(2,1·107·11600)]=0,62 см.

Полный прогиб балки fmc равен:

fmс=1,24+0,62=1,86 см < f =2,5 см.

(по СНиП 2.03.01-84), т.е. прогиб в допустимых пределах.

Следовательно, жесткость комбинированной балки обеспечена.

СОДЕРЖАНИЕ

 

 




ГОСТЫ, СТРОИТЕЛЬНЫЕ и ТЕХНИЧЕСКИЕ НОРМАТИВЫ.
Некоммерческая онлайн система, содержащая все Российские Госты, национальные Стандарты и нормативы.
В Системе содержится более 150000 файлов нормативно-технической документации, действующей на территории РФ.
Система предназначена для широкого круга инженерно-технических специалистов.

Рейтинг@Mail.ru Яндекс цитирования

Copyright © www.gostrf.com, 2008 - 2026