Крупнейшая бесплатная информационно-справочная система онлайн доступа к полному собранию технических нормативно-правовых актов РФ. Огромная база технических нормативов (более 150 тысяч документов) и полное собрание национальных стандартов, аутентичное официальной базе Госстандарта. GOSTRF.com - это более 1 Терабайта бесплатной технической информации для всех пользователей интернета. Все электронные копии представленных здесь документов могут распространяться без каких-либо ограничений. Поощряется распространение информации с этого сайта на любых других ресурсах. Каждый человек имеет право на неограниченный доступ к этим документам! Каждый человек имеет право на знание требований, изложенных в данных нормативно-правовых актах!

  


 

МИНИСТЕРСТВО МОНТАЖНЫХ И СПЕЦИАЛЬНЫХ
СТРОИТЕЛЬНЫХ РАБОТ СССР

ИНСТРУКЦИЯ
ПО ЗАГОТОВКЕ И МОНТАЖУ ОТКРЫТЫХ
БЕСТРУБНЫХ ЭЛЕКТРОПРОВОДОК

ВСН 180-84

ММСС СССР

МОСКВА ИНФОРМЭЛЕКТРО 1985

 

Утверждена
Минмонтажспецстроем СССР
29 августа 1984 г.

Инструкция разработана ВНИИПроектэлектромонтажом.

Приведены требования к заготовке и монтажу открытых беструбных электропроводок напряжением до 1000 В, прокладываемых внутри промышленных зданий и сооружений организациями Минмонтажспецстроя СССР.

Инструкция предназначена для мастеров, бригадиров и электромонтажников, связанных с монтажом электропроводок, а также может быть использована инженерно-техническим персоналом проектных и эксплуатационных организации.

С выходом в свет настоящей Инструкции отменяется "Инструкция по заготовке и монтажу открытых беструбных электропроводок"

Министерство монтажных и специальных строительных работ СССР

Ведомственные строительные нормы

Инструкция по заготовке и монтажу открытых беструбных электропроводок

Взамен

1. ОБЩИЕ ПОЛОЖЕНИЯ

1.1. Инструкция распространяется на монтаж открытых беструбных электропроводок напряжением до 1000 В, прокладываемых внутри промышленных зданий и сооружений с нормальной средой изолированными проводами всех сечений, а также небронированными силовыми кабелями сечением до 16 мм2 на лотках, в коробах, на тросах, непосредственно по основаниям и на изоляторах.

Инструкция не распространяется на монтаж электропроводок в жилых и культурно-бытовых зданиях, а также во взрывоопасных и пожароопасных зонах.

1.2. Открытые беструбные электропроводки должны быть выполнены в соответствии с требованиями СНиП III-33-76* "Правила производства и приемки работ. Электротехнические устройства" и "Правил устройства электроустановок" (ПУЭ).

1.3. Крепление кабелей с металлической оболочкой и незащищенных проводов металлическими скобами необходимо выполнять с эластичными изоляционными прокладками толщиной не менее 0,3 мм, выступающими из-под скобы с обеих сторон не менее чем на 1,5 - 2 мм.

При непосредственном креплении незащищенных проводов и кабелей с металлической оболочкой к несущей полосе, струне, тросу эластичные изоляционные прокладки должны устанавливаться в местах креплений между проводниками и полосой, струной или тросом (рис. 1).

1.4. Кабели с пластмассовой или резиновой оболочкой, а также защищенные провода крепятся без эластичных прокладок.

Внесены
ВНИИПроектэлектромонтажом

Утверждены
Минмонтажспецстроем СССР
29 августа 1984 г.

Срок введения в действие

с 1 июля 1985 г.

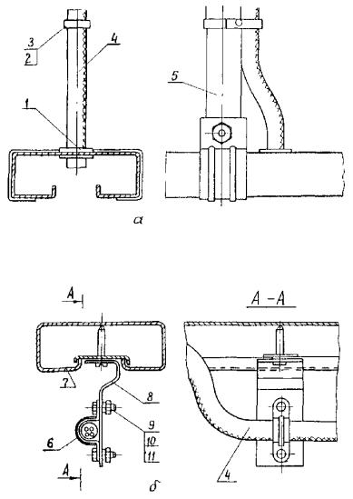
Рис. 1. Крепление незащищенных проводов к несущим полосам, струнам и тросу монтажной лентой

а - на полосе; б - на струне; в - на тросе;

1 - лента; 2 - провод; 3 - кнопка; 4 - прокладка изоляционная; 5 - полоса; 6 - струна или трос; 7 - труба (отрезок) изоляционная

1.5. Для выполнения ответвлений без разрезания проводов магистральной линии должны применяться ответвительные сжимы.

1.6. Радиусы изгиба проводов и кабелей должны быть не менее указанных в табл. 1.

1.7. Все крепления, поддерживающие защитные конструкции и детали электропроводок, из черных металлов должны иметь защитное антикоррозийное покрытие.

1.8. Провода и кабели, прокладываемые на лотках и в коробах, должны иметь маркировку в начале и конце трассы, а кабели - также и на поворотах, ответвлениях и в местах подключения к электрооборудованию.

Таблица 1

Наименьшие радиусы изгиба проводов и кабелей

 

Характеристика

Наименьший радиус внутренней кривой изгиба

Кабель

Силовой с резиновой изоляцией в металлической, пластмассовой или резиновой оболочке

10d1

Провод

С пластмассовой изоляцией (кроме ПВЗ)

10d

Провод

С резиновой изоляцией в металлической оплетке или оболочке и без оплетки или оболочки

6d

Провод

С медной гибкой жилой и пластмассовой изоляцией

5d

1 Наружный диаметр провода или кабеля.

2. РАБОЧАЯ ДОКУМЕНТАЦИЯ

2.1. Рабочая документация, передаваемая электромонтажной организации, должна быть выполнена в соответствии с требованиями "Правил устройства, электроустановок", государственных стандартов системы проектной документации для строительства (ГОСТ СПДС), "Инструкции о составе и оформлении электротехнической рабочей документации для промышленного строительства" (ВСН-381-85), согласованной с Госстроем СССР.

2.2. Для монтажа открытых беструбных электропроводок в составе основного комплекта рабочих чертежей необходимо иметь следующие чертежи: электрических схем (схемы подключения); расположения электрооборудования и прокладки электрических сетей; установки электрооборудования и конструкций для прокладки электрических сетей; а также кабельный журнал.

2.3. На чертежах расположения электрооборудования и прокладки электрических сетей должны быть указаны привязки электрооборудования и электрических сетей к координационным сетям, а также отметки их трасс.

3. ОРГАНИЗАЦИЯ И ПРОИЗВОДСТВО РАБОТ

3.1. Монтаж открытых беструбных электропроводок должен производиться в два этапа.

3.2. К первому этапу относятся следующие работы:

а) на объекте монтажа: разметка трасс электропроводок и производство предварительных замеров; контроль выполнения борозд, ниш и проходов согласно проекту и, в случае необходимости, их пробивка; приемка подготовленных строительных трасс для электропроводок; установка закладных деталей, не предусмотренных в строительных чертежах;

б) составление эскизов и ведомостей группой подготовки производства (ГПП) для выдачи заказов мастерским электромонтажных заготовок (МЭЗ);

в) в МЭЗ: подготовительные мероприятия (подготовка оборудования, инструмента и приспособлений и т.д.); заготовка крепежных деталей и изготовление нетиповых конструкций; комплектация электропроводок.

3.3. На втором этапе непосредственно на объекте выполняются следующие монтажные работы: установка всех несущих конструкций и узлов креплений, а также установка лотков и коробов, монтаж проводов и кабелей и подключение их к электрооборудованию.

3.4. Разметку трасс электропроводок следует производить на основании данных проекта, совмещая эту работу с предварительными замерами.

Предварительные замеры, а также сверка строительной части объекта с рабочими чертежами должны производиться в основном работниками ГПП.

На основании проведенных замеров должны быть составлены эскизы и ведомости с целью выдачи заказов на заготовку и комплектацию электропроводок в МЭЗ на технологических поточных линиях и стендах.

3.5. Порядок разметки должен быть следующим: наметить места установки распределительных устройств, светильников и других электроприемников, а также выключателей и розеток; трассу электропроводки; места установки ответвительных коробок, концевых, угловых и промежуточных креплений несущих тросов и струн; места установки на основаниях отдельных креплений проводов и кобелей (скоб, бандажей, полосок, держателей).

При установке на основаниях таких креплений сначала намечаются места их установки у коробок, электроприемников, на поворотах и у проходов, а затем - на промежуточных участках, на равных расстояниях друг от друга в соответствии с нормами на крепления.

При параллельной прокладке по основаниям нескольких групп проводов или кабелей разметку следует выполнять отдельно для каждой группы кабелей, закрепляемых одной скобой, держателем или полоской.

При разметке трасс электропроводок на конструкциях с изоляторами, на лотках, в коробах размечаются места установки поддерживающих конструкций, кронштейнов, скоб и точек их крепления к основаниям и строительным элементам зданий.

Отметки необходимо выполнять от плоскости пола, потолка или каких-либо частей стен, колонн, ферм, балок и т.п., находящихся на одном уровне. Допускается пользоваться отметками по высоте, наносимыми на различных элементах здания строительной организацией.

Разметка трасс должна выполняться с помощью набора инструментов и приспособлений для замерщика типа НИЗ. Кроме того, при разметке необходимо применять оптические приборы, шесты и разметочные рамки с отвесами и шнурами (для разметки с пола).

Разметка производится мелом, углем, синькой в порошке, плотничным карандашом.

Отметки осей на основаниях должны наноситься по рейке с помощью шнура, натертого мелом, углем или синькой, а на конструкциях - по уровню или отвесу мелом.

4. ЭЛЕКТРОПРОВОДКИ НА ЛОТКАХ

4.1. На лотках следует прокладывать провода сечением менее 120 мм2 и кабели сечением жил до 16 мм2. Допускается прокладывать провода и кабели больших сечений при совпадении их трасс с проводами и кабелями указанных выше сечений.

4.2. Лотки выпускается двух типов: перфорированные и сварные. Перфорированные лотки НЛ5 и НЛ10 (рис. 2) изготовляются соответственно шириной 50 и 100 мм1, сварные НЛ20 и НЛ40 (рис. 3) - соответственно шириной 200 и 400 мм.

Длина лотков 2; 2,5 и 3 м.

1 На одном конце лотков НЛ5, НЛ10 соединитель приварен.

Рис. 2. Перфорированные лотки НЛ5, НЛ10

Рис. 3. Сварные лотки НЛ20, НЛ40

1 - планка; 2 - борт

4.3. Лотки устанавливаются как в вертикальной, так и горизонтальной плоскостях вплотную к стенам и на сборных кабельных конструкциях (стойках, полках, подвесках), в состав которых входят готовые для сборки элементы, обеспечивающие создание трассы с необходимыми поворотами и разветвлениями (рис. 4 - 10), а также на полках и конструкциях, изготовляемых в МЭЗ по чертежам (рис. 11 - 18).

4.4. Перфорированные лотки применяются для выполнения магистральных участков сети, стояков, мостиков, ответвлений и спусков от основных лотковых трасс при подводе кабелей и проводов к различного рода электроприемникам.

4.5. Расстояния между точками крепления лотков и между опорными конструкциями должны быть не более 2 м.

4.6. Допустимая удельная нагрузка на лотки при расстоянии между опорами 2000 мм составляет: для перфорированных лотков шириной прямой секции 50 мм - 50 Н/м, шириной 100 мм - 100 Н/м; для сварных лотков шириной 200 мм - 300 Н/м, шириной 400 мм - 600 Н/м. Кроме того, сварные лотки рассчитаны на дополнительную сосредоточенную нагрузку 800 Н, приложенную в середине пролета.

Рис. 4. Соединение прямых лотков

а - лотки НЛ5, НЛ10; б - лотки НЛ20, НЛ40

4.7. Соединения секций лотков всех типов должны выполняться с помощью стандартных резьбовых крепежных изделий (рис. 4).

4.8. Для обеспечения надежного электрического контакта в местах соединения элементов лотков устанавливают заземляющие шайбы острыми выступами непосредственно к окрашенной поверхности.

4.9. Соединения секций лотков в одной плоскости должны выполняться: прямых однотипных НЛ5 или НЛ10 - с помощью соединителей в виде швеллеров (рис. 4, а), НЛ20 или НЛ40 - путем ввода одной секции в другую на 135 мм и скрепления стандартными крепежными изделиями (рис. 4, б).

При изменении ширины трассы сварных лотков применяют переходные соединители НЛ-СП (рис. 5).

Рис. 5. Соединение лотков НЛ20 и НЛ40 с помощью соединителя переходного НЛ-СП

Рис. 6. Крепление лотка НЛ20 (НЛ40) с помощью подвески НЛ-ПВ и прижима НЛ-ПР

1 - прижим НЛ-ПР; 2 - подвеска НЛ-ПВ

Рис. 7. Соединение лотков НЛ20 (НЛ40) и НЛ10 (НЛ5)

Рис. 8. Поворот лотков магистрали в горизонтальной плоскости с помощью лотка углового НЛ-У45, НЛ-У95

Рис. 9. Поворот лотковой магистрали с помощью соединителей шарнирных НЛ-СШ в вертикальной плоскости

a - лотки НЛ20, НЛ40; б - лотки НЛ5, НЛ10

4.10. Для выполнения перехода трассы с одного уровня на другой под углом до 90º, а также для отвода проводников к отдельно стоящим электроприемникам применяют шарнирные соединители НЛ-СШ (рис. 9).

4.11. Поворот трассы лотков НЛ20 и НЛ40 в горизонтальной плоскости на угол до 90º выполняется с помощью переходных соединителей НЛ-СП, изогнутых по надрубам на необходимый угол и закрепляемых, на бортах прямых секции лотков (рис. 10, а). Поворот трассы лотков НЛ5, НЛ10 в горизонтальной плоскости выполняется с помощью шарнирного соединителя НЛ-СШ (рис. 10, б).

4.12. В случае если радиус поворота прокладываемого проводника превышает ширину лотка, на борта соединяемых под прямым углом секций устанавливают угловые секции НЛ-У45 - для радиуса поворота до 450 мм; НЛ-У95 - для радиуса поворота до 950 мм (рис. 8).

4.13. Повороты, ответвления, обходы выступов и препятствий, пересечения, переходы лотков с одной ширины на другую и с одной отметки на другую и т.д. должны выполняться с помощью специальных секций заводского изготовления (рис. 7 - 10) или изготовляемых в МЭЗ по типовым проектам (рис. 11 - 17).

Рис. 10. Поворот лотковой магистрали с помощью соединителей переходных НЛ-СП и соединителей шарнирных НЛ-СШ в горизонтальной плоскости

а - лотки НЛ20, НЛ40; б - лотки НЛ5, НЛ10

При невозможности установки навесных опорных конструкций лотки могут устанавливаться на стойках, закрепленных на полу помещения (рис. 18).

4.14. Крепление лотков НЛ20, НЛ40 к кабельным конструкциям должно выполняться с помощью прижимов НЛ-ПР (рис. 20 и 24). Крепление лотков НЛ5, НЛ10 на основаниях и полках должно выполняться с помощью стандартных резьбовых крепежных изделий (рис. 21).

4.15. Для крепления лотков к точкам, расположенным выше лотковой трассы, используется подвеска НЛ-ПВ (рис. 6, 19), которая устанавливается под прямой секцией перпендикулярно или под углом к бортам в зависимости от ширины секции. Затем с помощью стальной проволоки или троса, проходящих через середину прямой секции, подвеска соединяется с точкой крепления.

4.16. Лотки должны быть закреплены на поворотах, подъемах, спусках, пересечениях, ответвлениях, обходах выступов и препятствий и в местах соединения лотков разной ширины.

4.17. Опорные конструкции должны быть закреплены с помощью дюбелей-гвоздей и дюбелей-винтов, забиваемых строительно-монтажным пистолетом, а также с помощью обхватывающих и зажимных конструкций или сваркой.


Рис. 11. Обход выступов при горизонтальной прокладке лотков НЛ10-П2 (НЛ5, НЛ10)

1 - конструкция кабельная; 2 - секция угловая горизонтальная; 3 - лоток НЛ10-П2

Рис. 12. Обход выступов при горизонтальной прокладке лотков НЛ20-П2 (НЛ20, НЛ40)

1 - конструкция кабельная; 2 - лоток НЛ20-П2; 3 - вставка прямая; 4 - прижим НЛ-ПР; 5 - вставка угловая


Рис. 13. Обход внешнего угла при горизонтальной установке лотков НЛ10-П2 (НЛ5, НЛ10)

1 - конструкция кабельная; 2 - секция угловая; 3 - лоток НЛ10-П2

Рис. 14. Обход внутреннего угла при горизонтальной установке лотков НЛ10-П2 (НЛ5, НЛ10)

1 - конструкция кабельная; 2 - секция угловая горизонтальная; 3 - лоток НЛ10-П2

Рис. 15. Обход внешнего угла при горизонтальной прокладке лотков НЛ40-П2 (НЛ20, НЛ40)

1 - прижим НЛ-ПР; 2 - конструкция кабельная; 3 - лоток НЛ40-П2; 4 - лоток угловой НЛ-У45


Рис. 16. Прокладка лотков НЛ40-П2 (НЛ20, НЛ40) под перекрытием

1 - конструкция кабельная; 2 - прижим НЛ-ПР; 3 - лоток НЛ40-П2

Рис. 17. Горизонтальная установка лотков НЛ10-П2 (НЛ5, НЛ10) на расстоянии от стены

1 - лоток НЛ10-П2; 2 - конструкция

Рис. 18. Прокладка одного лотка НЛ40-П2 на стойках

1 - лоток НЛ40-П2; 2 - рама; 3 - прижим НЛ-ПР; 4 - стойка

Рис. 19. Крепление лотков НЛ20 (НЛ40) в пролетах с применением подвески НЛ-ПВ

1 - муфта натяжная К798; 2 - зажим тросовый К676; 3 - трос; 4 - обхватывающие конструкции; 5 - лоток; 6 - серьга К1016; 7 - подвеска НЛ-ПВ

Рис. 20. Крепление сварных лотков к конструкциям

а - горизонтальная прокладка; б - вертикальная прокладка; в - прокладка по поверхности параллельной несущей плоскости лотков;

1 - конструкция кабельная; 2 - прижим НЛ-ПР; 3 - лоток НЛ20-П2 (НЛ40-П2)

Рис. 21. Крепление перфорированных лотков НЛ10-П2 (НЛ5, НЛ10) к конструкциям (горизонтальная прокладка)

1 - кабельная конструкция; 2 - лоток НЛ10-П2


Рис. 22. Примеры крепления проводов и кабелей к лоткам

1 - лента К226 с кнопкой К227; 2 - полоска К404-К405, пряжка К407; 3 - полоска-пряжка К395-К398; 4 - скоба К252-К254; 5 - скоба К732-К740; 6 - скоба К142-К145; 7 - скоба К146п-К148п


Рис. 23. Схема технологической линии по заготовке проводов сечением 16 - 240 мм2

1 - домкраты кабельные; 2 - вертушка универсальная; 3 - механизм мерной резки; 4 - тележка-накопитель; 5 - стол-накопитель; 6 - механизм снятия изоляции; 7 - стойка; 8 - гидропресс; 9 - стол-накопитель для проводов


Рис. 24. Установка кабельных конструкций

1 - прижим для крепления лотка к полке; 2 - лоток НЛ20-П2; 3 - кабельная стойка; 4 - скоба для крепления стоек пристрелкой или приваркой; 5 - кабельная полка; 6 - ключ для крепления полок к стойкам


Рис. 25. Комплект механизмов и приспособлений для прокладки кабелей по лоткам

1 - привод универсальный монтажный; 2 - механизм тяговый; 3 - устройство, группирующее кабели; 4 - ролик линейный универсальный; 5 - захват канатный; 6 - захват кабельный; 7 - ролик угловой


Таблица 2

Способы прокладки проводов и кабелей на лотках

п/п

Способ прокладки

Коэффициент использования

Ки > 0,7

Коэффициент использования

Ки  0,7

количество проводов и (или) кабелей

коэффициент снижения

Ксн

количество проводов и (или) кабелей

коэффициент снижения

Ксн

1

До 3

0,80

до 6

1,00

4 - 6

0,70

7 - 8

0,90

7 - 9

0,60

9 - 11

0,85

 

 

12 - 15

0,70

 

 

16 - 20

0,65

 

 

21 и более

0,60

2

До 3

0,80

до 6

1,00

4 - 6

0,70

7 - 8

0,90

7 - 9

0,60

9 - 11

0,85

 

 

12 - 15

0,70

 

 

16 - 20

0,65

 

 

21 и более

0,60

3

До 2

1,00

Введение коэффициентов снижения не требуется

 

3 - 4

0,85

5 - 8

0,80

9 - 15

0,70

16 и более способ прокладки не рекомендуется

0,65

4

Введение коэффициентов снижения не требуется

 

Введение коэффициентов снижения не требуется.

Способ прокладки не рекомендуется

 

5

Однослойная прокладка см. поз. 3.

Многослойная прокладка или пучками см. поз. 1 или 2

 

 

 

6

Однослойная прокладка см. поз. 4

Многослойная прокладка или пучками см. поз 1 или 2

 

 

 


Таблица 3

Монтаж электропроводок на лотках

Наименование операции

Содержание работ

Применяемые электромонтажные изделия

Применяемые инструменты, механизмы и приспособления

Примечания

 

наименование

индекс

 

Первый этап работ

 

Сборка укрупненных блоков

Сборка блоков из прямых, угловых, тройниковых и крестовых секций. Маркировка блоков в соответствии с указаниями ППР

 

 

 

Операции выполняются в МЭЗ

 

Заготовка проводов и кабелей

Мерная резка проводов и кабелей. Снятие изоляции с проводов и кабелей. Скручивание, подрезка, сварка и контроль правильности соединения жил проводов до 6 мм, изолирование мест соединений и установка ответвительных сжимов

Сжим ответвительный

У731М, У733М, У734М, У739М, У859М, У870М - У872М

Механизм мерной резки; механизм снятия изоляции; сварочный аппарат; пробник для прозвонки

То же

 

Заготовка пучков проводов, прозвонка и маркировка

Заготовка пучков проводов.

Бирка маркировочная

У134, У153, У136

Пробник для прозвонки

Операции выполняются в МЭЗ

 

Прозвонка и маркировка жил многожильных проводов и кабелей.

Оконцеватель

А671, У541

 

 

Маркировка проводов, кабелей и пучков проводов и кабелей

Трубка ХВТ

 

 

 

Бухтование

Бухтование проводов, кабелей и пучков проводов и кабелей на вертушке; маркировка бухт и укладка их в контейнеры

Полоска

К404, К405

Вертушка; контейнер

То же

 

Пряжка

К407

 

Полоска-пряжка

К395 - К398

 

Лента монтажная с кнопкой

К226, К227

 

Бирка

У134, У153, У136

 

Разбивка трасс

Нанесение краской на строительные элементы отметок мест установки опорных конструкций

 

 

 

Операции выполняются на трассе

 

Подготовка трасс к прокладке лотков

Пробивка отверстий, гнезд, проемов, не выполненных в процессе строительства. Установка опорных конструкций

Пластмассовый дюбель

Дюбель-гвоздь

 

Перфоратор, электросверлилка, ключ К1156

То же

 

Доставка укрупненных блоков и отдельных секций лотков и заготовок проводов и кабелей

Доставка в монтажную зону контейнеров с укрупненными блоками кассет, барабанов или бухт с проводами и кабелями. Развозка или разноска по трассе к месту их прокладки

 

 

Автомобиль-самопогрузчик, контейнер, вертушка

Операции выполняются на трассе

 

Второй этап работ

 

Установка опорных конструкций на проектной высоте

Установка и закрепление кабельных стоек на железобетонных колоннах и фермах с применением обхватывающих конструкций

Обхватывающие конструкции

 

Подъемные устройства для работы на высоте

Сварочный аппарат

При заготовке в МЭЗ конструкций из монтажных профилей или блоков из кабельных стоек и полок (или монтажных профилей)

Полухомут

 

Шпильки

К122, К123

Кабельные стойки

К1150 - К1154

Установка и закрепление кабельных стоек на железобетонных колоннах, стенах и под перекрытиями пристрелкой с помощью скобы дюбелями

Кабельные стоики

К1150 - К1154

 

 

Скоба

K1157

Профиль монтажный перфорированный

К235, К238

Дюбель-гвоздь

 

Дюбель-винт

 

 

 

Пластмассовый дюбель

У656, У658, У678, У661, У663

Поршневой монтажный пистолет ПЦ52-1.

Электрические и пневматические сверлилки с применением твердосплавного инструмента.

Набор инструментов электромонтажника НЭ.

Набор гаечных ключей

 

 

Закрепление кабельных стоек к металлоконструкциям с помощью скобы сваркой

Кабельные стойки

К1150 - К1154

Сварочный аппарат

 

 

Скоба

К1157

 

 

 

Установка опорных конструкций на полу

Установка стоек

Стойка

Рама

 

 

Рис. 18

 

Установка тросовых растяжек

Установка и закрепление тросовых растяжек с помощью обхватывающих конструкций

Муфта натяжная

К798

 

Установка тросовых растяжек производится в случае невозможности установки кабельных стоек. Расстояние между опорными конструкциями не должно превышать 2 м

Зажим тросовый

К676

Установка кабельных полок

Установка и закрепление полок к кабельным стойкам

Полки

К1160 - К1163

Ключ К1156

В случае раздельной доставки на монтаж (рис. 24)

 

Установка лотков на опорных конструкциях

Поднятие двух секций или блоков (несколько соединяемых секции) на опорные конструкции

Лотки перфорированные сварные

НЛ, НЛ5-П2 НЛ10-П2, НЛ20-П2, НЛ40-П2

Подъемные устройства для работы на высоте

 

 

Соединение смежных секций и блоков между собой

Болты, винты

 

Набор инструментов электромонтажника НЭ, ИН-15

Набор гаечных ключей

 

 

Лотки угловые

НЛ-У45, НЛ-У95

 

Рис. 8

 

Соединители переходные

НЛ-СП

 

Рис. 10

 

Соединители шарнирные

НЛ-СШ

 

Рис. 9

 

Закрепление лотков к опорным конструкциям

Прижим

НЛ-ПР

 

 

 

Операции повторить с последующими блоками

 

 

 

 

 

Установка разделительной перегородки (уголок, лист) на сварных лотках

Уголок (лист)

К236

 

Для разделения потоков проводов или кабелей, совместная прокладка которых не допускается

 

Проверка непрерывности цепи заземления

 

 

 

 

Операция выполняется организациями

 

Прокладка проводов и кабелей

Прокладка проводов и кабелей:

1. С помощью комплекта механизмов и приспособлений (рис. 25):

а) установить релейные и угловые ролики

 

 

Комплект механизмов и приспособлений типа КПП; линейные ролики РЛУ; угловые ролики; проволочный чулок; зажим; тяговый механизм

Работа производится согласно инструкции по эксплуатации приспособлений

 

б) соединить концы кабелей (проводов) с канатом тягового механизма с помощью проволочного чулка;

в) направить кабели с барабанов в группирующее устройство;

г) раскатать кабели по роликам с помощью тягового механизма;

д) переложить кабель (провод) с роликов на лоток;

е) выправить кабель (провод)

 

2. С помощью лебедки и раскатанных роликов различных конструкций

 

 

Лебедка монтажная ЛМ-1М, ЛМ-3,2; ролики ПС-50; раскаточные устройства

 

 

Закрепление проводов и кабелей

Закрепление к лоткам проводов, кабелей, пучков проводов и кабелей с соблюдением необходимых расстояний

Перфорированная лента

К226

 

Рис. 22

 

Кнопка

К227

 

Полоски

К404, К405

 

Пряжка

К407

 

Полоски-пряжки

К395 - К398

 

Скоба однолапковая

К252 - К254

 

Скоба двухлапковая

К732 - К740,

К142 - К145,

К146п - К148п

Примечание. В отдельных случаях лотки целесообразно крепить к опорным конструкциям из монтажных профилей или кабельных стоек и полок в МЭЗ или на монтажной площадке, а затем производить установку этой сборной конструкции на строительное основание.


4.18. Силовые, контрольные кабели и провода следует прокладывать на лотках однослойно, многослойно и пучками в соответствии с табл. 2.

4.19. Крепление отдельных проводов и кабелей на лотках, а также пучков к лоткам должно выполняться перфорированной лентой с кнопкой, полоской с пряжкой, скобами и т.п. (рис. 22).

4.20. Для прокладки на лотках провода и кабели должны быть заготовлены на технологических стендах (линиях) в МЭЗ и поступать в зону монтажа на инвентарных барабанах.

Пример технологической линии по заготовке проводов и кабелей приведен на рис. 23.

4.21. Последовательность операций по монтажу электропроводок на лотках приведена в табл. 3.

5. ЭЛЕКТРОПРОВОДКИ В КОРОБАХ

5.1. Короба предназначены для защиты от механических повреждений проложенных в них проводов всех сечений и кабелей сечением до 16 мм2.

5.2. Различаются короба общего применения (ОП) и короба КЛ-1 и КЛ-2. Последние предназначены соответственно для однорядной и двухрядной подвески светильников с люминесцентными лампами и прокладки в них проводов сети.

5.3. Короба ОП изготовляются одноканальными длиной 2 и 3 м. Путем установки разделительной перегородки в одноканальных коробах получаются двухканальные. Общий вид прямых коробов показан на рис. 26.

5.4. Короба ОП прокладываются в горизонтальной или вертикальной плоскостях; они должны быть прикреплены к стенам, колоннам, перекрытиям, фермам и т.д. с помощью сборных кабельных конструкций (стоек, полок, подвесов), а также кронштейнов, обхватов и т.д. Крепление коробов к конструкциям должно выполняться с помощью скоб У1078 и У1059 (рис. 28). Для крепления коробов в пролетах следует применять тросовые растяжки. Кроме того, короба должны быть закреплены на поворотах, подъемах, спусках, пересечениях, ответвлениях и при обходе препятствий.

5.5. При выполнении поворотов, ответвлений и пересечений коробов ОП должны применяться крестовые, тройниковые, угловые, вводные, торцовые и другие элементы и секции, входящие в комплект коробов (рис. 27, 29 - 35) или изготовленные в МЭЗ.

5.6. Короба соединяются болтами. Для обеспечения надежного электрического контакта места болтовых соединений коробов и их элементов зачищают до металлического блеска и смазывают техническим вазелином.

5.7. Крепление несущих конструкций для коробов на стенах должно производиться с помощью дюбелей-гвоздей, дюбелей-винтов, а также закладных крепежных элементов, обхватывающих конструкций или сваркой.

Рис. 26. Короба прямые У1079, У1086, У1098, У1090, У1105, У1106

Рис. 27. Короба крестообразные У1085, У1095, У1111

Рис. 28. Крепление коробов к конструкциям

1 - скоба У1078, У1059; 2 - короб; 3 - конструкция

Рис. 29. Короба тройниковые У1084, У1094, У1110

Рис. 30. Короба угловые У1083, У1093, У1109

Рис. 31. Короба угловые У1081, У1091, У1107

Рис. 32. Короба угловые У1082, У1092, У1108

Рис. 33. Короба присоединительные У1086, У1096, У1112

Рис. 34. Заглушки торцовые для закрывания концов коробов У1087, У1097, У1113

Рис. 35. Зажимы для фиксации проводов и кабелей внутри коробов У1114, У1115, У1116

5.8. Расстояния между точками крепления коробов ОП и между опорными конструкциями должны быть не более 3 м.

Короба рекомендуется собирать в МЭЗ в секции до 12 м и в специальных контейнерах транспортировать на место монтажа.

5.9. В коробах провода и кабели следует прокладывать вплотную друг к другу в один или несколько слоев и пучками в соответствии с табл. 4 и 5. Сумма площадей поперечных сечений проводов и кабелей, прокладываемых в одном коробе, включая контрольные и резервные, не должна превышать 40 % внутреннего поперечного сечения короба.

5.10. При прокладке проводов и кабелей в коробах многослойно на вертикальных участках должны устанавливаться огнеоградительные пояса в соответствии с проектом.

5.11. Внутри коробов допускается выполнение ответвлений проводов в специальных зажимах с изолирующими оболочками, обеспечивающими непрерывность изоляции.

Таблица 4

Способы прокладки проводов и кабелей в коробах при коэффициенте использования Ки  0,7

Способ прокладки

Коэффициент снижения электрической нагрузки

Количество

одножильных проводов и кабелей

многожильных проводов и кабелей

Многослойно и пучками

1,0

-

До 4

0,85

2

5 - 6

0,75

3 - 9

7 - 9

0,70

10 - 11

10 - 11

0,65

12 - 14

12 - 14

0,6

15 - 18

15 - 18

Таблица 5

Способ прокладки проводов и кабелей в коробах при Ки > 0,7

Способ прокладки

Коэффициент снижения электрической нагрузки

Количество одножильных и многожильных проводов и кабелей

Однослойно

0,67

2 - 4

0,60

5

5.12. При укладке проводов и кабелей в короба ОП необходимо учитывать допустимые равномерно распределенные нагрузки (при расстоянии между местами крепления 3 м) на данные короба, приведенные в табл. 6.

5.13. Последовательность операций по монтажу электропроводок в коробах ОП приведена в табл. 7.

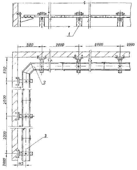
5.14. Короба КЛ-1 и КЛ-2 следует крепить непосредственно к потолкам с помощью скоб потолочных КЛ-СП, подвешивать на тросах КЛ-ПТ между колоннами и фермами (рис. 36).

Таблица 6

Допустимые равномерно распределенные нагрузки на короба

Сечение короба, мм

Допустимая нагрузка от проводов и кабелей, кН/м

6070

0,07

10050

0,10

150100

0,25

200100

0,30

5.15. Соединение секций коробов между собой производят винтами.

При прокладке электропроводок в коробах КЛ-1 и КЛ-2 непосредственно к ним производят однорядную и двухрядную подвеску люминесцентных светильников (рис. 37).

Держатели для однорядной и двухрядной подвески светильников могут перемещаться вдоль короба, что дает возможность подвешивать светильники в любом месте короба. Светильники следует подвешивать к держателям на подвесках с карабином.

5.16. Короба КЛ-1 и КЛ-2 изготовляются секциями длиной по 2 м.

Короба должны собираться на полу в линию необходимой длины со всеми элементами, затем подниматься в готовом виде на заданную отметку и закрепляться на заранее установленные опорные конструкции (рис. 38, 39).

Каждые 10 коробов КЛ-1 обеспечивают подвеску 15 светильников, а коробов КЛ-2 - 30 светильников.

5.17. В местах выхода из коробов провода и кабели должны быть защищены от повреждений о края короба втулками, подмоткой липкой изоляционной лентой или изоляционными трубками, а ввод проводов и кабелей в короб должен осуществляться через вводные устройства (рис. 40 - 44).

5.18. Провода и кабели, как правило, должны заготовляться на технологических линиях и доставляться на монтаж на инвентарных барабанах.

Примеры технологической линии по заготовке проводов и кабелей в МЭЗ приведены на рис. 23, 45.

Таблица 7

Монтаж электропроводок в коробах общего применения (ОП)

Наименование операции

Содержание работ

Применяемые электромонтажные изделия

Применяемые инструменты, механизмы в приспособления

Примечания

наименование

индекс

Первый этап работ

Сборка укрупненных блоков

Сборка блоков из прямых, угловых, тройниковых и крестообразных секций. Маркировка блоков в соответствии с указаниями ППР

 

 

 

Операции выполняются в МЭЗ

Заготовка проводов и кабелей

Мерная резка проводов и кабелей. Снятие изоляции с проводов и кабелей. Скручивание, подрезка, сварка и контроль правильности соединения жил проводов до 6 мм2, изолирование мест соединений и установка ответвительных сжимов

Сжим ответвительный

У731М, У733М, У734М, У739М, У859М, У870М - У872М

Механизм мерной резки, механизм для снятия изоляции; сварочный аппарат; пробник для прозвонки

То же

Заготовка пучков проводов, прозвонка и маркировка

Заготовка пучков проводов. Прозвонка и маркировка жил многожильных проводов и кабелей

Бирка маркировочная

У134, У153, У136

 

Операции выполняются в МЭЗ

Оконцеватель

А671, У541

 

Маркировка жил проводов, кабелей и пучков проводов и кабелей

Трубка ХВТ

 

 

Бухтование

Бухтование проводов, кабелей и пучков проводов на вертушке, маркировка бухт и укладка их в контейнеры

Полоска

К404, К405

Вертушка, контейнер

То же

Пряжка

К407

Полоска-пряжка

К395 - К398

Лента с монтажной кнопкой

К226, К227

Бирка

У134, У153, У136

Разбивка трасс

Нанесение краской на строительных элементах отметок мест установки опорных конструкций

 

 

 

Операции выполняются на трассе

Подготовка трасс к прокладке коробов

Пробивка отверстий, гнезд, проемов, не выполненных в процессе строительства. Установка опорных конструкций

Дюбель пластмассовый

У656, У658, У661, У678, У663

Перфоратор; электросверлилка; ключ К1156

То же

Дюбель-гвоздь

 

Доставка укрупненных блоков и отдельных секций коробов и заготовок проводов и кабелей

Доставка в монтажную зону контейнеров с укрупненными блоками, кассет, барабанов или бухт с проводами и кабелями. Развозка или разноска по трассе к месту их прокладки

 

 

Автомобиль-самопогрузчик; контейнер; вертушка

Операции выполняются на трассе

Второй этап работ

Установка опорных конструкций на проектной отметке: на железобетонных фермах

Установка и закрепление кабельных стоек (на железобетонных фермах) с помощью обхватывающих конструкций

Полухомут

 

Подъемные устройства для работы на высоте

При заготовке в МЭЗ конструкций из монтажных профилей или блоков из кабельных стоек и полок (или монтажных профилей)

Обхватывающие конструкции

 

Шпильки

К122, К123

Кабельные стойки

К1150 - К1154

на железобетонных колоннах

Установка и закрепление кабельных стоек:

а) с помощью обхватывающих конструкций

Полухомут

 

 

 

Обхватывающие конструкции

 

 

 

Шпильки

К122, К123

 

 

Кабельные стойки

К1150 - К1154

 

 

 

б) дюбелями

Кабельные стойки

К1150 - К1154

 

 

Скоба

К1157

 

 

Дюбель-гвоздь

Дюбель-винт

 

Поршневой монтажный пистолет П1152-1

 

Дюбель - пластмассовый

У656, У658, У661, У678, У663

Электрические и пневматические сверлилки с применением твердосплавного инструмента; набор инструментов НЭ

 

на металлоконструкциях

Установка и закрепление кабельных стоек с помощью сварки

Кабельные стойки

К1150 - К1154

Сварочный аппарат

 

Скоба

К1157

 

 

Подвеска коробов на тросах между колоннами или фермами с помощью обхватывающих конструкций

Муфта натяжная

К798, К804

 

Расстояния между опорными конструкциями не более 3 м

Зажим

К296

 

Зажим тросовый

К676

 

Установка опорных конструкций на полу

Установка комплектных стоек с помощью анкерных болтов

 

 

 

 

Установка кабельных полок

Установка и закрепление полок к кабельным стойкам

Полки

Ключ

К1160 - К1163

К1156

 

В случае раздельной доставки на монтаж

Установка коробов на опорных конструкциях

Поднятие двух секций на опорные конструкции

Короба

У1079 - У1089,

У1090 - У1098

Подъемные механизмы для работы на высоте. Набор инструментов НЭ

 

Соединение смежных секций или блоков между собой

Соединитель

 

Набор гаечных ключей

 

Закрепление коробов к опорным конструкциям

Скоба

У1078, У1059

 

 

Операции повторить с последующими блоками

 

 

 

 

Прокладка проводов и кабелей

Размотка проводов и кабелей с инвентарных барабанов

 

 

Вертушка

 

Укладка проводов и кабелей в короб

 

 

 

 

Подсоединение проводов и кабелей к электроприемникам

 

 

 

 

Примечание. В отдельных случаях опорные конструкции из монтажных профилей или кабельных стоек и полок целесообразно крепить к коробам (блокам коробов) в МЭЗ или на монтажной площадке, а затем производить установку этой сборной конструкции на строительное основание.

Рис. 36. Крепление коробов с люминесцентными светильниками

а - на тросовых подвесках КЛ-ПТ; б - на потолке с помощью скоб КЛ-СП

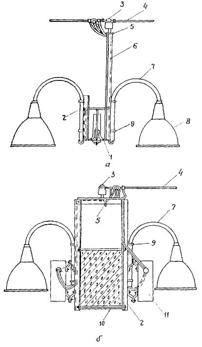
Рис. 37. Короб для подвешивания люминесцентных светильников

а - короб со светильниками; б - разрез по А-А короба КЛ-1 с держателем для однорядной подвески; в - разрез по А-А короба КЛ-2 с держателем для двухрядной подвески;

1 - планки; 2 - винт для присоединения заземляющего (зануляющего) проводника; 3 - ответвительный зажим; 4, 7 - держатели для однорядной и двухрядной подвески светильников; 5 - короб КЛ-1 или КЛ-2; 6 - светильники


Рис. 38. Схема подъема коробов с люминесцентными светильниками, собранных в линию длиной до 24 м

1 - лебедка; 2 - инвентарные ролики на конструкциях; 3 - трос диаметром 6 мм; 4 - инвентарные ролики на коробах; 5 - козлы металлические для сборки секций коробов и подвески к ним светильников

Рис. 39. Подъем участка линии коробов с помощью гидроплатформы


Рис. 40. Ввод кабелей в короб

а - сверху; б - снизу;

1 - втулка; 2 - кнопка К227; 3 - лента К226; 4 - кабель; 5 - подвес; 6 - скоба; 7 - короб; 8 - сталь тонколистовая; 9 - болт; 10 - гайка, 11 - шайба пружинная

Рис. 41. Ввод проводов в торце короба двумя гибкими вводами

1 - короб; 2 - вводная муфта

Рис. 42. Ввод проводов в короб сверху одним гибким вводом

1 - подвес; 2 - гибкий ввод; 3 - заземляющая гайка; 4 - короб

Рис. 43. Ввод кабеля в торце короба

а - одним кабелем; б - двумя кабелями;

1 - короб; 2 - втулка

Рис. 44. Ввод проводов в торце короба одним гибким вводом

1 - короб; 2 - вводная муфта

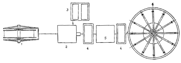
Рис. 45. Схема технологической линии заготовки проводов освещения

1 - шкаф-стеллаж; 2 - механизм мерной резки; 3 - карусельный накопитель; 4 - механизм для скрутки жил проводов; 5 - механизм для снятия изоляции и загиба колец на жилах провода; 6 - шкаф-стеллаж; 7 - контейнер; 8 - устройство для подъема барабанов

6. ТРОСОВЫЕ ЭЛЕКТРОПРОВОДКИ

6.1. Тросовые электропроводки применяются в основном в промышленных зданиях с перекрытиями, поддерживаемыми фермами и часто расположенными балками. Применяются для силовых и осветительных сетей, на тросах проводки подвешивают и светильники.

6.2. Тросовые электропроводки следует выполнять проводами APT и АВТ, в которых несущий трос вмонтирован в провод, кроме того, они выполняются проводами и кабелями, закрепляемыми к несущему стальному тросу (канату или проволоке), имеющему защитное покрытие, непосредственно бандажами.

6.3. В качестве несущих тросов должны применяться стальные канаты диаметром 3 - 6,5 мм. Допускается применение обычной стальной оцинкованной проволоки или имеющей лакокрасочное (или полимерное) защитное покрытие горячекатаной проволоки (катанки) диаметром 5 - 8 мм. При отсутствии антикоррозийного покрытия все металлические части тросовых проводок должны иметь противокоррозийную смазку.

6.4. Концевые крепления тросов к строительным элементам зданий должны выполняться с помощью тросовых анкеров К675, К809Б, АОК-500, закрепляемых сваркой, болтами или с помощью обхватывающих конструкций (рис. 46).

6.5. Для натяжения троса должны применяться натяжные муфты К798, К804, К805, НМ-500.

6.6. Концевые крепления троса к анкеру или натяжному устройству должны выполняться с помощью тросового зажима К676; ЗТ-5КП и стальной обоймы-коуша (рис. 47).

6.7. Для разгрузки троса и уменьшения стрелы провеса применяют промежуточные вертикальные подвесы, которые располагают в местах установки ответвительных коробок, штепсельных разъемов, светильников. В качестве вертикальных поддерживающих подвесов применяют струны из стальной оцинкованной проволоки диаметром 1,5 - 2 мм или подвесы крепления ПСК и подвесы концевого крепления ПКК (для кабелей сечением 16 мм2). Для удержания троса на промежуточных участках (для соединения проволочных подвесов, растяжек, оттяжек и т.п. с несущим тросом) должны применяться зажимы К296.

6.8. Крепление троса к балкам, фермам, колоннам и перекрытиям должно выполняться с помощью обхватывающих конструкций, дюбелей, крюков, шпилек и серег К1016, закрепляемых между уголками ферм или между плитами перекрытий поворотом и заклиниванием в щели (рис. 48).

Для крепления светильников к тросовым коробкам У245, У246 применяется крюк У247.

6.9. Тросы натягивают так, чтобы стрела провеса троса в пролетах между креплениями была в пределах 1/40 - 1/60 длины пролета. Этому требованию при пролетах троса 6 и 12 м удовлетворяют стрелы провеса соответственно 100 - 150 и 200 - 250 мм. Указанного соотношения рекомендуется придерживаться и при других пролетах.

6.10. Сращивание тросов в пролете между концевыми креплениями не допускается.

6.11. Крепление проводов и кабелей к тросу должно выполняться бандажными полосками К404, К405 с пряжками К407, полосками-пряжками К395, К396, К397, К398 или лентой К226 с кнопкой К227 через 0,5 м.

Рис. 46. Концевые крепления троса и катанки

а - к колонке; б - к кирпичной стене

Рис. 47. Концевая петля на стальном канате, полученная с помощью зажима и коуша

Рис. 48. Промежуточные крепления троса или катанки

а - к колонне; б - к сборным перекрытиям; в - к железобетонной балке; г - к металлической ферме; д - к железобетонной ферме; е - к монолитному перекрытию; ж - к пустотному перекрытию

6.12. Провода и кабели, закрепляемые на тросах, в местах перехода их на стены и другие конструкции зданий не должны иметь механических напряжений.

6.13. В местах пересечения тросовой электропроводки с температурными и осадочными швами компенсирующие устройства не предусматриваются.

6.14. Для ответвлений от тросовых проводок, выполненных трех- или четырехжильным кабелем, должны применяться тросовые коробки У245 и У246; для ответвлений от тросовых проводок, выполненных проводом АРГ, должны применяться тросовые коробки У230 и У231; для протяжки и ответвления проводов должны применяться тройниковые ответвительные коробки КТО-20, КТО-25, КТО-40, КТО-50; для выполнения разъемных присоединений светильников следует применять ответвительную коробку У25 (рис. 49, а); указанные типы коробок обеспечивают создание петли троса и запаса жил, необходимого для присоединения отходящей линии с помощью ответвительных сжимов.

6.15. Ответвления к светильникам и силовым электроприемникам должны выполняться в ответвительных коробках при непосредственном креплении проводов и кабелей к тросу (рис. 49, б - г). Тросовая электропроводка в межферменном пространстве показана на рис. 49, д.

6.16. Заготовка тросовых электропроводок должна производиться в МЭЗ; электропроводки должны доставляться на место монтажа в бухтах или на инвентарных барабанах.

6.17. Технологическая линия сборки тросовых электропроводок должна предусматривать следующие операции: а) правку катанки; б) окраску или покрытие полимером, если используется катанка без защитных покрытий; в) мерную резку проводов; г) снятие изоляции; д) скрутку и отрезку жил проводов; е) сварку жил проводов; ж) сборку и комплектацию электропроводки; з) намотку на инвентарные барабаны.

Пример технологической линии по заготовке тросовых электропроводок приведен на рис. 50.

6.18. Последовательность операций по монтажу тросовых электропроводок приведена в табл. 8.

Рис. 49. Тросовая электропроводка

а - коробка ответвительная У257 для выполнения разъемных присоединений светильников к магистральной осветительной сети; б - узел ответвления к светильнику; в - пример подвески и подключения светильника при выполнении тросовых электропроводок с помощью подвеса; г - общий вид электропроводки; д - электропроводка в межферменном пространстве

Рис. 50. Схема технологической сборки тросовых электропроводок

1 - инвентарный барабан; 2 - мерно-подающее устройство; 3 - магазин для провода; 4 - вспомогательное устройство; 5 - стенд для обработки проводов; 6 - вертушка приемная


Таблица 8

Монтаж тросовых электропроводок

Наименование операции

Содержание работ

Применяемые электромонтажные изделия

Применяемые инструменты, механизмы и приспособления

Примечания

наименование

индекс

Первый этап работ

Заготовка проволоки

Размотка проволоки с бухт на размоточном столе, мерная резка, правка, очистка и покраска, сматывание обработанной проволоки

 

 

Вертушка

Операции выполняются в МЭЗ

Заготовка проводов

Мерная резка проводов и кабелей, снятие изоляции, скручивание, сварка, контроль правильности соединения жил проводов

Сжим ответвительный

У731М, У733М, У734М, У739М, У859М, У870М - У872М

Тянущее устройство; механизм мерной резки; стол-верстак; сварочный аппарат; пробник для прозвонки

То же

Сборка тросовых линий

Натяжка проволоки, закрепление на ней проводов или кабелей с прокладкой между незащищенными проводами и кабелями и проволокой изоляции толщиной не менее 0,3 мм; установка ответвительных коробок, светильников1, присоединение их к линии и изоляция места соединения, присоединение концов проволоки к заземляющим проводникам. Прозвонка и замер сопротивления изоляции

Коробка ответвительная

У257, У245, У246, У230, У231, У409, КОР-73

 

Операции выполняются в МЭЗ

Зажим с коушем

 

 

Гильза ГАО

 

 

Лента с кнопкой

К226, К227

Мегомметр;

Полоска

К404, К405

пробник для

Пряжка

К407

прозвонки;

Полоска-пряжка

К395 - К398

стол-верстак

Подвес

К354

 

Бухтование линий

Сматывание тросовых линий в бухты

 

 

Вертушка

 

Разбивка трасс

Нанесение краской на строительные элементы отметок мест установки анкеров для концевых креплений троса, вертикальных подвесок и т.п.

 

 

 

Операции выполняются на трассе

Подготовка трассы к прокладке тросовых проводок

Пробивка проемов, отверстий и гнезд, не выполненных в процессе строительства. Установка анкеров (проходных анкеров) для концевых креплений троса, конструкций для крепления подвесок и их закрепление

Анкер проходной

К809Б

Перфоратор; электросверлилка; сварочный аппарат

Операции выполняются на трассе

Анкер

К675

Серьга

К1016

Дюбель пластмассовый

У663

Доставка тросовых заготовок на трассу

Доставка в монтажную зону вертушек-кассет, барабанов или бухт. Разноска заготовок по трассе к месту их прокладки. Раскатка заготовленных комплектов линий по трассе

 

 

Автомобиль-самопогрузчик; контейнер; вертушка

То же

Второй этап работ

Установка закладных деталей

Замоноличивание закладных деталей или приварка к арматуре

 

 

Сварочный аппарат

Установка замоноличиваемых закладных деталей должна предусматриваться строительной частью проекта и выполняться строительными организациями

Установка концевых креплений троса, промежуточных подвесов и растяжек

Установка концевого крепления:

 

 

 

 

а) к колонне

Обхватывающая конструкция

 

Подъемные устройства для работы на высоте

 

Муфта натяжная

К804

 

б) к кирпичной стене

Анкер проходной

К809

Электрические и пневматические сверлилки твердосплавного инструмента. Сварочный аппарат. Набор инструментов НКИ-3

Допускается приварка анкеров к обхватывающим конструкциям

Муфта натяжная

К804

в) к железобетонной перегородке

Анкер

К675

Муфта натяжная

К804

Болты сквозные

 

Установка промежуточного крепления (подвеса):

 

 

 

 

а) к железобетонной балке

Закреп

 

Муфта натяжная

К798

Зажим

К296

б) к металлической ферме

Серьга

К1016

Зажим тросовый

К676

Муфта натяжная

К798

Зажим

К296

Изделия УкрГЭМ

Обхватывающая конструкция

 

в) к железобетонной ферме

Обхватывающая конструкция

 

 

Изделия УкрГЭМ

Муфта натяжная

К798

Зажим

К296

г) к монолитному перекрытию

Анкер

К675

Муфта натяжная

К798

Зажим

К296

Дюбеля

У661

д) к пустотному перекрытию

Анкер

К675

Муфта натяжная

К798

Зажим

К296

е) к колонне

Обхватывающая конструкция

 

ж) к сборным перекрытиям

Закладная деталь

 

Серьга

К1016

Муфта натяжная

К798

Зажим

К296

 

з) установить растяжки (устройство против раскачивания линий, подвешиваемых поперек ферм)

См. установку концевых креплений троса, промежуточных подвесов и растяжек

 

 

Крепление растяжек производится аналогично креплению промежуточных подвесов. Число растяжек должно быть определено проектом (п. 5.19 СНиП III-33-76)2

Подготовка линии к подъему

Размотка заготовленных комплектных линий по трассе. Закрепление (временное) линии на высоте 1,2 - 1,5 м (осмотр, выравнивание линии, проверка крепления кабеля к тросу, установка стекол светильника)2

Проверить линии на световой эффект2

 

 

Автокран

Автомашина бортовая

Приспособление для закрепления тросовых линий на высоте 1,2 - 1,5 м

 

Подъем линии на проектную высоту

Закрепление одного конца несущего троса в анкерном устройстве

Натяжение (предварительное) несущего троса Закрепление (предварительное) троса на промежуточных подвесах

Зажим тросовый

Коуш

К676

Подъемный механизм для работы на высоте. Лебедка ручная для натяжения тросовых проводок

 

Натяжение второго конца троса к натяжному устройству и его закрепление

Натяжение троса (окончательное) с помощью муфт.

Установка на место промежуточных креплений и фиксирование их

 

 

Набор инструментов НКИ-3

 

Установка устройства против раскачивания

Установка растяжек, предусмотренных проектом

 

 

 

 

Установка осветительной арматуры

Закрепление светильников к фермам и присоединение их к линии2

 

 

 

 

 

Присоединение линии к магистрали

Сжимы ответвительные

У730М, У733М, У734М, У739М

 

При большой массе светильников установка их и натяжка троса производятся раздельно

Присоединение магистрали к осветительному щитку

 

 

Набор инструментов НКИ-3

 

Проверка линии

Прозвонка и замер величины сопротивления изоляции линии

 

 

Мегомметр на 1000 В

 

Проверка линии на световой эффект

 

 

Пробник для прозвонки

 

1 - При монтаже линий в межферменном пространстве светильники устанавливаются по месту

2 - При монтаже в межферменном пространстве.


7. ЭЛЕКТРОПРОВОДКИ, ПРОКЛАДЫВАЕМЫЕ НЕПОСРЕДСТВЕННО ПО ОСНОВАНИЯМ

7.1. Провода и кабели следует прокладывать непосредственно по поверхности стен или на полосах, лентах и струнах.

7.2. Расстояние между точками крепления проводов и кабелей должны быть не менее 500 мм при горизонтальной прокладке и 1000 мм - при вертикальной.

7.3. Провода и кабели, прокладываемые непосредственно по основаниям, должны быть закреплены у проходов и вводов в коробки, аппараты и т.п. на расстоянии 50 - 100 мм от края коробки, от прохода и т.д. и на изгибах с обеих сторон на расстоянии 10 - 15 мм от начала изгиба.

7.4. Защитные конструкции (например, трубы, кожухи, уголки) проходов проводов и кабелей через перекрытия должны выступать из перекрытий на высоту не менее 1,5 м от уровня пола, а из потолка нижнего этажа - за края отверстия. В электротехнических помещениях допускается не делать такую защиту проводов и кабелей.

7.5. При прокладке проводов и кабелей непосредственно по основаниям должны применяться следующие крепления:

а) скобы металлические с одной или двумя лапками, которые крепятся болтами, винтами, шурупами (К142 - К145, К252 - К254, К729 - К740) или пристрелкой (К146п - К148п) (рис. 51, а).

При горизонтальной прокладке одиночных проводов или кабелей должны применяться скобы с одной лапкой, которая располагается ниже провода или кабеля.

Скобы с двумя лапками должны применяться при прокладке: вертикальной по стенам, по потолкам, пучков проводов или кабелей, а также на углах и у вводов.

Скобы на поворотах устанавливаются перпендикулярно осевой линии провода, кабеля или пучка;

б) скобки пластмассовые У641, У642 для крепления плоских проводов и кабелей сечением до 6 мм2, которые рекомендуется закреплять дюбелями (рис. 51, б);

в) полоски-пряжки К395 - К398 для крепления одиночных проводов или пучков к опорным конструкциям;

г) полоски К404, К405 с пряжкой К407 для крепления одиночных проводов или пакетов к опорным конструкциям (рис. 51, в).

Полоска может быть приварена к стальным конструкциям точечной сваркой;

д) закрепы-кнопки Л111 для крепления плоских проводов АППВ и ППВ на кнопку закрепа;

е) закрепы-пряжки Л112 для крепления проводов и кабелей при помощи полосок, лент и т.п. (рис. 51, г).

7.6. Закрепы приклеиваются клеем БМК-5К к основаниям. Скобы, скобки, полоски закрепляются к основаниям дюбелями-гвоздями ручной забивки, пластмассовыми дюбелями.

Рис. 51. Крепление проводов и кабелей непосредственно по основаниям

а - металлической скобой; б - пластмассовой скобкой; в - металлической полоской и пряжкой; г - перфорированной лентой и кнопкой;

1 - дюбель; 2 - закреп-пряжка Л112, приклеенная к основанию

7.7. В качестве несущих стальных полос применяются (рис. 52):

а) полоса монтажная перфорированная;

б) лента горячекатаная или холоднокатаная стандартная.

7.8. Полосы и ленты должны закрепляться вплотную к основанию по всей длине трассы, за исключением углов поворота. Расстояния между точками крепления полосы к основанию должны составлять 0,8 - 1 м.

Расстояние от концов отрезка полосы до крайних точек ее крепления должно быть не более 50 - 70 мм. При последовательном закреплении отрезков полос по трассе разрывы между ними не допускаются. Соединение полос между собой следует выполнять сваркой.

Рис. 52. Прокладка кабеля по основаниям

а - по стальной полосе; б - по стальной проволоке (катанке)

7.9. Крепление полос к основанию производится дюбелями-гвоздями с помощью строительно-монтажного пистолета или дюбелями-гвоздями ручной забивки. Возможно также применение пластмассовых дюбелей.

К металлическим основаниям, конструкциям и закладным деталям полосы привариваются.

7.10. В качестве несущей проволоки может применяться горячекатаная оцинкованная или окрашенная проволока (катанка) диаметром 5 - 8 мм, закрепляемая к основанию по всей длине трассы.

Крепление концов проволоки к основанию выполняется с помощью концевых анкерных пластинок размерами 20100 мм (толщиной 2 мм), к которым проволока приваривается при заготовке.

Помимо концевых креплений, проволока должна крепиться к основанию в промежуточных точках с помощью таких же пластин, приваренных к проволоке при заготовке, либо пластин-накладок или скоб, прижимающих проволоку к основанию.

Анкерные и промежуточные пластины должны иметь защитное покрытие.

Крепление пластин выполняется дюбелями-гвоздями с помощью строительно-монтажного пистолета или дюбелями-гвоздями ручной забивки.

Возможно применение пластмассовых дюбелей, для чего пластины заготавливаются с соответствующими отверстиями.

К металлическим основаниям, конструкциям и закладным деталям проволока крепится сваркой.

На одной несущей полосе или проволоке может быть закреплено несколько проводов или кабелей.

7.11. Крепление проводов или кабелей к полосе, проволоке должно выполняться полосками с пряжками или перфорированной лентой К226 с кнопками К227.

7.12. Стальная проволока (струна) при креплении проводов и кабелей на ней должна натягиваться и закрепляться вплотную к основанию.

Для натягивания струны необходимо применять натяжное устройство лебедочного типа. Кроме того, струна должна закрепляться к основанию с помощью угловых (на поворотах трассы) и промежуточных креплений. На концах струны закрепляются с помощью натяжных устройств или без них (с помощью концевой петли).

7.13. Концевое крепление струн на спусках и ответвлениях необходимо совмещать с промежуточным креплением магистральной струны, ответвительной коробки и, с другой стороны, с креплением выключателя, розетки, аппарата и т.д.

7.14. При диаметре струн до 3 мм длине участков проводки до 20 м и сечении проводов и кабелей 2,5 - 4 мм концевые петли струн и натяжные устройства допускается закреплять непосредственно на одном дюбеле-гвозде, забиваемом строительно-монтажным пистолетом, или дюбеле-гвозде ручной забивки (не для кирпичных оснований), либо на пластмассовом дюбеле, выступающем из основания на 5 мм (не считая высоты шляпки или головки) для закрепления концевой петли или 10 мм для закрепления натяжного устройства.

В остальных случаях при применении натяжных устройств концевые крепления струн должны выполняться в виде анкерных пластинок с отверстиями, закрепляемых на основании двумя дюбелями. На оштукатуренных кирпичных основаниях для крепления пластинок следует применять пластмассовые дюбеля.

Промежуточные крепления струны без натяжного устройства должны выполняться обертыванием ее вокруг выступающей из основания головки дюбеля-гвоздя или пластмассового дюбеля, а с натяжным устройством с помощью скобок либо привязкой струны проволокой к головке выступающего из основания дюбеля или шурупа.

7.15. Крепление проводов и кабелей к струне должно производиться лентой К226 с кнопкой К227 при расстоянии между точками крепления 500 мм.

7.16. Максимально допустимое количество проводов и кабелей в пакете, закрепленном на одной струне, определяется по механической прочности струны (см. приложение 3).

7.17. Непосредственно на струне диаметром не менее 3 мм, закрепленной к потолку, может быть подвешена осветительная арматура массой до 20 Н.

7.18. Ответвительные коробки могут быть закреплены как на струне, так и на основании.

7.19. Струну при прокладке электропроводок по перекрытиям с ребристыми плитами необходимо закреплять на концах с помощью пластинок-клиньев с ушками (отверстиями), забиваемых в щели между ребрами плит. Промежуточные крепления струны в этом случае могут выполняться с помощью крючков, забиваемых в щели между плитами, либо скоб или пластинок, закрепляемых на дюбелях (рис. 53).

7.20. Последовательность операций по монтажу электропроводок по основаниям приведена в табл. 9.

Рис. 53. Прокладка струны по перекрытию из ребристых плит

Таблица 9

Монтаж проводов и кабелей непосредственно по основаниям

Наименование операции

Содержание работ

Применяемые электромонтажные изделия

Применяемые механизмы и приспособления

Примечания

наименование

индекс

Первый этап работ

Заготовка проводов и кабелей

Мерная резка проводов и кабелей. Снятие изоляции с проводов и кабелей. Скручивание, подрезка, сварка и контроль правильности соединения жил проводов до 6 мм2, изолирование мест соединений и установка ответвительных сжимов

Сжим ответвительный

У731М, У733М, У734М, У739М, У859М, У870М - У872М

Механизм мерной резки; механизм снятия изоляции; сварочный аппарат; пробник для прозвонки

Операции выполняются в МЭЗ

Заготовка пучков проводов, прозвонка и маркировка

Заготовка пучков проводов. Прозвонка и маркировка многожильных проводов и кабелей. Маркировка проводов, кабелей и пучков проводов и кабелей

Бирка маркировочная

У134, У153, У136

Пробник для прозвонки

То же

Оконцеватель

У541, А671

 

 

Трубка ПХВ

Бухтование

Бухтование проводов, кабелей и пучков проводов. Маркировка бухт и укладка их в контейнеры

Полоски

К404, К405

Вертушка; контейнер

Операции выполняются в МЭЗ

Пряжка

К407

Полоска-пряжка

K395 - K398

Лента монтажная с кнопкой

K226, К227

Бирка маркировочная

У134, У153, У136

Подготовка трассы (включая обеспечение изделиями для крепления мест их установки)

Нанесение краской на строительные элементы осей мест крепления, пробивка отверстий и проемов, которые не были выполнены в процессе строительства, установка изделий для крепления (или их закладных элементов)

Дюбель пластмассовый

У656, У658, У661, У678, У663

Перфоратор, электросверлилка; сварочный аппарат; строительно-монтажный пистолет

Операции выполняются на трассе

Дюбель-гвоздь

 

Дюбель-винт

 

Муфта натяжная

K798, K804, К805

Транспортировки проводов и кабелей

Доставка в монтажную зону заготовленных проводов и кабелей, уложенных в контейнеры, и развозка их по трассе

 

 

Автомобиль-самопогрузчик; контейнер; вертушка

То же

Подготовительные работы в монтажной зоне

Раскатка доставленных проводов и кабелей на полу вдоль трассы

 

 

Вертушка

-"-

Второй этап работ

Установка стальной полосы (ленты) или проволоки (катанки)

Закрепление полосы (ленты) или катанки к основанию

Дюбель-гвоздь

 

Строительно-монтажный пистолет

Оправка ОПКМ; ручные пробойники ПО-1 и ПО-2.

Электрические и пневматические сверлилки и специальные сверла из твердых сплавов.

Набор инструментов НЭ

Катанку перед закреплением выровнять

Дюбель-винт

Дюбель пластмассовый

У656, У658, У661, У678, У663

Установка стальной проволоки (струны)

Закрепление одного конца струны на основании.

Установка и закрепление на другом конце трассы натяжного устройства.

См. предыдущую операцию

-"-

 

Подъемные устройства для работы на высоте

Натяжные устройства струн применяются на протяженных участках

Натяжение струны (предварительно).

Закрепление промежуточных креплений.

 

 

Разводной ключ

 

Окончательное натяжение струны с помощью натяжного устройства

 

 

 

 

Установка отдельных креплений

Предварительное закрепление металлических скоб с зазором, обеспечивающим установку под них проводов или кабелей

Скобы однолапковые

К252 - К254

См. "Установка стальной полосы или проволоки"

Крепление металлических скоб, полосок, пластмассовых скобок и закрепов производится дюбель-гвоздями (винтами) и дюбелями (с пластмассовой гильзой)

Скобы двухлапковые

К146п - К148п,

K142 - K145,

K729 - K740

Предварительное закрепление пластмассовых скобок с зазором, обеспечивающим установку под них проводов или кабелей

Скобки

У641, У642

Закрепление металлических полосок (полосок-пряжек)

Полоски

К404, К405

См. "Установка стальной полосы или проволоки"

Полоски-пряжки

К395, К398

Установка закрепов-пряжек (закрепов-кнопок):

Закреп-пряжка

Л112

Набор инструментов НЭ

Закреп-кнопка

Л111

а) зачистить основание в месте установки закрепа

 

 

 

б) смазать основание и закреп клеем

Клей

БМК-5К

 

в) закрепить закреп к основанию

 

 

 

Монтаж проводов и кабелей

Выравнивание провода или кабеля по всей длине трассы.

Полоски

К404, К405

 

В случае необходимости подложить под провод и кабель эластичные изоляционные прокладки

Пряжка

К407

Полоски-пряжки

К395 - К398

Закрепление провода или кабеля к основанию

Перфорированная лента с кнопкой

К226, К227

Укладка проводов или кабелей под скобы (скобки)

Скобы однолапковые

К252 - К254

Окончательное закрепление скобы (скобки)

Скобы двухлапковые

К146п - К148п,

К142 - К145,

К729 - К740

Скобки

У641, У642

8. ЭЛЕКТРОПРОВОДКИ НА ИЗОЛЯТОРАХ

8.1. Электропроводки на изоляторах применяются в редких случаях, преимущественно в производственных и складских помещениях (в том числе в животноводческих комплексах), для прокладки по стенам, потолкам и нижнему поясу ферм.

8.2. На изоляторах прокладывают провода с алюминиевыми жилами сечением не менее 2,5 мм2 и с медными - не менее 1,5 мм2.

8.3. Электропроводки на изоляторах ТФ выполняются изолированными незащищенными проводами. Изоляторы должны быть закреплены на штырях - шпильках или на специальных конструкциях: металлических траверсах, снабженных крепежными элементами, предназначенными для крепления с универсальной стойкой К120.

На железобетонных фермах стойки К120 должны закрепляться шпильками К122 и К123, а при установке на металлических фермах монтироваться на основании К127 (рис. 54).

8.4. Конструкции, устанавливаемые на стенах, должны закрепляться к закладным деталям с помощью болтов или сваркой, пристрелкой и на распорных дюбелях.

8.5. Крепление проводов на изоляторах должно производиться привязкой вязальной проволокой.

8.6. Ответвления должны выполняться вблизи изоляторов с помощью ответвительных сжимов У731М, У733М, У734М, У739М, У859М, У870М - У872М в пластмассовом корпусе.

8.7. Расстояния между осями параллельно проложенных на изоляторах незащищенных проводов должны быть не менее:

70 мм при сечении проводов до 25 мм2;

100 мм при сечении проводов до 35 - 50 мм2;

150 мм при сечении проводов более 50 мм2.

8.8. При пересечениях незащищенных проводов должны соблюдаться указанные наименьшие расстояния. Если эти расстояния мене указанных для наибольшего сечения пересекающихся линий, то на одну из них должен быть надет и закреплен во избежание перемещения отрезок неразрезанной изоляционной трубки, либо провода одной из линий должны прокладываться в месте пересечения в изоляционных трубах, закладываемых в борозды (скрыто).

При пересечениях незащищенных проводов с защищенными указанные меры защиты должны выполняться при расстояниях между проводами в свету менее 10 мм.

8.9. При переходе проводов с одной поверхности на другую (на углах) изоляторы должны устанавливаться на расстоянии от смежных стен, равном 1,5 - 2-кратной высоте изолятора. На таком же расстоянии от проходов через стены должны устанавливаться концевые изоляторы.

8.10. Проходы проводов через стены должны быть выполнены в неразрезанных изоляционных трубках.

8.11. Проход проводов через перекрытия должен выполняться в трубах или проемах. Допускается применение для этой цели изоляционных труб, проложенных в стене (в борозде, под штукатуркой).

Рис. 54. Электропроводки на изоляторах

а - на металлических фермах; б - на железобетонных балках;

1 - основание закрепа К127; 2 - стойка К121; 3 - изолятор; 4 - провода; 5 - траверса; 6 - стойка универсальная К120; 7 - кронштейн К986; 8 - светильник; 9 - хомутик С437; 10 - шпилька К123; 11 - пускорегулирующий аппарат

Таблица 10

Монтаж электропроводок на изоляторах

Наименование операции

Содержание работ

Применяемые электромонтажные изделия

Применяемые механизмы и приспособления

Примечания

наименование

индекс

Подготовительные работы

Проверка комплектации монтируемых изделий

 

 

 

 

Установка опорных конструкций

Закрепление траверсы с изоляторами:

Траверсы

 

Подъемные устройства для работы на высоте

 

а) на железобетонной ферме

Стойка универсальная

К120

Шпильки

К122, К123

б) на металлической ферме

Стойка универсальная

К120

Набор инструментов электромонтажника НЭ

в) на стенах

Основание закрепа

Дюбель-гвоздь

Закладные детали

Дюбель-винт

К127

Набор гаечных ключей

 

 

Дюбель пластмассовый

У661, У663

Поршневой монтажный пистолет ПЦ52-1.

Электрические и пневматические сверлилки с применением твердосплавного инструмента.

Сварочный аппарат

 

Монтаж магистральных проводов

Размотка бухты и правка провода

 

 

Вертушка

 

Закрепление провода на изоляторах в начале линий

 

 

Набор инструментов НЭ

 

Последовательное натяжение проводов и закрепление их на изоляторах

 

 

 

 

Выполнение ответвления от магистральных проводов

Сжим ответвительный

У731М, У733М,

У734М, У739М,

У859М, У870М,

У871М, У872М

 

 

8.12. Изоляционные трубы в проходах и обходах должны быть цельными (без разрыва) и заподлицо с наружными краями втулок и воронок.

8.13. Последовательность операций по монтажу электропроводок на изоляторах приведена в табл. 10.

9. ЗАЗЕМЛЕНИЕ

9.1. К элементам открытых беструбных электропроводок, подлежащим заземлению или занулению, относятся:

а) металлические кабельные конструкции, металлические кабельные соединительные муфты;

б) металлические оболочки и броня кабелей, металлические оболочки проводов;

в) стальные лотки и короба, тросы и стальные полосы (или катанка), на которых укреплены кабели и провода (кроме тросов и полос, по которым проложены кабели с заземленной или зануленной металлической оболочкой или броней), другие металлические конструкции, связанные с устройством электропроводок.

9.2. Заземление выполняется согласно ПУЭ (глава 1.7.), СНиП (глава III-33-76, раздел 11), "Инструкции по устройству сетей заземления и зануления в электроустановках" СН 102-76.

9.3. Не требуется преднамеренно заземлять или занулять металлические скобы, закрепы, отрезки труб в проходах через стены и перекрытия, съемные крышки коробов и другие отдельные детали электропроводок сечением в свету до 100 см2, случайное прикосновение к которым невозможно или крайне затруднено.

9.4. Заземление (зануление) троса тросовых проводов APT и АВТ осуществляется в металлических ответвительных коробках соединением с нулевым или заземляющим проводником.

9.5. Несущие тросы (или катанка) должны заземляться (зануляться) не менее чем в двух точках на концах линии следующими способами:

а) на линиях с нулевым проводом - присоединением несущего троса (или катанки) к этому проводу. При использовании металлических ответвительных коробок присоединение троса к нулевому проводу выполняется в крайних ответвительных коробках, а при прокладке проводов на подвесках и клипах присоединение выполняется с помощью ответвительных сжимов в пластмассовом корпусе снаружи у крайних ответвительных коробок линий;

б) на линиях с изолированной нейтралью - присоединением несущего троса к круглой или плоской шине, соединенной с контуром заземления, с помощью свободного конца концевой петли несущего троса (или катанки), оставляемого при заготовке тросовой линии.

Если несущий элемент выполнен из стальной проволоки, то удлиненный свободный конец петли приваривается непосредственно к шине, а если он выполнен из стального каната, то на конец каната предварительно наваривается флажковый наконечник из листовой стали размерами 25301,6 мм.

Допускается выполнять заземление несущего троса с помощью гибкой перемычки: стального троса того же диаметра; соединение перемычки с несущим тросом выполняется на концах линии с помощью ответвительного сжима.

9.6. Прочие металлические элементы тросовых проводок: вертикальный подвесы несущего троса и светильников, анкерные устройства, натяжные муфты, детали для крепления ответвительных коробок, закрепляемые к заземленному несущему тросу, отдельного заземления не требуют.

9.7. Несущие струны электропроводок заземляются аналогично заземлению (занулению) тросовых проводок.

9.8. Смонтированная магистраль из коробов и лотков должна представлять собой непрерывную электрическую цепь. Магистрали из лотков и коробов должны быть присоединены к контуру защитного заземления не менее чем в двух удаленных друг от друга местах (на концах линий) стальной полосой сечением не менее 24 мм2 (толщиной 3 мм) или стальной проволокой диаметром не менее 5 мм2. Каждое ответвление должно быть дополнительно заземлено в конце трассы ответвления.

9.9. Заземление (зануление) коробов КЛ выполняется путем присоединения их к нулевому проводу внутри короба (к нулевому зажиму короба) не менее чем в двух секциях на концах линии коробов.

9.10. Стальные полосы (ленты) и катанка, применяемые для электропроводок по основаниям, должны заземляться в начале и в конце линии отрезками полос (или катанки) того же сечения с помощью сварки.

10. ПРОВЕРКИ, ИСПЫТАНИЯ, КОНТРОЛЬ КАЧЕСТВА И СДАЧА РАБОТ

10.1. Провода и кабели должны иметь маркировку с помощью бирок в соответствии с кабельным журналом.

Маркировка линий осветительных проводок должна выполняться у групповых щитков освещения.

Бирки должны быть закреплены с помощью ленты К226, скрепляемой кнопкой К227, а также проволоки, имеющей защитное покрытие.

10.2. После установки конструкций, лотков, коробов и т.д. и выполнения их заземления необходимо визуально проверить целостность защитного покрытия и при необходимости восстановить его.

10.3. До включения полностью смонтированных электропроводок и предъявления их к сдаче должны быть произведены:

а) проверка соответствия выполненных работ проекту (с отметкой в проектной документации об изменениях и дополнениях) и ПУЭ;

ПРИЛОЖЕНИЕ 1

Механизмы и приспособления, применяемые при заготовке открытых электропроводок в МЭЗ

Наименование изделия

Тип

Изготовитель

Набор инструментов электромонтажника

НЭ

(ТУ 36-1823-78)

Горьковский завод электромонтажных инструментов

Ножницы секторные для перерезания кабеля и провода

НC-1, НС-2, НС-3

(ТУ 36-1656-77)

То же

Пресс гидравлический ручной с электроприводом

ПГЭ-20

(ТУ 36-1814-74)

-"-

Тележка роликовая ручная для транспортировки бухт проводов и других материалов

ТРР

(ТУ 36-657-79)

-"-

Аппарат для сварки одножильных проводов

ВКЗ-1

(ТУ 36-760-74)

Московский опытный завод электромонтажной техники

Лебедка ручная для натяжения тросовых проводок

(ТУ 36-1494-80)

 

Лебедка монтажная для подъема и перемещения грузов

ЛМ-3,2

Трест Проммонтажконструкция УССР

Комплект механизмов для обработки проводов освещения:

КМО-6

Новокузнецкий опытный завод электромонтажных механизмов

а) размоточная вертушка

ВС

б) автомат мерной резки и снятия изоляции

АРС

 

в) механизм закрутки колец

ЗК

 

г) механизм скручивания и подрезки жил проводов

СП

 

д) установка для сварки жил проводов

УС

 

е) стол монтажный

СМ

 

Комплект механизмов для обработки проводов больших сечений:

КМБ-4

Новокузнецкий опытный завод электромонтажных механизмов

а) механизм для мерной резки проводов

МРБ

 

б) механизм для снятия изоляции с проводов

МСБ

 

Строительно-монтажный пистолет

ПЦ52-1

(ТУ 3-741-74)

Тульский оружейный завод

Клещи универсальные

КУ-1

(ТУ 36-1017-69)

Завод электромонтажных изделий (ЗЭМИ-10) УССР

ПРИЛОЖЕНИЕ 2

Механизмы и приспособления для подъема и работы на высоте

Наименование изделия

Тип

Изготовитель

Лестница с площадкой

Л-312

(ТУ 36-869-74)

Новокузнецкий опытный завод электромонтажных механизмов

Лестница-стремянка

лсм

(ТУ 36-730-77)

Подъемник телескопический монтажный

"Темп"

(ТУ 36-1456-77)

Подъемник телескопический гидравлический

ПТГ-12

Московский ремонтно-механический завод

Вышка телескопическая катучая

ВТК-12

Куйбышевский завод электромонтажных изделий

Подмости выдвижные самоходные

ПВС-12

Трест Строймеханизация-1

Подмости сборно-разборные

ПСР-7

(ТУ 36-2398-81)

Новокузнецкий опытный завод электромонтажных механизмов

Площадки монтажные

ПМ-800,

ПМ-600

(ТУ 36-1805-74)

Специальная инвентарная площадка на тележке мостового крана

ПМ

Изготавливаются в монтажных управлениях

ПРИЛОЖЕНИЕ 3

Технические данные несущих тросов

Наименование и тип

Номинальный наружный диаметр, мм

Сечение, мм2

Расчетная масса 100 м, кг

Предел прочности при растяжении, Н/мм2

Канат стальной спиральный ЛК-О

1  7 = 7 проволок (прядь 1 + 6)

ГОСТ 3062-80

2,0

2,33

2,07

Не менее 1200

2,0

2,75

2,39

2,4

3,58

3,11

2,8

4,53

3,94

3,0

5,58

4,85

3,4

6,74

5,86

3,7

8,11

7,05

4,0

9,5

8,25

4,3

11,0

9,56

4,6

12,61

10,96

4,9

14,33

12,46

5,2

16,16

14,05

5,5

18,1

15,75

6,1

12,31

19,4

6,7

26,96

23,45

7,3

32,05

27,86

8,0

38,01

33,05

8,6

44,01

38,21

Канат стальной спиральный ТК

1  19 = 19 проволок

(прядь 1 + 6 + 12)

ГОСТ 3063-80

2,0

2,42

2,08

Не менее 1200

2,6

3,77

3,23

3,0

5,42

4,65

3,3

6,30

5,46

3,6

7,37

6,32

4,0

9,62

8,25

4,6

12,15

10,45

5,0

15,0

12,9

5,6

18,14

15,8

Канат стальной спиральный ТК

1  19 = 19 проволок

(прядь 1 + 6 + 12)

ГОСТ 3063-80

6,1

21,68

18,6

He менее 1200

6,1

25,43

21,85

7,1

29,48

25,3

7,6

33,82

29,05

8,1

38,46

33,0

8,6

43,4

37,25

Канат (трос) стальной ЛК-О

7  7 = 49 проволок с металлическим сердечником, прядь (1 + 6)

ГОСТ 3066-80

1,8

1,538

1,38

Не менее 1400

1,98

1,862

1,67

2,16

2,215

1,99

2,34

2,602

2,33

Но менее 1300

2,52

3,01

2,70

2,79

3,7

3,32

3,06

4,44

3,98

Не менее 1200

3,33

5,29

4,74

3,6

6,17

5,53

4,5

9,60

8,61

Не менее 1100

5,4

13,87

12,44

6,3

18,86

16,91

7,2

24,68

22,11

Не менее 1000

8,1

31,16

27,94

9,0

38,47

34,50

9,9

46,55

41,75

Проволока круглая горячекатаная из низкоуглеродистой стали обыкновенного качества

ГОСТ 2590-71*

(сортамент)

5,0

19,63

15,4

Не менее 400

5,5

23,76

18,6

6,0

28,27

22,2

6,3

31,17

24,5

7,0

38,48

30,2

8,0

50,27

39,5

Проволока стальная, для воздушных линий связи (линейная)

ГОСТ 1668-73

2,0

3,14

2,47

Не менее 650

2,5

4,90

3,85

3,0

7,10

5,55

4,0

12,60

9,86

ПРИЛОЖЕНИЕ 4

Действующие инструктивные документы по электромонтажной технологии

Наименование документа

Шифр, организация, утвердившая документ

Издательство или издающая организация, год издания

Электротехнические устройства.

Правила производства и приемки работ

СНиП III-33-76*

Госстрой СССР

Стройиздат, 1982

Правила устройства электроустановок

-

Энергоатомиздат 1985

Инструкция по оформлению приемо-сдаточной документации по электромонтажным работам

ВСН 123-79

ММСС СССР

ВНИИПЭМ, 1981

Инструкция по прокладке кабелей напряжением до 110 кВ

СН 85-74

Госстрой СССР

Стройиздат, 1975

Инструкция по устройству сетей заземления и зануления в электроустановках

СН 102-76

Госстрой СССР

Стройиздат, 1977

Инструкция по применению пороховых инструментов при производстве монтажных и специальных строительных работ

ВСН 410-80

ММСС СССР

Энергоиздат, 1981

Правила техники безопасности при электромонтажных и наладочных работах

МЭиЭ СССР,

ММСС СССР,

02.06.72

Энергия, 1973

СОДЕРЖАНИЕ

 

 




ГОСТЫ, СТРОИТЕЛЬНЫЕ и ТЕХНИЧЕСКИЕ НОРМАТИВЫ.
Некоммерческая онлайн система, содержащая все Российские Госты, национальные Стандарты и нормативы.
В Системе содержится более 150000 файлов нормативно-технической документации, действующей на территории РФ.
Система предназначена для широкого круга инженерно-технических специалистов.

Рейтинг@Mail.ru Яндекс цитирования

Copyright © www.gostrf.com, 2008 - 2026