| |

ГОСУДАРСТВЕННЫЙ
СТАНДАРТ СОЮЗА ССР
НАКОНЕЧНИКИ
КАБЕЛЬНЫЕ МЕДНЫЕ,
ЗАКРЕПЛЯЕМЫЕ ОПРЕССОВКОЙ
КОНСТРУКЦИЯ И
РАЗМЕРЫ ГОСТ 7386-80
ИЗДАТЕЛЬСТВО
СТАНДАРТОВ
Москва
ГОСУДАРСТВЕННЫЙ
СТАНДАРТ СОЮЗА ССР
|
НАКОНЕЧНИКИ
КАБЕЛЬНЫЕ МЕДНЫЕ,
ЗАКРЕПЛЯЕМЫЕ ОПРЕССОВКОЙ
Конструкция и размеры
Pressfastened copper cable thimbles.
Construction and dimensions
|
ГОСТ
7386-80
|
Дата введения 01.01.83
1.
Настоящий стандарт распространяется на медные кабельные наконечники, закрепляемые
опрессовкой и предназначенные для оконцевания проводов и кабелей с медными
жилами сечением от 2,5 до 300 мм2 на напряжение до 35 кВ.
Стандарт
не распространяется па наконечники, применяемые в полупроводниковой технике.
2. Конструкция, основные размеры, условное обозначение с указанием
вида климатического исполнения по ГОСТ
15150, коды ОКП, предельные отклонения, расчетная масса наконечников и
место нанесения маркировки должны соответствовать указанным на чертеже и в
таблице.

Размеры, мм
|
Обозначение
|
Код
ОКП
|
Длина
контактного стержня
|
D
|
d
|
d1
|
C
|
L
|
lМИН
|
l1
|
l2
|
S**
|
В, не
более
|
RMAX
|
Расчетная
масса 1000 шт., кг, не более
|
|
2,5-3-2,6-М-УХЛЗ*
|
31 4982 0011
|
3
|
3,2
|
5
|
2,6
|
0,6
|
28±1,0
|
10
|
12±0,3
|
4,0
|
2,0
|
7
|
10
|
3,1
|
|
2,5-3-2,6-М-2Т*
|
31 4982 0012
|
|
2,5-4-2,6-М-УХЛЗ
|
31 4982 0021
|
4
|
4,3
|
5,0
|
1,7
|
8
|
|
2,5-4-2,6-М-Т2
|
31 4982 0022
|
|
2,5-5-2,6-М-УХЛЗ
|
31 4982 0031
|
5
|
5,3
|
7,0
|
1,3
|
10
|
|
2,5-5-2,6-М-Т2
|
31 4982 0032
|
|
2,5-6-2,6-М-УХЛЗ*
|
31 4982 0033
|
6
|
6,4
|
30±1,0
|
14±0,3
|
1,0
|
12
|
3,0
|
|
2,5-6-2,6-М-Т2*
|
31 4982 0034
|
|
4-4-3-М-УХЛЗ
|
31 4982 0041
|
4
|
4,3
|
3,0
|
0,5
|
32±1,0
|
12
|
16±0,4
|
5,0
|
1,4
|
8
|
3,6
|
|
4-4-3-М-Т2
|
31 4982 0042
|
|
4-5-3-М-УХЛЗ
|
31 4982 0051
|
5
|
5,3
|
7,0
|
1,1
|
10
|
3,1
|
|
4-5-3-М-Т2
|
31 4982 0052
|
|
4-6-3-М-УХЛЗ
|
31 4982 0061
|
6
|
6,4
|
8,5
|
1,0
|
12
|
3,2
|
|
4-6-3-М-Т2
|
31 4982 0062
|
|
6-4-4-М-УХЛЗ*
|
31 4982 0071
|
4
|
4,3
|
6
|
4,0
|
5,0
|
1,6
|
9
|
4,3
|
|
6-4-4-М-Т2*
|
31 4982 0072
|
|
6-5-3-М-УХЛЗ
|
31 4982 0081
|
5
|
5,3
|
7,0
|
1,5
|
10
|
3,9
|
|
6-5-3-М-Т2
|
31 4982 0082
|
|
6-5-3-М-УХЛЗ
|
31 4982 0091
|
6
|
6,4
|
8,5
|
1,2
|
12
|
|
6-5-3-М-Т2
|
31 4982 0092
|
|
10-5-5-М-УХЛЗ*
|
34 4982 0101
|
5
|
5,3
|
8
|
5,0
|
0,8
|
40±1,0
|
14
|
20±0,6
|
7,0
|
2,5
|
11
|
10
|
10,0
|
|
10-5-5-М-Т2*
|
34 4982 0102
|
|
10-6-5-М-УХЛЗ
|
34 4982 0111
|
6
|
6,4
|
8,5
|
1,9
|
14
|
9,8
|
|
10-6-5-М-Т2
|
34 4982 0112
|
|
10-8-5-М-УХЛЗ
|
34 4982 0121
|
8
|
8,4
|
11,0
|
1,7
|
16
|
9,2
|
|
10-8-5-М-Т2
|
34 4982 0122
|
|
16-6-6-М-УХЛЗ
|
34 4982 0131
|
6
|
6,4
|
9
|
6,0
|
8,5
|
2,2
|
14
|
11,6
|
|
16-6-6-М-Т2
|
34 4982 3132
|
|
16-8-6-М-УХЛЗ
|
34 4982 0141
|
8
|
8,4
|
11,0
|
1,9
|
16
|
10,4
|
|
16-8-6-М-Т2
|
34 4982 0142
|
|
25-6-7-М-УХЛЗ*
|
34 4982 0151
|
6
|
6,4
|
10
|
7,0
|
45±1,0
|
20
|
8,5
|
2,5
|
15
|
5,5
|
|
25-6-7-М-Т2*
|
34 4982 0152
|
|
25-8-7-М-УХЛЗ*
|
34 4982 0161
|
8
|
8,4
|
11,0
|
2,2
|
16
|
13,8
|
|
25-8-7-М-Т2*
|
34 4982 0162
|
|
25-6-8-М-УХЛЗ*
|
34 4982 0171
|
6
|
6,4
|
11
|
8,0
|
50±1,0
|
22±0,6
|
8,5
|
2,5
|
15
|
19,8
|
|
25-6-8-М-Т2*
|
34 4982 0172
|
|
25-8-8-М-УХЛЗ
|
34 4982 0181
|
8
|
8,4
|
11,0
|
17,9
|
|
25-8-8-М-Т2
|
34 4982 0182
|
|
25-10-8-М-УХЛЗ
|
34 4982 0191
|
10
|
10,5
|
11 ,5
|
2,0
|
20
|
16,7
|
|
25-10-8-М-Т2
|
34 4982 0192
|
|
35-8-9-М-УХЛЗ*
|
34 4982 0201
|
8
|
8,4
|
12
|
9,0
|
60±1,5
|
24
|
11,0
|
2,5
|
18
|
25,0
|
|
35-8-9-М-Т2*
|
34 4982 0202
|
|
35-10-9-М-УХЛЗ*
|
34 4982 0211
|
10
|
10,5
|
11,5
|
2,0
|
20
|
24,6
|
|
35-10-9-М-Т2*
|
34 4982 0212
|
|
35-12-9-М-УХЛЗ*
|
34 4982 0221
|
12
|
13,0
|
25±0,6
|
13,5
|
2,0
|
22
|
24,1
|
|
35-12-9-М-Т2*
|
34 4982 0222
|
|
35-8-10-М-УХЛЗ
|
34 4982 0231
|
8
|
8,4
|
13
|
10
|
63±1,5
|
11,0
|
2,3
|
20
|
27,3
|
|
35-8-10-М-Т2
|
34 4982 0232
|
|
35-10-10-М-УХЛЗ
|
34 4982 0241
|
10
|
10,5
|
12,5
|
25,8
|
|
35-10-10-М-Т2
|
34 4982 0242
|
|
35-12-10-М-УХЛЗ
|
34 4982 0251
|
12
|
13,0
|
13,5
|
2,1
|
22
|
23,6
|
|
35-12-10-М-Т2
|
34 4982 0252
|
|
50-8-11-М-УХЛЗ
|
34 4982 0261
|
8
|
8,4
|
14
|
11
|
11,0
|
2,3
|
20
|
31,4
|
|
50-8-11-М-Т2
|
34 4982 0262
|
|
50-10-11-М-УХЛЗ
|
34 4982 0271
|
10
|
10,5
|
12,5
|
2,1
|
22
|
30,0
|
|
50-10-11-М-Т2
|
34 4982 0272
|
|
50-12-11-М-УХЛЗ
|
34 4982 0281
|
12
|
13,0
|
13,5
|
1,9
|
24
|
27,4
|
|
50-12-11-М-Т2
|
34 4982 0282
|
|
50-8-12-М-УХЛЗ*
|
34 4982 0291
|
8
|
8,4
|
15
|
12
|
65±1,5
|
26±0,6
|
11,0
|
2,4
|
22
|
34,0
|
|
50-8-12-М-Т2*
|
34 4982 0292
|
|
50-10-12-М-УХЛЗ*
|
34 4982 0301
|
10
|
10,5
|
12,5
|
32,3
|
|
50-10-12-М-Т2*
|
34 4982 0302
|
|
50-12-12-М-УХЛЗ
|
34 4982 0303
|
12
|
13,0
|
13,5
|
2,2
|
24
|
28,6
|
|
50-12-12-М-Т2
|
34 4982 0304
|
|
70-10-13-М-УХЛЗ
|
34 4982 0311
|
10
|
10,5
|
16
|
13
|
26
|
27±0,6
|
12,5
|
2,8
|
37,4
|
|
70-10-13-М-Т2
|
34 4982 0312
|
|
70-12-13-М-УХЛЗ
|
34 4982 0321
|
12
|
13,0
|
13,5
|
35,7
|
|
70-12-13-М-Т2
|
34 4982 0322
|
|
95-10-15-М-УХЛЗ*
|
34 4982 0331
|
10
|
10,5
|
19
|
15
|
1,0
|
75±1,5
|
32
|
27±0,6
|
12,5
|
3,4
|
28
|
20
|
66,8
|
|
95-10-15-М-Т2*
|
34 4982 0332
|
|
95-12-15-М-УХЛЗ
|
34 4982 0341
|
12
|
13,0
|
13,5
|
65,4
|
|
95-12-15-М-Т2
|
34 4982 0342
|
|
95-10-16-М-УХЛЗ*
|
34 4982 0351
|
10
|
10,5
|
20
|
16
|
12,5
|
30
|
70,7
|
|
95-10-16-М-Т2*
|
34 4982 0352
|
|
95-12-16-М-УХЛЗ*
|
34 4982 0361
|
12
|
13,0
|
13,5
|
68,5
|
|
95-12-16-М-Т2*
|
34 4982 0362
|
|
120-12-17-М-УХЛЗ
|
34 4982 0371
|
22
|
17
|
1,3
|
81±2,0
|
34±0,8
|
3,9
|
34
|
25
|
194,5
|
|
120-12-17-М-Т2
|
34 4982 0372
|
|
120-16-17-М-УХЛЗ
|
34 4982 0381
|
16
|
17,0
|
10,0
|
102,3
|
|
120-16-17-М-Т2
|
34 4982 0382
|
|
120-12-18-М-УХЛЗ*
|
34 4982 0391
|
12
|
13,0
|
24
|
18
|
1,5
|
85±2,0
|
34
|
13,5
|
5,0
|
35
|
142,4
|
|
120-12-18-М-Т2*
|
34 4982 0392
|
|
120-16-18-М-УХЛЗ*
|
34 4982 0401
|
16
|
17,0
|
10,0
|
140,2
|
|
120-16-18-М-Т2*
|
34 4982 0402
|
|
150-12-19-М-УХЛЗ*
|
34 4982 0411
|
12
|
13,0
|
25
|
19
|
90±2,0
|
13,5
|
5,3
|
36
|
155,5
|
|
150-12-19-М-Т2*
|
34 4982 0412
|
|
150-16-19-М-УХЛЗ
|
34 4982 0421
|
16
|
17,0
|
10,0
|
153,8
|
|
150-16-19-М-Т2
|
34 4982 0422
|
|
150-12-20-М-УХЛЗ*
|
34 4982 0431
|
12
|
13,0
|
26
|
20
|
13,5
|
38
|
168,0
|
|
150-12-20-М-Т2*
|
34 4982 0432
|
|
150-16-20-М-УХЛЗ*
|
34 4982 0441
|
16
|
17,0
|
16,0
|
163,2
|
|
150-16-20-М-Т2*
|
34 4982 0442
|
|
185-12-21-М-УХЛЗ*
|
34 4982 0451
|
12
|
13,0
|
27
|
21
|
95±2,0
|
38
|
41±1,0
|
13,5
|
40
|
30
|
190,5
|
|
185-12-21-М-Т2*
|
34 4982 0452
|
|
185-16-21-М-УХЛЗ
|
34 4982 0461
|
16
|
17,0
|
16,0
|
5,1
|
181,0
|
|
185-16-21-М-Т2
|
34 4982 0462
|
|
185-20-21-М-УХЛЗ*
|
34 4982 0471
|
20
|
21,0
|
18,5
|
170,0
|
|
185-20-21-М-Т2*
|
34 4982 0472
|
|
185-16-23-М-УХЛЗ*
|
34 4982 0481
|
16
|
17,0
|
30
|
23
|
1,7
|
105±2,0
|
16,0
|
6,0
|
45
|
262,6
|
|
185-16-23-М-Т2*
|
34 4982 0482
|
|
185-20-23-М-УХЛЗ*
|
34 4982 0491
|
20
|
21,0
|
20,0
|
5,5
|
48
|
255,4
|
|
185-20-23-М-Т2*
|
34 4982 0492
|
|
240-16-24-М-УХЛЗ
|
34 4982 0501
|
16
|
17,0
|
32
|
24
|
2,0
|
16,0
|
6,0
|
272,6
|
|
240-16-24-М-Т2
|
34 4982 0502
|
|
240-26-24-М-УХЛЗ
|
34 4982 0511
|
20
|
21,0
|
20,0
|
257,0
|
|
240-26-24-М-Т2
|
34 4982 0512
|
|
300-16-27-М-УХЛЗ
|
34 4982 0521
|
16
|
17,0
|
31
|
27
|
16,0
|
6,3
|
50
|
304,6
|
|
300-16-27-М-Т2
|
34 4982 0522
|
|
300-20-27-М-УХЛЗ
|
34 4982 0531
|
20
|
21,0
|
20,0
|
283,0
|
|
300-20-27-М-Т2
|
34 4982 0532
|
*Допускается
применять в технически обоснованных случаях.
** Размер для
справок.
(Измененная
редакция, Изм. № 2).
3. Кабельные наконечники должны изготовляться из медных труб марки
М2 по ГОСТ
617.
Допускается
изготовление наконечников из меди других марок по качеству аналогичных марке
М2.
4.
Основные размеры спрессованных соединений указаны в приложениях 1, 2.
5. Остальные требования - по ГОСТ 23981.
6.
Структура и пример условного обозначения приведены в приложении 3.
(Измененная
редакция, Изм. № 2).
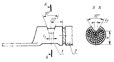
ПРИЛОЖЕНИЕ 1
Рекомендуемое
РЕКОМЕНДУЕМЫЕ РАЗМЕРЫ СПРЕССОВАННЫХ СОЕДИНЕНИЙ
Рекомендуемые
размеры спрессованных соединений кабельных наконечников приведены на черт. 1, 2
и в табл. 1, 2.

1 - наконечник; 2 - кабель.
Черт 1
Примечание: l - длина жильной части хвостовика
наконечника в таблице стандарта.
Таблица 1
мм
|
Типоразмер
|
Маркировка
|
Сечение жилы, мм2
|
Класс жилы по ГОСТ 22483
|
l1
|
l2
|
h
|
|
2,5-3-2,6
|
2,5-3
|
2,5
|
3; 4; 5; 6
|
3
|
<1
|
2,5±0,25
|
|
2,5-4-2,6
|
2,5-4
|
3; 4
|
1; 2; 4; 4
|
|
2,5-5-2,6
|
2,5-5
|
|
2,5-6-2,6
|
2,5-6
|
|
4-4-3
|
4-4
|
1
|
5
|
|
4-5-3
|
4-5
|
|
4-6-3
|
4-6
|
5; 6
|
4
|
|
6-4-4
|
6-4
|
4
|
6
|
3,0±0,25
|
|
6-5-4
|
6-5
|
5
|
2; 3; 1
|
|
6
|
2; 3; 4; 5
|
|
8
|
1; 2; 3; 4
|
|
6-6-4
|
6-6
|
10
|
1
|
|
10-5-5
|
10-5
|
10
|
2; 3; 1
|
4
|
4,0±0,25
|
|
10-6-5
|
10-6
|
16
|
1
|
|
10-8-5
|
10-8
|

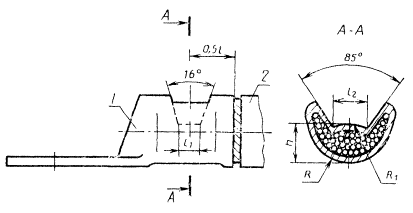
1 - наконечник; 2 - кабель
Черт. 2
Примечание: l - длина жильной части хвостовика
наконечника указана в таблице стандарта.
(Измененная
редакция, Изм. № 2).
Таблица 2
Размеры, мм
|
Типоразмер
|
Маркировка
|
Сечение, мм2
|
l1
|
l2
|
R
|
R1
|
h
|
|
16-6-6
16-8-6
|
16-6
16-8
|
16
|
9,5
|
4,0
|
5,0
|
5,0
|
4,3
|
|
25-6-8
25-8-8
25-10-8
|
25-6
25-8
25-10
|
25
|
5,0
|
6,0
|
6,0
|
5,0
|
|
35-8-10
35-10-10
35-12-10
|
35-8
35-10
35-12
|
35
|
11,5
|
6,0
|
7,0
|
7,0
|
5,5
|
|
50-8-11
50-10-11
50-12-11
|
50-8
50-10
50-12
|
50
|
7,5
|
7,5
|
6,5
|
|
70-10-13
70-12-13
|
70-10
70-12
|
70
|
12,5
|
7,5
|
9,0
|
8,5
|
7,3
|
|
95-10-15
95-12-15
|
95-10
95-12
|
95
|
8,0
|
10,5
|
10,0
|
8,5
|
|
120-12-17
120-16-17
|
120-12
120-16
|
120
|
13,5
|
10,5
|
12,0
|
12,0
|
11,0
|
|
150-12-19
150-16-19
|
150-12
150-16
|
150
|
14,3
|
12,5
|
14,0
|
14,0
|
12,0
|
|
185-12-21
185-16-21
|
185-12
185-16
|
185
|
15,5
|
13,5
|
1 5,0
|
15,0
|
13,0
|
|
240-16-24
240-20-24
|
240-16
240-20
|
240
|
17,0
|
15,0
|
17,5
|
17,5
|
15,0
|
|
300-16-27
300-20-27
|
300-16
300-20
|
300
|
19,0
|
17,0
|
19,0
|
19,5
|
17,0
|
(Измененная редакция, Изм. № 1, 2).
ПРИЛОЖЕНИЕ 2
Рекомендуемое
РЕКОМЕНДУЕМЫЕ РАЗМЕРЫ СПРЕССОВАННЫХ СОЕДИНЕНИЙ
СУДОВЫХ ПРОВОДОВ И КАБЕЛЕЙ
Рекомендуемые
размеры спрессованных соединений кабельных наконечников приведены на черт. 1 приложения 1 и в таблице.
мм
|
Типоразмер
|
Маркировка
|
Сечение
жилы, мм2
|
Класс
жилы по ГОСТ 22483
|
l1
|
l2
|
h
|
|
2,5-3-2,6
|
2,6-3
|
2,5
|
3; 4; 5; 6
|
3
|
<1
|
2,5±0,25
|
|
2,5-4-2,6
|
2,6-4
|
3; 4
|
1; 2; 3; 4
|
|
2,5-5-2,6
|
2,6-5
|
|
2,5-6-2,0
|
2,6-6
|
|
4-4-3
|
3-4
|
4
|
5
|
|
4-5-3
|
3-5
|
5; 6
|
1
|
|
4-6-3
|
3-6
|
|
6-4-4
|
4-4
|
4
|
6
|
3,0±0,25
|
|
|
|
5
|
2; 3; 4
|
|
6-5-4
|
4-5
|
6
|
2; 3; 4; 5
|
|
6-6-4
|
4-6
|
8
|
1; 2; 3; 4
|
|
10
|
1
|
|
10-5-5
|
5-5
|
10
|
2; 3; 4
|
4
|
4,0±0,25
|
|
10-6-5
|
5-6
|
10
|
1
|
|
10-8-5
|
5-8
|
|
16-6-6
|
6-6
|
10
|
5; 6
|
5,0±0,25
|
|
|
|
16
|
2; 3
|
|
16-8-6
|
6-8
|
25
|
1
|
|
25-6-7
|
7-6
|
10
|
4; 5; 6
|
6
|
6,0±0,25
|
|
25-8-7
|
7-8
|
25
|
2
|
|
|
|
35
|
1
|
|
25-6-8
|
8-6
|
25
|
3; 4; 5; 6
|
7,5±0,25
|
|
25-8-8
|
8-8
|
35
|
2
|
|
25-10-8
|
8-10
|
|
35-8-9
|
9-8
|
35
|
3; 4
|
8,0±0,40
|
|
35-10-9
|
9-10
|
50
|
1
|
|
35-12-9
|
9-12
|
|
35-8-10
|
10-8
|
35
|
5; 6
|
|
35-10-10
|
10-10
|
50
|
2
|
|
35-12-10
|
10-12
|
|
50-8-11
50-10-11
50-12-11
|
11-8
|
50
|
3; 4
|
7
|
1,0
|
8,0±0,40
|
|
11-10
11-12
|
70
|
1; 2
|
|
50-8-12
50-10-12
50-12-12
|
12-8
12-10
12-12
|
50
|
5,6
|
9,0±0,40
|
|
70-10-13
|
13-10
|
70
|
3; 1; 6
|
|
70-12-13
|
13-12
|
95
|
1
|
|
95-10-15
|
15-10
|
70
|
5
|
8
|
2,0
|
11,0±0,40
|
|
95-12-15
|
15-12
|
95
|
2; 3; 4; 6
|
|
|
|
120
|
1,2
|
|
95-10-16
|
16-10
|
95
|
5
|
12,0±0,40
|
|
95-12-16
|
16-12
|
150
|
1; 2
|
|
120-12-17
120-16-17
|
17-12
17-16
|
120
|
3; 4; 5
|
9
|
3,0
|
14,0±0,40
|
|
120-12-18
|
18-12
|
120
|
6
|
15,0±0,40
|
|
120-16-18
|
18-16
|
185
|
1; 2
|
|
150-12-19
|
19-12
|
150
|
3; 6
|
17,0±0,40
|
|
150-16-19
|
19-16
|
185
|
3
|
|
150-12-20
|
20-12
|
150
|
4; 5
|
18,0±0,40
|
|
150-16-20
|
20-16
|
240
|
1
|
|
185-12-21
185-16-21
|
21-12
21-16
|
185
|
4, 6
|
17,0±0,40
|
|
185-20-21
|
21-20
|
240
|
1, 2
|
|
185-16-23
|
23-16
|
185
|
5
|
10
|
3,5
|
19,0±0,40
|
|
185-20-23
|
23-20
|
300
|
1, 2
|
|
240-16-24
240-20-24
|
24-16
24-20
|
240
|
3, 4, 5, 6
|
21,0±0,40
|
|
300-16-27
300-20-27
|
27-16
27-20
|
300
|
3, 4, 6
|
11
|
23,0±0,40
|
Примечание. Допускается в
технически обоснованных случаях жилы классов 3, 4, 5, 6 оконцовывать
наконечниками, предназначенными для жил классов 1, 2 того же сечения.
(Измененная
редакция, Изм. № 2).
ПРИЛОЖЕНИЕ 3
Обязательное
СТРУКТУРА
УСЛОВНОГО ОБОЗНАЧЕНИЯ НАКОНЕЧНИКОВ

Пример
условного обозначения наконечника глухого номинальным сечением 70 мм2,
с отверстием под контактный стержень диаметром 12 мм, с внутренним диаметром хвостовика
13 мм, изготовленного из меди, без покрытия, климатическою исполнения УХЛЗ.
Наконечник
70-12-13-М-УХЛЗ ГОСТ 7386-80
(Измененная
редакция, Изм. №2).
ИНФОРМАЦИОННЫЕ ДАННЫЕ
1. РАЗРАБОТАН И ВНЕСЕН Министерством монтажных и
специальных строительных работ СССР
РАЗРАБОТЧИКИ В.
Н. Алексеенко, Г. Н. Ивановская
2. УТВЕРЖДЕН И ВВЕДЕН В ДЕЙСТВИЕ Постановлением
Государственного комитета СССР по стандартам от 7 февраля 1980 г. № 609
3. Периодичность
проверки - 5 лет
4 ВЗАМЕН ГОСТ 7386-70
5. ССЫЛОЧНЫЕ НОРМАТИВНО-ТЕХНИЧЕСКИЕ
ДОКУМЕНТЫ
|
Обозначение
НТД, на который дана ссылка
|
Номер
пункта, приложения
|
|
ГОСТ 617-90
|
3
|
|
ГОСТ 7386-80
|
приложение 3
|
|
ГОСТ
15150-69
|
2
|
|
ГОСТ 22483-77
|
приложение 1, 2
|
|
ГОСТ 23981-80
|
5
|
6.
Постановлением Госстандарта № 1173 от 14.09.92 снято ограничение срока действия
7. ПЕРЕИЗДАНИЕ (май 1994 г.) с Изменениями № 1, 2,
утвержденными в августе 1983 г., июне 1987 г. (ИУС 12-83, 9-87)
|
|