Крупнейшая бесплатная информационно-справочная система онлайн доступа к полному собранию технических нормативно-правовых актов РФ. Огромная база технических нормативов (более 150 тысяч документов) и полное собрание национальных стандартов, аутентичное официальной базе Госстандарта. GOSTRF.com - это более 1 Терабайта бесплатной технической информации для всех пользователей интернета. Все электронные копии представленных здесь документов могут распространяться без каких-либо ограничений. Поощряется распространение информации с этого сайта на любых других ресурсах. Каждый человек имеет право на неограниченный доступ к этим документам! Каждый человек имеет право на знание требований, изложенных в данных нормативно-правовых актах!

  


 

ГОСТ 27570.0-87

(МЭК 335-1-76)

МЕЖГОСУДАРСТВЕННЫЙ СТАНДАРТ

БЕЗОПАСНОСТЬ БЫТОВЫХ И
АНАЛОГИЧНЫХ ЭЛЕКТРИЧЕСКИХ
ПРИБОРОВ

ОБЩИЕ ТРЕБОВАНИЯ И МЕТОДЫ ИСПЫТАНИЙ

Москва
ИПК ИЗДАТЕЛЬСТВО СТАНДАРТОВ
2002

МЕЖГОСУДАРСТВЕННЫЙ СТАНДАРТ

БЕЗОПАСНОСТЬ БЫТОВЫХ И АНАЛОГИЧНЫХ ЭЛЕКТРИЧЕСКИХ ПРИБОРОВ

Общие требования и методы испытаний

Safety of household and similar electrical appliances.
General requirements and test methods

ГОСТ
27570.0-87

(МЭК 335-1-76)

Дата введения 01.07.88

Настоящий стандарт содержит нормы, правила и методы испытаний, являющиеся общими для всех бытовых электроприборов. Стандарт должен применяться совместно с аналогичными стандартами на конкретные типы приборов.

При отсутствии стандарта на конкретный тип прибора допускается распространять действие настоящего стандарта (насколько это приемлемо) на этот конкретный тип.

1. ОБЛАСТЬ РАСПРОСТРАНЕНИЯ

1.1. Настоящий стандарт распространяется на электромеханические и электронагревательные приборы и приборы с магнитным приводом для бытового или аналогичного применения.

1.2. Настоящий стандарт допускается применять для приборов, не предназначенных для бытового применения, но которые могут быть источником опасности для людей, не являющихся специалистами электротехники, но пользующихся приборами во время своей рабочей деятельности (например, приборы, применяемые в парикмахерских, паяльники, клееварки, стерилизаторы, приборы инфракрасного излучения, кормозапарники, насосы для воды, газонокосилки и т.п.).

1.3. Настоящий стандарт не распространяется на:

приборы, предназначенные для промышленного применения;

приборы, предназначенные для применения в местах с особыми условиями среды, например, в атмосфере, вызывающей коррозию, взрыв (пыль, пар или газ);

отдельные двигатели (кроме мотор-компрессоров для холодильных приборов);

высокочастотные нагревательные приборы (кроме бытовых СВЧ - печей);

радио- и телеприемники, электрофоны и т.п.;

приборы для медицинских целей.

2. ТЕРМИНЫ И ОПРЕДЕЛЕНИЯ

2.1. Если в тексте отсутствуют другие указания, то под терминами «напряжение» и «ток» подразумевают их действующие (средние квадратические) значения.

Термин «двигатель» включает в себя также понятие «магнитный привод».

2.2. В стандарте применяют следующие термины и их определения:

2.2.1. Номинальное напряжение - напряжение (при трехфазном питании - напряжение между фазами), установленное изготовителем для прибора.

2.2.2. Диапазон номинальных напряжений - диапазон напряжений, установленный изготовителем для прибора и выраженный верхним и нижним пределами.

2.2.3. Рабочее напряжение - максимальное напряжение, которое может быть приложено к рассматриваемой части прибора, если он работает при номинальном напряжении и нормальных условиях эксплуатации.

Примечания:

1. Нормальные условия эксплуатации включают в себя возможные изменения напряжения внутри прибора, вызванные срабатыванием прерывателя в цепи или выходом из строя ламп.

2. При определении рабочего напряжения не принимают во внимание влияние возможных переходных напряжений в питающей сети.

2.2.4. Номинальная потребляемая мощность - мощность, потребляемая прибором в условиях нормальной теплоотдачи или нормальной нагрузки, указанная изготовителем на приборе.

2.2.5. Номинальный ток - ток, указанный изготовителем на приборе.

Примечание: Если ток не указан, то номинальный ток равен:

для нагревательных приборов - току, рассчитанному по номинальной мощности и номинальному напряжению;

для электромеханических приборов - току, измеренному в период работы прибора на номинальном напряжении при нормальной нагрузке.

2.2.6. Номинальная частота - частота, указанная изготовителем на приборе.

2.2.7. Диапазон номинальных частот - диапазон частот, установленный изготовителем для прибора, выраженный верхним и нижним пределами.

2.2.8. Номинальная вместимость прибора с сосудом для жидкости - количество жидкости, на которое рассчитан прибор.

2.2.9. Съемный гибкий кабель или шнур - гибкий кабель или шнур, предназначенный для питания прибора или других целей, который присоединяют к прибору посредством соответствующего соединительного устройства.

Примечание: Приборные соединители входят в область распространения СТ СЭВ 2184-80.

2.2.10. Шнур питания - гибкий кабель или шнур, предназначенный для подключения прибора к сети, который крепится или монтируется на приборе одним из следующих способов:

X - способ крепления, при котором гибкий кабель или шнур может быть легко заменен без помощи специальных инструментов другим гибким кабелем или шнуром, не требующим специальной подготовки;

М - способ крепления, при котором гибкий кабель или шнур может быть легко заменен без применения специального инструмента специальным кабелем или шнуром, например шнуром с формованным защитным устройством или с обжатыми окончаниями, или может быть заменена часть прибора, выполненная заодно со шнуром;

Y - способ крепления, при котором гибкий кабель или шнур может быть заменен только с помощью специального инструмента, применяемого либо для получения доступа к соединению, либо для осуществления соединения.

Примечание. Способ крепления Y может использоваться либо с обычным гибким кабелем или шнуром, либо со специальным кабелем или шнуром.

Z - способ крепления, при котором гибкий кабель или шнур не может быть заменен без разрушения или повреждения прибора.

2.2.11. Провода питания - комплект проводов, присоединенных к прибору изготовителем, предназначенных для подключения к стационарной проводке и расположенных в специальной соединительной коробке или отсеке, которые находятся внутри прибора или прикреплены к нему.

2.2.12. Основная изоляция - изоляция токоведущих частей, обеспечивающая основную защиту от поражения электрическим током.

Примечание. Основная изоляция не обязательно должна состоять только из изоляции, необходимой для обеспечения нормальной работы прибора.

2.2.13. Дополнительная изоляция - независимая изоляция, дополняющая основную изоляцию и предназначенная для защиты от поражения электрическим током в случае повреждения основной изоляции.

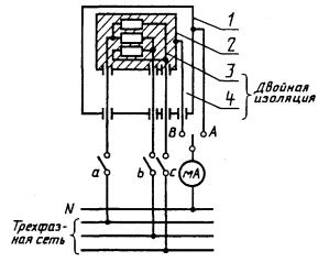
2.2.14. Двойная изоляция - изоляция, состоящая из основной и дополнительной изоляции.

2.2.15. Усиленная изоляция - единая система изоляции токоведущих частей, которая в условиях, предусмотренных настоящим стандартом, обеспечивает такую же степень защиты от поражения электрическим током, как и двойная изоляция.

Примечание. Термин «система изоляции» не означает, что она должна образовать один однородный слой. Она может состоять из нескольких слоев, которые нельзя испытать отдельно как дополнительную или основную изоляцию.

2.2.16. Прибор класса 0 - прибор, при котором защита от поражения электрическим током обеспечивается основной изоляцией; это значит, что отсутствуют средства для присоединения доступных токопроводящих частей, если таковые имеются, к защитному проводу стационарной проводки. В случае повреждения основной изоляции защита от поражения электрическим током может быть обеспечена только окружающей средой.

Примечания:

1. Приборы класса 0 имеют либо кожух из изоляционного материала, который образует часть или всю основную изоляцию, либо металлический кожух, который отделен от токоведущих частей соответствующей изоляцией. Если прибор с кожухом из изоляционного материала имеет заземляющее устройство для внутренних частей, то он относится к классу I или 0I.

2. Приборы класса 0 могут иметь части с двойной или усиленной изоляцией или части, работающие при безопасном сверхнизком напряжении.

2.2.17. Прибор класса 0I - прибор, имеющий, по крайней мере, повсюду основную изоляцию и зажим для заземления, но снабженный питающим кабелем или шнуром без заземляющего провода и штепсельной вилкой без заземляющего контакта, которая не может быть включена в розетку с заземляющим контактом.

Примечание. Приборы класса 0I могут иметь части с двойной или усиленной изоляцией или части, работающие при безопасном сверхнизком напряжении.

2.2.18. Прибор класса I - прибор, в котором защита от поражения электрическим током обеспечивается как основной изоляцией, так и дополнительными мерами безопасности, при которых доступные токопроводящие части соединены с защитным заземляющим проводом стационарной проводки так, что доступные токопроводящие части не могут оказаться под напряжением в случае повреждения основной изоляции.

Примечания:

1. Приборы класса I могут иметь части с двойной или усиленной изоляцией или части, работающие при безопасном сверхнизком напряжении.

2. В приборах, предназначенных для использования с гибким кабелем или шнуром, должен быть предусмотрен защитный заземляющий провод, являющийся частью гибкого кабеля или шнура.

2.2.19. Прибор класса II - прибор, в котором защита от поражения электрическим током обеспечивается как основной изоляцией, так и дополнительными мерами безопасности, такими как двойная или усиленная изоляция, при этом не должно быть никакого подсоединения к защитному заземлению, а условия установки не обеспечивают дополнительных мер безопасности.

Такие приборы могут иметь различную конструкцию. Например:

1) прибор, имеющий прочный и практически сплошной кожух из изоляционного материала, который покрывает все металлические части, за исключением небольших деталей, таких как заводская табличка, винты и заклепки, которые изолированы от токоведущих частей изоляцией, по крайней мере, эквивалентной усиленной изоляции; такой прибор называют прибором класса II с изолирующим кожухом;

2) прибор, имеющий практически сплошной металлический кожух, в котором повсюду применена двойная изоляция, за исключением тех частей, где применена усиленная изоляция и где применение двойной изоляции явно нецелесообразно; такой прибор называют прибором класса II с металлическим кожухом;

3) прибор, в котором сочетаются оба типа конструкции.

Примечания:

1. Кожух приборов класса II с изолирующим кожухом может образовать часть или всю дополнительную или усиленную изоляцию.

2. Если прибор, имеющий повсюду двойную и (или) усиленную изоляции, снабжен заземляющим зажимом или заземляющим контактом, его относят к приборам класса I или 0I.

3. Приборы класса II могут быть снабжены средствами для обеспечения непрерывности защитных цепей при условии, что эти средства находятся внутри прибора и изолированы от доступных токопроводящих частей двойной или усиленной изоляцией.

4. Приборы класса II могут иметь части, работающие при безопасном сверхнизком напряжении.

2.2.20. Прибор класса III - прибор, в котором защита от поражения электрическим током обеспечивается питанием безопасным сверхнизким напряжением и в котором не возникает напряжение большее, чем безопасное сверхнизкое напряжение.

Примечание. Приборы, предназначенные для работы при безопасном сверхнизком напряжении и имеющие внутренние электрические цепи, которые работают при другом напряжении, не включены в настоящую классификацию.

2.2.21. Сверхнизкое напряжение - напряжение, получаемое от источника, встроенного в прибор, и которое при работе прибора на номинальном напряжении не превышает 42 В между проводниками и между проводниками и землей, а для трехфазных цепей не превышает 24 В между проводниками и нейтралью; цепь сверхнизкого напряжения отделена от других цепей только основной изоляцией.

2.2.22. Безопасное сверхнизкое напряжение - номинальное напряжение, не превышающее 42 В между проводниками и между проводниками и землей, а для трехфазных цепей - не превышающее 24 В между проводниками и нейтралью; при этом напряжение холостого хода не должно превышать соответственно 50 и 29 В.

Примечания:

1. Если безопасное сверхнизкое напряжение получают от сети, то оно должно поступать через защитный трансформатор или преобразователь с раздельными обмотками.

2. Установленные предельные значения напряжений основаны на предположении, что защитный трансформатор работает при своем номинальном питающем напряжении.

2.2.23. Защитный трансформатор - трансформатор, входная обмотка которого электрически отделена от вторичных обмоток изоляцией, эквивалентной, по крайней мере, двойной или усиленной изоляции, и который предназначен для питания распределительной цепи прибора или другого оборудования безопасным сверхнизким напряжением.

2.2.24. Переносной прибор - прибор, который перемещают во время работы или который может быть легко перемещен, когда прибор подключен к источнику питания.

2.2.25. Ручной прибор - прибор, который при нормальной эксплуатации держат в руке; двигатель, если он имеется, составляет неотъемлемую часть прибора.

2.2.26. Стационарный прибор - прибор, жестко закрепленный или прибор, имеющий массу свыше 18 кг и не имеющий ручек для переноса.

2.2.27. Закрепленный прибор - прибор, который крепится к опоре или закрепляется каким-либо другим способом в определенном положении.

Примечание. Клеящие вещества не считаются средствами закрепления прибора на опоре, если это специально не оговорено в стандарте на конкретный прибор.

2.2.28. Встраиваемый прибор - прибор, предназначенный для установки в шкафах или кухонных блоках, в подготовленных нишах в стене или других подобных местах.

Примечание. Встраиваемые приборы обычно не имеют кожуха со всех сторон, потому что полная защита от поражения электрическим током обеспечивается после установки прибора.

2.2.29. Условия нормальной теплоотдачи - условия, которые создаются, когда нагревательный прибор работает в условиях нормальной эксплуатации.

2.2.30. Нормальная нагрузка - нагрузка, которая должна быть приложена к электромеханическому прибору так, чтобы развиваемое им усилие соответствовало усилию при нормальных условиях эксплуатации с учетом указаний о кратковременном или повторно-кратковременном режиме работы; нагревательные элементы, если они имеются, работают в условиях нормальной эксплуатации, если нет других указаний.

2.2.31. Номинальная продолжительность работы - продолжительность работы, установленная изготовителем для прибора.

2.2.32. Продолжительный режим работы - режим работы при нормальной нагрузке или в условиях нормальной теплоотдачи в течение неограниченного периода времени.

2.2.33. Кратковременный режим работы - режим работы при нормальной нагрузке или в условиях нормальной теплоотдачи в течение установленного периода времени, начиная с холодного состояния, причем интервалы между периодами работы достаточны для того, чтобы прибор мог охладиться до температуры, равной приблизительно комнатной температуре.

2.2.34. Повторно-кратковременный режим работы - режим работы, состоящий из ряда установленных идентичных циклов, каждый из которых состоит из периода работы при нормальной нагрузке или в условиях нормальной теплоотдачи и периода, когда прибор работает вхолостую или отключен.

2.2.35. Несъемная часть - часть, которая может быть снята только с помощью инструмента.

2.2.36. Съемная часть - часть, которая может быть снята без помощи инструмента.

2.2.37. Терморегулятор - устройство, чувствительное к температуре, с регулировкой по температуре или без нее, которое при нормальной эксплуатации поддерживает температуру прибора или частей его в определенных пределах путем автоматического отключения и включения цепи.

2.2.38. Термоограничитель - устройство, чувствительное к температуре, с регулировкой по температуре или без нее, которое при нормальной работе замыкает и размыкает цепь, когда температура прибора или его частей достигает заданного значения.

Примечание. Термоограничитель не срабатывает в обратном направлении во время нормального цикла работы прибора; он может требовать или не требовать возврата в исходное состояние вручную.

2.2.39. Термовыключатель - устройство, ограничивающее температуру прибора или его частей при ненормальной работе путем автоматического размыкания цепи или уменьшения значения тока и которое сконструировано так, что его уставка не может быть изменена потребителем.

2.2.40. Термовыключатель с самовозвратом - термовыключатель, который автоматически включает ток, когда соответствующая часть прибора будет достаточно охлаждена.

2.2.41. Термовыключатель без самовозврата - термовыключатель, который для восстановления тока в цепи требует возврата в исходное состояние вручную или замены части термовыключателя.

2.2.42. Инструмент - отвертка, монета или любой другой предмет, который может быть использован для завинчивания или отвинчивания винтов или подобных крепежных средств.

2.2.43. Путь утечки - кратчайшее расстояние между двумя токопроводящими частями или между токопроводящей частью и граничной поверхностью прибора, измеренное по поверхности изоляционного материала.

2.2.44. Воздушный зазор - кратчайшее расстояние между двумя токопроводящими частями или между токопроводящей частью и граничной поверхностью прибора, измеренное по воздуху.

Примечание. Граничной поверхностью прибора считают внешнюю поверхность кожуха, причем предполагается, что к доступным поверхностям изоляционного материала плотно прижата металлическая фольга.

2.2.45. Отключение всех полюсов - отключение обоих питающих проводов в однофазных приборах переменного тока и приборах постоянного тока одним действием; в приборах, которые подключены к более чем двум питающим проводам, это отключение одним действием относится ко всем питающим проводам, за исключением заземляющего провода.

Примечание. Защитный заземляющий провод не считается питающим проводом.

2.2.46. Нагревательный элемент с видимым свечением - нагревательный элемент, который в подготовленном для эксплуатации приборе виден снаружи прибора частично или полностью, и температура которого не менее 650 °С после достижения установившегося режима в условиях нормальной теплоотдачи; при этом напряжение питания должно быть таким, чтобы потребляемая мощность была равна минимальной номинальной потребляемой мощности.

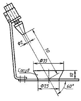
2.2.47. Доступная часть или доступная поверхность - часть или поверхность прибора, к которым можно прикоснуться с помощью испытательного пальца, приведенного на черт. 1.

2.2.48. Корпус - все доступные металлические части, оси ручек, кнопок, рукояток и аналогичных элементов и металлическая фольга, соприкасающаяся с доступными поверхностями изоляционного материала; понятие «корпус» не относится к недоступным металлическим частям.

2.2.49. Функциональный и промежуточный кабель или шнур - гибкий кабель или шнур, входящий в комплект прибора и служащий для целей иных, чем подключение к сети питания.

Примечание. В качестве примера функционального или промежуточного кабеля или шнура можно привести шнур устройства ручного дистанционного управления, наружное соединение двух частей прибора или отдельную цепь сигнализации.

3. ОБЩИЕ ТРЕБОВАНИЯ

3.1. Приборы должны быть спроектированы и сконструированы так, чтобы при нормальной эксплуатации их работа была безопасной и не могла возникнуть опасность для обслуживающего персонала даже в случае небрежного обращения с прибором, которое возможно при нормальном обслуживании.

Проверку осуществляют путем проведения всех соответствующих испытаний.

4. ОБЩИЕ УСЛОВИЯ ИСПЫТАНИЙ

4.1. Испытания, проводимые в соответствии с настоящим стандартом, являются общими для всех приборов, входящих в область распространения стандарта. Для каждого конкретного прибора следует учитывать указания стандарта на этот тип прибора.

4.2. Если нет других указаний, испытания проводят на одном образце в том состоянии, в котором его поставляют в торговую сеть; образец должен выдержать все предусмотренные для него испытания.

Примечания:

1. Если из конструкции прибора очевидно, что определенное испытание неприменимо, то это испытание не проводят.

2. Если прибор рассчитан на различные напряжения питания, для работы как на постоянном, так и на переменном токе, на различные частоты вращения и т.д., то может потребоваться более одного образца.

3. Если необходимо провести испытания по п. 11.10, то требуются дополнительные образцы.

4. Если для проведения определенных испытаний необходимо демонтировать прибор класса II, то для испытаний требуется два образца.

5. Испытание комплектующих изделий может потребовать поставки дополнительных образцов этих изделий. В таком случае они должны быть поставлены вместе с прибором.

4.3. При отсутствии других указаний испытания проводят в последовательности, определяемой нумерацией разделов настоящего стандарта.

Примечание. Перед началом испытаний прибор включают на номинальное напряжение для того, чтобы убедиться, что он работоспособен.

4.4. Прибор или любую подвижную часть его при испытании устанавливают в наиболее неблагоприятное положение, которое возможно при нормальной эксплуатации.

4.5. Если на результаты испытаний влияет температура окружающей среды, то температуру помещения, в котором проводят испытания, поддерживают в пределах (20 ± 2) °С. Если температура какой-либо части ограничивается устройством, чувствительным к температуре, или на нее влияет температура, при которой происходит изменение состояния, например температура кипящей воды, то при возникновении сомнений в результатах испытаний температуру в помещении поддерживают в пределах (23 ± 2) °С.

4.6. Приборы, предназначенные для работы только на переменном токе, испытывают переменным током при номинальной частоте, если она указана; приборы, предназначенные для работы только на постоянном токе, испытывают постоянным током; приборы, предназначенные для работы как на переменном, так и на постоянном токе, испытывают при наиболее неблагоприятном виде питания.

Приборы, предназначенные для работы на переменном токе и на которых не указана номинальная частоты или указан диапазон частот от 50 до 60 Гц, испытывают при частоте 50 или 60 Гц в зависимости от того, при какой частоте создаются наиболее неблагоприятные условия.

Приборы, на которых указан диапазон номинальных частот, отличающийся от 50 - 60 Гц, испытывают при наиболее неблагоприятной частоте в пределах этого диапазона.

Приборы, предназначенные для работы при нескольких номинальных напряжениях, испытывают при наиболее неблагоприятном напряжении.

Если нет других указаний, приборы, рассчитанные на один или несколько диапазонов номинальных напряжений, испытывают при наиболее неблагоприятном напряжении в пределах соответствующего диапазона.

Если для приборов с электроприводом, на которых указан диапазон номинальных напряжений, указано, что напряжение питания равно номинальному напряжению, умноженному на коэффициент, то напряжение питания должно быть равно:

верхнему пределу диапазона номинальных напряжений, умноженному на коэффициент, если последний больше 1;

нижнему пределу диапазона номинальных напряжений, умноженному на коэффициент, если последний меньше 1.

Примечание. В случае ссылки на максимальную или минимальную номинальные потребляемые мощности имеется в виду номинальная мощность, соответствующая верхнему или нижнему пределу диапазона номинальных напряжений.

При испытании приборов, предназначенных для работы только на постоянном токе, принимается во внимание возможное влияние полярности на работу прибора.

Примечание. Если нагревательный прибор без встроенного двигателя рассчитан на один диапазон номинальных напряжений, то верхний предел диапазона обычно является наиболее неблагоприятным напряжением в пределах диапазона. Если прибор имеет двигатель или рассчитан на более чем одно номинальное напряжение или более чем один диапазон номинальных напряжений, то с целью определения наиболее неблагоприятного напряжения может возникнуть необходимость в проведении нескольких испытаний при минимальном, среднем и максимальном значениях номинального напряжения или диапазонов номинальных напряжений.

4.7. Приборы со сменяемыми нагревательными элементами и принадлежностями испытывают с элементами или принадлежностями, которые дают самые неблагоприятные результаты при условии, что эти элементы и принадлежности используют в соответствии с инструкцией предприятия - изготовителя прибора.

4.8. Если при нормальной эксплуатации нагревательный элемент не может функционировать при неработающем двигателе, то элемент испытывают при работающем двигателе. Если нагревательный элемент может функционировать при неработающем двигателе, то элемент испытывают при работающем или неработающем двигателе в зависимости от того, что является наиболее неблагоприятным.

4.9. Приборы, снабженные терморегулятором, регулирующим устройством или подобным устройством управления, уставка которых может быть изменена потребителем, испытывают при самых неблагоприятных уставках этих устройств.

Примечания:

1. Если средства настройки устройства управления доступны без инструмента, то требования п. 4.9 применимы независимо от того, может быть уставка изменена вручную или с помощью инструмента; если средства настройки недоступны без помощи инструмента и если не предусмотрено изменение уставки потребителем, то требования п. 4.9 не применяют.

2. Соответствующее пломбирование рассматривается как способ предотвращения изменения уставки потребителем.

4.10. Встраиваемые приборы устанавливают в соответствии с указаниями изготовителя при условии, что они соответствуют нормальным условиям установки.

4.11. Если нет других указаний, приборы, предназначенные для подключения к сети с помощью гибкого кабеля или шнура, испытывают с соответствующим гибким кабелем или шнуром, присоединенным к прибору.

4.12. Если для нагревательных приборов указано, что напряжение питания прибора должно быть таким, при котором потребляемая мощность больше номинальной, то это напряжение применимо только для нагревательных элементов с небольшим температурным коэффициентом сопротивления. Для других нагревательных элементов это напряжение определяют следующим образом:

сначала нагревательный элемент питается номинальным напряжением до достижения своей рабочей температуры. Затем напряжение питания быстро увеличивают до значения, необходимого для получения потребляемой мощности, требуемой для соответствующего испытания. Испытание проводят, как указано выше, а данное значение питающего напряжения поддерживают в течение всего испытания.

Примечание. В общем случае температурный коэффициент считается значительным, если при номинальном напряжении потребляемая мощность прибора в холодном состоянии отличается от мощности, потребляемой прибором при рабочей температуре, более чем на 25 %.

4.13. Если для электромеханических приборов условия нормальной нагрузки приведены в стандарте на конкретный прибор, то приборы нагружают в соответствии с этими условиями независимо от маркировки кратковременного или повторно-кратковременного режимов работы, за исключением случаев, когда из конструкции прибора очевидно, что эти условия не возникнут при нормальной эксплуатации.

4.14. Приборы класса III испытывают совместно с питающими их трансформаторами, если последние поставляются с приборами.

4.15. При испытаниях, предусмотренных пп. 8.6, 8.7, 16.4, 25.11 и 27.1, части, отделенные от токоведущих частей двойной или усиленной изоляцией, рассматривают как части, которые не могут оказаться под напряжением при повреждении изоляции; соединение доступных металлических частей с заземляющим зажимом или заземляющим контактом не исключает необходимости в проведении соответствующих испытаний.

(Измененная редакция, Изм. № 1).

4.16. Если приборы класса 0I или I имеют доступные металлические части, которые не присоединены к заземляющему зажиму или заземляющему контакту и не отделены от токоведущих частей промежуточной металлической частью, соединенной с заземляющим зажимом или контактом, то такие части испытывают на соответствие требованиям, предусмотренным для приборов класса II.

4.17. Если приборы классов 0, 0I, I и II имеют части, работающие при безопасном сверхнизком напряжении, то такие части испытывают на соответствие требованиям, предусмотренным для приборов класса III.

4.18. Приборы, содержащие электронные цепи, рассматриваются в приложении В. Приборы со встроенными двигателями, не изолированными от сети питания и имеющими основную изоляцию, не рассчитанную на номинальное напряжение прибора, рассматриваются в приложении В.

5. НОМИНАЛЬНЫЕ ВЕЛИЧИНЫ

5.1. Максимальное значение номинального напряжения:

250 В - для переносных приборов переменного однофазного и постоянного тока;

440 В - для всех других приборов.

Соответствие требованию проверяют осмотром маркировки прибора.

Примечание. Требования настоящего стандарта основаны на предположении, что при нормальной эксплуатации напряжение между фазой и землей не превышает 254 В.

6. КЛАССИФИКАЦИЯ

6.1. Приборы классифицируют:

1) по типу защиты от поражения электрическим током на классы: 0; 0I; I; II; III;

2) по степени защиты от влаги различают приборы:

обычного исполнения;

каплезащищенные;

брызгозащищенные;

водонепроницаемые.

Примечания:

1. Номер класса указывает не уровень безопасности прибора, а только средства обеспечения безопасности.

2. Если приборы класса III поставляют с отдельными защитными трансформаторами для питания их от сети, то их классификация не меняется.

3. Требования, касающиеся классификации приборов, приведены в пп. 22.1 и 22.2.

(Измененная редакция, Изм. № 1).

7. МАРКИРОВКА

7.1. На приборах должны быть указаны следующие данные:

номинальное (ые) напряжение (я) или номинальный (ые) диапазон (ы) напряжений в вольтах; это требование необязательно только для приборов со съемными нагревательными элементами;

условное обозначение рода тока (если требуется);

номинальная частота или диапазон номинальных частот в герцах, если прибор не предназначен для работы только на постоянном или только на переменном токе частотой как 50, так и 60 Гц;

номинальная потребляемая мощность, если она больше 25 Вт, в ваттах или киловаттах или номинальный ток в амперах;

номинальный ток соответствующей плавкой вставки в амперах для электромеханических приборов, у которых пусковой ток требует применения плавкой вставки, номинальный ток которой больше номинального значения (см. п. 9.2). Если в маркировке указывается номинальный ток соответствующей плавкой вставки и если плавкая вставка имеет инерционную характеристику, то информация о характеристике «время - ток» плавкой вставки должна быть включена в соответствующую маркировку;

наименование изготовителя или ответственного поставщика, или торговая марка, или товарный знак;

наименование модели или типа;

номинальная продолжительность работы или номинальная продолжительность работы и номинальная продолжительность паузы в часах, минутах или секундах, если это требуется;

условное обозначение конструкции класса II (только для приборов класса II);

условное обозначение степени защиты от влаги, если требуется.

Стационарные приборы с многоканальным питанием должны иметь предупреждающую надпись следующего содержания: «Перед доступом к зажимам питания все цепи питания должны быть отключены».

Эта предупреждающая надпись должна быть видна при приближении к любой токоведущей части, до которой можно прикоснуться при техническом обслуживании.

Примечания:

1. На приборах с соединением «звезда - треугольник» должны быть отчетливо обозначены два номинальных напряжения (например, 220D/380 Y).

2. Номинальная потребляемая мощность или номинальный ток - общая максимальная потребляемая мощность или ток цепей, которые могут работать одновременно.

3. Если прибор имеет составные элементы, которые избирательно включаются устройством управления, то номинальной мощностью считается мощность, соответствующая максимально возможной нагрузке.

4. Допускается маркировка дополнительных сведений при условии, что это не снизит точность информации.

5. Если двигатель прибора имеет отдельную маркировку, то маркировка двигателя и маркировка прибора должны быть выполнены так, чтобы не возникали сомнения относительно номинальных величин и наименования предприятия-изготовителя самого прибора.

(Измененная редакция, Изм. № 1).

7.2. Приборы с кратковременным и повторно-кратковременным режимами работы должны иметь маркировку номинальной продолжительности работы или номинальной продолжительности работы и соответственно паузы, если продолжительность работы не ограничена конструкцией прибора или не соответствует условиям работы, указанным в соответствующем стандарте на конкретный прибор.

Маркировка кратковременного или повторно-кратковременного режима должна соответствовать условиям нормальной эксплуатации.

В маркировке повторно-кратковременного режима работы номинальная продолжительность работы должна предшествовать номинальной продолжительности паузы; обозначение номинальной продолжительности работы должно быть отделено от обозначения номинальной продолжительности паузы дробной чертой.

7.3. На съемных нагревательных элементах должны быть указаны следующие данные:

номинальное (ые) напряжение (я) или диапазон (ы) номинальных напряжений в вольтах;

номинальная потребляемая мощность в ваттах или киловаттах, если она больше 25 Вт;

наименование изготовителя или ответственного поставщика, или торговая марка, или товарный знак;

наименование модели или типа;

условное обозначение степени защиты от влаги, если требуется.

(Измененная редакция, Изм. № 1).

7.4. Если прибор может быть переключен на различные номинальные напряжения или различные номинальные потребляемые мощности, то соответствующие значения напряжения или мощности должны быть легко и ясно различимы.

Это требование не распространяется на приборы с соединением «звезда - треугольник».

Примечание. Для приборов, не требующих частых изменений уставки напряжения, это требование считают выполненным, если номинальное напряжение или номинальная мощность, на которые переключен прибор, могут быть определены из схемы соединений, закрепленной на приборе; схема соединений может находиться на внутренней стороне крышки, которую надо снять, чтобы присоединить провода питания. Эта схема соединений может быть выполнена на табличке, которая прикреплена к крышке заклепками, или на бумажной и подобной этикетке, приклеенной к крышке, однако этикетка не должна быть свободно прикреплена к прибору.

7.5. На приборах или съемных нагревательных элементах, маркированных на несколько номинальных напряжений или несколько диапазонов номинальных напряжений, номинальная потребляемая мощность должна быть указана для каждого из этих напряжений или диапазонов напряжений, если она больше 25 Вт.

Верхний и нижний пределы номинальной потребляемой мощности должны быть обозначены на приборе или съемном нагревательном элементе так, чтобы было ясно видно соотношение между потребляемой мощностью и напряжением, если разница между пределами диапазона напряжений превышает 10 % среднего значения диапазона; если разница между пределами диапазона напряжений не превышает 10 % среднего значения диапазона напряжений, допускается указывать номинальную потребляемую мощность для среднего значения напряжения диапазона.

Если необходимая мощность прибора или съемного нагревательного элемента в холодном состоянии отличается более чем на 25 % от потребляемой мощности прибора при рабочей температуре, то потребляемая мощность в холодном состоянии должна быть указана дополнительно в скобках после обозначения потребляемой мощности при рабочей температуре.

7.6. В маркировке используют следующие условные обозначения:

В - вольт;

А - ампер;

Гц - герц;

Вт - ватт;

кВт - киловатт;

мкФ - микрофарад;

л - литр;

кг - килограмм;

Н/см2 - ньютон на квадратный сантиметр;

Па - паскаль;

ч - час;

мин - минута;

с - секунда;

 - переменный ток;

 - переменный трехфазный ток;

 - переменный трехфазный ток с нейтралью;

 - постоянный ток;

 - номинальный ток соответствующей плавкой вставки в амперах;

 - инерционная плавкая вставка;

 - миниатюрная инерционная плавкая вставка, где X - условное обозначение зависимости «время - ток»;

 - конструкция класса II;

 - (одна капля) - конструкция каплезащищенного исполнения;

 - (одна капля в треугольнике) - конструкция брызгозащищенного исполнения;

 - (две капли) - конструкция водонепроницаемого исполнения.

Примечание. Допускается использовать и другие стандартизованные символы при условии, что это не вызовет путаницы.

Условное обозначение рода тока должно быть расположено непосредственно за обозначением номинального напряжения.

Размеры условного обозначения приборов класса II должны быть такими, чтобы длина сторон внешнего квадрата равнялась примерно двойной длине сторон внутреннего квадрата. Длина сторон внешнего квадрата должна быть не менее 5 мм. Если наибольший размер прибора не превышает 15 см, то размеры условного обозначения могут быть уменьшены, но длина сторон внешнего квадрата должна быть не менее 3 мм.

Условное обозначение прибора класса II должно быть расположено так, чтобы было ясно, что оно является частью технической информации, и, чтобы его нельзя было принять за другое обозначение.

Примечание. В маркировке допускается использовать международные обозначения физических величин в соответствии с ГОСТ 8.417.

7.7. Для всех типов креплений шнура питания, кроме типа Z, используют следующие обозначения зажимов:

зажимы, предназначенные только для нейтрального провода, обозначают буквой N;

зажимы заземления обозначают условным знаком   

Эти обозначения не должны помещаться на винтах, съемных шайбах или других частях, которые могут быть сняты при присоединении приборов.

Если у однофазных приборов класса I, предназначенных для постоянного присоединения к стационарной проводке, в фазовый провод внутри прибора включено однополюсное защитное устройство, то соответствующий зажим должен быть четко обозначен для возможности правильного подключения к сети.

7.6, 7.7. (Измененная редакция, Изм. № 1).

7.8. Приборы, предназначенные для подключения к более чем двум питающим проводам, и приборы с многоканальным питанием должны быть снабжены схемой соединений, прикрепленной к прибору, за исключением тех случаев, когда правильный способ присоединения является очевидным.

Примечания:

1. Правильный способ присоединения считается очевидным, если зажимы приборов с трехфазным питанием обозначены стрелками, направленными в сторону зажимов. Заземляющий провод не является питающим проводом. Для приборов с соединением «звезда - треугольник» в схеме соединений должен быть указан способ соединения обмоток.

2. Маркировка словами считается приемлемым способом указания правильного соединения.

3. Схемой соединения может быть схема по п. 7.4.

7.9. Выключатели, функционирование которых может вызвать опасность, должны быть маркированы или расположены так, чтобы было ясно, для управления какой частью прибора они предназначены, за исключением тех случаев, когда в этом нет явной необходимости.

Обозначения, используемые для этой цели (там, где их применяют), должны быть понятны без знания языка, стандартов и т.п.

7.10. Различные положения переключателей на стационарных приборах и различные положения регулирующих устройств должны быть обозначены цифрами, буквами или другими видимыми средствами.

Если для обозначения различных положений используются цифры, то положение «Выключено» должно быть обозначено цифрой «0», а положения, соответствующие большей выходной мощности, потребляемой мощности, скорости, охлаждению и т.п., должны быть отмечены цифрами большего значения.

Цифру «0» не следует использовать для каких-либо других обозначений, если она не расположена и не объединена с другими цифрами так, что исключается ошибка в определении положения «Выключено».

Цифра «0» может быть использована также, например, на клавишах устройств числового программного управления.

7.11. На терморегуляторах, регулирующих и других подобных устройствах, предназначенных для регулировки во время монтажа или при нормальной эксплуатации, должны быть указаны направления увеличения или уменьшения регулируемой величины.

Примечание. Обозначения «+» и «-» считают достаточными.

7.12. Если при установке или эксплуатации прибора необходимы специальные меры предосторожности, то подробное описание этих мер должно быть приведено в инструкции, прилагаемой к прибору. Если стационарный прибор не имеет несъемного гибкого кабеля или шнура и штепсельной вилки или других устройств для отсоединения от источника питания с зазором между контактами не менее 3 мм на всех полюсах, то в инструкции по эксплуатации должно быть указано, что такое устройство для отсоединения должно быть предусмотрено в стационарной проводке.

Примечания:

1. Специальные меры предосторожности могут быть необходимы, например, для встраиваемых приборов.

2. Для того чтобы обеспечить после встраивания условия, необходимые для выполнения требований настоящего стандарта, инструкция по эксплуатации для встраиваемых приборов должна содержать следующие сведения:

размеры пространства, необходимого для встраивания прибора;

размеры и положение средств опоры и крепления прибора внутри указанного пространства;

минимальные зазоры между различными частями прибора и окружающими его частями предметов обстановки;

минимальные размеры вентиляционных отверстий и их правильное расположение;

способ присоединения прибора к источнику питания и отдельных узлов прибора между собой, если таковые имеются.

3. Если провода питания прибора могут соприкасаться с частями клеммной колодки или отсека для стационарной проводки и эти части имеют в условиях нормальной эксплуатации температуру, при которой изоляция проводов подвергается воздействию температуры, превышающей значение, указанное в табл. 3, то в инструкции должно быть также указано, что прибор должен присоединяться с помощью проводов, имеющих маркировку буквой «Т».

Инструкция по эксплуатации должна содержать следующую информацию:

для приборов с креплением шнура типа М - указание о том, что при повреждении шнура его можно заменять специальным шнуром (необходимо определить его конкретно);

для приборов с креплением шнура типа Y - указание о том, что поврежденный шнур можно заменить только в ремонтной мастерской, указанной изготовителем, так как для его замены необходим специальный инструмент;

для приборов с креплением шнура типа Z - указание о том, что шнур питания замене не подлежит; если шнур поврежден, то прибор следует снять с эксплуатации.

7.13. Инструкция по эксплуатации и другие тексты, необходимые для приборов в соответствии с настоящим стандартом, должны быть написаны на официальном (ых) языке (ах) той страны, в которую прибор должен быть поставлен.

Условные обозначения следует применять только те, которые приведены в настоящем стандарте.

Соответствие требованиям пп. 7.1 - 7.13 проверяют осмотром.

7.14. Маркировка, установленная настоящим стандартом, должна быть легко различима и долговечна.

Маркировка, указанная в пп. 7.1 - 7.5, должна быть расположена на основной части прибора или съемного нагревательного элемента.

Маркировка закрепленных приборов после того, как прибор закреплен в положении, соответствующем условиям нормальной эксплуатации, должна быть легко различима с внешней стороны, но, если это необходимо, - после снятия крышки.

Маркировка других приборов должна быть четко различима с внешней стороны, если необходимо, после снятия крышки; у переносных приборов крышка должна сниматься без применения инструмента.

Для стационарных приборов маркировка должна быть расположена под крышкой только в том случае, когда она расположена рядом с зажимами для внешних проводов.

Маркировка на съемных нагревательных элементах должна быть четко различима после снятия элемента с прибора.

Маркировка и указания для выключателей, терморегуляторов, термовыключателей и других устройств управления должны быть расположены рядом с этими устройствами; они не должны располагаться на съемных частях, если эти части могут быть повторно установлены так, что маркировка может быть понята неправильно.

У стационарных приборов, когда они установлены в нормальном эксплуатационном положении, должна быть хорошо видна следующая маркировка:

наименование предприятия-изготовителя или ответственного поставщика, или торговая марка, или товарный знак.

Эти обозначения не обязательно должны располагаться вместе: они могут быть помещены под съемной крышкой.

Соответствие требованию проверяют осмотром и протиркой маркировки вручную в течение 15 с куском ткани, смоченной в воде, а затем в течение 15 с куском ткани, смоченной в бензине.

Если соответствие требованиям настоящего стандарта зависит от функционирования заменяемых термозвеньев или плавких звеньев, то номер по каталогу или аналогичный способ идентификации должен быть маркирован непосредственно на этих устройствах или в таких местах, где он четко виден, когда демонтируют прибор с целью замены звена.

После проведения всех испытаний, предусмотренных настоящим стандартом, маркировка должна быть легко различима, таблички с маркировкой не должны деформироваться и не должны легко сниматься.

Примечания:

1. При оценке долговечности маркировки учитывают условия нормальной эксплуатации. Так, например маркировка, нанесенная краской или эмалью, за исключением стекловидной эмали, на корпусах, которые, вероятно, будут часто подвергаться чистке, не считается долговечной.

2. Бензин, используемый при испытаниях, представляет собой раствор гексана в алифатических соединениях; максимальное содержание ароматических соединений - 0,1 % по объему; значение каурибутанола 29; начальная точка кипения - около 65 °С; точка испарения - около 69 °С; удельная масса - около 0,68 кг/л.

7.13, 7.14. (Измененная редакция, Изм. № 1).

8. ЗАЩИТА ОТ ПОРАЖЕНИЯ ЭЛЕКТРИЧЕСКИМ ТОКОМ

8.1. Приборы должны быть сконструированы и закрыты так, чтобы была обеспечена соответствующая защита от случайного контакта с токоведущими частями, а для приборов класса II, кроме того, с основной изоляцией или с металлическими частями, отделенными от токоведущих частей только основной изоляцией. Это требование распространяется на все положения прибора, смонтированного и работающего так же, как и в условиях нормальной эксплуатации, в том числе и после открытия крышек, дверец и снятия съемных частей, за исключением ламп, размещенных за съемной крышкой, если прибор может быть отключен от источника питания с помощью штепсельной вилки или выключателя всех полюсов, положение «Выключено» которого ясно обозначено. Должна быть обеспечена также защита от случайного прикосновения к токоведущим частям цоколей ламп при установке или удалении ламп.

Изолирующие свойства лака, эмали, обычной бумаги, хлопчатобумажной ткани, окисной пленки на металлических частях, изоляционных бус и заливочной массы не считают обеспечивающими достаточную защиту от случайного прикасания к токоведущим частям.

Кожух приборов не должен иметь отверстий, кроме необходимых для эксплуатации и работы прибора; при этом должен быть предотвращен доступ к токоведущим частям, а для приборов класса II, кроме того, к основной изоляции и к металлическим частям, отделенным от токоведущих частей только основной изоляцией.

Примечания:

1. Если нет других указаний, то части, работающие при безопасном сверхнизком напряжении, не превышающем 24 В, не считаются токоведущими.

2. Если изготовитель предписывает потребителю снятие какой-либо части во время нормальной эксплуатации или технического обслуживания потребителем, то такую часть считают съемной, даже если для ее снятия применяют инструмент.

3. Это требование исключает возможность использования резьбовых предохранителей и резьбовых миниатюрных автоматических выключателей, если они доступны без помощи инструмента. Подразумевается, что штепсельные гнезда, используемые как разъемные контакты для съемных нагревательных элементов, должны быть сконструированы так, чтобы исключить случайное прикасание к токоведущим частям, когда нагревательный элемент удален.

4. Самозатвердевающие смолы не считают заливочной массой.

5. Для приборов, оснащенных шнуром питания и не имеющих выключателей в цепи питания, извлечение вилки шнура из фиксированной розетки рассматривают как единственно возможное действие для выключения прибора.

Соответствие требованию проверяют осмотром и, за исключением нагревательных элементов с видимым свечением и частей, поддерживающих их, испытанием стандартным испытательным пальцем, приведенным на черт. 1.

Кроме того, отверстия в приборах классов 0 и II и отверстия в приборах классов 0I и I, за исключением отверстий в металлических частях, присоединенных к заземляющему зажиму или заземляющему контакту, и отверстий, открывающих доступ к цоколям ламп и токоведущим частям выходов штепсельных розеток, испытывают испытательным стержнем, приведенным на черт. 2.

Испытательный палец и испытательный стержень прикладывают без заметного усилия во всех возможных положениях, за исключением того, что приборы, используемые обычно на полу и имеющие массу свыше 40 кг, не наклоняют.

Приборы, монтируемые на стене, и встраиваемые приборы испытывают в том состоянии, в котором они поставляются в торговую сеть.

Прибор, сконструированный как единый прибор, но поставляемый частями, испытывают после сборки.

Приборы, снабженные подвижными устройствами, например устройствами, предназначенными для изменения распределения тепла или натяжения ремней, испытывают с устройствами, установленными в наиболее неблагоприятное положение в пределах диапазона их регулировки.

Отверстия, в которые испытательный палец не входит, испытывают затем прямым несочлененным испытательным пальцем тех же размеров, который прикладывают с усилием 20 Н; если этот палец входит в отверстие, то испытание испытательным пальцем (см. черт. 1) повторяют, причем палец проталкивается в отверстие. Если несочлененный испытательный палец не входит в отверстие, то усилие, прикладываемое к нему, увеличивают до 30 Н. Если после этого ограждение смещается настолько или отверстие деформируется так, что испытательный палец по черт. 1 входит в отверстие без усилия, то испытание с этим пальцем повторяют. Для обнаружения контакта используется электрический контактный индикатор. Не допускается возможность прикасания испытательным пальцем к неизолированным токоведущим частям или частям, защищенным лишь лаком, эмалью, обычной бумагой, хлопчатобумажной тканью, окисной пленкой, изоляционными бусами или заливочной массой. Кроме того, при указанном выше испытании отверстий не допускается возможность прикасания испытательным стержнем к неизолированным токоведущим частям. Для приборов класса II не должно быть возможности прикасания к основной изоляции или к металлическим частям, отделенным от токоведущих частей только основной изоляцией, испытательным пальцем, изображенным на черт. 1.

Для приборов, кроме приборов класса II, испытание токоведущих частей нагревательных элементов с видимым свечением, все полюсы которых могут быть отключены одновременно, а также частей, которые поддерживают эти элементы, при условии, что при внешнем осмотре прибора без снятия крышек и т.п. видно, что эти части находятся в контакте с нагревательными элементами, проводят испытательным щупом, приведенным на черт. 3, вместо испытательного пальца, причем щуп прикладывают без заметного усилия. Не допускается возможность прикасания щупом к токоведущим частям.

Примечания:

1. Стандартный испытательный палец должен быть сконструирован так, чтобы каждую из сочлененных секций можно было повернуть на 90° по отношению к оси пальца только в одном и том же направлении.

2. Для обнаружения прикасания рекомендуется использовать лампу напряжением не менее 40 В.

3. Тот факт, что приборы, монтируемые на стенах, и встраиваемые приборы испытывают в состоянии поставки в торговую четь, не означает, что такие приборы должны быть полностью закрыты; основная изоляция проводов в приборах, кроме приборов класса II, может обеспечить требуемую степень защиты от поражения электрическим током при условии, что она достаточно защищена или закрыта после установления прибора.

(Измененная редакция, Изм. № 1).

8.2. Металлические части приборов для ухода за кожей или волосами, кроме приборов класса III номинальным напряжением не более 24 В, которые при нормальной эксплуатации прибора находятся в контакте с кожей или волосами людей и животных, должны быть отделены от токоведущих частей двойной или усиленной изоляцией и не должны быть заземлены.

Соответствие требованию проверяют осмотром и испытаниями, установленными для двойной и усиленной изоляций.

8.3. В приборах, кроме приборов класса III, гибкие валы, которые при нормальной эксплуатации держат в руках, должны быть изолированы от вала двигателя соответствующими муфтами из изоляционного материала.

Соответствие требованию проверяют осмотром и испытаниями, установленными для дополнительной изоляции.

8.4. Токопроводящие жидкости, которые в условиях нормальной эксплуатации доступны или могут стать доступными, не должны находиться в непосредственном контакте с токоведущими частями, кроме частей, работающих при безопасном сверхнизком напряжении, не превышающем 24 В.

В приборах класса II такие жидкости не должны находиться в непосредственном контакте с изоляцией, кроме двойной изоляции, с доступными металлическими частями, отделенными от токоведущих частей любой изоляцией, кроме двойной.

8.5. Оси рабочих кнопок, ручек, рукояток и т.п. не должны находиться под напряжением.

Соответствие требованиям пп. 8.4 и 8.5 проверяют осмотром.

8.6. В приборах, кроме приборов класса III, ручки, рукоятки и кнопки, которые при нормальной эксплуатации держат в руке или приводят в действие вручную, не должны оказываться под напряжением в случае повреждения изоляции. Если эти ручки, рукоятки и кнопки металлические и если их валы и крепления могут оказаться под напряжением в случае повреждения изоляции, то они должны быть либо в достаточной степени покрыты изоляционным материалом, либо их доступные токоведущие части должны быть отделены от валов или креплений дополнительной изоляцией.

Это требование не относится к рукояткам, ручкам и кнопкам стационарных приборов, кроме рукояток, ручек и кнопок комплектующих электрических изделий, при условии, что они надежно присоединены к заземляющему зажиму или заземляющему контакту или отделены от токоведущих частей заземленными металлическими частями.

Соответствие требованию проверяют осмотром и, при необходимости, испытаниями, указанными для дополнительной изоляции.

8.4 - 8.6. (Измененная редакция, Изм. № 1).

8.7. Ручки приборов, кроме приборов класса III, которые при нормальной эксплуатации постоянно держат в руке, должны быть сконструированы так, чтобы при захвате их как при нормальной эксплуатации исключалась возможность случайного прикасания руки оператора к металлическим частям, которые могут оказаться под напряжением в случае повреждения изоляции.

Соответствие требованию проверяют осмотром и испытанием вручную.

8.8. В приборах класса II не допускается присоединение конденсаторов к доступным металлическим частям, а их кожухи, если они металлические, должны быть отделены от доступных металлических частей дополнительной изоляцией.

Соответствие требованию проверяют осмотром и испытаниями, установленными для дополнительной изоляции.

8.9. Приборы, предназначенные для присоединения к источнику питания с помощью вилки, должны быть сконструированы так, чтобы в условиях нормальной эксплуатации они не представляли опасности поражения электрическим током от заряженных конденсаторов в случае прикасания к штырям штепсельной вилки.

Соответствие требованию проверяют следующим испытанием, которое проводят 10 раз.

Прибор должен работать при нормальном напряжении или верхнем пределе диапазона номинальных напряжений.

Выключатель прибора, если он имеется, ставят затем в положение «Выключено» и прибор отключают от источника питания с помощью вилки.

Через 1 с после отключения прибора вилкой измеряют напряжение между штырями вилки прибором, не оказывающим заметного влияния на измеряемую величину.

Напряжение не должно превышать 34 В.

Примечание. Конденсаторы номинальной емкостью, не превышающей 0,1 мкФ, не считаются способными вызвать опасность поражения электрическим током.

9. ПУСК ПРИБОРОВ С ЭЛЕКТРОПРИВОДОМ

9.1. Двигатели должны запускаться при всех возможных значениях напряжения сети питания.

Центробежные и другие автоматические пусковые устройства должны работать надежно и без вибрации контактов.

Двигатели, запускаемые рукой, не должны представлять собой источник опасности при запуске их в неправильном направлении.

Соответствие требованию проверяют трехкратным запуском прибора при напряжении, равном 0,85 номинального напряжения; в начале испытания прибор должен иметь температуру, равную комнатной температуре.

Двигатель запускают каждый раз в условиях, соответствующих началу нормальной работы или, для автоматических приборов, - началу нормального цикла работы; двигатель перед каждым последующим запуском должен останавливаться.

Для приборов с двигателями, имеющими пусковые устройства, отличные от центробежных выключателей, это испытание повторяют при напряжении, равном 1,06 номинального напряжения. Двигатели, запускаемые вручную, запускают в правильном направлении и, если возможно, то и в неправильном направлении.

Во всех случаях прибор должен работать так, чтобы не нарушалась безопасность.

Примечание. Источник питания должен быть таким, чтобы во время испытания падение напряжения не превышало 1 %.

9.2. Пусковой ток не должен вызывать перегорания плавкой вставки быстродействующего предохранителя, рассчитанного на номинальный ток:

соответствующий указанному в маркировке, если номинальный ток плавкого предохранителя указан на приборе;

равный номинальному току прибора, но не менее: 10 А - для приборов с номинальным напряжением свыше 130 В и 16 А - для приборов с номинальным напряжением 130 В и менее, если ток соответствующего предохранителя не указан на приборе.

Соответствие требованию проверяют следующим испытанием.

Прибор соединяют последовательно с серебряной проволокой длиной 85 мм и диаметром, указанным в табл. 1.

Проволока содержит не менее 99,9 % серебра и натянута горизонтально вдоль оси симметрии коробки, внутренние размеры которой равны 80 х 80 х 150 мм.

Таблица 1

Номинальный ток предохранителя, А

Диаметр серебряной проволоки, мм

Продолжительность пуска не превышает 1 с

Продолжительность пуска превышает 1 с

10

0,29

0,39

16

0,39

0,52

20

0,46

0,60

25

0,53

0,66

Прибор погружают так, чтобы условия пуска были наиболее неблагоприятными из возможных при нормальной эксплуатации. Нагревательные элементы, встроенные в прибор, включают, но не подсоединяют к отдельному источнику питания.

Затем прибор запускают 10 раз при напряжении, равном 0,9 номинального напряжения, и 10 раз при напряжении, равном 1,1 номинального напряжения. Интервалы между последовательными пусками должны быть достаточными для предотвращения чрезмерного нагрева, но не менее 5 мин.

Во время испытания серебряная проволока не должна расплавляться и не должны срабатывать устройства защиты от перегрузки.

Примечание. Источник питания должен быть таким, чтобы во время испытания падение напряжения не превышало 1 %.

9.3. Устройства защиты от перегрузки не должны срабатывать при нормальных условиях пуска.

Соответствие требованию проверяют в процессе испытания по п. 9.2.

10. ПОТРЕБЛЯЕМАЯ МОЩНОСТЬ И ТОК

10.1. Значение потребляемой мощности прибора и съемных нагревательных элементов при номинальном напряжении и нормальной рабочей температуре не должно отличаться от номинальной потребляемой мощности более чем на указанное в табл. 2.

Таблица 2

Тип прибора

Номинальная потребляемая мощность, Вт

Отклонение

Нагревательный

До 100 включ.

±10 %

Св. 100

+5 % или -10 %, или 10 Вт в зависимости от того, что больше

Электромеханический

До 33,3 включ.

+ 10 Вт

Св. 33,3 до 150 включ.

+30 %

» 150 » 300 »

+45 Вт

» 300

+ 15 %

Соответствие требованию проверяют измерением значения потребляемой мощности прибора или съемного нагревательного элемента, работающего при номинальном напряжении в соответствии с условиями нормальной теплоотдачи и (или) при нормальной нагрузке после того, как потребляемая мощность достигнет установившегося значения. Если нагрузка двигателя изменяется в течение рабочего цикла, то потребляемую мощность измеряют с помощью счетчика ватт-часов и определяют как среднее значение потребляемой мощности за наиболее характерный период работы.

Примечания:

1. Для электромеханических приборов отклонение в минусовую сторону не ограничено.

2. Для приборов и съемных нагревательных элементов, на которых указан диапазон номинальных напряжений, предельные значения которого отличаются более чем на 10 % от среднего напряжения диапазона, допускаемые отклонения относятся как к верхнему, так и нижнему пределам диапазона.

10.2. Если на электромеханическом приборе указано значение номинального тока, то потребляемый прибором ток не должен превышать номинальный ток более чем на 10 %.

Соответствие требованию проверяют измерением значения тока, потребляемого прибором при нормальной нагрузке, номинальном напряжении и номинальной частоте, причем пусковой ток не учитывается.

10.3. Если на электронагревательном приборе или съемном нагревательном элементе указано значение потребляемой мощности в холодном состоянии, то фактическое значение не должно отличаться от маркированного значения более чем на 20 %.

Соответствие требованию проверяют осмотром и измерением.

Примечание. Для приборов и съемных нагревательных элементов, на которых указаны один или несколько диапазонов номинальных напряжений, испытания по пп. 10.1 - 10.3 проводят как при верхних, так и при нижних пределах диапазонов, за исключением тех случаев, когда указанная потребляемая мощность относится к среднему значению соответствующего диапазона напряжения; в таких случаях испытания проводят при напряжении, равном среднему напряжению этого диапазона.

11. НАГРЕВ

11.1. Приборы и окружающая их среда при нормальной эксплуатации не должны нагреваться сверх допустимых значений.

Соответствие требованию проверяют определением превышения температуры различных частей при условиях, указанных в пп. 11.2 - 11.7; если превышение температуры обмотки двигателя выше значений, указанных в табл. 3, или возникают сомнения относительно классификации системы изоляции, примененной в двигателе, то соответствие проверяют дополнительным испытанием по п. 11.10.

Приборы, снабженные катушкой автоматической намотки шнура, подвергают дополнительному испытанию по п. 11.9.

Примечание. Для испытаний по п. 11.10 может возникнуть необходимость измерения максимального превышения температуры, достигаемого обмоткой ротора и статора двигателей при условиях, указанных в пп. 11.2 - 11.7.

11.2. Ручные приборы подвешивают в нормальном положении в спокойном воздухе.

Встраиваемые приборы встраивают, используя при этом стенки из окрашенной в черный матовый цвет фанеры толщиной около 20 мм.

Другие нагревательные приборы устанавливают в испытательном углу. Испытательный угол состоит из двух стенок, расположенных под прямым углом, пола и, если необходимо, потолка, выполненных из окрашенной в черный матовый цвет фанеры толщиной 20 мм. Приборы располагают в испытательном углу следующим образом.

Приборы, устанавливаемые обычно на полу или на столе, устанавливают на пол как можно ближе к стенам.

Приборы, которые обычно крепят к стене, монтируют на одной из стен как можно ближе к другой стене и к полу или потолку, как при нормальной эксплуатации, если отсутствуют другие указания изготовителя относительно их установки.

Приборы, которые обычно крепят к потолку, крепят к потолку как можно ближе к стекам, как при нормальной эксплуатации, если отсутствуют специальные указания изготовителя относительно их установки.

Другие электромеханические приборы устанавливают или крепят к подставке из окрашенной в черный матовый цвет фанеры толщиной 20 мм следующим образом.

Приборы, устанавливаемые обычно на полу или на столе, устанавливают на горизонтальную подставку.

Приборы, которые обычно крепят к стене, монтируют на вертикальной подставке.

Приборы, которые обычно крепят к потолку, крепят к нижней стороне горизонтальной опоры.

(Измененная редакция, Изм. № 1).

11.3. Превышение температур, за исключением превышений температур обмоток, определяют тонкопроволочными термопарами, выбранными и расположенными так, чтобы они оказывали минимальное влияние на температуру испытуемой части.

Термопары, используемые для определения превышения температуры поверхности стен, потолка и пола, вделывают в поверхность или прикрепляют к внутренней стороне небольших зачерненных дисков из меди или латуни диаметром 15 мм и толщиной 1 мм, которые находятся заподлицо с поверхностью.

По возможности прибор располагают так, чтобы части его, которые будут иметь, вероятно, наиболее высокую температуру, соприкасались с дисками.

При определении превышений температуры ручек, кнопок, захватов и т.п. необходимо принимать во внимание все их части, которые при нормальной эксплуатации захватывают рукой, а если они изготовлены из изоляционного материала, то и части, соприкасающиеся с горячим металлом.

Превышение температуры электрической изоляции, кроме изоляции обмоток, определяют на поверхности изоляции в местах, где ее повреждение может привести к короткому замыканию, контакту между токоведущими частями и доступными металлическими частями, образованию токоведущего мостика на изоляции или уменьшению путей утечки или воздушных зазоров до значений, меньших, чем указано в п. 29.1.

Превышение температуры обмоток определяют методом сопротивления, за исключением тех случаев, когда обмотки неоднородные или возникают большие трудности при выполнении необходимых соединений; в таких случаях превышение температуры определяют с помощью термопар.

Примечания:

1. Если для установки термопар необходимо разбирать прибор, то после повторной сборки прибора вновь измеряют потребляемую мощность, чтобы убедиться, что прибор собран правильно.

2. Точка разветвления жил многожильного кабеля или шнура и места ввода изолированных проводов в патроны ламп являются примерами мест, где следует располагать термопары.

11.4. Нагревательные элементы должны работать в условиях нормальной теплоотдачи со всеми включенными нагревательными элементами при таком напряжении питания, при котором потребляемая мощность составляет 1,15 максимальной номинальной потребляемой мощности.

11.5. Электромеханические приборы должны работать при нормальной нагрузке и при наиболее неблагоприятном напряжении в пределах между 0,94 минимального номинального напряжения и 1,06 максимального номинального напряжения.

11.6. Для комбинированных приборов, когда двигатели работают при напряжении, равном 1,06 максимального номинального напряжения, потребляемая мощность нагревательных элементов должна соответствовать указанной в п. 11.4. Когда двигатели работают при напряжении, равном 0,94 минимального номинального напряжения, потребляемая мощность нагревательных элементов должна быть уменьшена до значения, равного 0,9 минимальной номинальной потребляемой мощности.

Примечание. Если необходимо провести испытание на промежуточном значении напряжения, то пропорционально регулируют и потребляемую мощность нагревательных элементов.

11.7. Приборы должны работать:

в течение номинального рабочего времени - для приборов кратковременного режима работы;

при последовательных циклах до достижения установившегося теплового состояния - для приборов повторно-кратковременного режима работы; при этом продолжительности периодов «Включено» и «Отключено» должны соответствовать номинальным продолжительностям периодов «Включено» и «Отключено»;

до достижения установившегося теплового состояния - для приборов продолжительного режима работы.

11.8. Во время испытания термовыключатели не должны срабатывать, превышения температуры следует контролировать непрерывно и они не должны превышать значений, указанных в табл. 3, а заливочная масса, если она имеется, не должна вытекать.

Для приборов, которые не подвергают испытанию по разд. 12, измерения, указанные в п. 13.1, проводят в конце настоящего испытания.

Таблица 3

Наименование частей приборов

Превышение температуры, °С (К)

Обмотки1, если изоляция выполнена из:

 

материала класса А2

75 (65)

материала класса Е2

90 (80)

материала класса В2

95 (85)

материала класса F2

115

материала класса Н2

140

Штыри приборных вводов:

 

для очень горячих условий

130

для горячих условий

95

для холодных условий

40

Зажимы, включая зажимы заземления, для внешних проводов стационарных приборов, если они не снабжены шнуром питания

60

Окружающая среда выключателей и терморегуляторов3:

 

без маркировки Т

30

с маркировкой Т

Т-25

Резиновая или поливинилхлоридная изоляция внутренних и внешних проводов, включая шнуры питания:

 

без маркировки Т

504

с маркировкой Т

Т-255

Оболочки шнуров, используемые в качестве дополнительной изоляции

35

Резина, кроме синтетической, применяемая для сальников и других деталей, повреждение которых может повлиять на безопасность:

 

применяемая в качестве дополнительной или усиленной изоляции

40

в других случаях

50

Патроны серий Е26 и Е27:

 

металлические или керамические

160

из некерамического изоляционного материала

120

Патроны серий Е14, В15 и В22:

 

металлические или керамические

130

из некерамического изоляционного материала

90

с маркировкой Т

Т-25

Материалы, используемые в качестве изоляции, кроме изоляции проводов и обмоток6:

 

пропитанная или лакированная ткань, бумага или прессованный картон

70

слоистые материалы, пропитанные:

 

меламинформальдегидной, фенол формальдегидной или фенолфурфурольными смолами

85 (175)

карбамидформальдегидной смолой

65 (150)

прессованные материалы из:

 

фенолформальдегида с наполнителем из целлюлозы

85 (175)

фенолформальдегида с минеральным наполнителем

100 (200)

меламинформальдегида

75 (150)

карбамидформальдегида

65 (150)

полиэстр, армированный стекловолокном

110

силиконовый каучук

145

политетрафторэтилен

265

чистая слюда и титотноспекаемый керамический материал, если они используются как дополнительная или усиленная изоляция

400

термопластические материалы7

-

Древесина8:

 

деревянные опоры, стены, потолок и пол испытательного угла и деревянных шкафов:

65

для стационарных приборов, если в соответствующем стандарте указано, что они относятся к приборам, способным работать непрерывно в течение длительного периода времени

60

для других приборов

65

Внешние поверхности конденсаторов:

 

с маркировкой максимальной рабочей температуры Т

Т-35

без маркировки максимальной рабочей температуры:

 

небольшие керамические конденсаторы для подавления теле- и радиопомех

50

другие конденсаторы

20

Внешний кожух приборов без нагревательных элементов, за исключением ручек, которые при нормальной эксплуатации держат в руке

60

Рукоятки, кнопки, ручки и т.п., которые при нормальной эксплуатации постоянно держат в руке (например, рукоятки паяльников):

 

из металла

30

из фарфора или стеклянного материала

40

из прессованного материала, резины или древесины

50

Рукоятки, кнопки, ручки и т.п., которые при нормальной эксплуатации держат в руках только кратковременно (например, у выключателей):

 

из металла

35

из фарфора или стекловидного материала

45

из прессованного материала, резины или древесины

60

Части, соприкасающиеся с маслом, температура воспламенения которого t °C

t-50

Любая точка возможного контакта изоляции проводов с частями коробки для зажимов или отсека для присоединения к фиксированной проводке стационарных приборов, не имеющих шнура питания:

 

если инструкция предусматривает применение проводов с маркировкой Т

Т-255

в других случаях

504

1 Учитывая, что температура обмоток универсальных двигателей, реле, соленоидов и т.п. обычно выше средних температур в точках, где расположены термопары, значения превышения температур, приведенные без скобок, применимы, когда используется метод сопротивления, приведенные в скобках - при использовании термопар.

Для обмоток катушек вибраторов и двигателей переменного тока в обоих случаях применимы значения превышения температуры, приведенные без скобок.

2 Классификация соответствует ГОСТ 8865.

К материалам класса А относятся:

пропитанная хлопчатобумажная ткань, шелк, искусственный шелк и бумага;

эмали на основе масляных или полиамидных смол.

К материалам класса В относятся:

асбест, стекловолокно, меламинформальдегидные и фенолформальдегидные смолы.

К материалам класса Е относятся:

прессованные материалы с целлюлозным наполнителем, слоистые материалы на основе хлопчатобумажных тканей и бумаги, пропитанные меламинформальдегидными, фенолформальдегидными и фенолфурфурольными смолами;

полиэфирные смолы сетчатой структуры, пленки из триацетата целлюлозы или полиэтилентерефталата;

лакированная полиэтилентерефталатная ткань, пропитанная лаком из алкидной смолы, модифицированной маслом;

эмали на основе поливинилформальдегидных, полиуретановых или эпоксидных смол.

Для полностью закрытых двигателей пределы превышения температуры для классов А, Е и В можно увеличить на 5 °С (5 К).

Полностью закрытый двигатель - двигатель, сконструированный так, что отсутствует циркуляция воздуха между внутренним и внешним пространством двигателя, но не закрытый до такой степени, что его можно считать герметичным.

3 «Т» означает максимальную рабочую температуру.

Под температурой окружающей среды для выключателей и терморегуляторов понимают температуру воздуха в наиболее нагретой точке на расстоянии 5 мм от поверхности рассматриваемого выключателя или терморегулятора.

Для этого испытания выключатели и терморегуляторы, имеющие индивидуальную маркировку номинальных данных, допускается считать не имеющими маркировки максимальной рабочей температуры, если на это есть указание изготовителя прибора.

4 Этот предел применим к кабелям, шнурам и проводам, отвечающим требованиям соответствующих стандартов; в других случаях он может быть иным.

5 Этот предел действителен до издания стандартов на высокотемпературные кабели, шнуры и провода.

6 Значения в скобках действительны для материалов, используемых для ручек, кнопок, рукояток и т.п. и находящихся в контакте с горячим металлом.

7 Предел для термопластичных материалов, которые должны выдерживать испытания по пп. 30.1 или 30.2, не установлен; для этих испытаний необходимо определить превышение температуры.

8 Указанный предел касается повреждения древесины; повреждение ее покрытия не принимают во внимание.

В случае применения указанных или других материалов, они не должны подвергаться воздействию температур, превышающих их нагревостойкость, определенную испытанием на старение, проведенным на этих материалах.

Примечания:

1. Значения, указанные в табл. 3, основаны на том, что температура окружающей среды не превышает 25 °С, но временами может повышаться до 35 °С. Указанные значения превышений температуры отнесены к температуре 25 °С.

2. Значение превышения температуры медной обмотки Dt, °С, рассчитывают по формуле

,

где R1, - сопротивление в начале испытания, Ом;

R2 - сопротивление в конце испытания, Ом;

t1 - температура в помещении в начале испытания, °С;

t2 - температура в помещении в конце испытания, °С.

В начале испытания температура обмотки должна быть равна температуре помещения.

Рекомендуется измерять сопротивление обмотки в конце испытания как можно скорее после отключения прибора, а затем через короткие интервалы времени, для того, чтобы построить кривую зависимости сопротивления от времени для экстраполяции значения сопротивления на момент отключения.

3. Классификацию материалов ручек, кнопок, рукояток и т.п. производят по значению постоянной b, рассчитываемой по формуле

,

где l - теплопроводность материала, Вт/(°С·м);

c - удельная теплоемкость материала, Дж/(°С·кг);

g - удельная масса материала, кг/м3.

Материалы классифицируются следующим образом:

при b > 3500 - металл;

при b в пределах от 1000 до 3500 - фарфор или стекловидный материал;

при b < 1000 - прессованный материал, резина или древесина.

Значение постоянной b можно определить также следующим способом.

Образцы материалов с известными значениями постоянной b и образец материала, подлежащего классификации, крепят к нагретой металлической пластине, причем все образцы должны иметь одинаковые размеры;

измеряют температуру верхних поверхностей различных образцов и вычерчивают кривую, отражающую температуру эталонных образцов в зависимости от значения их постоянной b;

значение постоянной b материала, подлежащего классификации, определяют по этой кривой путем отсчета значения b, соответствующего температуре, до которой нагрелся испытуемый образец.

11.9. В приборах с катушкой автоматической намотки шнура шнур или кабель разматывают на 1/3 общей длины. Затем определяют превышение температуры резиновой или поливинилхлоридной изоляции как можно ближе к втулке катушки и между двумя наиболее удаленными слоями кабеля или шнура на катушке.

Для устройств хранения шнура, кроме катушек для автоматической намотки шнура, которые предназначены для частичной намотки шнура питания во время работы прибора, 50 см кабеля или шнура разматывают. Превышение температуры намотанной части кабеля или шнура определяют в наиболее неблагоприятном месте.

Устройства, которые сконструированы так, что превышение температуры кабеля или шнура сверх температуры помещения невозможно, не подвергают этому испытанию.

Превышение температуры изоляции не должно превышать соответствующих значений, приведенных в табл. 3, а превышение температуры скользящих контактов катушки не должно превышать 65 °С (65 К).

11.8, 11.9. (Измененная редакция, Изм. № 1).

11.10. Если превышение температуры обмотки двигателя более указанного в табл. 3 или если имеются сомнения относительно классификации системы изоляции, примененной в двигателе, то на шести образцах двигателей проводят следующие испытания.

Ротор каждого из двигателей затормаживают и отдельно через каждую обмотку ротора и статора пропускают ток такого значения, чтобы температура соответствующей обмотки была равна максимальному превышению температуры, измеренному в условиях, указанных в пп. 11.2 - 11.7, увеличенному на 25 °С. Это значение температуры повышают еще на одно из значений, указанных в табл. 4. Общее время, в течение которого ток протекает через обмотки, для выбранного значения повышения температуры указано в табл. 4.

Таблица 4

Повышение температуры, °С (К)

Общее время, ч

0±3

р1

10 ±3

0,5р

20 ±3

0,25р

30 ±3

0,125р

1 В общем случае для двигателей бытовых приборов р равно 8000 ч.

Общее время разделяют на четыре одинаковых периода, после каждого из которых двигатель подвергают в течение 48 ч влажной обработке, как указано в п. 15.4. После последней влажной обработки изоляция должна выдерживать испытание на электрическую прочность, как указано в п. 16.4, при этом, однако, испытательное напряжение снижают до 50 % значений, указанных в п. 1 табл. 6.

После каждого периода, в течение которого через обмотки пропускают ток, и перед последующей влажной обработкой измеряют ток утечки системы изоляции, как указано в п. 13.2, причем все компоненты, не образующие часть системы изоляции, подвергаемой испытанию, и которые, вероятно, пропускают ток утечки, перед измерением отсоединяют.

В любом случае ток утечки не должен превышать 0,5 мА.

Повреждение только одного из шести двигателей в течение первого из четырех периодов испытания не принимают во внимание.

Если один из шести двигателей повреждается в течение второго, третьего или четвертого периодов испытания, то оставшиеся пять двигателей подвергают дополнительному испытанию в пятом периоде пропускания тока и влажной обработки, за которым следует испытание на электрическую прочность изоляции, как указано выше.

Повреждение любого из пяти оставшихся двигателей является основанием для бракования.

После этого двигатели подвергают испытанию по п. 18.2, но только в течение половины общей продолжительности работы, указанной в данном пункте. Все двигатели после этого должны выдержать испытание на электрическую прочность изоляции, как указано выше.

Примечания:

1. Тепловую защиту двигателей, если она имеется, перед началом испытаний отключают.

2. Примерами случаев, когда могут возникнуть сомнения относительно классификации системы изоляции обмоток двигателя, являются случаи, когда хорошо известные изоляционные материалы используются необычным способом, когда используют сочетание материалов различных классов нагревостойкости при температуре, которая выше температуры, допустимой для материала самого низкого класса, или когда используют материалы, по которым нет достаточного опыта их применения, как, например, при использовании изоляции, выполненной заодно с сердечником.

3. Если необходимо доказать, что система изоляции относится к классу нагревостойкости, установленному изготовителем, то температура обмотки должна быть равна пределу температуры для установленного класса, увеличенной на значение повышения температуры, выбранное из табл. 4.

4. Значение повышения температуры, выбранное из табл. 4, должно быть согласовано с изготовителем.

12. РАБОТА В УСЛОВИЯХ ПЕРЕГРУЗКИ ПРИБОРОВ С НАГРЕВАТЕЛЬНЫМИ ЭЛЕМЕНТАМИ

12.1. Приборы с нагревательными элементами должны быть спроектированы и сконструированы так, чтобы они выдерживали перегрузки, которые могут возникнуть при нормальной эксплуатации.

Соответствие требованию проверяют испытанием по п. 12.2 и, если возможно, испытанием по п. 12.3.

После испытаний прибор не должен иметь повреждений, нарушающих соответствие его требованиям настоящего стандарта.

В частности, проволочные нагреватели, внутренняя проводка и весь прибор в целом не должны деформироваться так, чтобы пути утечки, воздушные зазоры и расстояния по изоляции оказались меньше значений, установленных в п. 29.1. Контакты и соединения не должны быть ослаблены.

12.2. Ручные приборы подвешивают в их нормальном положении в спокойном воздухе.

Приборы, используемые обычно на полу или на стене, помещают на горизонтальную подставку вдали от стен.

Приборы, закрепляемые обычно на стене, крепят к стене как можно ближе к полу или потолку, как при нормальной эксплуатации, если в инструкции изготовителя отсутствуют другие указания.

Прибор подвергают испытанию в течение 15 циклов, каждый из которых состоит из рабочего периода, как указано в п. 11.7, согласно условиям нормальной теплоотдачи и периода охлаждения, достаточного для охлаждения прибора до температуры, равной примерно температуре помещения.

Во время рабочего периода должны быть включены все нагревательные элементы, которые могут работать одновременно; при этом напряжение питания должно быть таким, чтобы потребляемая мощность составляла:

1,33 номинальной потребляемой мощности - для приборов с номинальной потребляемой мощностью, не превышающей 100 Вт;

1,27 номинальной потребляемой мощности или 1,21 номинальной потребляемой мощности плюс 12 Вт в зависимости от того, что больше, - для приборов с номинальной потребляемой мощностью, превышающей 100 Вт.

Если срабатывает термовыключатель с самовозвратом или термовыключатель без самовозврата, который доступен и может быть возвращен в исходное состояние без помощи инструмента, то рабочий период считается законченным. После этого прибору дают возможность остыть, и выключатель устанавливают в исходное состояние для следующего цикла работы.

Во время испытания не должны срабатывать термовыключатели без самовозврата, которые доступны только с помощью инструмента или которые требуют замены части их, и в приборе не должен скапливаться пар или воспламеняющийся газ.

Примечания:

1. Для сокращения периода охлаждения может быть использовано принудительное охлаждение.

2. В приборах со встроенным двигателем, работа которого может повлиять на состояние нагревательных элементов, двигатель работает от отдельного источника при номинальном напряжении и нормальной нагрузке.

12.3. Приборы с реле давления подвергают дополнительному испытанию в условиях, указанных в п. 12.2, при этом продолжительности каждого рабочего периода и периода охлаждения составляют примерно 5 мин, а ток прерывается регулированием рабочего давления.

13. ЭЛЕКТРИЧЕСКАЯ ИЗОЛЯЦИЯ И ТОК УТЕЧКИ ПРИ РАБОЧЕЙ ТЕМПЕРАТУРЕ

13.1. Электрическая изоляция прибора при рабочей температуре должна быть достаточной, ток утечки при нормальной эксплуатации не должен превышать допустимого значения.

Соответствие требованию проверяют испытанием по п. 13.2 и для нагревательных приборов - дополнительным испытанием по п. 13.3, причем прибор должен работать в условиях нормальной теплоотдачи и (или) при нормальной нагрузке в течение времени, указанного в п. 11.7.

Нагревательные приборы, кроме комбинированных приборов, должны работать с включенными всеми нагревательными элементами при таком напряжении питания, чтобы потребляемая мощность была равна 1,15 максимальной номинальной потребляемой мощности.

Электромеханические приборы и комбинированные приборы должны работать при напряжении питания, равном 1,06 номинального напряжения.

Трехфазные приборы, которые могут работать также от однофазной сети, испытывают как однофазные приборы с тремя параллельно соединенными секциями.

Испытания проводят на приборе, подключенном к источнику питания, за исключением трехфазных приборов, которые не предназначены для однофазного питания, для которых испытание по п. 13.3 проводят непосредственно после отключения прибора от источника питания.

13.2. Ток утечки измеряют между любым полюсом источника питания и:

доступными металлическими частями и металлической фольгой площадью не более 20 х 10 см, соприкасающейся с доступными поверхностями изоляционного материала, соединенными между собой;

металлическими частями приборов класса II, отделенными от токоведущих частей только основной изоляцией.

Схема измерения приведена на следующих чертежах:

для однофазных приборов с номинальным напряжением, не превышающим 250 В, трехфазных приборов, испытуемых как однофазные приборы, и нагревательных приборов, предназначенных только для постоянного тока:

для приборов класса II - черт. 4;

для приборов других классов - черт. 5;

для однофазных приборов с номинальным напряжением, превышающим 250 В, и для трехфазных приборов, не предназначенных для однофазного питания:

для приборов класса II - черт. 6;

для приборов других классов - черт. 7.

Однофазные приборы с номинальным напряжением, превышающим 250 В, соединяют с двумя фазными проводами; оставшийся фазный провод не используют.

Измерительная цепь должна иметь общее сопротивление (1750 ± 250) Ом и шунтироваться конденсатором такой емкости, чтобы постоянная времени цепи составляла (225 ± 15) мкс.

Испытание проводят на переменном токе, за исключением приборов, предназначенных для работы только на постоянном токе, которые испытывают на постоянном токе; электромеханические приборы, предназначенные для работы только на постоянном токе, испытанию не подвергают.

Для однофазных приборов с номинальным напряжением, не превышающим 250 В, и для трехфазных приборов, испытуемых как однофазные приборы, ток утечки измеряют с помощью селективного переключателя, приведенного на черт. 4 и 5, в каждом из положений 1 и 2.

Для других приборов ток утечки измеряют с помощью выключателей а, b и с, показанных на черт. 6 и 7, установленных в положение «Включено»; для трехфазных приборов, не предназначенных для однофазного питания, измерения повторяют при поочередном отключении одного из выключателей при включенных двух остальных выключателях; для однофазных приборов измерения повторяют с одним из выключенных выключателей.

После работы прибора в течение времени, указанного в п. 11.7, ток утечки не должен превышать следующих значений:

к доступным металлическим частям и металлической фольге:

для приборов классов 0, 0I и III - 0,5 мА;

для переносных приборов класса I - 0,75 мА;

для стационарных электромеханических приборов класса I - 3,5 мА;

для стационарных нагревательных приборов класса I со съемными нагревательными элементами или элементами, которые могут включаться раздельно, - 0,75 мА или 0,75 мА на 1 кВт номинальной потребляемой мощности каждого элемента или группы элементов в зависимости от того, что больше, но не более 5 мА на прибор в целом;

для других стационарных нагревательных приборов класса I - 0,75 мА или 0,75 мА на 1 кВт номинальной потребляемой мощности прибора в зависимости от того, что больше, но не более 5 мА;

для приборов класса II - 0,25 мА;

к металлическим частям приборов класса II, отделенным от токоведущих частей только основной изоляцией, в соответствии со степенью защиты от воздействия влаги:

для приборов обычного исполнения - 5,0 мА;

для приборов всех других исполнений - 3,5 мА.

Если прибор имеет один или несколько конденсаторов и однополюсный выключатель, то измерения повторяют с выключателем, установленным в положение «Выключено».

Примечания:

1. Если приборы имеют как нагревательные элементы, так и двигатели, то общий ток утечки может быть в пределах, установленных для нагревательных приборов или для электромеханических приборов в зависимости от того, что больше, но не допускается суммировать оба предела.

2. Точность измерительного устройства - не менее 5 % во всем диапазоне частот от 20 до 5000 Гц.

3. Если ток утечки, измеренный в цепи, имеющей общее сопротивление менее 1600 Ом, превышает 5 мА, то отсчеты по прибору уменьшают на 5 %.

4. Схема цепи для измерения тока утечки приведена в приложении G.

5. Рекомендуется подавать питание на прибор через разделительный трансформатор; в противном случае прибор должен быть изолирован от земли.

6. Металлическая фольга должна занимать по возможности наибольшую площадь на испытуемой поверхности без превышения установленных размеров. Если площадь металлической фольги меньше, чем испытуемая поверхность, то фольгу перемещают так, чтобы испытать все части поверхности; металлическая фольга не должна влиять на тепловое рассеяние прибора.

7. Испытание с выключателем, установленным в положение «Выключено», проводят для того, чтобы убедиться в том, что конденсаторы, подсоединенные после однополюсного выключателя, не вызывают появления чрезмерного тока утечки.

8. Если в прибор встроено терморегулирующее устройство, которое срабатывает во время испытания по разд. 11, то ток утечки измеряют непосредственно перед тем, как регулирующее устройство разрывает цепь.

13.3. Изоляцию приборов, кроме изоляции двигателей, подвергают в течение одной минуты испытанию напряжением практически синусоидальной формы частотой 50 или 60 Гц. Для однофазных приборов и для трехфазных приборов, испытуемых как однофазные приборы, схема соединений приведена на черт. 8.

Испытательное напряжение прикладывают между токоведущими частями и корпусом и, для приборов класса II, между токоведущими частями и частями, отделенными от токоведущих частей только основной изоляцией; кроме того, в приборах класса II испытательное напряжение прикладывают также между металлическими частями, отделенными от токоведущих частей только основной изоляцией, и корпусом.

Значения испытательного напряжения должны составлять:

500 В - для основной изоляции, которая в нормальных условиях эксплуатации подвергается воздействию безопасного сверхнизкого напряжения;

1000 В - для другой основной изоляции;

2750 В - для дополнительной изоляции;

3750 В - для усиленной изоляции.

В начале испытания прикладывают не более половины испытательного напряжения, которое затем быстро повышают до его полного значения.

Во время испытания не должно возникать перекрытия по изоляции или пробоя изоляции.

Примечания:

1. Тлеющие разряды без падения напряжения не принимаются во внимание.

2. Трансформатор высокого напряжения, используемый при испытании, должен иметь мощность не менее 500 В×А.

3. Если вторичная обмотка разделительного трансформатора не имеет отвода в средней точке, то выходная обмотка трансформатора высокого напряжения может быть подключена к средней точке потенциометра, общее сопротивление которого не превышает 2000 Ом, подключенного параллельно выходной обмотке разделительного трансформатора.

14. ПОДАВЛЕНИЕ РАДИО- И ТЕЛЕПОМЕХ

14.1. Встроенные элементы, необходимые для достаточного подавления уровня радио- и телепомех, не должны снижать безопасность прибора.

Соответствие требованию проверяют испытаниями, предусмотренными настоящим стандартом.

15. ВЛАГОЕМКОСТЬ

15.1. Кожух приборов каплезащищенного, брызгозащищенного и водонепроницаемого исполнений должен обеспечивать степень защиты от влаги в соответствии с классификацией прибора.

Соответствие требованию проверяют соответствующей обработкой, указанной в п. 15.2.

Непосредственно после обработки каплезащищенных и брызгозащищенных приборов они должны выдерживать испытание на электрическую прочность изоляции, указанное в п. 16.4, и осмотр должен показать, что вода, которая могла проникнуть в прибор, не приводит к нарушению соответствия прибора требованиям настоящего стандарта; в частности, на изоляции не должно быть следов воды, что может повлечь за собой уменьшение путей утечки и воздушных зазоров ниже значений, указанных в п. 29.1.

Непосредственно после обработки водонепроницаемых приборов они должны выдержать испытание на электрическую прочность изоляции по п. 16.4, а осмотр должен подтвердить, что вода не проникла в те места, где расположены токоведущие части.

Приборы, у которых при нормальной эксплуатации не происходит перелива жидкости, перед испытанием по п. 15.4 выдерживают в течение 24 ч в нормальной атмосфере испытательного помещения.

При испытаниях по пп. 15.2 и 15.3 встраиваемые приборы встраивают в соответствии с инструкцией изготовителя.

15.2. Приборы с приборным вводом снабжают соответствующим соединителем и гибким кабелем или шнуром; приборы с креплением типа X снабжают гибким кабелем или шнуром самого легкого допустимого типа с наименьшей площадью поперечного сечения по п. 26.2, остальные приборы испытывают в состоянии поставки.

Электрические компоненты, включая съемные нагревательные элементы, крышки и другие части, которые могут быть удалены без помощи инструмента, удаляют и подвергают, если это необходимо, соответствующей обработке вместе с основной частью прибора.

Уплотняющие кольца сальников и другие уплотняющие средства (при их наличии) подвергают старению в атмосфере, имеющей состав и давление окружающего воздуха, путем свободного подвешивания их в термокамере с естественной вентиляцией.

Уплотняющие кольца и другие уплотняющие средства выдерживают в камере при температуре (70 ± 2) °С в течение 10 сут (240 ч).

Непосредственно после этого образцы вынимают из камеры и выдерживают их при комнатной температуре, избегая попадания на них прямого дневного света, в течение 16 ч перед тем, как они будут повторно установлены. После этого сальники и другие уплотняющие средства затягивают вращающим моментом, равным 2/3 вращающего момента, применяемого при испытании по п. 21.3.

Примечание. Рекомендуется применять камеру с электроподогревом. Естественная циркуляция воздуха может быть обеспечена отверстиями в стенах камеры.

Испытание проводят следующим образом:

1) приборы каплезащищенного исполнения подвергают в течение 5 мин действию вертикально падающего искусственного дождя;

2) приборы брызгозащищенного исполнения:

если они ручные, то их подвергают в течение 5 мин действию вертикально падающего искусственного дождя; прибор при этом постоянно поворачивают в наиболее неблагоприятные положения;

если приборы нормально крепят к потолку, то их подвергают в течение 5 мин действию вертикально падающего искусственного дождя, затем в течение 10 мин - воздействию наклонно падающего искусственного дождя, после чего следует испытание в течение 5 мин обрызгиванием;

если приборы не ручные и не крепятся нормально к потолку, то их подвергают в течение 10 мин действию наклонно падающего искусственного дождя, а затем в течение 5 мин обрызгиванию;

3) приборы водонепроницаемого исполнения подвергают в течение 24 ч испытанию погружением в воду.

Для испытания вертикально падающим искусственным дождем используют установку, аналогичную изображенной на черт. 9, которая создает искусственный дождь интенсивностью 3 мм/мин, равномерно распределенный над испытуемым образцом.

Приборы, которые нормально крепят к стене или потолку, крепят в нормальном положении эксплуатации на деревянной доске, если это необходимо, размеры которой должны равняться размерам поверхности прибора, которая соприкасается со стеной или потолком.

Деревянную доску крепят так, чтобы отверстия установки искусственного дождя были на 2 м выше самой верхней точки прибора, нормально прикрепленного к стене, или выше поверхности крепления прибора, нормально прикрепленного к потолку.

Другие приборы, за исключением ручных, устанавливают как и при нормальной эксплуатации так, чтобы отверстия установки искусственного дождя находились на 2 м выше самой верхней точки прибора.

Для испытания наклонно падающим искусственным дождем используют аппарат, изображенный на черт. 10, который состоит из трубки, образующей полукруг. Радиус круга равен 200 мм или значению, кратному 200 мм, и должен быть минимальным при заданных размерах и положении образца. В трубке имеются отверстия, расположенные так, чтобы струи воды были направлены к центру круга, и давление воды на входе аппарата было равно 10 м водяного столба.

Трубка должна совершать колебания на угол 120°; 60° в каждую сторону от вертикали; причем время одного полного колебания (120° х 2) должно составлять примерно 4 с.

Приборы, которые нормально крепят к стене или потолку, монтируют как при нормальной эксплуатации на деревянной доске, размеры которой на (15 ± 5) см больше размеров ортогональной проекции прибора на доску.

Другие приборы размещают на подставке, размеры которой, по крайней мере, на 5 см больше размеров ортогональной проекции прибора на подставку.

Образец монтируют или располагают в центре полукруга, образованного трубкой, так, чтобы самая нижняя его часть находилась на уровне оси колебания. Во время испытания образец поворачивают вокруг его вертикальной оси.

Для испытания обрызгиванием используют аппарат, изображенный на черт. 11. Во время испытания давление воды регулируют так, чтобы брызги воды достигали 15 см высоты от дна сосуда. Сосуд устанавливают на пол для приборов, нормально используемых на полу, а для других приборов - на горизонтальную подставку так, чтобы он находился на 5 см ниже самого низкого края прибора; сосуд перемещают вокруг прибора так, чтобы обрызгивание происходило со всех сторон. Необходимо следить за тем, чтобы на прибор не попадала прямая струя воды.

Приборы, используемые нормально на рабочей поверхности, кроме пола, помещают на подставку, которая имеет размеры, равные размерам поверхности прибора, соприкасающейся с опорой.

При испытании погружением прибор погружают в воду температурой (20 ± 5) °С, которая содержит примерно 1 % NaCl; верхняя часть прибора должна находиться на 5 см ниже уровня воды, за исключением приборов с указанной максимальной глубиной погружения, которые погружают на указанную глубину.

Вилки, если они имеются, содержат сухими, и прибор должен работать в условиях нормальной теплоотдачи и (или) нормальной нагрузки.

Приборы продолжительного режима работы работают 12 периодов продолжительностью по 1 ч каждый с остановкой на 1 ч между периодами.

Приборы кратковременного или повторно-кратковременного режима работы работают в соответствии с данными маркировки в течение 12 циклов.

После этого прибор в погруженном состоянии должен выдержать испытание на электрическую прочность изоляции по п. 16.4, причем следующие испытательные напряжения прикладывают только между токоведущими частями и водой:

500 В - для приборов класса III;

3750 В - для приборов класса II;

1250 В - для других приборов.

Приборы класса III с номинальным напряжением, не превышающим 24 В, не подвергают этому испытанию на электрическую прочность изоляции.

Во время этого испытания штыри штепсельных вилок, если они имеются, соединяют вместе, а выключатели питания, при их наличии, устанавливают в положение «Включено».

Примечания:

1. Для приборов класса II водонепроницаемость должна быть обеспечена либо с помощью дополнительной или усиленной изоляции, либо путем внешнего покрытия этой изоляции.

2. Испытание погружением проводят для приборов, предназначенных для эксплуатации в погруженном в воду состоянии. Такие приборы должны быть маркированы условным обозначением приборов водонепроницаемого исполнения, но это не значит, что такие приборы пригодны для работы при воздействии давления воды.

3. Для приборов, предназначенных для работы в сухих условиях, по которые частично или полностью погружают в жидкость при чистке или которые могут быть случайно опущены в воду при работе, могут быть установлены дополнительные требования в соответствующем стандарте на конкретный прибор. Если такие приборы маркированы условным обозначением приборов водонепроницаемого исполнения, то их подвергают испытанию погружением в соответствии с настоящим пунктом.

15.3. Приборы, в которых при нормальной эксплуатации возможен перелив жидкости, должны быть сконструированы так, чтобы этот перелив не оказал вредного влияния на изоляцию.

Соответствие требованию проверяют следующим испытанием.

Приборы с приборным вводом снабжают соответствующим соединителем и гибким кабелем или шнуром; приборы с креплением типа X снабжают гибким кабелем или шнуром самого легкого допустимого типа с наименьшей площадью поперечного сечения по п. 26.2, остальные приборы испытывают в состоянии поставки.

Сосуд, для жидкости прибора наполняют полностью водой, содержащей примерно 1 % NaCl, а затем добавляют постепенно в течение 1 мин количество воды, равное 15 % вместимости сосуда или 0,25 л в зависимости от того, что больше.

Непосредственно после этого прибор должен выдержать испытание на электрическую прочность изоляции, указанное в п. 16.4, а осмотр должен показать, что вода, которая могла попасть в прибор, не приводит к нарушению соответствия прибора требованиям настоящего стандарта; в частности, на изоляции не должно быть следов воды, что может повлечь за собой уменьшение путей утечки и воздушных зазоров ниже значений, установленных в п. 29.1.

Перед испытанием по п. 15.4 прибор выдерживают в течение 24 ч в нормальной атмосфере испытательного помещения.

15.4. Приборы должны быть устойчивы к влажности, которая может иметь место при нормальных условиях эксплуатации.

Соответствие требованию проверяют влажной обработкой, как указано в настоящем пункте, за которой сразу же следует испытание по разд. 16.

Вводы кабелей, если они имеются, оставляют открытыми; если имеются заглушенные отверстия, то одно из них открывают.

Электрические компоненты, в том числе съемные нагревательные элементы, крышки и другие части, которые могут быть удалены без помощи инструмента, удаляют и подвергают, если это необходимо, влажной обработке вместе с основной частью прибора.

Испытание проводят в камере влажности, в которой воздух имеет относительную влажность (93 ± 2) %. Температуру воздуха во всех местах камеры, где можно поместить образец, поддерживают с точностью 1 °С (1 К) для любого значения температуры t, находящегося в пределах между 20 и 30 °С.

Перед помещением образца в камеру влажности его приводят в состояние, при котором температура его будет находиться в пределах от t до (t + 4) °С.

Образец выдерживают в камере в течение:

2 дней (48 ч) - для обычных приборов;

7 дней (168 ч) - для каплезащищенных, брызгозащищенных и водонепроницаемых приборов.

Примечания:

1. В большинстве случаев образец может быть приведен к установленной температуре путем выдерживания его при этой температуре в течение, по меньшей мере, 4 ч перед влажной обработкой.

2. Относительная влажность (93 ± 2) % может быть достигнута, если поместить в камеру влажности насыщенный раствор сернокислого натрия (Na2SO4) или азотнокислого калия (KNO3) в воде, имеющий достаточно большую поверхность соприкасания с воздухом.

3. Для достижения требуемых условий внутри камеры необходимо обеспечить постоянную циркуляцию воздуха внутри камеры и, в общем случае, использовать камеру с тепловой изоляцией.

После этой обработки не должно быть повреждений прибора, нарушающих соответствие его требованиям настоящего стандарта.

16. СОПРОТИВЛЕНИЕ ИЗОЛЯЦИИ И ЭЛЕКТРИЧЕСКАЯ ПРОЧНОСТЬ

16.1. Приборы должны иметь достаточные электрическую прочность и сопротивление изоляции.

Соответствие требованию проверяют для нагревательных приборов испытаниями по пп. 16.2 и 16.4, а для электромеханических приборов - по пп. 16.3 и 16.4, которые проводят на приборе в холодном состоянии, не подключенном к источнику питания, непосредственно после испытания по п. 15.4 в камере влажности или в помещении, в котором образец был доведен до установленной температуры после повторной установки на место тех частей прибора, которые ранее были удалены.

16.2. Испытательное напряжение постоянного тока для приборов, работающих только на постоянном токе, и переменного тока для всех других приборов прикладывают, как указано в пп. 1 и 4 табл. 6; металлическую фольгу размерами не более 20 х 10 см при необходимости перемещают так, чтобы испытать все части поверхности. Кроме того, для приборов класса II испытательное напряжение прикладывают между токоведущими частями и металлическими частями, отделенными от токоведущих частей только основной изоляцией.

Испытательное напряжение должно быть равно:

1,06 номинального напряжения или 1,06 верхнего предела диапазона номинальных напряжений - для приборов, предназначенных только для постоянного тока, однофазных приборов и трехфазных приборов, которые пригодны также для работы от однофазного источника питания, если номинальное напряжение или верхний предел диапазона номинальных напряжений не превышает 250 В;

1,06 номинального напряжения или 1,06 верхнего предела диапазона номинальных напряжений, разделенного на Ö3, - для всех других приборов.

Ток утечки измеряют в течение 5 с после приложения испытательного напряжения.

Ток утечки не должен превышать следующих значений:

между частями, указанными в табл. 6 для точек по пп. 1 и 4:

для приборов классов 0, 0I и III - 0,5 мА;

для переносных приборов класса I - 0,75 мА;

для стационарных приборов класса I со съемными нагревательными элементами или элементами, которые могут включаться раздельно, - 0,75 мА или 0,75 мА на 1 кВт номинальной потребляемой мощности каждого элемента или группы элементов в зависимости от того, что больше, но не более 5 мА на прибор в целом;

для других стационарных приборов класса I - 0,75 мА или 0,75 мА на 1 кВт номинальной потребляемой мощности прибора в зависимости от того, что больше, но не более 5 мА;

для приборов класса II - 0,25 мА;

между токоведущими частями и металлическими частями приборов класса II, отделенными от токоведущих частей только основной изоляцией, в зависимости от классификации по степени защиты от влаги:

для обычных приборов - 5,0 мА;

для других приборов - 3,5 мА.

Указанные выше значения удваивают:

если прибор не имеет устройств управления, кроме термовыключателя и терморегулятора без положения «ВЫКЛ» или регулятора мощности без положения «ВЫКЛ»;

если все устройства управления имеют положение «ВЫКЛ», а зазор между контактами во всех полюсах - не менее 3 мм.

Для приборов класса II значение 0,25 мА можно удвоить лишь в том случае, если все устройства управления имеют положение «ВЫКЛ», а зазор между контактами во всех полюсах - не менее 3 мм.

(Измененная редакция, Изм. № 1).

16.3. Сопротивление изоляции измеряют напряжением постоянного тока порядка 500 В через 1 мин после его приложения; если имеются нагревательные элементы, то они должны быть отключены.

Сопротивление изоляции не должно быть меньше значений, указанных в табл. 5.

Таблица 5

Испытуемая изоляция

Сопротивление изоляции, МОм

Между токоведущими частями и корпусом:

 

для основной изоляции

2

для усиленной изоляции

7

Между токоведущими частями и металлическими частями приборов класса II, отделенными от токоведущих частей только основной изоляцией

2

Между металлическими частями приборов класса II, отделенными от токоведущих частей только основной изоляцией, и корпусом

5

16.4. Непосредственно после испытания по п. 16.2 для нагревательных приборов или по п. 16.3 для электромеханических приборов к изоляции прикладывают в течение 1 мин напряжение практически синусоидальной формы частотой 50 или 60 Гц. Значения испытательного напряжения и точки его приложения должны соответствовать указанным в табл. 6.

Таблица 6

Точки приложения испытательного напряжения

Испытательное напряжение, В

Приборы класса III

Приборы класса II

Другие приборы

1. Между токоведущими частями и частями корпуса, которые отделены от токоведущих частей:

 

 

 

только основной изоляцией

500

-

1250

усиленной изоляцией

-

3750

3750

2. Между токоведущими частями различной полярности

500

1250

1250

3. Для частей с двойной изоляцией между металлическими частями, отделенными от токоведущих частей только основной изоляцией, и:

 

 

 

токоведущими частями

-

1250

1250

корпусом

-

2500

2500

4. Между металлическими кожухами или крышками, покрытыми изнутри изоляционным материалом и металлической фольгой, соприкасающейся с внутренней стороной изоляционного покрытия, если расстояние между токоведущими частями и этими металлическими кожухами или крышками, измеренное через покрытие, меньше требуемого воздушного зазора, указанного в п. 29.1

-

2500

1250

5. Между металлической фольгой, соприкасающейся с ручками, кнопками, рукоятками и т.п. и их валами, если эти валы могут оказаться под напряжением в случае повреждения изоляции

-

2500

2500 (1250)

6. Между корпусом и металлической фольгой, обернутой вокруг шнура питания, или металлическим стержнем того же диаметра, что и шнур питания, введенным вместо шнура внутрь входных втулок из изоляционного материала, ограждений шнура, анкерных креплений шнура и т.п.

-

2500

1250

7. Между точкой соединения обмотки и конденсатора, если между этой точкой и любым из зажимов для внешних проводов возникает резонансное напряжение U, и:

 

 

 

корпусом

-

-

2U + 1000

металлическими частями, отделенными от токоведущих частей только основной изоляцией

-

2U + 1000

-

Примечания:

1. Испытание между токоведущими частями различной полярности проводят только в том случае, если можно выполнить необходимые рассоединения без повреждения прибора.

2. Значение, указанное в скобках, относится к приборам класса 0.

3. Испытание между точкой соединения обмотки и конденсатора проводят только там, где на изоляцию в нормальных условиях эксплуатации воздействует резонансное напряжение. Другие части отсоединяют, а конденсатор замыкают накоротко.

4. Испытание не проводят между контактами выключателей с микрозазорами, выключателей для запуска двигателей, реле, терморегуляторов, термовыключателей и т.п., а также для изоляции конденсаторов, включенных между токоведущими частями различной полярности.

Первоначально прикладывают не более половины испытательного напряжения, которое затем быстро повышают до полного значения.

Во время испытания не должно быть пробоя или перекрытия по изоляции.

Примечания:

1. Металлическая фольга должна быть расположена так, чтобы на краях изоляции не возникали перекрытия.

2. Для приборов класса II, имеющих как усиленную, так и двойную изоляцию, необходимо следить за тем, чтобы напряжение, прикладываемое к усиленной изоляции, не перегрузило основную или дополнительную изоляцию.

3. В случае, когда основная и дополнительная изоляции не могут быть испытаны раздельно, всю изоляцию подвергают испытанию напряжением, указанным для усиленной изоляции.

4. При испытании изоляционных покрытий металлическая фольга может быть прижата к изоляции мешком с песком такого размера, чтобы давление составляло 0,5 Н/см2 (5 кПа). Испытание может быть проведено только в тех местах, где предполагается слабая изоляция, например там, где под изоляцией находятся острые металлические кромки.

5. Если это практически возможно, то изоляционные прокладки испытывают отдельно.

17. ЗАЩИТА ОТ ПЕРЕГРУЗКИ

17.1. Приборы, которые содержат цепи, питающиеся от трансформатора, должны быть сконструированы так, чтобы в случае короткого замыкания цепей, которое может возникнуть при нормальной эксплуатации, не происходил чрезмерный нагрев трансформатора или связанных с ним цепей.

Соответствие требованию проверяют путем создания самого неблагоприятного короткого замыкания или перегрузки, которые возможны при нормальной эксплуатации; при этом прибор должен работать при напряжении, равном 1,06 или 0,94 номинального напряжения, в зависимости от того, какое из них является более неблагоприятным.

Измеряют превышение температуры изоляции проводов цепей безопасного сверхнизкого напряжения, которое не должно быть более чем на 15 °С (15 К) выше значений, указанных в табл. 3. Температура обмоток трансформаторов не должна превышать значений, указанных для обмоток в табл. 8.

Примечания:

1. Примерами коротких замыканий, которые могут произойти при нормальной эксплуатации, являются короткие замыкания оголенных или недостаточно изолированных проводов доступных цепей с безопасным сверхнизким напряжением и внутренние короткие замыкания нитей накала ламп.

2. При проведении этого испытания маловероятно, что произойдет повреждение изоляции, соответствующей требованиям, предъявляемым к основной изоляции приборов классов 0, 0I, I и II.

3. Защита обмоток трансформатора может быть обеспечена полным собственным сопротивлением обмоток или с помощью плавких предохранителей, автоматических выключателей, термовыключателей или подобных устройств, встроенных в трансформатор или расположенных внутри прибора, при условии, что эти устройства доступны только с помощью инструмента.

18. ИЗНОСОСТОЙКОСТЬ

18.1. Приборы должны быть сконструированы так, чтобы при нормальной эксплуатации не возникали электрические или механические неисправности, нарушающие соответствие прибора требованиям настоящего стандарта. Изоляция не должна иметь повреждений, а контакты и соединения не должны быть ослаблены вследствие нагрева, вибрации и т.п.

Кроме того, устройства защиты от перегрузки не должны срабатывать при нормальных рабочих условиях.

Для электромеханических приборов проверку проводят испытаниями по пп. 18.2 и 18.6, а также такими дополнительными испытаниями по пп. 18.3 - 18.5, которые применимы к данному прибору.

Для нагревательных приборов, если это необходимо, проверку проводят испытаниями, указанными в соответствующем стандарте на конкретный прибор.

18.2. Прибор должен работать при нормальной нагрузке и при напряжении, равном 1,1 номинального напряжения, в течение времени, указанного в табл. 7, уменьшенного на время работы прибора, необходимое для проведения испытаний по разд. 11 и 13, и для электромеханических приборов с нагревательными элементами - на время работы, необходимое для проведения испытаний по разд. 12.

Затем прибор должен работать при нормальной нагрузке и при напряжении, равном 0,9 номинального напряжения, в течение времени, указанного в табл. 7.

Приборы с продолжительным режимом работы должны работать непрерывно или в течение соответствующего количества периодов, причем длительность каждого периода должна быть не менее 8 ч.

Рабочий период приборов с кратковременным или повторно-кратковременным режимом работы должен быть равен максимально возможному времени работы прибора, если оно ограничено конструкцией прибора; в других случаях - рабочему времени, указанному в соответствующем стандарте на конкретный прибор или в маркировке прибора в зависимости от того, какое из них наиболее неблагоприятно.

Таблица 7

Тип прибора

Продолжительность работы, ч

Приборы, имеющие общую предполагаемую продолжительность работы менее 15 ч в год

15

Другие приборы

48

Если превышение температуры любой части прибора с кратковременным режимом работы превосходит превышение температуры, измеренное во время испытания по разд. 11, то предусматривают перерывы в работе или принудительное охлаждение.

Примечания:

1. В соответствующем стандарте на конкретный прибор указывают, какие приборы имеют общую предполагаемую продолжительность работы менее 15 ч в год.

2. Указанная продолжительность работы является временем действительной работы прибора.

3. Если прибор имеет несколько двигателей, то указанная продолжительность работы относится к каждому из двигателей в отдельности.

18.3. Приборы, за исключением приборов с кратковременным режимом работы, запускают при нормальной нагрузке 50 раз при напряжении, равном 1,1 номинального напряжения, и 50 раз при напряжении, равном 0,85 номинального напряжения, причем длительность каждого периода работы должна быть равна не менее чем 10-кратному времени, необходимому до полного разгона двигателя с неподвижного состояния, но не менее 10 с.

Предусматриваются интервалы между последовательными периодами работы, достаточные для предотвращения перегрева и равные, по крайней мере, 3-кратному периоду работы.

Приборы с кратковременным режимом работы запускают в условиях, указанных выше, 50 раз при напряжении, равном 0,85 номинального напряжения.

18.4. Приборы с центробежным выключателем или другим автоматическим пусковым устройством запускают 10000 раз при нормальной нагрузке и напряжении, равном 0,9 номинального напряжения, причем продолжительность каждого периода работы должна соответствовать указанной в п. 18.3.

Примечание. В случае необходимости может быть использовано принудительное охлаждение.

18.5. Приборы, снабженные термовыключателями с самовозвратом, должны работать при напряжении, равном 1,1 номинального напряжения, и такой нагрузке, которая вызывает срабатывание термовыключателя в течение нескольких минут, до тех пор, пока термовыключатель совершит 200 рабочих циклов.

(Измененная редакция, Изм. № 1).

18.6. Во время испытаний по пп. 18.2 и 18.3 защитные устройства от перегрузки не должны срабатывать.

После испытаний по пп. 18.2 - 18.5 прибор должен выдерживать испытание по разд. 16, причем предельные значения по сопротивлению изоляции уменьшают на 50 %.

Соединения, ручки, ограждения, колпачки для щеток и другие соединительные элементы и узлы не должны ослабляться и не должны иметь повреждений, нарушающих безопасность при нормальной эксплуатации.

19. НЕНОРМАЛЬНАЯ РАБОТА

19.1. Приборы должны быть сконструированы так, чтобы опасность возникновения пожара и механических повреждений, которые снижают безопасность и степень защиты от поражения электрическим током в результате ненормальной работы или небрежной эксплуатации, была минимальной.

Для приборов с нагревательными элементами соответствие требованию проверяют следующим образом:

для приборов с управляющим устройством, которое ограничивает температуру при испытании по разд. 11, и которые предназначены для встраивания или использования без надзора или которые имеют конденсатор, не защищенный предохранителем или подобным устройством, и который соединен параллельно с контактами терморегулятора, - испытанием по п. 19.2 и, если необходимо, испытанием по п. 19.3, за которым следует испытание по п. 19.4;

для приборов с кратковременным режимом работы - испытанием по п. 19.2 и, если необходимо, испытанием по п. 19.3, за которым следует испытание по п. 19.5;

для других приборов - испытанием по п. 19.2 и, если необходимо, испытанием по п. 19.3.

Для приборов класса II испытание по п. 19.4 проводят на всех приборах, снабженных управляющим устройством, которое ограничивает температуру при испытании по разд. 11.

Если во время любого испытания срабатывает термовыключатель без самовозврата, разрушается нагревательный элемент или ток прерывается по какой-либо другой причине до достижения установившегося состояния, то период нагрева считают законченным; если прерывание тока происходит вследствие разрыва нагревательного элемента или разрушения преднамеренно ослабленной части, соответствующее испытание повторяют на втором образце, который должен соответствовать условиям, указанным в п. 19.11.

Примечания:

1. Разрыв нагревательного элемента или преднамеренно ослабленной части во втором образце не является основанием для бракования.

2. Преднамеренно ослабленная часть - часть, спроектированная так, чтобы она разрушалась в условиях ненормальной работы для предотвращения возникновения условий, при которых нарушается безопасность прибора. Такой частью могут быть заменяемые элементы, такие как сопротивление, конденсатор или тепловая плавкая вставка или часть элемента, которая должна быть заменена, например недоступный и без повторного включения термовыключатель, встроенный в двигатель.

Для электромеханических приборов соответствие требованию проверяют испытаниями по пп. 19.6 - 19.10, если они применимы.

Для комбинированных приборов все испытания проводят, если это необходимо, до достижения наиболее неблагоприятных условий при одновременной работе двигателя и нагревательного элемента, при указанном напряжении и потребляемой мощности.

Требования к п. 19.11 распространяют на все приборы.

Примечания:

1. Плавкие предохранители, термовыключатели, реле максимального тока и т.п., встроенные в прибор, могут использоваться для обеспечения необходимой защиты.

2. Если один и тот же прибор должен подвергаться нескольким испытаниям, то эти испытания проводят последовательно.

19.2. Приборы с нагревательными элементами испытывают при условиях, приведенных в разд. 11, но без нормальной теплоотдачи. Напряжение питания, контактное значение которого определяют перед испытанием, должно быть таким, чтобы потребляемая мощность составляла 0,85 номинальной потребляемой мощности при условиях нормальной теплоотдачи в установившемся режиме. Это напряжение следует поддерживать в течение всего испытания.

Если срабатывает термовыключатель без самовозврата или ток прерывается по какой-либо другой причине до достижения установившегося состояния, то рабочий период считают законченным и испытание по п. 19.3 не проводят.

Если ток не прерывается, то прибор отключают сразу же после достижения установившегося состояния и дают ему возможность охладиться до температуры, равной примерно температуре окружающей среды. После этого прибор подвергают испытанию по п. 19.3.

Для приборов с кратковременным режимом работы продолжительность испытания должна быть равна номинальной продолжительности работы.

Условия ненормальной теплоотдачи должны быть определены в соответствующем стандарте на конкретный прибор.

19.3. Испытание по п. 19.2 повторяют, при этом напряжение питания, конкретное значение которого определяют перед испытанием, должно быть таким, чтобы потребляемая мощность составляла 1,24 номинальной потребляемой мощности при условиях нормальной теплоотдачи в установившемся режиме. Это напряжение следует поддерживать в течение всего испытания.

Примечание. В случае возникновения сомнений испытание проводят при наиболее неблагоприятном напряжении в пределах диапазона, установленного в пп. 19.2 и 19.3.

19.2, 19.3. (Измененная редакция, Изм. № 1).

19.4. Испытание по п. 19.3 повторяют, но прибор работает в условиях нормальной теплоотдачи; устройства управления, которые ограничивают температуру при испытании по разд. 11, замыкают накоротко.

Примечание. Если в приборе имеется несколько регулирующих устройств, то их замыкают накоротко поочередно.

19.5. Испытание по п. 19.3 повторяют, но прибор должен работать в условиях нормальной теплоотдачи до достижения установившегося состояния независимо от номинальной продолжительности работы.

Примечание. При этом испытании устройства управления не замыкают накоротко.

19.6. Испытание с неподвижным ротором двигателя проводят путем затормаживания движущихся частей, если прибор:

имеет движущиеся части, которые могут заклиниться;

имеет двигатели, пусковой момент которых меньше вращающего момента при полной нагрузке;

имеет двигатели с ручным пуском;

предназначен для дистанционного или автоматического управления:

может работать без надзора.

Примечания:

1. Если прибор имеет более одного двигателя, то испытывают последовательно каждый двигатель.

2. Варианты испытаний для двигателей с защитными устройствами приведены в приложении D.

3. Принадлежность приборов к приборам, имеющим движущиеся части, которые могут заклиниться, или к приборам, которые могут работать без надзора, указывают в стандарте на конкретный прибор.

Приборы с электродвигателями, в вспомогательную обмотку которых включены конденсаторы, за исключением приборов, не предназначенных для работы без надзора, испытывают при неподвижном роторе двигателя с разомкнутыми или замкнутыми накоротко конденсаторами в зависимости от того, что более неблагоприятно; при наличии нескольких конденсаторов каждый раз размыкают или замыкают накоротко только один конденсатор.

Примечание. Данное испытание проводят при неподвижном роторе электродвигателя, так как определенные двигатели с конденсаторами могут запускаться или не запускаться, вследствие чего могут быть получены различные результаты.

Во время каждого из этих испытаний прибор, начиная с холодного состояния, работает при номинальном напряжении или верхнем пределе диапазона номинальных напряжений в течение:

30 с - для:

ручных приборов;

приборов, которые поддерживают во включенном состоянии рукой;

приборов, нагрузка которых создается при постоянном воздействии рукой;

5 мин или, если имеется реле времени, максимального периода по реле времени - для других приборов, которые не предназначены для работы без надзора;

времени, необходимого для достижения установившегося состояния или, при наличии реле времени, в течение максимального периода по реле времени - для остальных приборов.

Примечание. Приборы с автоматическим и дистанционным управлением считаются приборами, предназначенными для работы без надзора.

По истечении указанного периода испытания или в момент срабатывания плавких предохранителей, термовыключателей, защитных устройств двигателя и т.п. температура обмоток не должна превышать значений, указанных в табл. 8.

Таблица 8

Тип прибора

Предельная температура, °С, для материала изоляции обмоток класса

А

Е

В

F

Н

Приборы с реле времени и не предназначенные для работы без надзора, и приборы, испытуемые в течение 30 с и 5 мин

200

215

225

240

260

Другие приборы:

 

 

 

 

 

с защитой полным собственным сопротивлением

150

165

175

190

210

с защитой защитными устройствами, срабатывающими:

 

 

 

 

 

в течение первого часа работы, максимальное значение

200

215

225

240

260

после первого часа, максимальное значение

175

190

200

215

235

после первого часа, среднее арифметическое значение

150

165

175

190

210

19.7. Приборы с трехфазными двигателями должны работать при нормальной нагрузке с одной отключенной фазой в течение времени, указанного в п. 19.6.

19.8. Испытание на перегрузку проводят на приборах с двигателями, которые предназначены для дистанционного или автоматического управления или которые, вероятно, будут длительное время работать без надзора, при работе с номинальной нагрузкой, при номинальном напряжении или верхнем пределе диапазона номинальных напряжений до достижения установившегося состояния.

Затем нагрузку ступенчато увеличивают так, чтобы возрастал ток в обмотках двигателя; напряжение питания поддерживают на первоначальном уровне. После достижения каждого нового установившегося состояния нагрузку снова увеличивают. Эту операцию повторяют до срабатывания защитного устройства от перегрузки.

Температуру обмотки измеряют непрерывно и регистрируют во время каждого периода установившегося состояния. Максимальное зарегистрированное значение температуры не должно превышать:

140 °С - для материала класса А;

155 °С - для материала класса Е;

165 °С - для материала класса В;

180 °С - для материала класса F;

200 °С - для материала класса Н.

Примечания:

1. Если нагрузку прибора нельзя увеличить ступенями, то необходимо снять двигатель с прибора и испытать его отдельно.

2. В стандартах на конкретный прибор указывают, какие приборы относятся к приборам, которые, вероятно, длительное время будут работать без надзора.

3. Варианты испытаний двигателей с защитными устройствами приведены в приложении D.

19.9. Приборы кратковременного или повторно-кратковременного режима работы, за исключением:

ручных приборов;

приборов, которые поддерживают во включенном состоянии рукой;

приборов, нагрузка которых создается при постоянном воздействии рукой;

приборов с реле времени, - должны работать при нормальной нагрузке и при номинальном напряжении или верхнем пределе диапазона номинальных напряжений до достижения установившегося состояния или срабатывания термовыключателя. При достижении установившегося состояния или непосредственно перед срабатыванием термовыключателя температура обмоток не должна превышать значений, приведенных в п. 19.8.

Примечание. Если при нормальной эксплуатации прибор самозагружается после определенного периода, то испытание продолжают при работе прибора на холостом ходу.

(Измененная редакция, Изм. № 1).

19.10. Приборы с двигателями последовательного возбуждения испытывают при напряжении, равном 1,3 номинального напряжения, в течение 1 мин при наименьшей возможной нагрузке.

После этого испытания не должна быть нарушена безопасность прибора; в частности, обмотки и соединения не должны быть ослаблены.

19.11. При испытаниях по пп. 19.2 - 19.9 из прибора не должны появляться пламя, расплавленный металл, вредный или воспламеняющийся газ в опасных количествах, а превышение температуры не должно быть более значений, указанных в табл. 9. После этих испытаний и охлаждения прибора приблизительно до температуры помещения кожухи не должны быть деформированы до такой степени, что нарушится соответствие требованиям настоящего стандарта.

Таблица 9

Части

Превышение температуры, °С (К)

Стены, потолок и пол испытательного угла1

150

Изоляция кабеля или шнура питания1

150

Дополнительная и усиленная изоляции, за исключением изоляции из термопластических материалов2

1,5 соответствующего значения, указанного в п. 11.822

1 Для электромеханических приборов без нагревательных элементов эти превышения температуры обычно не определяют.

2 Не установлены предельные значения для дополнительной и усиленной изоляций из термопластических материалов, которые должны выдерживать испытания по п. 30.1; для проведения этих испытаний необходимо определить превышение температуры.

После испытаний изоляция приборов, кроме приборов класса III, после охлаждения приблизительно до комнатной температуры должна выдерживать испытание на электрическую прочность по п. 16.4, причем испытательное напряжение должно быть равно:

1000 В - для основной изоляции;

2750 В - для дополнительной изоляции;

3750 В - для усиленной изоляции.

Для приборов, которые при нормальной эксплуатации погружают в токопроводящую жидкость или заполняют ею, образец погружают в воду или заполняют водой за 24 ч до проведения испытания на электрическую прочность изоляции.

Примечание. Перед испытанием на электрическую прочность влажную обработку по п. 15.4 не производят.

(Измененная редакция, Изм. № 1).

20. УСТОЙЧИВОСТЬ И МЕХАНИЧЕСКАЯ ОПАСНОСТЬ

20.1. Приборы, кроме закрепленных и ручных, предназначенные для использования на поверхности, например пола или стола, должны быть достаточно устойчивыми.

Соответствие требованию проверяют следующим испытанием, причем приборы с приборным вводом снабжают соответствующим соединителем и гибким кабелем или шнуром.

Прибор с выключенным двигателем устанавливают в любое нормальное эксплуатационное положение на плоскости, наклоненной под углом 10° к горизонтали, причем кабель или шнур располагают на наклонной плоскости в наиболее неблагоприятном положении. Если прибор при наклоне на 10° касается горизонтальной плоскости частью, в нормальном положении не соприкасающейся с плоскостью опоры, то прибор устанавливают на горизонтальную опору и наклоняют под углом 10° в наиболее неблагоприятном направлении.

Приборы с дверцами испытывают с открытыми или закрытыми дверцами в зависимости от того, что более неблагоприятно.

Приборы, предназначенные для заполнения жидкостью при нормальной эксплуатации, испытывают пустыми или заполняют наиболее неблагоприятным количеством воды в пределах номинальной емкости.

Прибор не должен опрокидываться.

Для приборов с нагревательными элементами испытание повторяют затем с углом наклона, увеличенным до 15°.

Если такой прибор опрокидывают в одном или более положениях, то его подвергают испытанию по разд. 11 во всех этих опрокинутых положениях.

Во время этого испытания превышения температуры не должны быть больше значений, приведенных в п. 19.11.

Примечание. Испытание на горизонтальной опоре может быть необходимо, например, для приборов с роликами, колесиками или ножками.

20.2. Движущиеся части электромеханических приборов должны быть, насколько это совместимо с применением и работой прибора, расположены или ограждены так, чтобы при нормальной эксплуатации была обеспечена достаточная защита от травм.

Защитные кожухи, предохранительные устройства и другие подобные элементы должны иметь достаточную механическую прочность. Они не должны сниматься без применения инструмента, если их удаление при нормальной эксплуатации не является необходимостью.

Термовыключатели с самовозвратом и реле перегрузки не должны быть встроены в прибор, если их неожиданное повторное включение представляет опасность.

Соответствие требованию проверяют осмотром, испытанием по разд. 21 и испытанием стандартным испытательным пальцем, аналогичным изображенному на черт. 1, но имеющим круглую стопорную пластину диаметром 50 мм вместо некруглой.

Приборы, снабженные подвижными устройствами, такими, например, как устройства для изменения натяжения ремней, испытывают стандартным испытательным пальцем с этими устройствами, установленными в наиболее неблагоприятное положение в пределах диапазона их регулировки, причем в случае необходимости ремни снимают.

Испытательный палец не должен касаться движущихся частей, представляющих опасность.

Примечания:

1. Примерами приборов, в которых полная защита практически невозможна, являются швейные машины, миксеры и машины для отжима белья.

2. Примерами приборов, в которых термовыключатели с самовозвратом и реле перегрузки могут быть причиной опасности, являются миксеры и механизированные отжимные валки.

21. МЕХАНИЧЕСКАЯ ПРОЧНОСТЬ

21.1. Приборы должны иметь достаточную механическую прочность и быть сконструированы так, чтобы они выдерживали грубое обращение с ними, которое возможно при нормальной эксплуатации.

Соответствие требованию проверяют нанесением ударов по образцу пружинным ударным устройством, приведенным на черт. 12.

Устройство состоит из трех основных частей: корпуса, ударного элемента и спускового конуса с пружиной.

Корпус состоит из кожуха, направляющей ударного элемента, спускового механизма и остальных частей, жестко связанных с ним. Масса корпуса (1250 ± 10) г.

Ударный элемент состоит из головки молотка и взводной рукоятки. Масса ударного элемента (250 ± 1) г.

Головка молотка имеет переднюю часть из полиамида с твердостью по Роквеллу R100, радиусом 10 мм; она должна быть прикреплена к стержню молотка так, чтобы расстояние между ее вершиной и плоскостью, проходящей через торец конуса непосредственно перед спуском ударного элемента, было равно 20 мм.

Масса конуса 60 г, пружина конуса непосредственно перед спуском ударного элемента должна создавать усилие 20 Н.

Пружина молотка должна быть отрегулирована так, чтобы произведение длины сжатия в миллиметрах и создаваемого усилия в ньютонах было равно 1000, причем длина сжатия пружины должна быть равна примерно 20 мм. При такой регулировке энергия удара должна быть равна (0,50 ± 0,05) Н×м.

Пружины спускового механизма должны быть отрегулированы так, чтобы давление, создаваемое ими, было достаточно для удержания зажимов спускового механизма в состоянии зацепления.

Устройство вводят оттягиванием взводной рукоятки до тех пор, пока зажимы спускового механизма не войдут в зацепление с пазами стержня молотка.

Удары наносят путем прижатия спускового конуса к образцу в направлении, перпендикулярном к поверхности в точке, подвергаемой испытанию.

Давление постепенно увеличивают так, чтобы конус перемещался назад до тех пор, пока он не коснется стержней спускового механизма, которые при перемещении назад приведут в действие спусковой механизм и позволят молотку нанести удар.

Образец в собранном виде жестко крепят к плоской поверхности и наносят по три удара в каждую точку корпуса, которая представляется слабой.

В случае необходимости удары наносят также по ручкам, рукояткам, кнопкам и другим подобным элементам, а также по лампам и их предохранительным колпачкам, когда они выступают из кожуха более чем на 10 мм или если площадь их поверхности превышает 4 см2. Лампы, находящиеся внутри прибора, и их предохранительные колпачки испытывают только в том случае, если имеется вероятность их повреждения при нормальной эксплуатации.

После испытания образец не должен иметь повреждений в соответствии с настоящим стандартом; в частности, токоведущие части не должны быть обнажены до такой степени, чтобы нарушалось соответствие требованиям пп. 8.1, 15.1 и 15.2, и не должно быть деформаций, нарушающих соответствие требованиям п. 29.1. В сомнительных случаях дополнительную или усиленную изоляцию подвергают испытанию на электрическую прочность по п. 16.4.

Примечания:

1. Когда спусковой конус прикладывают к защитному устройству нагревательного элемента, обладающего видимым свечением в условиях нормальной эксплуатации, необходимо следить за тем, чтобы головка молотка, проходя через защитное устройство, не наносила удар по нагревательному элементу.

2. Повреждение покрытия, небольшие вмятины, не приводящие к уменьшению путей утечки и воздушных зазоров до значений, меньших чем указано в п. 29.1, а также небольшие сколы, которые не оказывают влияния на защиту от поражения электрическим током или влагостойкость, не учитывают.

3. Трещины, невидимые невооруженным глазом, и поверхностные трещины в прессованных материалах, армированных волокном, не учитывают.

4. Если под декоративным кожухом имеется еще внутренний кожух, то появление трещин на декоративном кожухе не учитывают при условии, что внутренний кожух после снятия декоративного кожуха выдержит испытание.

5. Для того чтобы обеспечить жесткую опору для образца, может возникнуть необходимость в установке его напротив твердой стены из кирпича, бетона или другого аналогичного материала, покрытой листом полиамида, который прочно прикреплен к стене; при этом между листом и стенкой не должно быть заметного по величине воздушного зазора. Лист полиамида должен иметь твердость по Роквеллу R100, толщину не менее 8 мм и такую площадь поверхности, чтобы ни одна из частей прибора не была механически перегружена из-за недостаточной площади опорной поверхности.

6. Если возникает сомнение относительно того, что на появление дефекта в испытуемом месте оказали влияние ранее нанесенные удары, то этот дефект не учитывают, а испытание повторяют на новом образце, по которому наносят три удара в месте, где возник дефект; новый образец должен выдержать это испытание.

7. Метод градуировки пружинного ударного устройства - в соответствии с приложением 1.

21.2. Резьбовые сальники и буртики во вводах трубопроводов должны иметь достаточную механическую прочность.

Соответствие требованию проверяют для резьбовых сальников испытанием по п. 21.3, а для буртиков во входах трубопроводов размерами 16 и 19 мм испытанием по п. 21.4.

После испытаний сальники, кожухи и входы трубопроводов не должны быть заметно деформированы или повреждены.

21.3. В резьбовой сальник вводят цилиндрический металлический стержень, диаметр которого (в миллиметрах) округляют до ближайшего целого числа, меньшего чем внутренний диаметр уплотнения. Затем сальник затягивают соответствующим гаечным ключом с усилием, указанным в табл. 10, которое прикладывают в течение 1 мин в точке, расположенной на расстоянии 25 см от оси сальника.

21.4. Прибор располагают на жесткой опоре так, чтобы ось входа трубопровода была расположена вертикально.

На буртик устанавливают испытательное устройство, как показано на черт. 13, на которое бросают 10 раз груз массой 250 г с высоты 15 см.

Таблица 10

Диаметр испытательного стержня, мм

Усилие, Н

Металлические сальники

Сальники из прессованного материала

До 20 включ.

30

20

Св. 20

40

30

22. КОНСТРУКЦИЯ

22.1. Приборы должны иметь соответствующий класс защиты от поражения электрическим током.

Соответствие требованию проверяют осмотром и соответствующими испытаниями.

22.2. Приборы должны иметь соответствующую степень защиты от влаги.

Соответствие требованию проверяют осмотром и соответствующими испытаниями.

22.3. Приборы должны быть сконструированы так, чтобы они могли работать во всех положениях, возможных при нормальной эксплуатации.

Соответствие требованию проверяют контролем за правильностью работы прибора во всех положениях, которые отличаются от нормального эксплуатационного положения на угол, не превышающий 5 °С.

Примечание. Данное испытание проводят только в сомнительных случаях.

22.4. Переносные приборы должны быть сконструированы так, чтобы предотвратить попадание внутрь прибора предметов со стола или пола, которые могут повлиять на безопасность прибора.

Соответствие требованию проверяют осмотром.

Примечание. Приборы, не имеющие опорных ножек, отвечают этому требованию, если все токоведущие части находятся на расстоянии не менее 6 мм от опорной поверхности, измеренном через любое отверстие. Если приборы имеют ножки, то это расстояние увеличивают до 10 мм для приборов, предназначенных для установки на столе, и до 20 мм - для приборов, предназначенных для установки на полу.

22.5. Приборы, которые могут быть настроены на различные напряжения, должны быть сконструированы так, чтобы возможность случайного изменения настройки их была маловероятной.

22.6. Приборы должны быть сконструированы так, чтобы возможность случайного изменения настройки терморегуляторов и других устройств управления была маловероятной, если это может повлиять на безопасность прибора.

Соответствие требованиям пп. 22.5 и 22.6 проверяют осмотром и испытанием вручную.

22.7. Кнопки возврата органов управления без самовозврата должны быть расположены или защищены так, чтобы возможность случайного возврата их в исходное состояние была маловероятной, если это может повлиять на безопасность прибора.

Соответствие требованию проверяют осмотром.

Примечание. Это требование исключает, например, применение кнопок возврата, расположенных на задней стенке прибора так, что возврат их в исходное состояние может произойти при прижатии прибора к стене.

22.8. Приборы со штырями, предназначенными для введения в контактные гнезда закрепленных розеток, не должны создавать чрезмерные механические нагрузки на эти розетки.

Соответствие требованию проверяют путем включения прибора, как при нормальной эксплуатации, в закрепленную розетку без контакта заземления; розетка должна иметь возможность поворачиваться вокруг горизонтальной оси, проходящей через осевые линии контактных гнезд на расстоянии 8 мм от лицевой поверхности розеток.

Дополнительный вращающий момент, который должен быть приложен к розетке для удержания ее лицевой поверхности в вертикальной плоскости, не должен превышать 0,25 Н×м.

22.9. Приборы для нагревания жидкостей и приборы, вызывающие чрезмерную вибрацию, не должны иметь штырей для введения в контактные гнезда фиксированных розеток.

Соответствие требованию проверяют осмотром.

22.10. Удаление частей, обеспечивающих требуемую степень защиты от влаги, не должно быть возможно без применения инструмента.

Соответствие требованию проверяют испытанием вручную.

22.11. Приборы должны быть сконструированы так, чтобы на их электрическую изоляцию не влияла вода, которая может конденсироваться на холодных поверхностях, или жидкость, которая может вытекать из сосудов, шлангов, соединений и т.п., которые являются частью прибора. Кроме того, изоляция приборов класса II не должна повреждаться даже в случае разрушения шланга или повреждения герметического уплотнения.

Соответствие требованию проверяют осмотром.

22.12. Рукоятки, кнопки, ручки, рычаги и т.п. должны быть надежно закреплены так, чтобы они не ослаблялись при нормальной эксплуатации, если это может привести к опасности.

Если ручки, кнопки и т.п. используются для указания положения выключателей или аналогичных элементов, то должна быть исключена возможность установки их в неправильное положение, если это может привести к опасности.

Соответствие требованию проверяют осмотром, испытанием вручную и путем попытки снять рукоятку, кнопку, ручку или рычаг и т.п. приложением осевого усилия в течение 1 мин.

Если форма этих частей такова, что возможность приложения к ним осевого усилия при нормальной эксплуатации маловероятна, то осевое усилие должно составлять:

15 Н - для органов управления электрическими элементами;

20 Н - в других случаях.

Если форма этих частей такова, что возможность приложения осевого усилия вполне вероятна, то осевое усилие должно составлять:

30 Н - для органов управления электрическими элементами;

50 Н - в других случаях.

Примечание. Заливочную массу и другие подобные вещества, за исключением самозатвердевающих смол, не считают достаточными для предотвращения ослабления креплений.

22.13. Комплектующие элементы, замена которых может быть необходимой, например выключатели и конденсаторы, должны быть соответствующим образом закреплены.

Соответствие требованию проверяют осмотром и, при необходимости, испытанием вручную.

Примечание. Закрепление с помощью пайки допускается только для небольших сопротивлений, конденсаторов, катушек индуктивности и т.п. элементов, если эти элементы могут быть соответствующим образом закреплены с помощью своих соединительных средств. Закрепление с помощью заклепок разрешается.

22.14. Крюки и другие подобные приспособления для укладки гибких кабелей или шнуров должны быть гладкими и хорошо закругленными. Катушки для намотки шнуров должны иметь такую конструкцию, чтобы не вызывать:

чрезмерное истирание или повреждение гибкого кабеля или шнура;

поломки жил проводов;

чрезмерный износ подвижных и неподвижных контактов.

Соответствие требованию проверяют осмотром и следующим испытанием, которое проводят с обесточенным гибким кабелем или шнуром.

В приборах, снабженных катушкой автоматической намотки шнура, разматывают 2/3 общей длины кабеля или шнура. Затем разматывают дополнительно еще 75 см кабеля или шнура и этот отрезок 6000 раз разматывают и сматывают с частотой примерно 30 разматываний и сматываний в 1 мин или с максимальной частотой разматывания и сматывания, которая возможна с учетом конструкции катушки, если она менее 30 разматываний и сматываний в 1 мин.

Если при испытании существенно повышается температура нагрева кабеля или шнура, то испытание прерывают для возможности их охлаждения.

Шнур или кабель вытягивают в таком направлении, при котором имеет место наибольшее истирание оболочки и при котором в месте выхода кабеля или шнура из прибора угол между осью кабеля или шнура при испытании и осью кабеля или шнура при их разматывании без существенного усилия составляет около 60°.

После этого испытания катушка шнура должна выдерживать испытание на электрическую прочность, причем испытательное напряжение 1000 В прикладывают между соединенными вместе проводами кабеля или шнура и металлическими частями катушки или металлической фольгой, находящейся в контакте с катушкой, если эта катушка изготовлена из изоляционного материала.

Примечания:

1. Если шнур не сматывается обратно под углом 60°, то угол уменьшают до тех пор, пока не произойдет обратное сматывание шнура.

2. Если общая длина кабеля или шнура меньше чем 225 см, то кабель или шнур сначала разматывают настолько, чтобы на катушке оставалось 75 см кабеля или шнура; этот участок разматывают и сматывают, как указано выше.

3. Скорость обратного сматывания зависит от скорости перемещения механизма, используемого для вытягивания кабеля или шнура.

22.15. (Исключен, Изм. № 4, 1984 г.)

22.16. Дерево, хлопчатобумажная ткань, шелк, обычная бумага и другие волокнистые и гигроскопичные материалы не следует использовать в качестве изоляции, если они не пропитаны.

Примечания:

1. Асбест, с точки зрения настоящего стандарта, рассматривается как волокнистый материал.

2. Изоляционный материал считают пропитанным, если промежутки между волокнами заполнены соответствующим изоляционным материалом.

22.17. Приводные ремни не следует рассматривать как обеспечивающие электрическую изоляцию.

Это требование не распространяется на приборы со специальной конструкцией ремня, которая исключает возможность их неправильной замены.

Соответствие требованиям пп. 22.16 и 22.17 проверяют осмотром.

22.18. Приборы, кроме приборов класса III, имеющие части, которые для обеспечения необходимой степени защиты от поражения электрическим током питаются безопасным сверхнизким напряжением, должны быть сконструированы так, чтобы изоляция между частями, работающими при безопасном сверхнизком напряжении, и другими токоведущими частями соответствовала требованиям, предъявляемым к двойной или усиленной изоляции.

Соответствие требованию проверяют испытаниями, установленными для двойной или усиленной изоляции.

22.19. Усиленную изоляцию между токоведущими частями и доступными металлическими частями следует применять только в тех случаях, когда практически невозможно применять отдельно основную и дополнительную изоляции.

Соответствие требованию проверяют осмотром.

Примечание. Примерами частей, где может быть использована усиленная изоляция, являются приборные вводы и выключатели.

22.20. Части приборов класса II, которые служат как дополнительная или усиленная изоляция и которые могут быть забыты при повторной сборке прибора после эксплуатационного обслуживания, должны быть:

или закреплены так, чтобы их нельзя было снять без серьезного повреждения;

или сконструированы так, чтобы их нельзя было установить в неправильное положение, а если они забыты, то прибор должен быть неработоспособен или должно быть очевидно, что прибор не полностью укомплектован.

Изоляционные трубки могут быть использованы как дополнительная изоляция для внутренних проводов, если они надежно закреплены.

Соответствие требованию проверяют осмотром.

Примечания:

1. Эксплуатационное обслуживание включает в себя замену шнуров питания, выключателей и т.п.

2. Грунтованные металлические кожухи с покрытием лаком или другим материалом, который может быть легко удален соскабливанием, рассматриваются как не удовлетворяющие требованиям настоящего пункта.

3. Изоляционная трубка считается надежно закрепленной, если ее можно удалить, лишь сломав или разрезав, или если она закреплена с обоих концов.

22.21. Оболочка гибкого кабеля или шнура может использоваться как дополнительная изоляция внутри прибора только там, где она не подвергается чрезмерным механическим и тепловым нагрузкам и если ее изоляционные свойства не ниже установленных для оболочек гибких кабелей и шнуров в ГОСТ 7399.

Соответствие требованию проверяют осмотром и, в случае необходимости, испытанием оболочек гибких кабелей или шнуров в соответствии с ГОСТ 7399.

22.22. Приборы класса II должны быть сконструированы так, чтобы пути утечки и воздушные зазоры по дополнительной или усиленной изоляции в результате износа не могли стать меньше указанных в п. 29.1. Они должны быть сконструированы так, чтобы в случае ослабления крепления или выпадения из нормального положения провода, винта, гайки, шайбы, пружины или других подобных деталей, они не смогли бы при нормальной эксплуатации занять такое положение, при котором пути утечки и воздушные зазоры по дополнительной или усиленной изоляции уменьшились бы до значений, менее 50 % указанных в п. 29.1.

Соответствие требованию проверяют осмотром, измерением и испытанием вручную.

Примечание. С точки зрения настоящего требования:

предполагается, что два независимых крепления не ослабнут одновременно;

части, закрепленные винтами или гайками с пружинными шайбами, не считают склонными к ослаблению, если не возникает необходимости в снятии этих винтов или гаек при замене шнура питания или при эксплуатационном обслуживании;

колпачки щеток, соответствующие требованиям п. 22.34, считают не склонными к ослаблению;

провода, соединенные пайкой, не считают достаточно закрепленными, если не обеспечено дополнительное крепление рядом с зажимом;

провода, подсоединенные к зажимам, не считают надежно закрепленными, если отсутствует дополнительное крепление рядом с зажимом, причем в случае многожильных проводников крепление должно зажимать как изоляцию, так и проводник;

считают маловероятным выпадение коротких жестких проводов из зажима, если они остаются на месте при ослаблении винта зажима.

22.23. Дополнительная или усиленная изоляции должны быть сконструированы или защищены так, чтобы они не могли быть повреждены загрязнением или оседанием пыли, появляющимися в результате износа внутренних частей прибора, до такой степени, что пути утечки и воздушные зазоры стали бы меньше, чем указано в п. 29.1.

Неплотно спеченные керамические и тому подобные материалы, а также одни лишь изоляционные бусы не должны использоваться в качестве дополнительной или усиленной изоляции.

Детали из натуральной или синтетической резины, используемые в качестве дополнительной изоляции в приборах класса II, должны быть устойчивыми к старению, расположены так и иметь такие размеры, чтобы пути утечки не были меньше значений, указанных в п. 29.1, даже при появлении трещин.

Соответствие требованию проверяют осмотром, измерением и для резины следующим испытанием.

Части резины подвергают старению в атмосфере кислорода под давлением. Образцы свободно подвешивают в кислородном баллоне, полезная вместимость которого равна, по крайней мере, 10-кратному объему образцов. Баллон заполняют техническим кислородом чистотой не менее 97 % при давлении (210 ± 7) Н/см2 [(2,1 ± 0,07) МПа].

Образцы выдерживают в баллоне при температуре (70 ± 1) °С в течение 4 сут (96 ч). Непосредственно после этого образцы вынимают из баллона и не менее 16 ч выдерживают при комнатной температуре, избегая попадания на них дневного света.

После испытания проводят осмотр образцов; они не должны иметь трещин, видимых невооруженным глазом.

Примечания:

1. Изоляционный материал, в котором вмонтированы нагревательные провода, считают основной изоляцией, и его не следует использовать как усиленную изоляцию.

2. В случае сомнения в отношении материалов, за исключением резины, могут быть проведены специальные испытания.

3. В связи с тем, что использование баллона с кислородом представляет некоторую опасность при неосторожном с ним обращении, следует принять все меры, чтобы избежать взрыва из-за внезапного окисления.

22.24. Не допускается прямой контакт между неизолированными токоведущими частями и термоизоляцией, если материал изоляции является коррозионным, гигроскопичным и воспламеняющимся.

Соответствие требованию проверяют осмотром и испытаниями по разд. 15 и 16, а при необходимости - химическими испытаниями или испытаниями на воспламеняемость.

Примечания:

1. Стекловата является примером термоизоляции, которая удовлетворяет требованию настоящего пункта.

2. Непропитанная шлаковая вата является примером коррозийной термоизоляции.

22.25. Ручки должны быть сконструированы так, чтобы при их захвате во время нормальной эксплуатации исключалась вероятность прикасания руки оператора к частям, превышение температуры которых более значений, допускаемых для ручек, которые при нормальной эксплуатации держат в руке только в течение короткого периода времени.

Соответствие требованию проверяют осмотром и, при необходимости, определением превышения температуры.

Примечание. Если превышение температуры заклепки или винта в ограждении или ручке больше указанного для ручек в табл. 3, то заклепка или винт не должны быть доступными.

22.26. Неизолированные нагревательные элементы в приборах класса II, а для других приборов - неизолированные нагревательные элементы с видимым свечением при нормальной эксплуатации должны быть закреплены так, чтобы в случае разрыва нагревательный провод не мог соприкасаться с доступными металлическими частями.

Соответствие требованию проверяют осмотром после разрезания нагревательного провода в наиболее неблагоприятном месте.

Примечание:

1. Это требование действительно даже в том случае, когда нагревательный элемент с видимым свечением невидим с наружной стороны прибора.

2. Это испытание проводят после испытания по разд. 29.

22.27. Приборы классов 0, 0I и II должны быть сконструированы так, чтобы провисание нагревательных проводов не могло привести к тому, чтобы доступные металлические части оказались под напряжением.

Соответствие требованию проверяют осмотром.

Примечание. Это требование может быть выполнено, например, путем применения дополнительной изоляции или оболочки, или сердечника, которые предохраняют нагревательный провод от провисания.

22.28. Приборы, которые содержат жидкость при нормальной эксплуатации или имеют устройство, вырабатывающее пар, должны иметь соответствующие предохранительные устройства для предотвращения опасности возникновения чрезмерно высокого давления.

Соответствие требованию проверяют осмотром и, при необходимости, соответствующим испытанием.

22.29. Прокладки (распорки), предназначенные для защиты прибора от перегретых стен и т.п., должны быть закреплены так, чтобы их невозможно было снять с внешней стороны прибора вручную или с помощью отвертки или гаечного ключа.

Соответствие требованию проверяют осмотром и испытанием вручную.

22.30. Токопроводящие и другие металлические части, коррозия которых может привести к опасности, должны быть устойчивы к коррозии при нормальных условиях эксплуатации.

Соответствие требованию проверяют путем осмотра соответствующих частей, которые после испытания по разд. 19 не должны иметь следов коррозии.

Примечание:

1. Следует обращать внимание на совместимость материалов зажимов и окончаний и на влияние нагрева.

2. Нержавеющая сталь и подобные сплавы, стойкие к коррозии, а также плакированная сталь удовлетворяют требованию настоящего пункта.

22.31. В приборах класса II, которые при нормальной эксплуатации подключают к газопроводу или водопроводу, металлические части, имеющие токопроводящий контакт с газовой трубой или находящиеся в контакте с жидкостью, должны быть отделены от токоведущих частей двойной или усиленной изоляцией.

Приборы класса II, предназначенные для постоянного подключения к стационарной проводке, должны быть сконструированы так, чтобы требуемая степень защиты от поражения электрическим током сохранялась при монтаже прибора.

Соответствие требованию проверяют осмотром.

Примечание. Защита от поражения электрическим током в приборах класса II, предназначенных для постоянного подключения к стационарной проводке, может быть нарушена, например, при монтаже металлических трубопроводов или кабелей с металлической оболочкой.

22.32. В приборах, имеющих отсеки, доступные без применения инструмента и которые в условиях нормальной эксплуатации подлежат чистке, электрические соединения должны быть выполнены так, чтобы они не подвергались тяговому усилию.

Соответствие требованию проверяют осмотром и испытанием вручную.

22.33. Приборы должны быть сконструированы так, чтобы внутренняя проводка, обмотка, коллекторы, контактные кольца и т.п. и изоляция в целом не подвергались воздействию масла, густой смазки и других подобных веществ, если только конструкцией прибора не предусмотрено попадание масла или густой смазки на изоляцию, как, например, в зубчатых передачах и подобных узлах; в последнем случае масло или густая смазка должны обладать соответствующими изоляционными свойствами.

Соответствие требованию проверяют осмотром.

Примечание. Внутренняя проводка, обмотки, коллекторы, контактные кольца и т.п. и изоляция в целом могут подвергаться воздействию масла, густой смазки и других подобных веществ, если эти вещества не оказывают вредного влияния на эти части.

22.34. К щеткам, находящимся под напряжением, не должно быть доступа без помощи инструмента.

Колпачки щеток винтового типа должны быть ввинчены до упора в уступ или другую опору не менее чем на три полных витка резьбы.

Щеткодержатели, которые удерживают щетки в необходимом положении с помощью блокирующего устройства, должны быть сконструированы так, чтобы блокировка не зависела от натяжения пружины щетки, если в результате ослабления блокирующего устройства доступные металлические части могут оказаться под напряжением.

Колпачки щеток винтового типа, доступные с внешней стороны прибора, должны быть изготовлены из изоляционного материала или покрыты изоляционным материалом с достаточной механической и электрической прочностью; они не должны выступать за наружную поверхность прибора.

Соответствие требованию проверяют осмотром, испытанием вручную, а для колпачков щеток винтового типа, которые доступны с внешней стороны прибора, - испытанием по п. 21.1.

(Измененная редакция, Изм. № 1).

22.35. Асбест не должен быть использован в конструкции приборов, если соответствующим образом не предотвращено попадание пыли, насыщенной асбестом, или асбестовых волокон в окружающий воздух.

Соответствие требованию проверяют осмотром.

Примечание. Цель настоящего требования - исключить опасность, связанную с вдыханием асбестовых волокон или пыли.

23. ВНУТРЕННЯЯ ПРОВОДКА

23.1. Канавки для проводов должны быть гладкими и без острых кромок.

Провода должны быть защищены так, чтобы они не соприкасались с заусенцами, охлаждающими ребрами и т.п., которые могут вызвать повреждение их изоляции.

Отверстия в металле, через которые проходят изолированные провода, должны иметь гладкие, хорошо закругленные поверхности или должны быть снабжены втулками.

Провода должны быть защищены от соприкасания с движущимися частями.

23.2. Внутренняя проводка и электрические соединения между различными частями прибора должны быть в достаточной степени защищены или закрыты.

Соответствие требованиям пп. 23.1 и 23.2 проверяют осмотром.

23.3. Изолирующие бусы и аналогичные керамические изоляторы на токоведущих проводах должны быть закреплены или поддерживаться так, чтобы они не могли изменить свое положение; они не должны опираться на острые кромки или острые углы. Если изолирующие бусы находятся внутри гибких металлических трубок, то они должны быть покрыты изоляционной трубкой, за исключением тех случаев, когда гибкая металлическая трубка при нормальной эксплуатации не перемещается.

Соответствие требованию проверяют осмотром и испытанием вручную.

23.4. Провода, соединяющие различные части прибора, которые при нормальной эксплуатации и ремонтном обслуживании могут перемещаться друг относительно друга, и их электрические соединения, включая те, которые обеспечивают непрерывность заземления, не должны подвергаться чрезмерно большим напряжениям.

Если для защиты проводов, соединяющих эти части, используются гибкие металлические трубки, то такие трубки не должны повреждать изоляцию находящихся в них проводов.

Спиральные пружины, витки которых не соприкасаются друг с другом, не должны использоваться для защиты проводов. Если для защиты проводов используются спиральные пружины, витки которых соприкасаются друг с другом, то помимо изоляции проводов должно быть предусмотрено дополнительное изоляционное покрытие.

Соответствие требованию проверяют осмотром и следующим испытанием.

Если при нормальной эксплуатации прибора имеет место изгиб, то прибор должен быть установлен в нормальное рабочее положение, и работать при номинальном напряжении или верхнем пределе диапазона номинальных напряжений в условиях нормальной теплоотдачи и (или) при нормальной нагрузке.

Подвижную часть перемещают вперед и назад так, чтобы провод изгибался под максимальным углом, допускаемым конструкцией прибора. Число изгибов провода, который подвергается изгибу при нормальной эксплуатации, равно 10000, а частота изгибов - 30 в минуту.

После этого испытания прибор не должен иметь повреждений, нарушающих соответствие требованиям настоящего стандарта и препятствующих его дальнейшему использованию. В частности, проводка и ее соединения должны выдерживать испытание на электрическую прочность изоляции по п. 16.4; при этом испытание проводят только между токоведущими частями и другими металлическими частями испытательным напряжением, значение которого уменьшают до 1000 В.

Примечание:

1. Под изгибом понимают одно движение вперед или назад.

2. Оболочка гибкого кабеля или шнура, соответствующая требованиям ГОСТ 7399, считается достаточным изоляционным покрытием.

3. В стандартах на конкретный прибор, при необходимости, приводят испытания для проводов, подверженных изгибу при эксплуатационном обслуживании потребителем.

(Измененная редакция, Изм. № 1).

23.5. Внутренняя проводка и нагревательные провода должны быть или настолько жесткими и закрепленными, или изолированными в такой степени, чтобы при нормальной эксплуатации пути утечки и воздушные зазоры не могли стать меньше значений, указанных в п. 29.1.

Изоляция, если она имеется, должна быть такой, чтобы она не повреждалась при нормальной эксплуатации.

Соответствие требованию проверяют осмотром, измерением и испытанием вручную.

Примечание:

1. Если изоляция провода электрически не эквивалента изоляции гибких кабелей или шнуров, соответствующих требованиям ГОСТ 7399, то такой провод считают неизолированным. В сомнительных случаях проводят испытание изоляции на электрическую прочность испытательным напряжением 2000 В, прикладываемым в течение 15 мин между проводом и металлической фольгой, обернутой вокруг изоляции.

2. Особое внимание обращают на закрепление концов нагревательных проводов.

23.6. Провода, обозначенные комбинацией желто-зеленого цвета, не должны присоединяться к каким-либо зажимам, кроме зажимов заземления.

23.7. В приборах, предназначенных для постоянного присоединения к стационарной проводке, нижний контакт цоколя предохранителей должен быть непосредственно соединен с зажимом, предназначенным для фазного провода источника питания.

23.8. Алюминиевые провода не должны использоваться для внутренней проводки.

Примечания:

1. В настоящее время рассматриваются испытания, определяющие возможность применения алюминиевых проводов.

2. Обмотки двигателей не считаются внутренней проводкой.

Соответствие требованиям пп. 23.6 - 23.8 проверяют осмотром.

23.9. Многопроволочные проводники не должны соединяться свинцово-оловянным припоем в местах, где они подвергаются контактному давлению, если зажимные устройства спроектированы так, что возможен плохой контакт из-за хладотекучести припоя.

Соответствие требованию проверяют осмотром.

Примечания:

1. Соединение многопроволочных проводников свинцово-оловянным припоем допускается в тех случаях, когда используются пружинные зажимы; закрепление только зажимными винтами не считается достаточным.

2. Допускается пропайка концов многопроволочных проводников.

(Измененная редакция, Изм. № 1).

24. КОМПЛЕКТУЮЩИЕ ИЗДЕЛИЯ

24.1. Комплектующие изделия должны соответствовать по безопасности требованиям соответствующих стандартов в такой мере, насколько это целесообразно.

Если маркировка комплектующих изделий содержит данные о рабочих характеристиках, то условия использования их в приборе должны соответствовать этой маркировке, за исключением специальных случаев.

На конденсаторах должны быть указаны их номинальное напряжение в вольтах и номинальная емкость в микрофарадах.

Патрон серии Е10 должен быть сконструирован так, чтобы он мог быть пригоден для лампы с цоколем Е10, соответствующим СТ СЭВ 783-77.

Малые патроны, аналогичные патронам серии Е10, должны соответствовать требованиям к патронам Е10 по ГОСТ 2746; они не обязательно должны быть пригодны для ламп с цоколем Е10 по СТ СЭВ 783-77.

Комплектующие изделия, которые должны соответствовать другим стандартам, испытывают в общем случае отдельно по соответствующим стандартам следующим образом.

Если на комплектующем изделии указаны номинальные данные и оно используется в соответствии с ними, то изделие испытывают в соответствии с его номинальными данными; число образцов для испытания выбирают так, как указано в соответствующем стандарте на комплектующее изделие.

Если нет стандарта на определенное комплектующее изделие или если на комплектующем изделии не указаны номинальные данные, или если условия эксплуатации комплектующего изделия в приборе не соответствуют его номинальным данным, то комплектующее изделие испытывают в соответствии с условиями его эксплуатации в приборе; число образцов выбирают в общем случае как для аналогичного изделия.

Напряжение, приложенное к конденсатору, включенному последовательно с обмоткой двигателя, при работе прибора с напряжением, равным 1,1 номинального напряжения, и минимальной нагрузкой не должно превышать 1,1 номинального напряжения конденсатора.

Выключатели, на которых не указаны номинальные данные, испытывают в условиях работы их в приборе следующим образом.

Вначале измеряют значения токов и соответствующие им значения коэффициента мощности при включении прибора и при работе прибора в условиях нормальной теплоотдачи и (или) при нормальной нагрузке.

После этого выключатели испытывают отдельно в соответствии с ГОСТ 25516*. При этом значения токов и коэффициентов мощности, измеренные при включении прибора, используют при проведении испытаний на коммутационную способность по ГОСТ 25516, а значения токов и коэффициентов мощности, измеренные при работе прибора в условиях нормальной теплоотдачи и (или) при нормальной нагрузке, - для испытаний на износостойкость по ГОСТ 25516.

* В Российской Федерации действует ГОСТ Р МЭК 61058.1-2000 (здесь и далее).

Примечания:

1. До 01.01.92 на терморегуляторы, термовыключатели и подобные устройства распространялось приложение А настоящего стандарта.

2. На защитные трансформаторы распространяются требования приложения С настоящего стандарта.

3. Комплектующие изделия, встроенные в прибор, подвергают всем испытаниям по настоящему стандарту как часть прибора.

4. Соответствие отдельного комплектующего изделия стандарту на это комплектующее изделие не обязательно означает соответствие требованиям настоящего стандарта.

5. Специальные случаи, касающиеся испытаний выключателей и терморегуляторов, оговорены в примечании 3 к табл. 3.

Требования, приведенные ниже в настоящем пункте, установлены с 01.01.92.

Устройства автоматического управления (регулирования, контроля) испытывают в соответствии с требованиями настоящего стандарта и дополнительно по приложению 2.

Примечание. При проведении дополнительных испытаний для терморегулирующих и им подобных устройств и для реле перегрузки следует руководствоваться указаниями приложения А относительно количества срабатываний.

Испытания проводят в условиях эксплуатации этих устройств в приборе.

Примечания:

1. Устройства управления могут быть испытаны отдельно от прибора.

2. Устройства автоматического управления и им подобные, которые соответствуют требованиям стандартов по безопасности на эти устройства и которые используют в соответствии с указаниями изготовителя, считают соответствующими требованиям настоящего стандарта.

3. Испытаниям на износостойкость не подвергают те автоматические устройства, работа которых допускается при проведении испытаний по разд. 11, и если прибор соответствует требованиям настоящего стандарта при коротком замыкании этих устройств.

24.2. Приборы не должны иметь:

выключателей или устройств автоматического контроля и регулирования в гибких кабелях или шнурах;

устройств, которые в случае повреждения прибора прекращают подачу питания путем короткого замыкания цепи;

термовыключателей, которые могут быть возвращены в исходное состояние пайкой.

24.1, 24.2. (Измененная редакция, Изм. № 1).

24.3. Выключатели, за исключением выключателей для сигнальных ламп, предназначенные для отключения прибора от питающей сети и подсоединенные непосредственно к зажимам питания стационарных приборов, должны отключать все полюса и иметь зазор между контактами не менее 3 мм.

Это требование не относится к приборам, к которым приложена инструкция, как указано в п. 7.12, или которые снабжены шнуром питания и штепсельной вилкой.

Если однофазный прибор класса I с нагревательными элементами, предназначенный для постоянного подключения к стационарной проводке, оснащен однофазными выключателями или однофазными защитными устройствами, предназначенными для отключения нагревательного элемента от сети питания, то эти устройства должны быть подключены внутри прибора в незаземленный проводник, питающий нагревательный элемент.

Примечание. Лампы, предназначенные для освещения, не считаются сигнальными лампами.

Соответствие требованиям пп. 24.2 и 24.3 проверяют осмотром.

24.4. Штепсельные вилки и розетки, используемые для присоединения нагревательных элементов, и штепсельные вилки и розетки для цепей сверхнизкого напряжения не должны быть взаимозаменяемыми с штепсельными вилками и розетками, соответствующими ГОСТ 7396.0*, или с соединителями и приборными вводами, соответствующими СТ СЭВ 2185-80.

* В Российской Федерации действует ГОСТ Р 51322.1-99 (здесь и далее).

24.5. Штепсельные вилки, розетки и другие соединительные устройства на гибких кабелях или шнурах, используемые для промежуточного соединения различных частей прибора, не должны быть взаимозаменяемыми с штепсельными вилками и розетками, соответствующими ГОСТ 7396.0, или с соединителями и приборными вводами, соответствующими СТ СЭВ 2185-80, если непосредственная подача питания на эти части прибора от сети может вызвать опасность для потребителя и окружающей обстановки или повредить прибор.

Соответствие требованиям пп. 24.4 и 24.5 проверяют осмотром и испытанием вручную.

24.6. Патроны следует использовать только для включения ламп.

24.7. Сопротивления, включаемые последовательно с лампами тлеющего разряда с патроном типа Е10, используемыми в качестве индикаторных, должны быть встроены в прибор.

24.8. Конденсаторы не следует включать между контактами термовыключателя.

24.9. Электромеханические приборы, которые перемещают во время работы, должны иметь выключатель в цепи питания.

24.10. Ртутные выключатели должны быть установлены так, чтобы ртутная капсула не могла выпасть из предназначенного места и не могла быть повреждена зажимными устройствами, и должны быть ограждены так, чтобы при повреждении капсулы жидкая ртуть или пары ртути не могли вызвать заражения окружающей среды.

Соответствие требованиям пп. 24.6 - 24.10 проверяют осмотром.

24.11. В приборах классов 0I и I с нагревательными элементами, которые предназначены для работы без надзора, но которые не предназначены для постоянного подключения к стационарной проводке, термовыключатель, если он имеется, должен отсоединять все полюса, за исключением тех случаев, когда внутри прибора в каждый из проводов, питающих нагревательный элемент, включено устройство, чувствительное к температуре.

Соответствие требованию проверяют осмотром.

Примечание. Это требование может быть выполнено включением терморегулятора в один провод и термовыключателя или теплового звена в другой провод.

25. ПРИСОЕДИНЕНИЕ К ИСТОЧНИКУ ПИТАНИЯ И ВНЕШНИЕ ГИБКИЕ КАБЕЛИ И ШНУРЫ

25.1. Приборы, за исключением приборов, снабженных штырями, предназначенными для введения в гнезда закрепленных розеток, должны быть снабжены одним из следующих средств присоединения к источнику питания:

комплектом зажимов для постоянного присоединения к стационарной проводке;

комплектом проводов питания для постоянного присоединения к стационарной проводке;

приборным вводом;

шнуром питания.

Приборы не должны иметь более одного средства присоединения к источнику питания, за исключением стационарных приборов с многоканальным питанием, предназначенных для постоянного присоединения к стационарной проводке, которые могут быть снабжены более чем одним комплектом зажимов или более чем одним комплектом проводов питания при условии, что соответствующие цепи достаточно изолированы друг от друга.

Соответствие требованию проверяют осмотром и для приборов с многоканальным питанием следующим испытанием.

Напряжение 1250 В практически синусоидальной формы частотой 50 или 60 Гц прикладывают постепенно в течение 1 мин между каждым комплектом зажимов или проводов питания, соединенных вместе, и всеми другими зажимами или проводами питания, соединенными вместе; причем все выключатели в цепи находятся в самом неблагоприятном положении.

Во время этого испытания не должно быть пробоя или перекрытия по изоляции.

Примечания:

1. Многоканальное питание необходимо, например, при дневном и ночном питании с различными тарифами.

2. Это испытание может быть совмещено с испытанием по п. 16.4.

25.2. Приборы, предназначенные для постоянного присоединения к стационарной проводке, должны допускать присоединение проводов питания после крепления прибора к его опоре и должны быть снабжены:

комплектом зажимов, позволяющих присоединение кабелей к стационарной проводке с номинальным поперечным сечением, указанным в п. 26.2;

комплектом проводов питания, расположенных в соответствующем отсеке;

вводами кабелей, вводами трубопроводов, заглушками или сальниками, позволяющими присоединение соответствующих типов кабелей или трубопроводов.

Для приборов с номинальным током не более 16 А вводы должны позволять присоединение кабелей или трубопроводов, имеющих максимальный наружный диаметр, указанный в табл. 11.

Вводы трубопроводов, кабелей и заглушки должны быть сконструированы или расположены так, чтобы введение трубопровода или кабеля не нарушало защиту от поражения электрическим током и чтобы пути утечки и воздушные зазоры не уменьшались ниже значений, указанных в п. 29.1.

Таблица 11

Число проводов, включая заземляющий провод

Максимальный наружный диаметр, мм

кабеля

трубопровода

2

13,0

16,0

3

14,0

16,0

4

14,5

19,0

5

15,5

19,0

Приборы, не предназначенные для постоянного присоединения к стационарной проводке, за исключением приборов, снабженных штырями, предназначенными для введения в гнезда закрепленных розеток, должны быть снабжены:

шнуром питания или

приборным вводом.

Каплезащищенные, брызгозащищенные и водонепроницаемые приборы не должны иметь приборного ввода.

Соответствие требованию проверяют осмотром, измерением и пробным монтажом.

Примечание. Если закрепленный прибор сконструирован с таким расчетом, чтобы определенные части прибора можно было временно снять для облегчения его установки, то первое требование считается выполненным, если провода питания можно без затруднений присоединить после крепления части прибора к его опоре при условии, что временно снятые съемные части можно вновь соединить с закрепленной частью прибора без риска неправильной их установки и так, чтобы провода не подвергались механическим воздействиям, которые могут привести к повреждению изоляции проводов.

25.3. Приборные вводы:

должны быть расположены или закрыты так, чтобы токоведущие части не были доступными при введении или удалении соединителя;

должны быть расположены так, чтобы соединитель мог быть введен без затруднений;

должны быть расположены так, чтобы после введения соединителя прибор не опирался на соединитель в любом положении, возможном при нормальной эксплуатации на плоской поверхности;

не должны быть в исполнении для холодного состояния, если прибор имеет внешние металлические части, превышение температуры которых во время испытания по разд. 11 превышает 75 °С (75 К), за исключением тех случаев, когда конструкция прибора такова, что возможность прикасания шнура питания к таким металлическим частям в условиях нормальной эксплуатации маловероятна.

Соответствие требованию проверяют осмотром, а соответствие первому требованию для приборных вводов также испытанием стандартным испытательным пальцем, приведенным на черт. 1.

25.4. Шнуры питания должны быть прикреплены к прибору одним из следующих способов: X, Y, M, Z, - если допускается в соответствующем стандарте на конкретный прибор.

Крепление типа X не допускается, если используется шнур питания специальной конструкции, а также для плоских двойных мишурных шнуров.

Соответствие требованию проверяется осмотром и, при необходимости, испытанием вручную.

25.5. Штепсельные вилки не должны быть снабжены более чем одним гибким кабелем или шнуром.

Шнуры питания однофазных переносных приборов, номинальный ток которых не превышает 16 А, должны быть снабжены штепсельной вилкой.

Соответствие требованию проверяют осмотром.

25.6. Шнуры питания, используемые в бытовых электроприборах, должны иметь характеристики не хуже, чем шнуры, указанные ниже (в соответствии с ГОСТ 7399):

гибкий шнур со скрученными жилами с резиновой изоляцией в оплетке из хлопчатобумажной швейной нитки, синтетической нити или из комбинации хлопчатобумажной и синтетической нитей (тип 245; 51 или ШРО), если это специально оговорено в стандарте на конкретный прибор;

обычный прочный гибкий шнур в резиновой оболочке (тип 245: 53 или ПРС);

двужильный особо гибкий шнур (тип 227; 41 или ШОГ), если это специально оговорено в стандарте на конкретный прибор;

легкий гибкий шнур в поливинилхлоридной оболочке (тип 227; 52 или ШВЛ, или ШВВП) - для приборов массой не более 3 кг;

обычный гибкий шнур в поливинилхлоридной оболочке (тип 227; 53 или ПВС) - для приборов массой более 3 кг.

Гибкие кабели или шнуры с поливинилхлоридной изоляцией не следует использовать для приборов, имеющих внешние металлические части, превышение температуры которых во время испытания по разд. 11 более 75 °С (75 К), кроме тех случаев, когда конструкция прибора исключает возможность прикасания шнура питания к таким частям в условиях нормальной эксплуатации, или для креплений типов М, Y и Z, когда шнур питания устойчив к воздействию более высоких температур.

Для приборов класса I шнур питания должен иметь желто-зеленую жилу, которая соединена с зажимом заземления внутри прибора и с контактом заземления штепсельной вилки, если она имеется.

Концы жил шнуров питания не должны скрепляться пайкой припоем, содержащим олово и свинец, в тех местах, где на них действует контактное давление, если в зажимных устройствах возникает опасность плохого контакта в результате хладотекучести припоя.

Шнуры питания не должны соприкасаться с острыми выступами внутри прибора или режущими кромками поверхности прибора.

Номинальное поперечное сечение шнуров питания не должно быть меньше значений, указанных в табл. 12.

Соответствие требованию проверяют осмотром и измерением.

Примечание. Требование, касающееся закрепления концов проводов гибких шнуров питания, может быть выполнено путем использования пружинных зажимов. Закрепление только зажимными винтами считается недостаточным.

(Измененная редакция, Изм. № 1).

Таблица 12

Номинальный ток прибора, А

Номинальное поперечное сечение, мм2

До 0,2 включ.

Мишурный шнур1

Более 0,2 до 3,0 включ.

0,52

» 3,0 » 6,0 »

0,75

» 6,0 » 10,0 »

1,0

» 10,0 » 16,0 »

1,5

» 16,0 » 25,0 »

2,5

» 25,0 » 32,0 »

4,0

» 32,0 » 40,0 »

6,0

» 40,0 » 63,0 »

10,0

1 Допускается применять только в том случае, если это специально оговорено в соответствующем стандарте на конкретный прибор и если длина шнура питания, измеренная от точки, где шнур или его защитное устройство входит в прибор, до ввода в вилку, не превышает 2 м.

2 Это значение допускается только в том случае, если длина шнура питания, измеренная от точки, где шнур или его защитное устройство входит в прибор, до ввода в вилку, не превышает 2 м.

25.7. Для крепления типа Z совместная формовка кожуха прибора и шнура питания не должна повреждать изоляцию кабеля или шнура.

Соответствие требованию проверяют осмотром.

25.8. Вводные отверстия должны быть так сконструированы и иметь такую форму или должны быть снабжены такими входными втулками, чтобы шнур питания можно было ввести без повреждения защитного покрытия. Использование крепления типа Z - по п. 25.4.

Изоляция между проводом и кожухом должна состоять из изоляции провода и дополнительно:

по крайней мере, одной отдельной изоляции для приборов классов 0, 0I и I;

по крайней мере, двух отдельных изоляций для приборов класса II.

Отдельной изоляцией может быть:

оболочка шнура питания, которая, по крайней мере, эквивалентна оболочке кабеля или шнура, соответствующего ГОСТ 7399-80;

обкладка из изоляционного материала, удовлетворяющая требованиям к дополнительной изоляции;

втулка из изоляционного материала, удовлетворяющая требованиям к дополнительной изоляции, в случае металлических кожухов;

кожух из изоляционного материала. В этом случае не требуется применение двух отдельных изоляций.

25.9. Вводные втулки должны:

иметь такую форму, чтобы они не могли повредить шнур питания;

быть надежно закреплены;

быть несъемными без инструмента;

не составлять единое целое со шнуром питания для крепления типа X;

быть не резиновыми, за исключением тех случаев, когда они составляют единое целое с резиновой оболочкой шнура питания с креплением типов М, Y и Z в приборах классов 0, 0I и I.

Соответствие требованиям пп. 25.8 и 25.9 проверяют осмотром и испытанием вручную.

25.10. Приборы со шнуром питания, которые перемещают во время работы, за исключением приборов, имеющих катушку для намотки шнура, должны быть сконструированы так, чтобы шнур был соответствующим образом защищен от чрезмерного изгиба в месте ввода в прибор.

Соответствие требованию проверяют следующим испытанием, которое проводят на имеющем качающийся элемент устройстве, аналогичном указанному на черт. 15.

Часть прибора, имеющую входное отверстие для шнура, защитное устройство шнура (при его наличии) и шнур питания, закрепляют на качающемся элементе так, что когда шнур питания находится в середине своего пути, его ось в месте ввода в защитное устройство или отверстие должна быть вертикальной и проходить через ось качания. Главная ось сечения плоских шнуров должна быть параллельна оси качания.

Шнур нагружают так, чтобы приложенная сила составляла:

10 Н - для шнуров с номинальным сечением более 0,75 мм2;

5 Н - для других шнуров.

Расстояние А (черт. 15) между осью качания и точкой ввода шнура или вводной втулки в прибор должно быть таким, чтобы когда качающийся элемент осуществляет полный ход, боковое смещение шнура и груза было минимально.

Качающийся элемент перемещается на 90° (45° в каждую сторону от вертикали с частотой 60 изгибов в минуту); количество изгибов для крепления шнура типа Z составляет 20000, для других типов креплений - 10000.

Примечание. Изгиб - одно движение вперед или назад.

При достижении половины указанного количества изгибов образец со шнуром, кроме плоских шнуров, разворачивают на угол 90°.

Во время испытания через проводники пропускают ток, равный номинальному току прибора, при этом напряжение должно соответствовать номинальному напряжению прибора. Через заземляющий провод ток не пропускают.

Испытания не должны привести к:

короткому замыканию между проводниками;

повреждению более 10 % жил в любом проводнике;

отделению проводов от зажимов и соединений;

ослаблению любого защитного устройства шнура;

повреждению, приводящему к несоответствию требованиям настоящего стандарта, шнура или любого защитного устройства шнура;

прокалыванию изоляции сломанными проволочками многожильных проводов до такой степени, что они становятся доступными.

Примечания:

1. Под «проводниками» понимают и провода заземления.

2. Считают, что между проводами возникло короткое замыкание, если значение тока возросло до двукратного номинального тока прибора.

25.11. Приборы, снабженные шнуром питания, должны иметь крепление шнура, выполненное так, чтобы оно разгружало шнур от напряжений, в том числе от скручивания, в месте присоединения шнура внутри прибора, а также защищало изоляцию проводов от истирания.

Крепление шнура должно быть расположено так, чтобы оно было доступно только с помощью инструмента любо сконструировано так, чтобы кабель или шнур могли быть соединены только с помощью инструмента.

Для крепления типа X в переносных приборах сальники не следует использовать для крепления шнура, за исключением тех случаев, когда они предусмотрены для зажима всех видов и размеров кабелей и шнуров, которые могут быть использованы в качестве шнуров питания. Не допускаются такие технологические приемы, как способ крепления шнура методом формования, завязывания кабеля или шнура узлом или связывание концов бечевкой; допускаются лабиринты и подобные устройства при условии, что ясен способ монтажа шнура питания.

Для крепления типа X крепление шнура должно быть сконструировано и расположено так, чтобы:

замена кабеля или шнура была легко осуществима;

было ясно, как достигается разгрузка шнура от натяжения и предотвращения скручивания;

они подходили для различных типов кабеля или шнура, которые могут быть присоединены, если прибор не сконструирован так, что можно использовать только один тип кабеля или шнура;

кабель или шнур не мог соприкасаться с зажимными винтами узла крепления шнура, если эти винты доступны или электрически соединены с доступными металлическими частями;

кабель или шнур не закреплялись металлическими винтами, которые опираются непосредственно на кабель или шнур;

по крайней мере, одна часть крепления шнура была надежно закреплена на приборе;

винты, если они имеются, которые необходимо отвинчивать и завинчивать при замене кабеля или шнура, не служили для крепления других элементов, за исключением тех случаев, когда прибор становится неработоспособным или явно не полностью укомплектован, если эти элементы были забыты или неправильно установлены, или когда элементы, закрепляемые этими винтами во время замены кабеля или шнура, не могут быть сняты без применения инструмента:

при сальниках кабель или шнур не мог ослабляться при их последующем подтягивании;

для приборов классов 0, 0I и I оно было выполнено из изоляционного материала или было снабжено изоляционной прокладкой, если при повреждении изоляции кабеля или шнура доступные металлические части могут оказаться под напряжением;

для прибора класса II оно было выполнено из изоляционного материала, а если оно выполнено из металла, то изолировано от доступных металлических частей изоляцией, соответствующей требованиям к дополнительной изоляции.

Примечания:

1. Если для присоединения типа X узел крепления шнура содержит один или более зажимных элементов, давление к которым прикладывается посредством одной или более гаек, находящихся в зацеплении со шпильками, которые жестко прикреплены к прибору, то считается, что крепление шнура имеет одну часть, которая надежно прикреплена к прибору, даже в том случае, если зажимные элементы могут быть сняты со шпилек.

2. Если давление к зажимным элементам прикладывают посредством одного или более винтов, находящихся в зацеплении либо с отдельными гайками, либо с резьбой в части, которая составляет единое целое с прибором, то считают, что такое крепление шнура не имеет часть, которая надежно прикреплена к прибору, за исключением тех случаев, когда один из зажимных элементов сам прикреплен к прибору или поверхность прибора выполнена из изоляционного материала и имеет такую форму, что очевидно, что эта поверхность является одним из зажимных элементов (см. черт. 16).

Для креплений типов М, Y и Z жилы шнура питания должны быть изолированы от доступных металлических частей изоляцией, соответствующей требованиям к основной изоляции для приборов классов 0, 0I и I и соответствующей требованиям к дополнительной изоляции для приборов класса II. Эта изоляция может состоять из:

отдельной изоляционной подкладки, прикрепленной к узлу крепления шнура;

специальной гильзы или прокладочного кольца, прикрепленных к кабелю или шнуру, или для приборов классов 0, 0I и I - оболочки кабеля или шнура.

Для креплений типов М и Y узел крепления шнура должен быть сконструирован так, чтобы:

замена шнура питания не нарушала соответствия требованиям настоящего стандарта;

кабель или шнур не могли соприкасаться с зажимными винтами крепления шнура, если эти винты доступны или электрически соединены с доступными металлическими частями;

кабель или шнур не были зажаты металлическим винтом, который опирается непосредственно на кабель или шнур;

не было ответвлений в шнуре, если иное не указано в соответствующем стандарте на конкретный прибор;

в случае использования лабиринтов и других подобных средств было ясно, каким способом должен быть установлен шнур питания;

для крепления типа М было ясно, как достигается разгрузка шнура питания от напряжения и предотвращения скручивания.

Соответствие требованию проверяют осмотром и следующим испытанием.

Для крепления типа X прибор снабжают соответствующим шнуром питания. Провода вводят в зажимы, винты которых, если они имеются, затягивают настолько, чтобы провода не могли легко изменить свое положение. Крепление шнура используют обычным способом, его зажимные винты затягивают крутящим моментом, равным 2/3 момента, указанного в п. 28.1.

Винты из изоляционного материала, которые опираются непосредственно на кабель или шнур, затягивают крутящим моментом, равным 2/3 момента, указанного в графе 1 табл. 20, причем длину шлица в головке винта принимают равной номинальному диаметру винта.

Сальники, используемые для крепления шнура, затягивают крутящим моментом, равным 2/3 момента, используемого при испытании по п. 21.3.

Испытание проводят вначале с наиболее легким из допустимых типов кабеля или шнура с наименьшей площадью поперечного сечения, указанной в п. 26.2, а затем с ближайшим более тяжелым типом кабеля или шнура с наибольшей установленной площадью поперечного сечения, если прибор не сконструирован так, что он может быть оснащен только одним типом кабеля или шнура.

Для крепления типов М, Y и Z прибор испытывают с поставляемым шнуром.

Не допускается возможность проталкивания кабеля или шнура внутрь прибора до такой степени, что это может вызвать повреждение кабеля или шнура или внутренних частей прибора.

Затем кабель или шнур подвергают 25 натяжениям с усилием, значение которого должно соответствовать указанному в табл. 13. Натяжение проводят в наиболее неблагоприятном направлении без рывков; каждое натяжение должно длиться 1 с.

Непосредственно после этого кабель или шнур, кроме шнуров с автоматической намоткой, подвергают в течение 1 мин воздействию крутящего момента, значение которого указано в табл. 13.

Таблица 13

Масса прибора, кг

Натяжение, Н

Крутящий момент, Н×м

До 1,0 включ.

30

0,10

Св. 1,0 до 4,0 включ.

60

0,25

» 4,0

100

0,35

Во время испытания кабель или шнур не должен быть поврежден.

После испытания кабель или шнур не должен быть смещен в продольном направлении более чем на 2 мм, а провода не должны быть смещены в зажимах более чем на 1 мм; в местах соединения не должно быть заметного натяжения.

Пути утечки и воздушные зазоры не должны быть меньше значений, указанных в п. 29.1.

Для измерения смещения в продольном направлении на кабеле или шнуре, находящемся в натянутом состоянии, перед началом испытаний делают отметку на расстоянии примерно 2 см от крепления шнуром или другой удобной точки.

После испытаний измеряют смещение отметки на кабеле или шнуре, находящемся в натянутом состоянии, относительно крепления шнура или другой выбранной удобной точки.

25.10, 25.11. (Измененная редакция, Изм. № 1).

25.12. Отсек для кабеля питания или шнура питания, предусмотренный внутри прибора или как часть его должен быть:

при подключении к стационарной проводке и для креплений типов X, М и Y:

сконструирован так, чтобы перед установкой крышки, если она имеется, можно было проверить правильность подсоединения и расположения проводов;

сконструирован так, чтобы крышки, если они имеются, можно было установить без риска повреждения проводов питания или их изоляции;

для переносных приборов сконструирован так, чтобы неизолированный конец провода в случае выпадения его из зажима не мог касаться доступных металлических частей, за исключением креплений типов М и Y, если шнур снабжен окончаниями, исключающими выскальзывание провода;

при подключении к стационарной проводке и для креплений типов X и М отсек должен также быть:

достаточным для легкого введения и соединения проводов;

сконструирован так, чтобы крышки, если они имеются, открывающие доступ к зажимам для внешних проводов, можно было снять без применения специального инструмента.

В случае использования проводов питания объем отсека, приходящийся на каждый провод питания и провод заземления, должен быть не менее указанного в табл. 14.

Таблица 14

Номинальная площадь поперечного сечения провода, мм2

Объем, см2

До 2,5 включ.

33

Св. 2,5 до 4,0 включ.

37

» 4,0 » 6,0 »

41

» 6,0 » 10,0 »

49

Соответствие требованию проверяют осмотром, а при подключении к стационарной проводке и для крепления типа X дополнительно пробным монтажом с гибким кабелем или шнуром с наибольшей площадью поперечного сечения, указанной в п. 26.2, за исключением переносных приборов с креплением типа X, которые подвергают следующему дополнительному испытанию.

Для зажимов колонкового типа, в которых проводники не закреплены дополнительно на расстоянии 30 мм или менее от зажима, и для других винтовых зажимов ослабляют поочередно винты или гайки. Не вынимая провод из отсека, к нему прикладывают усилие 2 Н в произвольном направлении вблизи зажима, винта или болта. Неизолированный конец провода не должен касаться доступных металлических частей или других металлических частей, соединенных с ними.

Примечания:

1. Для зажимов колонкового типа, в которых проводники зажаты дополнительно на расстоянии 30 мм или менее от зажима, прибор считается удовлетворяющим требованию, в соответствии с которым неизолированный конец провода не должен касаться доступных металлических частей.

2. Провода могут быть зажаты дополнительно, например, путем использования узла крепления шнура.

25.13. Съемные и несъемные гибкие кабели или шнуры функционального использования или для промежуточных соединений должны соответствовать требованиям, предъявляемым к кабелям или шнурам питания, за исключением того, что:

приборные соединительные устройства и приборные вводы, используемые для гибких кабелей или шнуров функционального назначения и для промежуточных соединений, не должны быть взаимозаменяемыми с штепсельными соединителями и разъемными вводами, применяемыми с гибкими кабелями или шнурами питания, если взаимозаменяемость может привести к несоответствию требованиям настоящего стандарта;

площадь поперечного сечения проводов гибких кабелей или шнуров функционального назначения, или для промежуточных соединений определяют по максимальному току, проходящему через провод при испытании по разд. 11, а не по номинальному току прибора;

толщина изоляции отдельных жил может быть меньше требуемой, в зависимости от напряжения цепи, в которой используют данный провод.

Соответствие требованию проверяют осмотром и, при необходимости, испытаниями, например такими, как испытание электрической прочности изоляции по п. 16.4.

25.14. Съемные гибкие кабели и шнуры, применяемые для промежуточного соединения между различными частями прибора, должны быть соединены такими соединительными устройствами, чтобы доступные металлические части не оказались под напряжением в случае разъединения одного из соединительных устройств.

Соответствие требованию проверяют осмотром и, при необходимости, испытательным стандартным пальцем (см. черт. 1).

26. ЗАЖИМЫ ДЛЯ ВНЕШНИХ ПРОВОДОВ

26.1. Приборы, кроме приборов, снабженных проводами питания, и приборов с креплениями типов Y и Z, должны иметь зажимы, в которых соединение осуществляют с помощью винтов, гаек и т.п. средств.

Винты и гайки для зажима внешних проводов должны иметь метрическую резьбу ИСО или резьбу с подобными резьбе ИСО шагом и механической прочностью. Они не должны служить для крепления других элементов, за исключением внутренних проводов, если эти провода расположены так, что они не могут смещаться при подсоединении внешних проводов.

В приборах с креплением типов X и М, номинальная потребляемая мощность которых не превышает 250 Вт, для присоединения внешних проводов могут быть использованы соединения пайкой при условии, что провод расположен или закреплен так, что фиксация его в определенном положении зависит не только от одной пайки, и если перегородки не выполнены так, чтобы при отсоединении провода в месте пайки пути утечки и воздушные зазоры между токоведущими частями и другими металлическими частями не могли стать меньше 50 % значений, указанных в п. 29.1.

Для креплений типов Y и Z для присоединения внешних проводов могут быть использованы соединения пайкой, сваркой, обжимные и т.п. соединения; у приборов класса II провод должен быть расположен или закреплен так, чтобы фиксация его в определенном положении зависела не только от пайки, сварки или обжима, если перегородки не выполнены так, чтобы при отсоединении провода в месте пайки или сварки или выскальзывании его из обжимного соединения, пути утечки и воздушные зазоры между токоведущими частями и другими металлическими частями не могли стать меньше 50 % значений, указанных в п. 29.1.

Примечания:

1. Для шнуров питания:

не предполагается одновременное ослабление двух независимых креплений;

провода, присоединенные пайкой, не считаются достаточно закрепленными, если они не поддерживаются вблизи окончания независимо от пайки; при этом закрепление «скобой» перед местом пайки рассматривается как подходящий способ поддержания проводов шнура питания (кроме многожильного кабеля повышенной гибкости) в необходимом положении при условии, что отверстие, через которое проходит провод, не является чрезмерно большим:

провода, присоединенные к зажиму или окончанию другими средствами, не считаются достаточно закрепленными, если рядом с зажимом или окончанием нет дополнительного крепления; в случае многожильных проводов это дополнительное крепление должно прижимать как изоляцию, так и провод.

2. Требования к безвинтовым зажимам - по ГОСТ 25030*.

3. Зажимы комплектующих (например выключателей), встроенные в прибор, при условии, что они полностью соответствуют требованиям настоящего раздела, могут быть использованы в качестве зажимов для внешних проводов.

* В Российской Федерации действует ГОСТ Р 50043.3-2000 (здесь и далее).

(Измененная редакция, Изм. № 1).

26.2. Зажимы для подсоединения к фиксированной проводке и зажимы для крепления типа X должны допускать присоединение проводов с номинальным поперечным сечением в соответствии с табл. 15, если только прибор не спроектирован так, что может быть подключен определенный тип кабеля или шнура, в последнем случае зажимы должны быть пригодны для подсоединения такого кабеля или шнура.

Соответствие требованиям пп. 26.1 и 26.2 проверяют осмотром, измерением и подсоединением кабелей или шнуров с наименьшей и наибольшей из указанных площадей поперечного сечения.

26.3. Зажимы для креплений типов М, Y и Z должны соответствовать своему назначению.

Зажимы с винтовыми скобами и безвинтовые зажимы не допускается использовать для соединения проводников плоского двойного мишурного шнура.

Соответствие требованию проверяют осмотром и натяжением соединения с усилием 5 Н.

После испытания соединения не должны иметь повреждений, нарушающих соответствие требованиям настоящего стандарта.

26.4. Для приборов, кроме приборов, снабженных проводами питания, и приборов с креплением типов Y и Z, зажимы должны быть закреплены так, чтобы во время затягивания или ослабления зажимного устройства зажим не ослабевал, внутренняя проводка не подвергалась натяжению, а пути утечки и воздушные зазоры не уменьшались до значений, меньших чем указано в п. 29.1.

Таблица 15

Номинальный ток прибора, А

Номинальная площадь поперечного сечения, мм2

гибких кабелей и шнуров

кабелей для стационарной проводки

До 3,0 включ.

От 0,5 до 0,75

От 1,0 до 0,75

Св. 3,0 до 6,0 включ.

» 0,75 » 1,0

» 1,0 » 2,5

» 6,0 » 10 »

» 1,0 » 1,5

» 1,0 » 2,5

» 10 » 16 »

» 1,5 » 2,5

» 1,5 » 4,0

» 16 » 25 »

» 2,5 » 4,0

» 2,5 » 6,0

» 25 » 32 »

» 4,0 » 6,0

» 4,0 » 10

» 32 » 40 »

» 6,0 » 10

» 6,0 » 16

» 40

» 10 » 16

» 10 » 25

Соответствие требованию проверяют осмотром и измерением после 10-кратного затягивания и ослабления провода с наибольшей площадью поперечного сечения, указанной в п. 26.2; при этом прикладывают крутящий момент, равный 2/3 момента, указанного в п. 28.1.

Примечания:

1. Считают, что зажимы не ослабнут, если они закреплены двумя винтами, одним винтом в углублении без заметного зазора или другими подходящими способами.

2. Покрытие заливочной массой без других фиксирующих средств считается недостаточным. Допускается, однако, использование для фиксации зажимов самотвердеющих смол, если зажимы при нормальной эксплуатации не подвергаются кручению.

26.5. Для приборов, кроме приборов, снабженных проводами питания, и приборов с креплением типов Y и Z, зажимы должны быть сконструированы так, чтобы провод бы зажат между металлическими поверхностями с достаточным контактным давлением, но без повреждения провода.

(Измененная редакция, Изм. № 1).

26.6. Для приборов, кроме приборов, снабженных проводами питания, и приборов с креплением типов Y и Z, зажимы не должны требовать специальной подготовки провода для выполнения правильного присоединения его и должны быть сконструированы или расположены так, чтобы провод не мог выскользнуть при затягивании зажимных винтов или гаек.

Соответствие требованиям пп. 26.5 и 26.6 проверяют осмотром зажимов и проводов после испытания по п. 26.4.

Примечания:

1. Под термином «специальная подготовка провода» подразумевают пропайку проволок многожильного провода, использование кабельных наконечников, образование петель на конце провода и т.п., но не изменение формы провода перед введением его в зажим или скручивание многожильного провода для укрепления его конца.

2. Провода считают поврежденными, если на них имеются глубокие и острые вмятины.

26.7. Зажимы колонкового типа должны иметь размеры, указанные в табл. 16, за исключением того, что длина резьбы в колонке может быть уменьшена при условии, что механическая прочность является достаточной и, по крайней мере, два полных витка резьбы находятся в зацеплении, когда провод с наименьшей площадью поперечного сечения, указанной в п. 26.2, плотно зажат.

Таблица 16

Номинальный ток прибора, А

Минимальный номинальный диаметр резьбы, мм

Минимальный диаметр отверстия для провода, мм

Минимальная длина резьбы в колонке, мм

Максимальная разность между диаметром отверстия и номинальным диаметром резьбы, мм

До 10 включ.

3,01

3,0

2,0

0,6

Св. 10 до 16 включ.

3,5

3,5

2,5

0,6

» 16 » 25 »

4,0

4,0

3,0

0,6

» 25 » 32 »

4,0

4,5

3,0

1,0

» 32 » 40 »

5,0

5,5

4,0

1,3

» 40 » 63 »

6,0

7,0

4,0

1,5

1 Для резьб типа ВА это значение допускается уменьшить до 2,8.

Длина резьбы винта зажима должна быть не менее суммы диаметра отверстия для провода и длины резьбы в колонке.

Поверхность, к которой прижимают провод, не должна иметь острых вмятин или выступов.

Зажимы должны быть сконструированы и расположены так, чтобы конец провода, введенного в отверстие, был виден или мог проходить за пределы отверстия с резьбой на расстояние, равное, по крайней мере, половине номинального диаметра винта, или на расстояние 2,5 мм в зависимости от того, что больше.

Примечания:

1. Длину резьбы в колонке измеряют до точки, где резьба впервые прерывается отверстием для провода.

2. Если резьба в колонке утоплена, то длина винтов с головкой должна быть соответственно увеличена.

3. Часть, к которой прижимают провод, не обязательно должна составлять одно целое с частью, на которой имеется винт зажима.

26.8. Винтовые зажимы должны иметь размеры не менее указанных в табл. 17, за исключением того, что длина резьбы в отверстии под винт или в гайке или длина резьбы на винте могут быть уменьшены при условии, что механическая прочность является достаточной и, по крайней мере, два полных витка резьбы находятся в зацеплении, когда провод с наибольшей площадью поперечного сечения, указанной в п. 26.2, слабо зажат.

Таблица 17

Номинальный ток прибора, А

Номинальный диаметр резьбы, мм

Длина резьбы на винте, мм

Длина резьбы в отверстии под винт или гайке, мм

Номинальная разность между диаметром головки и хвостовика винта, мм

Высота головки винта, мм

До 10 включ.

3,5 (3,0)1

4,0 (3,5)

1,5

3,5 (3,0)

2,0 (1,8)

Св. 10 до 16 включ.

4,0

5,5

2,5

4,0

2,4

» 16 » 25 »

5,0

6,5

3,0

5,0

3,0

» 25 » 32 »

5,0

7,5

3,0

5,0

3,5

» 32 » 40 »

5,0

8,5

3,0

5,0

3,5

» 40 » 63 »

6,0

10,5

3,5

6,0

5,0

1 Для резьб типа ВА это значение уменьшают до 2,8.

Примечание. Значения, указанные в скобках, относятся к переносным приборам.

Если требуемая длина резьбы в отверстии под винт зажима получается выдавливанием, то край резьбы должен быть достаточно гладким и длина резьбы должна превышать указанное минимальное значение, по крайней мере, на 0,5 мм. Длина выдавливания не должна быть более 80 % первоначальной толщины металла, если механическая прочность недостаточна при большей длине.

Если между головкой винта и проводом находится какая-либо промежуточная деталь, например прижимная пластина, то длина резьбы на винте должна быть соответственно увеличена, но диаметр головки винта может быть уменьшен на:

1 мм - для номинальных токов, не превышающих 16 А;

2 мм - для номинальных токов, превышающих 16 А.

Если промежуточная деталь имеет более чем один винт, то могут быть использованы винты со следующими номинальными диаметрами резьбы:

3,5 мм - для номинальных токов, не превышающих 25 А;

4,0 мм - для номинальных токов, превышающих 25 А.

Примечание. Если резьба в отверстии под винт или гайке утоплена, то длина винтов с головкой должна быть соответственно увеличена.

26.9. Зажимы под болты должны быть снабжены шайбами и иметь размеры, указанные в табл. 18.

Таблица 18

Номинальный ток прибора, А

Минимальный номинальный диаметр резьбы, мм

Разница между диаметром резьбы и

внутренним диаметром шайбы, мм, не более

наружным диаметром шайбы, мм, не менее

До 10 включ.

3,0

0,4

4,0

Св. 10 до 16 включ.

3,5

0,4

4,5

» 16 » 25 »

4,0

0,5

5,0

» 25 » 32 »

4,0

0,5

5,5

» 32 » 40 »

5,0

0,6

6,0

» 40 » 63 »

6,0

0,6

6,5

1 Для резьб типа ВА это значение уменьшают до 2,8.

Соответствие требованиям пп. 26.7 - 26.9 проверяют осмотром, измерением и, при необходимости, испытаниями по п. 26.10. Для номинального диаметра резьбы и номинальной разницы между диаметром головки и хвостовика винта допускается отклонение 0,15 мм в минусовую сторону.

Примечание. Если один или несколько размеров, регламентированных в пп. 26.7 - 26.9, превышают установленные, то остальные не обязательно соответственно увеличивать, при этом отклонения от установленных размеров не должны снижать качества зажима.

26.10. Если длина резьбы в колонке, в отверстии под винт или гайке, или длина резьбы на винте меньше, чем указано в табл. 16, 17, 18, или если длина выдавливания больше, чем 80 % первоначальной толщины металла, то механическую прочность зажима проверят следующим испытанием.

Винты и гайки подвергают испытанию по п. 28.1, при этом значение крутящего момента должно быть увеличено до 1,2 значения указанного крутящего момента.

После этого испытания зажим не должен иметь повреждений, препятствующих его дальнейшему использованию.

Затем провод вновь зажимают, как указано в п. 26.4, и подвергают его в течение 1 мин натяжению в аксиальном направлении с усилием, указанным в табл. 19, которое прикладывают без рывков.

Во время этого испытания провод не должен заметно смещаться в зажиме.

Таблица 19

Номинальный ток прибора, А

Натяжение, Н

Св. 6,0 до 10,0 включ.

50

» 10,0 » 16,0 »

50

» 16,0 » 25,0 »

60

» 25,0 » 32,0 »

80

» 32,0 » 40,0 »

90

» 40,0 » 63,0 »

100

26.11. Для приборов, зажимы которых предназначены для присоединения к стационарной проводке, и для приборов с креплением типа Х и М каждый зажим должен быть расположен рядом со своим соответствующим зажимом или зажимами различной полярности и рядом с зажимом заземления, если он имеется.

Соответствие требованию проверяют осмотром.

26.12. Зажимные устройства не должны быть доступны без помощи инструмента, даже если токоведущие части недоступны.

Соответствие требованию проверяют осмотром и испытанием вручную.

26.13. Зажимные устройства приборов с креплением типа Х должны быть расположены или защищены так, чтобы, если при присоединении многожильного провода к зажиму одна из проволок его остается свободной, не возникла опасность случайного контакта между токоведущими частями и доступными металлическими частями и, для приборов класса II, - между токоведущими частями и металлическими частями, отделенными от доступных металлических частей только дополнительной изоляцией.

Соответствие требованию проверяют следующим испытанием.

С конца гибкого провода, имеющего номинальную площадь поперечного сечения, указанную в п. 25.6, удаляют изоляцию на длине 8 мм.

Одну проволоку многожильного провода оставляют свободной, а остальные проводники вводят в зажим и зажимают.

Свободную проволоку изгибают во всех возможных направлениях, но без резких изгибов вокруг перегородок и не задирая назад изоляцию.

Свободная проволока провода, присоединенного к токоведущему зажиму, не должна касаться любой металлической части, которая доступна или которая соединена с доступной металлической частью, или, для приборов класса II, - с любой металлической частью, которая отделена от доступных металлических частей только дополнительной изоляцией. Свободная проволока провода, присоединенного к зажиму заземления, не должна касаться любой токоведущей части.

27. ЗАЗЕМЛЕНИЕ

27.1. Доступные металлические части приборов классов 0I и I, которые могут оказаться, под напряжением в случае повреждения изоляции, должны быть постоянно и надежно соединены с зажимом или окончанием заземления, которые расположены внутри прибора, или с контактом заземления приборного ввода.

Зажимы заземления и контакты заземления не должны быть электрически соединены с зажимом для нейтрального провода, если он имеется.

Приборы классов II и III не должны иметь устройств для заземления.

Соответствие требованию проверяют осмотром.

Примечания:

1. Если доступные металлические части экранированы от токоведущих частей металлическими частями, которые соединены с зажимом или окончанием заземления, или с контактом заземления, то считают, что они не могут оказаться под напряжением даже в случае повреждения изоляции.

2. Металлические части, расположенные за декоративной крышкой, которая не выдерживает испытание по п. 21.1, считаются доступными металлическими частями.

27.2. Винтовые зажимы должны полностью соответствовать требованиям разд. 26, безвинтовые зажимы - требованиям ГОСТ 25030.

Зажимы для присоединения внешних проводов, предназначенных для выравнивания потенциала, должны допускать присоединение проводов с номинальным поперечным сечением от 2,5 до 6 мм и не должны использоваться для обеспечения непрерывности заземления между различными частями прибора. Не должно быть возможности ослабления проводов без применения инструмента.

Зажимные устройства зажимов заземления должны быть в достаточной степени зафиксированы от случайного ослабления, и их ослабление должно быть невозможно без применения инструмента.

Соответствие требованию проверяют осмотром, испытанием вручную и для безвинтовых зажимов - испытаниями по ГОСТ 25030.

Примечания:

1. Провод заземления шнура питания не считается проводом, предназначенным для выравнивания потенциала.

2. Конструкция обычно используемых токоведущих зажимов, кроме некоторых зажимов колонкового типа, обеспечивает достаточную упругость для удовлетворения последнего требования п. 27.2, для других конструкций могут быть необходимы дополнительные меры, такие так использование достаточно упругих частей, которые не могут быть сняты случайно.

27.3. Если съемные части имеют заземление, то при установке таких частей на место их заземление должно предшествовать соединению с токоведущими частями и, напротив, при снятии таких частей рассоединение токоведущих соединений должно предшествовать разрыву цепи заземления.

Для приборов с шнурами питания расположение зажимов или длина проводов между креплением шнура и зажимами должны быть такими, чтобы в случае выскальзывания кабеля или шнура из крепления шнура натяжение токонесущих проводов происходило раньше, чем натяжение провода заземления.

(Измененная редакция, Изм. № 1).

27.4. Все части зажима заземления должны быть такими, чтобы не возникала опасность коррозии из-за контакта между этими частями и медью провода заземления или другим металлом, находящимся в контакте с этими частями.

Корпус зажима заземления должен быть изготовлен из латуни или другого металла, не менее устойчивого к коррозии, если только он не является частью металлической рамы или кожуха, когда винт или гайка должны быть изготовлены из латуни, плакированной стали, соответствующей разд. 31, или из другого металла, не менее устойчивого к коррозии.

Если корпус зажима заземления является частью рамы или кожуха, выполненных из алюминия или алюминиевых сплавов, то должны быть приняты меры для избежания коррозии из-за контакта между медью и алюминием или его сплавами.

Примечание. Винты и гайки из плакированной стали, выдержавшие испытание по п. 31.1, считаются изготовленными из металла, устойчивость к коррозии которого не менее, чем у латуни.

Соответствие требованиям пп. 27.3 и 27.4 проверяют осмотром и испытанием вручную.

27.5. Соединение между зажимом заземления или контактом заземления и частями, которые должны быть присоединены к ним, должно иметь небольшое сопротивление.

Соответствие требованию проверяют следующим испытанием.

Ток, равный 1,5 номинального тока прибора или 25 А в зависимости от того, что больше, получаемый от источника переменного тока, напряжение холостого хода которого не превышает 12 В, пропускают поочередно между зажимом заземления или контактом заземления и каждой из доступных металлических частей.

Измеряют падение напряжения между зажимом заземления прибора или контактом заземления приборного ввода и доступной металлической частью и по значению падения напряжения и току определяют значение сопротивления.

Сопротивление не должно превышать 0,1 Ом.

Примечания:

1. В случае возникновения сомнения испытание проводят до установившегося состояния.

2. Сопротивление гибкого кабеля или шнура не учитывают в измеренном сопротивлении.

3. Обращают внимание на то, чтобы переходное сопротивление между концом измерительного щупа и испытуемой металлической частью не оказывало влияния на результат испытания.

(Измененная редакция, Изм. № 1).

28. ВИНТЫ И СОЕДИНЕНИЯ

28.1. Винтовые соединения (электрические или другие) должны выдерживать механические нагрузки, которые возникают при нормальной эксплуатации прибора.

Винты, которые будут подтягиваться потребителем и имеющие диаметр менее 3 мм, и винты, создающие контактное давление для электрических соединений, должны ввинчиваться в металл.

Винты не должны быть изготовлены из мягкого металла или металла, склонного к текучести, такого как цинк или алюминий.

Винты из изоляционного материала должны иметь номинальный диаметр не менее 3 мм; они не должны использоваться для электрических соединений.

Винты не должны быть изготовлены из изоляционного материала, если их замена металлическими винтами может повредить дополнительную или усиленную изоляцию; из изоляционного материала не должны быть изготовлены также винты, которые могут быть удалены при замене шнура питания или при проведении текущего ремонта, если их замена металлическими винтами может повредить основную изоляцию.

Соответствие требованию проверяют осмотром, а для винтов и гаек, которые передают контактное давление или которые, вероятно, будут подтягиваться потребителем, следующим испытанием.

Винты или гайки завинчивают и отвинчивают:

10 раз - для винтов, завинчиваемых в изоляционный материал;

5 раз - для гаек и других винтов.

Винты, завинчиваемые в изоляционный материал, каждый раз полностью вывинчивают и завинчивают вновь.

При испытании гаек и винтов для зажимов в зажим вводят провод с наибольшей площадью поперечного сечения, указанной в п. 26.2, жесткий (одно или многожильный) - для приборов, предназначенных для постоянного присоединения к стационарной проводке, и гибкий - в других случаях.

Испытание проводят с помощью соответствующей испытательной отвертки или гаечного ключа с приложением крутящего момента, указанного в табл. 20, в графах:

Таблица 20

Номинальный диаметр винта, мм

Крутящий момент, Н×м

1

2

3

До 2,8 включ.

0,2

0,4

0,4

Св. 2,8 до 3,0 включ.

0,25

0,5

0,5

» 3,0 » 3,2 »

0,3

0,6

0,6

» 3,2 » 3,6 »

0,4

0,8

0,6

» 3,6 » 4, 1 »

0,7

1,2

0,6

» 4,1 » 4,7 »

0,8

1,8

0,9

» 4,7 » 5,3 »

0,8

2,0

1,0

» 5,3

-

2,5

1,25

Примечание. Для винтов, ввинчиваемых в резьбу из изоляционного материала и которые, вероятно, будут подтягиваться потребителем, значение крутящего момента увеличивают на 20 %.

1 - для металлических винтов без головки, которые после полного завинчивания не выступают из отверстий;

2 - для других металлических винтов и гаек;

для винтов из изоляционного материала:

с шестигранной головкой, расстояние между противоположными гранями которой превышает внешний диаметр резьбы, или с цилиндрической головкой и гнездом под ключ, расстояние между противоположными вершинами которого превышает внешний диаметр резьбы, или

с головкой, имеющей прямой или крестообразный шлиц, длина которого в 1,5 раза превышает внешний диаметр резьбы;

3 - для других винтов из изоляционного материала.

При каждом отвинчивании винта или гайки провод смещают в зажиме.

Во время испытания не должно быть повреждений, которые могли бы воспрепятствовать дальнейшему использованию винтового соединения.

Примечания:

1. К винтам или гайкам, которые, вероятно, будут подтягиваться потребителем, относят также винты, которыми пользуются при замене шнура питания.

2. Винты из листового металла диаметром 2,9 мм считают эквивалентными винтам с метрической резьбой диаметром 3 мм.

3. Форма лезвия испытательной отвертки должна соответствовать головке винта, подвергаемого испытанию. Винты и гайки следует завинчивать без рывков.

28.2. Винты, завинчиваемые в резьбу изоляционного материала, которые будут подтягиваться потребителем, должны иметь достаточную длину зацепления для обеспечения надежного соединения.

Должно быть обеспечено правильное введение винта в отверстие под винт или гайку.

Соответствие требованию проверяют осмотром.

Примечание. Требование, касающееся правильного введения винта, считают выполненным, если предотвращено введение винта наискось, например путем направления хода винта частью, подлежащей закреплению, выточкой во внутренней резьбе или путем использования винта, у которого удалены начальные витки резьбы.

(Измененная редакция, Изм. № 1).

28.3. Электрические соединения должны быть сконструированы так, чтобы контактное давление не передавалось через изоляционный материал, который имеет тенденцию к усадке и деформации, кроме тех случаев, когда металлические части обладают достаточной упругостью, чтобы компенсировать возможную усадку или деформацию изоляционного материала.

Примечание. Керамический материал не имеет тенденции к усадке и деформации.

28.4. Винты с крупным шагом (из листового металла) не следует использовать для соединения токоведущих частей, если части не находятся в непосредственном контакте друг с другом и эти винты их неплотно сжимают и если винты не заблокированы соответствующим образом.

Самонарезающие винты не следует использовать для создания электрического соединения между токоведущими частями, если они не образуют полную резьбу стандартного крепежного винта. Такие винты (кроме винтов, резьба которых образуется высадкой в штампе) не допускается использовать, если предполагается, что потребитель или сборщик будет ими манипулировать.

Самонарезающие винты и винты с крупным шагом могут быть использованы для обеспечения непрерывности заземления при условии, что не возникает необходимость нарушать данное соединение при нормальной эксплуатации и для каждого соединения будет использовано не менее двух винтов.

Соответствие требованиям пп. 28.3 и 28.4 проверяют осмотром.

(Измененная редакция, Изм. № 1).

28.5. Винты, предназначенные для механического соединения различных частей прибора, должны быть фиксированы против развинчивания, если это соединение является одновременно токопроводящим.

Заклепки, используемые для токопроводящих соединений, должны быть фиксированы против ослабления, если эти соединения подвергаются крутящему моменту при нормальной эксплуатации.

Соответствие требованию проверяют осмотром и испытанием вручную.

Примечания:

1. Первое требование п. 28.5 не относится к винтам в цепи заземления, если для соединения использовано не менее двух винтов и если имеется дополнительная цепь заземления.

2. Пружинные шайбы и подобные детали могут обеспечить достаточную фиксацию.

3. Для заклепок некруглая форма стержня или соответствующий паз являются достаточными.

4. Заливочные массы, которые размягчаются при нагревании, обеспечивают удовлетворительную фиксацию только для тех винтовых соединений, которые не подвергаются крутящему моменту при нормальной эксплуатации.

5. Второе требование п. 28.5 не означает, что требуется более одной заклепки для обеспечения непрерывности заземления.

29. ПУТИ УТЕЧКИ ТОКА, ВОЗДУШНЫЕ ЗАЗОРЫ И РАССТОЯНИЯ ПО ИЗОЛЯЦИИ

29.1. Пути утечки и воздушные зазоры не должны быть меньше значений, указанных в табл. 21.

Если между точкой, в которой соединены обмотка и конденсатор, и металлическими частями, отделенными от токоведущих частей только основной изоляцией, возникает резонансное напряжение, то пути утечки и воздушные зазоры должны быть не меньше значений, соответствующих резонансному напряжению; в случае усиленной изоляции эти значения должны быть увеличены на 4 мм.

Соответствие требованию проверяют измерением.

Для приборов, снабженных приборным вводом, измерения проводят с вмонтированным в приборный ввод соответствующим соединителем; для приборов с креплением типа X измерения проводят с проводами наибольшей площадью поперечного сечения, указанной в п. 26.2, а также без проводов. Для других приборов измерения проводят в состоянии их поставки.

Для приборов, снабженных ремнями, измерения проводят при установленных на место ремнях и устройствами для измерения натяжения ремней, установленными в наиболее неблагоприятное положение в пределах диапазона их регулировки; измерения проводят также при снятых ремнях.

Подвижные части помещают в наиболее неблагоприятное положение; гайки и винты с некруглой головкой затягивают так, чтобы они занимали наиболее неблагоприятное положение.

Воздушные зазоры между зажимами и доступными металлическими частями измеряют также при вывинченных, насколько возможно, винтах или гайках; воздушные зазоры должны быть при этом не менее 50 % значений, указанных в табл. 21.

Расстояние через щели или отверстия в наружных частях изоляционного материала измеряют до металлической фольги, соприкасающейся с доступной поверхностью; фольга вталкивается в углы и другие подобные места стандартным испытательным пальцем (см. черт. 1), но не вдавливается в отверстия.

При необходимости во время измерения прикладывают силу к любой точке оголенных проводов (кроме нагревательных элементов), неизолированных металлических капиллярных трубок терморегуляторов и аналогичных устройств и к внешней поверхности металлических кожухов, пытаясь уменьшить пути утечки и воздушные зазоры.

Таблица 21

Размеры, мм

Место измерения путей утечки тока и воздушных зазоров

Значения путей утечки тока (П) и воздушных зазоров (В) для приборов

класса III

других приборов

Рабочее напряжение, В

до 130 включ.

св. 130 до 250 включ.

св. 250 до 440 включ.

П

В

П

В

П

В

П

В

1. Между токоведущими частями различной полярности2:

 

 

 

 

 

 

 

 

защищенными от осаждения грязи

1,0

1,0

1,0

1,0

2,0

2,0

2,0

2,0

не защищенными от осаждения грязи

2,0

1,5

2,0

1,5

3,0

2,5

4,0

3,0

если обмотки покрыты лаком или эмалью

1,0

1,0

1,5

1,5

2,0

2,0

3,0

3,0

для резисторов с положительным температурным коэффициентом (РТС), включая их соединительные обмотки, если они защищены от осаждения влаги и грязи3

-

-

1,0

1,0

1,0

1,0

-

-

2. Между токоведущими и другими металлическими частями по основной изоляции:

 

 

 

 

 

 

 

 

защищенной от осаждения грязи3:

 

 

 

 

 

 

 

 

выполненной из керамики, чистой слюды и т.п.

1,0

1,0

1,0

1,0

2,54

2,54

-

-

выполненной из других материалов

1,5

1,0

1,5

1,0

3,0

2,54

-

-

не защищенной от осаждения грязи

2,0

1,5

2,0

1,5

4,0

3,0

-

-

если токоведущими частями являются обмотки, покрытые лаком или эмалью

1,0

1,0

1,5

1,5

2,9

2,0

-

-

на конце трубчатых нагревательных элементов5

-

-

1,0

1,0

1,07

1,06

-

-

3. Между токоведущими частями и другими металлическими частями по усиленной изоляции:

 

 

 

 

 

 

 

 

если токоведущими частями являются обмотки, покрытые лаком или эмалью

-

-

6,0

6,0

6,0

6,0

-

-

для других токоведущих частей

-

-

8,0

8,0

8,0

8,0

-

-

4. Между металлическими частями, разделенными дополнительной изоляцией

-

-

4,0

4,0

4,0

4,0

-

-

5. Между токоведущими частями, расположенными в углублении со стороны установочной поверхности прибора и поверхностью, к которой он крепится

2,0

2,0

6,0

6,0

6,0

6,0

-

-

1 (Исключена, Изм. № 1).

2 Указанные расстояния не распространяются на воздушные зазоры между контактами терморегулирующих устройств, устройств защиты от перегрузки, микропереключателей и т.п. элементов или на воздушные зазоры между токоведущими элементами таких устройств, воздушные зазоры которых изменяются при перемещении контактов.

3 Внутреннюю часть прибора, имеющего достаточно пылезащитный кожух, считают защищенной от осаждения грязи при условии, что при работе прибора в нем самом не образуется пыль; при этом герметичное уплотнение не требуется.

4 Если части являются жесткими или запрессованными или если конструкция исключает возможность уменьшения расстояния вследствие деформации или перемещения этих частей, указанное значение может быть уменьшено до 2,0 мм.

5 Только для приборов классов 0, 0I и I.

6 Для мест, защищенных от осаждения грязи.

7 По керамике, чистой слюде и другим подобным материалам, защищенным от осаждения грязи.

Усилие прикладывают посредством испытательного пальца (см. черт. 1), а значение этого усилия составляет:

2 Н - для обнаженных проводов и неизолированных капиллярных трубок терморегуляторов и аналогичных устройств;

30 Н - для кожухов.

Примечания:

1. Способы измерения путей утечки и воздушных зазоров указаны в приложении Е.

2. При наличии промежуточной перегородки, которая состоит из двух частей, не склеенных между собой, путь утечки измеряют также через соединение этих частей.

3. При наличии промежуточной перегородки воздушный зазор измеряют через перегородку или, если перегородка состоит из двух частей с сопряженными поверхностями, не склеенными между собой, через соединение этих частей.

4. Для приборов с двойной изоляцией в тех местах, где между основной изоляцией и дополнительной изоляцией отсутствуют металлические части, измерение проводят так, как если бы между основной и дополнительной изоляциями находится металлическая фольга.

5. При определении путей утечки и воздушных зазоров учитывают влияние внутренних изоляционных покрытий на металлических кожухах или крышках.

6. Внутренние провода считают обнаженными, если их изоляция не выдерживает испытание на электрическую прочность испытательным напряжением 2000 В, прикладываемым в течение 15 мин между проводом и металлической фольгой, обернутой вокруг изоляции провода.

7. Средства, предназначенные для крепления прибора к опоре, считают доступными средствами.

8. Для токоведущих частей различной полярности, разделенных только основной изоляцией, допускаются пути утечки и воздушные зазоры меньше значений, указанных в табл. 21, при условии, что прибор не будет иметь никаких повреждений в соответствии с требованиями настоящего стандарта при последовательном замыкании накоротко этих путей утечки и воздушных зазоров и что путь утечки будет проходить по изоляционному материалу, выдерживающему испытание по п. 30.3.

29.2. Расстояние через изоляцию между металлическими частями при рабочих напряжениях до 250 В включ. не должно быть менее 1 мм, если эти части разделены дополнительной изоляцией, и не менее 2 мм, если эти части разделены усиленной изоляцией.

Это требование не распространяется на изоляцию, за исключением слюды и аналогичного чешуйчатого материала, которая имеет вид тонкого листа и состоит:

в случае дополнительной изоляции не менее чем из двух слоев при условии, что хотя бы один из них выдерживает испытание на электрическую прочность, установленное для дополнительной изоляции;

в случае усиленной изоляции не менее чем из трех слоев при условии, что два из них, приложенные друг к другу, выдерживают испытание на электрическую прочность, установленное для усиленной изоляции.

Испытательное напряжение прикладывают при этом между внешними поверхностями испытуемого слоя (или испытуемых слоев). Кроме того, настоящее требование не распространяется на недоступную дополнительную и усиленную изоляции, если при этом выполняются следующие условия:

максимальное превышение температуры в процессе испытаний по разд. 19 не более значений, указанных в табл. 3;

изоляция после выдержки в течение 7 сут (168 ч) в печи при температуре на 50 °С (50 К) выше максимального превышения температуры, измеренного при испытании по разд. 19, выдерживает испытание на электрическую прочность изоляции по п. 16.4 как при температуре, поддерживаемой в печи, так и при комнатной температуре.

Примечания:

1. Требование п. 29.2 не означает, что указанное расстояние через изоляцию должно быть образовано толщиной только твердого изоляционного материала; оно может быть образовано толщиной твердого изоляционного материала и одним или несколькими воздушными промежутками.

2. Для приборов с двойной изоляцией в тех местах, где между основной и дополнительной изоляциями отсутствуют металлические части, измерение проводят так, как будто между основной и дополнительной изоляциями находится металлическая фольга.

29.1, 29.2. (Измененная редакция, Изм. № 1).

29.3. Для приборов, номинальный ток которых превышает 25 А, расстояние между зажимами и металлическими кожухами должно быть не менее 9,5 мм.

Соответствие требованиям пп. 29.2 и 29.3 проверяют осмотром и измерением.

30. ТЕПЛОСТОЙКОСТЬ, ОГНЕСТОЙКОСТЬ И СТОЙКОСТЬ К ОБРАЗОВАНИЮ ТОКОВЕДУЩИХ МОСТИКОВ1

1 В приложении Н приведены указания о порядке проведения испытаний по настоящему разделу.

30.1. Наружные части из неметаллических материалов и части из изоляционных материалов, удерживающие токоведущие части в определенном положении, повреждение которых может привести к несоответствию прибора требованиям настоящего стандарта, должны быть достаточно теплостойкими.

Соответствие требованию проверяют, подвергая образцы соответствующих частей воздействию давлением шарика с помощью устройства, приведенного на черт. 17.

Перед началом проведения испытаний образец выдерживают в течение 24 ч в атмосфере, имеющей температуру от 15 до 35 °С и относительную влажность от 45 до 75 %.

Образец размещают на подставке таким образом, чтобы его верхняя поверхность расположилась горизонтально, и давят на эту поверхность силой 20 Н с помощью стального шарика, имеющего диаметр 5 мм. Толщина образца должна быть не менее 2,5 мм; при необходимости два или несколько образцов накладывают друг на друга до достижения требуемой толщины.

Испытание проводят в термокамере, в которой с точностью ± 2 °С (± 2 К) поддерживают температуру, соответствующую максимально полученному значению превышения температуры при испытании по разд. 11 плюс 40 °С (40 К) или:

(75 ± 2) °С - для наружных частей;

(125 ± 2) °С - для частей, удерживающих токоведущие части в определенном положении. Для испытаний выбирают более высокую температуру.

Для частей из термопластических материалов, используемых в качестве дополнительной или усиленной изоляции, испытания проводят при температуре, которая на 25 °С (25 К) больше максимального значения превышения температуры, полученного при испытании по разд. 19, с отклонением ± 2 °С (2 К), если в этом случае получаются большие значения по сравнению с указанными выше.

Перед началом испытания шарик и подставка, на которой размещают образец, должны иметь указанную температуру.

Через 1 ч шарик извлекают из образца, образец охлаждают приблизительно до температуры помещения путем погружения его на 10 с в холодную воду. Затем измеряют диаметр отпечатка шарика, он не должен превышать 2 мм.

Примечания:

1. У сердечников обмоток испытанию подвергают только те части, которые служат подставкой или поддерживают в определенном положении зажимы и соединения.

2. Части из керамических материалов испытанию не подвергают.

(Измененная редакция, Изм. № 1).

30.2. Части из неметаллических материалов должны обладать достаточной сопротивляемостью к воспламенению и к распространению огня.

Это требование не применимо к декоративным украшениям, кнопкам и другим частям, воспламенение которых маловероятно и по которым не может быть распространено пламя, возникшее внутри прибора.

Соответствие требованию проверяют испытаниями по пп. 30.3 и 30.4.

30.3. Отдельно отформованные образцы соответствующих частей подвергают испытанию горением согласно приложению I.

При отсутствии таких образцов или при отсутствии доказательств, что используемый материал выдерживает испытание на горение или отдельно отформованные образцы не выдержали это испытание, проводят испытание раскаленной проволокой на соответствующих частях прибора по приложению К при температуре 550 °С, если в стандарте на конкретный прибор не указана более высокая температура.

30.4. В приборах, предназначенных для работы под надзором, части из изоляционных материалов, удерживающие в определенном положении соединения, по которым проходит ток более 0,5 А, и которые в случае их повреждения могут привести к возгоранию, подвергают испытанию раскаленной проволокой по приложению К при температуре 750 °С.

Этому испытанию не подвергают ручные приборы, приборы, которые удерживают во включенном состоянии рукой, и приборы, которые непрерывно нагружают вручную.

В приборах, предназначенных для работы без надзора, соединения, проводящие ток более 0,5 А, удерживаемые в определенном положении деталями из изоляционных материалов и которые в случае их повреждения могут стать причиной возгорания, подвергают испытанию на дефектное соединение с помощью нагревателей по приложению L; при невозможности провести такое испытание из-за конструкции соединения части из изоляционных материалов, удерживающие это соединение в определенном положении, подвергают испытанию раскаленной проволокой по приложению К при температуре 850 °С.

Если указанные выше узлы и части не выдерживают испытание раскаленной проволокой или испытание на дефектное соединение с помощью нагревателей, то все другие части из неметаллических материалов, окружающие указанные выше узлы и части в пределах не более 50 мм, подвергают испытанию игольчатым пламенем по приложению М, если только они не отделены от испытанных ранее частей и узлов отдельной перегородкой или кожухами; в последнем случае испытанию игольчатым пламенем подвергают перегородку или кожух.

Примечание. Примером соединений, которые в случае повреждения могут стать причиной пожара, являются винтовые соединения, которые демонтируют или подтягивают при установке прибора или эксплуатационном обслуживании потребителем.

30.5. Изоляционные материалы, вдоль которых возможно образование токопроводящего мостика между токоведущими частями различной полярности или между токоведущими и заземленными металлическими частями, и изоляционные материалы коллекторов и щеткодержателей должны быть стойкими к образованию токоведущих мостиков с учетом жесткости условий эксплуатации этих материалов.

Соответствие требованию для частей из изоляционных материалов, работающих в жестких и сверхжестких условиях, проверяют испытаниями по приложению N.

Части из изоляционных материалов, работающие в нормальных условиях, и части из керамических материалов не подвергают испытанию на образование токопроводящих мостиков.

Части из изоляционных материалов, работающие в жестких условиях, испытывают при напряжении 175 В. Если образец не выдерживает это испытание, но нет другой опасности, кроме опасности возгорания, окружающие части прибора подвергают испытанию игольчатым пламенем по приложению М.

Части из изоляционных материалов, работающие в сверхжестких условиях, испытывают при напряжении 250 В. Если образцы не выдерживают это испытание, но выдерживают испытание при напряжении 175 В и не возникает никакой другой опасности, кроме опасности возгорания, окружающие части подвергают испытанию игольчатым пламенем по приложению М.

Испытанию игольчатым пламенем подвергают все части из неметаллических материалов, расположенные на расстоянии не более 50 мм от мест, где возможно образование токопроводящих мостиков, если эти части не отделены от опасных мест отдельной перегородкой или кожухом; в последнем случае испытанию игольчатым пламенем подвергают перегородку или кожух.

Примечание. Жесткость условий эксплуатации изоляционных материалов приведена в приложении О.

30.4, 30.5. (Измененная редакция, Изм. № 1).

31. СТОЙКОСТЬ К КОРРОЗИИ

31.1. Части из черных металлов, коррозия которых может привести к несоответствию приборов требованиям настоящего стандарта, должны иметь достаточную защиту от коррозии.

Соответствие требованию проверяют следующим испытанием.

С испытуемых частей удаляют смазку путем погружения их на 10 мин в четыреххлористый углерод или треххлористый этан.

Затем испытуемые части погружают на 10 мин в 10 %-ный водный раствор хлористого аммония при температуре (20 ± 5) °С.

Не просушивая, но стряхнув оставшиеся капли, испытуемые части помещают на 10 мин в камеру, насыщенную влагой, при температуре (20 ± 5) °С.

После просушки этих частей в термокамере при температуре (100 ± 5) °С в течение 10 мин на поверхности испытуемых частей не должно быть следов коррозии.

Примечания:

1. При использовании жидкостей, предусмотренных для проведения испытания, необходимо принять соответствующие меры предосторожности, предотвращающие вдыхание их паров.

2. Допускаются следы коррозии на острых краях и желтоватый налет, исчезающий после протирки.

3. Для небольших спиральных пружин и подобных элементов и частей, которые подвергаются истиранию, слой смазки может представлять собой достаточную защиту от коррозии. Такие части подвергают испытанию только в том случае, когда имеются сомнения относительно эффективности смазки; при этом слой смазки перед испытанием не удаляют.

32. РАДИАЦИЯ, ТОКСИЧНОСТЬ И ПОДОБНЫЕ ОПАСНОСТИ

32.1. Приборы не должны испускать вредные излучения или быть источником токсичности или других подобных видов опасности.

Соответствие требованию проверяют испытанием, методику которого, при необходимости, приводят в стандартах на конкретный прибор.

Стандартный испытательный палец

1 - стопорная пластина; 2 - цилиндрическая часть; 3 - изоляционный материал

Допуски:

на угловые размеры ± 5¢;

на линейные размеры:

менее 25 мм: - 0,05 мм;

более 25 мм: ± 0,2 мм.

Черт. 1

Испытательный стержень

Черт. 2

Испытательный щуп

Черт. 3

Схема измерения тока утечки при рабочей температуре для однофазных приборов класса II

1 - доступная часть; 2 - недоступная металлическая часть; 3 - основная изоляция; 4 - дополнительная изоляция; 5 - усиленная изоляция

Черт. 4

Схема измерения тока утечки при рабочей температуре для других однофазных приборов (кроме класса II)

Черт. 5

Схема измерения тока утечки при рабочей температуре для трехфазных приборов класса II

1 - доступная часть; 2 - недоступная металлическая часть; 3 - основная изоляция; 4 - дополнительная изоляция

Черт. 6

Схема измерения тока утечки при рабочей температуре для других трехфазных приборов (кроме класса II)

Черт. 7

Схема для испытания электрической прочности при рабочей температуре

1 - разделительный трансформатор; 2 - повышающий трансформатор

Черт. 8

Устройство для испытания вертикально падающим дождем

* Слои песка и гравия для регулирования потока воды, причем эти слои должны быть разделены металлической сеткой и промокательной бумагой

1 - образец; 2 - опора

Черт. 9

Примечание. Подставка должна быть меньше образца.

Устройство для испытания наклонным дождем

Черт. 10

Примечание. Внутренний диаметр трубки 15 мм. Отверстия в трубке диаметром 0,4 мм с расстоянием центров 50 мм на внутренней стороне дуги, образованной трубкой с углом 60° в обе стороны от вертикали.

Устройство для испытания обрызгиванием

Черт. 11

Устройство для испытания на удар

1 - спусковой конус; 2 - пружина конуса; 3 - стержень спускового механизма; 4 - пружина спускового механизма; 5 - головка молотка; 6 - пружина молотка; 7 - стержень молотка; 8 - спусковой зажим; 9 - взводная рукоятка

Черт. 12

Устройство для испытания буртиков во вводах трубопроводов

Номинальный диаметр трубопровода, мм

D, мм

Отклонение, мм

16

15,7

+0,2

19

18,7

Черт. 13

Чертеж 14. (Исключен, Изм. № 1).

Качающийся элемент устройства испытания на изгиб

1 - образец; 2 - регулируемая несущая плата; 3 - регулируемый кронштейн; 4 - груз; 5 - ось качания; 6 - качающаяся рама; 7 - противовес

Черт. 15

Примеры выполнения крепления шнура

а) Допустимые конструкции

Шпильки жестко закреплены на приборе

Часть прибора выполнена из изоляционного материала и имеет такую форму, что она является частью зажимного устройства шнура

Один из крепежных элементов закреплен на приборе

Прижимные винты могут входить в резьбовые отверстия на приборе или в отверстия без резьбы, в этих случаях их крепят гайками.

б) Недопустимые конструкции

Черт. 16

Примечание. Винты, проходящие через резьбовые отверстия на приборе, и винты, проходящие через отверстия на приборе, закрепленные гайками, применять не допускается.

Устройство для вдавливания шарика

1 - сферическая часть; 2 - образец

Черт. 17

ПРИЛОЖЕНИЕ А*

Обязательное

* В приложениях А, В, F нумерация разделов и пунктов соответствует нумерации основной части стандарта. Нумерация дополнительных разделов (пунктов) начинается со 101.

ТЕРМОРЕГУЛИРУЮЩИЕ УСТРОЙСТВА И РЕЛЕ ПЕРЕГРУЗКИ

А1. Терморегуляторы и термоограничители должны иметь достаточную коммутационную способность.

Соответствие требованию проверяют испытанием трех образцов по пп. А2 - А4 при следующих условиях.

Если терморегулятор или термоограничитель имеет маркировку температуры (Т), то один образец испытывают с переключающим элементом при комнатной температуре, а два других образца испытывают с этим элементом при температуре, указанной в маркировке.

Терморегуляторы или термоограничители, не имеющие маркировки их индивидуальных рабочих характеристик, могут испытываться либо в приборе, либо отдельно в зависимости от того, что удобнее, но условия испытаний, если нет других указаний, должны соответствовать условиям, возникающим при работе прибора.

Во время испытания не должно быть устойчивого дугового разряда.

После испытаний образцы не должны иметь повреждений, препятствующих их дальнейшему использованию, электрические соединения не должны быть ослаблены и терморегуляторы и термоограничители должны выдерживать испытание на электрическую прочность по п. 16.4, причем к изоляции между контактами прикладывают напряжение, которое в два раза больше напряжения, которое возникает при работе прибора при номинальном напряжении или при верхнем пределе диапазона номинальных напряжений.

Примечания:

1. Частота переключений терморегулятора или термоограничителя может быть увеличена по сравнению с нормальной частотой переключений их в приборе при условии, что это не увеличивает опасность повреждения терморегулятора или термоограничителя.

2. Если терморегуляторы или термоограничители нельзя испытать отдельно, то должны быть представлены три образца прибора, в котором эти терморегуляторы или термоограничители используются.

А2. Терморегуляторы должны быть подвергнуты путем теплового воздействия 200 циклам срабатываний (200 включений и 200 выключений) в условиях, возникающих в приборе, когда он работает при напряжении, равном 1,1 номинального напряжения или 1,1 верхнего предела диапазона номинальных напряжений, и при самой неблагоприятной нагрузке, возникающей при нормальной эксплуатации.

A3. Терморегуляторы должны быть подвергнуты путем теплового воздействия 10000 циклам срабатываний (10000 включений и 10000 выключений) в условиях, возникающих в приборе, когда он работает при номинальном напряжении или верхнем пределе номинального диапазона напряжений в соответствии с нормальной теплоотдачей и (или) при нормальной нагрузке.

А4. Термоограничители должны быть подвергнуты путем теплового воздействия 1000 циклам срабатываний (1000 включений и 1000 выключений) в условиях, возникающих в приборе, когда он работает при номинальном напряжении или верхнем пределе диапазона номинальных напряжений в соответствии с нормальной теплоотдачей и (или) при нормальной нагрузке.

А5. Термовыключатели и реле перегрузки должны работать надежно.

Соответствие требованию проверяют работой прибора в условиях, указанных в разд. 19.

Термовыключатели и реле перегрузки с самовозвратом должны срабатывать 200 раз; термовыключатели и реле перегрузки без самовозврата должны срабатывать 10 раз, при этом после каждого срабатывания их возвращают в исходное состояние.

После испытаний образцы не должны иметь повреждений, препятствующих их дальнейшему использованию.

Примечание. Допускаются принудительное охлаждение и перерывы в работе для предотвращения повреждения прибора.

А6. Терморегуляторы, термоограничители, термовыключатели и реле перегрузки должны быть сконструированы так, чтобы нагрев, вибрация и т.п., имеющие место при нормальной эксплуатации, не могли существенно изменить их уставку.

Соответствие требованию проверяют осмотром при проведении испытаний по разд. 19.

ПРИЛОЖЕНИЕ В

Обязательное

ЭЛЕКТРОННЫЕ ЦЕПИ

В1. Область распространения

Настоящее приложение распространяется на цепи, содержащие не менее одного электронного комплектующего.

В2. Термины и определения

Дополнительные определения

В2.101. Электронные комплектующие - часть, в которой проводимость обеспечивается, в основном электронами, движущимися в вакууме, газе или полупроводнике.

В2.102. Защитный импеданс - электрическое сопротивление, присоединенное между токоведущими и доступными токопроводящими частями и имеющее характеристики, которые при нормальных условиях эксплуатации прибора и в случае его возможных повреждений ограничивают ток, проходящий в приборе, до безопасного значения.

В4. Общие условия испытаний

Дополнение

В4.1. Электронные цепи должны соответствовать требованиям всех разделов настоящего стандарта с учетом изменений, приведенных в настоящем приложении и в стандартах на конкретные приборы.

Дополнение

В4.2. Необходимо избегать накопления напряжений при последовательных испытаниях. При необходимости допускается замена комплектующих или использование дополнительных образцов.

Примечание. Количество дополнительных образцов должно быть минимальным, что определяют оценкой соответствующей цепи.

Дополнительный пункт

В4.101. Необходимо следить, чтобы на источник питания не влияли внешние помехи, которые могут оказать влияние на результаты испытаний.

В8. Защита от поражения электрическим током

В8.1. Примечание, касающееся безопасного сверхнизкого напряжения, не применяют.

Дополнение

Доступная часть не считается токоведущей, если:

часть питается от изолирующего трансформатора безопасности,

при этом:

пиковое значение напряжения не превышает 42,4 В для переменного тока;

напряжение не превышает 42,4 В для постоянного тока

или

часть отделена от токоведущих частей защитным импедансом.

При наличии защитного импеданса ток между частью и источником питания не превышает 2 мА для постоянного тока, а для переменного тока - пиковое значение не превышает 0,7 мА, кроме того:

для напряжений с пиковым значением более 42,4 до 450 В включительно емкость не превышает 0,1 мкФ;

для напряжений с пиковым значением более 450 В до 15 кВ включительно разряд не превышает 45 мкКл.

Напряжение и ток измеряют между соответствующими частями и каждым полюсом источника питания. Разряд измеряют непосредственно после прекращения питания.

Цепь для измерения тока должна иметь полное сопротивление (1750 ± 250) Ом и включать в себя шунтирующий конденсатор с такими характеристиками, чтобы постоянная времени всей цепи составляла (225 ± 15) мкс. Описание применяемой для этих целей измерительной цепи приведено в приложении G.

Примечание. Измерительная цепь имеет точность около 5 % для всех частот в пределах от 20 до 5000 Гц.

В8.8. Дополнение

Это требование не относится к конденсаторам, соответствующим требованиям к защитному импедансу.

В11. Нагрев

В11.8. Дополнение к табл. 3

Наименование частей приборов

Превышение температуры, °С (К)

Конденсаторы9, соответствующие требованиям ГОСТ 12.2.006*

50

Печатные схемы, залитые эпоксидной смолой

120

9 Для конденсаторов, которые замыкают накоротко при испытаниях по разд. В19, превышение температур не ограничивается.

* В Российской Федерации действует ГОСТ Р МЭК 60065-2002 (здесь и далее).

В13. Электрическая изоляция и ток утечки при рабочей температуре

В13.1. Дополнение

Перед проведением испытаний защитный импеданс отсоединяют от токоведущих частей.

В16. Сопротивление изоляции и электрическая прочность

В16.1. Дополнение

Перед проведением испытаний защитный импеданс отсоединяют от токоведущих частей. В16.4. Дополнение

Испытание на электрическую прочность изоляции между частями различной полярности не проводят, если выполняются требования разд. 19 при коротком замыкании этих частей.

В19. Ненормальная работа

Дополнительные пункты

В19.101. Электронные цепи должны быть спроектированы и применены так, чтобы при их неисправности прибор не стал опасным в отношении поражения электрическим током, возникновения пожара, механических травм или опасного неправильного функционирования.

Соответствие требованию проверяют испытаниями по п. В19.103 для всех цепей или частей цепей, если они не выдержали испытания по п. 19.102.

Если безопасность прибора при любом неисправном состоянии зависит от срабатывания миниатюрной плавкой вставки, соответствующей требованиям нормативно-технического документа, то проводят испытание по п. 19.104.

В процессе и после каждого испытания температура, обмоток не должна превышать значений, установленных п. 19.6, а прибор должен полностью соответствовать требованиям п. 19.11. В частности, токоведущие части не должны стать доступными стандартному испытательному пальцу или стержню в соответствии с п. 8.1. Любые токи, проходящие через защитный импеданс, не должны превышать предельных значений, указанных в п. В8.1.

Если проводник печатной платы размыкается, то прибор считают выдержавшим конкретное испытание, если выполнены три следующих условия:

материал печатной платы выдержал испытание на горение по ГОСТ 12.2.006;

любое ослабление проводника не привело к уменьшению путей утечки и воздушных зазоров между токоведущими частями и доступными металлическими частями ниже указанных в разд. В29;

прибор выдержал испытания по п. В19.103 при размыкании проводника мостовой схемы.

Примечания:

1. Если не возникает необходимость в замене компонентов после любого испытания, то испытание на электрическую прочность по п. 19.11 следует проводить только после окончания всех испытаний электронной цепи.

2. Обычно изучение и анализ прибора и его принципиальной схемы дают возможность заранее определить те повреждения, которые следует имитировать, чтобы при испытаниях ограничиться случаями, дающими наиболее неблагоприятный результат.

3. В отдельных случаях может оказаться предпочтительной имитация всех повреждений по сравнению с анализом принципиальной схемы.

4. В основном испытания учитывают любые повреждения, которые могут возникнуть при помехах в сети питания. Однако в тех случаях, когда более чем один компонент одновременно может подвергнуться влиянию, может возникнуть необходимость в проведении дополнительных испытаний, методика проведения которых находится на рассмотрении.

В19.102. Повреждения, указанные в перечислениях 1) - 6) п. В19.103, не имитируют для цепей или частей цепей, если одновременно выполняются следующие условия:

электронная цепь является маломощной в соответствии с указаниями, приведенными ниже;

защита от поражения электрическим током, опасность возникновения пожара, механическая опасность или неправильное срабатывание в других частях прибора не зависят от правильного функционирования электронной цепи.

Маломощную цепь выявляют, как указано ниже, следующим образом (пример приведен на черт. В1):

Прибор работает при нормальном напряжении или при верхнем пределе номинального диапазона напряжений, а переменный резистор, установленный в положение, соответствующее максимальному сопротивлению, подключают между исследуемой точкой и противоположным полюсом источника питания.

Затем сопротивление резистора уменьшают до тех пор, пока мощность, потребляемая резистором, не достигнет максимума. Любая, наиболее близкая к источнику питания точка, в которой потребляемая мощность по отношению к этому резистору не превышает 15 Вт к концу 5 с, называется маломощной точкой. Часть цепи, расположенная от источника питания за маломощной точкой, называется маломощной цепью.

Примечания:

1. Измерения проводят только по отношению к одному полюсу источника питания, предпочитая тот, у которого наименьшее количество маломощных точек.

2. При определении маломощных точек рекомендуется начинать с точек, наиболее близких к источнику питания.

3. Мощность, потребляемую примененным резистором, измеряют ваттметром.

В19.103. Имитируют следующие повреждения и вводят их, при необходимости, по очереди:

1) закорачивают пути утечки тока и воздушные зазоры между токоведущими частями различной полярности, если они меньше значений, установленных в разд. 29, при условии, что соответствующие части не герметизированы как следует;

2) создают короткое замыкание между токоведущими частями различной полярности через изоляцию, которая не выдерживает испытания по разд. 16;

3) осуществляют размыкание соединений любого компонента;

4) создают короткое замыкание конденсаторов, если они не соответствуют требованиям ГОСТ 12.2.006;

5) создают короткое замыкание любых двух соединений электронного компонента, кроме интегральных схем;

6) осуществляют повреждение интегральных схем. В этом случае возможность возникновения повреждений в приборе оценивают с целью убедиться, что безопасность не зависит от неправильного функционирования указанного компонента.

Регистрируют все возможные выходные сигналы при повреждении внутри интегральной схемы. Если есть возможность доказать, что какой-либо выходной сигнал маловероятен, то соответствующее повреждение не имитируют.

Примечание. Микропроцессоры считаются интегральной схемой.

Кроме того, каждую маломощную цепь замыкают накоротко путем соединения маломощной точки с полюсом источника питания, от которого было проведено измерение.

Чтобы имитировать повреждение, прибор включают в работу в соответствии с разд. 11, но при номинальном напряжении или при наиболее неблагоприятном напряжении внутри номинального диапазона.

После того, как смоделировано повреждение, продолжительность испытания должна быть равна:

указанной в п. 19.6, но только для одного рабочего цикла и только в том случае, если потребитель не может определить повреждение, например изменения в температуре;

указанной в п. 19.6, если повреждение может быть определено потребителем, например когда останавливается двигатель кухонной машины;

до достижения установившегося состояния - для цепей, постоянно подключенных к сети, например резервных цепей.

В любом случае испытание считают законченным, если в приборе происходит прекращение питания.

Повреждение, указанное в перечислении 5), не применяют между двумя цепями оптосоединителей.

Если прибор оборудован электронной цепью, работа которой обеспечивает соответствие требованиям разд. 19, то соответствующее испытание повторяют, имитируя одно из повреждений по перечислениям 1) - 6).

Повреждение, указанное в перечислении 6), применяют к компонентам, заключенным в капсулу, и аналогичным, если цепь не может быть оценена другим методом.

Резисторы с положительным температурным коэффициентом (PTCs), отрицательным температурным коэффициентом (NTCs) и сопротивлением, зависящим от напряжения (VDRs), не замыкают накоротко, если они использованы в соответствии с характеристиками, указанными изготовителем.

В19.104. Если при любом повреждении, указанном в п. В19.103, безопасность прибора зависит от срабатывания миниатюрной плавкой вставки, соответствующей требованиям нормативно-технического документа, то испытание повторяют, заменив миниатюрную плавкую вставку амперметром.

Если измеренный ток не превышает в 2,1 раза номинальный ток плавкой вставки, то цепь не считают достаточно защищенной, и испытание проводят с закороченной плавкой вставкой.

Если измеренный ток превышает номинальный ток плавкой вставки не менее чем в 2,75 раза, то цепь считают достаточно защищенной.

Если измеренный ток находится в пределах от 2,1 до 2,75 номинального тока плавкой вставки, то плавкую вставку закорачивают, а испытание проводят:

для быстродействующих плавких вставок - в течение указанного периода или 30 мин в зависимости от того, что короче;

для плавких вставок с выдержкой времени - в течение указанного периода или 2 мин в зависимости от того, что короче.

Примечания:

1. В сомнительных случаях следует учитывать максимальное сопротивление плавкой вставки при определении значения тока.

2. Проверка, осуществляемая с целью определения, является ли плавкая вставка защитным устройством, основана на характеристиках плавления по нормативно-техническому документу, в которых также приведена информация, необходимая для вычисления максимального сопротивления плавкой вставки.

3. Другие плавкие предохранители считают преднамеренно ослабленными частями в соответствии с п. 19.1.

В22. Конструкция

В22.18. Дополнение

Части, отделенные защитным импедансом, должны соответствовать требованиям к двойной или усиленной изоляции.

В22.19. Дополнение

Усиленную изоляцию допускается применять для частей, отделенных трансформатором безопасного сверхнизкого напряжения или защитным импедансом, и для частей, отделенных оптосоединителями.

Дополнительный пункт

В22.101. Защитный импеданс должен состоять не менее чем из двух отдельных компонентов, вероятность изменения в течение срока службы прибора полного сопротивления которых маловероятна. Если один из компонентов замыкается накоротко или размыкается, то не должно быть превышения значений параметров, указанных в п. В8.1.

Соответствие требованию проверяют осмотром и измерением.

Примечание. Резисторы и конденсаторы, соответствующие требованиям ГОСТ 12.2.006, считают соответствующими требованиям настоящего пункта.

В27. Заземление

В27.1. Дополнение

Печатные проводники печатных плат не должны быть использованы для обеспечения непрерывности цепи заземления.

В29. Пути утечки тока, воздушные зазоры и расстояния по изоляции

В29.1. Дополнение

Для проводящих частей на печатной плате цепи, исключая их края, значения, указанные в таблице для частей различной полярности, могут быть уменьшены при условии, что пиковое значение напряжения не превышает:

150 В на 1 мм при минимальном расстоянии 0,2 м в местах, защищенных от осаждения грязи;

100 В на 1 мм при минимальном расстоянии 0,5 мм в местах, не защищенных от осаждения грязи.

Для пиковых напряжений более 50 В уменьшение путей утечки допускается только в том случае, когда контрольный индекс трекингостойкости (КИТ) печатной платы более 175.

Эти расстояния могут быть еще меньше при условии, что прибор соответствует требованиям разд. В19 при поочередном закорачивании расстояний.

Примечание. Если вышеуказанные данные приводят к более высоким значениям, чем указанные в таблице, при оценке используют табличные значения.

Для токоведущих частей различной полярности, отделенных только основной изоляцией, пути утечки и воздушные зазоры допускается снижать по отношению к указанным в таблице при условии, что выполняются требования разд. В19 при поочередном замыкании этих путей утечки и воздушных зазоров.

Пути утечки тока и воздушные зазоры внутри оптосоединителей не измеряют, если индивидуальная изоляция соответствующим образом запломбирована и если исключено присутствие воздуха между отдельными слоями материала.

В29.2. Дополнение

Для оптосоединителей процедуру кондиционирования проводят при температуре на 50 К выше максимального превышения, измеренного на поверхности оптосоединителя при испытаниях по разд. 11 или 19 при работе оптосоединителя в наиболее неблагоприятных условиях, которые возникают в процессе этих испытаний.

Пример электронной цепи с маломощными точками

D - наиболее удаленная от источника питания точка, в которой максимальная мощность, подаваемая на внешнюю нагрузку, не превышает 15 Вт;

А и В - наиболее близкие к источнику питания точки, в которых максимальная мощность, подаваемая на внешнюю нагрузку, не превышает 15 Вт. Это маломощные точки. Точки А и В раздельно накоротко соединяют с точкой С.

Условия повреждения по перечислениям 1) - 6) (по п. В19.103) рассматриваются по очереди в цепях Z1, Z2, Z3, Z6 и Z7 в зависимости от их применимости.

Черт. В1

ПРИЛОЖЕНИЕ В. (Измененная редакция, Изм. № 1).

ПРИЛОЖЕНИЕ С

Обязательное

КОНСТРУКЦИЯ ЗАЩИТНЫХ РАЗДЕЛИТЕЛЬНЫХ ТРАНСФОРМАТОРОВ

Первичная и вторичная обмотки должны быть разделены изолирующей гильзой, и конструкция должна быть такой, чтобы исключалась возможность какого-либо соединения между этими обмотками как непосредственного, так и косвенного через другие металлические части.

В частности, должны быть приняты меры, предотвращающие:

смещение первичной или вторичных обмоток или их витков;

смещение внутренних соединений или проводов для внешних соединений, чрезмерное смещение частей обмоток или внутренних соединений в случае обрыва проводов рядом с этими соединениями или в случае ослабления соединений;

шунтирование любой части изоляции между первичной цепью и вторичными цепями, включая обмотки, в случае ослабления или выпадания проводов, винтов, шайб и подобных элементов.

Первичная и каждая из вторичных обмоток должны быть намотаны так, чтобы каждый виток в каждом слое обмотки был расположен рядом со следующим витком.

Примерами конструкций, которые удовлетворяют указанным требованиям для обмоток, являются:

а) обмотки, расположенные на отдельных катушках, выполненных из соответствующего изоляционного материала;

б) обмотки, расположенные на одной катушке с разделительной перегородкой из соответствующего изоляционного материала при условии, что катушка и разделительная перегородка спрессованы или отлиты как единое целое или, в случае вставной перегородки, если имеется армировка или покрытие по месту соединения между катушкой и перегородкой;

с) концентрические обмотки при использовании изоляции в виде тонких слоев, накладываемой на катушку или железный сердечник трансформатора и между первичной обмоткой и каждой из вторичных обмоток при условии, что применяются не менее трех слоев и что два соприкасающихся слоя выдерживают испытание на электрическую прочность, установленное для усиленной изоляции; испытательное напряжение прикладывают между внешними поверхностями двух слоев.

Все обмотки должны иметь надежно закрепленные последние витки. Это может быть обеспечено путем использования слоев изоляции или затвердевающего при сушке материала, который полностью заполняет промежутки между витками и эффективно скрепляет герметически последние витки.

Примечание. Считают маловероятным, что два независимых крепления ослабнут одновременно.

ПРИЛОЖЕНИЕ D

Обязательное

ВАРИАНТЫ ТРЕБОВАНИЙ ДЛЯ ДВИГАТЕЛЕЙ С ЗАЩИТНЫМИ УСТРОЙСТВАМИ

Двигатели приборов, предназначенных для работы без надзора, имеющие защитные устройства для защиты в режиме с заторможенным ротором и (или) в условиях перегрузки при вращающемся роторе, как указано в пп. 19.6 и 19.8 настоящего стандарта, должны выдерживать следующие испытания.

Защитное устройство, которое может быть возвращено в исходное состояние вручную, должно иметь коммутационный механизм со свободным расцеплением.

Испытание по п. 19.6 проводят на отдельном образце либо встроенном в прибор, либо с двигателем, установленным на стенде. При этом продолжительность испытания должна составлять:

1) двигатель с защитным устройством с самовозвратом должен работать в циклическом режиме с заторможенным ротором в течение 3 сут (72 ч) - для приборов, находящихся под напряжением непродолжительное время, и в течение 18 сут (432 ч) - для приборов, находящихся под напряжением длительное время;

2) двигатель с защитным устройством с ручным возвратом должен работать 60 циклов при заторможенном роторе, причем после каждого срабатывания защитного устройства его возвращают в исходное состояние настолько быстро, насколько допустимо, чтобы защитное устройство оставалось во включенном состоянии, но не быстрее чем через 30 с.

Температуру регистрируют через определенные промежутки времени в течение первых трех суток для двигателей, снабженных защитным устройством с самовозвратом, и в течение первых десяти срабатываний для двигателей, снабженных защитным устройством с ручным возвратом. Температура не должна превышать значений, указанных в п. 19.6.

Во время испытания защитное устройство должно работать надежно и удовлетворять требованиям разд. 8 настоящего стандарта; не должна возникать опасность пожара.

После периода времени, установленного для измерения температуры, двигатель должен выдерживать испытание на электрическую прочность по п. 19.11 настоящего стандарта.

ПРИЛОЖЕНИЕ Е

Обязательное

ИЗМЕРЕНИЕ ПУТЕЙ УТЕЧКИ ТОКА И ВОЗДУШНЫХ ЗАЗОРОВ

В настоящем приложении (см. примеры 1 - 10) указаны способы измерения путей утечки и воздушных зазоров, которыми следует руководствоваться при испытании по п. 29.1.

Эти примеры не учитывают различия между зазорами и пазами или видами изоляции.

Предполагаются следующие допущения:

1) паз может иметь параллельные, сходящиеся или расходящиеся стенки;

2) любой паз с расходящимися стенками, имеющий минимальную ширину больше 0,25 мм, глубину больше 1,5 мм и ширину у дна 1 мм или более, считают воздушным зазором (см. пример 8);

3) любой угол, с внутренним углом менее 80°, считают шунтированным деталью из изоляционного материала шириной 1 мм (0,25 мм - в местах, защищенных от осаждения грязи), помещенной в самое неблагоприятное положение (см. пример 3);

4) если расстояние между верхними кромками паза равно 1 мм (в местах, защищенных от осаждения грязи, - 0,25 мм) или больше, то расстояние по воздуху между этими кромками не считают путем утечки (см. пример 2);

5) если воздушный промежуток, указанный в перечислении 2, превышает 0,25 мм, то его не считают путем утечки;

6) пути утечки и воздушные зазоры, подлежащие измерению между частями, перемещающимися друг относительно друга, измеряют тогда, когда эти части находятся в самом неблагоприятном стационарном положении;

7) рассчитанный путь утечки никогда не бывает меньше измеренного воздушного зазора;

8) при расчете суммарного воздушного зазора любой воздушный зазор шириной менее 1 мм не учитывают.

Пример 1

Условие. Рассматриваемый путь включает в себя паз с параллельными или сходящимися боковыми стенками любой глубины, шириной менее 1 мм.

Правило. Путь утечки и воздушный зазор измеряют непосредственно через паз, как указано на чертеже.

Пример 2

Условие. Рассматриваемый путь включает в себя паз с параллельными боковыми стенками любой глубины, шириной 1 мм и более.

Правило. Воздушным зазором считают длину «прицельной прямой». Путь утечки проходит по контуру паза.

Пример 3

Условие. Рассматриваемый путь включает в себя V-образный паз с внутренним углом менее 80° и шириной более 1 мм.

Правило. Воздушным зазором считают длину «прицельной прямой». Путь утечки проходит по контуру паза, однако «шунтируют» дно паза элементом длиной 1 мм (0,25 мм - в местах, защищенных от осаждения грязи).

Пример 4

Условие. Рассматриваемый путь включает в себя ребро.

Правило. Воздушным зазором считают наикратчайшее расстояние по воздуху через ребро. Путь утечки проходит по контуру ребра.

Пример 5

Условие. Рассматриваемый путь включает в себя несклеенное соединение с пазами шириной менее 1 мм (0,25 мм - в местах, защищенных от осаждения грязи) с каждой стороны.

Правило. Путем утечки и воздушным зазором считают длину «прицельной прямой», как указано на чертеже.

Пример 6

Условие. Рассматриваемый путь включает в себя несклеенное соединение с пазами шириной 1 мм или более на каждой стороне.

Правило. Воздушным зазором считают длину «прицельной прямой». Путь утечки проходит по контурам пазов.

Пример 7

Условие. Рассматриваемый путь включает в себя несклеенное соединение с пазом на одной стороне, который уже 1 мм, и с пазом на другой стороне 1 мм и более.

Правило. Воздушный зазор и путь утечки измеряют, как указано на чертеже.

Пример 8

Условие. Рассматриваемый путь включает в себя паз с расходящимися боковыми стенками глубиной 1,5 мм или более, шириной в самом узком месте более 0,25 мм и шириной у дна 1 мм или более.

Правило. Воздушным зазором считают длину «прицельной прямой». Путь утечки проходит по контуру паза.

Пример 9

Зазор между головкой винта и стенкой впадины слишком мал и не принимается во внимание.

Пример 10

Зазор между головкой винта и стенкой впадины достаточно велик и принимается во внимание.

ПРИЛОЖЕНИЕ F

Обязательное

ДВИГАТЕЛИ, НЕ ИЗОЛИРОВАННЫЕ ОТ ПИТАЮЩЕЙ СЕТИ И ИМЕЮЩИЕ ОСНОВНУЮ ИЗОЛЯЦИЮ, КОТОРАЯ НЕ РАССЧИТАНА НА НОМИНАЛЬНОЕ НАПРЯЖЕНИЕ ПРИБОРА

F1. Область распространения

F1.1 Настоящее приложение распространяется на двигатели, встроенные в приборы, на которые распространяется настоящий стандарт и которые не изолированы от питающей сети и имеют основную изоляцию, которая не рассчитана на номинальное напряжение прибора. На эти двигатели распространяются все пункты настоящего стандарта, за исключением тех случаев, когда в данном приложении или в частных требованиях на конкретные виды приборов имеются другие указания.

F4. Испытания. Общие положения

F4.18. Приложение В не распространяется на цепи двигателей, рассматриваемых в настоящем приложении.

F5. Номинальные величины

F5.1. Максимальное номинальное напряжение для двигателей, питаемых пониженным напряжением, получаемым посредством последовательно включенного сопротивления или делителя напряжения, составляет 42 В.

F8. Защита от поражения электрическим током

F8.1. Примечание. Металлические части двигателя, не изолированного основной изоляцией, рассчитанной на номинальное напряжение, считают оголенными токоведущими частями.

F11. Нагрев

F11.3. Определяют превышение температуры корпуса двигателя; превышение температуры обмоток не определяют.

F11.8. Превышение температуры корпуса двигателя в тех местах, где он соприкасается с изоляционным материалом, не должно превышать значений, указанных в табл. 3 для соответствующего изоляционного материала.

F16. Сопротивление изоляции и электрическая прочность

F16.4. Изоляция между токоведущими частями двигателя и его другими металлическими частями не подвергается этому испытанию.

F19. Ненормальная работа

F19.1. Испытания по пп. 19.6 - 19.9 настоящего стандарта не проводят.

F19.101. Двигатель, элементы и цепи, понижающие рабочее напряжение двигателя, должны быть сконструированы так, чтобы была исключена возможность возникновения пожара, механической опасности и поражения электрическим током при их повреждении.

Соответствие требованию проверяют путем имитации следующих неисправностей:

короткого замыкания на зажимах двигателя, включая любой конденсатор, включенный в цепь двигателя;

последовательного короткого замыкания диодов, включенных в цепь выпрямителя;

отсоединения цепи питания двигателя;

отсоединения любого шунтирующего сопротивления во время работы двигателя.

При проведении испытаний каждый раз имитируется только одна неисправность, причем указанные неисправности имитируются поочередно.

Примечание. Неисправности, подлежащие имитации, приведены на черт. F1.

Схема имитации неисправностей

                               Параллельная цепь                           Последовательная цепь

________- первоначальное соединение;

------------ - короткое замыкание;

≈ - размыкаемые цепи;

А - короткое замыкание клемм двигателя;

В - короткое замыкание одного из диодов;

С - размыкание цепи питания двигателя;

D - размыкание цепи шунтирующего сопротивления.

Черт. F1

F23. Внутренняя проводка

F23.101. В приборах класса I, имеющих двигатель, питаемый через выпрямитель, цепь постоянного тока должна быть изолирована от корпуса прибора двойной или усиленной изоляцией.

Соответствие требованию проверяют путем проведения испытаний, установленных для двойной и усиленной изоляции.

F29. Пути утечки, воздушные зазоры и расстояния через изоляцию

F29.1. Примечание. Значения, указанные в табл. 21, не применяют для расстояний между токоведущими частями двигателя и его другими металлическими частями.

ПРИЛОЖЕНИЕ G

Обязательное

СХЕМА ЦЕПИ ДЛЯ ИЗМЕРЕНИЯ ТОКА УТЕЧКИ

Схема цепи, рекомендуемой для измерения тока утечки по п. 13.2, приведена на черт. G1.

Цепь содержит выпрямитель с германиевыми диодами D и измерительный прибор с подвижной катушкой М, резисторы и конденсатор С для настройки характеристик цепи и переключатель для выбора предела диапазона измерений прибора.

Наиболее чувствительный диапазон прибора не должен превышать 1,0 мА; более высокие диапазоны получают путем шунтирования катушки измерительного прибора безындукционными резисторами RS при одновременном выборе величины последовательно включенных резисторов Rv, так, чтобы общее сопротивление цепи R1 + Rv + Rm было равно заданному.

Основными токами градуировки прибора при синусоидальном токе частотой 50 или 60 Гц являются: 0,25; 0,50 и 0,75 мА.

Схема цепи для измерения тока утечки

Черт. G1

Примечания:

1. Цепь может иметь защиту от сверхтока; однако способ защиты должен быть выбран таким, чтобы он не оказывал отрицательного влияния на характеристики цепи.

2. Сопротивление резистора Rm рассчитывают по падению напряжения на выпрямителе при токе 0,25 мА, а сопротивления резисторов Rv подбирают так, чтобы общее сопротивление цепи для каждого из диапазонов измерений было равно заданному.

3. Германиевые диоды используют потому, что они имеют более низкое падение напряжения по сравнению с другими типами диодов, что позволяет получить более линейную шкалу; предпочтение при этом отдают типам диодов, в которых выводы кристаллов припаяны золотом. Номинальные данные диодов выбирают с учетом максимального диапазона измерительного прибора; однако ток не должен превышать 25 мА, так как диоды, рассчитанные на больший номинальный ток, имеют более высокое падение напряжения.

4. Желательно, чтобы переключатель был выполнен так, чтобы он автоматически возвращался в положение, соответствующее максимальному диапазону измерений, для предотвращения повреждения прибора вследствие невнимательного с ним обращения.

5. Емкость может быть подобрана из конденсаторов со стандартными значениями емкостей, включаемых по последовательно-параллельной схеме.


ПРИЛОЖЕНИЕ Н

Обязательное

ПОРЯДОК ПРОВЕДЕНИЯ ИСПЫТАНИЙ ПО РАЗД. 30 НАСТОЯЩЕГО СТАНДАРТА

ТЕПЛОСТОЙКОСТЬ, ОГНЕСТОЙКОСТЬ (все приборы)


Порядок проверки стойкости к образованию токопроводящих мостиков

(Измененная редакция, Изм. № 1).

ПРИЛОЖЕНИЕ I

Обязательное

ИСПЫТАНИЕ ГОРЕНИЕМ

В настоящем стандарте использован метод воспламенения горизонтально расположенного образца (метод FH).

11. Испытательные образцы

Размеры образцов для испытаний: длина (125 ± 5) мм;

ширина (13,0 ± 0,3) мм;

толщина (3,0 ± 0,2) мм.

Испытуемые образцы могут быть получены разными способами, например литьем под давлением, литьевым прессованием, инъекционным формованием, литьем или механической обработкой листов, труб, стержней или электроизоляционных деталей. Все ребра и поверхности должны быть гладкими. Образцы должны иметь две маркировочные линии, проведенные перпендикулярно к продольной оси образца на расстоянии 25 и 100 мм от поджигаемого края. Эти линии могут быть слегка процарапаны на поверхности образца.

Испытанию подвергают партии из пяти образцов.

Примечание. Так как горючесть материала зависит от его толщины, целесообразно подвергнуть испытаниям также образцы толщиной 0,8; 1,6 и 6,0 мм, часто встречающиеся в практике.

12. Кондиционирование

Перед испытанием образцы подвергают кондиционированию в течение 48 ч при температуре 23 °С и относительной влажности 50 %.

13. Испытательная камера

Испытательная камера объемом 1 м3 без воздушной тяги должна позволять проводить визуальные наблюдения. Для безопасности и удобства обслуживания желательно, чтобы камера (которая может быть закрытого типа) была снабжена вентилятором для удаления продуктов горения, которые могут быть токсичными. Следует отметить, что вентилятор на время испытания отключают и включают сразу после проведения испытания.

14. Порядок проведения испытания

При испытании используют лабораторную горелку Бунзена (или Тиррила), дающую голубое пламя высотой (25 ± 2) мм. Горелка имеет трубку длиной 100 мм и внутренним диаметром (9,5 ± 0,5) мм. На трубке горелки не должно быть концевых насадок, например стабилизаторов пламени.

Используемый газ - технически чистый метан. Подачу метана осуществляют через расходомер регулятором расхода, предназначенным для получения равномерного газового потока.

Примечание. При замене метана природным газом с теплотворной способностью около 37 МДж/м3 получают одинаковые результаты.

Испытательная установка, приведенная на черт. I1, состоит из следующих основных частей:

Регулируемый держатель с зажимами, позволяющий удержать образец и металлическую (проволочную) сетку в горизонтальном положении.

Установка для испытания на горение

1 - металлическая (проволочная) сетка; 2 - образец; 3 - горелка

Черт. I1

Образец закрепляют так, чтобы его продольная ось была горизонтальной, а поперечная - наклонной под углом 45°.

Металлическая сетка (20 ячеек на 25,4 мм; размеры ячейки 125 х 125 мм, диаметр стальной проволоки 0,043 мм), закрепленная под образцом на расстоянии 10 мм от самой низкой его кромки так, чтобы свободный конец образца находился прямо вровень с краем сетки.

Горелку для испытаний с помощью передвижного держателя фиксируют в вертикальной плоскости, проходящей через нижний край образца, так, чтобы трубка горелки находилась под углом около 45° к горизонтальной поверхности (основанию).

Горелку зажигают и регулируют в вертикальном положении вдали от образца так, чтобы голубое пламя было высотой (25 ± 2) мм. Регулируя подачу газа и воздуха, получают голубое пламя с желтой каймой высотой (25 ± 2) мм. Затем подачу воздуха увеличивают до исчезновения желтой каймы, вновь измеряют высоту пламени и, если необходимо, корректируют.

Пламя подносят к свободному нижнему краю образца так, чтобы огонь воздействовал на образец на длине около 6 мм. Ось горелки должна находиться в одной вертикальной плоскости с нижней кромкой образца, под углом около 45° к горизонтальной поверхности (основанию).

Образец подвергают воздействию пламени в течение 30 с без изменения положения горелки.

Если образец прогорает до отметки 25 мм за время, меньшее 30 с, то необходимо отвести горелку от образца в тот момент, когда достигается эта отметка.

Если образец продолжает гореть после отвода пламени, следует определить время, необходимое для прохождения пламени от первой отметки (25 мм) до второй (100 мм).

Скорость распространения пламени определяют делением расстояния между двумя отметками (75 мм) на время прохождения пламени между ними.

15. Оценка результатов

Материал считают выдержавшим испытание, если скорость распространения пламени не превышает 40 мм/мин. В этом случае материалу присваивают класс FH (ПГ)3.

Если более одного образца не выдерживает испытание, материал бракуют.

Если только один образец не выдержал испытание, то испытывают новую партию из пяти образцов, все из которых должны выдержать испытание.

ПРИЛОЖЕНИЕ К

Обязательное

ИСПЫТАНИЕ РАСКАЛЕННОЙ ПРОВОЛОКОЙ

Испытание проводят по ГОСТ 27483 с учетом значений температур, приведенных в пп. 30.3 и 30.4 настоящего стандарта, со следующими измененными разделами

4. Аппаратура

Нагреваемый элемент, выполненный из материала, состоящего из 80 % Ni и 20 % Cr, представляет собой петлю из проволоки диаметром 4 мм по ГОСТ 27483. На поверхности петли не должно быть мелких трещин и других повреждений. Для измерения температуры провода накала используют термопару, защищенную оболочкой, наружный диаметр которой 0,5 мм.

В качестве электродов используют провода из NiCr и NiAl. Указанная выше оболочка должна быть выполнена из материала, выдерживающего температуру до 960 °С. Термопара должна быть заделана в отверстие диаметром 0,6 мм, высверленное в проводе накала. Холодный спай термопары помещают в тающий лед, если не указаны другие условия получения достоверной эталонной температуры, например с помощью термостата. Измерение ЭДС термопары следует проводить с точностью до 1 % (класс точности прибора 0,5).

Для нагревания конца проволоки до 960 °С используют ток силой от 120 до 150 А.

Устройство для испытания должно иметь такую конструкцию, чтобы нагретая проволока находилась в горизонтальной плоскости и сила поджатия ее к образцу составляла от 0,8 до 1,2 Н. Сила поджатия в ходе проведения испытания должна оставаться постоянной в течение времени проникания петли в образец, по крайней мере, на глубину 7 мм.

Для оценки возможности распространения загорания, например при отделении от образца горящих или раскаленных частиц, элементы, расположенные в обычных условиях эксплуатации вокруг образца, размещают под ним на расстоянии, соответствующем расстоянию между ними в условиях эксплуатации.

В тех случаях, когда горящие или раскаленные частицы, отделяющиеся от образца, могут непосредственно падать наружу под прибор, при проведении испытания используют белую сосновую доску толщиной около 10 мм, покрытую одним слоем папиросной бумаги, которую располагают на расстоянии (200 ± 5) мм ниже места, где вершина петли проникает в образец. Если испытательный образец представляет собой прибор в сборе, то сам прибор в нормальном эксплуатационном положении размещают над сосновой доской (или на ней), покрытой одним слоем папиросной бумаги. Перед началом испытаний доску выдерживают в течение 24 ч при температуре от 15 до 35 °С и относительной влажности от 45 до 75 %.

5. Параметры испытания

Температура проволочной петли - по пп. 30.3, 30.4 настоящего стандарта.

Продолжительность приложения петли (30 ± 1) с.

10. Наблюдения и измерения

В ходе испытания необходимо проводить наблюдения за образцом, окружающими элементами и слоем, расположенным под образцом. При этом необходимо зафиксировать:

время от начала воздействия проволоки до момента воспламенения образца или слоя под ним;

время от начала воздействия проволоки до момента затухания пламени в процессе испытания или после его окончания.

По окончании испытания образец осматривают для выявления степени его повреждения, а также повторно измеряют указанные заранее механические и (или) электрические параметры образца.

ПРИЛОЖЕНИЕ L

Обязательное

ИСПЫТАНИЕ ДЕФЕКТНЫХ СОЕДИНЕНИЙ С ПОМОЩЬЮ НАГРЕВАТЕЛЕЙ

L1. Общее описание испытания

В качестве образца для испытаний используют, если это практически возможно, прибор в сборе, узел или деталь. Если по условиям испытания необходимо снять кожух, удалить отдельные детали или вырезать определенную часть прибора, то в дальнейшем при испытании следует обеспечить такие условия, которые соответствуют условиям в приборе при нормальной эксплуатации в отношении расположения, вентиляции, воздействия температурных нагрузок и возможного появления пламени, падения горящих или раскаленных частиц вблизи испытуемого образца.

При невозможности проведения испытания в целом на образце, о котором сказано выше, от него необходимо отрезать подходящую часть.

При невозможности проведения испытания на узле или детали, находящихся внутри прибора, испытания проводят на отдельном образце при обеспечении условий по п. L2 настоящего приложения.

Испытательные нагревательные элементы, указанные в п. L2 настоящего приложения, применяют при испытании зажимов или соединений, в которых есть винты.

Спрессованные соединения не подвергают данному испытанию, если:

дефект соединения не может вызвать опасность возникновения огня;

длительный ток не превышает 0,5 А;

провода подобраны согласно табл. L1 и применяются вместе с соединениями, выбранными и используемыми в соответствии со своими техническими требованиями.

Таблица L1

Длительный ток, А

Поперечное сечение провода, мм2

луженого

другого

Св. 0,5 до 4,0 включ.

-

0,5

» 4,0 » 6,0 »

0,75

1,0

» 6,0 » 10,0 »

1,0

1,5

» 10,0 » 16,0 »

1,5

2,5

» 16,0 » 25,0 »

2,5

4,0

Примечания:

1. Спрессованные соединения считают непожароопасными, если части из изоляционных материалов, поддерживающие соединения, выдержали испытание раскаленной проволокой согласно приложению К при температуре, установленной в п. 30.4 настоящего стандарта.

2. Обжимающие трубки на концах свитых проводов, предназначенные для введения в винтовые зажимы, не считают спрессованными соединениями с точки зрения настоящего приложения.

3. При определении значения длительного тока пусковой ток во внимание не принимают.

L2. Средства испытаний

При испытаниях используют проволочные нагревательные элементы, изготовленные из сплава, содержащего 59 % никеля, от 14 до 19 % хрома и от 19 до 23 % железа, удельное сопротивление которого при температуре 20 °С равно 1,13 Ом×мм2/м. Проволочный нагревательный элемент должен иметь определенную длину и форму, а концы его с помощью латунных трубок по черт. L1 соединены с проводниками, состоящими из тонких свитых медных проволочек длиной (120 ± 2) мм и имеющими круглое поперечное сечение (черт. L2). Трубки спрессовывают, а затем пропаивают.

Форма, диаметр и длина нагревательного элемента зависят от диаметра, формы и конструкции испытуемых зажимов и соединений и должны выбираться в соответствии с табл. L2, в которой приведена зависимость мощности, потребляемой испытательным нагревательным элементом, от значений длительного тока, протекающего через испытуемое соединение при нормальной эксплуатации.

Для исключения перегрева и расплавления испытательного нагревательного элемента не допускается превышение его предельной удельной мощности п (отношение мощности нагревательного элемента в ваттах к площади его активной поверхности в квадратных миллиметрах).

Обжимная латунная трубка

Перед опрессованием       После опрессования

Черт. L1

Соединение нагревателя с подводящими проводами

1 - высокоомная проволоку; 2 - подходящий провод длиной (120 ± 2) мм; 3 - трубка

Черт. L2

Размеры проволоки обычно выбирают из условия максимальной предельной удельной мощности п, которую рассчитывают по формуле

,

где N - испытательная потребляемая мощность, Вт;

dh - диаметр проволоки, мм;

lh - свободная длина проволоки, мм.

Если dh > 1,0 мм, п @ 0,36 Вт/мм2; если dh = 0,5 мм, п @ 0,40 Вт/мм2.

Диаметр подводящих витых проводников и латунных трубок определяют на основе тепловых потерь, зависящих от сечения и вида проводника - жесткого или гибкого, присоединенного при нормальных условиях эксплуатации к испытательному зажиму или соединению.

Для контроля состояния нагревательного элемента периодически измеряют и регистрируют сопротивление между «холодными» концами подводящих свитых проводников.

Примечания:

1. Рекомендуемые размеры и форма испытательных нагревательных элементов для определенных размеров и конструкций винтовых зажимов для присоединения внешних медных проводов к прибору и указания по подготовке испытательных нагревательных элементов приведены в п. L8 настоящего приложения.

2. При необходимости провести испытания других типов зажимов или присоединений подходящий нагревательный элемент можно изготовить, руководствуясь указаниями п. L8 настоящего приложения.

В качестве источника питания используют регулировочный трансформатор сверхнизкого напряжения.

Для измерения тока и напряжения нагревательного элемента используют амперметр и вольтметр с погрешностью измерения не более 1 % (класс точности не ниже 0,5). Если используют ваттметр, то он должен иметь погрешность не более 1,5 %.

Для оценки возможности распространения огня, например от горящих или раскаленных частиц, падающих с образца, под образец помещают слой материала или детали, которые в условиях нормальной эксплуатации окружают образец или находятся под ним, причем расстояние между образцом и указанными деталями должно соответствовать расстоянию, существующему в приборе.

В тех случаях, когда горячие или раскаленные частицы, падающие с образца при нормальной эксплуатации, могут попасть на любые поверхности, находящиеся за пределами прибора, испытания проводят с использованием сосновой доски толщиной около 10 мм, покрытой одним слоем папиросной бумаги. Доску располагают под образцом на расстоянии (200 ± 5) мм от места, где испытательный нагревательный элемент прикладывают к образцу. Если в качестве образца используют прибор в сборе, то его устанавливают на эту доску, покрытую одним слоем бумаги, в нормальном эксплуатационном положении. Перед началом испытаний сосновую доску выдерживают в течение 7 сут в условиях стандартной среды (168 ч/23 °С/50 %).

Примечание. Пояснение к папиросной бумаге см. в приложении К.

L3. Время испытаний и выбор мощности испытательного нагревательного элемента

Мощность испытательного нагревательного элемента выбирают по табл. L2, исходя из значения тока, протекающего через зажим или соединение в условиях нормальной эксплуатации.

Время воздействия испытательного нагревательного элемента на испытуемый зажим или соединение должно составлять (30 ± 1) мин.

Таблица L2

Ток, А

Потребляемая мощность испытательного нагревательного элемента, Вт

Ток, А

Потребляемая мощность испытательного нагревательного элемента, Вт

Более 0,2 до 0,5

2,0

Более 8,0 до 10,0

29,0

» 0,5 » 1,0

4,5

» 10,0 » 13,0

33,0

» 1,0 » 1,5

6,5

» 13,0 » 16,0

37,0

» 1,5 » 2,0

9,0

» 16,0 » 20,0

42,0

» 2,0 » 2,5

11,0

» 20,0 » 25,0

47,0

» 2,5 » 3,0

13,0

» 25,0 » 32,0

53,0

» 3,0 » 4,0

16,0

» 32,0 » 40,0

60,0

» 4,0 » 5,0

19,0

» 40,0 » 50,0

66,0

» 5,0 » 6,0

21,0

» 50,0 » 63,0

73,0

» 6,0 » 8,0

25,0

 

 

Примечания:

1. Допускаемое отклонение потребляемой мощности от установленного значения ± 5 %.

2. Указанные в таблице значения потребляемой мощности для токов св. 25 А являются временными.

L4. Подготовка образца

До начала испытаний образец выдерживают в течение 24 ч в условиях комнатной среды (15 - 35 °С/45 - 75 %).

L5. Порядок проведения испытаний

L5.1. В первую очередь необходимо принять меры безопасности, связанные с защитой обслуживающего персонала от:

возможного пожара или взрыва;

отравления при вдыхании продуктов сгорания или ядовитых и токсичных веществ в процессе испытания;

отравления ядовитыми или токсичными веществами, которые могут сохраняться в испытательном помещении после окончания испытания.

L5.2. Помещение или пространство, предназначенное для проведения настоящего испытания, должно иметь такие размеры, которые позволяют выполнять все работы в месте, защищенном от сквозняков, но с достаточным притоком воздуха.

L5.3. Для проведения испытания образец закрепляют в наиболее неблагоприятном положении, возможном при нормальной эксплуатации. Средства, используемые для закрепления образца, и испытательный нагревательный элемент не должны влиять на результат испытания.

L5.4. Специально подготовленный для определенного испытания нагревательный элемент вводят в зажим или соединение таким образом, чтобы все тепло выделялось как можно ближе к тому месту, где возможно дефектное соединение; при этом особое внимание должно уделяться максимально возможному ограничению электрической и тепловой нагрузки в тех частях и деталях прибора, которые не подвергают испытаниям.

L5.5. Винты и другие зажимные средства зажимают лишь настолько, чтобы предохранить испытательный нагревательный элемент от выпадения во время испытания. При этом особое внимание следует уделить предотвращению повреждения окисной пленки на нагревательном элементе, что может вызвать короткое замыкание или перекрытие в элементе. Если в ходе испытания возможно смещение металлических частей в результате воздействия пружин и т.п. устройств, эти устройства нагружают в соответствии с условиями нормальной эксплуатации.

L5.6. Испытательный нагревательный элемент включают через трансформатор сверхнизкого напряжения и регулируют напряжение так, чтобы достигалась требуемая мощность.

Для контроля испытательной мощности измеряют ток и падение напряжения на нагревательном элементе. Падение напряжения измеряют между «холодными» концами витых подводящих проводников, присоединенных к нагревательному элементу.

Испытательную мощность прикладывают в течение установленного времени, после чего отключают источник питания, а нагревательный элемент оставляют в том же положении до регистрации результатов испытания.

L5.7. Испытание проводят на одном образце. Если образец не выдержит испытания, то испытание повторяют на двух новых образцах. При этом все образцы должны соответствовать требованиям разд. 30 настоящего стандарта.

L5.8. Необходимо регулярно контролировать изменение сопротивления испытательного нагревательного элемента вследствие его износа. Если значение его сопротивления, измеренного в спокойном воздухе, отличается от исходного значения более чем на 10 %, то этот нагревательный элемент больше не должен использоваться.

L6. Контроль и измерения

В течение всего времени воздействия испытательной мощности и периода охлаждения образца до температуры помещения необходимо проводить наблюдение за образцом, окружающими его деталями и находящимся под ним слоем материала.

При воспламенении образца или любой части, находящейся под наблюдением, измеряют и регистрируют время горения. Время горения - это промежуток времени, в течение которого на контролируемой части видно пламя.

После проведения испытаний визуально контролируют и регистрируют наличие на образце повреждений.

L7. Оценка результатов испытания

Образец считают выдержавшим испытание на дефектное соединение, если он удовлетворяет одному из следующих требований:

при испытаниях не было обнаружено пламени и образец не раскалялся до видимого свечения;

если пламя или видимое свечение образца и других контролируемых частей исчезают через 30 с после возникновения, а окружающие или находящиеся под образцом детали полностью не сгорели.

Если при испытаниях используют сосновую доску со слоем бумаги, то бумага не должна воспламеняться, а доска - обугливаться. Незначительным изменением цвета сосновой доски пренебрегают.

L8. Указания по подготовке испытательных нагревательных элементов

L8.1. Общие положения

Для проведения испытаний зажимов и присоединений используют нагревательные элементы, изготовленные из высокоомной проволоки. Размеры и форма нагревательных элементов зависят от конструкции и размеров испытуемых зажимов и соединителей, а прикладываемая испытательная мощность - от протекающего через них тока.

Испытательные нагревательные элементы для винтовых зажимов, используемых для присоединения к прибору внешних медных проводов, изготовляют в соответствии с требованиями, приведенными ниже.

Эти указания могут быть также использованы при подготовке испытательных нагревательных элементов для зажимов и соединителей, имеющих другие размеры и форму, при этом следует учитывать особенности, указанные в п. L8.4.

Примечания:

1. Испытания с помощью нагревательных элементов, изготовленных в соответствии с настоящими указаниями, применяют для приборов, номинальный ток которых не превышает 63 А.

2. Примером соединений, которые в случае неисправности могут привести к пожару, являются разъемные соединения, которые подлежат разборке при установке прибора, его эксплуатации или проведении текущего ремонта. Защелкивающиеся соединительные устройства и соединения типа «штепсельный разъем» считаются неспособными образовать дефектное соединение при условии, что они применяются в соответствии с техническими условиями.

Испытание на дефектное соединение может проводиться и для безвинтовых зажимов, но в этом случае необходимы дополнительные требования.

L8.2. Конструкция испытательного нагревательного элемента

Для изготовления нагревательных элементов используют нихромовую проволоку (минимум 50 % Ni; 14 - 19 % Cr; 19 - 23 % Fe) с удельным сопротивлением 1,13 Ом×мм2/м при t = 20 °С. К каждому концу элемента с помощью латунных трубок (черт. L1) присоединяют подводящий провод круглого сечения длиной (120 ± 2) мм, состоящий из тонких медных жил.

Для подготовки нагревательных элементов используют пару плоскогубцев с хорошо подогнанными губками, прилегающими друг к другу, или аналогичный обжимной инструмент (черт. L3) и припой с содержанием серебра не менее 40 %.

Для образования спирали на самом нагревательном элементе используют штыри круглого сечения соответствующего диаметра.

L8.3. Размеры и форма нагревательного элемента

В табл. L3 указаны размеры высокоомного провода, подводящих проводников, обжимных трубок и обжатых соединений для испытательных нагревательных элементов, которые используют при испытаниях винтовых соединений, соответствующих указанным в табл. L4. Кроме того, в табл. L3 указана рекомендуемая форма нагревательного элемента.

Пример обжимного инструмента

Черт. L3

Таблица L3

Размер зажима

Испытательный нагревательный элемент

Высокоомная проволока, мм

Испытательный элемент, мм

Подводящие провода, мм2

Трубка перед опрессованием

Трубка после опрессования, мм

Стандартное число

Форма

dh, не более

lg, не менее

lh, не менее

de, не более

le, не более

ds, не менее

Сечение, мм2

L, не менее

D1, не менее

а, не более

b, не более

Р1

НР1

U

0,9

36

22

2,0

6,5

-

1,5

2,5

7

2,3

2,3

2,2

Р2

НР2

U

1,0

39

25

2,4

7,0

-

1,5

2,5

7

2,3

2,3

2,2

Р3

НРЗ

U

1,3

47

29

2,8

8,0

-

2,5

4,0

9

2,8

2,3

2,8

Р4

НР4

U

1,3

47

29

2,8

8,0

-

2,5

4,0

9

2,8

2,3

2,9

Р5

НР5

U

1,4

53

33

3,4

9,0

-

4,0

6,0

10

3,6

2,8

3,6

Р6

НР6

U

1,5

60

40

4,0

11,0

-

4,0

6,0

10

3,6

2,8

3,6

Р7

НР7

U

1,7

72

48

5,0

13,0

-

6,0

10,0

12

4,5

2,8

4,0

S0

HS0

С2

1,0

41

27

-

-

2,9

1,5

2,5

7

2,3

2,3

2,0

S1

HS1

С2

1,0

44

30

-

-

3,3

1,5

2,5

7

2,3

2,3

2,0

S2

HS2

С2

1,2

49

35

-

-

3,8

1,5

2,5

7

2,3

2,3

2,0

S3

HS3

С2

1,2

58

40

-

-

4,4

2,5

4,0

9

2,8

2,3

2,7

S4

HS4

С3

1,2

87

69

-

-

5,5

2,5

4,0

9

2,8

2,3

2,7

S5

HS5

С3

1,2

91

71

-

-

5,5

4,0

6,0

10

3,6

2,8

3,4

S6

HS6

С3

1,2

94

74

-

-

5,5

4,0

6,0

10

3,6

2,8

3,4

S7

HS7

С3

1,4

111

87

-

-

6,6

6,0

10,0

12

4,5

2,8

4,0

M0

НМ0

U

0,65

39

25

1,4

7,5

-

1,5

2,5

7

2,3

2,3

2,0

M1

НМ1

U

0,8

44

30

1,7

8,4

-

1,5

2,5

7

2,3

2,3

2,1

M2

НМ2

U

0,9

39

35

1,9

10,0

-

1,5

2,5

7

2,3

2,3

2,2

М3

НМ3

U

1,0

60

42

2,2

12,0

-

2,5

4,0

9

2,8

2,3

2,7

M4

НМ4

U

1,0

69

51

2,5

14,5

-

2,5

4,0

9

2,9

2,3

2,7

M5

НМ5+

W

0,8

80

60

4,2

16,0

-

4,0

6,0

10

3,6

2,8

3,4

M6

НМ6+

W

0,8

90

70

4,2

19,0

-

4,0

6,0

10

3,6

2,8

3,4

M7

НМ7+

W

0,8

100

86

4,2

23,0

-

6,0

10,0

12

4,5

2,8

4,0

Таблица L4

Стандартное число и форма испытательных нагревательных элементов, подходящих для зажимов, в которых винт служит для сжатия провода

Тип зажима

Размер зажима

Максимальный ток, А

Стандартное число и форма испытательного нагревательного элемента

 

Торцевой (Р)

Р1

10

НР1 U

 

Р2

16

НР2 U

 

Р3

25

НР3 U

 

Р4

32

HP4 U

 

Р5

32

HP5 U

 

Р6

40

НР6 U

 

Р7

63

HP7 U

 

С крепежной головкой (гайкой) (S)

S0

6

HS0 C2

S1

10

HS1 С2

S2

16

HS2 C2

S3

25

HS3 C2

S4

32

HS4 C3

S5

32

HS5 C3

S6

40

HS6 C3

S7

63

HS7 C3

С прижимной планкой (Р)

P3

25

HP3 U

P4

32

HP3 U

P5

32

HP5 U

P6

40

НР6 U

P7

63

HP7 U

Колпачковый (М)

M0

6

HM0 U

M1

10

НМ1 U

M2

16

НМ2 U

M3

25

НМ3 U

M4

32

HM4 U

M5

32

HM5 W

M6

40

НМ6 W

M7

63

НМ7 W

Особое внимание при выборе формы и размеров нагревательного элемента следует обращать на то, чтобы свободная длина и диаметр высокоомного провода и подводящих проводников соответствовали испытуемым зажимам с точки зрения напряженности тока и тепловыделения в условиях нормальной эксплуатации, когда в данном соединении использован проводник с номинальным сечением, а проходящий ток составляет максимально возможное значение.

L8.4. Подготовка нагревательного элемента

L8.4.1. К концам подводящих проводов длиной 120 мм прикрепляют обжимные трубки (черт. L2). При этом скрутка подводящего провода не должна нарушиться, а из трубок не должны выступать отдельные проволочки.

L8.4.2. Затем трубки на подводящих проводниках спрессовывают с помощью соответствующего инструмента; эти концы называют «холодными».

L8.4.3. С помощью подходящего пробойника в трубке на другом конце по центру делают отверстие для свободного ввода высокоомного провода.

L8.4.4. Концы высокоомного провода вводят в полученные отверстия. L8.4.5. Трубки обжимают таким образом, чтобы их сжатые концы находились в одной плоскости, чтобы трубки были спрессованы по всей длине и чтобы были выдержаны размеры а и Ь (табл. L3).

L8.4.6. Спрессованные соединения высокоомного провода с подводящими медными проводами пропаивают, при этом допускается использование флюса. Все место опрессовки со стороны высокоомного провода должно быть хорошо пропаяно; при этом высокоомный провод на длине Lh (см. черт. L2) должен быть свободен от припоя, и припой не должен проникнуть в подводящий проводник, находящийся вне трубки, так как это может повлиять на гибкость и теплопроводность подводящих проводов. Рекомендуемое приспособление для пайки показано на черт. L4.

Приспособление для пайки

Черт. L4

L8.4.7. Затем нагревательному элементу придают соответствующую форму (черт. L5; табл. L3).

Высокоомным проводам диаметром до 1,2 мм необходимая форма может быть придана в холодном состоянии, свыше 1,2 мм - в нагретом, для предотвращения возникновения трещин.

U-образную форму придают после разогрева провода докрасна путем пропускания по нему тока или с помощью газовой горелки.

При изготовлении нагревателя в форме U или W необходимо следить за тем, чтобы узкие концы обжатых трубок находились в одной плоскости и чтобы высокоомная проволока не скручивалась.

Затем готовый нагревательный элемент раскаляют докрасна и выдерживают в раскаленном состоянии в течение 10 мин для образования на поверхности защитной окисной пленки.

Форма и размеры испытательных нагревательных элементов

Черт. L5

ПРИЛОЖЕНИЕ М

Обязательное

ИСПЫТАНИЕ ИГОЛЬЧАТЫМ ПЛАМЕНЕМ

Испытание проводят по ГОСТ 27484 со следующими измененными разделами.

4. Аппаратура

Для проведения испытания используют газовую горелку, изготовленную из трубки длиной не менее 35 мм, внутренний диаметр которой равен (0,5 ± 0,1) мм, а наружный - не более 0,9 мм. Для испытаний допускается использовать медицинскую подкожную иглу с отсеченным концом.

В горелку подают газ бутан чистотой не менее 95 %. Поступление воздуха в горелку должно быть исключено. Допускается использование пропана. Однако эталонным газом является бутан.

Горелку крепят в вертикальном положении. Поступление газа регулируют так, чтобы высота пламени составляла (12 ± 1) мм.

Для оценки возможности распространения загорания, например при отделении от образца горящих или раскаленных частиц, элементы, расположенные в обычных условиях эксплуатации вокруг образца, размещают под ним на расстоянии, эквивалентном расстоянию между ними в условиях эксплуатации.

Если горящие или раскаленные частицы, отделяющиеся от образца, могут попасть наружу под прибор, при проведении испытаний используют белую сосновую доску толщиной около 10 мм, покрытую одним слоем папиросной бумаги; доску располагают на расстоянии (200 ± 5) мм ниже места на образце, которое подвергают воздействию пламенем. Если испытательный образец представляет собой прибор в сборе, то сам прибор в нормальном эксплуатационном положении размешают на или над сосновой доской, покрытой одним слоем папиросной бумаги. Перед началом испытания доску выдерживают в течение 24 ч при температуре от 15 до 35 °С и относительной влажности 45 %.

5. Параметры испытания

Продолжительность воздействия пламени на образец должна быть (30 ± 1) с.

8. Порядок проведения испытания

Требования безопасности

При проведении испытания необходимо обеспечить безопасность персонала от:

опасности взрыва или пожара;

отравления дымом и/или токсичными продуктами;

воздействия ядовитых веществ.

Испытание проводят в помещении, размеры которого обеспечивали бы наличие в нем атмосферы, практически свободной от тяги, но с существенным поступлением воздуха.

Образец располагают в наиболее невыгодном положении с точки зрения условий эксплуатации. Средства для закрепления образца не должны влиять на пламя горелки или на распространение пламени по образцу иначе, чем это возможно в обычных условиях эксплуатации.

При регулировании пламени горелки следует избегать тепловых воздействий на образец.

Пламя горелки прикладывают к той части образца, которая может быть подвержена воздействию огня, возникшего в результате неисправности или ненормальных условий эксплуатации.

В ходе проведения испытания пламенем горелки воздействуют таким образом, чтобы с поверхностью образца контактировал кончик пламени.

В процессе воздействия пламени смещение горелки недопустимо. По истечении установленного времени пламя горелки отводят от образца. В ходе проведения испытания допускается сгибать трубку горелки.

Испытание проводят на одном образце. Если образец не выдерживает испытание, то испытание повторяют на двух новых образцах, оба из которых должны выдержать испытание.

При наличии дополнительных указаний количество точек приложения пламени на образце может быть увеличено. При этом следует иметь в виду, что любое повреждение образца, вызванное предыдущими испытаниями, не должно влиять на результат последующего испытания.

10. Оценка результатов испытания

Считают, что образец выдержал испытание, если:

образец не воспламенился;

пламя, горящие или раскаленные частицы, отделившиеся от образца при испытании, не способствовали распространению загорания на окружающие элементы или на слой под образцом, а также, если по истечении времени приложения пламени к образцу отсутствовало его свечение или открытое пламя;

продолжительность горения не превышала 30 с;

степень повреждения образца, оговоренная заранее, не превышена.

Если при испытании используют слой папиросной бумаги, не должно быть возгорания этой бумаги или прогорания сосновой доски; незначительное изменение цвета доски во внимание не принимают.

ПРИЛОЖЕНИЕ N

Обязательное

ИСПЫТАНИЕ НА ОБРАЗОВАНИЕ ТОКОПРОВОДЯЩИХ МОСТИКОВ

N1. Термины и определения

N1.1. Трекинг - прогрессирующее образование токопроводящих мостиков, которые появляются на поверхности твердого электроизоляционного материала в результате комбинированных воздействий электрического напряжения и электролитического загрязнения его поверхности.

N1.2. Электролитическая эрозия - разъедание электроизоляционного материала под действием электрических разрядов.

N1.3. Сравнительный индекс трекингостойкости (СИТ) - значение максимального напряжения в вольтах, при котором материал выдерживает 50 капель без образования токопроводящих мостиков.

Примечание. Значение СИТ должно быть кратно 25.

N1.4. Контрольный индекс трекингостойкости (КИТ) - значение контрольного напряжения в вольтах, при котором материал выдерживает 50 капель без образования токопроводящих мостиков.

N2. Испытательный образец

На образце можно использовать любой плоский участок с достаточной поверхностью, чтобы во время испытания жидкость не могла стекать с краев образца. Рекомендуются плоские участки размерами не менее 15 х 15 мм.

Примечания:

1. В отдельных случаях для получения плоских поверхностей можно производить шлифование: однако такая операция должна быть отмечена в протоколе испытаний.

2. СИТ, полученные на образцах толщиной меньше 3 мм, могут быть несравнимыми; например, если образцы установлены на металлической или стеклянной опоре, получается разное рассеяние тепла, что влияет на значение СИТ. Поэтому, если толщина образца меньше 3 мм, два или несколько образцов складывают в стопку.

3. Если расположение электродов на поверхности образца оказывает влияние на результат испытания, оно отмечается в протоколе испытаний. Следует использовать расположение, дающее наименьший СИТ.

4. Испытание следует проводить на участках, не имеющих царапин. Результаты, полученные на участке с царапинами, отмечают вместе с описанием поверхности образца.

Царапины на поверхности увеличивают разброс результатов испытаний. Если направление тока совпадает с направлением царапин, разрушение возможно при более низком напряжении (или меньшем количестве капель), чем в случае, когда направление тока не совпадает с направлением царапин.

N3. Кондиционирование

Поверхность образца должна быть чистой, без пыли, грязи, следов пальцев, смазки, пресс-формы, масла и т.п. загрязнителей, которые могут повлиять на результаты испытаний. Необходимо соблюдать осторожность при очистке образца, чтобы устранить набухание, размягчение, повреждение поверхности или другие нарушения материала. Кондиционирование и методика очистки должны быть указаны в протоколе испытаний.

N4. Испытательная аппаратура

N4.1. Электроды

Два платиновых электрода с прямоугольным поперечным сечением 5x2 мм, один конец срезан под углом 30° (черт. N1). Срезанный край должен быть слегка закруглен.

Электроды должны быть установлены симметрично в вертикальной плоскости, угол между ними равен 60°. Поверхности срезов электродов должны быть вертикальными и удалены друг от друга по плоской горизонтальной поверхности образца на (4,0 ± 0,1) мм (черт. N1). Нажимное усилие каждого электрода на поверхность образца должно составлять (1,0 ± 0,5) Н.

Схема испытательной установки представлена на черт. N2.

N4.2. Испытательная цепь

К электродам следует прикладывать синусоидальное напряжение частотой от 48 до 60 Гц. Мощность источника питания должна быть не менее 0,5 кВ×А. Схема цепи питания приведена на черт. N3.

Схема установки электродов

Черт. N1

Переменное сопротивление позволяет устанавливать ток между короткозамкнутыми электродами (1,0 ± 0,1) А, напряжение на вольтметре при этом не должно снижаться более чем на 10 %.

Защитное реле в испытательной схеме должно срабатывать, когда ток 0,5 А и более протекает в течение 2 с.

N4.3. Капельница

Поверхность между электродами смачивают каплями испытательного раствора через интервалы (30 ± 5) с. Капли должны падать в середину расстояния между электродами с высоты от 30 до 40 мм. Капли должны иметь объем (20 ± 3) мм3. Перед каждым испытанием иглу или другое приспособление для подачи капель очищают и выпускают достаточное количество капель, чтобы обеспечить нормальную концентрацию испытательного раствора.

Схема установки для проверки стойкости к образованию токоведущих мостиков

1 - электрод; 2 - медный удлинитель; 3 - опора; 4 - конец капельницы; 5 - образец

Черт. N2

Схема цепи питания установки

1 - выключатель; 2 - источник переменного тока на 100 - 600 В; 3 - защитное реле; 4 - переменный резистор; 5 - электроды; 6 - образец

Черт. N3

Примечания:

1. Когда испытательный раствор остается на игле после испытания, испарение повышает концентрацию. Выпускание от 5 до 20 капель в зависимости от промежутка времени между испытаниями обычно позволяет удалить любую жидкость с повышенной концентрацией.

2. Для установления размера капель необходимо, чтобы в 1 см3 жидкости было не менее 44 и не более 50 капель. Размер капель периодически проверяют.

3. В качестве капельницы можно использовать иглу от шприца наружным диаметром от 0,9 до 1,1 мм со срезанным под прямым углом концом.

N4.4. Испытательный раствор

Раствор А: (0,100 ± 0,002) % по массе хлорида аммония (NH4Cl) в дистиллированной или деионизованной воде.

Удельное сопротивление при (23 ± 1) °С составляет (395 ± 5) Ом×см.

N5. Методика

N5.1. Общие требования

Испытание проводят в месте, защищенном от сквозняков, при окружающей температуре (23 ± 5) °С. Загрязнение электродов может повлиять на результаты испытаний, поэтому их следует очищать перед каждым испытанием.

Испытуемые образцы устанавливают на металлической или стеклянной подставке таким образом, чтобы испытуемая поверхность была горизонтальной, а нажимное усилие скошенных концов обоих электродов на образец равно нормированной величине.

Расстояние между электродами проверяют; электроды должны иметь хороший контакт с образцом. Если края электродов подвергались эрозии, их следует восстановить. Напряжение и сопротивление регулируют таким образом, чтобы ток короткого замыкания был в установленных пределах. После этого капли электролита наносят на поверхность образца до тех пор, пока не произойдет замыкания в результате образования токоведущего мостика или пока не будет нанесено 50 капель.

Замыкание фиксируют в том случае, когда ток в 0,5 А или больше проходит по токоведущему мостику между электродами на поверхности образца не менее 2 с и, следовательно, приводит в действие защитное реле, или если образец загорается до срабатывания защитного реле.

Примечания:

1. Если на одном образце проводят несколько испытаний, необходимо принять меры к тому, чтобы места испытаний были достаточно удалены друг от друга и не загрязнялись бы брызгами соседних испытаний.

2. Если опора испытательного устройства (черт. N2) металлическая, она может быть включена в испытательную схему для фиксации замыкания, вызванного эрозией образца.

3. Так как во время испытания могут выделяться ядовитые или сильно пахнущие газы, рекомендуется предусмотреть меры для их безопасного удаления.

N5.2. Контрольное испытание на трекингостойкость

Испытание проводят при напряжении, указанном в п. 30.5 настоящего стандарта. Пять образцов должны выдержать 50 капель без закорачивания.

N5.3. Протокол испытаний

Протокол испытаний должен содержать следующую информацию:

1) описание испытуемого образца;

2) толщину образца;

3) характер поверхности:

подвергалась ли испытанию поверхность образца ранее, шлифовалась ли испытуемая поверхность;

является ли поверхность лакированной;

имеет ли поверхность царапины;

4) методики кондиционирования и очистки;

5) металл электрода, если используется не платина;

6) контрольный индекс трекингостойкости (КИТ):

например, «выдерживает при КИТ 175» или «выходит из строя при КИТ 250»;

7) если перечисление 6 не может быть заполнено вследствие возгорания образца, это отмечают в протоколе испытаний.

ПРИЛОЖЕНИЕ О

Обязательное

ЖЕСТКОСТЬ УСЛОВИЙ ЭКСПЛУАТАЦИИ ИЗОЛЯЦИОННЫХ МАТЕРИАЛОВ ОТНОСИТЕЛЬНО ОПАСНОСТИ ТРЕКИНГА

Степень жесткости условий эксплуатации изоляционных материалов относительно опасности трекинга зависит от скорости накопления любого проводящего осадка и от времени, в течение которого изоляция подвергается воздействию электрического напряжения.

Устанавливают следующие степени жесткости:

1) нормальные условия эксплуатации - условия, когда практически нет осаждения проводящего материала, а продолжительность воздействия электрического напряжения велика, или когда возможно незначительное осаждение проводящего материала, а продолжительность воздействия невелика.

Изоляционные материалы, используемые в большинстве бытовых электроприборов, обычно не подвержены осаждению проводящего материала.

В двигателях, испускающих собственную угольную пыль, или в выключателях, которые подвергаются осаждению проводящего материала, используемые изоляционные материалы при условии, что после испытаний на износостойкость они выдерживают испытание на электрическую прочность изоляции, рассматриваются как материалы, подверженные незначительному осаждению проводящего материала.

В нормальных условиях эксплуатации могут быть применены материалы, имеющие КИТ ниже 175;

2) жесткие условия эксплуатации - условия, когда возможно незначительное осаждение проводящего материала и продолжительность воздействия электрического напряжения велика, или когда возможно значительное осаждение проводящего материала, а продолжительность электрического воздействия невелика.

Изоляционные материалы, используемые в нагревательных приборах, в которых воздух из жилого помещения обдувает изоляцию (например, в тепловентиляторах), считают подверженными незначительному осаждению проводящего материала и воздействию электрического напряжения в течение длительного промежутка времени;

3) сверхжесткие условия эксплуатации - условия, при которых возможно осаждение большого количества проводящего материала и изоляция подвергается воздействию электрического напряжения в течение длительного промежутка времени, или осаждается очень большое количество проводящего материала, а время воздействия напряжения мало.

Примеры изоляционных материалов, работающих в сверхжестких условиях эксплуатации:

изоляция, используемая в тех частях холодильника, на которых осаждается конденсат или большое количество проводящего материала; холодильник подключается к сети на длительное время;

изоляции в стиральных или посудомоечных машинах, используемых в местах, подверженных загрязнению детергентом, а время воздействия электрического напряжения мало.

Время воздействия электрического напряжения между токоведущими частями различной полярности и между токоведущими и заземленными частями считается длительным в следующих случаях:

прибор предназначен для продолжительной работы;

на входе главных выключателей приборов, не предназначенных для непрерывной работы;

в приборах, оснащенных однополюсным выключателем или аналогичным устройством, и подключаемых к сети с помощью реверсивной или подобной ей вилки.

Если отсутствует однополюсный выключатель, то предполагается, что у приборов, не предназначенных для продолжительной работы, отключение от сети питания производится во всех полюсах с помощью выключателя в фиксированной проводке или с помощью вилки и что не возникает возможность продолжительного подвержения электрическому напряжению.

ПРИЛОЖЕНИЕ 1

Обязательное

ПРУЖИННОЕ УСТРОЙСТВО ДЛЯ ИСПЫТАНИЙ НА УДАР И ЕГО КАЛИБРОВКА

1. Конструкция калибрующего устройства

Основной частью устройства является маятник (черт. 1.1), к нижнему концу которого прикреплена стальная пружина (черт. 1.2). Пружина изготовлена из пружинной стали (в закалке нет необходимости) и жестко прикреплена к маятнику.

Калибрующее устройство в сборе представлено на черт. 1.3. Кроме рамы, основными частями устройства являются: подшипник 1, тормозящий указатель 2, спусковое основание 3 и спусковой механизм 4. Эти части в увеличенном масштабе показаны на черт. 1.4.

Для получения соответствующих характеристик торможения указателя между металлическими поверхностями подшипника помещают войлок, а рояльную струну изгибают так, чтобы сила, удерживающая войлок, была незначительной.

Маятник

1 - сталь; 2 - пружина

Черт. 1.1

Стальная пружина

Черт. 1.2

Калибрующее устройство

Черт. 1.3

Детали калибрующего устройства

Черт. 1.4

Так как спусковой механизм необходимо удалять при настройке калибрующего устройства, спусковой механизм крепится к основанию винтами.

2. Методика настройки калибрующего устройства

Настройку калибрующего устройства проводят с использованием отдельного ударного элемента 1, извлеченного из пружинного испытательного устройства, как показано на черт. 1.5.

Установка для настройки калибрующего устройства

Черт. 1.5

Ударный элемент подвешивают на четырех льняных нитях 2, закрепленных в точках, расположенных, в горизонтальной плоскости на 2000 мм выше точки соприкосновения пружины 3 и ударного элемента, когда последний находится в состоянии покоя. Ударный элемент отводят от пружины 3 и ударяют им о пружину. При этом точка соприкосновения ударного элемента с пружиной (в динамических условиях) не должна быть ниже точки соприкосновения ударного элемента с пружиной в положении покоя более чем на 1 мм. Точки подвеса затем поднимают на расстояние, равное расстоянию между обеими точками соприкосновения.

При отрегулированной системе подвески ось ударного элемента должна быть перпендикулярна к воспринимающей удар поверхности пружины, а сам ударный элемент в момент удара должен располагаться горизонтально.

Когда ударный элемент находится в положении покоя, калибрующее устройство располагают так, чтобы точка, в которую будет нанесен удар в процессе калибровки пружинного устройства, находилась точно по центру головки молотка (см. черт. 12 настоящего стандарта).

На черт. 1.5 изображен лишь маятник калибрующего устройства. Разница в 1 мм по вертикали приводит к погрешности настройки примерно 0,8 %.

Перед настройкой с калибрующего устройства снимают спусковой механизм.

Допускается применять другой способ подвески ударного элемента с использованием двух льняных нитей. Чтобы при этом способе подвески ось ударного элемента была перпендикулярна к поверхности пружины маятника, система подвески должна быть отрегулирована так, чтобы ударный элемент после удара о пружину перемещался по тому же самому пути, что и перед ударом. Кроме того, необходимо следить, чтобы нить, ближайшая к головке молотка, располагалась на достаточном расстоянии от конца ударного элемента, чтобы она не служила помехой для маятника и указателя.

Для получения достоверных результатов калибрующее устройство жестко прикрепляют к опоре, например к конструкционным частям здания.

Калибровку осуществляют, создавая энергию удара 1 Дж, которая достигается при высоте падения (408 ± 1) мм.

Высоту падения измеряют от центра тяжести ударного элемента; для удобства измерения могут быть использованы две стеклянные трубки 4 (черт. 1.5), соединенные между собой гибким шлангом. Одну стеклянную трубку закрепляют и снабжают шкалой 5.

Для удержания ударного элемента в верхнем положении может быть использована тонкая нить 6, которая при разрыве отпускает ударный элемент.

Для градуировки шкалы на шкальной пластине вычерчивают окружность с центром, совпадающим с точкой крепления маятника, а радиус должен быть таким, чтобы окружность касалась тормоза указателя. На этой окружности в точке, где тормоз указателя соприкасается с маятником, находящимся в состоянии покоя, отмечают нулевую точку (0 Дж - см. черт. 1.6).

Точку на шкале, соответствующую энергии удара 1 Дж, получают, отпуская ударный элемент с высоты (408 ± 1) мм для удара о пружину маятника. Операцию повторяют не менее 10 раз, и окончательно точку «1 Дж» получают по среднему показанию тормозного указателя.

Другие точки шкалы получают следующим образом. Через центр окружности и точку «0 Дж» проводят прямую линию. Ортогональная проекция точки «1 Дж» на эту прямую обозначена буквой Р. Промежуток между «0 Дж» и Р делят на 10 равных частей. Через каждую точку деления проводят перпендикуляры к прямой «0 Дж - Р». Точки пересечения перпендикуляров с окружностью соответствуют значениям энергии удара 0,1; 0,2; 0,3...0,9 Дж. Этот же принцип может быть использован для нанесения делений на шкалу за точкой «1 Дж».

3. Эксплуатация калибрующего устройства

Для получения достоверных результатов калибрующее устройство необходимо жестко прикрепить к опоре, например к конструкционным частям здания.

Пружинный прибор для испытаний на удар, который необходимо настроить, размещают на спусковом основании, а затем приводят три раза в действие при помощи спускового механизма калибрующего устройства: эту операцию не допускается проводить вручную.

После каждого срабатывания ударный элемент испытательного прибора разворачивают в другое положение. Среднее арифметическое трех значений энергии, полученных по шкале калибрующего устройства, принимают за фактическое значение энергии удара пружинного прибора.

Градуировка шкалы

Черт. 1.6

ПРИЛОЖЕНИЕ 2*

Обязательное

* Дата введения приложения 2 - 01.01.92.

ДОПОЛНИТЕЛЬНЫЕ ТРЕБОВАНИЯ И МЕТОДЫ ИСПЫТАНИЙ УСТРОЙСТВ АВТОМАТИЧЕСКОГО УПРАВЛЕНИЯ

1. Контакты для постоянного тока с номинальным значением более 0,1 А, которые могут сработать от воздействия на них, должны быть спроектированы так, чтобы скорость сближения и рассоединения поверхностей контактов не зависела от скорости нанесения воздействия.

Соответствие требованию проверяют осмотром.

2. Контакты, предназначенные для полного отключения, и контакты для микроотключения, номинальный ток которых при постоянном токе не более 0,1 А, или если контакты отключают цепи переменного тока, или могут сработать от воздействия на них, должны быть спроектированы так, чтобы они оставались или только в полностью открытом, или полностью закрытом состоянии.

Соответствие требованиям проверяют осмотром. Для закрытого состояния должны соблюдаться требования по температуре, изложенные в табл. 2-1, а для открытого состояния - требования табл. 2-6. Если имеется какое-либо среднее положение воздействующего органа наряду с положением, указанным как положение полного отключения, то для этого среднего положения проводят испытания по табл. 2-6 и табл. 2-2, необходимые для положения полного отключения.

Таблица 2-1

Наименование частей прибора

Максимально допустимая температура, °С

Штыри приборных вводов и устройств с приборными вилками:

 

для очень горячих условий

155

для горячих условий

120

для холодных условий

65

Зажимы и соединения для наружных проводников1

85

Другие зажимы и соединения2

-

Резиновая и поливинилхлоридная изоляция проводников:

 

если подвержены изгибу или изгиб возможен

60

если изгиб невозможен

75

если в маркировке указана номинальная температура

В соответствии с маркировкой

Токоведущие части из меди или латуни

230

Токоведущие части из стали

400

Другие токоведущие части3

-

1 Для устройств, смонтированных на приборе или внутри прибора, устанавливают только температуру зажимов для фиксированных проводников, так как прибор не всегда поставляют с внешними проводниками. Для оборудования, не оснащенного зажимами для внешних фиксированных проводников, вместо температуры зажимов измеряют температуру изоляции внешнего провода.

2 Измеренное значение не должно быть более 85 °С, если изготовителем не заявлено более высокое значение температуры.

3 Максимально достигаемая температура не должна превышать значений, считающихся безопасными при эксплуатации этих материалов.

3. Указанные выше требования не распространяются на контакты, осмотр которых подтверждает, что они не могут работать под нагрузкой, или которые не предназначены для работы под нагрузкой; на контакты, которые в нормальных условиях эксплуатации не образуют электрической дуги.

Соответствие требованию проверяют осмотром и, при необходимости, следующим испытанием.

Напряжение постоянного тока, равное максимальному рабочему напряжению, подводят к контактам, к которым последовательно подключен резистор, сопротивление которого такое, что проходящий ток соответствует условиям нормальной эксплуатации. При медленном размыкании контактов не должно быть возможности поддержания электрической дуги.

4. При любом состоянии покоя рабочего органа контакты должны быть полностью замкнуты или разомкнуты в зависимости оттого, что предусмотрено, или находиться в таком положении, чтобы исключалась возможность возникновения любой опасности как внутри устройства, так и оборудования.

Таблица 2-2

ПУТИ УТЕЧКИ ТОКА (П) И ВОЗДУШНЫЕ ЗАЗОРЫ (В)

Расстояния между контактами1

Значения расстояния, мм, для рабочих напряжений2, В

До 503 включ.

Св. 50 до 130 включ.

Св. 130 до 250 включ.

Св. 250

П

В

П

В

П

В

П

В

При полном отключении4:

 

 

 

 

 

 

 

 

чистое

3,0

3,0

3,0

3,0

3,0

3,0

3,0

3,0

нормальное

3,0

3,0

3,0

3,0

3,0

3,0

4,0

3,0

грязное

3,0

3,0

3,5

3,0

4,5

3,0

6,0

4,5

увлажненно-грязное5

-

-

-

-

-

-

-

-

1 Устройства для приборов класса II не должны использоваться в загрязненных или увлажненно-загрязненных местах, если нет дополнительной защиты, обеспечивающей для устройства, по крайней мере, нормальные условия эксплуатации.

2 Если рабочее напряжение через путь утечки или воздушный зазор меньше номинального напряжения самого устройства, то для испытаний рабочее напряжение принимают равным номинальному.

3 Указанные значения применяют к цепям, работающим при безопасном сверхнизком напряжении.

4 Если контактный орган выполнен из одного материала и спроектирован как фактически действующий, то контактный орган считают частью контакта.

5 Эти значения еще не установлены.

Соответствие требованию проверяют осмотром.

Примечание. Термин «состояние покоя рабочего органа» включает в себя установленное среднее положение рабочего органа и положение, настроенное потребителем.

5. Износостойкость

5.1. Общие требования

5.1.1. Устройства управления (регулирования, контроля), включая представленные вместе с оборудованием или встроенные в него, должны выдерживать механические, электрические и термические нагрузки, возможные при нормальной эксплуатации.

5.1.2. Устройства с принципом действия типа 2* должны работать так, чтобы все рабочие значения параметров, время или последовательность срабатывания не превышали допускаемых отклонений, заявленных в нормативно-технических документах. Для термопредохранителей см. подразд. 5.15.

* Принцип действия типа 2 - автоматическое действие, для которого в нормативно-технической документации изготовителем указаны производственные допуски и дрейф значений рабочих характеристик, времени срабатывания или последовательность операций (в отличие от принципа действия типа 1, для которого эти показатели не указаны в нормативно-технической документации); испытания проводят в соответствии с требованиями настоящего стандарта.

5.1.2.1. Соответствие требованиям пп. 5.1.1 и 5.1.2 проверяют испытаниями по п. 5.1.3 с учетом требований нормативно-технической документации (НТД) на конкретные виды устройств.

5.1.3. Последовательность и условия проведения испытаний

5.1.3.1. Последовательность испытаний должна быть следующей:

испытания на старение по подразд. 5.6 (только для принципов действия типов 1М или 2М**);

** Принцип действия типов 1М, 2М - действия, которые осуществляются после указанного в нормативно-технической документации (НТД) периода старения.

испытание на перенапряжение автоматического принципа действия* при ускорении, как указано в подразд. 5.7;

* Автоматический принцип действия - действие устройства, когда передача сигнала и срабатывание проводятся от первичного сигнала, который не является результатом воздействия на орган управления потребителем.

проверка автоматического принципа действия при ускорении в соответствии с подразд. 5.8;

проверка автоматического принципа действия при медленной скорости в соответствии с подразд. 5.9 (это испытание проводят только для автоматического принципа действия с замедленным срабатыванием или размыканием);

испытание на перенапряжение ручного принципа действия** при ускорении в соответствии с подразд. 5.10;

** Ручной принцип действия - действия ручного или автоматического устройства, когда передача от первичного сигнала и срабатывание осуществляются от первичного сигнала, который является результатом воздействия потребителя на орган управления.

проверка ручного принципа действия при медленной скорости в соответствии с подразд. 5.11;

то же, при ускорении в соответствии с подразд. 5.12 (только для принципа действия с более чем одним полюсом, и когда при работе меняется полярность);

проверка ручного принципа действия при ускорении в соответствии с подразд. 5.13.

5.1.3.2. Электрические, термические и механические условия испытаний должны соответствовать установленным в подразд. 5.2, 5.3 и 5.4. Общие требования приведены в подразд. 5.6 - 5.14. Частные требования приводят в НТД на конкретные устройства.

5.1.3.3. Методики испытания ручного принципа действия, являющегося частью автоматического принципа действия, приведены при описании проверок соответствующего автоматического принципа. Если же методика отсутствует, то следует использовать указания, приведенные в подразд. 5.10 - 5.13.

5.1.3.4. После всех испытаний образцы должны соответствовать требованиям подразд. 5.14, если в НТД на конкретное устройство нет других указаний.

5.2. Электрические условия испытаний

5.2.1. Все цепи устройства должны быть нагружены в соответствии с указаниями изготовителя в НТД. Цепи и контакты, которые не предназначены для нагружения извне, должны работать с проектной нагрузкой. Некоторые переключаемые контуры могут потребовать проведения испытаний каждой части, если это указано в НТД изготовителя, в частности, когда номинальные характеристики одной части контура зависят от тока, проходящего в другой части.

5.2.2. При проведении испытаний на перенапряжение используют значения электрических нагрузок, приведенные в табл. 2-3 при номинальном напряжении VR увеличивая затем напряжение до 1,15 VR для проведения испытании на перенапряжение в соответствии с подразд. 5.7 и 5.10.

Таблица 2-3

ЭЛЕКТРИЧЕСКИЕ УСЛОВИЯ ИСПЫТАНИЙ (ПРИ ИСПЫТАНИИ НА ПЕРЕНАПРЯЖЕНИЕ)

Тип цепи4

Действие

Цепь переменного тока

Цепь постоянного тока

Напряжение, В

Ток, А

Коэффициент мощности3 ± 0,05

Напряжение, В

Ток, А

Постоянная времени, мс, ± 1 мс

С большим сопротивлением

Соединение и разрыв

VR

IR

0,95

VR

VR

Неиндуктивная

С резистором или индуктивностью

Соединение

VR

6×Iх или IR, если арифметически больше

0,6

0,95

VR

2,5 Iх или IR, если арифметически больше

7,5

Разрыв

VR

Iх или IR, если арифметически больше

0,95

VR

Iх или IR, если арифметически больше

Неиндуктивная

С установленной специальной нагрузкой

Соединение или разрыв

VR

Определяют нагрузкой

VR

Определяют нагрузкой

 

20 мА-ная нагрузка

VR

20 мА

0,95

VR

20 мА

Неиндуктивная

 

С установленной нагрузкой двигателя

VR

В соответствии с НТД

VR

В соответствии с НТД

 

С нагрузкой, выполняющей вспомогательную функцию

Соединение1

VR

0,35

2

 

Разрыв

VR

0,95

 

1 Указанные действия выдерживают в течение от 50 до 100 мс, затем с помощью дополнительного выключателя нормально разрывают цепь. Если при любом испытании разрыв контактов происходит в течение 2 с после их замыкания, то условия, указанные для «соединения», применяют и для «разрыва».

2 Эти значения на стадии рассмотрения.

3 Резисторы и катушки индуктивности параллельно не соединяют, кроме случаев, когда использован индуктор с воздушным сердечником, тогда параллельно с ним подключают резистор, соответствующий примерно 1 % тока, проходящего через индуктор. Индукторы с железной катушкой используют при условии, что ток имеет заметно синусоидальную форму. При трехфазных испытаниях используют трехфазный индуктор.

4Термины и определения

Цепь с большим сопротивлением - цепь, имеющая коэффициент мощности не менее 0,95.

Примечание. Такие цепи могут быть использованы для создания индуктивной нагрузки при условии, что коэффициент мощности не менее 0,8, а индуктивная нагрузка не превышает 60 % номинального тока резистивной нагрузки. Такие цепи также допускается использовать для создания реактивной нагрузки при условии, что реактивный ток не превышает 5 % номинального тока резистора, а нагрузка не более 10 В×А.

Цепь с резистором или индуктивностью - цепь, создающая или резистивную, или индуктивную нагрузку, или сочетание обеих.

Примечания:

1. Примером такой цепи является цепь в тепловентиляторах, оборудованных нагревательным элементом и двигателем.

2. Цепи, предназначенные только для индуктивной нагрузки, могут быть отнесены к этому типу только в том случае, если указано, что активная нагрузка равна индуктивной; в противном случае их относят к цепи со специальной нагрузкой.

Цепи с декларированной специальной нагрузкой.

Примером таких цепей являются цепи для нагружения вольфрамовых нитей или флуоресцентных ламп, высокоиндуктивные нагрузки с коэффициентом мощности менее 0,6, мощные нагрузки и контакты, предназначенные для отключения нагрузки.

Цепи для тока менее 20 мА.

Примером такой цепи является цепь питания неоновых индикаторов и других сигнальных ламп.

Цепь с декларированной нагрузкой двигателя - цепь для двигателя переменного тока, характеристики которого установлены в НТД.

 

5.2.3. Допускается заменять испытание на перенапряжение испытанием на перегрузку в соответствии с указаниями табл. 2-4 и 2-5. Испытаниям на перегрузку одновременно подвергают только один контакт или ход; все другие контакты или ходы должны быть нагружены нормально.

5.2.3.1. Если проводят испытание на перегрузку, испытательное напряжение (VT) должно быть равно:

120 В - для устройств с номинальным напряжением от 110 до 120 В;

240 В                                   »                                                220      240 В;

277 В                                   »                                                254      277 В;

480 В                                   »                                                440      480 В;

600 В                                   »                                                550      600 В.

5.2.3.2. Если номинальное напряжение устройства не входит ни в один из указанных диапазонов, то испытания этих устройств проводят при их номинальном напряжении.

5.2.4. При использовании системы питания с заземленной нейтралью кожух следует подключать через 3-амперный корпусный предохранитель к защитному проводу контура; при использовании других систем кожух следует подключать через такой же предохранитель к полюсу, который легче всего отключается от земли.

5.2.5. Для принципов действия типов 1G или 2G* или других размыкающих нагрузку действий используют вспомогательные выключатели для того, чтобы убедиться, что при испытании произошло необходимое срабатывание.

* Принцип действия типов 1G, 2G - действие, при котором повторное включение под электрической нагрузкой не проводят.

5.3. Термические условия испытаний

5.3.1. Для частей устройств, кроме чувствительных к температуре элементов, должны соблюдаться следующие условия:

те части, которые доступны при установлении их в соответствии с указаниями изготовителя, должны находиться при нормальной комнатной температуре**;

** (20 ± 5) °С, а в случае сомнения в результатах испытаний (23 ± 2) °С.

Таблица 2-4

ЭЛЕКТРИЧЕСКИЕ УСЛОВИЯ ИСПЫТАНИЙ ПО ПОДРАЗД. 5.7 И 5.10 (ПРИ ИСПЫТАНИИ НА ПЕРЕГРУЗКУ)

Тип цепи

Действие

Переменный ток

Постоянный ток

Напряжение, В

Ток, А

Коэффициент мощности

Напряжение, В

Ток, А

С большим сопротивлением

Соединение и разрыв

VT

1,5 IR

1,0

VT

1,5 IR

Индуктивная (без двигателя)

VT

1,5 Ix

0,75 - 0,8

VT

1,5 Ix

С двигателем

VT

6 Im или по НТД

0,4 - 0,5 или по НТД

VT

10 Im или по НТД

С нагрузкой, выполняющей вспомогательную функцию

Соединение

1,1 VT,

0,35 максимум или по НТД

По НТД

Разрыв

1,1 VT,

или по НТД

Таблица 2-5

ЭЛЕКТРИЧЕСКИЕ УСЛОВИЯ ИСПЫТАНИЙ ПО ПОДРАЗД. 5.8, 5.9, 5.11, 5.12, 5.13 (ПРИ ИСПЫТАНИИ НА ПЕРЕГРУЗКУ)

Тип цепи

Действие

Переменный ток

Постоянный ток

Напряжение, В

Ток, А

Коэффициент мощности

Напряжение, В

Ток, А

С большим сопротивлением

Соединение и разрыв

VT

IR

1,0

VT

IR

Индуктивная (без двигателя)

VT

Ix

0,75 - 0,8

VT

Ix

С двигателем

VT

Im или определяется нагрузкой, указанной в НТД

0,75 - 0,8 или по НТД

VT

Im

С нагрузкой, выполняющей вспомогательную функцию

Соединение

VT

0,35 максимум или по НТД

По НТД

Разрыв

VT

или по НТД

Обозначения, принятые в табл. 2-3 - 2-5:

VR - номинальное напряжение;

VT - испытательное напряжение (п. 5.2.3.1);

Im - номинальный ток двигателя;

IR - номинальный ток резистора;

Ix - номинальный ток индуктора;

монтажная поверхность устройства должна находиться в диапазоне температур от Tsmax* до (Tsmax + 5) °С или 1,05 Tsmax в зависимости от того, что больше;

* Значение Tsmax (предельно допустимая температура монтажной поверхности) берут из НТД изготовителя.

остальная часть выключающей головки должна находиться в диапазоне температур от Ттах** до тах + 5) °С или 1,05 Ттах в зависимости от того, что больше. Если Tmin менее 0 °С, то проводят дополнительные испытания при температуре от Тmin** до (Tmin - 5) °С.

** Ттах и Тmin - максимальная и минимальная температура среды, окружающей устройство в приборе. Определяют в соответствии с указаниями табл. 3 настоящего стандарта.

5.3.2. При испытаниях по подразд. 5.8 и 5.13 температурные условия по п. 5.3.1 применяют во второй половине каждого испытания. В первой половине каждого испытания выключающие головки находятся при нормальной комнатной температуре.

Если необходимо проводить испытание при Ттах и Тmin, то требуются дополнительные образцы.

5.4. Ручные и механические условия испытаний

5.4.1. Для всех принципов ручного действия каждый цикл должен состоять из такого перемещения органа управления, при котором устройство последовательно занимает все положения, соответствующие этому состоянию органа управления, и возвращается в исходную позицию, за исключением тех случаев, когда в устройстве предусмотрено несколько положений ВЫКЛ; в этих случаях каждое ручное воздействие на орган управления должно приводить к перемещению из одного положения ВЫКЛ в другое.

5.4.2. Скорость перемещения органа управления должна быть:

при испытаниях низкой скоростью

(9 ± 1)° в 1 с - для вращательного действия;

(5 ± 0,5) мм/с - для линейного перемещения;

при испытаниях высокой скоростью

на орган управления воздействуют вручную как можно быстрее. Если орган управления в этом случае не произведет подключение устройства, то испытатель должен подобрать и провести такое действие, которое дало бы возможность проверки устройства;

при испытаниях ускорением

(45 ± 5)° в 1 с - для вращательного действия;

(25 ± 2,5) мм/с - для линейного перемещения.

5.4.3. При проведении испытаний низкой скоростью по п. 5.4.2 необходимо следить за тем, чтобы испытательное приспособление воздействовало на орган управления непосредственно, и не было значительного возвратного действия между приспособлением и органом управления.

5.4.4. При испытании ускорением по п. 5.4.2 необходимо следить, чтобы испытательное приспособление не препятствовало перемещению органа управления, во избежание нарушения нормальной работы механизма.

Для устройств, у которых перемещение рабочего органа ограничено:

при каждом изменении направления должна быть пауза не менее 2 с;

крутящий момент (для вращающихся устройств) или сила (для невращающихся) должны прикладываться в конце каждого движения, чтобы убедиться в прочности ограничительного упора. Крутящий момент должен в 5 раз превышать нормально прикладываемый для перемещения или составлять 1,0 Н×м в зависимости от того, что меньше, но не менее 0,2 Н×м. Сила должна в 5 раз превышать нормально прикладываемую или составлять 45 Н в зависимости оттого, что меньше, но не менее 9 Н. Если нормально прикладываемый момент превышает 1 Н×м, а сила - 45 Н, то момент или сила при оценке прочности упора должны быть равны нормальным значениям.

Для устройств с вращательным действием, у которых отсутствует ограничение движения в обоих направлениях, 3/4 количества циклов при каждом испытании проводят при вращении по часовой стрелке, остальные - против.

Для устройств, которые спроектированы для перемещения только в одну сторону, испытания проводят в указанном направлении при условии, что невозможен поворот органа управления в обратном направлении при приложении указанных крутящих моментов.

5.4.5. Дополнительную смазку при испытаниях не применяют.

5.5. Требования к электрической прочности

5.5.1. После испытаний на износостойкость проводят испытание на электрическую прочность в соответствии с приведенной ниже табл. 2-6.

Таблица 2-6

Изоляция или разъединение, подвергаемое испытанию5, 9

Испытательное напряжение для рабочих напряжений10, В

До 50 включ.

Св. 50 до 130 включ.

Св. 130 до 250 включ.

Св. 250 до 440 включ.

Св. 440

Рабочая изоляция11

500

1000

1250

1250

2000

Основная изоляция3, 6

500

1000

1250

2000

2500

Дополнительная изоляция3, 6, 7

-

1500

2750

2750

3000

Усиленная изоляция3, 6, 7, 8

5001

2500

3750

3750

5000

Через полное отключение4

500

1000

1500

2000

2500

Через микроотключения4

120

260

500

880

1320

Через микропрерыватель2

-

-

-

-

-

1 Не применяют для класса III.

2 К микропрерывателям не прикладывают никаких напряжений. Их считают соответствующими требованиям, если они прошли испытания на дрейф и производственные отклонения, стрессовые состояния окружающей среды и износостойкость, т.е. для устройств с микроразъединителями в одном положении и микропрерывателями в другом испытания на электрическую прочность в этих положениях не проводят.

3 При испытаниях основной, дополнительной и усиленной изоляций все токоведущие части соединяют вместе, а максимально возможное количество контактов должно быть в замкнутом состоянии.

4 При этих испытаниях контакты размыкают ручным или автоматическим действием и проводят испытание, когда разомкнется возможно, большее число контактов; этим проверяют, что контакты разомкнулись, как положено, а изоляция удовлетворительна.

Для термочувствительных устройств может возникнуть необходимость использования специальных образцов, настроенных на размыкание при температуре от 15 до 25 °С, для того, чтобы убедиться, что испытание проведено при комнатной температуре.

5 Ряд специальных комплектующих, которые могут помешать проведению испытания, например электронные части, неоновые лампы, катушки, обмотки, должны быть отсоединены от одного полюса или соответствующим образом соединены мостом с испытуемой изоляцией. Конденсаторы должны быть шунтированы, исключая испытания рабочей изоляции, когда отключают один полюс. Когда это невыполнимо практически, то считают достаточными испытания на дрейф и производственные отклонения, стрессовые состояния окружающей среды и износостойкость.

6 Любой металл, контактирующий с доступной частью, также считают доступной частью.

7 При испытании дополнительной и усиленной изоляций размеры фольги должны быть такими, чтобы подвергалась испытанию и заливочная масса, при ее наличии.

8 Для устройств, имеющих как усиленную, так и двойную изоляцию, нужно следить, чтобы напряжение, прикладываемое к усиленной изоляции, не перегрузило основную и дополнительную части двойной изоляции.

9 Для устройств классов I и 0I и для устройств любого класса, предназначенных для приборов класса I, следует выдерживать соответствующий зазор между металлической фольгой и доступными металлическими частями во избежание перегрузки изоляции между токоведущими и заземленными металлическими частями.

10 Высоковольтный трансформатор, используемый при испытаниях, должен быть спроектирован так, чтобы при замкнутых накоротко выходных зажимах после настройки выходного напряжения на необходимое значение выходной ток составлял 200 мА. Реле максимального тока не должно срабатывать при токе менее 100 мА. Эффективное значение испытательного напряжения измеряют с точностью ± 3 %.

Допускается снижать значения испытательного напряжения до 75 %, указанных в табл. 2-6.

11 Рабочая изоляция - изоляция между токоведущими частями, потенциал которых различен, и которая необходима для нормальной работы устройства или оснащенного им оборудования.

Примечание. Иногда эта изоляция называется «функциональной».

5.6. Испытание на старение

5.6.1. При испытании чувствительных элементов должны выдерживаться следующие значения воздействий.

Для термочувствительных устройств повышение или понижение температуры чувствительного элемента до температуры, которая отличается от измеренной температуры срабатывания на (5 ± 1) °С, должно осуществляться так, чтобы контакты замкнулись.

Для других чувствительных устройств чувствительный элемент должен выдерживаться в таких условиях, чтобы контакты находились в замкнутом положении, но эти условия были как можно более приближены к точке срабатывания устройства при практическом применении.

Другие части должны выдерживаться в условиях, указанных в подразд. 5.2 для состояния размыкания. Продолжительность испытания (100 ± 0,02у), где у - период старения, указанный в НТД. Этому испытанию подвергают устройства с принципом действия типа 1М или 2М.

5.6.2. Если при проведении испытания в устройстве сработал проверяемый принцип действия, то воздействие уменьшают или увеличивают, чтобы произошло обратное размыкание, затем воздействие приводят к значению, отличающемуся на величину х от первоначального значения, чтобы восстановить ход испытания. Эту процедуру можно повторять столько раз, сколько необходимо, чтобы завершить испытание, или до тех пор, пока при повторении процедуры не будет превышено допустимое отклонение, указанное в НТД. Значения величины х приводят в НТД на конкретное устройство.

5.7. Испытание автоматического принципа действия на сверхнапряжение (или перегрузку) при ускорении

5.7.1. Электрические условия испытаний - по подразд. 5.2.

5.7.2. Термические условия испытаний - по подразд. 5.3.

5.7.3. Методику и скорость срабатывания выбирают следующим образом.

Для принципа действия типа 1 методика и скорость должны быть согласованы между испытателем и изготовителем при условии, что это заметно не повлияет на безопасность, срок службы или цель выполняемой устройством функции.

Для принципа действия типа 2 методика испытаний вытекает из проекта устройства. Для действия типа 2, основанного на чувствительности, скорость срабатывания может быть увеличена или до максимальной частоты циклов, установленной в НТД, или ограничена значениями a2 и b2, указанными в НТД (где a2 - максимальная скорость подъема, b2 - максимальная скорость опускания).

Примечание. Примером такой методики может быть замена капилляра гидравлической системы с пневматическим устройством или замена первичного двигателя с различными скоростями.

5.7.4. Для действия типа 2, основанного на принципе чувствительности, переход к каждой операции должен проводиться в пределах, указанных в НТД.

5.7.5. Допускается в случаях, основанных на принципе чувствительности, увеличивать скорость воздействия или для других действий типа 1 перегружать первичный двигатель между операциями, если это значительно не повлияет на результат.

5.7.6. Количество автоматических циклов при испытании должно составлять 1/10 от общего количества, указанного в НТД, или должно быть равно 200 в зависимости от того, что меньше.

5.7.7. В процессе испытаний рабочие органы должны находиться в наиболее неблагоприятном положении.

Примечание. При проведении испытаний на перегрузку количество циклов должно быть равно 50.

5.8. Испытание автоматического принципа действия при ускорении

5.8.1. Электрические условия испытаний - по подразд. 5.2.

5.8.2. Термические условия испытаний - по подразд. 5.3.

5.8.3. Методику и скорость срабатывания выбирают в соответствии с указаниями п. 5.7.3.

5.8.4. Количество автоматических циклов (исключая те случаи, которые приведены ниже для устройств медленного замыкания или разрыва) должно соответствовать указанному в НТД минус количество циклов, проведенных при испытании по подразд. 5.7. При испытании рабочий орган располагают в наиболее неблагоприятном положении. Повреждение любого компонента части, работающей по принципу действия типа 1, которое является незначительным с точки зрения настоящего испытания и, которое произошло во время испытания, вероятно из-за ускорения испытания, во внимание не принимают, если его можно исправить или заменить, или если испытание можно продолжить до достижения указанного количества циклов.

5.8.4.1. Для медленно замыкающих или разрывающих цепь автоматических действий при, испытании проводят только 75 % общего количества циклов, указанных в п. 5.8.4. Остальные 25 % циклов проводят в соответствии с подразд. 5.9.

5.9. Испытание автоматического принципа действия при низкой скорости

5.9.1. Медленно замыкающие или размыкающие цепь автоматические действия проверяют в течение 25 % общего числа циклов, оставшихся после проведения испытаний по подразд. 5.8.

5.9.2. Электрические и термические условия испытаний - по подразд. 5.2 и 5.3 соответственно.

5.9.3. Методика испытаний заключается или в существенном изменении величины воздействия на чувствительный элемент или в использовании первичного двигателя. Для чувствительных устройств скорости изменения величины воздействия определяются значениями a1 и b1*, указанными в НТД. Для таких устройств допускается повышать скорость воздействия, для других устройств - перегружать первичный двигатель между операциями при условии, что это не оказывает влияния на результаты испытаний. Для чувствительных устройств переход от одной операции к другой должен осуществляться в пределах, установленных в НТД. Во время указанной проверки принципа действия типа 2 необходимо непрерывно наблюдать за ходом испытания, чтобы можно было зафиксировать рабочие значения, отклонения или последовательность срабатывания.

* a1 и b1 - максимально допустимое повышение или понижение скорости соответственно.

5.9.3.1. Такие же наблюдения рекомендуется проводить и при испытании других устройств, чтобы обеспечить определенную последовательность испытаний.

5.9.4. Если только одно из автоматических действий (или замыкание, или размыкание) осуществляется медленно, то, при согласии между испытателем и изготовителем, допускается ускорить остальные действия, к которым применимы положения подразд. 5.8.

5.10. Испытание на перенапряжение (или перегрузку) ручного принципа действия при ускорении

5.10.1. Электрические условия испытаний - по подразд. 5.2.

5.10.2. Термические условия испытаний - по подразд. 5.3.

5.10.3. Методика испытаний - по подразд. 5.4; количество циклов должно быть равно 1/10 от указанного в НТД или должно быть равно 100 в зависимости от того, что меньше. В процессе испытания чувствительные элементы должны удерживаться в нужном положении подобранными величинами воздействия, а первичный двигатель должен быть настроен так, чтобы гарантировать, что воздействие произведет соответствующую операцию.

5.10.4. При проведении испытаний на перегрузку количество циклов должно быть равно 50.

5.11. Испытание ручного принципа действия при низкой скорости

5.11.1. Электрические условия испытаний - по подразд. 5.2.

5.11.2. Термические условия испытаний - по подразд. 5.3.

5.11.3. Методика - по подразд. 5.4.

5.11.4. Количество циклов воздействия должно быть равно 1/10 от указанного в НТД или должно быть равно 100 в зависимости от того, что меньше. В процессе испытания чувствительные элементы должны удерживаться в нужном положении подобранными величинами воздействия, а первичный двигатель должен быть настроен так, чтобы гарантировать, что воздействие произведет соответствующую операцию.

5.12. Испытание ручного принципа действия при высокой скорости

Примечание. Этому испытанию подвергают только принцип действия с более чем одним полюсом, и когда при работе меняется полярность.

5.12.1. Электрические условия испытаний - по подразд. 5.2.

5.12.2. Термические условия испытаний - по подразд. 5.3.

5.12.3. Методика - по подразд. 5.4.

5.12.4. Количество циклов воздействия - 100. В процессе испытания должны выполняться требования к удержанию чувствительных элементов по п. 5.10.3.

5.12.5. При проведении испытания на перегрузку количество циклов должно быть равно 50.

5.13. Испытание ручного принципа действия при ускорении

5.13.1. Электрические условия испытаний - по подразд. 5.2.

5.13.2. Термические условия испытаний - по подразд. 5.3.

5.13.3. Методика - по подразд. 5.4.

5.13.4. Количество циклов воздействия должно быть равно указанному в НТД минус количество циклов, которое уже проведено при испытаниях по подразд. 5.10, 5.11, 5.12. В процессе испытания должны выполняться требования к удержанию чувствительных элементов по п. 5.10.3.

5.13.5. Если в процессе испытаний произошел отказ любого компонента из части, работающей по принципу действия типа 1, то решение принимают в соответствии с указаниями п. 5.8.4.

5.14. Оценка соответствия

После проведения всех испытаний по подразд. 5.6 - 5.13 устройство считают соответствующим требованиям, если устройство осуществляет все надлежащие автоматические и ручные функции, указанные в НТД, в соответствии с требованиями настоящего стандарта, выполняется требование по температуре (см. табл. 2-1 в части зажимов, токоведущих частей и поддерживающих поверхностей);

выполняются требования подразд. 5.5;

для принципа действия типа 2 повторяют испытания по определению дрейфа и производственных допусков;

при этом значения рабочих характеристик, рабочего времени или последовательности проведения операций должны быть в пределах допускаемых отклонений или производственного допуска в зависимости от того, что указано в НТД;

еще возможно отключение цепи, указанное для каждого ручного действия;

нет явного повреждения между токоведущими частями и заземленным металлом, доступными металлическими частями или рабочими органами.

5.15. Термозвенья*

* Термозвено - термовыключатель, который после каждого срабатывания требует частичной или полной замены.

5.15.1. Термозвенья испытывают по настоящей методике последовательно для каждого термозвена; при этом, если указано, проводят замену частей.

Примечание. Требования подразд. 5.3, 5.4 и 5.6 - 5.14 к термозвеньям не применимы.

5.15.2. Испытание по определению соответствия заявленного изготовителем отклонения температуры срабатывания термозвена

5.15.2.1. Шесть образцов электрически нагружают при VRmax и IRmax (или Ixmax, если значение этой величины больше), а другие шесть образцов - при VRmax и IRmin (или Ixmin если значение этой величины меньше). Затем для термочувствительного элемента температуру повышают со скоростью a1 (минимальная заявленная скорость) от температуры, которая на 10 °С ниже рабочей температуры, до температуры срабатывания. Отмечают температуру срабатывания каждого термозвена.

Примечание. Допускается проводить предварительные испытания при более высокой скорости изменения температуры, чтобы приблизительно определить температуру срабатывания.

5.15.2.2. Термозвенья с принципом действия типа 1 считают соответствующими требованию, если они нормально срабатывают.

5.15.2.3. Термозвенья с принципом действия типа 2 считают соответствующими требованиям, если они нормально срабатывают, а разница между двумя температурами срабатывания, полученными при тех же электрических нагрузках, не превышает указанных изготовителем отклонений.

5.15.2.4. После того, как контакты сработали при VRmax, соответствие отключенного состояния требованиям проверяют испытательным напряжением по табл. 2-6.

5.15.3. Испытание на старение

5.15.3.1. Шесть термозвеньев предварительно испытывают при VRmax и IRmax, затем заменяют их заменяемые части и нагружают по п. 5.15.2. Термочувствительный элемент выдерживают в течение (100 + 2у/100) ч (где у - период старения, указанный в НТД) при температуре, которая на (5 + 1) °С ниже самой низкой температуры срабатывания, отмеченной при испытании по п. 5.15.2, при тех же электрических условиях.

5.15.3.2. Если любое звено сработало, отмечают температуру срабатывания и заменяют во всех шести образцах заменяемые части. Испытание начинают сначала, но температура термочувствительного элемента должна быть на (10 + 1) °С ниже самой низкой температуры срабатывания, отмеченной при испытаниях по п. 5.15.2, при тех же электрических условиях.

Примечание. Ступенчатое понижение температуры на 5 °С и замену частей проводят столько раз, сколько необходимо, пока все шесть образцов не выдержат весь испытательный период без срабатывания.

5.15.3.3. Термозвенья считают выдержавшими испытания, если:

все термозвенья соответствующим образом выдержали весь испытательный период;

для термозвеньев с принципом действия типа 2 разница между двумя температурами срабатывания, отмеченными при одинаковых электрических нагрузках при испытании по пп. 5.15.2, 5.15.3, не превышает установленного значения.

5.15.4. Проверка изменения температуры после испытания на старение

5.15.4.1. Шесть образцов, выдержавших испытание на старение по п. 5.15.3 охлаждают до комнатной температуры.

Три образца нагружают VRmax и IRmax (или Ixmax, если значение этой величины больше), а три других - VRmax и IRmin (или Ixmin, если значение этой величины меньше). Затем у всех образцов температуру термочувствительного элемента повышают до тех пор, пока каждое звено не сработает, и записывают температуру срабатывания каждого образца.

Примечание. Этому испытанию подвергают устройства с принципом действия типа 1М или 2М.

5.15.4.2. На последних 10 °С перед срабатыванием скорость изменения температуры должна быть равна a.

5.15.4.3. Термозвенья считают соответствующими требованиям, если:

для термозвеньев с принципом действия типа 2 разница между двумя температурами срабатывания, определенными при одинаковых электрических условиях при испытаниях по пп. 5.15.2 - 5.15.4, не превышает установленного значения;

после испытаний термозвенья соответствуют требованиям подразд. 5.5;

нет очевидного повреждения заземления, перемежающегося или иного.

ПРИЛОЖЕНИЕ 2. (Введено дополнительно, Изм. № 1).

ИНФОРМАЦИОННЫЕ ДАННЫЕ

1. ВНЕСЕН Министерством машиностроения для легкой и пищевой промышленности и бытовых приборов СССР

2. Постановлением Государственного комитета СССР по стандартам от 25.12.87 № 5039 введен в действие государственный стандарт СССР ГОСТ 27570.0-87, в качестве которого непосредственно применен международный стандарт Международной электротехнической комиссии МЭК 335-1-76, с 01.07.88

3. Стандарт полностью соответствует СТ СЭВ 1110-86

4. ССЫЛОЧНЫЕ НОРМАТИВНО-ТЕХНИЧЕСКИЕ ДОКУМЕНТЫ

Обозначение НТД, на который дана ссылка

Номер пункта, приложения

ГОСТ 8.417-81

7.6

ГОСТ 12.2.006-87

В11.8, В19.101, В19.103, В22.101

ГОСТ 2746-90

24.1

ГОСТ 7396.0-89

24.4, 24.5

ГОСТ 7399-97

22.21, 23.4, 23.5, 25.6, 25.8, 35.9

ГОСТ 8865-93

11.8

ГОСТ 25030-81

26.1, 27.2

ГОСТ 25516-82

24.1

ГОСТ 27483-87

Приложение К

ГОСТ 27484-87

Приложение М

СТ СЭВ 783-77

24.1

СТ СЭВ 2184-80

2.2.9

СТ СЭВ 2185-80

24.4, 24.5

5. ИЗДАНИЕ (март 2002 г.) с Изменением № 1, утвержденным в апреле 1990 г. (ИУС 7-90)

СОДЕРЖАНИЕ

1. Область распространения. 1

2. Термины и определения. 1

3. Общие требования. 6

4. Общие условия испытаний. 6

5. Номинальные величины.. 8

6. Классификация. 8

7. Маркировка. 8

8. Защита от поражения электрическим током.. 13

9. Пуск приборов с электроприводом.. 15

10. Потребляемая мощность и ток. 16

11. Нагрев. 17

12. Работа в условиях перегрузки приборов с нагревательными элементами. 22

13. Электрическая изоляция и ток утечки при рабочей температуре. 23

14. Подавление радио- и телепомех. 25

15. Влагоемкость. 25

16. Сопротивление изоляции и электрическая прочность. 28

17. Защита от перегрузки. 30

18. Износостойкость. 30

19. Ненормальная работа. 31

20. Устойчивость и механическая опасность. 35

21. Механическая прочность. 36

22. Конструкция. 37

23. Внутренняя проводка. 43

24. Комплектующие изделия. 44

25. Присоединение к источнику питания и внешние гибкие кабели и шнуры.. 47

26. Зажимы для внешних проводов. 53

27. Заземление. 57

28. Винты и соединения. 58

29. Пути утечки тока, воздушные зазоры и расстояния по изоляции. 60

30. Теплостойкость, огнестойкость и стойкость к образованию токоведущих мостиков. 62

31. Стойкость к коррозии. 64

32. Радиация, токсичность и подобные опасности. 64

Приложение А Терморегулирующие устройства и реле перегрузки. 70

Приложение В Электронные цепи. 71

Приложение С Конструкция защитных разделительных трансформаторов. 75

Приложение D Варианты требований для двигателей с защитными устройствами. 76

Приложение Е Измерение путей утечки тока и воздушных зазоров. 77

Приложение F Двигатели, не изолированные от питающей сети и имеющие основную изоляцию, которая не рассчитана на номинальное напряжение прибора. 79

Приложение G Схема цепи для измерения тока утечки. 80

Приложение Н Порядок проведения испытаний по разд. 30 настоящего стандарта. 82

Приложение I Испытание горением.. 83

Приложение К Испытание раскаленной проволокой. 85

Приложение L Испытание дефектных соединений с помощью нагревателей. 85

Приложение М Испытание игольчатым пламенем.. 92

Приложение N Испытание на образование токопроводящих мостиков. 93

Приложение О Жесткость условий эксплуатации изоляционных материалов относительно опасности трекинга. 96

Приложение 1 Пружинное устройство для испытаний на удар и его калибровка. 97

Приложение 2 Дополнительные требования и методы испытаний устройств автоматического управления. 100

 

 




ГОСТЫ, СТРОИТЕЛЬНЫЕ и ТЕХНИЧЕСКИЕ НОРМАТИВЫ.
Некоммерческая онлайн система, содержащая все Российские Госты, национальные Стандарты и нормативы.
В Системе содержится более 150000 файлов нормативно-технической документации, действующей на территории РФ.
Система предназначена для широкого круга инженерно-технических специалистов.

Рейтинг@Mail.ru Яндекс цитирования

Copyright © www.gostrf.com, 2008 - 2026