Крупнейшая бесплатная информационно-справочная система онлайн доступа к полному собранию технических нормативно-правовых актов РФ. Огромная база технических нормативов (более 150 тысяч документов) и полное собрание национальных стандартов, аутентичное официальной базе Госстандарта. GOSTRF.com - это более 1 Терабайта бесплатной технической информации для всех пользователей интернета. Все электронные копии представленных здесь документов могут распространяться без каких-либо ограничений. Поощряется распространение информации с этого сайта на любых других ресурсах. Каждый человек имеет право на неограниченный доступ к этим документам! Каждый человек имеет право на знание требований, изложенных в данных нормативно-правовых актах!

  


 

РУКОВОДЯЩИЙ ТЕХНИЧЕСКИЙ МАТЕРИАЛ

РУКОВОДСТВО ПО ПРОЕКТИРОВАНИЮ
И ПРОИЗВОДСТВУ ВЗРЫВНЫХ РАБОТ
ПРИ РЕКОНСТРУКЦИИ
ПРОМЫШЛЕННЫХ ПРЕДПРИЯТИЙ
И ГРАЖДАНСКИХ СООРУЖЕНИЙ

РТМ 36.9-88

МИНИСТЕРСТВО МОНТАЖНЫХ И СПЕЦИАЛЬНЫХ
СТРОИТЕЛЬНЫХ РАБОТ СССР

Москва 1988

РАЗРАБОТАН ордена Трудового Красного Знамени трестом Союзвзрывпром Минмонтажспецстроя СССР (кандидаты техн. наук И. З. Дроговейко, М. И. Ганопольский, Н. И. Смолий).

УТВЕРЖДЕН Минмонтажспецстроем СССР 19 августа 1988 г.

РУКОВОДЯЩИЙ ТЕХНИЧЕСКИЙ МАТЕРИАЛ

РУКОВОДСТВО ПО ПРОЕКТИРОВАНИЮ И ПРОИЗВОДСТВУ ВЗРЫВНЫХ РАБОТ ПРИ РЕКОНСТРУКЦИИ ПРОМЫШЛЕННЫХ ПРЕДПРИЯТИЙ И ГРАЖДАНСКИХ СООРУЖЕНИЙ

РТМ 36.9-88

Введен впервые

Срок введения установлен с 1 сентября 1988 г.

Настоящий руководящий технический материал устанавливает требования к проектированию и производству специальных взрывных работ при реконструкции промышленных предприятий и гражданских сооружений. Он обязателен для организаций Минмонтажспецстроя СССР, ведущих проектирование и производство буровзрывных работ в стесненных условиях на дневной поверхности.

Руководство составлено на основании «Технических правил ведения взрывных работ на дневной поверхности», «Нормативного справочника по буровзрывным работам», «Инструкции по производству взрывных работ с защитными укрытиями» и в соответствии с требованиями «Единых правил безопасности при взрывных работах» и руководящих материалов по производству буровзрывных работ.

1. ОБЩИЕ ПОЛОЖЕНИЯ

1.1. Специальные взрывные работы при реконструкции предприятий ведутся, как правило, в сложных стесненных условиях действующего производства. Поэтому их выполнение возможно лишь при комплексной увязке технологии с безопасностью работ. Для обеспечения полной сохранности охраняемых объектов необходимо проектировать и применять безопасную технологию производства буровзрывных работ, которая включает в себя выбор рациональных и эффективных параметров буровзрывных работ и технологии их производства, прогноз воздействия сейсмических и ударных воздушных волн взрывов и дальности разлета кусков взорванных конструкций, разработку мероприятий по снижению вредных эффектов взрывов и их локализации. Взрывные работы следует выполнять в строгом соответствии с проектом производства работ (ППР).

1.2. При реконструкции промышленных предприятий и гражданских сооружений взрывные работы применяют: для дробления бетонного заполнителя и разделки на блоки фундаментов; при обрушении отслуживших свой срок зданий, кирпичных и железобетонных дымовых труб, водонапорных башен, градирен; для резки металлоконструкций; при создании проемов в стенах и перекрытиях зданий и сооружений и др.

1.3. При производстве взрывных работ во время реконструкции различных объектов наибольшее применение получил метод шпуровых зарядов. Метод скважинных зарядов имеет ограниченное применение. Это обусловлено обычно малой мощностью разрушаемых конструкций, требованиями к их высокой степени дробления для последующей уборки, а также во многих случаях невозможностью использовать буровые станки для бурения скважин из-за стесненных условий.

1.4. Чтобы ускорить разборку фундаментов и других конструкций их делят с помощью взрыва на транспортабельные блоки. Для резки конструкций на блоки применяют шпуровые заряды.

1.5. Последовательность выполнения работ по разрушению конструкций определяет график производства работ. Подготовка и проведение взрывных работ включают: остановку производства, демонтаж технологического оборудования, освобождение подходов к месту производства взрывных работ; отделение фундаментов от колонн, окопку фундаментов, отсечку обрушаемых частей зданий от сохраняемых конструкций; разметку мест бурения шпуров и их бурение; изготовление укрытия мест взрыва; доставку ВМ к месту работы; расстановку постов оцепления, вывод людей, не связанных с производством взрывных работ, за пределы опасной зоны; заряжание и забойку шпуров, монтаж сети ДШ; укрытие места взрыва; монтаж КЭДШ, подсоединение электродетонаторов (капсюлей-детонаторов) к сети ДШ, взрывание; осмотр места взрыва; уборку взорванных конструкций.

2. ДРОБЛЕНИЕ БЕТОННЫХ И ЖЕЛЕЗОБЕТОННЫХ ФУНДАМЕНТОВ И КОНСТРУКЦИЙ

2.1. Дробление фундаментов выполняют, как правило, методом шпуровых зарядов сразу на всю высоту при их мощности не более 2 м или послойно.

При разрушении фундамента на всю его высоту, чтобы ограничить действие взрыва за проектную отметку, длину шпуров принимают меньше высоты фундамента на 4 - 5 диаметров заряда. При послойном разрушении фундамента длину шпуров принимают равной толщине разрушаемого слоя, кроме последнего слоя, в котором длину шпура принимают меньше толщины разрушаемого слоя на 4 - 5 диаметров заряда.

При дроблении фундаментов горизонтальными шпурами расстояние между основанием фундамента и нижним рядом шпуров должно быть не менее 0,2 м.

2.2. Массу заряда в шпуре определяют по формуле

                                                       (1)

где Q - масса заряда, кг; K - расчетный удельный расход ВВ, кг/м3. Для кирпича, бетона без арматуры и бута K равняется 0,3 - 0,5, для железобетона - 0,5 - 0,7; W - ЛНС (расстояние от оси шпура до края фундамента), м.

При W > 1 м массу заряда в шпуре определяют по формуле

                                                          (2)

2.3. Значение ЛНС принимают в пределах 0,5 - 0,7 длины шпура. При дроблении фундаментов высотой более 1 м, а также если W составляет менее половины длины шпура, заряд в шпуре следует рассредоточить, рассчитывая каждую часть заряда на свою ЛНС. Расстояние между центрами зарядов, рассредоточенных в одном шпуре, следует принимать равным расстоянию между шпурами, кроме верхнего промежутка, который может быть короче остальных вследствие уменьшения массы верхнего заряда. Промежутки между зарядами можно оставлять свободными от забойки (воздушный промежуток) или заполнять забоечным материалом. Верхняя свободная от заряда часть шпура должна быть обязательно заполнена забоечным материалом (рис. 1).

Рис. 1. Конструкция шпуровых зарядов при взрывании фундаментов разной мощности:

а - мощность взрываемого слоя более 1 м; б - то же до 1 м.

Расстояние между шпуровыми зарядами в ряду принимается в пределах (1,0 - 1,5) W, а между рядами зарядов (0,85 - 1,0) W.

2.4. При разделении фундаментов или других конструкций на транспортабельные блоки шпуры располагают по линии реза в один - два ряда. Массу заряда в шпуре рассчитывают по формулам (1), (2), а расстояние между шпурами в ряду и между рядами шпуров принимают в пределах (0,6 - 0,8) W.

2.5. При частичном разрушении фундаментов требуется отделить разрушаемую часть от сохраняемой. Для этого используют контурное взрывание по методу предварительного щелеобразования. При контурном взрывании сплошную щель на всю высоту разрушаемого слоя образуют взрывом рассредоточенных зарядов малого диаметра в сближенных шпурах. При этом диаметр заряда должен быть в 2 - 3 раза меньше диаметра шпура. При взрывании фундаментов в качестве ВВ контурных шпуров используют ДШ, который прокладывают в каждом шпуре в 2 - 4 нити. Плотность заряжания составляет 0,036 - 0,48 кг/м. Расстояние между шпурами определяют по формуле

                                                       (3)

где а - расстояние между шпурами, м; d - диаметр заряда, м; Kз - коэффициент зажима. При контурной отбойке Kз = 1,0; Ky - коэффициент геологических условий. При взрывании фундаментов Ky = 1,0.

Взрывание контурных шпуров следует проводить до взрывания основных зарядов. Допускается короткозамедленное взрывание основных зарядов по отношению к контурным с замедлением не менее 50 мс.

2.6. Если необходимо сохранить часть фундамента, лежащего ниже разрушаемого слоя, между нижней частью заряда ВВ и охраняемой частью фундамента устраивают охранный целик. Мощность охранного целика составляет до 10 диаметров заряда. Доработку целика до проектной отметки производят пневматическими отбойными молотками.

2.7. Для разрушения бетонных и железобетонных (с малой насыщенностью арматурой) фундаментов может быть применен гидровзрывной способ. В качестве заряда ВВ используют нити ДШ. Длину нитей ДШ принимают равной 0,65 - 0,75 длины шпура.

В нижней части шпура размещают заряд водоустойчивого ВВ массой 0,05 - 0,1 кг. Свободное пространство в шпуре заполняют водой, верхний уровень которой должен находиться на 10 см ниже устья шпура (рис. 2).

Рис. 2. Конструкция заряда при гидровзрывном способе разрушения фундаментов:

1 - вода в шпуре; 2 - нити ДШ; 3 - дополнительный заряд ВВ.

Параметры БВР устанавливают на основании опытных взрывов. Для определения параметров опытных взрывов при гидровзрывании можно воспользоваться эмпирической формулой

                                      (4)

где Q - масса заряда (ВВ - в кг; ДШ - в м); W - ЛНС, м; K - расчетный удельный расход ВВ, кг/м3, для бетона K равняется 0,4 кг/м3; lшп - длина шпура, м.

Первое слагаемое формулы определяет массу заряда ВВ на дне шпура, второе - число нитей ДШ в шпуре.

2.8. При разделении тонкостенных частей железобетонных фундаментов, плит, стен или других конструкций на блоки можно использовать удлиненные накладные заряды, которые размещают по линии реза. Массу накладных зарядов определяют по формуле

                                                      (5)

где A - коэффициент, зависящий от свойств разрушаемого материала. Принимают по табл. 1; B - коэффициент забивки. При взрывании без забивки В = 9,0, при слое забивки не менее толщины разрушаемой конструкции B = 6,5 для железобетона и 5,0 для кирпича и бетона; R - толщина разрушаемой конструкции, м; l - длина заряда, м.

При длине заряда, равной двум и более толщинам перебиваемой конструкции, масса накладного заряда может быть уменьшена вдвое.

2.9. Для обрезания железобетонных свай и других конструкций можно использовать шнуровые кумулятивные заряды (ШКЗ). При этом необходимо оголить арматуру и обеспечить плотный контакт ШКЗ с арматурой. Марку ШКЗ выбирают в соответствии с толщиной перерезаемой арматуры. При кольцевом расположении ШКЗ вокруг сваи и плотном контакте заряда с арматурой и бетоном сваи обеспечивается не только перерезание арматуры, но и полное обрезание сваи.

Таблица 1

Наименование материала

Значение А

Примечание

Кирпичная кладка на известковом растворе:

 

 

слабая

0,75

 

прочная

1,00

 

Кирпичная кладка на цементном растворе

1,20

 

Кладка из естественного камня на цементном растворе

1,40

 

Бетон:

 

 

строительный

1,50

 

фортификационный

1,80

 

Железобетон:

 

 

для выбивания бетона

5,00

Арматура не перебивается

для выбивания бетона с частичным перебиванием арматуры

20,00

Перебиваются ближайшие к зарядам прутья арматуры

3. ОБРУШЕНИЕ ЗДАНИЙ И СООРУЖЕНИЙ

3.1. Здания и сооружения обрушивают на свое основание или в заданном направлении.

При обрушении зданий и сооружений на свое основание взрывным способом образуют подбой по всему периметру наружных стен и других несущих конструкций. Высота сквозного подбоя должна быть не менее половины толщины стены.

3.2. Для образования подбоя шпуровые заряды располагают в два - три ряда в шахматном порядке.

Заряд следует размешать так, чтобы его центр совпадал с серединой стены. В этом случае длину шпура определяют по формуле

                                                        (6)

где lшп - длина шпура, м;

C - толщина стены, м;

lзар - длина заряда, м.

Расстояние между шпурами в ряду принимают равным (1,0 - 1,4) W, между рядами зарядов (1,3 - 1,6) W. Крайние шпуры бурят на расстоянии W от краев стен или простенков.

3.3. Принцип направленного обрушения сооружений заключается в образовании сквозного подбоя (вруба) в несущих опорах со стороны направления валки при сохранении опоры (целика) с противоположной стороны. В результате создания опрокидывающего момента обеспечивается падение сооружения в заданном направлении (рис. 3).

Более точная направленность обрушения обеспечивается в том случае, когда целик испытывает меньшее напряжение на сжатие и ограничен большей по длине хордой АВ. Этому требованию для круглых труб отвечает целик в секторе с центральным углом ρ, равным 135 - 140° (по периметру 1,2 Д).

3.4. Глубину вруба (расстояние от оси условного шарнира до края горизонтального сечения вруба) определяют по формуле

                                                    (7)

где Lвр - глубина вруба, м;

D - диаметр основания обрушаемой конструкции, м;

ρ - центральный угол целика, град.

Рис. 3. Условие опрокидывания трубы в заданном направлении.

Угол вруба β (см. рис. 3) определяется минимально необходимым углом наклона сооружения a, при котором проекция центра тяжести сооружения на плоскость горизонтального сечения на уровне вруба выйдет за контур сечения (т.е. будет обеспечено условие опрокидывания сооружения).

Угол a определяют из формул:

                                                            (8)

                                                       (9)

                                           (10)

где Hc - высота центра тяжести сооружения, м; hn - высота горизонтального сечения вруба на уровне условного шарнира, м; b - расстояние между осями условного шарнира и сооружения, м:

                                                       (11)

Угол вруба должен равняться углу наклона или превышать его.

Необходимую высоту вруба определяют по формуле

                                                     (12)

где Hвр - высота вруба, м.

3.5. При направленном обрушении форму вруба принимают прямоугольной (при расположении зарядов в два ряда) или трапециевидной формы. В последнем случае нижние два ряда зарядов принимают одинаковой длины, остальные - короче в соответствии с принятым углом вруба.

3.6. Для создания подбоя или образования вруба используют шпуровые и накладные заряды. Массу заряда в шпуре определяют согласно п. 2.2. ЛНС принимают равной половине толщины стены. Значение расчетного удельного расхода ВВ принимают для кирпичной кладки 0,4 - 0,6 кг/м3, бетона 0,5 - 0,7 и железобетона 0,9 - 1,2 кг/м3. При взрывании железобетона принимают повышенный удельный расход ВВ, так как взрыв шпуровых зарядов должен не только раздробить бетон конструкции, но и выбить его из арматуры.

3.7. При обрушении тонкостенных конструкций (при толщине стенок до 0,2 м) для образования вруба можно использовать удлиненные накладные заряды, которые размещают по площади вруба рядами (рис. 4).

Рис. 4. Схема размещения удлиненных накладных зарядов по площади вруба:

1 - проектный контур вруба; 2 - заряды ВВ; 3 - ДШ; 4 - сквозные проемы.

Удлиненный наружный заряд в ряду формируют в виде группы отдельных удлиненных зарядов. Массу каждого отдельного удлиненного заряда принимают с таким расчетом, чтобы обеспечить полное выбивание бетона из арматуры в пределах вруба. Расчет массы удлиненного накладного заряда производят согласно п. 2.8. Длину каждого отдельного удлиненного заряда принимают в пределах

 м,                                                    (13)

расстояние между зарядами в ряду

 м,                                                   (14)

между рядами зарядов

 м,                                                   (15)

где h - толщина перебиваемой конструкции, м.

3.8. При обрушении тонкостенных сооружений с малым отношением высоты сооружения к его основанию, когда для обеспечения направленности необходимо образовать вруб большой высоты, целесообразно использовать комбинированную систему расположения зарядов. В нижней части вруба (на высоту 1,0 - 1,2 м) размещают удлиненные накладные заряды, а в верхней - шпуровые заряды. При такой комбинации зарядов значительно сокращается трудоемкость подготовительных операций, связанных с бурением шпуров в нижней части вруба (где должно располагаться до 70 % шпуровых зарядов), и, в то же время, можно обеспечить качественное укрытие накладных зарядов.

4. РАЗРУШЕНИЕ ЕМКОСТЕЙ ГИДРОВЗРЫВАНИЕМ

4.1. Конструкции коробчатой формы, различные резервуары и емкости (металлические и железобетонные) можно дробить на куски гидровзрывным способом. Для этого их до краев заполняют водой, а затем в центре разрушаемой конструкции под слоем воды помешают заряд и взрывают его (рис. 5).

Рис. 5. Размещение заряда при гидровзрывном способе разрушения емкостей:

1 - заряд ВВ; 2 - ДШ; 3 - трос; 4 - груз; 5 - вода.

4.2. Заряды для разрушения железобетонных резервуаров рассчитывают по формуле

                                         (16)

где Q - масса сосредоточенного заряда, размещаемого в центре взрываемой конструкции, кг; C - толщина стенок резервуара, м; sск - временное сопротивление на скалывание, кгс/м2, принимают по табл. 2; h - высота взрываемого пояса, равная глубине погружения заряда, м; sp - временное сопротивление на растяжение, кгс/м2, принимают по табл. 2; a - расстояние между арматурой вертикальных стержней, м; D - диаметр резервуара, м.

Таблица 2

Вид напряженного состояния

Значения σр и σск (кгс/м2) для марок бетона

50

75

100

150

200

300

400

500

600

Растяжение sр · 10-3

60

80

110

150

180

200

225

270

310

Скалывание sск · 10-3

120

160

220

300

370

440

500

600

700

4.3. При гидровзрывном способе разрушения емкостей заряды также можно располагать непосредственно на стенках обрушаемой конструкции. Заряд ВВ в этом случае формируют в виде гирлянды (линейного заряда), размещаемой по внутренней стене конструкции. Массу заряда определяют согласно п. 2.8 для случая выбивания бетона из арматуры (А = 5,0; B = 9,0) с уменьшением в полтора раза, если мощность слоя воды над зарядом составляет не менее трех толщин перебиваемых стен емкости.

4.4. При использовании гидровзрывного способа для дробления металлических емкостей (изложницы, котлы, станины и др.) массу сосредоточенного заряда определяют по формуле

                                                          (17)

где Q - масса заряда, кг; K - расход ВВ на 1 м3 взрываемой конструкции, кг; V - объем взрываемого металла в конструкции, м3.

В зависимости от материала конструкции принимаются следующие значения коэффициента K, кг/м3: серый чугун 4,5 - 5,0; белый чугун 5,5 - 6,0; хрупкая каленая сталь 6,6 - 7,5; вязкая сталь 8,0 - 9,0.

Заряд ВВ должен быть опущен на 2/3 глубины воды в емкости.

5. ВЗРЫВАНИЕ МЕТАЛЛОКОНСТРУКЦИЙ

5.1. При взрывании металлоконструкций используют шпуровые, накладные и неконтактные заряды.

5.2. Шпуровые заряды, как правило, используют для дробления металлических изделий при толщине конструкции более 15 см. Шпуры диаметром 30 - 35 мм в металле бурят сверлами или прожигают кислородом (кислородное копье). Шпуры располагают по линии реза с шагом, равным 1 - 1,5 длины шпура, но не более 30 - 40 см один от другого. Длина шпура составляет 1/2 - 2/3 толщины взрываемой конструкции, для стали может доходить до 3/4 толщины. Длина заряда составляет 0,7 длины шпура, оставшуюся часть шпура забивают сухим песком или глиной.

5.3. Накладные заряды применяют для перебивания фасонных или составных конструкций, металлических листов и плит толщиной до 15 мм. Массу накладного заряда определяют по формуле

                                                          (18)

где Q - масса накладного заряда, кг;

Ks - расчетный коэффициент, кг/см2. Принимают по табл. 3;

S - площадь поперечного сечения перебиваемой конструкции, см2.

При перебивании фасонных и составных конструкций массу заряда определяют для каждой части отдельно.

Таблица 3

Материал

Ks, кг/см2

Сталь:

 

хрупкая, каленая

0,018 - 0,02

вязкая

0,022 - 0,025

Чугун:

 

белый

0,012 - 0,014

серый

0,015 - 0,017

5.4. Стальные трубы и пустотелые объекты дробят зарядами, располагаемыми по наружной поверхности труб на протяжении не менее 3/4 окружности. Площадь поперечного сечения перебиваемой конструкции в этом случае определяют по формуле

                                                            (19)

где D - внешний диаметр трубы, см; a - толщина стенки трубы, см.

5.5. Стальные стержни, тросы и другие металлоконструкции перебивают парными сосредоточенными зарядами, располагаемыми с двух противоположных сторон перебиваемого предмета со сдвигом одного по отношению к другому. Взрыв обоих зарядов производят одновременно. Массу каждого из зарядов принимают из расчета 0,05 кг на 1 см2 сечения при диаметре до 4 см и 0,1 кг - при диаметре более 4 см.

5.6. Для перебивания и пробивания стальных листов целесообразно применять кумулятивные заряды. Диаметр кумулятивной полости определяют по формуле

                                                           (20)

где dв - диаметр кумулятивной полости, м; h - толщина перебиваемого листа, м.

Наружный диаметр заряда (заряд изготовляют в форме полуцилиндра) определяется в соответствии с его массой, которую рассчитывают по формуле (18). Кумулятивную полость облицовывают жестью толщиной 0,5 - 2 мм.

5.7. Хорошие результаты при перерезании металлоконструкций дает использование шнуровых кумулятивных зарядов (ШКЗ) и удлиненных кумулятивных зарядов (УКЗ) фабричного изготовления. ШКЗ в зависимости от марки обеспечивают на воздухе разрезание преграды (Ст3) толщиной 4 - 25 мм (табл. 4).

Таблица 4

Марка заряда

Толщина разрезаемой преграды (Ст3), мм

Масса 1 м заряда, кг

Масса навески ВВ, в 1 м заряда, кг

ШКЗ-1

4

-

-

ШКЗ-2

7

-

-

ШКЗ-3

11

0,32

0,2

ШКЗ-4

15

0,43

0,27

ШКЗ-5

19

0,6

0,4

ШКЗ-6

25

-

-

Использование кумулятивных зарядов для резки металлоконструкций позволяет достаточно эффективно локализовать разлет кусков разрезаемого металла, так как он происходит только в направлении действия кумулятивной струи заряда.

5.8. Для ликвидации аварий в скважинах приходится выполнять работы по обрыву или ликвидации смятия обсадных труб. В этом случае обычно используют неконтактные заряды.

При торпедировании скважин для обрыва труб используют как штатные труборезы (например, кумулятивные), так и кустарно изготовленные. Для обрыва трубы массу заряда торпеды определяют по формуле

                                                     (21)

где Q - масса разрушающего заряда, кг; r - расстояние от заряда до стенки трубы, м; d - толщина разрушаемой стенки трубы, мм.

5.9. Для ликвидации смятия трубы взрывные работы, как правило, выполняют с использованием удлиненных цилиндрических зарядов, линейную плотность которых определяют по формуле

                                                      (22)

где j - линейная плотность заряда, кг/м.

Для достижения необходимого внутреннего диаметра обсадной трубы при необходимости выполняется повторное взрывание. При этой параметры второго и последующих зарядов корректируются на основании результатов предыдущих взрывов.

5.10. Для ликвидации прихвата труб обсадных колонн при бурении необходимо выполнить их встряхивание. При этом должна быть обеспечена целостность трубы. Предельно допустимую массу заряда (сосредоточенного и линейного) для этого случая определят по формулам

                                                    (23)

                                                      (24)

6. СЕЙСМИЧЕСКОЕ ДЕЙСТВИЕ ВЗРЫВОВ

6.1. Взрывное дробление среды сопровождается излучением упругих сейсмических волн. Многократное воздействие сейсмических нагрузок на охраняемые объекты может привести к трещинообразованию в элементах строительных конструкций и потере несущей способности последних.

6.2. При выборе безопасных режимов взрывания исходят из того, чтобы уровень сейсмического действия взрыва не превысил предельно допустимого (критического) значения, при этом основываются на существующих нормативных данных, фактическом состоянии охраняемых объектов, сроках их эксплуатации, степени ответственности и т.д.

Общепринятым критерием сейсмической опасности взрыва является скорость смещения грунта (или бетона) в основании охраняемого объекта.

Предельно допустимые значения скоростей колебаний грунта для наземных и подземных охраняемых объектов приведены в рекомендуемом приложении 1.

6.3. Для оценки сейсмобезопасных условий взрывания следует воспользоваться выражением для расчета скорости смещения грунта (бетона) у основания охраняемого объекта

                                                  (25)

где v - скорость смещения, см/с; K - коэффициент, характеризующий удельный сейсмический эффект. Его значение зависит от способа взрывания и физико-механических характеристик среды. Значение K варьирует в диапазоне 100 K 400 при среднем значении K = 250; a - коэффициент, учитывающий снижение интенсивности сейсмических волн с глубиной. В условиях взрывов при реконструкции действующих цехов коэффициент для заглубленных охраняемых объектов может быть принят равным 2, для наземных охраняемых объектов a = 1; ν - показатель затухания сейсмических волн с расстоянием. Для разных типов волн показатель затухания варьирует в пределах 1,5 - 2,0; D - коэффициент, зависящий от плотности заряжания шпура (скважины). Равен отношению фактической массы заряда к той массе заряда, которая была бы при полном заполнении шпура; B - степень экранизации. При взрывах без экрана B = 1; Qэ - эквивалентная масса мгновенно взрываемого заряда, кг.

6.4. В случае взрыва сосредоточенного заряда эквивалентная масса мгновенно взрываемого заряда равна массе этого заряда. Однако на практике, как правило, взрывают не отдельные сосредоточенные заряды, а группы зарядов, которые могут принимать самые разнообразные геометрические формы. В производственных условиях вопрос о том, является ли рассматриваемая группа зарядов сосредоточенным или рассредоточенным зарядом, зависит от удаления заряда или поля зарядов от той точки, в которой нас интересует сейсмический эффект. С геометрической точки зрения поле зарядов может рассматриваться как один сосредоточенный заряд, если выполняется условие

r >> L,                                                              (26)

где r - минимальное расстояние от заряда (поля зарядов) до точки наблюдения;

L - характерный размер одного несферического заряда или поля зарядов.

6.5. Геометрию заряда необходимо учитывать начиная с расстояния до заряда, определяемого выражением

                                                          (27)

Условие (27) определяет ближнюю зону действия взрыва с геометрических, позиций. Общепринятым критерием ближней зоны считается условие  которое характеризует характер сейсмического действия взрыва с позиций интенсивности взрывного эффекта. В случае ближней зоны показатель затухания в формуле (25) принимают равным 2.

6.6. Массу эквивалентного наряда для нескольких наиболее распространенных на практике геометрических форм зарядов определяют следующим образом:

цилиндрический заряд (рис. 6, a):

                                                        (28)

                                                       (29)

                                                     (30)

плоский заряд (см. рис. 6, б):

                                                     (31)

                                                      (32)

                                                      (33)

в форме параллелепипеда (см. рис. 6, в):

                                                      (34)

                                                      (35)

                                                      (36)

Рис. 6. Схема к расчету эквивалентного заряда:

а - цилиндрический заряд; б - плоский заряд; в - объемный заряд.

В формулах (28) - (36) je - линейная плотность заряда, кг/м (если цилиндрический заряд представляет собой ряд тесно расположенных одинаковых сосредоточенных зарядов, то je = Q/a, где Q - масса одиночного заряда, кг; a - расстояние между зарядами); js - поверхностная плотность заряда, кг/м2, js = je/a. Если заряд состоит из многих рядов скважинных зарядов, то объемная плотность jv = je/a · b, где a - расстояние между зарядами в ряду, м, b - расстояние между рядами, м.

7. РАСЧЕТ МОЩНОСТИ ЗАЩИТНОГО ЦЕЛИКА

7.1. Проблема оценки мощности защитного слоя (целика) возникает в случае необходимости сохранения части взрываемой конструкции или части скального массива. Например, в случае вырубки отверстий или снятия слоя фундамента с сохранением оставшейся части к качеству БВР предъявляются особые требования. Как правило, в этом случае необходимо исключить трещинообразование оставшейся части фундамента и, следовательно, при шпуровом методе необходимо оставлять защитный слой бетона, мощность которого определяется диаметром заряда, и, отчасти, типом взрывчатого вещества и конструкцией заряда.

7.2. За основу расчета мощности защитного целика берется формула (25). С помощью выражений (28) - (36) для заданной критической скорости vкр (обычно принимается равной 100 - 150 см/с) получены выражения для расчета мощности защитного целика rc, которые при взрывах зарядов с различной симметрией принимаются в соответствии с табл. 5.

Таблица 5

Заряд

Точка наблюдения (см. рис. 6)

Формула для расчета мощности целика

Сосредоточенный

 

Цилиндрический

А

- » -

Б

- » -

В

Плоский

А

- » -

Б

- » -

В

Примечание. je - линейная плотность заряда, js - поверхностная плотность заряда, определяемая как je/a (a - расстояние между цилиндрическими зарядами).

8. РАСЧЕТ СЕЙСМОБЕЗОПАСНОЙ ЗОНЫ ПРИ ВЗРЫВАНИИ ВБЛИЗИ ТРУБОПРОВОДОВ

8.1. Взрывы около заглубленных в грунт стальных труб (водопровод, канализация, нефте- и газопровод) часто производят на стройплощадках, при обрушении зданий, реконструкции и расширении промышленных предприятий, а также прокладке трубопроводов около ранее построенных трасс.

Экспериментально установлено, что при взрывах вблизи трубопроводов критерием опасности является удельная энергия волны, пропорциональная толщине стенки трубы. Для труб нефтяного сортамента энергия разрушения ep составляет 3·d МДж/м2 (d - толщина стенки трубы, см). При выборе безопасных значений удельной энергии учитываются условия работы трубопроводов и степень ответственности сооружения. Например, в случае нефте- и газопроводов, как правило, исключают остаточные деформации и поэтому предельно допустимое значение удельной энергии eд принимают равным 6000·d Дж/м2. Для менее ответственных трубопроводов предельно допустимая удельная энергия может быть принята на порядок большей, т.е. eд = 60000·d Дж/м2.

8.2. В случае объемных волн полную удельную энергию сейсмовзрывных волн (Дж/м2) определяют по формуле

                                                    (37)

Скорость смещения грунта в ближней зоне (объемные волны) определяют по формуле

                                                    (38)

С учетом (37) и (38) для предельно допустимого значения удельной энергии 6000 Дж/м2 радиус опасной зоны (м) при взрывах вблизи трубопроводов определяют по формуле

                                                     (39)

где Q - масса заряда, кг;

d - толщина стенки трубы, cм.

8.3. В дальней зоне взрыва максимальная энергия приходится на поверхностные сейсмические волны. Полная удельная энергия равна:

                                                      (40)

скорость смещения грунта равна:

                                                    (41)

После соответствующих преобразований имеем

                                                   (42)

9. РАСЧЕТ СЕЙСМОБЕЗОПАСНЫХ УСЛОВИЙ ВЗРЫВАНИЯ ПРИ ДРОБЛЕНИИ ФУНДАМЕНТОВ

9.1. Взрывное дробление фундаментов на действующих и реконструируемых предприятиях - наиболее характерный тип взрывных работ. Опыт подобных работ показал, что наиболее сложный вопрос во всей взрывной технологии - обеспечение безопасности от вредных эффектов взрыва (в частности, от сейсмического действия) в крайне стесненных условиях с высокой насыщенностью охраняемыми объектами, в том числе вблизи действующего технологического оборудования.

9.2. При взрывном дроблении фундаментов заряд взрывчатого вещества в отличие от взрывов в грунте существенно приподнят над дневной поверхностью. Это обуславливает существование двух типов волн, связанных с наличием двух источников излучения.

Первый источник - заряд ВВ, при взрыве которого излучается и распространяется по фундаменту до его основания волна напряжения.

Второй источник - штамповый эффект, т.е. смещение самого фундамента и связанное с этим излучение сейсмических поверхностных волн.

На практике результирующий сейсмический эффект будет определяться суммарным действием волн от двух источников.

9.3. Для определения скорости смещения грунта в основании охраняемых сооружений при взрывном дроблении фундаментов используют формулу (25) при К = 100 и ν = 1,5.

10. СЕЙСМОБЕЗОПАСНЫЕ УСЛОВИЯ ПРОИЗВОДСТВА РАБОТ ПРИ ВЗРЫВНОМ ОБРУШЕНИИ СООРУЖЕНИЙ

10.1. Сейсмический эффект при взрывном обрушении обусловлен двумя источниками: удар о грунт больших масс сооружений, обрушаемых с определенной высоты, и собственно взрыв.

10.2. Удар жесткого тела о грунт в сейсмическом отношении приравнивается к взрыву эквивалентного количества ВВ. При падении сосредоточенного груза на грунт излучается такая же сейсмическая волна, как и при взрыве сосредоточенного заглубленного заряда, химическая энергия которого равна энергии груза при ударе о грунт.

При вертикальном падении груза, например, коробки дома или башни, эквивалентную массу заряда определяют по формуле

                                                         (43)

где M - масса падающего груза, кг; H - вертикальное перемещение центра тяжести груза, ч.

Дальнейший расчет связан с определением скорости смещения по формуле (25) при K = 250 и ν = 1,5.

Показатель затухания в формуле (25) равен 1,5, хотя, как правило, эффект сейсмических волн в подобных случаях рассматривается в ближней зоне. Это связано с тем, что в рассматриваемом случае наибольшая энергия сейсмических волн приходится на поверхностную волну, затухание которой с расстоянием как раз определяется подобным показателем.

10.3. В случае обрушения сооружений с большой площадью, например, посадка здания на свое основание, при расчете скорости колебания грунта эквивалентную массу заряда определяют по формуле

                                                     (44)

где S - площадь обрушаемого сооружения, м2; определяется по формуле (43).

10.4. Чаще всего приходится выполнять оценку сейсмического эффекта при взрывном обрушении больших промышленных труб. Как правило, валку труб производят в непосредственной близости от зданий, коммуникаций и т.п.

Скорость смещения грунта на земной поверхности около участка конической трубы определяют по формуле

                                          (45)

где x - расстояние от центра основания трубы до этого участка, м (рис. 7);

r - расстояние от интересующей нас точки до ближайшего к ней участка трубы после падения, м (рис. 8).

Рис. 7. Основные параметры обрушаемой трубы.

Рис. 8. Схема к расчету сейсмического эффекта при взрывном обрушении трубы.

В формуле (45)

H - высота трубы, м;

r - плотность материала трубы, кг/м3;

 - размеры трубы, приведенные на рис. 7.

Формула (45) справедлива только для точек грунта, расположенных вблизи средней части упавшей трубы (здесь сейсмический эффект наибольший), т.е. при выполнении двух условий:

10.5. Вторым источником излучаемых сейсмических волн при обрушении сооружений является взрыв зарядов подбоя. Скорость колебаний грунта в этом случае определяют согласно п. 9.3.

10.6. При определении уровня интенсивности сейсмических волн в случае обрушения сооружений каждый раз необходимо выполнить оценку сейсмического эффекта по каждому из источников и при выборе безопасных режимов взрывания ориентироваться на максимальное значение. Пример расчета параметров зарядов и сейсмобезопасных условий взрывания при обрушении дымовой трубы приведен в справочном приложении 2.

11. СПОСОБЫ СНИЖЕНИЯ СЕЙСМИЧЕСКОГО ЭФФЕКТА ВЗРЫВА

11.1. Способы снижения сейсмического эффекта взрывов в стесненных условиях могут быть разделены на две основные группы: технологические способы и защитные (инженерные) мероприятия.

К первой группе относятся:

короткозамедленное взрывание;

уменьшение массы заряда;

изменение конструкции заряда и диаметра скважины;

оптимальная ориентация взрываемой группы зарядов относительно охраняемого объекта;

использование простейших типов ВВ.

Ко второй группе относятся:

использование сейсмических экранов;

окопка фундаментов.

11.2. Короткозамедленное взрывание

11.2.1. Сущность короткозамедленного взрывания (КЗВ) заключается в том, что весь взрываемый заряд делят на отдельные группы зарядов (ступени замедления), взрываемые последовательно с определенным интервалом замедления. На практике используют интервалы замедления 15 - 50 мс. При КЗВ число ступеней замедления не ограничивают, а массу заряда в одной группе определяют выражением

                                                       (46)

где Q - масса заряда при мгновенном взрывании, кг, определяют из формулы (25).

11.2.2. Формула (46) учитывает возможное наложение сейсмических волн от взрывов отдельных групп зарядов при малом интервале замедления. Теоретический анализ и опыт показывают, что в случае КЗВ число групп n должно быть не менее 5. При числе групп больше пяти в случае КЗВ скорость колебания массива определяют по формуле

                                                      (47)

11.3. Оптимальная ориентация взрываемой группы зарядов относительно охраняемого объекта

11.3.1. Снижение сейсмического воздействия и увеличение предельно допустимой массы взрываемого заряда могут быть достигнуты путем особого расположения взрываемого заряда относительно охраняемого объекта в комбинации с КЗВ.

11.3.2. При взрывании по предлагаемой схеме (рис. 9) шпуры (скважины) располагают рядами параллельно охраняемому объекту. Все поле зарядов разбивают на блоки, причем в блоках осуществляют поскважинное замедление зарядов. Заряды в блоках (на рис. 9 эти шпуры обозначены одинаковыми цифрами) взрывают одновременно в одной ступени замедления. Расстояние между одновременно взрываемыми шпурами в смежных блоках (или, что то же, ширина блока) определяют из условия

                                                           (48)

где a - расстояние между одновременно взрываемыми зарядами, м;

ro - расстояние от охраняемого объекта до ближайшего заряда, м;

m - коэффициент, зависящий от условий расположения охраняемого объекта относительно линии зарядов.

При m = 0,65 и одновременном взрыве десяти зарядов, расположенных на расстоянии друг от друга, равном 0,65 ro, скорость колебаний в точке А (рис. 10) увеличится на 10 % по сравнению со скоростью колебаний при взрыве только одного, ближайшего к точке А заряда. Такое увеличение скорости колебаний можно не учитывать, т.е. сейсмическое действие взрыва при a 0,65 ro будет определяться ближайшим к охраняемому объекту зарядом.

Рис. 9. Схема расположения зарядов:

1, 2, 3 ... 36 - очередность взрывания шпуров; I, II, III - блоки зарядов.

Рис. 10. Схема к расчету сейсмического эффекта при взрыве цепочки зарядов.

Для случая, когда охраняемый объект расположен параллельно цепочке зарядов, указанное условие будет выполняться при m 1,5.

11.3.3. На практике ряды шпуровых (скважинных) зарядов целесообразно располагать перпендикулярно охраняемому объекту. В этом случае суммарная скорость колебаний в точке А определяется выражением

                                      (49)

где Q1 - масса одиночного заряда, кг; ri - расстояние до i-го заряда, м;

                                                       (50)

Если задана критическая скорость колебания грунта, то сейсмобезопасную массу единичного заряда можно определить по формуле

                                                  (51)

где vкр - безопасная скорость колебания грунта в основании охраняемого объекта, см/с.

11.4. Использование простейших типов ВВ

11.4.1. Путем использования простейшего ВВ из аммиачной селитры и дизельного топлива можно существенно изменять интенсивность сейсмического эффекта. Это достигается изменением процентного содержания по массе ВВ дизельного топлива в зависимости от расстояния до охраняемого объекта. Удельный коэффициент сейсмичности в формуле (25) в зависимости от процентного содержания дизельного топлива меняется следующим образом:

                                                (52)

где a - процентное содержание дизельного топлива.

Указанная зависимость справедлива в диапазоне 0,25 % a 3 %.

11.4.2. При содержании дизельного топлива меньше 0,25 % отмечается неустойчивость детонации ВВ, а при содержании свыше 3 % указанное ВВ по сейсмической активности приближается к штатным ВВ, т.е. в этом случае исключается возможность регулирования уровня сейсмического эффекта.

11.4.3. Преимущество использования предлагаемого заряда ВВ в сейсмоопасной зоне связано также с тем, что дальность разлета осколков раздробленного материала уменьшается, а интенсивность излучаемых ударных воздушных волн снижается. В этом случае появляется возможность использования более дешевых легких укрытий (например, деревянных щитов).

11.5. Использование сейсмических экранов

11.5.1. Эффективным средством снижения сейсмического эффекта взрыва считается использование разного рода экранов, т.е. применение выемок или сред с отличными от взрываемого массива акустическими свойствами на пути распространения сейсмических волн.

При взрывной разборке строительной конструкции часто возникает необходимость в сохранении ее части, для этого используют особый тип экрана - щель предварительного откола. В этом случае сейсмический экран образуется в результате взрыва зарядов контурных шпуров (скважин), набуренных с определенным шагом. После взрыва этих зарядов образуется так называемая щель предварительного откола, чаще всего заполненная раздробленным взрывом материалом.

11.5.2. Эффективность экранирования или степень экранизации определяется выражением

                                                    (53)

где r - расстояние от рассматриваемой точки за экраном до взрываемого заряда, м, (рис. 11);

μ - коэффициент, учитывающий влияние отношения l/H на степень экранизации (l - глубина скважины, H - глубина экрана), принимают согласно табл. 6.

Таблица 6

l/H

0,3

0,6

0,8

1,2

1,4

1,6

μ

1,3

1,2

1,1

0,9

0,8

0,7

Рис. 11. Схема расположения заряда и щели предварительного откола:

1 - заряд ВВ; 2 - щель предварительного откола.

В формуле (53) большее значение постоянного коэффициента относится к взрывам в крепких скальных породах или в высокопрочных бетонах. В слабых известняках и песчаниках следует пользоваться меньшим значением постоянного коэффициента.

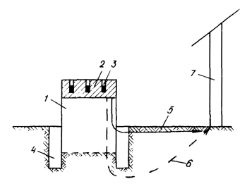
11.5.3. Окопка фундаментов рассматривается как наиболее простейший способ экранизирования (рис. 12). В первом приближении экранизация в рассматриваемом случае связана с тем, что волна, распространяясь в какой-либо точке за экраном, проходит больший путь, чем при отсутствии экрана. В этом случае выражение для степени экранизации будет иметь вид

                                                              (54)

где Dr - дополнительное расстояние, которое проходит самый короткий сейсмический луч при огибании траншеи, м.

Рис. 12. Схема окопки разрушаемого взрывом фундамента:

1 - фундамент; 2 - снимаемый взрывом слой; 3 - шпуровой заряд; 4 - траншея; 5 - луч распространяющейся сейсмической волны при отсутствии экрана; 6 - луч распространяющейся сейсмической волны при окопке фундамента; 7 - охраняемый объект.

11.5.4. Применительно к рис. 12 степень экранизации определяется выражением

                                             (55)

где h - глубина траншеи, м.

12. ДЕЙСТВИЕ УДАРНЫХ ВОЗДУШНЫХ ВОЛН ВЗРЫВОВ

12.1. Ударные воздушные волны (УВВ), возникающие при взрывах, могут представлять опасность для конструктивных элементов охраняемых объектов, в первую очередь для застекления зданий цехов, диспетчерских пунктов, щитов автоматики и т.д.

Повреждение конструктивных элементов сооружений под действием УВВ происходит при достижении на фронте волны критического уровня давления или удельного импульса в фазе сжатия. Наиболее слабым конструктивным элементом сооружений является застекление. В качестве допустимых значений для застекления приняты значения удельного импульса 2,5 Па·с и избыточного давления 500 Па.

12.2. Радиус опасной зоны по действию УВВ на застекление можно определить по формулам

при Q > 2 кг,                                             (56)

 при Q 2 кг,                                            (57)

где rв - радиус опасной зоны по действию УВВ, м;

Qэ - масса эквивалентного заряда, кг.

12.3. В зависимости от метода производства взрывных работ массу эквивалентного заряда рассчитывают по формулам:

при взрывах наружных зарядов

                                                          (58)

где Q - фактическая масса наружного заряда, кг;

KH - коэффициент засыпки наружного заряда. Его значение в зависимости от отношения высоты слоя засыпки hз к высоте заряда ho при использовании в качестве засыпки слоя песка принимают по табл. 7;

Таблица 7

hз/ho

0

0,5

1,0

1,5

2,0

2,5

3,0

3,5

4,0

5,0

KH

1

0,75

0,5

0,4

0,3

0,2

0,1

0,07

0,03

0,02

при взрыве шпуровых зарядов

                                             (59)

где Qш - фактическая масса шпурового заряда, кг;

m - число одновременно взрываемых зарядов;

Kз - коэффициент забойки. Зависит от отношения длины забойки lз к диаметру заряда d, принимают по табл. 8;

QДШ - масса ВВ в сети ДШ, кг;

Таблица 8

Забойка

Значение Kз при отношении длины заряда к его диаметру lз/d

0

5

10

15

20

25 и выше

Грунтовая

1

0,15

0,02

0,003

0,002

0,001

Воздушная

1

0,3

0,07

0,02

0,004

0,002

при взрыве скважинных зарядов

                                    (60)

                                 (61)

где Qэ - фактическая масса скважинного заряда, кг;

lзар - длина скважинного заряда, м;

d - диаметр заряда, м;

r - линейная плотность заряда, кг/м.

12.4. При оптимальной длине забойки в случае взрыва шпуровых зарядов единственным существенным источником УВВ является взрыв магистрали ДШ. При взрыве большого количества шпуров масса заряда ВВ в сети ДШ может достигать нескольких сотен граммов.

Самым эффективным средством снижения уровня воздействия УВВ при взрыве детонирующего шнура является присыпка его слоем песка. Слой песка мощностью 5 - 8 см обеспечивает снижение давления в УВВ до трех раз.

12.5. Эффективным средством снижения интенсивности является КЗВ. При КЗВ зарядов под Qэ следует понимать массу эквивалентного заряда одной группы. Учитывая, что взрывные работы производятся в близкой зоне, где продолжительность положительной фазы не превышает 10 мс, можно считать, что при замедлении 25 мс и более УВВ от отдельных групп зарядов полностью разделяются. В этом случае взрыв одной группы зарядов по действию УВВ можно рассматривать как мгновенный и расчет радиуса опасной зоны вести по формулам (56) и (57). При интервале замедления между группами 10 - 15 мс радиус опасной зовы должен быть увеличен в 1,3 раза по сравнению с рассчитанным по формулам (56) и (57).

12.6. К снижению интенсивности УВВ и, соответственно, уменьшению радиуса опасной зоны приводит использование защитных укрытий места взрыва. Использование газонепроницаемых укрытий типа домиков, сплошных щитовых металлических или деревянных укрытий и других, обеспечивающих безопасность по разлету кусков взорванной породы, позволяет снизить радиус опасной зоны в два раза против рассчитанного по формулам (56) и (57). При использовании в качестве укрытия передвижного локализатора санного типа радиус опасной зоны может быть уменьшен в 1,5 раза. Массу укрытий и длину перекрытия при этом рассчитывают в соответствии с методикой, изложенной в разделе 13. Длина забойки должна составлять не менее 10 диаметров заряда.

Использование газопроницаемых укрытий (типа сетки Рабица, решеток и др.) не приводит к существенному снижению интенсивности УВВ.

13. РАСЧЕТ ПАРАМЕТРОВ УКРЫТИЯ МЕСТА ВЗРЫВА

13.1. Защитные укрытия применяют при производстве взрывных работ в стесненных условиях, когда в пределах опасной зоны по разлету кусков и действию УВВ находятся различные здания и сооружения, линии электропередач и связи, инженерные коммуникации и другие охраняемые объекты. Защитные укрытия подразделяют на сплошные и газопроницаемые, которые конструктивно могут быть выполнены в виде различных щитов, сеток, локализаторов, домиков, арок, матов и др. Укрытия изготовляют из различных металлических и железобетонных конструкций, досок, бревен, реже из мешков с песком, капроновых сетей и др. Тип применяемых укрытий при производстве взрывных работ в стесненных условиях определяется содержанием и условиями выполнения этих работ.

13.2. При производстве взрывных работ по дроблению фундаментов в цехах промышленных предприятий наибольшее распространение получили сплошные щитовые укрытия из металлических листов или деревянные щиты из досок и бревен с пригрузом (рис. 13).

Рис. 13. Установка сплошного щитового укрытия на фундаменте:

1 - шпуровые заряды; 2 - горизонтальное щитовое укрытие; 3 - боковое укрытие; 4 - деревянный брус; 5 - пригруз; 6 - проушины для подъема

13.3. Массу сплошного щитового укрытия, устанавливаемого над зарядом (с учетом ширины перекрытия взрываемого участка), определяют по формуле

                                             (62)

где M - масса укрытия, т;  Q - масса заряда ВВ, кг; d - диаметр заряда, м; lзаб - длина забойки, м; W - линия наименьшего сопротивления заряда, м;

                                                  (63)

lзар - длина заряда, м; Hу - высота фактической установки укрытия, м; Нэ - эффективная высота установки, м;

Нэ = 0,22 К Н                                                        (64)

K - расчетный удельный расход ВВ для зарядов рыхления, кг/м3; Н - мощность взрываемого слоя, м.

Пример расчета массы сплошного щитового укрытия приведен в справочном приложении 3.

13.4. Предельно допустимое значение Ну при использовании щитовых укрытий должно составлять не менее 0,25 м. Высоту установки укрытия целесообразно принимать более 0,25 м.

13.5. Расстояние, на которое должна быть перекрыта поверхность взрываемого массива от крайних зарядов до края устанавливаемого укрытия, принимаем равным:

                                          (65)

где Нпер - ширина перекрытия, м; L - коэффициент, зависящий от схемы КЗВ (L = 2,05 при поскважинном замедлении, L = 2,25 при врубовой схеме и L = 2,35 при порядном и мгновенном взрывании); rp - допустимый радиус разлета кусков при взрывании с укрытием, м; Rp - радиус разлета кусков при взрывании без укрытия, м.

13.6. При монтаже сплошных укрытий из отдельных элементов (листов, щитов, полос и т.п.) последние укладывают друг на друга с шириной перекрытия не менее 0,2 м. Между собой листы скрепляют тросом, проволокой или болтовыми соединениями.

13.7. Металлические и деревянные щитовые укрытия используют и для укрытия места взрыва при проходке котлованов и траншей. В этих же условиях применяют укрытия из мелкодисперсного материала (мешки с песком), укрытия коробчатого типа (домики), локализаторы, сетки и др.

13.8. Массу сплошного укрытия из мешков с песком или насыпного грунта, располагаемых непосредственно на взрываемой поверхности, можно определить по формуле

                                                      (66)

где My - масса 1 м2 укрытия, кг;

j - плотность взрываемого грунта, кг/м3.

Мощность слоя укрытия в этом случае определяют по формуле

                                                     (67)

где h - мощность слоя укрытия, м;

Kраз - коэффициент разрыхления грунта, используемого для укрытия;

jy - плотность материала укрытия, кг/м3.

13.9. Металлические газопроницаемые укрытия коробчатого типа (с сетчатым покрытием или изготовленные из швеллеров и уголков) должны иметь высоту не менее 1,8 м. Чтобы исключить разлет кусков взорванной породы, укрытие должно полностью перекрывать воронку рыхления. Размеры укрытия должны составлять:

                                                     (68)

                                                     (69)

где L - длина укрытия, м; B - ширина укрытия, м; a - расстояние между скважинами в ряду, м; b - расстояние между рядами скважин, м; m - число скважин в ряду; n - число рядов скважин; r - радиус раскрытия воронки рыхления, м;

                                                      (70)

lскв - длина скважины, м; lзар - длина заряда, м.

Коробчатое укрытие должно иметь такую массу, которая бы исключала возможность опрокидывания укрытия при принятых параметрах буровзрывных работ:

                                                 (71)

где M - масса укрытия, т; K - комплексный показатель; K 0,2 при КЗВ зарядов под укрытием и K 0,55 при мгновенном взрывании; N - число взрываемых зарядов; Qзар - масса заряда в скважине (шпуре), кг; lзаб - длина забойки, м; W - ЛНС заряда, м. Определяется по формуле (63).

13.10. Локализаторы взрывов различных типов применяют в основном при небольших объемах взрывных работ. Они должны полностью исключить разлет кусков взрываемых пород. Размеры рамы локализатора выбирают с таким расчетом, чтобы радиус воронки взрыва, увеличенный на 0,5 м, не выходил за пределы защитной зоны локализатора. Массу санного локализатора определяют по формуле

                                               (72)

где Mл - масса локализатора, кг/м2; Q - масса заряда ВВ, кг; h - высота воздушного зазора между локализатором и грунтом, м; Rp - допустимый радиус разлета осколков, м.

13.11. При производстве взрывных работ по обрушению зданий и сооружений в качестве укрытий используют деревянные щиты, устанавливаемые с наружной стороны сооружений и перекрывающие подбиваемый участок стены. Для локализации зоны разлета осколков достаточно, чтобы щиты перекрывали границу подбоя со всех сторон не менее чем на 0,5 м, а нижняя часть щитов отстояла от стены на 0,5 м. Толщина деревянных щитов должна быть не менее 50 мм. Можно использовать щиты меньшей толщины, которые устанавливают в два ряда. Щиты должны быть связаны между собой проволокой.

При производстве работ в зоне густой застройки, когда необходимо полностью исключить разлет кусков за пределы укрытия, пространство между щитами укрытия и стеной обручаемого сооружения заполняют инертным материалом (песком, мокрыми опилками и т.д.).

13.12. При использовании сетчатых укрытий (панцирные сетки, сетки «Рабица», сетки из синтетических материалов и т.д.) их располагают непосредственно на взрываемой поверхности. Концы таких укрытий (за пределами расчетных границ разрушения взрываемого массива) должны быть пригружены или закреплены в грунте.

13.13. Укрытия из транспортерных лент и других нетканых материалов применяют, в основном, при укрытии мест взрыва шпуровых зарядов, а также в труднодоступных местах и на вертикальных участках при обрушении зданий, дроблении фундаментов и т.д.

14. СХЕМЫ МОНТАЖА ВЗРЫВНОЙ СЕТИ

14.1. При производстве взрывных работ в стесненных условиях применяемые схемы монтажа взрывной сети должны не только обеспечить необходимую степень дробления взрываемого массива, но и уменьшить вредное воздействие взрывов на охраняемые объекты. Типовую серию зарядов устанавливают исходя из необходимости обеспечить безопасность охраняемых объектов при действии сейсмических и ударных воздушных волн.

14.2. При дроблении фундаментов применяют, как правило, мгновенное взрывание зарядов и КЗВ по порядной схеме замедления при взрывании в одной группе от одного до нескольких рядов зарядов (рис. 14).

14.3. В тех случаях, когда место взрыва расположено вблизи охраняемого объекта и допустимая масса заряда по сейсмическому действию взрыва позволяет взрывать в одной группе по одному скважинному или шпуровому заряду, используют схемы поскважинного замедления (рис. 15) или специальные схемы замедления, например, порядно-поскважинную (см. рис. 9). При взрывании по этой схеме интервал замедления между соседними шпурами в ряду и между шпурами соседних рядов смежных блоков определяют исходя из необходимости обеспечить безопасность по подбою с учетом конкретных параметров взрывания (диаметр шпура, длина забойки, сетка шпуров и т.д.). Соответствующие шпуры в разных блоках (на рис. 9 они обозначены одинаковыми цифрами) взрывают в одной ступени замедления. Расстояние между одновременно взрываемыми шпурами в смежных блоках (или, что то же, ширина блока) определяется из условия (48). При расположении охраняемого объекта на фланге цепочки зарядов, коэффициент, зависящий от условий расположения охраняемого объекта относительно линии зарядов, принимают равным 0,65, при его расположении параллельно цепочке зарядов принимаем равным 1,5.

Предлагаемая схема коммутации взрывной сети при взрывании в непосредственной близости от охраняемого объекта благодаря рассредоточению одновременно взрываемых зарядов одной группы при КЗВ позволяет взрывать неограниченное число зарядов.

Рис. 14. Схемы монтажа взрывной сети при взрывании фундаментов:

а - мгновенное взрывание; б, в - порядные схемы КЗВ; 1 - шпуры; 2 - ДШ; 3 - ЭД; 4 - КЗДШ

Рис. 15. Поскважинные схемы замедления:

а - однорядное расположение зарядов; б - то же двурядное; в - то же трехрядное; 1 - скважины (шпуры); 2 - ДШ; 3 - ЭД; 4 - КЗДШ - 10 мс; 5 - КЗДШ - 35 мс

14.4. При направленном обрушении зданий и сооружений взрывание зарядов в зоне подбоя осуществляется мгновенно.

ПРИЛОЖЕНИЕ 1

Рекомендуемое

ПРЕДЕЛЬНО ДОПУСТИМЫЕ ЗНАЧЕНИЯ СКОРОСТЕЙ КОЛЕБАНИЙ ГРУНТА В ОСНОВАНИИ ОХРАНЯЕМЫХ ОБЪЕКТОВ

№ п/п

Характеристика объекта

Скорость колебаний, см/с

1

Жилые здания и сооружения

1 - 3

2

Здания производственного назначения

5 - 7

3

Несущие колонны цеха

10 - 20

4

Стеновые заполнения

10

6

Сохраняемые железобетонные фундаменты и их части

10 - 50

6

Аппаратура контроля и защиты

3-6

7

Электросиловые установки

10 - 20

8

Опоры мостовых кранов

10

9

Опоры электропередач

20 - 30

10

Дымовые и вентиляционные трубы

3 - 10

11

Футеровка печей

50

12

Трубопроводы

50

13

Электрические кабели

50

14

Подвальные помещения (исключение трещинообразования и вываливания бетона)

50

ПРИЛОЖЕНИЕ 2

Справочное

РАСЧЕТ ПАРАМЕТРОВ ЗАРЯДОВ И БЕЗОПАСНЫХ УСЛОВИЙ ВЗРЫВАНИЯ ПРИ ОБРУШЕНИИ ДЫМОВОЙ ТРУБЫ

1. Исходные данные для расчета

Требуется выполнить направленное обрушение кирпичной дымовой трубы. Высота трубы 40 м. Наружный диаметр трубы на уровне подбоя 3,8 м, толщина стен 0,9 м. Диаметр верха трубы 1,7, толщина стены 0,3 м. Масса трубы 220 т. Высота центра тяжести трубы 15 м. Уровень подбоя трубы 0,5 м над поверхностью грунта.

2. Расчет условий опрокидывания и параметров зарядов

2.1. Принимаем целик в секторе с центральным углом 140°. Длина целика

Длина вруба C = p D - L/ = 3,14 - 3,8 - 4,6 = 7,3 м.

2.2. Глубина вруба согласно формуле (7) составит 2,55 м. Расстояние между осями условного параметра согласно формуле (11) составит 0,65 м.

2.3. Необходимый угол вруба согласно формулам (8) - (10) при Hc = 15 м и hn = 0,5 м составит 87,43° - 79,9° = 7°32.

Угол вруба принимаем 15°.

2.4. Высота вруба согласно формуле (12) составит 0,68 м.

2.5. ЛНС принимаем равной половине толщины стены 0,45 м. Удельный расход ВВ для кирпичной кладки 0,5 кг/м3. Масса заряда ВВ в шпуре согласно формуле (1) составит 0,15 кг. Диаметр шпура = 0,036 м.

2.6. Длина шпура согласно формуле (6) составят 0,3 м. Длина заряда 0,15 м, длина забойки 0,15 м.

2.7. Шпуры во врубе располагаем в два ряда, расстояние между шпурами в ряду 1,0 W = 0,45 м, между рядами шпуров 1,5 W = 0,68 м.

2.8. Для повышения направленности валки между целиком и врубом пробивают два проема высотой 0,38 и шириной 0,5 м каждый. Крайние шпуры в ряду располагают на расстоянии W от проемов. Число шпуров в ряду составит  общее число шпуров во врубе 24. Общая масса зарядов подбоя во врубе 24 Q1 = 3,6 кг.

3. Расчет сейсмического действия взрыва

3.1. Скорость смещения грунта в рассматриваемой точке при падении трубы определим согласно п. 10.4 при следующих исходных данных: x = 10 м; r =18 м, RH = 1,9 м,  = 1,0 м, RB = 0,85 м,  = 0,55 м, r = 1600 кг/м3, g = 9,8 м/с2, u1 = 4,3·106 Дж/кг, H = 40 м. После соответствующих расчетов по формуле (45) имеем v = 5,5 см/с.

3.2. Скорость колебаний грунта при взрыве зарядов подбоя определим согласно п. 9.3 по формуле (25) при K = 250, B = 1, a = 1 и Q = 3,6 кг на расстоянии  Согласно расчету она составит v = 5,3 м.

Таким образом, в рассматриваемой точке сейсмический эффект от взрыва зарядов подбоя будет меньше, чем от падения на грунт обрушаемой части трубы.

4. Расчет радиуса опасной зоны по действию УВВ

4.1. Массу эквивалентного заряда определим согласно п. 12.3. В нашем случае Qш = 0,15 кг, m = 24, lз/d = 0,15/0,036 = 4,2 и Kз = 0,19, Qш = 2 · 0,012 · 7,5 = 0,18 кг. При взрыве шпуровых зарядов согласно формуле (59) масса эквивалентного заряда 0,35 кг.

4.2. При Qэ 2 кг радиус опасной зоны по действию УВВ на застекление определяем по формуле (57). В нашем случае он составит 32 м.

ПРИЛОЖЕНИЕ 3

Справочное

РАСЧЕТ ПАРАМЕТРОВ ЗАРЯДОВ И БЕЗОПАСНЫХ УСЛОВИЙ ВЗРЫВАНИЯ ПРИ ДРОБЛЕНИИ ФУНДАМЕНТОВ

1. Исходные данные для расчета

Требуется выполнить дробление бетонного фундамента длиной 8, шириной 3 и мощностью 1,5 м. Фундамент заглублен на 0,3 м. Ближайший охраняемый объект - пульт управления и аппаратура контроля и защиты на расстоянии 8 м от края разрушаемого фундамента. ВВ - патронированный аммонит № 6ЖВ, диаметр патронов 0,032 м.

2. Расчет параметров зарядов

2.1. Взрывание фундамента производим на всю высоту. Диаметр шпуров 0,036 м. Длину шпура принимаем меньше мощности фундамента на 5 диаметров заряда; она составит l = 1,5 - 5 · 0,032 = 1,35 м. ЛНС согласно п. 2.3 принимаем W = 0,5 l = 0,7 м.

2.2. Мощность взрываемого фундамента H > 1,0 м, поэтому заряд в шпуре рассредотачиваем. Длина забойки 0,5 м (15 d заряда). Расстояние между шпурами в ряду принимаем равным 0,6 м, между рядами шпуров - 0,5 м.

Расчетный удельный расход ВВ принимаем 0,5 кг/м3.

Масса первого заряда в шпуре согласно формуле (1) составит 0,25 кг, масса второго заряда - 0,15 кг, длина промежутка между торцами зарядов 0,5 м.

2.3. Расстояние от края фундамента до шпура принимаем равным 0,7 м. Число шпуров в ряду 12, число рядов шпуров 3. Общее число шпуров 36. Общий расход ВВ 14,4 кг.

3. Расчет сейсмобезопасных условий взрывания

3.1. Согласно п. 9.3 и формуле (25) при мгновенном взрыве заряда массой 14,4 кг скорость колебаний грунта на расстоянии 8 м от фундамента составит 16,8 см/с, что больше допустимой скорости для аппаратуры контроля и защиты согласно рекомендуемому приложению 1.

3.2. Из формулы (25) при v = 6 см/с и r = 8 м определяем допустимую массу мгновенно взрываемого заряда. Согласно расчету она составит 1,8 кг. Масса заряда одной группы при КЗВ с замедлением между группами 20 мс и более согласно формуле (46) составит 1,2 кг.

3.3. При дроблении фундамента используем порядную схему КЗВ по три шпуровых заряда в группе (рис. 14, б). Инициирование зарядов осуществляем с помощью ДШ и КЗДШ-69 (20 мс).

4. Расчет параметров укрытия места взрыва

Массу сплошного щитового укрытия, устанавливаемого над фундаментом, определяем согласно п. 13.3.

При d = 0,036 м, lзаб = 0,5 м, Q = 0,4 кг, W = 0,7 м, Hy = 0,25 м, K = 0,5 кг/м3 и H = 1,5 м масса щитового укрытия, устанавливаемого под одним шпуровым зарядом, согласно формулам (62) - (64) составит 0,0188 т. Общая масса укрытия 36 шпуровых зарядов составит 0,677 т.

В качестве укрытия можно использовать деревянные щиты из досок толщиной не менее 50 мм с пригрузом в виде мешков с песком, бетонных блоков и др. С боков фундамент следует также укрыть щитами.

5. Расчет радиуса опасной зоны по действию УВВ

5.1. Массу эквивалентного заряда одной группы определим согласно п. 12.3. В нашем случае Qш = 0,4 кг, m = 3, lз/d = 0,5/0,036 = 14 и K = 0,003, QДШ = 2 · 0,012 · 2 = 0,048 кг.

5.2. При Qэ 2 кг радиус опасной зоны по действию УВВ на застекление пульта управления и автоматики определим по формуле (57).

При КВВ с замедлением 20 мс согласно п. 12.5 радиус опасной зоны должен быть увеличен в 1,3 раза, а при использовании щитовых укрытий, обеспечивающих безопасность по разлету кусков, согласно п. 12.6 может быть уменьшен вдвое. С учетом этого радиус опасной зоны по действию УВВ составит 6 м, а действие УВВ при взрыве по дроблению бетонного фундамента не будет представлять опасности для застекления пульта управления и автоматики.

СОДЕРЖАНИЕ

1. Общие положения. 1

2. Дробление бетонных и железобетонных фундаментов и конструкций. 2

3. Обрушение зданий и сооружений. 4

4. Разрушение емкостей гидровзрыванием.. 6

5. Взрывание металлоконструкций. 7

6. Сейсмическое действие взрывов. 9

7. Расчет мощности защитного целика. 10

8. Расчет сейсмобезопасной зоны при взрывании вблизи трубопроводов. 11

9. Расчет сейсмобезопасных условий взрывания при дроблении фундаментов. 12

10. Сейсмобезопасные условия производства работ при взрывном обрушении сооружений. 12

11. Способы снижения сейсмического эффекта взрыва. 14

12. Действие ударных воздушных волн взрывов. 18

13. Расчет параметров укрытия места взрыва. 19

14. Схемы монтажа взрывной сети. 21

Приложение 1 Предельно допустимые значения скоростей колебаний грунта в основании охраняемых объектов. 23

Приложение 2 Расчет параметров зарядов и безопасных условий взрывания при обрушении дымовой трубы.. 23

Приложение 3 Расчет параметров зарядов и безопасных условий взрывания при дроблении фундаментов. 24

 

 




ГОСТЫ, СТРОИТЕЛЬНЫЕ и ТЕХНИЧЕСКИЕ НОРМАТИВЫ.
Некоммерческая онлайн система, содержащая все Российские Госты, национальные Стандарты и нормативы.
В Системе содержится более 150000 файлов нормативно-технической документации, действующей на территории РФ.
Система предназначена для широкого круга инженерно-технических специалистов.

Рейтинг@Mail.ru Яндекс цитирования

Copyright © www.gostrf.com, 2008 - 2026