Крупнейшая бесплатная информационно-справочная система онлайн доступа к полному собранию технических нормативно-правовых актов РФ. Огромная база технических нормативов (более 150 тысяч документов) и полное собрание национальных стандартов, аутентичное официальной базе Госстандарта. GOSTRF.com - это более 1 Терабайта бесплатной технической информации для всех пользователей интернета. Все электронные копии представленных здесь документов могут распространяться без каких-либо ограничений. Поощряется распространение информации с этого сайта на любых других ресурсах. Каждый человек имеет право на неограниченный доступ к этим документам! Каждый человек имеет право на знание требований, изложенных в данных нормативно-правовых актах!

  


 

ГОСТ Р 50652-94

(МЭК 1000-4-10-93)

ГОСУДАРСТВЕННЫЙ СТАНДАРТ РОССИЙСКОЙ ФЕДЕРАЦИИ

СОВМЕСТИМОСТЬ ТЕХНИЧЕСКИХ СРЕДСТВ
ЭЛЕКТРОМАГНИТНАЯ

УСТОЙЧИВОСТЬ К ЗАТУХАЮЩЕМУ
КОЛЕБАТЕЛЬНОМУ МАГНИТНОМУ ПОЛЮ

ТЕХНИЧЕСКИЕ ТРЕБОВАНИЯ И МЕТОДЫ
ИСПЫТАНИЙ

ГОССТАНДАРТ РОССИИ

Москва

Предисловие

1 РАЗРАБОТАН И ВНЕСЕН Техническим комитетом по стандартизации в области электромагнитной совместимости технических средств (ТК ЭМС)

РАЗРАБОТЧИКИ

В. В. Носов, канд. техн. наук (руководитель разработки); А. И. Ситников, В. С. Кармашев, Е. В. Толкачев

2 УТВЕРЖДЕН И ВВЕДЕН В ДЕЙСТВИЕ Постановлением Госстандарта России от 03.03.94 № 54

3 ВВЕДЕН ВПЕРВЫЕ

Настоящий Стандарт содержит полный аутентичный текст международного стандарта МЭК 1000-4-10-93 с дополнительными: требованиями, отражающими потребности народного хозяйства

СОДЕРЖАНИЕ

1 область применения. 2

2 нормативные ссылки. 2

3 определения. 3

4 основные положения. 3

5 технические требования. 3

5.1. Общие положения. 3

5.2 степени жесткости испытаний. 4

6 испытательное оборудование. 4

6.1 испытательный генератор. 4

6.1.1 характеристики иг. 4

6.1.2 проверка характеристик иг. 5

6.2 индукционная катушка. 6

6.2.1 характеристики индукционной катушки. 6

6.2.2 калибровка индукционной катушки. Коэффициент катушки. 8

6.3 измерительные приборы и вспомогательное оборудование. 8

7 рабочее место для испытаний. 8

7.1 плоскость заземления. 8

7.2 итс.. 8

7.3 иг. 9

7.4 индукционная катушка. 9

8 порядок проведения испытаний. 9

8.1 условия испытаний. 9

8.1.1 климатические условия. 9

8.1.2 электромагнитная обстановка. 9

8.2 проведение испытаний. 9

8.2.1 настольные итс.. 10

8.2.2 напольные итс.. 10

9 оценка результатов испытаний. 10

10 требования безопасности. 10

Приложение а Выбор степени жесткости испытаний. 11

Приложение б Сведения о напряженности зкмп встречающихся на практике источников. 11

Приложение в Метод калибровки индукционной катушки. 12

ГОСТ Р 50652-94

(МЭК 1000-4-10-93)

ГОСУДАРСТВЕННЫЙ СТАНДАРТ РОССИЙСКОЙ ФЕДЕРАЦИИ

Совместимость технических средств электромагнитная

УСТОЙЧИВОСТЬ К ЗАТУХАЮЩЕМУ
КОЛЕБАТЕЛЬНОМУ МАГНИТНОМУ ПОЛЮ

Технические требования и методы испытаний

Electromagnetic compatibility of technical equipment
Immunity to damped oscillatory magnetic field
Technical requirements and test methods

Дата введения 1995-01-01

1 ОБЛАСТЬ ПРИМЕНЕНИЯ

Настоящий стандарт распространяется на технические средства (ТС), применяемые на электрических подстанциях среднего и высокого напряжения, подвергающиеся в условиях эксплуатации воздействию затухающего колебательного магнитного поля (ЗКМП).

Распространение стандарта на ТС, применяемые в иных условиях эксплуатации, определяется наличием ЗКМП, с которым связаны рассматриваемые в настоящем стандарте испытания, как указано в разделе 4.

Настоящий стандарт устанавливает общую и воспроизводимую базу для оценки качества функционирования ТС, подвергающихся воздействию ЗКМП. Стандарт определяет рекомендуемые степени жесткости испытаний, требования к испытательному оборудованию, рабочим местам для испытаний и процедуры испытаний.

Настоящий стандарт устанавливает технические требования к вновь разрабатываемым, изготовляемым, модернизируемым и импортируемым ТС в части степеней жесткости испытаний на устойчивость к воздействию ЗКМП и критериев качества функционирования при испытаниях, а также соответствующие методы испытаний.

Требования настоящего стандарта являются обязательными.

Содержание стандарта МЭК 1000-4-10-93 набрано прямым шрифтом, дополнительные требования к стандарту МЭК 1000-4-10-93, отражающие потребности народного хозяйства, - курсивом.

2 НОРМАТИВНЫЕ ССЫЛКИ

В настоящем стандарте использованы ссылки на следующие стандарты:

ГОСТ 8.326-89 Метрологическая аттестация средств измерений

ГОСТ 12.2.007.0-75 ССБТ. Изделия электротехнические. Общие требования безопасности

ГОСТ 12.3.019-80 ССБТ. Испытания и измерения электрические. Общие требования безопасности

ГОСТ 15150-69 Машины, приборы и другие технические изделия. Исполнения для различных климатических районов. Категории, условия эксплуатации, хранения и транспортирования в части воздействия климатических факторов внешней среды

ГОСТ 29037-91 Совместимость технических средств электромагнитная. Сертификационные испытания. Общие положения.

ГОСТ 29280-92 Совместимость технических средств электромагнитная. Испытания на помехоустойчивость. Общие положения

ГОСТ Р 50012-92 Совместимость технических средств электромагнитная. Оборудование силовое. Методы измерения параметров низкочастотного периодического магнитного поля

ГОСТ Р 50397-92 Совместимость технических средств электромагнитная. Термины и определения

ГОСТ Р 50416-92 Совместимость средств вычислительной техники электромагнитная. Термины и определения

ГОСТ Р 50648-94. Совместимость технических средств электромагнитная. Устойчивость к магнитному полю промышленной частоты. Технические требования и методы испытаний

Нормы 8-72 Общесоюзные нормы допускаемых индустриальных радиопомех. Электроустройства, эксплуатируемые вне жилых домов и не связанные с их электрическими сетями. Предприятия (объекты) на выделенных территориях или в отдельных зданиях. Допускаемые величины. Методы испытаний. Утверждены ГКРЧ СССР 12 июня 1972г.

3 ОПРЕДЕЛЕНИЯ

В настоящем стандарте применяют термины, установленные в ГОСТ Р 50397, а также следующие:

испытуемое ТС (ИТС) - по ГОСТ Р 50416;

качество функционирования ТС - по ГОСТ Р 50416;

критерий качества функционирования ТС при испытаниях на устойчивость к воздействию магнитного поля - по ГОСТ Р 50416;

индукционная катушка - проводящая обмотка установленной формы и размеров, по которой протекает ток, создающий магнитное* поле определенной величины в ее плоскости и окружающем объеме;

коэффициент индукционной катушки - отношение напряженности магнитного поля, создаваемого индукционной катушкой, к соответствующему значению тока, причем магнитное поле измеряется в центре плоскости катушки в отсутствии ИТС;

иммерсионный метод - метод воздействия магнитным полем на ИТС, при котором ИТС помещают в центре индукционной катушки;

метод приближения - метод воздействия магнитным полем на ИТС, при котором небольшая индукционная катушка перемещается вдоль стороны ИТС, чтобы выявить зоны восприимчивости;

плоскость заземления - плоская проводящая поверхность (металлический лист), используемая в качестве общего заземляющего проводника для ИТС, генератора магнитного поля и вспомогательного оборудования (плоскость заземления может использоваться в качестве проводника, замыкающего виток индукционной катушки);

устройство развязки - по ГОСТ Р 50416;

помеховая последовательность - последовательность конечного числа одиночных импульсов или синусоидальных колебаний ограниченной длительности.

4 ОСНОВНЫЕ ПОЛОЖЕНИЯ

ЗКМП, воздействующее на ТС, может влиять на качество функционирования ТС. Испытания, рассматриваемые в настоящем стандарте, имеют целью подтвердить устойчивость ТС к воздействию ЗКМП в определенных условиях эксплуатации или при определенных условиях установки (например, при установке ТС вблизи источников ЗКМП).

ЗКМП создается при переключении высоковольтных шинопроводов разъединителями.

Испытательное воздействие представляет собой ЗКМП с характеристиками, приведенными в разделе 6.

5 ТЕХНИЧЕСКИЕ ТРЕБОВАНИЯ

5.1 Общие положения

5.1.1 Для обеспечения работоспособности в условиях эксплуатации ТС должны соответствовать установленным в настоящем стандарте требованиям устойчивости к ЗКМП.

5.1.2 Для определения качества функционирования ТС при воздействии магнитного поля необходимо подвергать ТС испытаниям на устойчивость к воздействию ЗКМП.

5.1.3 Степени жесткости испытаний ТС на устойчивость к ЗКМП выбирают в соответствии с требованиями настоящего стандарта с учетом условий эксплуатации ТС конкретного типа.

5.1.4 Степени жесткости испытаний на устойчивость к ЗКМП, а также критерии качества функционирования ТС при испытаниях по ГОСТ 29280 должны быть установлены в стандартах и (или) ТУ, ТЗ на ТС конкретного типа.

5.1.5 Испытания на устойчивость к воздействию ЗКМП проводят:

- серийно выпускаемых ТС - при сертификационных, периодических и типовых испытаниях;

- разрабатываемых ТС - при приемочных испытаниях;

- импортируемых ТС - при сертификационных испытаниях.

5.1.6 Отбор образцов ТС для испытаний на помехоустойчивость проводят в соответствии со следующими требованиями:

- для испытаний серийно изготовляемых ТС число образцов выбирают из ряда: 7, 14, 20, 26, 32, 38;

- для испытаний опытных образцов ТС отбирают 2 %, но не менее 3 образцов, если изготовлено более 3 образцов, и все образцы, если изготовлено 3 и менее образцов;

- ТС единичного выпуска испытывают каждое в отдельности.

5.1.7 Порядок проведения сертификационных испытаний на соответствие требованиям устойчивости к ЗКМП - по ГОСТ 29037.

5.2 Степени жесткости испытаний

Степени жесткости испытаний на устойчивость к воздействию ЗКМП приведены в таблице 1.

Таблица 1

Степень жесткости испытаний

Напряженность ЗКМП, А/м (пиковое значение)

1

-

2

-

3

10

4

30

5

100

*

По согласованию между производителем и потребителем

Примечания:

1 1 А/М соответствует индукции 1,2б кТл в свободном пространстве

2 Порядок выбора степени жесткости испытаний приведен в приложении А

3 Сведения о напряженности ЗКМП встречающихся на практике источников приведены в приложении Б

6 ИСПЫТАТЕЛЬНОЕ ОБОРУДОВАНИЕ

Испытательное ЗКМП создается током, протекающим в индукционной катушке.

Воздействие ЗКМП на ИТС осуществляется в соответствии с иммерсионным методом.

Пример реализации иммерсионного метода приведен на рисунке 1.

Испытательное оборудование включает испытательный генератор (ИГ), индукционную катушку и вспомогательную аппаратуру.

6.1 Испытательный генератор

ИГ должен обеспечить протекание требуемого тока в индукционной катушке с учетом ее полного сопротивления. Индуктивность катушки составляет от 2,5 мкГн для стандартной одновитковой катушки со стороной 1 м до нескольких микрогенри (порядка 6 мкГн) для прямоугольной одновитковой индукционной катушки размерами 1 м ´ 2,6 м.

Величину требуемого выходного тока ИГ определяют как отношение нормируемой напряженности магнитного поля, приведенной в таблице 1, к коэффициенту индукционной катушки, который изменяется от 0,87 для стандартной катушки со стороной 1 м для испытаний настольных малогабаритных ТС до 0,66 для прямоугольной катушки размерами 1 ´ 2,6 м при испытаниях крупногабаритных напольных ТС.

ИГ должен работать в условиях короткого замыкания. Выходной зажим ИГ соединяется с зажимом заземления (для подключения к заземляющему контуру лаборатории).

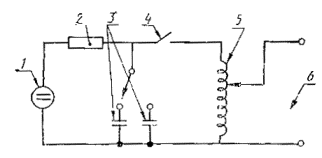
6.1.1 Характеристики ИГ

ИГ представляет из себя генератор периодически повторяющихся затухающих синусоидальных посылок тока с характеристиками:

Частота колебаний, МГц

0,1 и 1 ± 10 %

Степень затухания

50 % после 3-6 периодов

Частота повторения посылок тока

Не менее 40 посылок в секунду при частоте колебаний 0,1 МГц и не менее 400 посылок в секунду при частоте колебаний 1 МГц

а - настольное ТС; б - напольное ТС

Рисунок 1 - Схема воздействия ЗКМП на ТС с использованием иммерсионного метода

Рисунок 2 - Форма выходного тока ИГ

1 - источник высокого напряжения; 2 - зарядный резистор; 3 - конденсаторы колебательного контура; (для частот 0,1 и 1 МГц); 4 - устройство управления длительностью посылок тока; 5 - катушка колебательного контура; 6 - к индукционной катушке

Рисунок 3 - Схема ИГ

Продолжительность испытаний, с .....................................................................................  2 ± 10 %;

Выходной ток, (поделенный на коэффициент катушки), А ...........................................  10-100

Напряжение и напряженность поля индустриальных радиопомех, создаваемых включенным ИГ при отсутствии генерации посылок тока, не должны превышать значений, установленных «Общесоюзными нормами допускаемых индустриальных радиопомех» (Нормы 8-72).

ЗКМП, создаваемое ИГ, не должно влиять на уровень испытательного магнитного поля, создаваемого индукционной катушкой. Для этого подсоединение ИГ к индукционной катушке должно осуществляться скрученными проводами и ИГ должен располагаться на расстоянии не менее 3 м от катушки.

Форма выходного тока ИГ приведена на рисунке 2.

Схема ИГ приведена на рисунке 3.

Примечание - Для стандартной индукционной катушки со стороной 1 м выходной ток ИГ должен изменяться от 12 до 120 А.

6.1.2 Проверка характеристик ИГ

При проверке характеристик ИГ измеряют:

- амплитудное значение выходного тока;

- степень затухания;

- частоту колебаний;

- частоту повторения.

Параметры выходного тока измеряют при подключении ИГ к стандартной индукционной катушке (6.2).

Измерения выполняют с помощью измерительных приборов с погрешностью 10 %.

6.2 Индукционная катушка

6.2.1 Характеристики индукционной катушки

Индукционная катушка, подключенная к ИГ, должна обеспечить создание ЗКМП с напряженностью, соответствующей установленной степени жесткости и заданной точности.

Индукционная катушка должна быть изготовлена из меди, алюминия или другого проводящего немагнитного материала; ее поперечное сечение и конструктивное исполнение должны обеспечивать устойчивую установку при испытаниях.

Индукционная катушка может быть одновитковой, если она обеспечивает протекание тока, необходимого при заданной степени жесткости испытаний. Многовитковая индукционная катушка может применяться для создания заданного испытательного магнитного поля при пониженном токе ИГ. Индукционная катушка должна иметь размеры, соответствующие размерам ИТС, так чтобы охватить его в трех ортогональных плоскостях. В зависимости от вида и назначения ИТС могут применяться индукционные катушки различных размеров. Индукционные катушки размерами, указанными в 6.1, пригодны при создании ЗКМП в объеме ИТС (настольных - рисунок 4, напольных - рисунок 5).

Неравномерность ЗКМП, в рабочем объеме индукционной катушки должна быть не более ±3 дБ.

Пример расположения индукционной катушки при проверке устойчивости ТС к ЗКМП методом приближения приведен на рисунке 6.

6.2.1.1 Индукционная катушка для испытаний настольных ИТС

Стандартная индукционная катушка для испытаний малогабаритных ИТС, устанавливаемых на столе (счетчиков электрической энергии, устройств систем управления и др.), должна иметь форму квадрата (круга) с размером стороны (диаметра), составляющим 1 м, и изготовляться из одного витка провода толщиной не более 10 мм. Рабочий объем стандартной квадратной катушки составляет 0,6 ´ 0,6 ´ 0,5 м.

При испытаниях настольных ТС больших размеров для получения ЗКМП с неоднородностью не более ±3 дБ может использоваться двойная индукционная катушка (катушка Гельмгольца) стандартного размера, которая составляется из двух катушек (рисунок 7).

Напряженность магнитного поля в центре двойной индукционной катушки вычисляют по формуле

                                                           (1)

где Н - напряженность магнитного поля, А/м,

п - число витков каждой катушки,

b - длина стороны катушки, м,

I - ток, А

Рабочий объем двойной катушки, состоящей из катушек стандартного размера и разнесенных на 0,8 м, при неоднородности ноля ±3 дБ равен 0,6 ´ 0,6 ´ 1 м (высота).

6.2.1.2 Индукционная катушка для испытаний напольных ИТС

Размеры индукционной катушки должны соответствовать размерам ИТС при различных плоскостях поляризации ЗКМП.

Расстояние проводников катушки от наружных поверхностей ИТС должно составлять не менее 20 % длины каждой стороны катушки. Индукционная катушка должна быть выполнена из провода толщиной не более 10 мм.

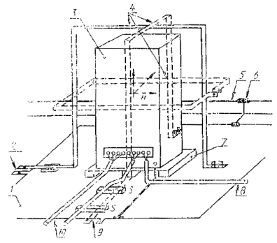
1 - стол из немагнитного материала; 2 - плоскость заземления; 3 - к ИГ; 4 - ИТС; 5 - индукционная катушка; 6 - соединение плоскости заземления с цепью защитного заземления; 7 - защитное заземление; 8 - изолирующая опора; 9 - к сети электропитания; 10 - к ИГ; 11 - к источнику сигналов (имитатору)

Рисунок 4 - Рабочее место для испытаний настольных ТС на устойчивость к ЗКМП

1 - плоскость заземления; 2 - к ИГ; 3 - ИТС; 4 - индукционная катушка; 5 - защитное заземление; 6 - соединение плоскости заземления с цепью защитного заземления; 7 - изоляционная опора; 8 - к сети электропитания; 9 - к ИГ; 10 - к источнику сигналов (имитатору)

Рисунок 5 - - Рабочее место для испытаний напольных ТС на устойчивость к ЗКМП

1 - ИТС; 2 - индукционная катушка

Рисунок 6 - Схема проверки восприимчивости ИТС к ЗKМП с использованием метода приближения

Рисунок 7 - Схема катушки Гельмгольца

Рабочий объем индукционной катушки определяется ее рабочей поверхностью (50 ´ 50 % от длины каждой стороны катушки), умноженной на высоту, соответствующую 50 % длины короткой стороны катушки.

6.2.2 Калибровка индукционной катушки. Коэффициент катушки

Индукционная катушка должна быть откалибрована до начала испытаний в отсутствии ИТС.

При калибровке катушка должна быть установлена на расстоянии не менее 1 м от стены лаборатории, а также от любой конструкции из магнитного материала и подсоединена к ИГ, как указано в 6.1.2.

Калибровку осуществляют с использованием тока промышленной частоты. Амплитуда тока должна быть выбрана такой, чтобы получить напряженность ЗКМП, соответствующую требуемой степени жесткости испытаний.

Полученное таким образом значение амплитуды тока используется при проведении испытаний ТС на устойчивость к ЗКМП.

Для контроля напряженности ЗКМП, создаваемого индукционной катушкой, должен использоваться датчик магнитного поля. Датчик поля должен быть установлен в центре индукционной катушки и иметь соответствующую ориентацию, чтобы выделять максимальное значение поля.

Коэффициент индукционной катушки определяется как отношение Н/I, где H - напряженность магнитного поля в А/м, I - ток, протекающий по катушке в А.

Метод калибровки индукционной катушки приведен в приложении В.

Характеристики индукционных катушек различных размеров, предназначенных для проведения испытаний настольных и напольных ИТС на устойчивость к ЗКМП, - по ГОСТ Р 50648.

6.3 Измерительные приборы и вспомогательное оборудование

Измерительные приборы включают аппаратуру для установки и измерения тока в индукционной катушке, а также устройства развязки и помехоподавляющие фильтры для цепей электропитания, управления и передачи сигналов. Устройства развязки предназначены для обеспечения стандартного входного сопротивления, равного 50 Ом для всех внешних цепей, подключаемых к зажимам ИТС.

Система измерения токов должна содержать откалиброванный прибор для измерения тока, зонд или шунт. Погрешность измерений прибора должна быть не более 10 %

В качестве устройства развязки для сетей электропитания может быть применен эквивалент сети, для цепей передачи сигналов и управления - последовательно соединенные резистор и конденсатор. Порядок применения устройств развязки должен быть установлен в методике испытаний.

К вспомогательному оборудованию относятся имитаторы или любое другое оборудование, необходимое для обеспечения функционирования ИТС, проверки его рабочих характеристик и проведения испытаний ИТС и выполнения испытаний.

7 РАБОЧЕЕ МЕСТО ДЛЯ ИСПЫТАНИЙ

В зависимости от места проведения различаются испытания, проводимые в испытательных лабораториях (центрах), и на месте эксплуатации ИТС.

Приемочные и сертификационные испытания ТС на соответствие требованиям устойчивости к ЗКМП проводят только в условиях испытательной лаборатории (центров).

Рабочее место для испытаний должно содержать следующее испытательное оборудование: плоскость заземления; ИТС; индукционную катушку; ИГ (рисунки 4, 5).

7.1 Плоскость заземления

ИТС и вспомогательное оборудование должны располагаться на плоскости заземления и соединения с ней. Плоскость заземления должна представлять собой медный или алюминиевый металлический лист толщиной не менее 0,25 мм. Допускается использовать другие металлы, но при этом толщина листа должна быть не менее 0,65 мм. Минимальные размеры плоскости заземления должны составлять 1 ´ 1 м. Фактические размеры зависят от размеров ИТС. Плоскость заземления должна быть соединена с защитным заземлением.

7.2 ИТС

ИТС, установленное и подключенное в соответствии с функциональными требованиями, должно быть размещено на изоляционной опоре толщиной 0,1 м, уложенной поверх плоскости заземления.

Если заземление ИТС предусмотрено через кабель питания, ИТС должно быть заземлено с использованием указанного кабеля. Если блоки ИТС заземляются с использованием зажимов заземления, то подключение к защитному заземлению должно быть осуществлено непосредственно на плоскости заземления.

Цепи питания, входные и выходные цепи ИТС должны быть подключены к соответствующим источникам питания и сигналов.

При испытаниях используются соединительные кабели, входящие в состав ИТС; при их отсутствии допускается применение неэкранированных кабелей. Длина неэкранированного кабеля, подвергающегося воздействию ЗКМП при испытаниях, должна быть не более 1 м.

Если применяются сетевые помехоподавляющие фильтры (эквиваленты сети), то они должны быть соединены с ИТС кабелями длиной 1 м и подключены к плоскости заземления.

7.3 ИГ

ИГ должен размещаться на расстоянии не менее 3 м от индукционной катушки. Один из выходных зажимов ИГ должен быть соединен с плоскостью заземления.

7.4 Индукционная катушка

Индукционная катушка должна охватывать ИТС, размещенное в ее центре.

Для испытания ТС при воздействии ЗКМП в различных ортогональных плоскостях могут быть применены различные индукционные катушки. Индукционная катушка, располагаемая вертикально (горизонтальное направление ЗКМП), может быть подключена у основания одного из вертикальных проводников непосредственно к плоскости заземления, которая в этом случае выполняет роль нижней стороны катушки.

Индукционная катушка подключается к ИГ в соответствии с 6.1.1.

Выбранная для проведения испытаний индукционная катушка должна быть указана в методике испытаний.

8 ПОРЯДОК ПРОВЕДЕНИЯ ИСПЫТАНИЙ

Испытания включают; контроль условий испытаний; проверку правильности функционирования ИТС; проведение испытаний; оценку результатов испытаний.

8.1 Условия испытаний

Для того чтобы уменьшить влияние параметров окружающей среды на результаты испытаний, испытания должны проводиться в рекомендованных климатических и электромагнитных условиях, указанных в 8.1.1 и 8.1.2.

8.1.1 Климатические условия

Испытания должны проводиться в нормальных климатических условиях в соответствии с требованиями ГОСТ 15150.

8.1.2 Электромагнитная обстановка

Электромагнитная обстановка в испытательной лаборатории (центре) должна обеспечивать нормальное функционирование ИТС и не влиять на результаты испытаний. В частности, уровень ЗКМП в лаборатории должен быть не менее чем на 20 дБ ниже выбранной степени жесткости испытаний. Если указанные требования не выполняются, испытания проводят в экранированном помещении.

8.2 Проведение испытаний

Испытания должны проводиться на основе методики испытаний, которая должна включать проверку функционирования ИТС в соответствии с техническими условиями.

Напряжения источников питания, сигнализации и другие рабочие электрические параметры ИТС должны находиться в оговоренных для них диапазонах.

Проверка функционирования ИТС должна проводиться до подачи испытательного ЗКМП. Воздействие ЗКМП на ИТС должно осуществляться в соответствии с иммерсионным методом. Степень жесткости испытаний не должна превышать предусмотренную нормативной документацией.

Напряженность ЗКМП, соответствующая выбранной степени жесткости испытаний, и длительность испытаний должны быть указаны в методике испытаний.

Для определения стороны ИТС при его расположении относительно испытательного поля, при которых ИТС обладает максимальной восприимчивостью к ЗКМП, допускается применять метод приближения.

Испытания проводят при двух частотах колебаний ЗКМП - 0,1 и 1 МГц. Длительность воздействия ЗКМП на ИТС должна быть не менее 2 с.

8.2.1 Настольные ИТС

Малогабаритное ИТС подвергают воздействию ЗКМП, создаваемого стандартной индукционной катушкой в соответствии с 6.2.1.1. Затем индукционную катушку поворачивают на 90 град, относительно ИТС, чтобы воздействовать на ИТС испытательным полем по другому направлению.

8.2.2 Напольные ИТС

ИТС подвергают воздействию ЗКМП, создаваемого индукционной катушкой подходящих размеров в соответствии с 6.2.1.2. Испытание повторяют при перемещении и сдвиге катушки, чтобы исследовать весь объем ИТС для каждого ортогонального направления ЗКМП. Сдвиг индукционной катушки в различных положениях вдоль стороны ИТС при испытаниях не должен превышать 50 % длины наименьшей стороны катушки.

Затем индукционную катушку поворачивают на 90 град, относительно ИТС и испытывают ИТС в такой же последовательности на устойчивость к ЗКМП, действующему в другом направлении. Если расстояние проводников катушки от наружных поверхностей ИТС составляет менее 20 % длины каждой стороны катушки, используют индукционную катушку большего размера.

Примечание - Перемещение индукционной катушки с шагом, не превышающим 50 % длины наименьшей стороны катушки, позволяет перекрывать весь объем ИТС без пропусков.

9 ОЦЕНКА РЕЗУЛЬТАТОВ ИСПЫТАНИЙ

9.1 Критерии качества функционирования ТС при испытаниях на устойчивость к ЗКМП выбирают по ГОСТ 29280.

9.2 Требования устойчивости к ЗКМП серийно изготовляемых ТС, а также опытных изделий при числе испытанных образцов не менее 7 считают выполненными, если число образцов, удовлетворяющих требованиям устойчивости к помехам, будет не менее указанного в таблице 2.

Таблица 2

Число испытанных образцов

Число образцов, удовлетворяющих требованиям устойчивости к внешним помехам

7

7

14

13

20

18

26

23

32

28

38

33

9.3 В случае, если результаты испытаний не соответствуют требованиям таблицы 2, испытаниям может быть подвергнута вторая выборка ТС. Результаты испытаний двух выборок суммируют.

9.4 Требования устойчивости к ЗКМП опытных ТС при числе испытанных образцов менее 7, а также изделий единичного выпуска считают выполненными, если все испытанные образцы удовлетворяют требованиям устойчивости к ЗКМП.

10 ТРЕБОВАНИЯ БЕЗОПАСНОСТИ

ИГ и вспомогательное оборудование должны соответствовать требованиям, установленным в ГОСТ 12.2.007.0.

Испытания ТС должны проводиться с соблюдением требований безопасности, установленных в ГОСТ 12.3.019, а также требований стандартов (нормативной документации) на конкретные ТС.

ПРИЛОЖЕНИЕ А
(обязательное)

ВЫБОР СТЕПЕНИ ЖЕСТКОСТИ ИСПЫТАНИЙ

Степень жесткости испытаний устанавливают исходя из условий эксплуатации ТС и окружающей электромагнитной обстановки в соответствии с требованиями раздела 5 настоящего стандарта.

Испытания на устойчивость к ЗКМП проводят с целью установить снижение качества функционирования ТС в условиях электромагнитной обстановки, при которых возможна эксплуатация ТС. При этом необходимо учитывать сведения о встречающихся на практике источниках н напряженности ЗКМП, приведенные в приложении Б. Применимость испытаний зависит от наличия физических явлений, которые определяют условия электромагнитной обстановки.

При выборе степеней жесткости испытаний необходимо принимать во внимание близость расположения источников ЗКМП в условиях эксплуатации ТС с учетом запаса, перекрывающего случайные отклонения, присущие измеряемым величинам.

Выбор степеней жесткости испытаний ТС на устойчивость к ЗКМП должен осуществляться с учетом следующих положений.

Испытания на устойчивость к ЗКМП со степенями жесткости 1 и 2 не проводятся.

Степень жесткости 1 соответствует электромагнитной обстановке, в которой могут эксплуатироваться чувствительные приборы, использующие электронные лучи (мониторы, электронные микросхемы и др.).

Степень жесткости 2 соответствует электромагнитной обстановке хорошо защищенных зон промышленных предприятий и электрических подстанций.

Степень жесткости 3 устанавливают для электромагнитной обстановки, характеризующейся наличием высоковольтных проводов, переключаемых с помощью разъединителей (выключателей), удаленных от ТС.

Примерами указанной электромагнитной обстановки могут служить компьютерные залы высоковольтных подстанций.

Степень жесткости устанавливают для промышленной электромагнитной обстановки, характеризующейся расположением на расстоянии до нескольких десятков метров высоковольтных проводов, переключаемых с помощью разъединителей (выключателей).

Примерами такой электромагнитной обстановки могут служить помещения высоковольтных электрических подстанций и зоны предприятий тяжелой промышленности и электростанций.

Степень жесткости 5 устанавливают для жесткой промышленной электромагнитной обстановки, характеризующейся расположением поблизости от ТС высоковольтных токопроводов, переключаемых с помощью разъединителей.

Примерами указанной электромагнитной обстановки могут служить коммутационные залы предприятий тяжелой промышленности, низковольтных и высоковольтных электрических подстанций, электростанций.

Степень жесткости* устанавливают для особых условий электромагнитной обстановки. Большее или меньшее удаление источников ЗКМП от ТС, а также функциональные и конструктивные особенности ТС могут потребовать применения более высоких или более низких степеней жесткости испытаний, чем указано выше.

ПРИЛОЖЕНИЕ Б
(справочное)

СВЕДЕНИЯ О НАПРЯЖЕННОСТИ ЗКМП ВСТРЕЧАЮЩИХСЯ НА ПРАКТИКЕ ИСТОЧНИКОВ

На основании прогнозирования условий электромагнитной обстановки и измерений напряженности ЗКМП на электрических подстанциях среднего и высокого напряжения можно сделать вывод о том, что пиковое значение напряженности ЗКМП изменяется от 10 (на площади подстанции) до 100 А/м под высоковольтными проводами поблизости от разъединителей и высоковольтных трансформаторов.

ПРИЛОЖЕНИЕ В
(обязательное)

МЕТОД КАЛИБРОВКИ ИНДУКЦИОННОЙ КАТУШКИ

1 Измерение напряженности ЗКМП

Измерения напряженности магнитного поля проводят в пространстве внутри индукционной катушки, при отсутствии ИТС, удалении от стен лаборатории не менее 1 м и отсутствии вблизи магнитных материалов.

Для измерения магнитного поля применяют измерительную систему, состоящую из датчиков магнитного поля с полосой пропускания не менее 5-10 МГц и осциллографа.

2 Калибровка индукционной катушки

Калибровку осуществляют при пропускании в индукционной катушке калибровочного тока частоты сети и измерении магнитного поля с помощью датчика (индукционного преобразователи), установленного в ее геометрическом центре.

Ориентация датчика должна быть соответствующим образом подобрана для получения максимального значения магнитного поля.

Погрешность измерения напряженности магнитного поля должна составлять не более 20 %. Диаметр датчика магнитного поля должен быть не менее чем на порядок меньше размеров индукционной катушки. В качестве датчика магнитного поля применяют индукционные преобразователи по ГОСТ Р 50012 или другие устройства, соответствующие требованиям настоящего стандарта. Измерители напряженности поля, используемые при калибровке, должны быть аттестованы по ГОСТ 8.326.

Коэффициент индукционной катушки определяют для каждой катушки как отношение напряженности магнитного поля к величине протекающего тока.

Для стандартизованных индукционных катушек коэффициент катушки определяется изготовителем и может быть проверен путем измерений, выполняемых перед проведением испытаний.

Ключевые слова: совместимость технических средств электромагнитная, устойчивость к затухающему колебательному магнитному полю, индукционная катушка

 




ГОСТЫ, СТРОИТЕЛЬНЫЕ и ТЕХНИЧЕСКИЕ НОРМАТИВЫ.
Некоммерческая онлайн система, содержащая все Российские Госты, национальные Стандарты и нормативы.
В Системе содержится более 150000 файлов нормативно-технической документации, действующей на территории РФ.
Система предназначена для широкого круга инженерно-технических специалистов.

Рейтинг@Mail.ru Яндекс цитирования

Copyright © www.gostrf.com, 2008 - 2026