ГОСТ ИСО 4378-1-2001
МЕЖГОСУДАРСТВЕННЫЙ
СТАНДАРТ
ПОДШИПНИКИ СКОЛЬЖЕНИЯ
ТЕРМИНЫ, ОПРЕДЕЛЕНИЯ
И КЛАССИФИКАЦИЯ
ЧАСТЬ 1
КОНСТРУКЦИЯ, ПОДШИПНИКОВЫЕ МАТЕРИАЛЫ
И ИХ СВОЙСТВА
МЕЖГОСУДАРСТВЕННЫЙ
СОВЕТ
ПО СТАНДАРТИЗАЦИИ, МЕТРОЛОГИИ И СЕРТИФИКАЦИИ
Минск
Предисловие
1. РАЗРАБОТАН Межгосударственным техническим комитетом по
стандартизации МТК 344 «Подшипники скольжения», Всероссийским
научно-исследовательским институтом стандартизации и сертификации в
машиностроении (ВНИИНМАШ) Госстандарта России
ВНЕСЕН Госстандартом России
2. ПРИНЯТ
Межгосударственным Советом по стандартизации, метрологии и сертификации
(протокол № 19 от 24 мая 2001 г.)
За принятие
проголосовали:
|
Наименование государства
|
Наименование национального органа по стандартизации
|
|
Азербайджанская
Республика
|
Азгосстандарт
|
|
Республика
Армения
|
Армгосстандарт
|
|
Республика
Беларусь
|
Госстандарт
Республики Беларусь
|
|
Республика
Казахстан
|
Госстандарт
Республики Казахстан
|
|
Кыргызская
Республика
|
Кыргызстандарт
|
|
Республика
Молдова
|
Молдовастандарт
|
|
Российская
Федерация
|
Госстандарт
России
|
|
Республика
Таджикистан
|
Таджикстандарт
|
|
Туркменистан
|
Главгосслужба
«Туркменстандартлары»
|
|
Республика
Узбекистан
|
Узгосстандарт
|
|
Украина
|
Госстандарт
Украины
|
Настоящий стандарт представляет собой
аутентичный текст международного стандарта ИСО 4378-1-97 «Подшипники
скольжения. Термины, определения и классификация. Часть 1. Конструкция,
подшипниковые материалы и их свойства»
3. Постановлением Государственного комитета
Российской Федерации по стандартизации и метрологии от 5 марта 2002 г. № 85-ст
межгосударственный стандарт ГОСТ ИСО 4378-1-2001 введен в действие
непосредственно в качестве государственного стандарта Российской Федерации с 1
июля 2002 г.
4. ВЗАМЕН ГОСТ 18282-88
МЕЖГОСУДАРСТВЕННЫЙ СТАНДАРТ
|
Подшипники
скольжения
ТЕРМИНЫ,
ОПРЕДЕЛЕНИЯ И КЛАССИФИКАЦИЯ
Часть 1
Конструкция,
подшипниковые материалы и их свойства
Plain bearings. Terms, definitions and classification. Part 1. Design,
bearing materials and their properties
|
Дата введения 2002-07-01
Настоящий стандарт устанавливает термины и определения, применяемые для
подшипников скольжения, а также их классификацию.
Термины, установленные настоящим стандартом, обязательны для применения
во всех видах документации и литературы по подшипникам скольжения, входящих в
сферу работ по стандартизации и/или использующих результаты этих работ.
В стандарте приведены иноязычные эквиваленты стандартизованных терминов
на английском (en) и
французском (fr)
языках.
Стандартизованные термины набраны полужирным шрифтом, их краткие формы,
представленные аббревиатурой, - светлым.
|
2.1. подшипник:
Опора или направляющая, которая определяет положение движущейся части
относительно других частей механизма
|
en bearing
fr palier
|
|
2.2. подшипник
скольжения: Подшипник, в котором видом относительного движения является
скольжение
|
en plain
bearing
fr palier
lisse
|
|
2.3. узел
подшипника скольжения: Трибосистема, включающая подшипник скольжения и
опорную часть (например корпус)
|
en plain
bearing unit
fr ensemble
avec palier lisse
|
3. Виды подшипников скольжения, классификация
|
|
3.1. По виду нагрузки
|
|
|
3.1.1. статически
нагруженный подшипник скольжения: Подшипник скольжения, подвергающийся
воздействию постоянной по модулю и направлению нагрузки
|
en statically
loaded plain bearing
fr palier
lisse a charge statique
|
|
3.1.2. динамически
нагруженный подшипник скольжения: Подшипник скольжения, подвергающийся
воздействию нагрузки, изменяющейся по модулю и/или направлению
|
en dynamically
loaded plain bearing
fr palier
lisse a charge dynamique
|
|
3.2. По направлению
воспринимаемых нагрузок
|
|
|
3.2.1. радиальный
подшипник скольжения, радиальный подшипник: Подшипник скольжения,
воспринимающий нагрузку, направленную перпендикулярно к оси вращения вала
|
en plain
journal bearing journal bearing
fr palier
lisse radial
|
|
3.2.2. упорный
подшипник скольжения, упорный подшипник: Подшипник скольжения,
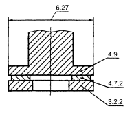
воспринимающий нагрузку, направленную вдоль оси вращения вала (рисунок 1)
|
en plain
thrust bearing
thrust bearing
fr palier
lisse de butee
butee (lisse)
|
|
3.2.3. радиально-упорный подшипник
скольжения, буртовый подшипник: Подшипник скольжения, способный
воспринимать нагрузку в осевом и радиальном направлениях
|
en journal
thrust bearing flanged bearing
fr palier
radial de butee palier a collerette
|
|
3.3. По виду смазки
|
|
|
3.3.1. аэростатический
подшипник: Подшипник скольжения, предназначенный для работы в режиме
аэростатической смазки
|
en aerostatic
bearing
fr palier
aerostatique
|
|
3.3.2. аэродинамический
подшипник: Подшипник скольжения, предназначенный для работы в режиме
аэродинамической смазки
|
en aerodynamic
bearing
fr palier
aerodynamique
|
|
3.3.3. гидростатический
подшипник: Подшипник скольжения, предназначенный для работы в режиме
гидростатической смазки
|
en hydrostatic
bearing
fr palier hydrostatique
|
|
3.3.4. гидродинамический
подшипник: Подшипник скольжения, предназначенный для работы в режиме
гидродинамической смазки
|
en hydrodynamic
bearing
fr palier
hydrodynamique
|
|
3.3.5. вибродемпферный
подшипник: Подшипник скольжения, в котором полное разделение поверхностей
достигается за счет давления, возникающего в смазочном материале в результате
их взаимного перемещения вдоль нормали к поверхности
|
en squeeze
oil film bearing
fr palier a
effet amortisseur
|
|
3.3.6. гидростатодинамический
подшипник: Подшипник скольжения, предназначенный для работы как при
гидродинамической, так и при гидростатической смазке
|
en hybrid
bearing
fr palier
hybride
|
|
3.3.7. подшипник
скольжения с твердым смазочным материалом: Подшипник скольжения,
работающий с твердым смазочным материалом
|
en solid-film
lubricated bearing
fr palier a
lubrifiant solide
|
|
3.3.8. подшипник,
работающий без смазки: Подшипник скольжения, предназначенный для работы
без смазочного материала
|
en unlubricated
bearing
fr palier
sans lubrifiant
|
|
3.3.9. самосмазывающийся
подшипник: Подшипник скольжения, в котором смазка обеспечивается
подшипниковым материалом, входящим в него компонентами или твердыми
смазывающими покрытиями
|
en self-lubricating
bearing
fr palier
autolubrifiant
|
|
3.3.10. самосмазывающийся пористый подшипник, спеченный подшипник:
Пористый подшипник скольжения, сообщающиеся поры которого заполнены смазочным
материалом
|
en porous
self-lubricating bearing
sintered bearing
fr palier
autolubrifiant en materiau poreux
palier fritte
|
|
3.3.11. подшипниковый узел с системой смазки:
Подшипниковый узел, содержащий резервуар со смазочным материалом, и средства
его подачи к поверхностям трения
См. также «узел подшипника скольжения в сборе» (3.4.8)
|
en self-contained
plain bearing assembly
fr palier
lisse autonome
|
|
3.4. По конструкции
|
|
|
3.4.1. подшипник
круглоцилиндрический: Подшипник скольжения, все поперечные сечения
рабочей поверхности которого имеют форму окружности одного и того же диаметра
(рисунок 2)
|
en circular
cylindrical bearing
fr palier
cylindrique circulate
|
|
3.4.2. подшипник
некруглоцилиндрический: Подшипник скольжения, поперечные сечения
внутренней поверхности которого отличаются по форме от окружности (рисунки 3, 4)
|
en profile
bore bearing
fr palier a
alesage profile
palier
cylindrique non circulaire
|
|
3.4.3. многоклиновый
подшипник: Радиальный подшипник скольжения, имеющий несколько
цилиндрических поверхностей, расположенных так, что два или более масляных
клина образуются по окружности подшипника (рисунки 3, 4)
|
en lobed
bearing
fr palier a
lobes
|
|
3.4.4. сегментный
упорный подшипник: Упорный подшипник скольжения, несущая поверхность
которого состоит из неподвижных сегментов (рисунок 5)
|
en pad
thrust bearing
taper land bearing
fr butee a
segments (patins)
butee a
segments inclines
butee a
segments inclines puis paralleles
|
|
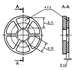
3.4.5. самоустанавливающийся
сегментный радиальный подшипник: Самоустанавливающийся радиальный
подшипник скольжения, несущая поверхность которого состоит из сегментов,
свободно устанавливающихся относительно вала под действием давления в
смазочном слое (рисунок 6)
|
en tilting
pad journal bearing
fr palier a
patins oscfflants
|
|
3.4.6. самоустанавливающийся
сегментный упорный подшипник: Самоустанавливающийся упорный подшипник
скольжения, несущая поверхность которого состоит из сегментов, свободно
устанавливающихся для создания масляного слоя относительно пяты под действием
давления в смазочном слое (рисунок 7)
|
en tilting
pad thrust bearing
fr butee a
patins oscillants
|
|
3.4.7. подшипник
с плавающей втулкой: Подшипник скольжения с втулкой, имеющей возможность
скользить относительно вала и внутренней поверхности корпуса подшипника (рисунок
8)
|
en floating
bush bearing
fr palier a
bague flottante
|
|
3.4.8. узел подшипника скольжения в сборе:
Подшипниковый узел, состоящий из подшипника скольжения (радиального и/или
упорного), помещенного в корпус на лапах или с фланцем.
См. также «подшипниковый узел с системой смазки» (3.3.11)
|
en plain
bearing assembly
fr ensemble
avec palier lisse
|
|
3.4.8.1. корпусной подшипник на лапах: Узел подшипника скольжения, крепление
корпуса которого осуществляется крепежными элементами в направлении,
перпендикулярном к оси вала
|
en pedestal
plain bearing assembly
fr palier
lisse a chaise sur le sol
|
|
3.4.8.2. корпусной подшипник с фланцем: Узел подшипника скольжения,
крепление корпуса которого осуществляется крепежными элементами в
направлении, параллельном оси вала
|
en flanged
plain bearing assembly
fr palier
lisse a collerette
|
|
3.4.9. самоустанавливающийся
подшипник: Подшипник скольжения, конструкция которого обеспечивает его самоустановку
относительно сопряженной поверхности
|
en self-aligning
bearing
fr palier
auto-alignant
|
4. Элементы конструкции узлов подшипников скольжения
|
|
4.1. вкладыш
подшипника: Деталь радиального подшипника скольжения, поверхность
скольжения которой составляет 180° окружности опоры (рисунки 9, 10)
|
en half-bearing
fr demi-coussinet
|
|
4.1.1. тонкостенный
вкладыш подшипника: Вкладыш подшипника скольжения, толщина стенки
которого так мала, что отклонения от правильной геометрической формы
посадочной поверхности влияют на форму рабочей поверхности подшипника
скольжения (рисунок 11)
|
en thin wall
half-bearing
fr demi-coussinet
mince
|
|
4.1.2. толстостенный
вкладыш подшипника: Вкладыш подшипника скольжения, толщина стенки
которого так велика, что отклонения от правильной геометрической формы
посадочной поверхности не влияют на форму рабочей поверхности подшипника
скольжения
|
en thick
wall half-bearing
fr demi-coussinet
epais
|
|
4.1.3. посадочная
(задняя) поверхность подшипника скольжения: Цилиндрическая наружная
поверхность вкладыша подшипника скольжения или втулки
|
en bearing
back
fr surface
d’engagement du palier
|
|
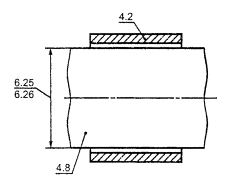
4.2. втулка
подшипника скольжения, втулка подшипника, втулка: Сменный трубчатый
элемент подшипника скольжения, внутренняя и/или наружная поверхность которого
является рабочей поверхностью подшипника скольжения (рисунок 12)
|
en plain
bearing bush
bearing
bush
bush
fr bague
|
|
4.2.1. свертная
втулка подшипника скольжения, свертная втулка: Втулка, изготавливаемая
свертыванием ленты из однослойного или многослойного подшипникового материала
(рисунок 13)
|
en plain
bearing wrapped bush
bearing
wrapped bush
wrapped bush
fr bague
roulee
|
|
4.3. буртовый
вкладыш (втулка) подшипника, буртовый вкладыш (втулка): Вкладыш (втулка)
подшипника скольжения, снабженный (ая) буртом с одной или двух сторон (рисунок
14)
|
en flanged
half-bearing (flanged-bush)
fr demi-coussinet
(bague) a collerette
|
|
4.4. однослойный
вкладыш (втулка): Вкладыш (втулка) подшипника скольжения, выполненный
(ая) из одного материала
|
en solid
half-bearing (solid-bush)
fr demi-coussinet
massif (bague massive)
|
|
4.5. многослойный
вкладыш (втулка): Вкладыш (втулка) подшипника скольжения, состоящий (ая)
из слоев различных материалов (рисунок 15)
|
en multilayer
half-bearing (multilayer bush)
fr demi-coussinet
(bague) multicouche
|
|
4.5.1. основа
вкладыша подшипника, основа вкладыша: Часть многослойного вкладыша
подшипника, на которую наносится подшипниковый материал и которая
обеспечивает ему требуемую прочность и/или жесткость (рисунок 15)
|
en half-bearing
backing
backing
fr support
support
de demi-coussinet
|
|
4.5.2. слой
подшипникового материала, подшипниковый слой: Толстый слой подшипникового
материала, являющийся частью многослойного вкладыша (рисунок 15)
Примечание - Толщина слоя обычно
более 0,2 мм
|
en bearing
material layer
bearing
layer
lining
fr couche
de material antifriction
couche
antifriction revetement
|
|
4.5.3. приработочный
слой подшипника скольжения, приработочный слой: Слой материала, наносимый
на подшипниковый материал для улучшения прирабатываемости, прилегаемости,
способности к поглощению твердых частиц и, в некоторых случаях, коррозионной
стойкости (рисунок 15)
Примечание - Толщина слоя обычно от
0,01 до 0,05 мм
|
en plain
bearing running-in layer
running-in layer overlay
fr couche
de rodage
|
|
4.5.4. промежуточный
слой, сцепляющий слой: Очень тонкий слой между приработочным слоем и
слоем подшипникового материала для упрочнения сцепления и уменьшения диффузии
Примечание - Толщина слоя обычно от
0,001 до 0,002 мм
|
en interlayer
bonding
layer
nickel dam
fr couche
intermediaire
couche
d’adherence
couche
de nickel
|
|
4.5.5. защитный
слой: Очень тонкий слой на поверхности подшипника или на основе для
защиты от коррозии при хранении
Примечание - Толщина слоя обычно от 0,0005 до 0,0010 мм
|
en protective
layer flash
fr couche
de protection voile
|
|
4.6. упорное
кольцо: Плоское кольцо, устанавливаемое с радиальным подшипником
скольжения для восприятия осевых усилий (рисунок 16)
|
en thrust
washer
fr rondelle
ou flasque de butee
|
|
4.6.1. упорное
полукольцо: Часть кольца, которая при сочетании с другой такой же частью
образует упорное кольцо (рисунок 17)
|
en thrust
half-washer
fr demi-flasque
de butee
|
|
4.7. сегмент:
Составная часть сегментного подшипника скольжения, воспринимающая нагрузку
(рисунки 4, 5)
|
en pad
fr segment
ou patin
|
|
4.7.1. радиальный
сегмент: Сегмент, представляющий собой составную часть радиального
сегментного подшипника скольжения (рисунок 6)
|
en journal
pad
fr segment
radial ou partie du coussinet
|
|
4.7.2. упорный
сегмент: Сегмент, представляющий собой составную часть сегментного
упорного подшипника скольжения (рисунки 1, 5)
|
en thrust
pad
fr segment
axial
|
|
4.8. шейка
вала: Участок вала или оси, опирающийся на радиальный подшипник
скольжения (рисунки 2, 3, 18)
|
en journal
fr tourillon
|
|
4.9. пята:
Кольцевой элемент, соединяемый с валом, опирающийся на упорный подшипник
скольжения
|
en thrust
collar
fr collet
de butee
|
|
4.10. смазочное
кольцо (свободно висящее), смазочный диск (неподвижно закрепленный):
Кольцеобразная деталь, неподвижно соединенная или свободно висящая на валу,
предназначенная для подачи смазочного материала к подшипнику
|
en oil ring
(loose)
oil disc (secured)
fr bague de
lubrification (libre)
disque
de lubrification (fixe)
|
|
4.11. корпус
подшипника скольжения: Корпус, в котором устанавливается подшипник
скольжения (рисунок 10)
|
en plain
bearing housing
fr logement
ou support de palier lisse
|
|
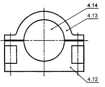
4.12. блок
корпуса подшипника скольжения, блок корпуса: Часть корпуса, на которую
опирается подшипник (рисунок 19)
|
en plain
bearing housing block
bearing block
fr bloc du
logement de palier lisse
corps de
palier
|
|
4.13. крышка
корпуса подшипника: Часть корпуса, удерживающая подшипник в блоке
(рисунок 19)
|
en plain
bearing housing cap
bearing cap
fr partie
superieure du logement de palier lisse
|
|
4.14. запорная
крышка подшипника скольжения, запорная крышка: Крышка, закрывающая
подшипник с торца в осевом направлении (рисунок 19)
|
en plain
bearing housing cover plate
cover plate
fr flasque
de fermeture du logement de palier lisse
|
|
4.15. уплотнение
узла подшипника скольжения: Элемент, служащий для уплотнения корпуса
подшипника скольжения, препятствующий утечке смазочного материала и попаданию
грязи
|
en plain
bearing assembly gasket
bearing gasket
fr joint de
palier lisse
|
|
4.16. фланец
корпусного подшипника: Часть корпусного фланцевого подшипника для
крепления в направлении оси
|
en bearing
housing flange
fr collerette
de logement de palier
|
|
4.17. установочная
плоскость корпусного подшипника скольжения, установочная плоскость: Часть
корпусного подшипника скольжения на лапах, предназначенная для крепления в
направлении, перпендикулярном к оси вала
|
en bearing
housing base
fr base du
logement du palier
|
|
4.18. изоляционный
элемент: Элемент, предназначенный для электрической изоляции между
подшипником скольжения и корпусом или между корпусом и креплением корпуса
|
en bearing
insulation
fr insolation
du palier
|
|
4.19. паз
смазочного кольца: Выточка во вкладыше подшипника скольжения для
установки смазочного кольца
|
en oil ring
slot
fr encoche
de la bague de lubrification
|
|
4.20. заливное
отверстие: Запираемое отверстие для заливки смазочного материала в корпус
подшипника скольжения
|
en oil
filler hole
fr trou de
remplissage d’huile
|
|
4.21. сливное
отверстие: Запираемое отверстие для слива смазочного материала из корпуса
подшипника скольжения
|
en oil drain
hole
fr trou de
vidange d’huile
|
|
4.22. посадочное
отверстие корпуса подшипника скольжения: Сферическое или цилиндрическое
отверстие в корпусе подшипника скольжения для установки втулки или вкладышей
|
en plain
bearing housing bore
fr alesage
du logement de palier lisse
|
|
|
|
5.1. смазочное
отверстие: Отверстие, идущее к рабочей поверхности подшипника скольжения,
служащее для подведения и распределения смазочного материала (рисунки 20, 21)
|
en oil hole
fr trou de
lubrification
|
|
5.2. наружная
смазочная канавка: Канавка на задней поверхности подшипника скольжения,
служащая для подведения смазочного материала к смазочному отверстию (рисунок 21)
|
en oil outer
groove
fr canal de
lubrification ou rainure externe
|
|
5.3. смазочная
канавка: Канавка, выполненная на рабочей поверхности подшипника
скольжения для подачи смазочного материала и его распределения по поверхности
трения (рисунки 16, 17, 22)
|
en oil
groove
fr rainure
de lubrification
|
|
5.3.1. продольная
смазочная канавка: Смазочная канавка, выполненная в направлении,
параллельном оси подшипника скольжения (рисунок 22)
|
en longitudinal
(axial) groove
fr rainure
longitudinale (axiale)
|
|
5.3.2. кольцевая
смазочная канавка: Смазочная канавка, выполненная в форме кольца или его
части (рисунок 23)
|
en circumferential
groove
fr rainure
circulaire
|
|
5.3.3. винтовая
смазочная канавка: Смазочная канавка, выполненная в форме винтовой линии
(рисунок 24)
|
en helical
groove
fr rainure
helicoidale
|
|
5.3.4. открытая
смазочная канавка: Осевая смазочная канавка, выполненная на полную ширину
подшипника (рисунок 25)
|
en open
groove
fr rainure
ouverte
|
|
5.3.5. закрытая
смазочная канавка: Смазочная канавка, не достигающая торцевой (ых)
поверхности (ей) подшипника (рисунок 22)
|
en stopped-off
groove
fr rainure
fermee
|
|
5.3.6. отводная
смазочная канавка: Продольная смазочная канавка, примыкающая или
проходящая по стыку вкладышей
|
en gutterway
fr bassin
relais
|
|
5.4. смазочный
карман: Углубление на поверхности подшипника скольжения, служащее для
накопления смазочного материала и его распределения (рисунок 26)
|
en oil
pocket
fr alveole
|
|
5.5. фиксатор:
Выступ, паз или отверстие, служащие для предотвращения смещения подшипника в
корпусе (рисунок 27)
|
en locating
element
fr element
de positionnement
|
6. Размерные характеристики подшипников скольжения
|
|
6.1. внутренний
диаметр (радиус) радиального подшипника скольжения: Внутренний диаметр
(радиус) сечения, перпендикулярного к оси радиального круглоцилиндрического
подшипника скольжения (рисунок 28)
|
en journal
bearing bore diameter (radius)
bore
ID
fr Diametre
(rayon) d’alesage d’un palier lisse radial
alesage
D
|
|
6.2. наружный
диаметр радиального подшипника скольжения: Диаметр наружной поверхности
подшипника, находящегося в корпусе (рисунок 28)
|
en plain
journal bearing outside diameter
bearing
outside diameter
OD
fr diametre
exterieur d’un palier lisse radial
diametre
exterieur d’un palier
DE
|
|
6.3. ширина
вкладыша (втулки) подшипника: Размер радиального подшипника, измеренный в
осевом направлении, или упорного подшипника, измеренный в радиальном
направлении (рисунки 9 и 29)
|
en bearing
width
fr largeur
d’un palier
|
|
6.3.1. рабочая
ширина вкладыша подшипника: Ширина вкладыша (втулки), за исключением
ширины центральной канавки и фасок
|
en bearing
effective width
fr largeur
utile d’un palier
|
|
6.3.2. половина
рабочей ширины подшипника: Размер радиального подшипника с кольцевой
канавкой от края канавки до края подшипника в осевом направлении, за
исключением фасок (рисунок 23)
|
en bearing
land width
fr largeur
de la face d’appui du palier
|
|
6.4. диаметральный
зазор радиального подшипника скольжения, зазор радиального подшипника,
зазор: Разность между внутренним диаметром радиального подшипника скольжения
и диаметром шейки вала
|
en diametral
clearance of a plain journal bearing
journal
bearing clearance
bearing clearance
fr jeu
diametral d’un palier lisse radial
jeu d’un
palier radial
jeu
|
|
6.5. радиальный
зазор круглоцилиндрического подшипника скольжения: Разность между
внутренним радиусом радиального подшипника и радиусом шейки вала (рисунок 2)
|
en radial
clearance of a circular cylindrical bearing
fr jeu
radial d’un palier cylindrique circulaire
|
|
6.6. минимальный
радиальный зазор некруглоцилиндрического подшипника скольжения:
Минимальное расстояние между поверхностями скольжения соосно расположенных
вала и подшипника (рисунки 3, 4)
|
en minimum
bearing radial clearance of a non-circular cylindrical bearing
fr jeu
radial minimal d’un palier cylindricue non circulaire
|
|
6.7. относительный
зазор подшипника: Отношение радиального зазора к внутреннему радиусу или
диаметрального зазора к внутреннему диаметру круглоцилиндрического подшипника
|
en relative
clearance of a bearing
fr jeu
relatif d’un palier
|
|
6.8. толщина
стенки вкладыша (втулки): Расстояние между наружной и внутренней
поверхностями вкладыша (втулки) в данном радиальном направлении (рисунок 30)
|
en half-bearing
(bush) wall thickness
fr epaisseur
de paroi de demi-coussinet (bague)
|
|
6.9. толщина
слоя подшипникового материала: Толщина слоя антифрикционного материала,
нанесенного на основу подшипника (рисунок 30)
|
en bearing
material layer thickness
lining thickness
fr epaisseur
de la couche de materiau antifriction
epaisseur
du revetement
|
|
6.10. тангенциальный
размер сегмента: Линейный размер сегмента в направлении скольжения по
дуге среднего диаметра (рисунок 5)
|
en pad
length
fr longueur
d’un segment
|
|
6.11. ширина
сегмента: Линейный размер сегмента в радиальном направлении (упорный
сегмент - рисунок 5) или в осевом направлении (радиальный
сегмент)
|
en pad width
fr largeur
d’un segment
|
|
6.12. толщина
сегмента: Линейный размер сегмента, измеренный в осевом направлении
(осевой сегмент - рисунок 5) или в радиальном направлении (радиальный
сегмент)
|
en pad
thickness
fr epaisseur
d’un segment
|
|
6.13. скос
вкладыша: Плавное уменьшение толщины вкладыша у плоскости разъема
(рисунок 31)
|
en bore
relief
fr depincage
de l’alesage
|
|
6.14. величина
выступания: Размер, на который длина вкладыша подшипника скольжения при
измерении в специальном приспособлении под нагрузкой превышает длину
полуокружности измерительного приспособления (рисунок 11)
|
en nip crush
fr depassement
|
|
6.15. непараллельность
плоскостей разъема вкладыша: Величина, характеризующая отклонение от
параллельности плоскостей разъема вкладыша относительно образующей наружной
цилиндрической поверхности измерительного приспособления (рисунок 10)
|
en inclination
fr non-parallelisme
des plans de joint
|
|
6.16. распрямление
вкладыша подшипника скольжения: Разность между наружным диаметром
вкладыша, измеренным в свободном состоянии, и диаметром посадочного места
корпуса подшипника скольжения (рисунок 32)
|
en free
spread
fr ouverture
a l’etat libre
|
|
6.17. длина
корпуса: Максимальный размер корпуса подшипника скольжения в направлении
оси вала
|
en housing
length
fr largeur
du logement
|
|
6.18. ширина
корпуса: Максимальная ширина корпуса подшипника скольжения в
горизонтальном направлении, перпендикулярном к оси вала
|
en housing
width
fr longueur
du logement
|
|
6.19. высота
корпуса: Максимальная высота корпуса подшипника скольжения в направлении,
перпендикулярном к оси вала
|
en housing
height
fr hauteur
du logement
|
|
6.20. торцевая
поверхность корпуса: Наружная поверхность корпуса, перпендикулярная к
осевому направлению
|
en housing
face
fr face du
logement
|
|
6.21. ребра
охлаждения: Выступы на наружной поверхности корпуса, необходимые для
улучшения теплоотвода
|
en cooling
fins
fr ailettes
de refroidissement
|
|
6.22. плоскость
разъема: Плоскость сопряжения двух противолежащих вкладышей или двух
сопряженных деталей сборного корпуса (рисунки 2, 3)
|
en joint
face
fr plan de
joint
|
|
6.23. разъем:
Плоскость разъема двух противолежащих концов свертной втулки (рисунок 13)
|
en joint
split
fr joint
|
|
6.24. высота
оси корпусного подшипника на лапах: Расстояние от установочной плоскости
до оси вала в корпусном подшипнике скольжения на лапах
|
en centre
height of a pedestal plain bearing
fr hauteur
de l’axe d’un palier lisse a chaise sur le sol
|
|
6.25. диаметр
шейки: Рисунки 18 и 33
|
en journal
diameter
fr diametre
du tourillon
|
|
6.26. диаметр
вала: Рисунки 18 и 33
|
en shaft
diameter
fr diametre
de l’arbre
|
|
6.27. диаметр
пяты, диаметр упорной пяты: Рисунок 1
|
en collar
diameter thrust
collar diameter
fr diametre
du collet de butee
|
|
|
|
7.1. подшипниковый
материал, антифрикционный материал: Подшипниковый материал, обладающий
комплексом специальных свойств, обеспечивающих возможность его применения для
подшипников скольжения
|
en bearing
material
antifriction
material
lining
fr materiau
antifriction revetement
|
|
7.2. многослойный
подшипниковый материал: Подшипниковый материал, состоящий из двух или
более слоев различного состава
|
en multilayer
material
fr materiau
multicouche
|
|
7.3. материал
основы подшипника скольжения: Материал, из которого изготовлена основа
вкладыша подшипника скольжения
|
en backing
material
fr materiau
support
|
|
7.4. композиционный
подшипниковый материал: Подшипниковый материал, содержащий металлы,
полимеры, твердые смазочные материалы или волокна
|
en composite
material
fr materiau
composite
|
|
7.5. спеченный
подшипниковый материал, спеченный материал: Материал, полученный из
спрессованных и спеченных порошков
|
en sintered
bearing material
sintered material
fr materiau
fritte antifriction
|
|
7.6. трибологическая
совместимость: Свойство подшипникового материала обеспечивать оптимальные
трибологические характеристики в данной трибологической системе
|
en tribological
compatibility
fr compatibilite
tribologique
|
|
7.7. прилегаемость
при трении, прилегаемость: Свойство подшипникового материала обеспечивать
приемлемые условия прилегания к сопряженной поверхности в результате упругого
и пластического деформирования
|
en conformability
fr conformabilite
|
|
7.8. прирабатываемость:
Свойство подшипникового материала обеспечивать приемлемо малую силу трения,
высокую износостойкость и стойкость к заеданию после начальной приработки к
заданному материалу при применении заданного смазочного материала
|
en running-in
ability
fr aptitude
au radage
|
|
7.9. способность
к поглощению: Свойство подшипникового материала к поглощению твердых
частиц
|
en embeddability
fr pouvoir
d’inclusion
|
|
7.10. сцепляемость:
Свойство антифрикционного подшипникового материала образовывать приемлемо
прочные соединения с заданным материалом основы подшипников скольжения
|
en bonding
fr pouvoir
d’adherence
|
|
7.11. стойкость
к заеданию: Свойство подшипникового материала в трибологической системе
оказывать сопротивление заеданию
|
en seizure
resistance
fr resistance
au grippage
|
|
7.12. износостойкость:
Свойство антифрикционного подшипникового материала в трибологической системе
оказывать сопротивление изнашиванию, оцениваемое показателем износостойкости
- величиной, обратной скорости изнашивания или интенсивности изнашивания
|
en wear
resistance
fr resistance
a l’usure
|
|
7.13. относительная
износостойкость: Отношение показателей износостойкости двух различных
антифрикционных подшипниковых материалов при изнашивании в одинаковых
условиях
|
en relative
wear resistance
fr resistance
relative a l’usure
|
|
7.14. температуростойкость:
Свойство антифрикционного подшипникового материала сохранять
работоспособность при широком диапазоне температур
|
en temperature
stability
fr stabilite
en temperature
|
|
7.15. сопротивление
усталости: Свойство подшипникового материала в трибологической системе
оказывать сопротивление усталости
|
en fatigue
resistance
fr resistance
a la fatigue
|
|

Рисунок 1
|

Рисунок 2
|

Рисунок 3
|
|

Рисунок 4
|

Рисунок 5
|

Рисунок 6
|
|

Рисунок 7
|

Рисунок 8
|
|

Рисунок 9
|

Рисунок 10
|

Рисунок 11
|
|

Рисунок
12
|

Рисунок
13
|

Рисунок
14
|
|

Рисунок
15
|

Рисунок
16
|
|

Рисунок
17
|

Рисунок
18
|
|

Рисунок
19
|

Рисунок
20
|

Рисунок
21
|
|

Рисунок
22
|

Рисунок
23
|

Рисунок
24
|

Рисунок
25
|
|

Рисунок
26
|

Рисунок
27
|

Рисунок
28
|
|

Рисунок
29
|

Рисунок
30
|

Рисунок
31
|
|

Рисунок
32
|

Рисунок
33
|
|
|
|
|
|
|
|
|
|
|
|
|
|
блок корпуса 4.12
блок корпуса
подшипника скольжения 4.12
величина
выступания 6.14
вкладыш буртовый 4.3
вкладыш
многослойный 4.5
вкладыш
однослойный 4.4
вкладыш
подшипника 4.1
вкладыш
подшипника буртовый 4.3
вкладыш
подшипника толстостенный 4.1.2
вкладыш
подшипника тонкостенный 4.1.1
втулка 4.2
втулка буртовая 4.3
втулка
многослойная 4.5
втулка
однослойная 4.4
втулка
подшипника 4.2
втулка
подшипника буртовая 4.3
втулка подшипника скольжения 4.2
втулка
подшипника скольжения свертная 4.2.1
втулка свертная 4.2.1
высота
корпуса 6.19
высота оси
корпусного подшипника на лапах 6.24
диаметр вала 6.26
диаметр пяты 6.27
диаметр
радиального подшипника скольжения внутренний 6.1
диаметр
радиального подшипника скольжения наружный 6.2
диаметр
упорной пяты 6.27
диаметр шейки 6.25
диск смазочный (неподвижно закрепленный) 4.10
длина корпуса 6.17
зазор 6.4
зазор
круглоцилиндрического подшипника скольжения радиальный 6.5
зазор
некруглоцилиндрического подшипника скольжения
минимальный
радиальный 6.6
зазор
подшипника относительный 6.7
зазор
радиального подшипника 6.4
зазор
радиального подшипника скольжения диаметральный 6.4
износостойкость 7.12
износостойкость
относительная 7.13
канавка
смазочная 5.3
канавка
смазочная винтовая 5.3.3
канавка
смазочная закрытая 5.3.5
канавка
смазочная кольцевая 5.3.2
канавка
смазочная наружная 5.2
канавка
смазочная отводная 5.3.6
канавка
смазочная открытая 5.3.4
канавка
смазочная продольная 5.3.1
карман
смазочный 5.4
кольцо
смазочное (свободно висящее) 4.10
кольцо
упорное 4.6
корпус
подшипника скольжения 4.11
крышка запорная 4.14
крышка
корпуса подшипника 4.13
крышка
подшипника скольжения запорная 4.14
материал антифрикционный 7.1
материал
основы подшипника скольжения 7.3
материал
подшипниковый 7.1
материал
подшипниковый композиционный 7.4
материал
подшипниковый многослойный 7.2
материал спеченный 7.5
материал
спеченный подшипниковый 7.5
непараллельность
плоскостей разъема вкладыша 6.15
основа вкладыша 4.5.1
основа
вкладыша подшипника 4.5.1
отверстие
заливное 4.20
отверстие
корпуса подшипника скольжения посадочное 4.22
отверстие
сливное 4.21
отверстие
смазочное 5.1
паз
смазочного кольца 4.19
плоскость
корпусного подшипника скольжения установочная 4.17
плоскость
разъема 6.22
плоскость установочная 4.17
поверхность
корпуса торцевая 6.20
поверхность
подшипника скольжения посадочная (задняя) 4.1.3
подшипник 2.1
подшипник
аэродинамический 3.3.2
подшипник
аэростатический 3.3.1
подшипник буртовый 3.2.3
подшипник
вибродемпферный 3.3.5
подшипник
гидродинамический 3.3.4
подшипник
гидростатический 3.3.3
подшипник
гидростатодинамический 3.3.6
подшипник
круглоцилиндрический 3.4.1
подшипник
многоклиновый 3.4.3
подшипник на
лапах корпусной 3.4.8.1
подшипник
некруглоцилиндрический 3.4.2
подшипник
работающий без смазки 3.3.8
подшипник радиальный 3.2.1
подшипник
самосмазывающийся 3.3.9
подшипник
самосмазывающийся пористый 3.3.10
подшипник
самоустанавливающийся 3.4.9
подшипник
самоустанавливающийся сегментный радиальный 3.4.5
подшипник
самоустанавливающийся сегментный упорный 3.4.6
подшипник
сегментный упорный 3.4.4
подшипник
скольжения 2.2
подшипник
скольжения динамически нагруженный 3.1.2
подшипник
скольжения радиально-упорный 3.2.3
подшипник
скольжения радиальный 3.2.1
подшипник
скольжения с твердым смазочным материалом 3.3.7
подшипник
скольжения статически нагруженный 3.1.1
подшипник
скольжения упорный 3.2.2
подшипник
спеченный 3.3.10
подшипник с
плавающей втулкой 3.4.7
подшипник с
фланцем корпусной 3.4.8.2
подшипник упорный 3.2.2
половина рабочей ширины подшипника 6.3.2
полукольцо упорное 4.6.1
прилегаемость 7.7
прилегаемость при трении 7.7
прирабатываемость 7.8
пята 4.9
радиус радиального подшипника скольжения
внутренний 6.1
размер сегмента тангенциальный 6.10
разъем 6.23
распрямление вкладыша подшипника скольжения 6.16
ребра охлаждения 6.21
сегмент 4.7
сегмент радиальный 4.7.1
сегмент упорный 4.7.2
скос вкладыша 6.13
слой защитный 4.5.5
слой подшипника скольжения приработочный 4.5.3
слой подшипникового материала 4.5.2
слой подшипниковый 4.5.2
слой приработочный 4.5.3
слой промежуточный 4.5.4
слой сцепляющий 4.5.4
совместимость трибологическая 7.6
сопротивление усталости 7.15
способность к поглощению 7.9
стойкость к заеданию 7.11
сцепляемость 7.10
температуростойкость 7.14
толщина сегмента 6.12
толщина слоя подшипникового материала 6.9
толщина стенки вкладыша 6.8
толщина стенки втулки 6.8
узел подшипника скольжения 2.3
узел подшипника скольжения в сборе 3.4.8
узел с системой смазки подшипниковый 3.3.11
уплотнение узла подшипника скольжения 4.15
фиксатор 5.5
фланец корпусного подшипника 4.16
шейка вала 4.8
ширина вкладыша подшипника 6.3
ширина вкладыша подшипника рабочая 6.3.1
ширина втулки подшипника 6.3
ширина корпуса 6.18
ширина сегмента 6.11
элемент изоляционный 4.18
aerodynamic
bearing 3.3.2
aerostatic
bearing 3.3.1
antifriction
material 7.1
axial
groove 5.3.1
backing 4.5.1
backing
material 7.3
bearing 2.1
bearing
back 4.1.3
bearing
block 4.12
bearing
bush 4.2
bearing
cap 4.13
bearing
clearance 6.4
bearing
effective width 6.3.1
bearing
gasket 4.15
bearing
housing base 4.17
bearing
housing flange 4.16
bearing
insulation 4.18
bearing
land width 6.3.2
bearing
layer 4.5.2
bearing
material 7.1
bearing
material layer 4.5.2
bearing
material layer thickness 6.9
bearing
outside diameter 6.2
bearing
width 6.3
bearing
wrapped bush 4.2.1
bonding 7.10
bonding
layer 4.5.4
bore 6.1
bore
relief 6.13
bush 4.2
bush
wall thickness 6.8
centre
height of a pedestal plain bearing 6.24
circular
cylindrical bearing 3.4.1
circumferential
groove 5.3.2
collar
diameter 6.27
composite
material 7.4
conformability 7.7
cooling
fins 6.21
cover
plate 4.14
crush 6.14
diametral
clearance of a plain journal bearing 6.4
dynamically
loaded plain bearing 3.1.2
embeddability 7.9
fatigue
resistance 7.15
flanged
bearing 3.2.3
flanged
bush 4.3
flanged
half- bearing 4.3
flanged
plain bearing assembly 3.4.8.2
flash 4.5.5
floating
bush bearing 3.4.7
free
spread 6.16
gutterway 5.3.6
half-bearing 4.1
half-bearing
backing 4.5.1
half-bearing
wall thickness 6.8
helical
groove 5.3.3
housing
face 6.20
housing
height 6.19
housing
length 6.17
housing
width 6.18
hybrid
bearing 3.3.6
hydrodynamic
bearing 3.3.4
hydrostatic
bearing 3.3.3
ID 6.1
inclination 6.15
interlayer 4.5.4
joint 6.23
joint
face 6.22
journal 4.8
journal
bearing 3.2.1
journal
bearing bore diameter 6.1
journal
bearing bore radius 6.1
journal
bearing clearance 6.4
journal
diameter 6.25
journal
pad 4.7.1
journal
thrust bearing 3.2.3
lining 4.5.2, 7.1
lining
thickness 6.9
lobed
bearing 3.4.3
locating
element 5.5
longitudinal
groove 5.3.1
minimum
bearing radial clearance of a non-circular cylindrical bearing 6.6
multilayer
bush 4.5
multilayer
half- bearing 4.5
multilayer
material 7.2
nickel
dam 4.5.4
nip 6.14
OD 6.2
oil
disc (secured) 4.10
oil
drain hole 4.21
oil
filler hole 4.20
oil
groove 5.3
oil
hole 5.1
oil
outer groove 5.2
oil
pocket 5.4
oil
ring (loose) 4.10
oil
ring slot 4.19
open
groove 5.3.4
overlay 4.5.3
pad 4.7
pad
length 6.10
pad
thickness 6.12
pad
thrust bearing 3.4.4
pad
width 6.11
pedestal
plain bearing assembly 3.4.8.1
plain
bearing 2.2
plain
bearing assembly 3.4.8
plain
bearing assembly gasket 4.15
plain
bearing bush 4.2
plain
bearing housing 4.11
plain
bearing housing block 4.12
plain
bearing housing bore 4.22
plain
bearing housing cap 4.13
plain
bearing housing cover plate 4.14
plain
bearing running-in layer 4.5.3
plain
bearing unit 2.3
plain
bearing wrapped bush 4.2.1
plain
journal bearing 3.2.1
plain
journal bearing outside diameter 6.2
plain
thrust bearing 3.2.2
porous
self-lubricating bearing 3.3.10
profile
bore bearing 3.4.2
protective
layer 4.5.5
radial
clearance of a circular cylindrical bearing 6.5
relative
clearance of a bearing 6.7
relative
wear resistance 7.13
running-in
ability 7.8
running-in
layer 4.5.3
seizure
resistance 7.11
self-aligning
bearing 3.4.9
self-contained
plain bearing assembly 3.3.11
self-lubricating
bearing 3.3.9
shaft
diameter 6.26
sintered
bearing 3.3.10
sintered
bearing material 7.5
sintered
material 7.5
solid
bush 4.4
solid-film
lubricated bearing 3.3.7
solid
half-bearing 4.4
split 6.23
squeeze
oil film bearing 3.3.5
statically
loaded plain bearing 2.1.1
stopped-off
groove 5.3.5
taper
land bearing 3.4.4
temperature
stability 7.14
tilting
pad journal bearing 3.4.5
tilting
pad thrust bearing 3.4.6
thick
wall half-bearing 4.1.2
thin
wall half-bearing 4.1.1
thrust
bearing 3.2.2
thrust
collar 4.9
thrust
collar diameter 6.27
thrust
half-washer 4.6.1
thrust
pad 4.7.2
thrust
washer 4.6
tribological
compatibility 7.6
unlubricated
bearing 3.3.8
wear
resistance 7.12
wrapped
bush 4.2.1
Алфавитный
указатель терминов на французском языке
ailettes de
refroidissement 6.21
alesage 6.1
alesage du
logement de palier lisse 4.22
alveole 5.4
aptitude au
rodage 7.8
bague 4.2
bague a
collerette 4.3
bague de
lubrication (libre) 4.10
bague
massive 4.4
bague
multicouche 4.5
bague
roulee 4.2.1
base du
logement du palier 4.17
bassin
relais 5.3.6
bloc du
logement de palier lisse 4.12
butee
(lisse) 3.2.2
butee a
patins 3.4.4
butee a
patins oscillants 3.4.6
butee a
segments 3.4.4
butee a
segments inclines 3.4.4
butee a
segments inclines puis paralleles 3.4.4
canal de
lubrication ou rainure externe 5.2
collerette
de logement de palier 4.16
collet de
butee 4.9
compatibilite
tribologique 7.6
conformabilite 7.7
corps de
palier 4.12
couche
antifriction 4.5.2
couche
dadherence 4.5.4
couche de
materiau antifriction 4.5.2
couche de
nickel 4.5.4
couche de
protection 4.5.5
couche de
rodage 4.5.3
couche
intermediaire 4.5.4
D 6.1
DE 6.2
demi-coussinet 4.1
demi-coussinet
a collerette 4.3
demi-coussinet
multicouche 4.5
demi-coussinet
epais 4.1.2
demi-coussinet
massif 4.4
demi-coussinet
mince 4.1.1
demi-flasque
de butee 4.6.1
depassement 6.14
depincage
de l’alesage 6.13
diametre
d’alesage d’un palier lisse radial 6.1
diametre de
l’arbre 6.26
diametre du
collet de butee 6.27
diametre du
tourillon 6.25
diametre
exterieur d’un palier 6.2
diametre
exterieur d’un palier lisse radial 6.2
disque de
lubrication (fixe) 4.10
element de
positionnement 5.5
encoche de
la bague de lubrification 4.19
ensemble
avec palier lisse 2.3, 3.4.8
epaisseur
d’un segment 6.12
epaisseur
de la couche de materiau antifriction 6.9
epaisseur
de paroi de bague 6.8
epaisseur
de paroi de demi-coussinet 6.8
epaisseur
du revetement 6.9
face du
logement 6.20
flasque de
fermeture du logement de palier lisse 4.14
hauteur de
l’ахе d’un palier lisse
a chaise sur le sol 6.24
hauteur du
logement 6.19
isolation
du palier 4.18
jeu 6.4
jeu d’un
palier radial 6.4
jeu
diametral d’un palier lisse radial 6.4
jeu radial
d’un palier cylindrique circulaire 6.5
jeu radial
minimal d’un palier cylindrique non circulaire 6.6
jeu relatif
d’un palier 6.7
joint 6.23
joint de
palier lisse 4.15
largeur
d’un palier 6.3
largeur
d’un segment 6.11
largeur de
la face d’appui du palier 6.3.2
largeur du
logement 6.17
largeur
utile d’un palier 6.3.1
logement ou
support de palier lisse 4.11
longueur
d’un segment 6.10
longueur du
logement 6.18
materiau
antifriction 7.1
materiau
composite 7.4
materiau
fritte antifriction 7.5
materiau
multicouche 7.2
materiau
support 7.3
non-parallelisme
des plans de joint 6.15
ouverture a
l’etat libre 6.16
palier 2.1
palier a
alesage profile 3.4.2
palier a
bague flottante 3.4.7
palier a
collerette 3.2.3
palier a
effet amortisseur 3.3.5
palier a
lobes 3.4.3
palier a
lubrifiant solide 3.3.7
palier a
patins oscillants 3.4.5
palier
aerodynamique 3.3.2
palier
aerostatique 3.3.1
palier
auto-alignant 3.4.9
palier
autolubrifiant 3.3.9
palier
autolubrifiant en materiau poreux 3.3.10
palier cylindrique
circulaire 3.4.1
palier
cylindrique non circulaire 3.4.2
palier de
butee 3.2.2
palier
fritte 3.3.10
palier
hybride 3.3.6
palier
hydrodynamique 3.3.4
palier
hydrostatique 3.3.3
palier
lisse 2.2
palier
lisse a chaise sur le sol 3.4.8.1
palier
lisse a charge dynamique 3.1.2
palier
lisse a charge statique 3.1.1
palier
lisse a collerette 3.4.8.2
palier
lisse autonome 3.3.11
palier
lisse de butee 3.2.2
palier
lisse radial 3.2.1
palier
radial 3.2.1
palier
radial de butee 3.2.3
palier sans
lubrifiant 3.3.8
partie
superieure du logement de palier lisse 4.1.3
plan de
joint 6.22
pouvoir
d’adherence 7.10
pouvoir
d’inclusion 7.9
rainure
axiale 5.3.1
rainure circulaire 5.3.2
rainure de
lubrication 5.3
rainure
fermee 5.3.5
rainure
helicoidale 5.3.3
rainure
longitudinale 5.3.1
rainure
ouverte 5.3.4
rayon
d’alesage d’un palier lisse radial 6.1
resistance
a l’usure 7.12
resistance
a la fatigue 7.15
resistance
au grippage 7.11
resistance
relative a l’usure 7.13
revetement 4.5.2, 7.1
rondelle ou
flasque de butee 4.6
segment
axial 4.7.2
segment ou
patin 4.7
segment
radial ou partie du coussinet 4.7.1
stabilite
en temperature 7.14
support 4.5.1
support de
demi-coussinet 4.5.1
surface
d’engagement du palier 4.1.3
tourillon 4.8
trou de
lubrification 5.1
trou de
remplissage d’huile 4.20
trou de
vidange d’huile 4.21
voile 4.5.5
СОДЕРЖАНИЕ
Ключевые слова: подшипники, подшипники
скольжения, термины, определения, конструкция, материалы, свойств