Крупнейшая бесплатная информационно-справочная система онлайн доступа к полному собранию технических нормативно-правовых актов РФ. Огромная база технических нормативов (более 150 тысяч документов) и полное собрание национальных стандартов, аутентичное официальной базе Госстандарта. GOSTRF.com - это более 1 Терабайта бесплатной технической информации для всех пользователей интернета. Все электронные копии представленных здесь документов могут распространяться без каких-либо ограничений. Поощряется распространение информации с этого сайта на любых других ресурсах. Каждый человек имеет право на неограниченный доступ к этим документам! Каждый человек имеет право на знание требований, изложенных в данных нормативно-правовых актах!

  


 

ЦЕНТРАЛЬНЫЙ НАУЧНО-ИССЛЕДОВАТЕЛЬСКИЙ
И ПРОЕКТНЫЙ ИНСТИТУТ ПО ГРАДОСТРОИТЕЛЬСТВУ
(ЦНИИП ГРАДОСТРОИТЕЛЬСТВА) ГОСГРАЖДАНСТРОЯ

РУКОВОДСТВО
ПО ПРОЕКТИРОВАНИЮ
ГОРОДСКИХ
УЛИЦ И ДОРОГ

МОСКВА СТРОЙИЗДАТ 1980

Рекомендовано к изданию секцией по проблемам городского транспорта Научно-технического совета ЦНИИП градостроительства.

Составлено к главе СНиП II-60-75 «Планировка и застройка городов, поселков и сельских населенных пунктов» и содержит рекомендации, детализирующие нормы проектирования по классификации городских улиц и дорог, расчетным показателям улиц, дорог и их пересечений в одном и разных уровнях, искусственным сооружениям, земляному полотну и дорожным одеждам, водоотводу, инженерным подземным сетям, освещению, озеленению, обустройству городских улиц и дорог, а также организации движения транспорта и пешеходов.

Для инженерно-технических работников проектных организаций (на всех стадиях проектирования от ТЭО генплана города до рабочих чертежей на строительство отдельных улиц и дорог).

ПРЕДИСЛОВИЕ

Руководство по проектированию городских улиц и дорог развивает требования главы СНиП II-60-75 «Планировка и застройка городов, поселков и сельских населенных пунктов», ряда других глав и нормативных документов, регламентирующих проектирование городских транспортных сооружений и приводит рекомендации по обоснованию параметров улично-дорожной сети городов в различных планировочных условиях, расчету элементов и конструкций улиц и дорог, их обустройству.

Включенный в Руководство текст глав СНиП набран полужирным шрифтом, ссылка на конкретную главу, кроме главы СНиП II-60-75, дана в сноске, таблицы отмечены полужирной чертой.

При нумерации пунктов, формул, таблиц в скобках указаны соответствующие им номера пунктов, формул и таблиц глав СНиП.

Руководство разработано ЦНИИП градостроительства Госгражданстроя и Московским ордена Трудового Красного Знамени Архитектурным институтом при участии Гипрокоммундортранса и Академии коммунального хозяйства им. К. Д. Памфилова МЖКХ РСФСР и ЦНИИЭП инженерного оборудования Госгражданстроя.

Руководство подготовили: инж. Д. П. Баранов (Гипрокоммундортранс) - разделы 8, 9, прил. 9, 10; канд. с.-х. наук М. М. Болховитина (ЦНИИП градостроительства) - раздел 12; канд. техн. наук В. П. Варлашкин (ЦНИИП градостроительства) - раздел 2, 3, 4, 13, прил. 3, 6; инж. В. П. Зобов (ЦНИИЭП инженерного оборудования), канд. техн. наук О. Г. Корягин (АКХ им. К. Д. Памфилова) - раздел 11; инж. В. Л. Карагодин (МАрхИ) - раздел 10, прил. 11; доц. Ю. С. Ланцберг (МАрхИ) - разделы 1, 2, 3, 4, 5, 6, 10, прил. 2, 11, 12; канд. техн. наук Н. А. Руднева (ЦНИИП градостроительства) - раздел 3, прил. 7; инж. Н. А. Рябиков (ЦНИИП градостроительства) - разделы 3, 14, прил. 4, 5; канд. техн. наук Ю. А. Ставничий (ЦНИИП градостроительства) - разделы 1, 2, 14, прил. 1; канд. техн. наук Н. Н. Чепурнова (ЦНИИП градостроительства) - разделы 5, 7, прил. 8.

Руководство разработано под общей редакцией доц. Ю. С. Ланцберга и канд. техн. наук Ю. А. Ставничего.

1. ОБЩИЕ ПОЛОЖЕНИЯ

1.1. Настоящее Руководство составлено к главе СНиП II-60-75 «Планировка и застройка городов, поселков и сельских населенных пунктов» и распространяется на все города, поселки и сельские населенные места, для которых, в соответствии с «Инструкцией по составлению проектов планировки и застройки городов, поселков и сельских населенных мест» (СН 345-66), разрабатываются генеральные планы и проекты планировки.

1.2. Вопросы проектирования городских улиц и дорог в районах вечной мерзлоты и в районах с жарким засушливым климатом в настоящем Руководстве рассмотрены частично.

Госстрой союзных республик, Мосгорисполком и Ленгорисполком по согласованию с Госстроем СССР могут разрабатывать местные указания и руководства, отражающие специфику проектирования городских улиц и дорог в условиях определенных городов или местностей.

1.3. При проектировании городских улиц и дорог при необходимости, кроме главы СНиП II-60-75, других общесоюзных нормативных документов и настоящего Руководства, следует учитывать отраслевые инструктивно-методические и научно-технические рекомендации, приведенные в литературе к Руководству.

1.4. При разработке проектов городских улиц и дорог следует исходить из классификации городов, поселков и сельских населенных мест в зависимости от проектной численности населения, приведенной в табл. 1 (1).

Таблица 1 (1)

Группы

Города с населением, тыс. чел.

Поселки с населением, тыс. чел.

Сельские населенные пункты с населением, тыс. чел.

Крупнейшие

-

-

-

-

Крупные

Св. 250 до 500

Св. 10

Св. 5

Большие

Св. 100 до 250

Св. 5 до 10

Св. 2 до 5

Средние

Св. 50 до 100

Св. 3 до 5

Св. 1 до 2

Малые

До 50

До 3

1.5. Улично-дорожная сеть города является частью городских путей сообщения, обеспечивающих необходимые грузовые и пассажирские связи между отдельными функциональными зонами города и внутри отдельных зон и других городских территорий.

Основными элементами улично-дорожной сети являются скоростные дороги, магистральные улицы и дороги; улицы и дороги местного значения.

1.6. Улично-дорожная сеть составляет часть городской территории, ограниченной красными линиями и предназначенной для движения транспорта и пешеходов; прокладки различных сетей инженерного оборудования; размещения зеленых насаждений.

1.7. Сеть городских улиц и дорог является одним из основных элементов планировочной структуры города и должна обеспечивать:

кратчайшие пассажирские связи между местами жилья, приложения труда и объектами культурно-бытового тяготения, центром города и центрами планировочных районов;

кратчайшие связи между грузообразующими и грузополучающими объектами;

необходимые скорости сообщения, обеспечивающие нормативные затраты времени на трудовые поездки;

безопасность и удобства движения пешеходов и транспортных средств;

удобные связи с сетью и сооружениями хранения и технического обслуживания автомобильного транспорта;

удобные связи с внешней сетью автомобильных дорог и сооружениями других видов внешнего транспорта - аэропортами, железнодорожными станциями, морскими и речными портами;

надежность функционирования всех элементов улично-дорожной сети с возможностью быстрого перераспределения потоков при выходе из строя отдельных участков сети;

соответствие пропускной способности сети перспективным объемам движения;

возможность рациональной прокладки различных инженерных сетей и коммуникаций по улично-дорожной сети;

допустимые уровни шума и загазованности атмосферного воздуха.

1.8. Основными характеристиками, определяющими качество улично-дорожной сети города, являются прямолинейность улично-дорожной и транспортной сети; плотность магистралей различных категорий; время сообщения между двумя любыми точками города.

1.9. Прямолинейность сети - один из главных показателей экономичности системы улиц и дорог города, оценивается коэффициентом непрямолинейности - отношением расстояния между двумя точками городского пространства по уличной сети к расстоянию между ними по прямой.

Для оценки улично-дорожных сетей по коэффициенту непрямолинейности следует использовать данные табл. 2.

Таблица 2

Коэффициент непрямолинейности

Более 1,3

1,25-1,3

1,2-1,25

1,15-1,2

1,1-1,15

1,1

Степень непрямолинейности сети

Исключительно высокая

Очень высокая

Высокая

Умеренная

Малая

Очень малая

Рекомендуется проектировать улично-дорожные сети со степенью непрямолинейности от очень малой до высокой, а при очень высоких и исключительно высоких показателях следует предусматривать мероприятия по уменьшению непрямолинейности: уплотнение улично-дорожной сети, спрямление отдельных важных направлений, введение диагональных магистралей и т.д.

1.10. Коэффициент непрямолинейности для транспортной сети (линий наземного пассажирского транспорта) определяется так же, как для улично-дорожной сети. При проектировании транспортных сетей следует обеспечивать коэффициент непрямолинейности в среднем не более 1,2, а при связях с главным транспортным узлом - не более 1,15.

1.11 (8.8). Плотность сети магистральных улиц, и дорог на расчетный срок должна приниматься в пределах 2200-2400 м/км2 территории городской застройки.

1.12 (8.11). Затраты времени на передвижение от мест проживания до мест работы для 80-90 % пассажиров (в один конец) не должны превышать 40 мин в крупнейших и крупных городах и не более 30 мин - в остальных городах.

Соблюдение этого требования обеспечивается дифференциацией улично-дорожной сети по скоростям с выделением магистралей скоростного и непрерывного движения, а также созданием развитой сети наземного общественного транспорта.

1.13. Линии наземного общественного транспорта следует предусматривать, как правило, на магистральных улицах общегородского и районного значения; в условиях реконструируемых городов для соблюдения норм пешеходной доступности остановок общественного транспорта возможна трассировка 1-2 маршрутов наземного общественного транспорта по жилым улицам.

1.14. (8.12). Расстояния между магистральными улицами, по которым предусматривается пропуск линий пассажирского общественного транспорта, следует принимать 600-800 м, в климатических подрайонах IA, IБ, IГ и IIА - 400-600 м.

Длина пешеходных подходов от мест жительства или работы до ближайшей остановки пассажирского общественного транспорта не должна превышать 500 м; указанное расстояние следует уменьшать: в климатических подрайонах IA, IБ, IГ и IIА - до 300 м, а в IV климатическом районе - до 400 м.

1.15. При составлении эскиза конфигурации магистральной улично-дорожной сети города или отдельных планировочных районов следует иметь в виду, что для обеспечения плотности, указанной в п. 1.11, рекомендуется соблюдать следующие положения:

в центральных районах городов плотность магистральной улично-дорожной сети может быть увеличена до 3,5-4,5 км/км2; в периферийных жилых районах - до 2,5-3,5 км/км2;

плотность улиц и дорог местного значения может составлять 1,25-2 км/км2 застроенной территории проектируемого района.

Плотность магистралей различных категорий по отношению к территории городской застройки рекомендуется принимать для:

скоростных автомобильных дорог 0,15-0,2 км/км2 при общей плотности всех дорог (включая грузовые дороги и дороги промышленно-коммунальных зон) 0,45-0,7 км/км2;

общегородских магистралей непрерывного движения - 0,2-0,3 км/км2;

общегородских и районных магистралей регулируемого движения - 1,2-1,6 км/км2.

1.16 (8.2). При расчете пропускной способности сети улиц, дорог и транспортных узлов, а также при размещении площадок для стоянки автомобилей следует принимать уровень автомобилизации на расчетный срок 150-180 легковых автомобилей на 1000 жителей.

Примечания: 1. Указанный уровень автомобилизации допускается уменьшать или увеличивать в зависимости от местных условий, но не более чем на 20 %.

2. В климатических подрайонах IA, IБ и IГ допускается принимать на расчетный срок меньшее количество легковых автомобилей, но не менее 100 на 1000 человек.

3. Приведенный уровень автомобилизации должен включать к расчетному сроку на 1000 человек 4 такси и 5 ведомственных автомобилей.

1.17. При необходимости определения уровня автомобилизации данного города на ближайшие 3-5 лет его допускается рассчитывать на основе интерполяции тенденции роста парка легковых автомобилей за предшествующие 5-10 лет.

1.18. Пропускная способность проезжих частей и узлов запроектированной улично-дорожной сети или отдельных магистралей не должна превышать интенсивности движения всех видов транспорта на расчетный срок соответствующей стадии градостроительного проектирования (генерального плана, комплексной транспортной схемы и др.).

1.19. Процесс проектирования городских улиц и дорог в современных условиях содержит следующие аспекты комплексного решения различных взаимосвязанных вопросов градостроительного проектирования:

а) рациональное комплексное проектирование сети улиц и дорог в целом по городу в увязке:

с общей сетью внешних автомобильных дорог;

с функциональным зонированием городских территорий и размещением общегородского и зональных центров;

с застройкой жилых районов; зональных и общегородских центров; различных городских зон (промышленных, складских, транспортно-коммунальных, отдыха и т.д.); отдельных комплексов различного назначения (административно-общественных, торговых, спортивных, выставочных, мемориально-исторических, научных и т.п.);

с размещением грузо- и пассажирообразующих пунктов;

с генеральными схемами инженерной подготовки территории, водоотвода, снегоудаления и озеленения и системами прокладки подземных и надземных инженерных сетей;

б) рациональное комплексное проектирование взаимосвязанных элементов улично-дорожной сети отдельных городских районов - от внутриквартальных (внутримикрорайонных) дорог и подъездов до магистралей общегородского значения;

в) комплексное проектирование всех элементов городской магистрали: проезжих частей, рельсовых путей трамвая, тротуаров, озеленения; обстановки пути (транспортного обустройства), средств регулирования и организации уличного движения; мостов, путепроводов, транспортных и пешеходных пересечений в одном и разных уровнях; водостоков и дренажей; водоводов и водопровода, фекально-хозяйственной канализации, газопроводов, различных продуктопроводов (нефтепровода, паропровода и т.п.), электросиловых кабелей, линий высоковольтных электропередач, кабелей связи, контактных проводов и т.п.

1.20. Вышеуказанные аспекты комплексного проектирования решаются на следующих последовательных стадиях проектных работ по планировке города и его отдельных элементов:

технико-экономические основы генерального плана города;

генеральный план города;

комплексная схема развития всех видов пассажирского транспорта;

проект детальной планировки;

проект планировки и застройки (архитектурно-планировочное задание) магистрали, площади, крупного комплекса общегородского значения (ТЭО объекта);

технический проект на строительство или реконструкцию улиц и дорог;

рабочие чертежи на строительство или реконструкцию улиц и дорог.

Ряд вопросов инженерного оборудования, которые следует учитывать в проектах городских улиц и дорог, решается в генеральных схемах различных систем инженерного оборудования, подготовки территории, озеленения.

1.21. На стадии ТЭО основной задачей в части предложений по улично-дорожной сети является предварительная проектная классификация улично-дорожной сети города в увязке с системами внешнего транспорта, предполагаемыми видами массового пассажирского транспорта, существующей сетью улиц и дорог, развитием новых территорий застройки. Никаких конкретных технических решений на стадии ТЭО не выполняется.

1.22. На стадии генерального плана определяются главные направления формирования и развития улично-дорожной и транспортной сети города на 25-30 лет, реализуемые в закреплении необходимых территорий для всех транспортных дорожных сооружений, включая линии рельсового уличного транспорта.

Транспортные расчеты, выполняемые на стадии генерального плана и представляемые в виде картограмм суммарной суточной и пиковой интенсивностей движения всех видов городского транспорта, являются основополагающими для всех последующих стадий проектирования городских улиц и дорог.

Кроме интенсивности движения генеральный план должен содержать данные, характеризующие распределение транспортных потоков в основных транспортных узлах по направлениям. Эти данные могут представляться в абсолютных цифрах интенсивности движения в приведенных единицах или в форме процентного соотношения поворотных (особенно левых) потоков.

1.23. На стадии комплексной транспортной схемы на основании решений генерального плана конкретизируются основные направления развития улично-дорожной сети города на 10-15 лет (с выделением первой очереди на 5 лет); направления реализуются в форме принципиальных технических решений как будущих заданий на техно-рабочее проектирование с адресной привязкой всех объектов дорожно-транспортного строительства.

Транспортные расчеты комплексных транспортных схем аналогичны расчетам генерального плана города, но включают также и расчеты интенсивности движения на первую очередь строительства. Распределение и величина потоков на транспортных узлах, строительство которых схемой обосновывается на первую очередь строительства, могут приниматься на основе обследований существующей интенсивности движения транспорта с последующей экстраполяцией на базе коэффициентов роста интенсивности или парка транспортных средств за ряд предшествующих лет.

1.24. В проекте детальной планировки разрабатываются основные технические решения всех улиц и дорог на территории проектируемого района в объемах, необходимых для обеспечения транспортного обслуживания района на ближайшие 5-10 лет с обязательным резервированием территории для перспективного развития на расчетный срок генерального плана.

Территории перспективного развития закрепляются «красными линиями», план которых является одним из основных результатов разработки улиц и дорог на стадии проекта детальной планировки.

1.25. Проект планировки и застройки магистрали, площади, улицы, набережной, комплекса общегородского значения выполняется для наиболее значимых архитектурно-планировочных элементов города в развитие ранее выполненного и утвержденного проекта детальной планировки жилых районов, общегородских и зональных центров.

В проекте планировки и застройки может производиться необходимая корректировка транспортных расчетов, выполненных на предыдущих стадиях.

Целью разработки проекта планировки и застройки является уточнение путем разработки и сравнения вариантов с определением стоимости строительства по укрупненным показателям возможных планировочного, транспортного, объемно-пространственного и композиционного решений магистрали, площади, улицы, набережной, комплекса общегородского значения.

Проект планировки и застройки служит основой для последующего выполнения технических проектов и рабочих чертежей магистралей, площадей, транспортных и пешеходно-транспортных пересечений в одном и разных уровнях, набережных, отдельных комплексов общегородского значения и отдельных зданий и сооружений и является практически технико-экономическим обоснованием строительства и своего рода архитектурно-планировочным заданием на разработку технического проекта строительства или реконструкции магистрали, улицы, площади, набережной и т.п.

1.26. В техническом проекте строительства или реконструкции городской улицы или дороги разрабатываются оптимальные технические решения. Технические проекты и сметы к ним являются единственными документами, на основании которых составляются титульные списки строительства и осуществляется финансирование.

Задачей разработки технического проекта в соответствии с заданием на проектирование является уточнение, а в необходимых случаях корректировка планировочных решений. В особых случаях при разработке технического проекта могут выполняться также в соответствии с заданием на проектирование варианты планировочного решения.

1.27. В техническом проекте строительства или реконструкции городской улицы или дороги должны быть решены следующие основные вопросы:

расположение элементов улицы или дороги в плане, в продольном и поперечном профиле;

конструкция дорожной одежды для проезжей части, тротуаров, автостоянок;

отвод поверхностных и подземных вод;

прокладка новых и переустройство существующих инженерных сетей;

озеленение, освещение и другие виды благоустройства;

снос зданий и сооружений, вырубки и пересадки зеленых насаждений;

организация и регулирование движения транспорта и пешеходов;

мероприятия по снижению отрицательного воздействия транспорта на окружающую среду;

методы производства работ с учетом производственной базы и механовооруженности строительных организаций с индустриализацией строительства, обеспечение безопасности строительства, безопасность движения транспорта и пешеходов в период строительства;

объем работ, баланс земляных работ; очередность, стадийность и продолжительность строительства;

стоимость строительства;

технико-экономические показатели по объекту.

1.28. Рабочие чертежи на строительство и реконструкцию городских улиц и дорог разрабатываются на основе утвержденных в установленном порядке технических проектов и являются детальной технической документацией для производства строительных работ.

1.29. При проектировании простых в техническом отношении объектов, а также в случаях, когда на стадии разработки проекта планировки и застройки (архитектурно-планировочного задания или ТЭО) было четко определено оптимальное архитектурно-планировочное и инженерно-транспортное решение в комплексе с оптимальным решением всех смежных градостроительных вопросов, стадия разработки технического проекта и стадия разработки рабочих чертежей могут быть объединены в одну стадию - стадию техно-рабочего проекта.

Проекты строительства городских скоростных дорог и общегородских магистралей непрерывного движения выполняют в две стадии: технический проект и рабочие чертежи.

1.30. В целях взаимоувязки всех комплексных задач разработки улично-дорожной сети на всех стадиях проектирования рекомендуется:

а) I-V стадии выполнять в одной проектной архитектурно-планировочной организации.

Для разработки специальных разделов, в том числе разделов транспорта и улично-дорожной сети, могут привлекаться по субподряду специализированные проектные организации, но с выполнением работы в один срок с основным проектом и с полной взаимоувязкой с ведущей проектной организацией;

б) VI и VII стадии выполнять проектной организацией, разрабатывающей предыдущие стадии, или дорожно-транспортными и инженерными специализированными проектными организациями с согласованием проекта в установленном порядке.

Проектирование улиц и дорог местного значения выполняется проектной организацией, проектирующей застройку (силами специализированных отделов) или специализированными проектными организациями; проектирование внутримикрорайонной сети улиц и проездов, как правило, должно вестись в проектной организации, проектирующей застройку.

1.31. На всех стадиях проектирования городских улиц и дорог должны быть обеспечены высокая эффективность капитальных вложений, прогрессивная технология производства строительных работ, использование местных строительных материалов, сохранение и улучшение окружающей городской среды.

1.32. Оценку эффективности капитальных вложений в развитие улично-дорожной сети городов следует производить в соответствии с «Инструкцией по определению экономической эффективности капитальных вложений в строительстве» (СН 423-71).

При сопоставительной оценке вариантов технических решений также необходимо учитывать качественные показатели: затраты времени, комфорт и безопасность поездки, наличие резерва провозной и пропускной способности, экономию ценных городских территорий и т.д.

1.33. В случаях когда обеспечение безопасности движения пешеходов и транспорта за счет соблюдения планировочных норм и требований связано с большими реконструктивными работами в проектах при соответствующем обосновании могут предусматриваться решения, обеспечивающие безопасность движения путем дополнительных инженерно-конструктивных мероприятий, а в исключительных случаях - снижением расчетной скорости.

1.34. Состав и содержание проектов, указанных в пп. 1.21-1.25, определяются соответствующими инструкциями и указаниями. Для согласования проектных решений на различных стадиях градостроительного проектирования целесообразно использовать рекомендации прил. 1.

Состав технического проекта и рабочих чертежей строительства (реконструкции) городских улиц и дорог рекомендуется принимать по прил. 2.

1.35. Все стадии градостроительного проектирования городских улиц и дорог выполняются по заданиям заказчика, составляемым в порядке и объемах, предусмотренных требованиями соответствующих инструкций.

Согласование и утверждение проектов на различных стадиях производятся в порядке, установленном соответствующими инструкциями.

2. ОСНОВНЫЕ ИСХОДНЫЕ ДАННЫЕ

Классификация городских улиц, дорог и площадей

2.1. В тексте Руководства приняты следующие обозначения:

скоростные дороги - СД;

магистральные улицы и дороги общегородского значения:

непрерывного движения - МНД;

регулируемого движения - МРД;

магистральные улицы районного значения - РМ;

дороги грузового движения - ГД;

улицы и дороги местного значения - УДМ.

Классификация улиц и дорог приведена в табл. 3 (37).

Таблица 3 (37)

Категории улиц и дорог

Основное назначение улиц и дорог

Расчетная скорость движения, км/ч

Скоростные дороги

Скоростная транспортная связь между районами крупнейшего или крупного города и между городами и другими населенными пунктами системы группового расселения с развязкой движения транспорта в разных уровнях

120

Магистральные улицы и дороги:

Непрерывного движения - транспортная связь между жилыми, промышленными районами и общественными центрами, а также со скоростными дорогами в пределах города с развязкой движения в разных уровнях

100

а) общегородского значения

Регулируемого движения - транспортная связь в пределах города между жилыми, промышленными районами и общественными центрами, а также с магистральными улицами непрерывного движения с устройством пересечений с другими улицами в одном уровне

80

б) районного значения

Транспортная связь в пределах района и с магистральными улицами общегородского значения с устройством пересечений с другими улицами и дорогами в одном уровне

80

в) дороги грузового движения

Перевозка промышленных и строительных грузов, осуществляемая вне жилой застройки, между промышленными и коммунальнокладскими зонами города с устройством пересечений с другими улицами и дорогами в одном уровне

80

Улицы и дороги местного значения:

 

 

а) жилые улицы

Транспортная (без пропуска общественного транспорта) связь жилых микрорайонов и групп жилых зданий с магистральными улицами районного значения

60

б) дороги промышленных и коммунально-складских районов

Перевозка промышленных и строительных грузов в пределах района, обеспечение связи с дорогами грузового движения с устройством пересечений с другими улицами и дорогами в одном уровне

60

в) пешеходные улицы и дороги

Пешеходная связь с местами приложения труда, учреждениями и предприятиями обслуживания, местами отдыха и остановками общественного транспорта

-

г) поселковые улицы

Транспортная связь внутри селитебной зоны с общественным центром, учреждениями и предприятиями обслуживания поселков и сельских населенных пунктов

60

д) поселковые дороги

Транспортная связь между селитебной и производственной зонами, а также в пределах этих зон

60

е) проезды

Транспортная связь в пределах микрорайонов

30

2.2. Для учета многообразных условий, возникающих в городах с различной численностью населения и разной расчетной интенсивностью движения транспорта, а также планировочных условий, рекомендуется пользоваться табл. 4.

2.3. Классификация городских площадей приведена в табл. 5 (48).

2.4. При проектировании площадей следует учитывать следующие особенности движения транспорта:

на главных площадях предусматривается преимущественно пешеходное движение; транзитное движение транспорта не допускается;

на площадях перед крупными общественными зданиями местное и транзитное движение транспорта должно быть разделено в одном или разных уровнях;

на транспортных и предмостных площадях следует предусматривать преимущественно транзитное движение транспорта;

на площадях многофункциональных транспортных узлов предусматривается преимущественно подъездное движение транспорта и движение пешеходов при пересадках;

на вокзальных площадях предусматривается транзитное и подъездное движение транспорта с четким разделением по направлениям.

Элементы городских улиц и дорог

2.5. Элементами городской улицы являются одна или несколько проезжих частей, предохранительные полосы, тротуары, пешеходные дороги, велодорожки, трамвайные пути, полосы зеленых насаждений, центральные разделительные полосы между проезжими частями встречных направлений движения, разделительные полосы между центральной проезжей частью и боковыми проездами, между тротуаром и проезжими частями, откосы насыпей и выемок, подпорные стенки, технические полосы, резервные полосы, остановочные и конечные площадки общественного транспорта и т.д.

Таблица 4

Категория улиц и дорог

Основное назначение улиц и дорог

Характеристика движения и виды обращающегося транспорта, особенности проектирования

Расчетная скорость, км/ч

Ориентировочная интенсивность движения в одном направлении, тыс. приведенных авт/ч

Скоростные дороги (СД):

 

 

 

 

СД-I - проходят по застроенным или подлежащим застройке территориям

Скоростная транспортная связь между районами крупнейшего или крупного города и между городами и другими населенными пунктами системы группового расселения

Непрерывное, все пересечения в разных уровнях, движение пешеходов запрещено. Все виды транспорта, кроме троллейбусов, мопедов и велосипедов, автобусы - только экспрессы. Обслуживание прилегающей застройки с боковых или местных проездов

120

4-5

СД-II - проходят по незастроенным и не подлежащим застройке территориям

То же

То же, боковые и местные проезды не устраиваются. Возможна открытая система водоотвода. На участках между городами проектируются как автомобильные дороги общей сети

120

3-4

Магистральные улицы и дороги общегородского значения непрерывного движения (МНД):

 

 

 

 

МНД-I (города с населением свыше 500 тыс. чел.)

Транспортная связь между жилыми, промышленными районами и общественными центрами, а также со скоростными дорогами в пределах города

Непрерывное, все пересечения в разных уровнях. Все виды транспорта, кроме мопедов и велосипедов. Возможно устройство боковых и местных проездов

100

3,5-4,5

МНД-II (города с населением 250-5100 тыс. чел.)

То же

То же. Возможно устройство только местных проездов

80

2,5-3,5

Магистральные улицы и дороги общегородского значения регулируемого движения (МРД):

 

 

 

 

МРД-I (города с населением свыше 250 тыс. чел.)

Транспортная связь в пределах города между жилыми промышленными районами и общественными центрами, а также с магистральными улицами непрерывного движения

Регулируемое. Все виды транспорта, кроме мопедов и велосипедов. Пересечения преимущественно в одном уровне, отдельные узлы могут устраиваться в разных уровнях. Возможно устройство боковых и местных проездов

80

2-3

МРД-II (города с населением до 250 тыс. чел.)

То же

То же. Пересечения только в одном уровне. Возможно устройство местных проездов

80

1,5-2

Боковые и местные проезды магистральных улиц общегородского значения:

 

 

 

 

боковые

Пропуск транспортных потоков при ограниченной пропускной способности центральных проезжих частей МНД-I и МРД-II

Регулируемое. Общественный безрельсовый и автомобильный транспорт

60

0,5-0,8

местные

Обслуживание прилегающей застройки

Регулируемые. Обслуживающий автомобильный транспорт

40

0,3-0,5

Магистральные улицы районного значения (РМ):

 

 

 

 

PM-I (города с населением свыше 250 тыс. чел.)

Транспортная связь в пределах района и с магистральными улицами общегородского значения

Регулируемое. Все виды транспорта. Велосипеды только при наличии велодорожек. В жилых зонах преобладает движение общественного и легкового индивидуального транспорта, в промышленно-складских зонах - движение грузовых автомобилей. Пересечения в одном уровне

80

1,5-2

PM-II (города с населением до 250 тыс. чел.)

То же

То же

80

1-1,5

Магистральные дороги общегородского значения грузового движения (ГД):

 

 

 

 

ГД-I - проходят по застроенной или подлежащей застройке территории, преимущественно вне селитебной зоны

Перевозка промышленных и строительных грузов, осуществляемая вне жилой застройки, между промышленными и коммунально-складскими зонами города

Регулируемое. Преимущественно грузовое. Пересечения в одном и в разных уровнях. Общественный маршрутный транспорт отсутствует. В случае необходимости пропуска общественного транспорта переходит в категорию магистральных улиц районного значения

80

1-1,8

ГД-II - проходят по незастроенным или не подлежащим застройке территориям

То же

То же. Могут проектироваться водоотвод открытого типа и обочины

80

0,5-1,5

Улицы и дороги местного значения (УДМ):

 

 

 

 

жилые улицы

Транспортная связь микрорайонов и групп жилых зданий с магистральными улицами районного значения

Преимущественно транспорт, обслуживающий район, как исключение допускается пропуск 1-2 маршрутов общественного транспорта

60

0,3-0,9

дороги промышленных и коммунально-складских районов

Перевозка промышленных и строительных грузов в пределах района, обеспечение связи с дорогами грузового движения

Преимущественно грузовой транспорт. Допускается пропуск 1-2 маршрутов общественного транспорта. Пересечения в одном уровне

60

0,8-1,5

пешеходные улицы и дороги

Пешеходная связь внутрицентрального городского ядра, пешеходная связь с местами приложения труда, учреждениями и предприятиями обслуживания, местами отдыха и остановками общественного транспорта

Допускается пропуск единичных транспортных средств служебного и аварийного назначения

-

-

поселковые улицы

Внутрипоселковые транспортные и пешеходные связи, транспортные связи с производственными зонами, а также с автодорогами общей сети

Все виды транспорта. На первую очередь строительства допускается открытая система водоотвода

60

0,5-0,8

поселковые дороги

Транспортная связь между селитебной и производственной зонами, промышленными и коммунально-складскими зонами, а также в пределах этих зон

Все виды транспорта. Открытая система водоотвода

60

0,3-0,6

Проезды внутримикрорайонные (внутриквартальные):

 

 

 

 

главные

Транспортная связь нескольких групп жилых домов с улицами местного значения и с магистральными улицами районного значения. Могут рассматриваться как жилые улицы

Транспорт, обслуживающий микрорайоны. Общественный транспорт отсутствует

40

-

основные

Транспортная и пешеходная связь отдельных групп жилых домов, а также общественных и культурно-бытовых учреждений между собой, с главными проездами, жилыми и магистральными улицами районного значения

То же

30

-

подъезды к отдельным домам, служебные, хозяйственные и пожарные проезды

Транспортное и пешеходное обслуживание отдельных зданий. Связь с основными и главными проездами

Обслуживающий транспорт с кратковременной стоянкой

15

-

Велосипедные дорожки

Связь внутри микрорайона, с жилыми улицами и магистральными улицами районного значения

Только велосипедное движение. Пропуск моторизованных, двух- и трехколесных транспортных средств запрещается. Как правило, прокладываются по самостоятельным трассам

30

-

Примечание. СД-II между городом и населенными пунктами группового расселения проектируются как автомобильные дороги общей сети Союза ССР II технической категории.

ГД-II проектируют как автомобильные дороги общей сети Союза ССР IV технической категории.

Таблица 5 (48)

Площади

Назначение площади

Главные

Для пешеходных подходов к общественным зданиям и для проведения демонстраций, парадов и народных празднеств

Перед крупными общественными зданиями и сооружениями, стадионами, театрами, выставками, торговыми центрами и другими местами массового посещения

Для подъезда пассажирского транспорта и подхода посетителей к общественным зданиям и сооружениям; для размещения остановочных пунктов транспорта и площадок для стоянки автомобилей

Транспортные и предмостные

Для распределения транспортных потоков по примыкающим улицам и дорогам; для размещения пересечений и примыканий улиц и дорог как в одном, так и в разных уровнях

Вокзальные

Для подъезда к зданиям и сооружениям внешнего транспорта, для развязки движения транспорта и пешеходов в одном и разных уровнях, для размещения остановочных пунктов транспорта и площадок для стоянки автомобилей

Многофункциональных транспортных узлов

Для размещения общественных зданий и сооружений пригородного и городского транспорта, подъездов и подходов к ним и для устройства пересадки пассажиров с одних видов транспорта на другие

Предзаводские

Для подходов к проходным предприятий, для развязки движения и размещения остановочных пунктов транспорта и площадок для стоянки автомобилей

Колхозных рынков

Для организации движения, размещения остановочных пунктов транспорта и площадок для стоянки автомобилей

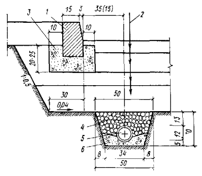
На СД и ГД, расположенных на незастроенных и не подлежащих застройке территориях, элементом дороги служат также обочины и кюветы открытой системы водостоков.

Автостоянки, расположенные в границах красных линий, входят как элемент в городскую улицу или дорогу. Автостоянки, размещаемые вне красных линий, в городскую улицу не входят, но являются составным элементом улично-дорожной сети.

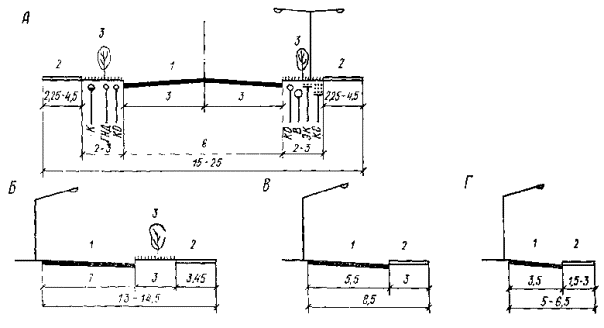
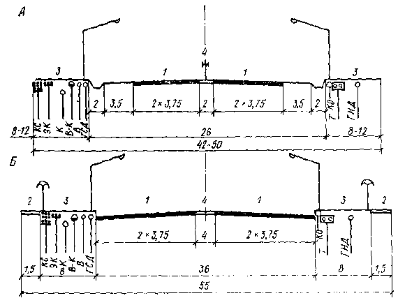
Рис. 1. Типовые поперечные профили скоростных дорог

А - вне застройки; Б - в промышленно-складских районах; 1 - основная проезжая часть; 2 - местные и боковые проезды; 3 - предохранительные и краевые полосы; 4 - тротуары; 5 - разделительные полосы и полосы озеленения; 6 - предохранительный брус; 7 - ограждения пешеходов; 8 - кабели освещения и связи

Рис. 2. Типовой поперечный профиль скоростной дороги в выемке

1 - основная проезжая часть; 2 - местные и боковые проезды; 3 - предохранительные и краевые полосы; 4 - тротуары; 5 - разделительные полосы и полосы озеленения; 6 - предохранительный брус; 7 - кабели освещения и связи

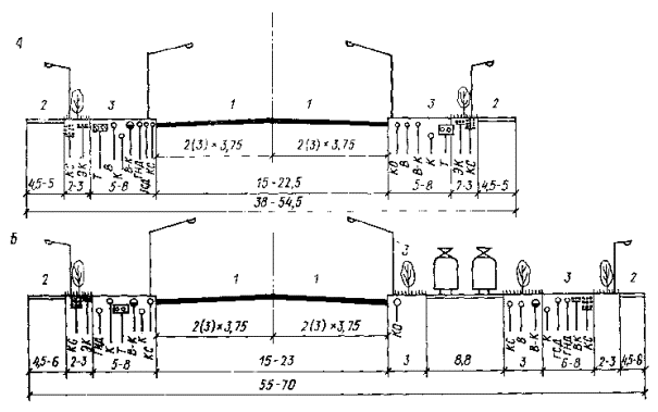
Рис. 3. Типовой поперечный профиль общегородской магистрали непрерывного движения

1 - основная проезжая часть; 2 - боковые и местные проезды; 3 - предохранительные полосы; 4 - тротуары; 5 - разделительные полосы и полосы озеленения; 6 - ограждения пешеходов; Т - телефонные кабели; В - водопровод; В-К - водопровод и канализация; К - канализация; КС - кабели связи; КО - кабели освещения; ГНД - газопровод низкого давления; ГСД - газопровод среднего давления; ККТ - коллектор электрических и телефонных кабелей

Рис. 4 Типовой поперечный профиль общегородской магистрали регулируемого движения

А - без трамвая; Б - с трамваем; 1 - основная проезжая часть; 2 - боковые и местные проезды; 3 - предохранительные полосы; 4 - тротуары; 5 - разделительные полосы и полосы озеленения; Т - телефонные кабели; В - водопровод; В-К - водопровод и канализация; К - канализация; ЭК - электрокабели; КС - кабели связи; КО - кабели освещения; ГНД - газопровод низкого давления; ГСД - газопровод среднего давления; ККТ - коллектор электрических и телефонных кабелей

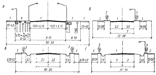
Рис. 5. Типовые поперечные профили магистралей районного значения

А - без трамвая; Б - с трамваем; 1 - основная проезжая часть; 2 - тротуары; 3 - полосы озеленения; Т - телефонные кабели; КС - кабели связи; ЭК - электрокабели; В - водопровод; К - канализация; В-К - водопровод и канализация; КО - кабели освещения; ГНД - газопровод низкого давления; ГСД - газопровод среднего давления

2.6. Границами городских улиц и дорог и окружающей территории (застройка, парки, скверы, различные сооружения и пр.) являются красные линии, расстояние между которыми определяет ширину улицы (дороги) в красных линиях.

2.7 (9.1). Ширину улиц и дорог следует устанавливать с учетом их категории и в зависимости от расчетной интенсивности движения транспорта и пешеходов; типа застройки; рельефа местности; требований защиты населения от шума, пыли, выхлопных газов автомобилей, способов отвода дождевых и талых вод; размещения подземных инженерных сетей, зеленых насаждений, оросительных каналов и др.

2.8. Многообразие факторов, влияющих на ширину улиц одних и тех же категорий, позволяет рекомендовать только типовые решения поперечного профиля (см. рис. 1-9), которые в дальнейшем уточняются для конкретных случаев проектирования.

Рис. 6. Типовые поперечные профили дорог грузового движения

А - вне застройки; Б - в застройке; 1 - основная проезжая часть; 2 - тротуары; 3 - полосы озеленения; 4 - центральная разделительная полоса; Т - телефонные кабели; КС - кабели связи; ЭК - электрокабели; В - водопровод; К - канализация; В-К - водопровод и канализация; КО - кабели освещения; ГНД - газопровод низкого давления; ГСД - газопровод среднего давления

2.9. При решении отдельных элементов городских улиц и дорог рекомендуется:

трамвайные пути предусматривать на МРД и РМ и размещать на обособленном полотне или в одном уровне с проезжей частью по оси проезжей части или с одной из двух сторон проезжей части;

полосы зеленых насаждений использовать для разделения различных элементов улицы: проезжей части от тротуаров, тротуаров от застройки и т.д.;

технические полосы, разделительные островки и полосы озеленения использовать для прокладки подземных инженерных сетей;

резервные полосы предусматривать для последующего устройства проезжих частей, трамвайных линий, прокладки инженерных подземных сетей, строительства метрополитена и т.д.;

направляющие и регулирующие движение островки выполнять конструктивно поднятыми над проезжей частью или в одном уровне с выделением разметкой;

велодорожки устраивать на отдельной полосе вне проезжей части.

Рис. 7. Типовые поперечные профили жилых улиц и микрорайонных проездов

А - жилые улицы; Б - главные проезды; В - основные проезды; Г - подъезды к отдельным зданиям; 1 - проезжая часть; 2 - тротуары; 3 - газоны; ГНД - газопровод низкого давления; КО - кабели освещения; КС - кабели связи; ЭК - электрокабели; В - водопровод; К - канализация

Рис. 8. Типовые поперечные профили дорог и улиц местного значения

А - дороги промышленных и коммунально-складских зон; Б - поселковые улицы в многоэтажной застройке; В - поселковые улицы в малоэтажной застройке; Г - поселковые улицы в усадебной застройке; 1 - проезжая часть; 2 - тротуары; 3 - газоны; В-К - водопровод и канализация; ГСД - газопровод среднего давления; КО - кабели освещения; КС - кабели связи; ЭК - электрокабели; В - водопровод; К - канализация

Рис. 9. Типовые поперечные профили поселковых дорог

1 - проезжая часть; 2 - озеленение

2.10. При расположении различных элементов городских улиц и дорог в разных уровнях по отношению друг к другу их сопряжение достигается с помощью откосов или подпорных стенок. Конструктивным элементом сопряжения проезжих частей с газонами и тротуарами является бордюрный (бортовой) камень.

Расчетные нагрузки и скорости

2.11. Технические характеристики и нагрузки от транспортных средств, преобладающих на улицах и дорогах городов СССР, рекомендуется принимать по прил. 3.

При расчетах интенсивности движения различных транспортных средств их следует приводить к одному расчетному виду (легковой автомобиль), применяя коэффициенты, приведенные в табл. 6.

Таблица 6

Транспортные средства

Коэффициент приведения

Легковые автомобили

1

Грузовые автомобили грузоподъемностью, т:

 

до 2

1,5

от 2 до 5

2

» 5 »   8

2,5

» 8 »   14

3,5

св. 14

3,5

Автобусы

2,5

Троллейбусы

3

Сочлененные автобусы и троллейбусы

4

Автопоезда грузоподъемностью, т:

 

до 6

3

» 12

3,5

» 20

4

» 30

5

св. 30

6

Мотоциклы и мопеды

0,5

Велосипеды

0,3

2.12. Расчетную скорость движения одиночного легкового автомобиля для городских улиц и дорог различных категорий с учетом условий трассирования рекомендуется принимать по табл. 7.

2.13. Расчетная скорость движения определяется на стадии генплана и уточняется на стадиях разработки проекта детальной планировки и проекта планировки магистрали, улицы, площади в зависимости от конкретных условий. На стадии разработки технического проекта также возможно уточнение расчетной скорости.

Расчетная скорость может приниматься различной на отдельных участках улицы (дороги).

2.14. Все нормативы проектирования в плане и профиле и геометрические элементы определяются в зависимости от принятой для всей улицы и для ее отдельных участков расчетной скорости.

Таблица 7

Категория улиц и дорог

Расчетная скорость, км/ч, при условиях трассирования

нормальных

затрудненных (при реконструкции; на пересеченной местности)

трудных (при сложной реконструкции; в горной местности)

СД в застройке

120

100

80

» вне застройки

120

100

80

МНД-I

100

80

60

МНД-II

80

60

50

МРД-I

80

60

40

МРД-II

80

60

40

Боковые и местные проезды магистральных улиц:

 

 

 

боковые

60

40

30

местные

40

30

15

PM-I

80

60

50

РМ-II

60

50

40

ГД в застройке

80

60

40

» вне застройки

80

70

50

УДМ

60

40

30

Внутримикрорайонные проезды:

 

 

 

главные

40

30

30

основные

30

30

20

подъезды к отдельным зданиям

15

15

15

При невозможности обеспечить расчетные параметры на отдельных участках городских улиц и дорог следует на основе технико-экономического обоснования снижать расчетную скорость. В случае этих отклонений от норм ухудшение дорожных условий следует учитывать в проектах организации движения.

Основные нормативы проектирования плана, продольного и поперечного профилей

2.15. Основные нормативы проектирования плана и продольного профиля следует принимать в зависимости от расчетной скорости по табл. 8. В конкретных случаях нормативы могут изменяться в соответствии с рекомендациями разделов 3, 4.

2.16. В табл. 9 приведены рекомендуемые размеры ширины улиц и дорог и различных элементов поперечного профиля, которые в конкретных случаях подлежат уточнению в зависимости от фактической интенсивности движения, требований озеленения, размещения подземных и надземных инженерных сетей, снижения отрицательных воздействий транспорта на окружающую среду и пр. Типовые поперечные профили показаны на рис. 1-9.

Таблица 8

Расчетная скорость, км/ч

Нормативы проектирования плана и продольного профиля

наименьший радиус кривых в плане, м

наибольший продольный уклон, %

расчетные расстояния видимости, м

наименьшие радиусы вертикальных кривых, м

поверхности дороги

встречного автомобиля

при алгебраической разности уклонов продольного профиля, %

выпуклых

вогнутых

120

600

40

175

350

50 и более

10000

2000

100

400

50

140

280

70 и более

6000

1500

80

250

60

100

200

100 и более

4000

1600

70

200

65

85

170

100 и более

3500

1000

60

125

70

75

150

150 и более

2000

500

50

100

80

60

120

150 и более

1500

400

40

60

80

60

120

150 и более

1000

300

30

30

80

60

120

150 и более

600

200

2.17. На основной проезжей части городских улиц и дорог не следует предусматривать более четырех полос движения в одном направлении. Если перспективная интенсивность движения превышает пропускную способность четырехполосной проезжей части, необходимо предусмотреть боковой проезд или дублер.

2.18. Двухполосные проезды с двусторонним движением: троллейбусов на первую очередь строительства, а для малых и средних городов на расчетный срок, должны иметь ширину проезжей части 10,5 м, т.е. две полосы по 5,25 м; автобусов - 9 м. Для проездов с числом полос более двух это требование отпадает.

2.19 (8.4). Расстояние от края проезжей части скоростных дорог и дорог грузового движения до красной линии жилой застройки необходимо принимать 50 м (с учетом требований п. 5.27 настоящих норм).

2.20 (9.9). Расстояние от края проезжей части улиц до линии застройки следует, как правило, принимать не более 25 м. При невозможности обеспечения указанного расстояния следует предусматривать на расстоянии не ближе 5 м от линии застройки полосу шириной 6 м, пригодную для проезда по ней пожарных машин.


Таблица 9

Категория улиц и дорог

Основные нормативы проектирования поперечного профиля

 

ширина в красных линиях, м

число полос движения

ширина полосы движения, м

ширина полосы безопасности по бокам проезжей части каждого направления движения, м

ширина разделительной полосы, м

ширина, м

 

центральной

между боковыми и местными проездами и центральной проезжей частью

между проезжей частью и трамвайным полотном

между проезжей частью и тротуаром

между тротуаром и трамвайным полотном

тротуаров

обочины

на первую очередь строительства

на расчетный срок

СД-I

130

6

8

3,75

2×1

6

10

-

-

-

0,75

-

 

СД-II

70

4

6

3,75

-

6

-

-

-

-

-

2×3,75

 

МНД-I

100

6

8

3,75

2×0,75

4

8

6

3

-

7,5

-

 

МНД-II

80

4

6

3,75

2×0,75

2

-

6

3

-

6

-

 

МРД-I

80

4-6

6-8

3,75

2×0,5

4

6

3

3

3

7,5

-

 

МРД-II

50

4

4-6

3,75

2×0,5

-

6

3

3

3

6

-

 

PM-I

40

4

6

3,75

-

2

-

3

3

2

6

-

 

РМ-II

30

2

4

3,75

-

-

-

3

-

-

4,5

-

 

ГД-I

50

2

4

3,75

-

4

-

-

-

-

1,5

-

 

ГД-II

35

2

4

3,75

-

4

-

-

-

-

0,75

2×2,5

 

Жилые улицы

25

2

4

3

-

-

-

-

2

-

4,5

-

 

Дороги промышленных и коммунально-складских районов

30

2

4

3,75

-

-

-

-

2

-

4,5

-

 

Поселковые улицы

15

2

2

3,5

-

-

-

-

2

-

1,5

-

 

Поселковые дороги

20

2

2

3,5

-

-

-

-

-

-

0,75

-

 


Мероприятия по борьбе с транспортным шумом и загрязнением воздуха

2.21. В целях снижения отрицательного воздействия транспорта на окружающую городскую среду при проектировании городских улиц и дорог следует предусматривать комплекс мероприятий по снижению транспортного шума и загазованности атмосферного воздуха.

2.22 (10.4)*. При проектировании городских улиц и дорог следует учитывать шум, возникающий при движении транспортных средств.

* Глава СНиП II-12-77 «Защита от шума».

Расчетные шумовые характеристики транспортных потоков LАэкв, дБА, на улицах и дорогах городов для условий движения транспорта в час пик допускается принимать по табл. 10 (27).

Таблица 10 (27)

Категории улиц и дорог

Число полос движения проезжей части в обоих направлениях

Шумовая характеристика транспортного потока LАэкв, дБА

Скоростные дороги

6

86

8

87

Магистральные улицы и дороги:

 

 

непрерывного движения

6

84

8

85

регулируемого     »

4

81

6

82

районного значения

4

81

6

82

дороги грузового движения

2

79

4

81

Улицы и дороги местного значения:

 

 

жилые улицы

2

73

4

75

дороги промышленных и коммунально-складских районов

2

79

Планировка и инженерно-технические решения городских улиц и дорог должны обеспечивать снижение шума на территориях прилегающей застройки до уровней, не более указанных в табл. 11.

2.23. Требуемое снижение уровней звука в расчетной точке ΔLАтр.тер, дБА, на территории следует определять по формуле*

ΔLАтрер = LАтер - LАэкв.доп                                                                                       (1)

где LАэкв.доп - допустимый уровень звука, дБА, на территории, определяемый по табл. 11;

LАтер -       уровень звука, дБА, в расчетной точке на территории защищаемого объекта, определяемый по табл. 10 с учетом требований пп. 10.5-10.7 главы СНиП II-12-77.

* Глава СНиП II-12-77 «Защита от шума».

Таблица 11

Территории

Эквивалентные уровни звука LАэкв, дБА

Часы суток

с 7 до 23 ч

с 23 до 7 ч

Больниц, санаториев, непосредственно прилегающие к магистралям

45

35

Непосредственно прилегающие к жилым домам (в 2 м от ограждающих конструкций)

69

55

Площадки отдыха в микрорайонах, у групп жилых домов, площадки детских дошкольных учреждений, участки школ

45

45

2.24 (10.11)*. Для снижения уровней звука на территории или в помещениях защищаемых от шума объектов следует применять экраны, размещаемые между источниками шума и защищаемыми от шума объектами.

* Глава СНиП II-12-77.

2.25 (10.12)*. В качестве экранов следует применять искусственные и естественные элементы рельефа местности (выемки, земляные кавальеры, насыпи, холмы и др.), здания, в помещениях которых допускаются уровни звука более 50 дБА, жилые здания с усиленной звукоизоляцией наружных ограждающих конструкций, жилые здания, в которых со стороны источников шума расположены окна подсобных помещений и одной жилой комнаты трехкомнатных квартир и квартир с большим числом комнат и различные сооружения (придорожные подпорные, ограждающие и специальные защитные стенки с поверхностной плотностью не менее 30 кг/м2 и др.).

* Глава СНиП II-12-77.

Все указанные здания и сооружения следует размещать вдоль источников шума, как правило, в виде сплошной застройки.

Конкретные значения снижения уровня звука экранами следует определять расчетом в соответствии с пп 10.14-10.16 главы СНиП II-12-77.

2.26 (10.17)*. Снижение уровня звука ΔLАзел, дБА, полосами зеленых насаждений следует принимать по табл. 12 (36).

* Глава СНиП II-12-77.

2.27. Движение автомобилей по улицам и дорогам сопровождается выбросом отработавших газов, наибольшее скопление которых наблюдается вблизи пересечений в одном уровне и автобусных остановок.

Санитарно-гигиенические требования устанавливают следующие предельно допустимые концентрации вредных веществ, содержащихся в автомобильных выбросах, в атмосферном воздухе (табл. 13).

Таблица 12 (36)

Полоса зеленых насаждений

Ширина полосы, м

Снижение уровня звука ΔLАзел, дБА

Однорядная при шахматной посадке деревьев внутри полосы

10-15

4-5

То же

16-20

5-8

Двухрядная при расстоянии между рядами 3-5 м; ряды аналогичны однорядной посадке

21-25

8-10

Двух- или трехрядная при расстояниях между рядами 3 м; ряды аналогичны однорядной посадке

26-30

10-12

Примечание. Высоту деревьев следует принимать не менее 5-8 м.

Таблица 13

Вещества

Предельно допустимая концентрация, мг/м3

максимальная

разовая среднесуточная

Окись углерода

3

1

Двуокись азота

0,085

0,068

Сероводород

0,008

0,008

Свинец и его соединения

-

0,0007

Сажа

0,15

0,05

Бензапирен

0,002

0,001

2.28. Для снижения загрязнения атмосферы выхлопными газами автомобилей необходимо при проектировании городских улиц и дорог предусматривать их расположение относительно застройки с учетом годовой розы ветров данной местности; располагать улицы и дороги так, чтобы господствующие ветры относили загрязненный воздух от жилых и общественных зданий.

2.29. Для снижения транспортного шума и загрязнения воздуха выхлопными газами на территории городской застройки рекомендуется возможно шире применять следующие транспортно-планировочные решения:

организацию непрерывного движения за счет строительства транспортных и пешеходных пересечений в разных уровнях;

назначение кратных расстояний между пересечениями с организацией движения транспорта по принципу «зеленой волны»;

увеличение расстояний между застройкой и проезжей частью МИД и МРД против минимальных с использованием шумозащитных зеленых насаждений;

развитие сети МНД и ГД, проходящих вне жилых районов, за склонами естественного (холмы, овраги, балки) или искусственного (земляные кавальеры) рельефа.

3. ПРОЕКТИРОВАНИЕ ПОПЕРЕЧНОГО ПРОФИЛЯ И ПЛАНА

Пропускная способность городских улиц и дорог

3.1. Пропускная способность городских улиц и дорог определяется числом полос движения и их пропускной способностью, которую следует определять по расчету.

Пропускной способностью полосы улиц и дорог непрерывного движения называется зависящее от скорости и условий движения максимальное количество транспортных средств, проходящих через сечение полосы движения в течение одного часа в одном направлении, при соблюдении условий безопасности движения.

Пропускной способностью полосы улиц и дорог регулируемого движения называется зависящее от условий и организации движения максимальное количество транспортных средств, проходящих по полосе через линию «стоп» в течение 1 ч в одном направлении при соблюдении условий безопасности движения. Под организацией движения понимается доля времени от продолжительности цикла, выделяемая для движения транспортных средств в направлениях, определяющих пропускную способность проезжей части в сечении линии «стоп».

Пропускная способность магистральной сети улиц и дорог регулируемого движения определяется пропускной способностью проезжих частей улиц и дорог на регулируемых перекрестках. Пропускная способность проезжей части улиц и дорог регулируемого движения на перегоне не определяется.

К условиям, оказывающим существенное влияние на пропускную способность полосы движения, относятся число полос движения и интенсивность перемещения транспортных средств с одной полосы движения на другую в целях изменения направления движения или остановки; метод организации движения; состав потока; наличие и интенсивность движения уличного массового общественного транспорта; наличие центральной и боковых разделительных полос; состояние покрытия.

3.2 (9.3). Для предварительных расчетов пропускную способность одной полосы проезжей части улиц и дорог допускается принимать по табл. 14 (40).

3.3. Для расчетов пропускной способности полосы движения в конкретных условиях на стадиях ПДП и техно-рабочего проектирования следует пользоваться известными методами расчетов, а также рекомендациями пп. 3.1-3.10, представляющими обобщение ряда методик расчета пропускной способности полосы движения по материалам последних исследований [26, 31, 40]. Примеры расчета приведены в прил. 5, 6.

3.4. Расчет пропускной способности полосы улиц и дорог непрерывного движения P, авт/ч, рекомендуется определить по уравнению

                                                             (2)

где v - скорость потока, км/ч;

S - динамический габарит транспортного средства при соответствующей скорости, м.

Таблица 14 (40)

Транспортные средства

Наибольшее число однородных физических единиц транспорта в 1 ч

при пересечениях в разных уровнях

при пересечении в одном уровне

на скоростных дорогах

на магистральных улицах непрерывного движения

Легковые автомобили

1200-1500

1000-1200

600-700

Грузовые

600-800

500-650

300-400

Автобусы

200-300

150-250

100-150

Троллейбусы

-

110-130

70-90

В качестве скорости потока при определении пропускной способности полосы движения рекомендуется принимать скорости, соответствующие максимальной эффективности автомобильных перевозок и функциональному назначению улицы или дороги, значения которых приведены в табл. 15.

Таблица 15

Категория улиц и дорог

Расчетная скорость, км/ч

Скорость потока, км/ч

Скоростные дороги

120

80

Общегородские магистрали:

 

 

непрерывного движения

100

60

регулируемого  »

80

60

Районные магистрали

80

60

Дороги грузового движения

80

60

Расчет динамического габарита транспортного средства S, м, рекомендуется производить по уравнению

                                                       (3)

где l0 - дистанция безопасности между остановившимися транспортными средствами, м;

lа - длина расчетного транспортного средства, м;

е = 2,719.

Дистанция безопасности между остановившимися транспортными средствами определяется при остановке непрерываемого плотного потока. Для соответствующих улиц и дорог значения дистанции безопасности между остановившимися транспортными средствами, выраженными в приведенных (легковых) автомобилях, рекомендуется принимать по табл. 16.

Таблица 16

Категория улиц и дорог

Дистанция безопасности, м, между остановившимися приведенными (легковыми) автомобилями на полосе движения

1

2

3

4

Скоростные дороги

2,3

2,1

2

1,8

Общегородские магистрали:

 

 

 

 

непрерывного движения

3,5

3,2

2,8

2,5

регулируемого     »

3,5

3,2

2,8

2,5

Районные магистрали

4

3,5

3

-

Дороги грузового движения

3,5

3

2,5

-

Приведенное транспортное средство (легковой автомобиль) принимается длиной 4,5 м.

Для упрощения расчетов в табл. 17 приведены значения  для некоторых значений скорости потока.

Таблица 17

Скорость потока, км/ч

10

15

20

30

40

50

60

70

80

90

100

1,49

1,81

2,21

3,29

4,89

7,27

10,8

16,1

23,9

35,6

52,9

На рис. 10 графически изображена зависимость «скорость потока - пропускная способность полосы движения» при некоторых значениях дистанции безопасности между приведенными автомобилями.

3.5. Переход от интенсивности в физических единицах транспорта Nф, авт/ч, к интенсивности, приведенной к легковому автомобилю Nпр, приведенных авт/ч, и пропускной способности улиц и дорог, приведенной к легковому автомобилю Pпр, приведенных авт/ч, к пропускной способности в физических единицах транспорта Pф, авт/ч, рекомендуется производить по уравнениям:

                                                      (4а)

                                                        (4б)

где γ -   доля транспортных средств i-го типа в составе потока, %;

К -  коэффициент приведения 1-го типа транспортного средства;

n -  число типов транспортных средств в составе потока, включая легковые автомобили.

Значения коэффициентов приведения различных типов транспортных средств к легковому автомобилю см. в табл. 6.

3.6. Для стесненных условий движения в существующих городах (недостаточная ширина полос движения; недостаточная ширина прилегающего непосредственно к проезжей части пешеходного тротуара, когда возможен выход пешеходов на проезжую часть; проложение трамвайных путей в уровне проезжей части и др.) и при стадийном развитии поперечного профиля улиц и дорог значения дистанции безопасности между остановившимися приведенными автомобилями рекомендуется принимать по табл. 18.

Рис. 10. Зависимость между скоростью потока и пропускной способностью полосы движения

Таблица 18

Условия движения

Дистанция безопасности, м, между остановившимися приведенными автомобилями на полосе движения

1

2

Одна полоса в каждом направлении, тротуары у проезжей части

6

-

Одна полоса в каждом направлении при стадийном развитии поперечного профиля с разделительной полосой между тротуаром и проезжей частью

5

-

Две полосы в каждом направлении, без центральной разделительной полосы, тротуары у проезжей части

4,5

3,5

Проезжая часть шириной 9-11 м при разметке на две полосы движения

4

-

3.7. Пропускная способность проезжей части улиц и дорог непрерывного движения Pпр.ч., приведенных авт/ч, определяется по уравнению

                                                             (5)

где Pi - пропускная способность соответствующей полосы движения, приведенных авт/ч;

а -  число полос движения.

3.8. Пропускная способность проезжей части магистральных улиц регулируемого движения Pрег, приведенных авт/ч, определяется пропускной способностью проезжей части в сечении линии «стоп», расчет которой рекомендуется производить по уравнению

                                                   (6)

где α -  суммарный фазовый коэффициент при полной нормальной загрузке регулируемого перекрестка, равный 0,9 при двухтактном, 0,85 - при трехтактном и 0,8 - при четырехтактном циклах регулирования;

b -  число основных циклообразующих направлений, требующих выделения полного такта;

Nj - интенсивность по данному входу на перекресток, приведенных авт/ч;

с -   число возможных направлений движения с данного входа на перекресток при пересечении линии «стоп» (направо, прямо, налево);

j -   возможные направления движения по всем входам на перекресток;

qj -  фазовый коэффициент для j-го циклообразующего направления, определяемый по уравнению

                                                          (7)

где Mij - поток насыщения на i-й полосе j-го направления, приведенных авт/ч;

mj -   число полос по j-му направлению движения;

β -    коэффициент, учитывающий снижение пропускной способности полос поворотных направлений движения:

для прямых направлений 1; для правоповоротных 0,9; для левоповоротных 0,7.

Поток насыщения допускается определять как пропускную способность полосы при непрерываемом движении со скоростью 15 км/ч.

3.9. Пропускная способность магистральных улиц регулируемого движения может также характеризоваться коэффициентами загрузки регулируемых перекрестков Z, которые определяются по уравнению

                                                                (8)

Коэффициент загрузки конкретного регулируемого перекрестка может быть меньше или, в крайнем случае, равен единице. При коэффициенте загрузки более 1 необходимо предусматривать повышение пропускной способности регулируемого перекрестка, как правило, за счет уширения проезжей части на 1-2 полосы, на расстоянии не менее 50 м от стоп-линий перед светофором, для пропуска право- и левоповоротных направлений движения. Уширение допускается осуществлять за счет уменьшения ширины разделительных полос.

3.10. При выделении специальных полос для движения массового общественного пассажирского транспорта расчет пропускной способности проезжей части рекомендуется производить без учета этих полос движения; при этом интенсивность движения принимается без учета массового общественного пассажирского транспорта, для которого эти полосы предназначены.

Элементы поперечного профиля

3.11. Основные элементы поперечного профиля следует назначать в зависимости от категории городской улицы (дороги) по табл. 9 и рис. 1-9.

На СД, МНД и МРД-I следует обязательно предусматривать раздельные проезжие части для встречных направлений движения, отделенные друг от друга центральной разделительной полосой.

В зависимости от состава, интенсивности и скорости движения транспорта, а также требований безопасности движения, на проезжей части МНД и МРД следует выделять специальные полосы для преимущественного движения общественного транспорта, легковых и грузовых автомобилей.

На МНД и МРД при интенсивности движения более 50-60 автобусов и троллейбусов в час для них желательно выделять специальную полосу проезжей части. При этом фактическая интенсивность движения троллейбусов и автобусов не должна превышать пропускной способности линии общественного транспорта, которая определяется режимом работы остановочных пунктов. При интенсивности движения в одном направлении более 5 тыс. приведенных авт/ч для движения экспресс-автобусов следует устраивать пятую полосу движения, выделяя ее разметкой и дорожными знаками.

При интенсивности движения на ГД более 500 грузовых автомобилей в час и наличии в потоке свыше 25-30 % автомобилей с числом осей 3 и более (автопоезда, полуприцепы и пр.) одну из полос движения следует предусматривать шириной 4,5 м.

3.12 (9.8). На двухполосных дорогах на подъемных в пределах участков, имеющих продольный уклон более 40 % и протяженность более 300 м, необходимо предусматривать дополнительную полосу движения. Длину перехода от двухполосной проезжей части к трехполосной следует принимать не менее 70 м.

Кроме того, дополнительные полосы следует предусматривать при уклонах более 30 ‰ на участках протяженностью более 1 км. Эти полосы шириной 3,75 м следует принимать на всю длину подъема.

Протяженность дополнительной полосы за подъемом следует принимать не менее величин, приведенных в табл. 19.

Таблица 19

Интенсивность движения на подъем, авт/ч

200

300

400

500 и более

Протяженность дополнительной полосы за подъемом, м

50

100

150

200

3.13. Переходно-скоростные полосы для торможения и разгона на СД и МНД следует предусматривать:

перед съездами и въездами на примыкающие улицы и дороги;

в местах присоединения и ответвления поворотных съездов на пересечениях в разных уровнях, если разность расчетной скорости на магистрали и рекомендуемой скорости на съездах превышает 30 км/ч (см. раздел 5);

на съездах к остановкам экспресс-автобусов и на выездах после выхода с них. Переходно-скоростные полосы следует отделять от основных полос движения разделительной полосой шириной 0,75 м или разметкой. Длину переходно-скоростных полос следует принимать по табл. 20 (45).

Таблица 20 (45)

Продольный уклон, ‰

Длина переходно-скоростной полосы, м

Длина отгона полос разгона и торможения, м

для ускорения

для замедления

-40

140

110

80

-20

160

105

80

-0

180

100

80

+20

200

95

80

+40

230

90

80

3.14. В случаях, когда расчетная интенсивность движения всех видов транспорта на восьмиполосных проезжих частях МНД и МРД превышает 75 % их пропускной способности, параллельно основным проезжим частям предусматривается устройство боковых проездов с односторонним движением. Если же устройство боковых проездов не может обеспечить перспективную интенсивность движения, то следует предусматривать дублер.

Боковые проезды проектируют в виде отдельной проезжей части для одностороннего движения преимущественно общественного транспорта, а также грузовых и легковых автомобилей, обслуживающих прилегающую застройку.

Ширина проезжей части бокового проезда принимается не менее 7,5 м при двух полосах движения и 11,25 м при трех полосах движения. На участках МНД и МРД вблизи крупных административно-общественных и промышленных зданий ширина бокового проезда определяется расчетом и может достигать 15 м.

3.15. Местные проезды предусматриваются на МРД при необходимости транспортного обслуживания прилегающей застройки и интенсивности движения, близкой к расчетной. Ширина местных проездов принимается в размере 6-7,5 м в зависимости от климатических и других местных условий.

Расстояние между примыканиями местных проездов к основной проезжей части следует принимать через 300-400 м и, как правило, в узлах со светофорным регулированием. При расстояниях между такими узлами более 300-400 м допускается примыкание на перегоне с организацией только правостороннего поворотного движения.

Радиус сопряжения местных проездов с проезжей частью магистральных улиц должен быть не менее 20 м, на примыканиях предусматривают бордюры высотой не менее 15 см.

3.16 (9.22). Центральные разделительные полосы следует предусматривать шириной: на скоростных дорогах - 6 м, магистральных улицах непрерывного движения и дорогах грузового движения - 4 м. Ширину центральной разделительной полосы с разделительным брусом (барьерным ограждением) допускается принимать: на скоростных дорогах - 4 м, магистральных улицах непрерывного движения и дорогах грузового движения - 2 м.

Центральная разделительная полоса на СД и МНД проектируется поднятой на 20 см над уровнем проезжей части и сопрягается с ней бортовым камнем высотой 15-20 см или при помощи краевых наклонных полос шириной 1 м с поперечным уклоном 10 %. В отдельных случаях при устройстве барьерного ограждения допускается устройство центральной разделительной полосы в одном уровне с проезжей частью. Ширина краевых полос входит в ширину центральной разделительной полосы. На МРД центральная разделительная полоса может быть поднята над лотком проезжей части на 16 см, если по условиям движения не требуется специального ограждения. В особо стесненных условиях центральная разделительная полоса на МРД может быть устроена в одном уровне с проезжей частью и выделена разметкой.

3.17. Разрывы в центральной разделительной полосе на СД не допускаются. На МНД разрывы допускаются при ширине полосы не менее 6 м или при уширении проезжей части на одну полосу движения перед разрывом и после него. На МРД и ГД длина разрыва определяется из расчета размещения на разрыве всех автомобилей, проводящих разворот, но не менее 20 м. На центральной разделительной полосе не допускается размещать никаких сооружений.

В виде исключения допускается установка опор освещения на центральной разделительной полосе СД при условии устройства двусторонних барьерных ограждений в месте размещения опоры при ширине разделительной полосы не менее 5 м, а также посадка низкого кустарника против ослепления фарами встречных автомобилей.

3.18 (9.23). В реконструируемых городах допускается уменьшать ширину разделительных полос между основной проезжей частью и местным проездом на магистральных улицах непрерывного движения до 5 м, на магистральных улицах регулируемого движения - до 2 м, а между проезжей частью и трамвайным полотном - до 2 м.

В горных и стесненных условиях ширину разделительной полосы между основной проезжей частью и местным проездом допускается уменьшать до 3 м.

Ширину разделительной полосы между проезжей частью и велодорожкой рекомендуется принимать на МРД - 3 м, в остальных случаях - 2 м, между тротуаром и велодорожкой - 2 м.

На разделительной полосе между тротуаром и проезжей частью необходимо предусматривать озеленение деревьями и кустарниками.

3.19. На СД, МНД и МРД с правого края проезжей части для каждого направления движения следует предусматривать предохранительную полосу, которая по прочности аналогична проезжей части и отличается от нее типом или цветом покрытия или разметкой. Предохранительная полоса не используется для обычного движения транспорта и не входит в общую ширину проезжей части; она предназначена для зрительного ориентирования водителя, размещения водоприемных устройств, снижения эффекта бокового препятствия (бортового камня, барьерного ограждения, наклонного плитного сопряжения проезжей части и центральной разделительной полосы).

Ширина предохранительных полос на СД составляет по 1 м, на МНД - по 0,75 м и МРД - по 0,5 м с обеих сторон проезжих частей для каждого направления движения, а также с обеих сторон центральной разделительной полосы, если она имеет бордюрный камень.

3.20. Технические полосы предназначены для прокладки инженерных подземных сетей. Ширина технических полос определяется числом и типом размещаемых подземных и надземных сооружений и требований озеленения (см. разделы 12, 13).

На СД ширину технических полос следует принимать в пределах 5-10 м: на них прокладываются только коммуникации, обслуживающие саму СД. Ширину технических полос на МИД, МРД и ГД следует принимать в пределах 8-12 м, на РМ - в пределах 5-8 м.

3.21. Для возможного расширения проезжей части, а также различных перспективных прокладок и сооружений в поперечном профиле городских улиц и дорог предусматриваются резервные полосы. Их следует располагать справа от проезжей части между ней и боковыми разделительными полосами, техническими полосами и т.д. На отдельных участках городских улиц и дорог резервные полосы используются как автостоянки с устройством соответствующего типа дорожного покрытия; на остальном протяжении резервных полос высеиваются газоны.

3.22. В климатических подрайонах IБ и IГ при объеме снего-переноса более 200 м3/м за зиму на улицах и дорогах следует предусматривать дополнительную полосу шириной 3 м для укладки снега, убираемого с проезжей части. В остальное время года дополнительная полоса может использоваться в качестве временной автостоянки. Дополнительная полоса отделяется от основной проезжей части разметкой; на ней предусматривается покрытие облегченного типа, соответствующее по прочности покрытию автостоянок.

При наличии обочин (СД и ГД вне застройки, поселковые улицы в малоэтажной застройке, поселковые дороги) дополнительные полосы для укладки снега не устраиваются.

3.23 (9.42). Ширину тротуаров следует устанавливать с учетом категории и назначения улицы и дороги в зависимости от размеров пешеходного движения, а также размещения в пределах тротуаров опор, мачт, деревьев и т.п.; ширину пешеходной части тротуаров следует принимать кратной ширине одной полосы пешеходного движения, равной 0,75 м.

В больших, крупных и крупнейших городах при механизированных способах очистки тротуаров минимальную ширину тротуаров следует принимать 3 м.

3.24 (9.43). Пропускную способность одной полосы тротуара, пешеходной дороги и перехода через проезжую часть в одном уровне следует принимать по табл. 21 (50).

3.25. Ширину тротуаров в местах интенсивного движения пешеходов (вблизи вокзалов, транспортных узлов и пр.) следует принимать по расчету в зависимости от перспективной интенсивности пешеходного движения.

Таблица 21 (50)

Условия пешеходного движения

Пропускная способность одной полосы движения (пешеходов в 1 ч)

Тротуары, расположенные вдоль красной линии при наличии в прилегающих зданиях магазинов

700

Тротуары, отдаленные от зданий с магазинами

800

Тротуары в пределах зеленых насаждений улиц и дорог

1000

Пешеходные дороги (прогулочные)

600

Переходы через проезжую часть (в одном уровне)

1200

У объектов массового посещения следует предусматривать уширение тротуаров из расчета требуемой пропускной способности. Уширение тротуаров проводится за счет смещения застройки от красной линии внутрь. Устройство киосков для розничной торговли и других целей на тротуарах запрещается. При отсутствии магазинов в первых этажах зданий минимальное расстояние тротуара до застройки рекомендуется назначать не менее 6 м.

Между тротуарами и примыкающими к ним откосами насыпи или выемки, а также подпорными стенками высотой более 1 м, следует предусматривать бермы шириной не менее 0,5 м. При высоте насыпей более 2 м на тротуарах следует предусматривать ограждения. У пешеходных переходов следует предусматривать ограждения для пешеходов на расстоянии не менее 50 м в каждую сторону. Мачты освещения, опоры контактной сети и пр. размещают за пределами тротуаров. В сложных условиях допускается размещать их на тротуарах на расстоянии 0,35-0,5 м от бордюра. В этом случае ширина тротуара увеличивается на 0,5-1,2 м.

В Северной строительно-климатической зоне и в местностях с обильным снегопереносом ширину тротуаров на всех улицах следует принимать по табл. 9, но не менее 3 м.

3.26. В плане тротуары, как правило, проектируют параллельно проезжей части, прогулочные пешеходные дороги могут иметь самостоятельные направления. От застройки при отсутствии в первых этажах магазинов тротуары отделяются зелеными насаждениями, преимущественно кустарниками.

Тротуары проектируют односкатными и располагают: в одном уровне с газонами, полосами озеленения (разделительными полосами); выше проезжей части на 15 см (за исключением участков с пилообразным продольным профилем, где высота составляет 10-25 см, а также в местах сопряжения тротуаров с проезжей частью напротив въездов во дворы и в местах въезда тротуароуборочных машин, где высота составляет 8 см); на особо важных участках главных улиц города допускается устраивать тротуары ниже газонов на 10 см (в этом случае в месте примыкания тротуаров к газонам устанавливается тротуарный бортовой камень; вдоль внешнего борта устанавливаются дождеприемные решетки закрытого водостока).

3.27 (9.47). Продольные уклоны тротуаров и пешеходных дорог следует принимать не более 60 ‰, а в горных условиях - не более 80 ‰ при протяженности дорог и тротуаров с уклоном не более 300 м. При больших уклонах и протяженности следует предусматривать устройство лестниц (не менее трех ступеней); высоту ступеней следует назначать не более 12 см, ширину - не менее 38 см; после каждых 10-12 ступеней следует устраивать площадки длиной не менее 1,5 м.

В климатических подрайонах IA, IБ и IГ, а также в районах, характеризующихся гололедом, продольный уклон тротуаров и пешеходных дорог не должен превышать 40 %, а при устройстве лестниц тротуары и пешеходные дороги следует оборудовать поручнями или устройствами для оттаивания покрытий.

Тротуары, располагаемые у бровки откоса высотой 2 м и более, необходимо ограждать перилами. При устройстве подпорных стенок высотой более 1 м следует предусматривать ограждения с перильным поручнем.

3.28 (9.24). Островки безопасности для пешеходного движения следует устраивать при ширине проезжей части более 14 м. Ширину островков следует принимать равной ширине центральных разделительных полос, а при их отсутствии - не менее 2 м. Длину островков следует принимать равной ширине пешеходного перехода.

Островки безопасности следует устраивать в уровне проезжей части, их защитные элементы следует поднимать на 15 см, на них могут размещаться светящиеся маячки, знаки и указатели.

Направляющие островки следует устраивать приподнятыми на 15 см над уровнем проезжей части.

3.29 (9.53). Велосипедные дорожки следует предусматривать на территории микрорайонов, промышленных районов, в парках, лесопарках, в пригородной и зеленой зоне, а также на жилых и магистральных улицах регулируемого движения при интенсивности движения более 50 велосипедов в 1 ч.

Ширину велосипедной дорожки следует принимать: для однополосного движения - 1,5 м, для двухполосного - 2,5 м.

Расчетную пропускную способность одной полосы велосипедной дорожки следует принимать равной 300 велосипедов в 1 ч.

Продольные уклоны велосипедных дорожек следует принимать не более 50 ‰, поперечные уклоны - в пределах 15-25 ‰.

Велосипедные дорожки на улицах следует предусматривать, как правило, для одностороннего движения с полосами зеленых насаждений или полосами безопасности шириной не менее 0,8 м; в стесненных условиях вместо указанных полос допускается предусматривать устройство барьеров.

При двустороннем движении между велосипедными дорожками следует предусматривать разделительную полосу шириной не менее 0,5 м.

Трамвайное полотно

3.30 (1.8)*. В зависимости от ширины улицы, ширины проезжей части, расположения подземных коммуникаций и от других местных условий трамвайные пути следует предусматривать:

в одном уровне с проезжей частью улиц и площадей по оси проезжей части или по одной из ее сторон;

на обособленном полотне, отделенном от проезжей части или тротуаров разделительной полосой; при этом верх головок рельсов должен располагаться, как правило, выше уровня проезжей части на 20-30 см;

на самостоятельном полотне (преимущественно на загородных участках трамвайной линии).

Размещение трамвайных путей в пределах проезжей части автомобильных дорог общей сети не допускается.

* Глава СНиП II-41-76, «Электрифицированный городской транспорт. Трамвайные и троллейбусные линии».

3.31 (1.9)*. Пути скоростного трамвая надлежит проектировать, как правило, наземными на обособленном полотне, расположенном вдоль магистральных улиц, или на самостоятельном полотне вне пределов населенных пунктов.

* Глава СНиП II-41-76.

Обособленное трамвайное полотно следует отделять от проезжих частей улиц, от тротуаров и велосипедных дорожек разделительными полосами, ширину которых следует принимать в соответствии с требованиями СНиП по планировке и застройке городов, поселков и сельских населенных пунктов (см. раздел 2, табл. 9). Разделительные полосы для стесненных условий, а также на подходах к мостам, путепроводам и эстакадам допускается не предусматривать.

Для отдельных участков пути (в центральных районах города с интенсивным движением, при наличии узких улиц с капитальной застройкой, в транспортных узлах, а также в трудных топографических условиях) при соответствующем технико-экономическом обосновании допускается проектировать тоннели или эстакады.

3.32 (2.29)*. На трамвайных линиях протяженностью более 10 км через каждые 6-8 км следует предусматривать кольца (петли) для разворота поездов (вагонов).

* Глава СНиП II-41-76.

На разворотных петлях, при объездах вокруг кварталов, а также на улицах с интенсивностью движения менее 20 пар поездов (вагонов) в час, допускается устраивать однопутные трамвайные пути.

3.33 (9.14). Ширину полосы трамвайных путей нормальной колеи на прямых участках улиц необходимо принимать согласно табл. 22 (44).

Таблица 22 (44)

Расположение трамвайных путей

Ширина полосы, м

двухпутной

однопутной

В общей полосе движения при отсутствии опор контактной сети между путями

6,6

3,6

На обособленном полотне

8,8

3,8

Примечания: 1. Ширину двухпутного обособленного полотна на всем протяжении трамвайной линии с учетом размещения посадочных площадок следует принимать не менее 9,6 м, однопутного - 5 м.

2. Наименьшую ширину обособленного полотна наземных участков скоростного трамвая, включая полосы, занятые защитным ограждением, озеленением и опорами контактной сети, следует принимать 10 м.

3.34. Расстояние между осями смежных трамвайных путей на прямых участках при отсутствии опор в междупутье принимается 3,2 м, при наличии опор - 3,55 м. Размещение опор контактной сети в междупутье трамвайных путей, располагаемых в одном уровне с проезжей частью улиц, площадей и городских дорог, не допускается. При проложении трамвайных путей вне городской застройки при применении путеукладочных механизмов железнодорожного типа расстояние между осями путей допускается принимать равным 4,1 м.

Опоры контактной сети трамвая следует располагать на расстоянии не менее 1 м от лицевой грани бордюра до наружной поверхности цоколя мачты или опоры. На улицах жилых районов это расстояние может быть уменьшено до 0,6 м. Диаметр опор принимается равным 0,35 м.

Расстояние от уровня головки рельсов до низа пролетных строений мостов, путепроводов и эстакад, пересекающих трамвайные пути, должно быть не менее 5 м. Для существующих сооружений это расстояние допускается уменьшать до 4,5 м.

3.35 (2.5)*. Минимальные расстояния от оси пути скоростного и обычного трамвая на прямых участках до зданий, сооружений или устройств следует принимать в соответствии с табл. 23 (2).

* Глава СНиП II-41-76.

На узких улицах с капитальной застройкой расстояние от оси пути обычного и скоростного трамвая до жилых и общественных зданий и сооружений допускается уменьшать до 3,8 м.

Таблица 23 (2)

Наименование зданий, сооружений и устройств

Минимальное расстояние от оси трамвайного пути до зданий, сооружений, устройств, м

1. Жилые и общественные здания

20

2. Нежилые здания и ограждения длиной, м:

 

до 2

2,3

более 2

2,8

3. Подпорные стенки, стены тоннелей, опоры путепроводов, перила мостов (при запрещении к ним доступа пешеходов):

 

с правой стороны по направлению движения трамвая

2,3

с левой стороны по направлению движения трамвая

2,05

4. Тротуар, проезжая часть (внешняя грань бортового камня или бровка мощеного подзора) при отсутствии разделительной полосы

1,9

5. Опоры контактной сети, расположенные:

 

в междупутье

1,6

вне междупутья

2,3

6. Опоры освещения и контактной сети на территории депо и мастерских (заводов), расположенные вне междупутья

1,9

7. Одиночные столбы

2,3

8. Одиночные стволы деревьев с кроной диаметром не более 5 м

5

9. Кустарник

1,5

10. Стойки проемов въездных ворот на территорию и в здание депо

1,9

11. Край посадочной площадки

1,4

Горизонтальные кривые

3.36. Минимальные радиусы горизонтальных кривых на городских улицах и дорогах следует принимать в зависимости от расчетной скорости движения по табл. 8. При невозможности обеспечить указанные радиусы на отдельных участках реконструируемых улиц и дорог следует на основе технико-экономического обоснования снижать расчетную скорость.

Для магистральных улиц и дорог во всех случаях радиусы горизонтальных кривых рекомендуется принимать не менее 3000 м.

При малых углах поворота радиусы кривых в плане следует принимать согласно табл. 24.

Таблица 24

Угол поворота, град.

1

2

3

4

5

6

Минимальный радиус горизонтальной кривой, м

20 000

10000

6000

5000

4000

3000

При радиусах кривых менее 2000 м следует устраивать переходные кривые, наименьшие длины которых необходимо принимать по табл. 25. Расчет параметров переходных кривых приводится в прил. 6.

Таблица 25

Радиус круговой кривой, м

30

50

60

80

100

150

200

250

300

400

500

600-1000

1000-2000

Длина переходной кривой, м

30

35

40

45

50

60

70

80

90

100

110

120

100

Радиусы сопрягающихся или близко расположенных кривых должны различаться не более чем в 1,3 раза.

3.37 (9.7). Проезжая часть улиц и дорог с однополосным и двухполосным движением транспорта в одном направлении на горизонтальных кривых радиусом до 750 м должна быть уширена согласно табл. 26 (41).

Таблица 26 (41)

Радиусы кривых, м

Св. 550
до 750

Св. 400
до 550

Св. 300
до 400

Св. 200
до 300

Св. 150
до 200

Св. 90
до 150

От 50
до 90

Уширение на каждую полосу движения, м

0,2

0,25

0,3

0,35

0,5

0,6

0,7

Уширение проезжей части производится с внутренней стороны кривой. При реконструкции городских улиц и дорог уширение производят за счет использования резервных полос и полос озеленения.

Если большегрузные и крупногабаритные автомобили составляют более 10-15 % всего транспортного потока, на горизонтальных кривых следует назначать дополнительное уширение по табл. 27.

Таблица 27

Радиус кривой в плане, м

Уширение, м, при длине автомобиля, м

менее 7 или автопоездов менее 11 м

до 13

до 15

до 18

до 20

до 23

до 25

700-600

0,4

0,5

0,5

0,7

0,7

0,8

1

600-550

0,5

0,6

0,6

0,8

0,9

1

1,3

450-400

0,5

0,7

0,7

0,9

1,2

1,3

1,7

350-300

0,6

0,8

0,9

1,1

1,5

1,6

2,1

250-200

0,8

1

1,1

1,5

2

2,2

2,8

150-125

0,9

1,4

1,5

2,2

2,7

3

-

100-90

1,1

1,8

2

3

3,5

-

-

80

1,2

2

2,3

3,5

-

-

-

70

1,3

2,2

2,5

-

-

-

-

60

1,4

2,8

3

-

-

-

-

50

1,5

3

3,5

-

-

-

-

40

1,8

3,5

-

-

-

-

-

30

2,2

-

-

-

-

-

-

3.38. Длины прямых и кривых участков в плане, как правило, не должны различаться более чем в 2-3 раза. Не рекомендуется применять короткие кривые в плане, расположенные между длинными прямыми, а также короткие вставки между кривыми. Такие вставки следует заменять кривыми больших радиусов.

3.39. Кривые участки трамвайных путей в плане следует проектировать возможно больших радиусов, но не более 2000 м. Наименьшую величину радиусов кривых в плане следует принимать на перегонах скоростного трамвая 300 м, обычного трамвая - 30 м. В стесненных условиях указанные радиусы при соответствующем технико-экономическом обосновании допускается снижать для скоростного трамвая до 100 м и обычного трамвая до 20 м.

3.40 (9.45). Радиусы закруглений проезжей части улиц и дорог по кромке тротуаров и разделительных полос следует принимать не менее 12 м, а на транспортных площадях - не менее 15 м. В реконструируемых городах (населенных пунктах) при сложившейся застройке допускается уменьшать указанные радиусы соответственно до 5 и 8 м.

На участках городских улиц и дорог, где длинногабаритные транспортные средства (автопоезда, полуприцепы, сочлененные автобусы и троллейбусы) составляют более 10 % общей интенсивности движения, радиусы закруглений следует назначать с учетом габаритов этих транспортных средств.

Расстояние видимости

3.41. Наименьшее расчетное расстояние видимости на городских улицах и дорогах следует принимать по табл. 28.

Таблица 28

Расчетная скорость, км/ч

Расчетное расстояние видимости, м

поверхности дороги

встречного автомобиля

120

175

350

100

140

280

80

100

200

60

75

150

50

60

120

40

50

100

30

40

80

Расстояние видимости в табл. 28 принято из условия расположения глаз водителя на высоте 1,2 м при движении автомобиля на крайней правой полосе на расстоянии 1,5 м от кромки проезжей части.

Рис. 11. Определение величины срезки на кривых малого радиуса

3.42. Для повышения видимости на кривых малого радиуса производят срезку - удаляют зрительные помехи с внутренней стороны кривой [застройку, растительность, откосы выемки и пр. (рис. 11)]. Величину срезки δ, м, определяют по формуле

-                                         (9)

где R - радиус кривой, м;

R1 - радиус траектории автомобиля, м;

S - требуемое расстояние видимости, м, взятое по оси проезжей части;

α - центральный угол кривой.

На кривых радиуса менее 250 м в условиях реконструкции допускается устройство разделительных островков или осевых бордюров, а также барьеров симметричного профиля - в этом случае вместо значений видимости встречного автомобиля принимают значения видимости поверхности дороги. Длину островков определяют по протяжению зоны ограниченной видимости. Ширина островка принимается не менее 0,6 м, высота окаймляющего бордюра - не менее 50 см с заложением откоса 1:5 или с устройством подпорной стенки. В отдельных случаях на островках устраивают ограждение криволинейного очертания с учетом требований к ширине проезжей части и ее отдельных элементов.

3.43 (9.48). На наземных нерегулируемых пешеходных переходах в зоне треугольника видимости «пешеход - транспорт» не допускается размещение строений и зеленых насаждений высотой более 0,5 м, стороны треугольника видимости следует принимать 8´40 м при скорости движения транспорта 40 км/ч и 10´50 м при скорости 60 км/ч.

Остановочные пункты общественного транспорта

3.44 (8.12). При размещении остановочных пунктов общественного транспорта следует обеспечивать условия для кратчайшего и безопасного подхода к основным объектам тяготения и отхода от них, а также для удобства пересадки с одного вида транспорта на другой.

Длина пешеходных подходов от мест жительства или работы до ближайшей остановки пассажирского общественного транспорта не должна превышать 500 м; указанное расстояние следует уменьшать в климатических подрайонах IA, IБ, IГ и IIА - до 300 м, а в IV климатическом районе - до 400 м.

3.45 (8.15). Расстояние между остановочными пунктами пассажирского общественного транспорта в пределах города и других населенных пунктов следует принимать для автобуса, троллейбуса и трамвая не более 600 м; для экспресс-автобуса, троллейбуса и трамвая - 1200 м; для метрополитена - 1200-1500 м и для электрифицированных железных дорог - 1500-2000 м.

В климатических подрайонах IA, IБ, IГ и IIА расстояние между остановочными пунктами наземного общественного транспорта следует уменьшать до 300-500 м. В целях более полного использования зон пешеходной доступности остановок общественного транспорта магистральные улицы районного значения следует проектировать в пределах застройки, а не по ее границам. Исключение составляют городские улицы и дороги в V климатической зоне.

3.46 (9.15). Остановочные пункты автобусов и троллейбусов на магистральных улицах регулируемого движения необходимо размещать на расстоянии не менее 20 м после перекрестка, а также в середине больших перегонов при продольном уклоне проезжей части не более 40.

Если троллейбусы и автобусы подходят к остановочному пункту, не изменяя направления движения, или после выполнения левого поворота, то расстояние до линии, соединяющей внешние границы тротуаров, от указателя остановочного пункта должно быть не менее 40-50 м.

Расположение остановочных пунктов троллейбуса и автобуса до пересечения улиц допускается в случаях, когда крупный пассажирообразующий пункт или вход в подземный пешеходный переход расположен до пересечения; сокращается время пересадки пассажиров по основным транспортным направлениям; за пересечением начинается подъезд к мосту, тоннелю, путепроводу или находится железнодорожный переезд.

В этих случаях расстояние от внешних границ тротуаров на пересечении до указателя остановочного пункта должно быть не менее 40 м.

При расположении остановочного пункта на перегонах следует соблюдать следующие требования:

на СД остановочные пункты экспресс-автобусов следует размещать с помощью съездов и въездов за пределами основной проезжей части на боковых и местных проездах, а при их отсутствии - на специальных площадках;

на МНД остановочные пункты следует размещать один против другого, при одновременном строительстве подземных пешеходных переходов между ними;

на МРД и РМ расположение остановочных пунктов следует увязывать с размещением пешеходных переходов со светофорами.

Остановочные пункты следует устраивать вблизи пешеходных переходов в одном и разных уровнях. Указатель остановочного пункта устанавливают с таким расчетом, чтобы трамваи останавливались в 3-5 м от пешеходного перехода, троллейбусы и автобусы - в 3-5 м за пешеходным переходом, считая от заднего бампера.

3.47. Остановочные пункты следует располагать относительно входов в подземные переходы с таким расчетом, чтобы ожидающие пассажиры не мешали входу и выходу пешеходов, проходящих через подземный переход.

При расположении остановочных пунктов вблизи мостов, путепроводов, эстакад, тоннелей и пр. следует обеспечить беспрепятственное движение основных транспортных потоков. Для перестроения троллейбуса и автобуса в требуемый ряд движения после выезда с остановочного пункта расстояние от указателя остановочного пункта до въезда в тоннель или на мост должно быть не менее l = 3 (n+1) м, где n - число пересекаемых полос движения.

У железнодорожных переездов остановки троллейбуса и автобуса следует располагать на прямых участках улиц и дорог или на кривых с радиусами в плане не менее, м:

для МНД и МРД                         - 1000

»   РМ                                         - 600

для остальных улиц и дорог      - 400

При этом следует обеспечить нормы видимости в плане и продольном профиле.

При устройстве боковых проездов на МНД остановочные пункты следует устраивать на ближайшей к тротуару полосе движения без устройства уширений или специальных площадок за счет ликвидации зеленых насаждений.

На остановочных пунктах следует устраивать павильоны и навесы, которые не должны ухудшать видимость для водителей и мешать движению пешеходов.

В климатических подрайонах IA, IБ и IГ в местах остановочных пунктов пассажирского общественного транспорта следует устраивать утепленные павильоны.

3.48 (2.22)*. Расстояние между остановочными пунктами надлежит принимать:

для обычного трамвая - от 400 до 600 м;

для скоростного трамвая: в пределах застроенной территории - от 800 до 1200 м, вне пределов застроенной территории - 1500 м и более.

* Глава СНиП II-41-76.

3.49 (2.23)*. Остановочные пункты и разъезды следует располагать на прямых участках пути с продольным уклоном не более 30 ‰.

* Глава СНиП II-41-76.

В стесненных условиях допускается размещать остановочные пункты и разъезды на кривых участках пути радиусом не менее 100 м, а также на путях с продольными уклонами крутизной не более 40 ‰.

3.50. Остановки трамвая следует располагать перед пересечением магистралей. Расположение остановок за пересечением допускается, если за ним расположен крупный пассажирообразующий пункт или вход в подземный переход или пропускная способность улицы за пересечением больше, чем перед ним.

Остановки трамвая следует располагать возможно ближе к пересечению магистралей с соблюдением следующих требований:

при расположении остановки до пересечения расстояние от нее до пешеходного перехода должно быть не менее 3 м. При наличии подземного пешеходного перехода остановку следует располагать у входа в него, но не ближе 5 м от пересечения;

при расположении остановки за пересечением указатель остановки следует располагать так, чтобы трамвай останавливался в 3-5 м за пешеходным переходом у входа в подземный пешеходный переход, но не ближе 5 м от пересечения, считая от заднего бампера трамвая. Если частота трамвайного движения составляет более 30 пар поездов в 1 ч, указатель остановки должен быть отнесен от пересечения с таким расчетом, чтобы обеспечить одновременную посадку и высадку пассажиров из двух поездов.

При расположении остановки на перегоне указатель следует устанавливать в 3-5 м до пешеходного перехода.

При расположении трамвайных путей на обособленном полотне остановку, расположенную со стороны проезжей части, вблизи остановки троллейбуса (автобуса), следует отодвинуть назад на длину посадочной площадки остановки троллейбуса (автобуса).

Разворотные петли на конечных пунктах трамвайных маршрутов следует устраивать вне проезжих частей улиц и площадей.

3.51. Длину остановочной площадки для автобуса и троллейбуса следует принимать для маршрутов одного направления 20 м, для маршрутов нескольких направлений - по расчету, но не менее 30 м. На каждый дополнительный маршрут длина остановочной площадки увеличивается на 10 м. Ширину посадочной площадки следует принимать от 1,5 до 2,25 м в зависимости от пассажирооборота. Остановочные и посадочные площадки рекомендуется размещать за счет уменьшения ширины разделительных полос.

Устройство местных уширений проезжей части в виде открытых «карманов» для размещения в них остановочных площадок общественного транспорта допускается только на РМ, поселковых улицах и дорогах и как исключение на жилых улицах в случае пропуска по ним 1-2 маршрутов общественного транспорта. Устройство «карманов» закрытого типа запрещается. Ширина «карманов» открытого типа должна назначаться не менее 3-3,5 м. Радиусы закруглений в плане для «карманов» должны быть не менее 10 м. Отгон уширения начинается за 20 м до остановки и заканчивается через 15 м после нее. «Карманы» устраивают за счет уменьшения ширины разделительных и технических полос, а также полос зеленых насаждений. В стесненных условиях допускается уменьшать длину отгона до 4,5 м. «Карманы» отделяются от основной проезжей части разметкой.

3.52. Посадочные площадки на остановках общественного транспорта проектируются на тротуарах. При расположении на проезжей части их следует проектировать с возвышением над проезжей частью на 15 см, над трамвайными путями - на 10 см. В тех случаях, когда устройство посадочной площадки выше проезжей части невозможно, посадочную площадку располагают в одном уровне с проезжей частью, отделяя ее разметкой. Поверхность посадочных площадок должна иметь твердое покрытие. Ближайшая грань павильона для пассажиров должна быть расположена не ближе 3 м от кромки остановочной площадки.

Поверхность площадок должна иметь поперечный уклон 5-10 ‰, направленный: на трамвайных линиях - в сторону от пути, на троллейбусных и автобусных линиях - в сторону лотков проезжей части.

Посадочные площадки на остановках трамваев следует устраивать на уровне не более 30 см от верха головки рельсов. Поперечный уклон посадочной площадки следует предусматривать в размере 10-15 ‰ в сторону трамвайного пути. Длина посадочной площади трамвая должна приниматься на 5 м более расчетной длины поезда, ширина в зависимости от ожидаемого пассажирооборота, но не менее 3 м при наличии лестничных сходов в пешеходные тоннели и 1,5 м - при отсутствии лестничных сходов.

Минимальная длина посадочной площадки принимается равной габаритной длине наибольшего транспортного средства плюс 5 м. При одновременной остановке двух автобусов (троллейбусов) и более длина посадочной площадки должна быть соответственно увеличена.

При наличии лестничных сходов в подземные пешеходные переходы ширину посадочной площадки следует принимать не менее 3 м в зависимости от местных условий.

Принятые размеры посадочной площадки необходимо проверять по ее перспективной вместимости, которая определяется расчетным числом пассажиров, ожидающих транспорт. Расчетную плотность пассажиров на площадке следует принимать в размере 2 чел2.

3.53. На конечных станциях пассажирского общественного транспорта должно предусматриваться устройство служебных станций для обслуживающего персонала.

Конечные пункты общественного транспорта оборудуются также крытыми пассажирскими павильонами, а в Северной строительно-климатической зоне - отапливаемыми. В районах с жарким климатом над посадочными площадками следует предусматривать навесы.

Площади для отстоя троллейбусов и автобусов принимаются из расчета:

для троллейбусов и автобусов при одновременном отстое:

до 20 машин - 0,15 га;

» 30      »           - 0,20  »;

» 40      »           - 0,25  »;

для трамваев:

при трех маршрутах и трех обгонных путях - 0,8 га.

» одном маршруте и двух            »             - 0,55  ».

Территории конечных станций включаются в красные линии городских проездов.

Автостоянки

3.54. Автостоянки различаются по типу используемой территории на временные и постоянные.

Постоянные стоянки могут быть открытые и закрытые (надземные и подземные). Временные и постоянные автостоянки размещаются в пределах красных линий и за их пределами на специально предназначенных или же временно используемых территориях.

Таблица 29 (54)

Здания и сооружения

Расчетная единица

Количество машино-мест на расчетную единицу

на первую очередь

на расчетный срок

Организации и учреждения управления, финансирования, науки и научного обслуживания

100 работающих

3-5

10-20

Высшие и средние специальные учебные заведения

100 преподавателей и сотрудников

3-5

10-15

Промышленные предприятия

1000 работающих в двух смежных сменах

2-4

7-10

Торговые центры, универмаги, магазины с площадью торговых залов более 400 м2

100 м2 торговой площади

2-4

7-10

Рынки

50 торговых мест

7-10

20-25

Рестораны и кафе общегородского значения

100 мест

3-5

10-15

Театры, цирки, кинотеатры (в центральной части города), концертные залы, музеи, выставки

100 мест или единовременных посетителей

3-5

10-15

Парки культуры и отдыха

100 единовременных посетителей

2-3

5-7

Гостиницы

100 мест

3-5

10-20

Спортивные здания и сооружения с трибунами вместимостью более 500 зрителей

То же

1-2

3-5

Больницы

100 коек

1-2

3-5

Поликлиники

500 посещений в смену

3-5

10-15

Пляжи в зонах отдыха, спортивные, туристские и другие базы.

100 единовременных посетителей

2-3

5-7

Вокзалы железнодорожного, речного, морского, автомобильного и воздушного транспорта

100 пассажиров, прибывших в час пик

3-5

10-15

Примечания: 1. Для малых городов, поселков и сельских населенных пунктов следует принимать меньшее количество машино-мест, чем указанное в табл. 54, за исключением городов - научных центров и курортов, в которых вместимость открытых площадок для стоянки автомобилей следует определять по расчету.

2. Открытые площадки для стоянки автомобилей следует группировать с тем, чтобы их вместимость была не менее 20 машино-мест.

Размещение автостоянок в пределах красных линий производится с учетом развития улично-дорожной сети на расчетный срок. При этом следует обеспечить возможность заполнения и эвакуации автостоянок в течение 1 ч.

Постоянные надземные и подземные автостоянки следует располагать вне красных линий городских улиц и дорог, но с обеспечением удобного выезда на улично-дорожную сеть. Временные автостоянки в уровне земли допускается размещать в пределах красных линий - в полосе отвода СД, на резервных полосах и т.д.

Открытые площадки для стоянки автомобилей у общественных зданий, сооружений и промышленных предприятий следует предусматривать согласно табл. 29 (54).

3.55 (10.21). Расстояния от наземных гаражей, станций технического обслуживания автомобилей, площадок для стоянки и хранения автомобилей до жилых и общественных зданий следует принимать не менее приведенных в табл. 30 (57).

Таблица 30 (57)

Здания, до которых исчисляется расстояние

Расстояние, м

наземные гаражи и площадки при количестве автомобилей

станции технического обслуживания при количестве постов

более 100

100-51

50-21

20 и менее

более 30

30-11

10 и менее

Жилые дома

50

25

15

15

50

25

15

Общественные здания

20

20

15

15

20

20

15

Школы и детские учреждения

-*

-*

50

25

-*

-*

50

Лечебные учреждения стационарного типа

-*

-*

50

25

-*

-*

50

* Определяется в каждом случае по согласованию с органами государственного санитарного надзора.

Примечание. Применительно к школам, детским садам-яслям и лечебным учреждениям расстояние надлежит определять от границ их земельных участков.

3.56 (10.22). Въезды в подземные гаражи легковых автомобилей и выезды из них должны быть удалены от окон жилых домов, рабочих помещений общественных зданий и участков школ, детских яслей-садов и лечебных учреждений не менее чем на 15 м.

3.57. Для кратковременной стоянки автобусов принимается площадь 40 м2 на 1 автобус, личных легковых автомобилей - 25 м2 на 1 автомобиль. Для остальных случаев рекомендуется определять площадь в зависимости от схемы расстановки автомобилей по табл. 31.

Таблица 31

Способ расстановки автомобилей

Ширина полосы автостоянки вместе с проездом, м

Число автомобилей на 100 м полосы автостоянки

Площадь на 1 место, м

Параллельно проезду в 1 ряд

5,5

18

30,5

То же, в 2 ряда

10

36

28

Под углом 30º к оси проезда в 1 ряд

7,8

21

37

То же, в 2 ряда

12,1

42

28,8

Под углом 45° к оси проезда в 1 ряд

8,3

29

28,5

То же, в 2 ряда

19,1

58

22,5

Под углом 60º к оси проезда в 1 ряд

10,2

39

26,2

То же, в 2 ряда

15,4

78

19,8

Под углом 90° к оси проезда в 1 ряд

11,6

45

25,8

То же, в 2 ряда

16,2

90

18

Ширина проездов на автостоянках при двустороннем движении должна быть не менее 6 м, при одностороннем - не менее 3 м. При угле поворота проезда 90° радиус кривой по оси проезда должен быть не менее 10 м. На таких кривых устраивают уширения по 1 м в каждую сторону.

3.58. Въезды на автостоянки и выезды с них следует устраивать на расстоянии:

от границы проезжей части пересечений улиц, дорог и проездов местного значения - не менее 35 м;

от остановочного пункта общественного транспорта при отсутствии островка безопасности - не менее 30 м; при поднятом над уровнем проезжей части островком безопасности - не менее 20 м.

Въезды на автостоянки и выезды с них следует проектировать на улицы и проезды местного значения или на местные проезды магистральных улиц. Допускается устройство въездов и выездов непосредственно на магистральные улицы районного значения, но не ближе 100 м от пересечений.

При вместимости автостоянок от 50 до 300 автомобилей въезды и выезды следует устраивать преимущественно раздельными, шириной не менее 3 м каждый, с разных сторон автостоянки; при вместимости автостоянок более 300 автомобилей въезды и выезды следует устраивать раздельными на расстоянии не менее 20 м один от другого; на автостоянках вместимостью до 50 автомобилей в особо стесненных условиях допускается, как исключение, устройство совмещенных въездов и выездов шириной не менее 6 м.

Въезды и выезды должны иметь правоповоротные закругления бортов тротуаров и газонов радиусом не менее 6 м. На магистралях общегородского и районного значения автостоянки отделяют от проезжей части полосами шириной не менее 3 м.

Перед воротами, шлагбаумами и другими устройствами, преграждающими въезд на автостоянку, следует устраивать площадки накопления. Длина площадки должна быть не менее 12 м для автостоянок вместимостью 100 автомобилей и более и 6 м при вместимости менее 100 автомобилей.

Автостоянки рекомендуется размещать вблизи внутренних проездов при въездах в микрорайон с жилых и магистральных улиц.

Проезды в жилых районах и микрорайонах

3.59. Система проездов в микрорайонах и жилых районах обеспечивает возможность подъезда автотранспорта с магистральных улиц к объектам, расположенным в жилых районах и микрорайонах в пределах межмагистральной территории. Система проездов должна отвечать требованиям соблюдения тишины и безопасности и по возможности исключать сквозное движение автотранспорта через межмагистральную территорию.

Примечание. Сквозные проезды, соединяющие две улицы, расположенные у разных сторон микрорайона, допускается проектировать лишь в виде исключения, когда это продиктовано размерами и конфигурацией микрорайона в плане, рельефом местности, а также особыми условиями примыкания к магистральным улицам.

Проезды связывают жилые комплексы и группы зданий с магистральными улицами, их рекомендуется трассировать по возможности без пересечения с основными пешеходными направлениями, обособленно от детских и спортивных площадок и мест отдыха населения.

Подъезды к домам, дополняющие систему проездов, служат для связи с отдельными зданиями или сооружениями, технологическими и обслуживающими устройствами. Их следует трассировать в основном тупиковыми и кольцевыми, с односторонним движением.

Необходимое число выездов из межмагистральной территории следует определять по методике, приведенной в прил. 8.

3.60. При проектировании микрорайонных проездов рекомендуется:

главные проезды, ведущие к нескольким группам жилых многоэтажных зданий, проектировать в две полосы движения шириной 7 м;

основные проезды, ведущие к отдельной группе жилых зданий, к торговым, культурно-бытовым предприятиям и учреждениям, проектировать шириной 5,5 м;

подъезды к отдельным зданиям проектировать однополосными с проезжей частью шириной 3,5 м.

3.61 (9.55). На однополосных проездах необходимо не реже чем через 100 м предусматривать разъездные площадки шириной 6 м и длиной 15 м.

Тупиковые проезды протяженностью не более 150 м допускается совмещать с тротуаром и принимать шириной не менее 3,5 м; тупиковые проезды должны заканчиваться поворотными площадками размером в плане 12´12 м или кольцом с радиусом по оси дороги не менее 10 м. Использование поворотных площадок для временного хранения автомобилей не допускается.

Проезды, ведущие к жилым зданиям, и пешеходные дороги следует размещать не ближе 5 м от стен жилых и общественных зданий.

Главные и основные внутримикрорайонные проезды и подъезды к отдельным зданиям в зависимости от расположения застройки должны иметь одно- или двусторонние тротуары. На главных, а по возможности и на основных проездах тротуары должны быть отделены от проезжей части полосами зеленых насаждений.

При пешеходном движении малой интенсивности на подъездах к отдельным зданиям тротуары могут не устраиваться.

Ширина тротуаров на главных проездах предусматривается, как правило, 3 м. На основных проездах допускается предусматривать тротуары шириной 2,25 м, а на подъездах к отдельным зданиям - 1,5 м.

3.62 (9.56). При проектировании системы проездов в микрорайонах должны соблюдаться следующие противопожарные требования:

въезды на территории микрорайонов и кварталов, а также сквозные проезды в зданиях следует предусматривать на расстоянии не более 300 м друг от друга, а в реконструируемых районах при периметральной застройке - не более 180 м;

к жилым зданиям высотой 9 этажей и более и к общественным зданиям высотой 5 этажей и более следует предусматривать проезды шириной не менее 3,5 м или полосы шириной 6 м, пригодные для проезда пожарных машин, с двух продольных сторон многосекционных жилых домов и общественных зданий и со всех сторон односекционных жилых домов. К жилым и общественным зданиям меньшей этажности проезды могут устраиваться с одной продольной стороны. Проезды или полосы следует размещать на расстоянии 5-8 м от зданий высотой 9-14 этажей и 8-10 м от зданий большей этажности.

В случае необходимости в качестве дополнительных пожарных выездов можно использовать разрывы между домами, где при отсутствии проездов следует устраивать полосы газонов шириной не менее 3,5 м, свободные от сооружений и высоких посадок.

В домах длиной более 150 м необходимо устройство арочных проездов высотой не менее 2,25 м, шириной 4 м (ширина проезда в воротах не менее 3,5 м).

При проектировании встроенно-пристроенных нежилых помещений к односекционным жилым домам высотой 9 этажей и более, а также в условиях сложного рельефа проезды или полосы должны обеспечивать доступ пожарных с автомеханических лестниц в любую квартиру.

3.63. Дорожную сеть в жилых районах и микрорайонах дополняют пешеходные дорожки, которые связывают подъезды жилых домов, детские учреждения, автостоянки и другие объекты тяготения. Они должны трассироваться по кратчайшим расстояниям с учетом ориентации пешехода в окружающей застройке.

При проектировании пешеходных аллей и дорог в жилых районах рекомендуется их ширину устанавливать в зависимости от ожидаемых максимальных часовых потоков пешеходного движения к остановкам общественного транспорта и общественно-торговым зданиям.

Ширина пешеходных аллей и дорог принимается кратной полосе движения (0,75 м) и должна составлять не менее 2,25 м с устройством уширений и площадок в местах установки скамеек, киосков, газетных и рекламных щитов и т.д.

4. ВЕРТИКАЛЬНАЯ ПЛАНИРОВКА УЛИЦ И ДОРОГ

Вертикальная планировка городской территории

4.1. Под вертикальной планировкой городской территории следует понимать планировочные земляные работы, связанные с приведением естественного рельефа к состоянию, удовлетворяющему требованиям городского строительства и благоустройства, а также позволяющему придать застройке наибольшую архитектурную выразительность.

Естественный рельеф с крутизной от 0 до 3 ‰ и более 80 ‰ следует считать сложным, требующим более дорогих мероприятий по вертикальной планировке для использования его в градостроительстве.

4.2. Основными задачами вертикальной планировки являются:

создание площадок для строительства зданий и сооружений путем преобразования и приспособления рельефа к потребностям застройки кварталов, микрорайонов и отдельных зданий и сооружений;

обеспечение удобного и безопасного движения городского транспорта и пешеходов путем придания улицам и дорогам города допустимых продольных и поперечных уклонов;

организация стока поверхностных (атмосферных) вод с территорий застройки на улицы города, откуда он принимается сетью подземной ливневой канализации. В отличие от загородных дорог, которые следует проектировать с возвышением над прилегающей территорией, городские улицы и дороги, как правило, проектируются ниже прилегающей территории;

создание проектного рельефа, наиболее благоприятствующего прокладке городских подземных инженерных сетей;

решение частных задач, связанных с возведением уникальных объектов (общественные здания, стадионы, аэродромы и др.) и благоустройством территорий зеленых зон общего пользования.

4.3. Основные требования, предъявляемые к проектам вертикальной планировки улиц, перекрестков, площадей и жилых кварталов (микрорайонов), заключаются в следующем.

Улицы. Уличная сеть в умеренных климатических условиях должна быть высотно запроектирована таким образом, чтобы она служила местом водосбора поверхностных вод. В засушливых районах - местом сброса этих вод на прилегающие территории в арычную сеть.

С целью уменьшения объемов земляных работ при проектировании вертикальной планировки улиц следует предусматривать пологие откосы в зеленых зонах в случае срезки или насыпи, достигающей 1,5 м и более по оси проезжей части, а также проектировать несимметричный профиль улицы в плане или по высоте, если улица трассируется по косогору, создающим перепад между красными линиями 0,8 м и более в зависимости от ширины улицы.

Перекрестки. При высотном решении перекрестков следует стремиться к тому, чтобы создать наиболее благоприятные условия для движения пешеходов и транспорта. С этой целью не допускается устройство поперечных лотков на магистральных улицах; поверхностная вода перехватывается перед полосой пешеходного перехода и отводится в водосточную сеть по закрытым лоткам за пределы перекрестка.

В целях обеспечения наиболее простого поверхностного водоотвода перекрестки следует проектировать вертикально таким образом, чтобы не менее чем одна из улиц имела уклон, направленный от перекрестка.

Сопряжение продольных уклонов на перекрестке улиц может быть осуществлено в общей точке на пересечении осей. Этот способ сопряжения допустим на пересечении жилых и второстепенных улиц.

Как исключение, пересечения улиц могут располагаться в пониженных местах («ендовы»), отвод воды из которых осуществляется с помощью закрытого водостока.

Пересечение магистральных улиц с улицами местного движения следует делать путем сопряжения продольного профиля жилых улиц с лотком магистральной улицы. Поперечный профиль жилых улиц переходит в односкатный профиль с уклоном, равным продольному уклону магистральной улицы.

Площади. Высотное решение площадей должно способствовать общему композиционному расположению сооружений на ней и удовлетворять требованиям транспорта, движению пешеходов и отводу поверхностных вод по кратчайшим расстояниям.

Исходя из этого, вертикальная планировка городских площадей должна решаться с учетом их назначения и размеров и обеспечивать:

удобное и безопасное движение транспорта и пешеходов;

пространственное выделение основных зданий и сооружений, расположенных на площади;

как правило, поверхностный водоотвод дождевых и талых вод, в отдельных случаях возможно расположение дождеприемных колодцев на территории площади.

Площадь должна иметь уклоны, как правило, в двух направлениях, продольные и поперечные уклоны не должны превышать 10-30 ‰. Линию водораздела следует совмещать с планировочной осью площади, ориентируемой на доминирующее здание площади.

Опорными точками, определяющими проектный рельеф площади, должны быть отметки осей и лотков улиц, выходящих на площадь.

Круговые площади допускается проектировать как выпуклыми, так и вогнутыми, но с обеспечением безопасности движения на кривых (вираж к центру кривой).

4.4. Вертикальная планировка городских улиц и дорог выполняется методом проектных (красных) горизонталей с сечением рельефа в проектах, разрабатываемых в масштабе 1:2000 через 0,5-1 м (в зависимости от характера рельефа), в проектах, разрабатываемых в масштабе 1:500 - через 10-20 см, а в проектах реконструкции - через 10 см.

Вертикальная планировка прилегающих к городским улицам и дорогам территорий производится в соответствии с вертикальной планировкой улиц и дорог. Красные (проектные) отметки по красным линиям являются обязательными исходными данными для проектирования улиц и дорог, прилегающих к ним территорий.

Вертикальная планировка прилегающих территорий должна, как правило, обеспечить поверхностный сток ливневых вод на улицы и дороги.

Вертикальная планировка улиц и дорог проектируется с учетом коррективов проектирования продольных и поперечных уклонов.

Продольные и поперечные уклоны улиц и дорог

4.5. Во всех случаях, когда по условиям рельефа городской территории представляется технически возможным и экономически целесообразным, следует принимать продольные уклоны не более 30 ‰.

Наибольшие продольные уклоны городских улиц и дорог следует принимать в зависимости от расчетной скорости движения по табл. 8.

В климатических подрайонах IA, IБ и IГ наибольшие продольные уклоны МНД и МРД следует уменьшать на 10 ‰.

На отдельных участках пешеходных улиц протяженностью не более 300 м допускается принимать наибольшие продольные уклоны 60 ‰, а в горных условиях - 80 ‰.

Наименьшие продольные уклоны по лоткам проезжей части для асфальтобетонных и цементобетонных покрытий следует принимать не менее 4 ‰, для остальных покрытий - не менее 5 ‰.

На горизонтальных кривых малого радиуса (правые повороты на съездах и примыканиях, у пересечений и перед площадями) наибольшие продольные уклоны следует уменьшать:

при радиусах 50 м - на 10 ;

на каждые дополнительные 5 м допускаемого уменьшения радиуса кривой - еще на 5 ‰.

Для проезжих частей скоростных дорог и магистральных улиц с интенсивным движением грузового транспорта наибольшие продольные уклоны уменьшают на 10 .

Продольные уклоны в зависимости от типов дорожных покрытий следует назначать по табл. 32.

Таблица 32

Дорожные покрытия

Уклон, ‰

наименьший (по лоткам)

наибольший

исключительный

Усовершенствованные капитальные асфальтобетонные покрытия:

 

 

 

без поверхностной обработки

4

50

60

с поверхностной обработкой

4

70

80

цементобетонные покрытия

4

60

80

Брусчатые и мозаиковые мостовые

5

80

90

Усовершенствованные облегченные:

 

 

 

переходные

4

70

80

щебеночные

5

80

90

Мостовые из молотого и булыжного камня

5

100

110

В районах сильных гололедов, а также с высокой влажностью воздуха и частными перепадами температур наибольшие уклоны уменьшаются на 10 , а исключительные - на 20 ‰ при условии обеспечения необходимого коэффициента сцепления колес автомобиля с поверхностью проезжей части.

Наибольший допустимый продольный уклон улиц и дорог в жилом районе в горных условиях или при сложной реконструкции допускается при соответствующем технико-экономическом обосновании принимать согласно табл. 33.

Таблица 33

Категория улиц и дорог местного значения

Наибольший допустимый уклон,

Жилые улицы и главные проезды

80

Основные проезды

80

Подъезды к домам

80

Велосипедные дороги

60

Пешеходные улицы и дороги

60

4.6. При невозможности по местным условиям обеспечить требования по уклонам лотков (например, при устройстве проездов по набережным или строительстве дорог вокруг замкнутых водоемов, где продольного уклона на местности практически нет) продольные уклоны по лотку проезжей части при наличии городских закрытых водостоков проектируют с пилообразным профилем, обеспечивающим необходимый уклон.

Пилообразный профиль осуществляют в виде чередования направленных в разные стороны продольных уклонов по лотку. Поперечные уклоны в этих случаях устраивают переменными по величине.

На СД устройство пилообразного продольного профиля запрещается, а водоотвод осуществляется за счет придания пилообразного продольного профиля лотку, расположенному на технической полосе. Шаг проектирования (минимальное расстояние между точками перелома продольного профиля) следует принимать согласно табл. 34.

Таблица 34

Категория улиц и дорог

Шаг проектирования, м

СД

250

МНД

200

МРД

100

РМ

50

УДМ

20

4.7. Максимальную длину участков с большим продольным уклоном следует назначать по табл. 35.

Таблица 35

Показатели

Продольный уклон, ‰

30

40

50

60

70

80

90

100

Максимальная длина, м

1200

600

400

300

250

200

150

150

Максимальная скорость на спуске, км/ч

120

120

100

80

60

50

40

30

При большей протяженности участка устраивают смягчающие вставки с максимальным уклоном 20 и длиной не менее 70 м.

В конце участка спуска с уклоном более 30 в пределах вертикальной вогнутой кривой на двухполосных дорогах предусматривают уширение каждой полосы движения не менее чем на 1 м. При наличии в пределах участка спуска горизонтальных кривых проезжую часть дополнительно уширяют в соответствии с табл. 36.

4.8. На горизонтальных кривых малого радиуса продольные уклоны следует уменьшать согласно табл. 36. Для радиусов свыше 125 м назначения, указанные в табл. 36, применимы при любых условиях движения, при меньших радиусах - только при движении вниз. Уменьшение продольного уклона следует предусматривать с каждой стороны кривой на длине 10-20 м или на протяжении переходной кривой.

Таблица 36

Радиус кривой, м

Снижение продольных уклонов, ‰, при покрытиях

капитальных

усовершенствованных облегченных

переходных

низших

600-400

5

-

-

-

400-250

-

10

-

-

250-125

-

10

20

-

125-60

-

-

20

23

60-15

-

-

25

30

На внутренней полосе кривой радиуса менее 100 м при движении вверх (при переходных и низших покрытиях) предельный продольный уклон следует дополнительно снижать согласно табл. 37.

Таблица 37

Предельный продольный уклон, ‰

Снижение предельных уклонов, ‰ при радиусах кривых, м

100

80

60

50

40

30

20

15

70

21

22

23

24

26

29

38

41

90

22

23

24

28

28

32

43

47

90

26

26

27

28

31

35

46

50

В трудных условиях проектирования наибольшие продольные уклоны на кривых малого радиуса следует уменьшать согласно табл. 38.

Таблица 38

Радиус кривой, м

50

45

40

35

30

25

20

15

Уменьшение продольного уклона, ‰, против норм

10

15

20

25

30

35

40

50

4.9. Для городских улиц и дорог всех типов следует предусматривать двускатный поперечный профиль при радиусах горизонтальных кривых 2000 м и более, для магистральных улиц и дорог - при радиусах 1200 м и более, для остальных улиц и дорог, кроме внутриквартальных проездов, - при радиусах 800 м и более. При меньших радиусах горизонтальных кривых поперечный профиль следует принимать односкатным. Поперечный уклон на виражах следует принимать по табл. 39.

Таблица 39

Радиусы горизонтальных кривых, м

Поперечный уклон проезжей части на виражах, ‰

рекомендуемый

в районах с частыми гололедами

1300-2000

30-40

30-40

650-1300

40-50

40

300-650

50-60

40

Менее 300

60

40

Меньшие значения поперечных уклонов на виражах в табл. 39 соответствуют большим радиусам кривых, а большие - меньшим. Отгон виража и изменение уширения проводят за пределами основной кривой на расстоянии не менее полной длины переходной кривой.

В случаях, когда две соседние кривые, обращенные в одну сторону и требующие устройства виража, расположены близко одна к другой, а прямая вставка между ними равна или меньше длин сопрягаемых кривых, односкатный поперечный профиль проектируют на протяжении обеих кривых, включая прямую вставку.

Если в конкретных условиях городских улиц и дорог устройство виража 30 ‰ и более затруднительно, следует на основе технико-экономического обоснования снижать расчетную скорость на данном участке улицы (дороги).

Дополнительный продольный уклон наружной кромки проезжей части по отношению к проектному продольному уклону на участках отгона виража не должен превышать: для СД - 5, для МНД - 10‰.

В поперечном профиле центральных разделительных полос при их ширине 6 м и более необходимо проектировать эти полосы так, чтобы исключить стекание по проезжей части атмосферных осадков и талых вод с разделительной полосы. Поэтому разделительные полосы проектируют с вогнутым поперечным профилем с приемом воды в расположенные на оси дождеприемные колодцы, сообщающиеся ветками с основным водостоком. При двускатном профиле центральной разделительной полосы на ней предусматриваются продольные лотки с приемом воды из них в дождеприемные колодцы закрытого водостока.

На остальных разделительных полосах уклон поверхности располагают в сторону ближайшего лотка проезжей части.

4.10. Поперечные уклоны проезжей части улиц, дорог и площадей следует принимать в зависимости от покрытий по табл. 40.

Меньшие значения поперечных уклонов в табл. 40 следует принимать для районов с частыми гололедами.

Взаимное высотное расположение элементов поперечного профиля проектируют с учетом следующих требований:

проезжие части с разделительной полосой односторонними с уклоном к наружным бортам;

центральные проезжие части шириной от 7 м и более без разделительной полосы или с разделительной полосой в одном уровне, выделяемой разметкой - двускатными;

боковые и местные проезды магистральных улиц для одностороннего движения - односкатными с уклоном к правому лотку по ходу движения, а при двустороннем движении - двускатными;

микрорайонные проезды - односкатными.

Таблица 40

Покрытия

Поперечные уклоны проезжей части, ‰

на улицах, дорогах, проездах

на площадях

Усовершенствованные капитальные: асфальтобетонные, цементобетонные

1,5-25

15

Усовершенствованные облегченные

15-25

15-20

Переходные

20-30

-

Простейшие

25-40

-

В пределах криволинейных участков всех видов городских улиц и дорог предусматриваются односкатные проезжие части с уклоном в сторону центра кривой.

Разделительные полосы должны возвышаться над уровнем проезжей части на 15 см.

Вертикальные кривые

4.11. Наименьшие радиусы вертикальных кривых на городских улицах и дорогах следует назначать в зависимости от расчетной скорости движения по табл. 8 и алгебраической разности уклонов соседних участков городских улиц и дорог.

При меньшей алгебраической разности уклонов по сравнению с табл. 8 вертикальные кривые не требуются, а местное смягчение переломов продольного профиля выполняют при строительстве дорог. Наименьшие радиусы выпуклых кривых на дорогах для грузового движения следует принимать по табл. 41 в зависимости от высоты расположения глаза водителя.

Таблица 41

Расчетная скорость, км/ч

Наименьшие радиусы выпуклых кривых, м, при высоте расположения глаз водителя, м

2

2,5

3

60

4000

3000

2500

50

2500

2000

1500

40

1200

1000

800

Снижение нормативов продольного профиля в затрудненных и трудных условиях приводит к снижению скорости движения на 25-30 %, поэтому для принятия конкретных решений необходимо технико-экономическое обоснование.

4.12. Во всех случаях, когда по условиям рельефа городской территории представляется технически возможным и экономически целесообразным, в проектах городских улиц и дорог следует принимать, м:

радиусы выпуклых кривых 20000

»        вогнутых      »        8000

длину выпуклых кривых     300

»     вогнутых         »        100

4.13. Совмещение кривых в плане и в продольном профиле улучшает зрительную плавность городской улицы или дороги и улучшает ее архитектурно-эстетические характеристики.

Начало кривой в плане следует располагать перед вершиной выпуклой вертикальной кривой на расстоянии не менее указанного в табл. 42.

Таблица 42

Расстояние видимости, м

Смещение начала кривой, м, при радиусе в плане, м

600

1000

1500

2000

2500

200

40

45

55

60

65

150

30

35

45

50

55

125

25

30

40

45

50

100

20

28

35

40

45

Повороты влево следует назначать перед выпуклостью продольного профиля, а вправо - за ней.

Наилучшая плавность сочетания вогнутых вертикальных кривых с кривыми в плане достигается, когда радиус вертикальной кривой не более чем в 6 раз превышает радиус горизонтальной кривой. Если не удается проложить вогнутую вертикальную кривую в пределах кривой в плане, то угол поворота следует отнести к ближайшему понижению или выпуклости рельефа. Недопустимо размещение кривых в плане в промежутке между вертикальными кривыми.

Следует избегать сочетания элементов, создающих впечатление провалов, когда для водителя неясно дальнейшее приложение улицы или дороги. Такими местами бывают:

короткие вогнутые вертикальные кривые («впадины»);

выпуклые вертикальные кривые малых радиусов на прямых участках, например, на пересечениях в разных уровнях;

затяжные подъемы, оканчивающиеся короткой выпуклой вертикальной кривой на прямой в плане.

5. ПЕРЕСЕЧЕНИЯ УЛИЦ И ДОРОГ В ОДНОМ И РАЗНЫХ УРОВНЯХ

Основные требования к пересечениям

5.1. Проектирование пересечений городских улиц и дорог на всех стадиях необходимо вести на основе транспортных расчетов и предварительно разработанной схемы организации движения на улично-дорожной сети всего города или его района, а также с учетом «развязки на сети», которая заключается в рациональном перераспределении поворотных потоков между узлами магистральной сети улиц и дорог.

Примечание. В Руководстве применяются следующие термины: для пересечений, примыканий и разветвлений в одном уровне - «пересечение в одном уровне», «узел в одном уровне» или «перекресток»; для пересечений, примыканий и разветвлений в разных уровнях - «пересечение в разных уровнях» или «узел в разных уровнях».

5.2. Перспективные транспортные расчеты и принципы организации движения на улично-дорожной сети города или района должны быть выполнены на стадии генерального плана. Они уточняются и детализируются для конкретных расчетных сроков на стадиях комплексной транспортной схемы, ПДП районов и проекта застройки магистрали. Организация движения и транспортные расчеты выполняются на расчетный срок и на первую очередь строительства.

Расчеты по распределению поворотных потоков по узлам сети при проектировании «развязки на сети» рекомендуется уточнять на всех стадиях проектирования, подтверждая их соответствующими технико-экономическими обоснованиями.

5.3. Выбор схемы организации движения и обоснование решения каждого конкретного пересечения следует производить на основе технико-экономического уравнения вариантов с учетом следующих данных: характера территории и застройки; категории пересекающихся улиц и дорог; расчетной скорости движения по направлениям; перспективной интенсивности прямых и поворотных потоков; безопасности и удобства движения пешеходов и транспорта; затрат времени пешеходами и транспортом; строительных, транспортных, дорожно-эксплуатационных расходов, а также стоимости городской территории, перспективного развития узла и первой очереди строительства; архитектурно-эстетических характеристик комплекса сооружений и композиционного сочетания его с окружающей средой; снижения загрязнения воздуха выхлопными газами; снижения транспортного шума и вибрации зданий и сооружений в районах, прилегающих к пересечениям.

Пересечения в одном уровне

5.4. В целях безопасности и удобства организации движения пешеходов и транспорта на пересечениях в одном уровне следует соблюдать общие правила пересечения и примыкания улиц и дорог различных категорий между собой:

проезды могут иметь пересечения друг с другом и с улицами и дорогами местного значения, а также правоповоротные примыкания к РМ;

улицы и дороги местного значения (за исключением проездов) могут иметь пересечения друг с другом и с РМ, а также правоповоротные примыкания к МРД и к местным или боковым проездам МНД и СД. Примыкать рекомендуется на расстоянии не менее 100 м от узлов магистральной сети. В случаях сложной реконструкции или в других стесненных условиях допускается предусматривать правоповоротные примыкания жилых улиц и дорог промышленных и коммунально-складских районов к проезжим частям МНД, не имеющих местных проездов, при расстоянии между этими примыканиями не менее 300 м и с устройством переходно-скоростных полос;

РМ могут иметь пересечения друг с другом и с МРД, а также правоповоротные примыкания к основной проезжей части МНД и к местным проездам МНД и СД. Примыкать рекомендуется на расстоянии не менее 300 м от узлов типа СД-СД, СД-МНД и МНД-МНД;

МРД могут иметь пересечения друг с другом и с местными или боковыми проездами МНД и СД, а также правоповоротные примыкания к основным проездам МНД и СД с устройством переходно-скоростных полос.

5.5. Пересечения в одном уровне по системе организации транспортного и пешеходного движения разделяются на три основных вида: простые (нерегулируемые), саморегулируемые и регулируемые (табл. 43).

Таблица 43

Виды пересечений в одном уровне

Организация движения

транспорта

пешеходов

Простые (нерегулируемые)

Нерегулируемое (со снижением скорости перед перекрестком и проездом согласно общим правилам дорожного движения)

Нерегулируемое

Саморегулируемые

Непрерывное, саморегулируемое, канализированное (как правило)

Непрерывное

Регулируемые

Регулируемое светофорами. Возможно канализированное

Регулируемое, возможно непрерывное

Канализирование потоков на пересечениях обеспечивается системой направляющих островков. Островки могут быть приподняты над уровнем проезжей части или обозначены разметкой. Непрерывное движение пешеходов обеспечивается устройством пешеходно-транспортных пересечений в разных уровнях.

5.6. Простые пересечения без светофорного регулирования и без канализирования потоков рекомендуется проектировать, если суммарная транспортная загрузка узла не более 700 приведенных ед/ч и интенсивность пешеходного движения по наиболее загруженному направлению не более 150 чел/ч.

5.7. Саморегулируемые кольцевые пересечения следует устраивать при суммарной перспективной загрузке узла 2000-2500 приведенных авт/ч и до суммарной интенсивности конфликтующих потоков в сечениях на кольце (в пределах участка перестроения) не более 1500 приведенных авт/ч, без учета правых поворотов, а также при достаточной величине территории для устройства центрального островка и устьевых направляющих островков требуемых размеров.

Саморегулируемые кольцевые пересечения четырех направлений и более рекомендуется устраивать при примерно одинаковой интенсивности движения на пересекающихся улицах в виде площади с центральным островком в форме круга; при преимущественном движении в одном направлении - с центральным островком в форме овала или прямоугольника для увеличения длины участков сплетения.

Геометрические размеры этих площадей следует принимать по расчету исходя из расчетной скорости и перспективной интенсивности движения транспорта по направлениям. Расчетную скорость на кольцевых пересечениях в целях экономии территории рекомендуется принимать равной 30-40 км/ч.

5.8. Ширину кольцевой проезжей части следует принимать исходя из пропускной способности полосы движения (см. раздел 3). При интенсивности, близкой к пропускной способности одной полосы, следует принимать на кольце две полосы движения (с учетом того, что при наличии участка перестроения потоков две полосы работают как одна). При интенсивности движения, равной половине или менее половины пропускной способности одной полосы кольца, можно принимать ширину проезжей части равной одной полосе. Для обеспечения удобного и безопасного движения правого поворота во всех случаях для него следует предусматривать еще одну полосу.

5.9. Радиус R, м, центрального островка на кольцевых пересечениях, обеспечивающий необходимую длину участка перестроения потоков, определяется по формуле

                                                         (10)

где п - число направлений, подходящих к узлу;

lп - длина участка перестроения, м;

lв - длина проекции участка проезжей части улицы на кольце, м;

π = 3,14.

Исходя из расчетного времени для смены полосы движения, равного 4 с, длина участка перестроения потоков lп определяется по формуле

lп = 4V,                                                                  (11)

где V - расчетная скорость движения в пределах участка перестроения, м/с.

Наименьшая рекомендуемая длина участка перестроения в зависимости от скорости движения приведена в табл. 44.

Таблица 44

Скорость, км/ч

20

30

40

50

60

70

80

Длина участка перестроения, м

25

35

45

60

70

80

90

Длина участка накопления lн, м, определяется числом автомобилей, которые должны в светофорный цикл совершить левый поворот, и может быть определена из следующего выражения:

                                                    (12)

где Nл - интенсивность движения в левоповоротном направлении, авт/ч;

tа -  продолжительность зеленого сигнала, с;

tц -  продолжительность цикла светофора, с;

lа -  длина автомобиля, м;

l0 -  зазор безопасности между остановившимися автомобилями, м.

Так как движение происходит на весьма малых скоростях, то величину l0 можно принимать 1 м.

При необходимости увеличения участка накопления он может проектироваться двухполосным или даже трехполосным, тогда в приведенном подсчете длина участка накопления уменьшится соответственно в 2 или 3 раза.

5.10. Саморегулируемые кольцевые пересечения трех направлений рекомендуется устраивать в случае Т-образных примыканий с организацией движения вдоль вытянутого островка, а на У-образных разветвлениях - вокруг треугольного и трапецеидального островка.

Геометрические размеры направляющих островков следует рассчитывать с учетом расчетной скорости, длины участка перестроения, категории пересекающихся улиц и перспективной интенсивности движения. Основные размеры островков следует принимать: минимальный радиус поворота при наличии общественного транспорта - 12 м, при его отсутствии - 8 м; минимальную длину участка перестроения потоков - 35 м (при расчетной скорости 30 км/ч), при увеличении расчетной скорости длина участка перестроения принимается по табл. 44.

5.11. Ширину проезжей части в пределах таких пересечений необходимо увеличивать на одну полосу для каждого прямого направления движения для обеспечения расчетной скорости на прямых направлениях и обеспечения возможности снижения скорости для разворота вокруг островка. При малой интенсивности движения, когда снижение скорости для разворота не влияет на пропускную способность, уширение проезжей части не производится.

5.12. Регулируемые пересечения следует проектировать, когда суммарные перспективные размеры конфликтующих потоков на кольцевых саморегулируемых пересечениях превышают 2000 приведенных авт/ч (с учетом правых поворотов) или при отсутствии свободной территории для организации кольцевых саморегулируемых пересечений и при наличии хотя бы одного из приведенных условий [19]:

условие 1. Минимальная интенсивность движения.

В течение 8 ч (подряд или нет) в рабочий день интенсивность движения не менее значений, указанных в табл. 45;

Таблица 45

Число полос движения в одном направлении

Интенсивность движения по

на главной (более загруженной улице)

на второстепенной (менее загруженной улице)

главной улице, ед/ч, в двух направлениях

второстепенной улице в одном (наиболее загруженном) направлении, ед/ч

1

1

760

75

670

100

580

125

500

150

410

175

380

190

2 или более

1

900

75

800

100

700

125

600

150

500

175

400

200

2 или более

2 или более

900

100

825

125

750

150

675

175

600

200

525

225

480

240

условие 2. Минимальная интенсивность пешеходных потоков.

В течение 8 ч (подряд или нет) в рабочий день интенсивность движения транспортных средств и пешеходов не менее следующих величин:

600 ед/ч - для улиц с разделительной полосой 1000 ед/ч по главной улице в двух направлениях;

150 пешеходов переходят эту улицу в одном наиболее загруженном направлении в каждые из тех же 8 ч.

Для городов и поселков городского типа с населением менее 10 тыс. человек нормативы по условиям 1 и 2 составляют 70 % указанных;

условие 3. Количество дорожно-транспортных происшествий.

За последние 12 месяцев на перекрестке совершено не менее трех дорожно-транспортных происшествий (ДТП), подлежащих включению в статистическую отчетность, которые могли бы быть предотвращены при наличии светофорной сигнализации, и хотя бы одно из условий 1 и 2 выполняется по каждому нормативу на 80 % или более;

условие 4. Сочетание условий.

Ни одно из условий 1 и 2 не выполняется на 100 %, но оба из них выполняются по каждому нормативу на 80 % или более.

Рис. 12. Схемы пересечений в одном уровне

5.13. Расчет пропускной способности регулируемых пересечений следует производить согласно разделу 3.

Расчет светофорной сигнализации и проектирование других элементов регулирования дорожного движения (дорожные знаки, дополнительные средства информации и разметка проезжей части) следует производить согласно «Руководству по регулированию дорожного движения в городах»/МВД СССР и МЖКХ РСФСР, М.: Стройиздат, 1974.

5.14. Регулируемые пересечения рекомендуется устраивать в виде простых перекрестов без уширения (рис. 12, а) с двухфазным регулированием, если интенсивность левоповоротного движения не превышает двух автомобилей за цикл светофорного регулирования.

5.15. В целях увеличения пропускной способности на регулируемых пересечениях рекомендуется применять следующие транспортно-планировочные решения:

пересечение четырех направлений с зоной накопления для левоповоротных автомобилей посередине (рис. 12, б) на широких улицах или дорогах с разделительной полосой при интенсивности левых поворотов от 120 до 150 авт/ч в каждом направлении;

пересечение четырех направлений с перекрестно-кольцевым движением транспорта (рис. 12, в, г) с островками разрезного типа как дальнейшее развитие кольцевого саморегулируемого движения, обеспечивающее удобный и безопасный пропуск прямых и поворотных потоков (интенсивность левых потоков от 100 до 200 авт/ч), а также маршрутов общественного транспорта и удобный разворот в обратном направлении;

пересечение трех направлений (Т-образное примыкание) с уширением проезжей части и устройством направляющих островков (рис. 12, д) или с устройством кольцеобразного островка по типу «трубы» (рис. 12, е) при интенсивности левых поворотов от 80 до 120 авт/ч.

5.16. На перекрестке со светофорным регулированием, если входные сечения улиц по ширине недостаточны для обеспечения одновременного расчленения транспортного потока на прямой, правоповоротный и левоповоротный, рекомендуется применять пропуск транспортных средств по схеме «несимметричного» перекрестка (рис. 12, ж). По этой схеме выходные сечения улиц по условиям регулирования движения работают попеременно на пропуск того или иного направления.

5.17. В тех случаях, когда на перекрестке не может быть осуществлен пропуск транспортных средств налево за один цикл светофорного регулирования, левоповоротное движение организуется либо методом отнесенного левого поворота, либо удлинением перекрестка с устройством двух стоп-линий (метод отнесенного пешеходного перехода).

Пересечение с отнесенными левыми поворотами (рис. 12, з) рекомендуется при интенсивности левоповоротного движения от 200 до 250 авт/ч в каждом направлении и при невозможности применения других методов. Необходимым условием организации отнесенного левого поворота является достаточная ширина между тротуарами хотя бы одной из пересекающихся улиц: не менее 18 м при запрещенном грузовом и не менее 30 м - при смешанном движении. Левый поворот автопоездов на таких перекрестках должен быть запрещен. Длина участка отнесения левого поворота определяется расчетом с учетом длины участка перестроения, расчетной скорости и перспективной интенсивности движения.

Пересечение с удлинением перекрестка (метод отнесенного пешеходного перехода, рис. 12, e) рекомендуется использовать в условиях с преобладанием левых поворотов с второстепенной улицы на главную (расчетная интенсивность левоповоротного потока в одном направлении от 300 до 400 авт/ч). По этому методу поворот налево на широкую улицу организуется путем отклонения транспортных средств вправо с последующей их остановкой на пересекающей улице между стоп-линией и пешеходным переходом.

5.18. Выбор того или иного метода обеспечения пропускной способности пересечения в одном уровне решается в каждом случае в зависимости от местных конкретных условий путем разработки и технико-экономического сравнения вариантов. Решения первой очереди и перспективы могут различаться в зависимости от размеров движения. При этом первая очередь строительства должна обеспечить возможность осуществления перспективы с минимальными бросовыми работами.

Повышение пропускной способности пересечений в одном уровне может быть достигнуто также заменой двустороннего движения на одностороннее, чем может дать увеличение пропускной способности до 30 %, при этом одностороннее движение рекомендуется организовывать на сети взаимно параллельных и перпендикулярных улиц, удаленных друг от друга не более 850 м.

Повышение пропускной способности также может быть достигнуто за счет совершенствования систем управления регулируемым движением с применением гибких координированных автоматических систем в пределах всего города или его районов.

Пересечения в разных уровнях

5.19. Все пересечения на СД и МНД следует устраивать только в разных уровнях.

Пересечения в разных уровнях на МРД, ГД и РМ следует устраивать в тех случаях, когда пропускная способность регулируемых пересечений в одном уровне полностью исчерпана и никакими другими методами ее увеличить нельзя. Для предварительных расчетов решение об устройстве пересечения в разных уровнях на таких пересечениях следует принимать при суммарной интенсивности движения на подходах к узлу ориентировочно более 7000-8000 авт/ч или при интенсивности одного из левых поворотов более 11200 авт/ч.

5.20. Все пересечения в разных уровнях следует проектировать на перспективные размеры и состав движения с выделением первой очереди строительства, а иногда и нескольких этапов строительства на периоды, когда размеры движения еще не достигли перспективных.

При проектировании первой очереди строительства пересечений резервирование территории должно предусматриваться с полным учетом перспективы. Решение пересечений на первую очередь должно предусматривать минимальные бросовые работы на перспективу, при этом возможны случаи, когда пересечения в разных уровнях, необходимые на перспективу, на первую очередь строительства могут быть запроектированы в одном уровне.

При проектировании работ первой очереди прокладка и перекладка подземных инженерных сетей должна предусматриваться с учетом перспективных решений в пределах первой очереди.

5.21. Пересечения улиц и дорог в разных уровнях с полной и неполной развязкой движения подразделяются на пять классов (табл. 46) в зависимости от организации движения транспорта и пешеходов и рекомендуемых расчетных скоростей на левоповоротных съездах. При этом для основных прямых и поворотных потоков транспорта обеспечивается непрерывное и обособленное движение, а для пешеходов - безопасное и полностью разобщенное движение со всеми основными прямыми и поворотными транспортными потоками.

Таблица 46

Типы пересечений (по главе СНиП II-60-75)

Классы пересечений

Движение автотранспортных потоков

Рекомендуемая скорость на левых съездах при

Пешеходное движение

αл < 0,15

αл = 0,15-0,3

αл < 0,3

С полной развязкой движения в разных уровнях

I

Все потоки непрерывны и обособлены

50

60

70

Непрерывное, полностью разобщенное со всеми транспортными потоками

II

То же

30

50

60

То же

III

Все прямые потоки непрерывны и обособлены. Поворотные потоки непрерывны, но могут иметь участки сплетения

30

40

50

Непрерывное разобщенное на пересечении с прямыми и с основными поворотными потоками. Непрерывное или регулируемое на пересечении с остальными потоками

С неполной развязкой в разных уровнях

IV

Все прямые потоки непрерывны, но могут иметь участки сплетения с поворотными потоками. Поворотные потоки регулируемые или саморегулируемые

15

20

30

То же

V

Один прямой поток непрерывен и обособлен. Все остальные потоки регулируемые или саморегулируемые. Часть или все поворотные потоки могут отсутствовать

15

20

-

Непрерывное разобщенное на пересечении с прямыми потоками. Непрерывное, регулируемое или нерегулируемое на пересечении с остальными потоками

5.22. Обособленными потоками являются потоки, не имеющие в пределах пересечений участков перестроения (переход с одной полосы на другую) и участков сплетения (слияния двух потоков, совместное их движение по одной полосе и затем разветвление).

Полная развязка движения на пересечении заключается в обеспечении для всех прямых и поворотных потоков непрерывного движения без регулирования и саморегулирования, при этом обособленное движение обеспечивается, как правило, только для основных поворотных потоков.

На пересечениях всех классов некоторые лево- и правоповоротные съезды могут отсутствовать по планировочным условиям или в результате перераспределения поворотных потоков по узлам сети.

Основными поворотными потоками являются все поворотные потоки, перспективная интенсивность движения которых соответствует показателю α > 0,3, определяемому по формулам:

                                                                     (13а)

                                                                     (13б)

где αп и αл -    доля соответственно право- и левоповоротного потока;

Nп и Nл -  расчетная интенсивность соответственно право- и левоповоротного потока;

Nподх -  расчетная интенсивность транспортного потока на подходе к узлу в одном направлении.

На пересечениях III и IV классов в исключительных случаях возможно устройство специального уровня для одного-двух основных поворотных потоков.

В тех случаях, когда отсутствуют данные о размерах поворотных потоков, их следует принимать 10-15 % от прямых потоков и не считать основными.

Таблица 47

Категории улиц и дорог

Категории улиц и дорог

СД-I, II

МНД-I

МНД-II

МРД-I

МРД-II

ГД

РМ

СД-I, II

1, 2 (3)

1, 2 (3)

(1), 2, 3

(2), 3, 4, (5)

3, 4, (5)

(3), 4, (5)

(4), 5

МНД-I

-

(1) 2, (3)

2, 3

3, 4, (5)

4, (5)

4, (5)

4,5

МНД-II

-

-

(2), 3

3, 4, (5)

4,5

4,5

4,5

Примечания: 1. В скобках даны классы, применяемые для указанных категорий улиц и дорог в редких случаях.

2. Пересечения улиц и дорог, не указанные в настоящей таблице, как правило, проектируются в одном уровне, но как исключение (при соответствующем обосновании - п. 5.31 настоящей главы) они могут применяться в виде пересечений в разных уровнях.

5.23. Пересечения улиц и дорог одних и тех же категорий в зависимости от конкретных транспортных, планировочных и технико-экономических условий могут соответствовать тому или иному классу в пределах, указанных в табл. 47.

5.24. Отнесение той или иной схемы пересечений в разных уровнях к соответствующему классу следует производить только согласно основным положениям классификации (табл. 46): организации движения транспорта и пешеходов и рекомендуемой скорости на левоповоротных съездах.

Рекомендации по выбору типов левоповоротных съездов и геометрических схем пересечений для различных градостроительных и транспортных ситуаций приведены в прил. 8.

Некоторые примеры схем пересечений в разных уровнях I-V классов даны на рис. 13.

5.25. На пересечениях в разных уровнях элементы левоповоротных съездов следует рассчитывать и назначать исходя из переменной скорости движения, зависящей от расчетной скорости прямых направлений и рекомендуемой скорости в средней части съезда согласно табл. 46; расчетная скорость на правоповоротных съездах принимается согласно табл. 48.

Таблица 48

Класс пересечения

Рекомендуемая расчетная скорость на правоповоротных съездах, км/ч, при

αп < 0,15

αп = 0,15-0,3

αп > 0,3

I

70

80

90

II

60

70

80

III

30

50

60

IV

15

30

50

V

10

20

40

В стесненных условиях и в условиях реконструкции для III класса пересечений допускается принимать расчетную скорость на левоповоротных съездах независимо от величины αл - 30 км/ч, а для IV и V классов - 15 км/ч; на правоповоротных съездах при любых значениях αп - 30 км/ч, а для IV и V классов - 20 км/ч. Для регулируемых левоповоротных и правоповоротных потоков расчетную скорость на съездах следует принимать 10-15 км/ч.

Рис. 13. Схемы пересечений в разных уровнях

А - пересечения I класса; Б - пересечения II класса; В - пересечения III класса; Г - пересечения IV и V классов

5.26. Минимальные радиусы кривых Rмин, м, на съездах должны соответствовать рекомендуемой расчетной скорости на съездах (табл. 46 и 48) и определяться по формуле

                                                        (14)

где V -  рекомендуемая расчетная скорость на съезде, км/ч;

μ -  коэффициент поперечной силы;

iв -  поперечный уклон виража.

Значения наименьших радиусов горизонтальных кривых на съездах при наличии виража приведены в табл. 49.

Таблица 49

V, км/ч

μ

Минимальные радиусы, м, при уклоне виража iв, ‰

20

30

40

50

60

20

0,18

15

15

15

15

15

30

0,17

35

35

35

35

30

40

0,17

65

65

60

55

55

50

0,16

110

105

100

95

90

60

0,16

160

150

140

135

130

70

0,15

225

215

200

195

190

80

0,15

295

280

270

250

240

90

0,14

400

375

355

335

320

5.27. При наличии участков перестроения в пределах пересечений в разных уровнях наименьшую длину участка перестроения следует принимать, согласно табл. 44, исходя из расчетной рекомендуемой скорости движения в средней части съезда (см. табл. 46, 48).

5.28. На пересечениях в разных уровнях на прямых направлениях минимальные радиусы кривых в плане и продольном профиле, а также максимальные продольные и рекомендуемые поперечные уклоны следует назначать из тех же условий, что и на перегонах (см. раздел 2).

На всех съездах устраивается вираж с уклоном 20-60 . Увеличение продольного уклона внешней кромки проезжей части на участке отгона виража на съездах не должно превышать 10 .

Продольные уклоны на съездах допускается назначать на 10 ‰ больше, чем наибольший допустимый уклон на основных направлениях.

Радиусы вертикальных выпуклых и вогнутых кривых на съездах определяются в зависимости от рекомендуемой расчетной скорости на съездах (см. разделы 2, 3).

5.29. На пересечениях в разных уровнях число полос на съездах следует назначать по расчету исходя из расчетной перспективной интенсивности движения и пропускной способности полосы движения на съездах (табл. 50), которая зависит от радиуса поворота в средней части съезда и от характера движения в пределах съезда и на участках ответвления и присоединения к прямым направлениям.

Таблица 50

Расчетная скорость движения, км/ч

Пропускная способность полосы, приведенных авт/ч, при движении в пределах съездов

непрерывном

регулируемом

саморегулируемом

Св. 120

800

600

450

90-120

900

650

500

70-90

1000

700

550

40-70

1200

800

600

20-40

1400

900

700

1,5-20

1200

800

600

При расчетной интенсивности на съезде большей, чем пропускная способность одной полосы, следует проектировать двухполосные съезды. Данные, приведенные в табл. 50, соответствуют дистанции безопасности между остановившимися транспортными средствами, равной 5 м.

При применении съездов типа «клеверный лист» необходимо различать два случая:

а) в узлах с числом петель от 2 до 4 и при наличии сплетения потоков на межпетлевом участке следует назначать на съездах одну полосу движения, при этом сумма расчетных интенсивностей на двух соседних съездах не должна превышать 1000 авт/ч;

б) в узлах с числом петель от 1 до 2 и при отсутствии межпетлевого участка возможно проектировать две полосы движения, если этого требует величина расчетной интенсивности.

5.30. Ширину проезжей части однопутных поворотных съездов следует назначать одинаковой на всем протяжении без дополнительного уширения и равной:

5,5 м - при радиусах кривых менее 60 м

5     » -    »        »               »      от        60 до 150 м.

Проезжую часть однопутных съездов при радиусах более 150 м и проезжую часть двухполосных съездов следует назначать с учетом уширения (см. табл. 26).

При проектировании на съездах двух встречных направлений проезжая часть каждого из «их проектируется или в виде обособленных полос, или в виде общей проезжей части с разделительной полосой, ширину которой следует назначать не менее 2 м.

5.31. Общая длина пандусов пересечений L, м, в разных уровнях для прямых и поворотных потоков должна быть не менее

Ll + Твып + Твогн,                                                      (15а)

где l - длина проекции участка пандуса между переломными точками продольного профиля, м, равная

                                                                  (15б)

(здесь Н -  разность отметок, м;

i -   проектируемый продольный уклон, ‰);

Твып - тангенс выпуклой вертикальной кривой, м;

Твогн -  тангенс вогнутой вертикальной кривой, м.

5.32. Пропуск общественного транспорта через пересечения в разных уровнях следует проектировать с учетом интересов пассажиров. Как правило, линии общественного транспорта следует размещать в уровне дневной поверхности в пределах боковых проездов (вне тоннелей и эстакад). Как исключение допускается размещать общественный транспорт в первом подземном или надземном уровне. При этом решении должен быть обеспечен подъем или спуск пешеходов к остановочным пунктам механическими средствами, а проезжая часть в тоннеле и на эстакаде должна быть уширена на одну полосу.

5.33. При проектировании пересечений в разных уровнях наряду с решением о пересечениях транспортных потоков должны решаться все вопросы организации пешеходного движения с полным или частичным разобщением его с транспортными потоками в соответствии с классом пересечения.

5.34. При определении глубины заложения транспортных тоннелей на пересечениях в разных уровнях необходимо, как правило, учитывать необходимость расположения над ними пешеходных тоннелей для разобщения транспортных прямых и поворотных потоков на боковых проездах с пешеходными потоками.

5.35. Переходно-скоростные полосы следует предусматривать на СД и МНД в местах присоединения и ответвления поворотных съездов, если разность расчетной скорости на магистрали и рекомендуемой расчетной скорости на съездах (табл. 46, 48) более 30 км/ч.

Длину переходно-скоростных полос для замедления и разгона следует рассчитывать исходя из величины перепада скоростей прямого и поворотного направления с учетом продольного уклона. В табл. 51, 52 длины переходно-скоростных полос даны для основных сочетаний скоростей.

Таблица 51

Скорость на магистрали, км/ч

Длина полосы замедления с учетом переходного участка, м, при скорости на съезде, км/ч

20

30

40

50

60

70

80

90

120

280

275

250

230

210

180

170

160

100

250

240

230

210

190

165

-

-

80

220

175

160

150

130

-

-

-

60

130

120

110

-

-

-

-

-

50

110

-

-

-

-

-

-

-

Таблица 52

Скорость на магистрали, км/ч

Длина полосы разгона с учетом переходного участка, м, при скорости на съезде, км/ч

20

30

40

50

60

70

80

90

120

520

520

460

420

360

300

220

160

100

390

380

345

320

240

160

-

-

80

280

260

230

185

140

-

-

-

60

175

150

140

-

-

-

-

-

50

110

100

-

-

-

-

-

-

Данные приведены для горизонтальных участков; для предварительных расчетов при наличии подъемов рекомендуется увеличивать длину полосы разгона на 50 ‰, а на спусках - уменьшать на 30 , а длину полосы торможения на подъемах уменьшать на 20 ‰, а на спусках увеличивать на 30 ‰. Для точных расчетов длины участков торможения Lт, м, и участков разгона Lp, м, на подъемах и спусках определяются по формулам:

                                                    (16)

                                                 (17)

где Vосн -   скорость движения на основном направлении, км/ч;

Vсъезд - скорость движения на съезде, км/ч;

g -       ускорение силы тяжести, м/с2;

φ -       коэффициент продольного сцепления;

f -        коэффициент сопротивления качению;

i -        продольный уклон, ‰;

D -       динамический фактор;

δ -       коэффициент влияния вращающихся частей.

5.36. Проектирование пересечений в разных уровнях рекомендуется производить в следующей последовательности:

1) определяется диапазон классов пересечений (табл. 47) для рассматриваемых в данном случае категорий улиц и дорог;

2) производится предварительный выбор класса пересечения (табл. 46) с учетом особенностей потоков, а также конкретных планировочных, рельефных, гидрогеологических и других условий;

3) разрабатываются варианты решения пересечения, соответственно выбранному классу, сравниваются варианты и производится выбор оптимального варианта.

Рекомендации по выбору типов левоповоротных съездов и схем пересечений в разных уровнях даны в прил. 8.

5.37. Сравнение и выбор вариантов на стадии разработки проекта планировки (АПЗ) производится по укрупненным показателям с учетом капитальных затрат на все виды работ (дорожные работы, искусственные сооружения, переустройство подземных сетей, освещение, озеленение, обустройство пути и др.). На стадиях технического проекта сравнение вариантов осуществляется по сметам, полностью учитывающим затраты на производство всех видов работ.

По выбранному варианту пересечения в разных уровнях должен быть произведен расчет эффективности строительства с определением срока окупаемости согласно типовым методикам.

6. ПЕШЕХОДНЫЕ ПЕРЕХОДЫ В ОДНОМ И РАЗНЫХ УРОВНЯХ

Пешеходные переходы в одном уровне с движением транспорта

6.1. Пешеходные переходы на городских улицах и дорогах разделяются на два основных типа: пешеходные переходы в одном и в разных уровнях с движением транспорта. Первые в дальнейшем тексте именуются ППОУ, вторые - ППРУ.

6.2. ППОУ разделяются на:

а) обозначенные, нерегулируемые;

б) обозначенные, регулируемые.

Обозначенные регулируемые ППОУ различаются на регулируемые автономно от специальной управляемой пешеходами сигнализации и регулируемые общей сигнализацией.

6.3. Переход пешеходами проезжей части в необозначенных местах допускается на улицах и дорогах местного значения при интенсивности транспортного движения до 300 ед/ч в обоих направлениях.

6.4. При интенсивности транспортного движения от 300 до 600 ед/ч в обоих направлениях следует устраивать обозначенные нерегулируемые ППОУ.

Обозначенные ППОУ независимо от их типа должны иметь дорожную разметку по типу «зебра» и указатели. При интенсивности пешеходного движения свыше 150 чел/ч в обоих направлениях разметку регулируемого ППОУ следует дополнять стрелами.

6.5. При интенсивности транспортного движения более 600 ед/ч в обоих направлениях и при условии, что пешеходное движение имеет эпизодический характер с резко и многократно изменяющейся в течение суток интенсивностью (от 100 до 600 чел/ч), следует устраивать регулируемые ППОУ с автономной вызывной от пешехода сигнализацией.

6.6. Регулируемые общей сигнализацией ППОУ необходимо устраивать, если имеется хотя бы одно из соответствующих условий, перечисленных в п. 5.12, а также при наличии на перекрестке правоповоротного транспортного потока интенсивностью более 150 ед/ч в одном направлении и пешеходного движения, пересекающего указанный поток, не менее 900 чел/ч.

6.7. Ширину пешеходных переходов, расположенных в одном уровне с проезжей частью, и расстояния между ними следует принимать по расчету, но не менее указанных в табл. 53.

Таблица 53

Категория улицы

Наименьшее расстояние между переходами, м

Наименьшая ширина перехода, м

МРД

300

6

РМ

250

4

ГД

500

3

УДМ:

 

 

жилые улицы

150

3

дороги промышленных и коммунально-складских районов

300

3

В тех случаях, когда городская улица или дорога проходит по незастроенной и не подлежащей застройке территории, расстояние между пешеходными переходами может быть увеличено с учетом сложившихся направлений пешеходных потоков.

Расчет ширины наземного пешеходного перехода производится с учетом расчетной интенсивности пешеходного движения исходя из ширины одной полосы 0,75 м и пропускной способности полосы 800 чел/ч.

6.8. Перекрестки городских улиц и дорог должны быть оборудованы двумя пешеходными переходами или более в зависимости от расположения относительно перекрестка пунктов притяжения пешеходов (жилая застройка, общественные и промышленные объекты, остановочные пункты общественного транспорта и др.), принятой принципиальной схемы организации пешеходного движения и планировки и застройки перекрестка.

6.9. На перекрестках ППОУ следует располагать непосредственно по границе, параллельной проезжей части (рис. 14), если пешеходный переход является продолжением тротуаров, не отделенных от проезжей части разделительными полосами, и имеется одно из следующих условий:

пешеходное движение по переходу регулируется пешеходными светофорами;

на подходе к перекрестку выделена (при помощи разметки или дорожного знака) специальная полоса проезжей части для движения транспортных средств, совершающих правый поворот с пересечением пешеходного перехода;

радиус закругления бордюра менее 8 м.

Рис. 14. Схема размещения пешеходных переходов в одном уровне (ППОУ) на перекрестке

1 - пешеходные переходы; 2 - левоповоротное движение, выполняемое с относом пешеходного перехода

6.10. Во всех остальных случаях наземные пешеходные переходы в зоне перекрестков следует располагать с относом от перекрестка. Дальность относа пешеходного перехода от воздушной линии бортов проезжей части, параллельной переходу, должна быть не менее ширины разделительной полосы между проезжей частью и тротуаром и не менее 6 м (рис. 14).

В случае применения схемы с удлинением перекрестка для левоповоротного движения (с отнесенным пешеходным переходом) (рис. 14), дальность его относа lот, м, необходимо рассчитывать по формуле

                                                                  (18)

где Nтл - интенсивность движения левоповоротного потока, авт/ч;

Т -    длительность светофорного цикла, с;

В -    ширина проезжей части, используемой для накопления левоповоротных транспортных средств, м.

6.11. При наличии островков безопасности пешеходный переход должен быть отнесен от линии, соединяющей противоположные тротуары, на расстояние не менее 1,5 м (рис. 14).

6.12 (9.48). На наземных нерегулируемых пешеходных переходах в зоне треугольника видимости «пешеход - транспорт» не допускается размещение строений и зеленых насаждений высотой более 0,5 м, стороны треугольника видимости следует принимать 8´40 м при скорости движения транспорта 40 км/ч и 10´50 м при скорости 60 км/ч.

Пешеходные переходы в разных уровнях с движением транспорта

6.13 (9.49). Пешеходные переходы в разных уровнях с проезжей частью улицы или дороги следует устраивать: на скоростных дорогах и магистральных улицах непрерывного движения; на улицах и дорогах с регулируемым движением при потоке пешеходов через проезжую часть более 3000 чел.-ч и ее шириной 15 м и более; на перекрестках улиц и дорог с нерегулируемым правоповоротным движением интенсивностью более 300 приведенных автомобилей в 1 ч; на площадях и перекрестках с кольцевым саморегулируемым движением транспортных средств, если размеры конфликтующих потоков транспорта и пешеходов требуют введения светофорного регулирования.

6.14. При невозможности устройства ППРУ на перекрестке с нерегулируемым правоповоротным движением более 300 приведенных авт/ч на площадях и перекрестках с кольцевым саморегулируемым движением и на МРД при потоке пешеходов более 3000 чел.-ч через проезжую часть шириной 15 м и более рекомендуется вводить светофорное регулирование движения с устройством ППОУ.

6.15. ППРУ также устраиваются на пересечениях с линиями скоростного трамвая; на пересечениях с магистральными железнодорожными линиями на перегоне в пределах границ станций; на пересечениях с железнодорожными путями при запрещении устройства переездов в одном уровне для транспортных средств.

6.16. ППРУ на улицах и дорогах классифицируются по трем основным признакам:

1) по уровню пропуска пешеходов и транспорта:

надземные - с пропуском пешеходов над уровнем дневной поверхности и пропуском транспорта в уровне поверхности; подземные - с пропуском транспорта в уровне дневной поверхности и пропуском пешеходов под уровнем поверхности; наземные с пропуском пешеходов в уровне дневной поверхности и пропуском транспорта над уровнем или под уровнем дневной поверхности;

2) по расположению на городской улице или дороге - расположенные на перегоне; расположенные на перекрестке или площади;

3) по функциональному назначению обслуживания пешеходов:

переходы, служащие для пропуска пешеходов под (или над) одной или несколькими проезжими частями одной улицы или дороги, называемые переходами «обычного типа»; переходы, служащие для пропуска пешеходов под (или над) проезжими частями нескольких улиц и дорог, называемые переходами «группового типа»; переходы, служащие для пропуска пешеходов под (или над) одной или несколькими проезжими частями улиц и дорог и одновременно обеспечивающие проход в различные пункты массового тяготения пешеходов (станции метрополитена, скоростного трамвая, вокзалы, причалы, торгово-зрелищные, общественные, административные и промышленные предприятия и т.п.), называемые переходами «развитого типа». Кроме того, ППРУ могут совмещаться с транспортными пересечениями в разных уровнях или размещаться отдельно.

6.17. Надземные ППРУ с пропуском пешеходов над проезжими частями мало применяются на городских улицах и дорогах, так как вызывают необходимость преодоления пешеходами на подъем по лестницам высотой около 6 м. Устройство надземных ППРУ рекомендуется для пересечения пешеходами МНД с центральными проезжими частями, расположенными в выемке глубиной от 13 м и более и имеющих в уровне дневной поверхности боковые проезды, на которых осуществляется движение общественного транспорта, а также на СД при расположении их в выемке от 3 м и более и в благоприятных рельефных условиях, когда высота подъема оказывается 3,2 м и менее.

В виде исключения этот тип ППРУ может быть применен со встройкой входов в прилегающие здания или в специальные павильоны с оборудованием лифтами или эскалаторами.

Надземные ППРУ проектируются в виде пешеходных мостиков над проезжей частью городских улиц и дорог. Они могут быть открытыми и закрытыми (с боковыми стенами) в зависимости от местных и климатических условий.

6.18. Подземные ППРУ с пропуском пешеходов ниже уровня дневной поверхности, по которой проходят потоки транспорта, являются наиболее целесообразными, так как требуют сравнительно небольшого подъема и спуска по лестницам (3-3,2 м), легко вписываются в архитектурный облик улицы, перекрестка или площади.

ППРУ, расположенные на перегоне, как правило, рекомендуются подземного типа, кроме указанных в п. 6.17.

На перегонах городских улиц и дорог, как правило, проектируются ППРУ обычного типа, на площадях и перекрестках - группового типа. ППРУ развитого типа, как правило, проектируются на площадях и перекрестках, но могут в ряде случаев применяться и на перегонах.

6.19. Проектированию каждого конкретного ППРУ должна предшествовать разработка схемы организации пешеходного движения и размещения ППРУ по всей улице или дороге.

Разработку указанной схемы следует производить с учетом интенсивности движения транспорта и пешеходов, функционального назначения застройки, организации движения общественного транспорта, категории городской улицы и дороги.

6.20. Схема размещения ППРУ разрабатывается в составе проекта детальной планировки или в составе проекта планировки и застройки магистрали. Схема разрабатывается в нескольких вариантах и на основании сравнения показателей выбирается оптимальный.

При сравнении вариантов учитываются сокращение транспортных потерь, объем капитальных затрат (включая переустройство подземных сооружений), но основными показателями следует принимать удобства и безопасность движения пешеходов и транспорта.

6.21. ППРУ на МИД при наличии местных проездов рекомендуется устраивать только под центральной проезжей частью, а при наличии боковых проездов - и под ними. При этом в переходах делаются дополнительные входы и выходы к остановкам на центральных и боковых проездах; на первую очередь строительства подземный переход под боковыми проездами допускается не устраивать.

При расположении ППРУ на улицах с трамвайными путями или бульварами, отделенными от застройки боковыми проездами, рекомендуется устраивать дополнительные лестничные или лестнично-пандусные входы-выходы на бульвар и к остановочным площадкам трамвая.

6.22. ППРУ без лестничных сходов или с неполными сходами устраиваются, когда проезжая часть улицы или дороги проходит в насыпи по отношению к застройке и основным тротуарам. При насыпи высотой 3 м и более два торцевых входа позволяют пешеходам без подъемов и спусков пересекать проезжую часть улицы. Для остановок общественного транспорта, расположенных вдоль проезжей части на откосе насыпи, предусматриваются самостоятельные лестничные сходы.

Разновидностью этого типа подземного ППРУ являются пешеходные переходы через проезжую часть на подходах к местам и путепроводам, возведенным в откосах или подходах к мостам и путепроводам, имеющих откосы или подпорные стенки на участке высотой 3-3,2 м.

6.23. ППРУ, совмещенные с транспортными пересечениями в разных уровнях, рекомендуется устраивать по одной из трех наиболее часто встречающихся схем, в зависимости от расположения главного направления движения транспорта и размеров право- и левоповоротных потоков:

1) главное направление транспорта пешеход преодолевает в уровне поверхности над тоннелем, а право- и левоповоротные транспортные потоки пересекает в одном уровне с транспортом с регулированием или без регулирования в зависимости от величины транспортных и пешеходных потоков;

2) все направления движения транспорта пешеход проходит по пешеходным тоннелям ППРУ. Устройство пешеходного тоннеля над транспортным в этом случае вызывает необходимость в дополнительном заглублении последнего на 3 м;

3) все направления движения транспорта пешеход проходит по пешеходным тоннелям ППРУ с частичным заглублением транспортного тоннеля и некоторым поднятием площади с включением пешеходного тоннеля в конструкцию перекрытия транспортного тоннеля. При этом на участке примыкания пешеходного тоннеля к транспортному тоннелю предусматривается небольшой подъем и спуск (5-7 ступеней).

6.24. Подземные ППРУ развитого типа в виде закрытого или частично раскрытого зала рекомендуется устраивать для связи нескольких улиц друг с другом и с входами в различные здания и сооружения (в метро, торговые и зрелищные предприятия, автомобильные стоянки и др.). Подземный зал рекомендуется оборудовать элементами обслуживания согласно п. 6.26.

6.25. Во всех случаях, когда это оказывается возможным, рекомендуется проектировать ППРУ группового типа, чтобы исключить неоднократный спуск и подъем пешеходов, и развитого типа, обеспечивающие максимальные удобства пешеходу.

6.26. В зависимости от интенсивности пешеходного движения в ППРУ следует предусматривать элементы попутного обслуживания пешеходов - телефоны-автоматы, газетные и рекламные стенды, газетно-журнальные киоски, театрально-концертные кассы, торговые киоски (книги, табак, цветы, сувениры, воды, мороженое), кафе, закусочные, места отдыха и т.п.

Набор тех или иных элементов обслуживания определяется с учетом местных условий. Ориентировочно, с учетом размера интенсивности движения пешеходов может быть рекомендован состав элементов обслуживания, приведенный в табл. 54.

Таблица 54

Элементы обслуживания

Состав элементов обслуживания в ППРУ в зависимости от интенсивности движения пешеходов, чел.-ч

до 3000

3000-6000

6000-10000

10000-15000 и более

Телефоны-автоматы, газетные и рекламные стенды

+

+

+

+

Газетно-журнальные киоски

-

+

+

+

Театрально-концертные кассы

-

-

+

+

Торговые киоски для цветов, воды, табака, сувениров

-

-

-

+

Кафе и закусочные

-

-

-

+

Примечание. Знак «+» рекомендуется устраивать указанный элемент, а знак «-» не рекомендуется устраивать.

При проектировании в ППРУ различных элементов попутного обслуживания пешеходов ширина их подлежит увеличению из расчета безусловного сохранения расчетной ширины для транзитного движения пешеходов.

При размещении элементов попутного обслуживания пешеходов необходимо предусматривать устройство фекально-хозяйственной канализации, отопления, а в некоторых случаях вентиляции.

6.27 (9.52). В пешеходных тоннелях следует предусматривать помещения для размещения электротехнических устройств, ввода водопровода, водоотливной установки, устройств по обогреву лестничных сходов, хранения уборочного инвентаря и размещения эксплуатационного персонала.

6.28. Выбор схемы организации движения и пространственного решения каждого конкретного ППРУ, включающего точное расположение перехода в плане и профиле, расположение лестничных сходов и элементов обслуживания, архитектурное оформление интерьеров, а также вопросы прокладки и перекладки подземных и надземных инженерных сетей, следует производить на стадии разработки проекта планировки, магистрали, площади, улицы или отдельного ППРУ.

После разработки и утверждения проектов планировки ППРУ проект на строительство, как правило, разрабатывается в одну - техно-рабочую стадию со сметой.

Основные геометрические размеры пешеходных переходов в разных уровнях

6.29 (9.49). Расстояния между пешеходными тоннелями и мостиками следует принимать не менее 400 и не более 600 м.

Как исключение, в условиях реконструкции это расстояние может быть уменьшено до 250-300 м. В промышленно-складской зоне расстояние может быть увеличено до 800 м.

6.30 (9.50). Ширину пешеходных тоннелей и мостиков необходимо назначать в зависимости от расчетной перспективной интенсивности движения пешеходов в час пик. Среднюю расчетную пропускную способность 1 м ширины следует принимать: тоннеля и мостика - 2000, лестниц - 1500 человек в 1 ч.

Минимальную ширину пешеходных тоннелей следует принимать 3 м, а минимальную ширину двусторонних лестниц (при условии устройства двух лестниц в каждом торце тоннеля) - по 2,25 м каждая. Ширину спусков для детских колясок следует принимать не менее 1 м. Спуски для детских колясок должны предусматриваться во всех пешеходных переходах.

6.31. Лестницы для подъема и спуска пешеходов в ППРУ могут быть заменены пешеходными пандусами. Ширина пандуса принимается по расчету с учетом пропускной способности 1 м ширины - 1750 чел/ч.

Минимальная ширина пешеходных пандусов аналогична минимальной ширине лестниц. Максимальный уклон пандуса не должен превышать 60 ‰, в особо исключительных случаях 80 .

В тех случаях, когда пешеходные пандусы проектируются параллельно с лестницами (при массовом движении пешеходов с детскими колясками, значительным количеством в составе пешеходов инвалидов и пожилых по возрасту групп), минимальную ширину пандуса следует принимать 1 м с устройством площадок общей длиной не менее 2-2,25 м, если по длине пандуса имеется поворот в его направлении на 90 или 180°. Ширину лестниц при наличии параллельных пандусов определяют без учета пропуска пешеходов по пандусу.

6.32. Пандусные спуски для пешеходов с колясками могут быть выполнены в самостоятельном виде или в виде комбинированных пандусно-лестничных спусков. На участках параллельного расположения обычных лестниц и пандусных спусков они отделяются друг от друга подпорной стенкой и перильным поручнем.

6.33. В тех случаях, когда движение пешеходов с колясками отсутствует полностью и не предполагается на перспективу или не превышает 2-3 чел.-ч, пандусные спуски для пешеходов с колясками рекомендуется не устраивать. Акт обследования и заключение об исключении пандусных спусков для пешеходов с колясками утверждается соответствующим Советом народных депутатов (поселковый Совет, райсовет, горсовет и т.п.).

При интенсивности движения пешеходов с колясками 3-10 чел.-ч пандусные спуски для них также рекомендуется не устраивать, предусматривая взамен их установку светофора с вызывным действием от пешеходов с колясками.

В случае значительных усложнений в строительстве ППРУ в условиях реконструкции из-за размещения пандусных спусков для пешеходов с колясками допускается переносить эти спуски на следующий или предыдущий пешеходный переход.

6.34. Заглубление подземных пешеходных тоннелей с лестничными спусками от уличного тротуара до пола тоннеля должно быть минимальным и не превышать 3-3,2 м. В исключительных случаях заглубление пешеходного тоннеля при соответствующем обосновании в проекте может быть допущено 3,35 м.

При невозможности ограничить заглубление тоннеля 3,35 м (из-за расположения магистральных подземных сооружений или требований архитектурно-объемной композиции элементов обслуживания) все входы и выходы в подземный ППРУ оборудуются на подъем эскалаторами и лестницами на спуск.

Эскалаторные подъемы размещаются либо встроенными в здания, либо в пассажах, устроенных в первых этажах прилегающей застройки.

6.35. Высота пешеходного тоннеля в свету (от пола до низа ребер перекрытия) должна быть не менее 2,3 м. При наличии по оси тоннеля прогона или стоек в двух- и трехпролетных тоннелях высота тоннеля от пола до низа прогона должна быть не менее 2 м.

Осветительную арматуру следует располагать между ребрами перекрытия или на стенах таким образом, чтобы не уменьшать высоту тоннеля.

При проектировании плоского перекрытия тоннеля с потолочной осветительной арматурой высота тоннеля от пола до низа осветительной арматуры должна быть не менее 2,3 м.

В особо исключительных случаях при соответствующем обосновании в проекте может быть допущено уменьшение высоты тоннеля до 2,2 м.

6.36. Уклон лестничных маршей не должен превышать 1:3,3, что соответствует размерам ступеней 12´40 см. В исключительных случаях при соответствующем обосновании допускается устройство одной из двух лестниц с уклоном 1:2,3 со ступенями размером 14´32 см.

Лестничные марши не должны быть затяжными. В одном марше должно быть, как правило, не более 14 ступеней. Между лестничными маршами следует располагать промежуточные площадки шириной не менее 1,5 м.

6.37. Для отвода воды с лестничных маршей и промежуточных площадок им следует придавать уклон 15 .

Верхнюю площадку лестничного марша для преграждения поверхностного стока воды с тротуара в переход следует проектировать на 6 см выше прилегающего тротуара.

Полу пешеходного перехода следует придавать продольный уклон, но не более 40 ‰. В отдельных случаях пол тоннеля может быть горизонтальным, при этом отвод воды (от мытья тоннеля и занесенной пешеходами) следует обеспечивать за счет поперечного уклона, равного 10 ‰, и продольного лотка с уклоном не менее 5 с размещенными в нем водоприемными решетками.

6.38. Вход в пешеходный тоннель может размещаться у борта проезжей части или с отступом от борта. При расположении входа у борта проезжей части между парапетом входа и внешней гранью борта должна быть оставлена полоса безопасности шириной 0,75 м. В особо исключительных случаях при соответствующем обосновании в проекте эта ширина может быть уменьшена до 0,5 м.

Во всех случаях, когда это оказывается возможным, вход в подземный пешеходный переход рекомендуется размещать с отступом от борта проезжей части на расстояние 3,5-4 м.

Размещение входа в подземный пешеходный переход должно учитывать сохранение оставшейся ширины тротуара для пешеходов, не направляющихся в переход, по расчетной интенсивности этого движения, но не менее 3 м. Пропускную способность этого участка тротуара, с учетом стесненных условий, следует принимать 600 чел.-ч на полосу шириной 0,75 м. В особо стесненных условиях при реконструкции снижение свободной ширины тротуара может быть уменьшено с соответствующим обоснованием исходя из пропускной способности этого участка не более 1000 чел.-ч.

6.39. Минимальная ширина пешеходных мостов между перилами должна быть 3 м. Максимальный продольный уклон 30 ‰, в исключительных случаях с соответствующим обоснованием в проекте 40 , поперечный уклон 15-20 .

Подмостовой габарит для пешеходных мостов на городских улицах и дорогах 5 м.

6.40. Расчетную интенсивность пешеходного движения в час пик на ППРУ в условиях реконструкции рекомендуется определять с учетом натурных обследований на месте проектируемого перехода.

При обследованиях кроме определения количества пешеходов в час пик следует выявлять состав пешеходного потока (дети, пешеходы с колясками, инвалиды и т.п.).

Расчетная интенсивность движения Nрасч:пеш, чел.-ч, определяется по формуле

Nрасч.пеш = Nнабл К1 К2,                                                (19)

где Nнабл -  интенсивность движения в час пик, установленная наблюдением, чел.-ч;

K1 -      коэффициент сезонной неравномерности, принимаемый от 1,1 до 1,3 в зависимости от сезона наблюдения. Для курортных городов коэффициент сезонной неравномерности должен учитывать сезонный прирост населения;

К2 -      коэффициент, учитывающий прирост населения и увеличение его подвижности (обычно в пределах 1,2-1,4). В каждом конкретном случае К2 следует определять по данным генплана (или ТЭО генплана) города, в составе которого имеются сведения о приросте населения и его подвижности.

Для городских улиц и дорог, раcположенных в неполностью застроенных частях города, необходимо дополнительно учитывать увеличение интенсивности движения по окончании застройки, уделяя особое внимание строящимся или предполагаемым к застройке на перспективу общественным зданиям и сооружениям, торговым центрам, зрелищным предприятиям и т.п.

При проектировании новых городов или новых городских районов рекомендуется определение расчетной интенсивности движения пешеходов производить одновременно с проектированием транспортной сети на основе расчетов транспортно-пешеходных передвижений.

7. ИСКУССТВЕННЫЕ СООРУЖЕНИЯ НА ГОРОДСКИХ УЛИЦАХ И ДОРОГАХ

Основные требования к проектированию

7.1. К основным ИС на городских улицах и дорогах относятся мосты, путепроводы, эстакады, тоннели, виадуки, дамбы, пешеходные мосты, подпорные стенки, стенки набережных, берегоукрепительные сооружения, трубы, лестничные сходы и др.

ИС на городских улицах и дорогах следует проектировать в соответствии с требованиями действующих нормативно-методических документов.

7.2. ИС в плане города следует размещать согласно решениям генерального плана развития города и ПДП районов с учетом организации транспортного и пешеходного движения, обоснованной транспортными расчетами.

При размещении ИС должны учитываться градостроительные, архитектурно-композиционные и эстетические требования; природно-климатические, рельефные и грунтово-гидрологические условия, а также требования перспективного роста и изменения состава движения транспорта и пешеходов.

На стадиях разработки проектов планировки или ТЭО, необходимого для крупных ИС, как правило, разрабатывается несколько вариантов с выбором оптимального на основе технико-экономического обоснования.

На стадии технического проекта, как правило, вариантному проектированию подвергаются конструктивные решения, но в целях уточнения ТЭО могут предусматриваться и варианты по уточнению места расположения сооружения или его типа (например, тоннель или эстакада и т.д.).

7.3. ИС в зависимости от их назначения должны удовлетворять требованиям габарита приближения строений1:

а) на городских улицах и дорогах - габариту приближения конструкций согласно п. 2.2 главы СНиП II-44-78 «Тоннели железнодорожные и автодорожные»;

б) на железных дорогах общей сети - габариту приближения строений согласно ГОСТ 9238-73;

в) на железных дорогах промышленных предприятий - габариту приближения строений согласно ГОСТ 9238-73;

г) через реки и водоемы - подмостовым габаритам согласно «Нормам проектирования подмостовых габаритов на судоходных и сплавных реках» (НСП 103-52).

1 Габаритом приближения строений является предельное очертание (перпендикулярное к продольной оси проезжей части), внутрь которого не должны заходить элементы конструкций ИС или расположенных на них устройств.

В случаях, когда при проектировании улиц или дорог в перспективе предусматривают увеличение числа полос движения, габариты принимают с учетом перспективы.

7.4. Элементы поперечного профиля на мостах, путепроводах, тоннелях, эстакадах и других ИС, как правило, должны быть такими же, как элементы поперечного профиля пропускаемых городских улиц и дорог.

На участках ИС в виде исключения допускается сужение разделительной полосы. На СД при разделительной полосе, равной 6 м, а на МНД - 4 м в пределах ИС разделительная полоса может быть принята для СД 4 м, а для МНД 2 м (с установкой бруса безопасности и с устройством соответствующих предохранительных полос в обе стороны от ширины горизонтальной проекции бруса безопасности).

Ширина тротуаров на ИС может быть уменьшена против ширины на пропускаемых улицах или тротуары могут быть исключены совсем при соответствующих обоснованиях. В этом случае должен быть предусмотрен служебный тротуар шириной 1 м (в стесненных условиях 0,75).

В тех случаях, когда пропускаемая улица не имеет разделительной полосы, а решение ИС предусматривает размещение опоры между проезжими частями на улице, необходимо предусматривать уширение для размещения разделительной полосы.

Расширение и сужение проезжей части на ИС должно сопрягаться с проезжей частью плавными кривыми на участке длиной не менее 100 м, а также радиусами, установленными для данной категории улицы или дороги.

7.5. При расположении трамвайных путей на обособленном полотне, независимо от его положения в поперечном сечении ИС, габариты ИС увеличиваются на 2В, где В - ширина полосы движения, принимаемая для данного направления, но не менее 3,5 м.

7.6. На СД в пределах ИС тротуары для пешеходов не устраиваются. Здесь для прохода обслуживающего персонала должны быть предусмотрены служебные тротуары шириной 1 м (в стесненных условиях 0,75 м).

7.7. На МНД и МРД на участках ИС, когда это возможно, следует предусматривать движение пешеходов по отдельным трассам вне ИС, чтобы избежать подъема по лестницам на высоту 6-6,5 м. При устройстве тротуаров на ИС к ним должны быть устроены лестничные сходы в створе пересекающихся улиц.

7.8. В транспортных тоннелях, как правило, пешеходное движение не проектируется. Обязательным является устройство служебных тротуаров шириной 0,75-1 м (в особо стесненных условиях 0,5 м).

В особых случаях, когда транспортный тоннель совмещается с пешеходным, уровень прохода пешеходов против уровня проезжей части повышается на 2,7 м и обязательно отделяется от транспорта оплошным ограждением.

7.9. На городских улицах и дорогах при пропуске всех видов транспорта габариты по высоте над поверхностью проезжей части на ИС следует принимать 5 м.

При пропуске через ИС ограниченных видов транспорта (например, только легкового или только массового) при обеспечении пропуска вне ИС остальных видов транспорта габарит по высоте устанавливается в соответствии с высотой транспортных средств с добавлением зазора высотой 0,5 м.

7.10. Водопропускные трубы, малые ИС под городскими улицами и дорогами независимо от их категории следует проектировать на полную ширину земляного полотна с учетом перспективы.

7.11. Расстояние от уровня головки рельса до низа пролетных строений мостов, путепроводов и эстакад, пересекающих трамвайные пути, должно быть не менее 5 м.

Высоту от уровня верха головки рельса до низа конструкций ИС, расположенных над железнодорожными путями, следует принимать не менее:

а) 6300 мм для ИС, расположенных на перегонах и пассажирских остановочных пунктах шириной не более 5 м (в нижней части конструкции);

б) 6500 мм при ширине ИС более 5 м;

в) 6800 мм для пешеходных мостов при их ширине не более 5 м, расположенных над путями станций, разъездов и обгонных пунктов;

г) 7000 мм при ширине ИС более 5 м.

7.12. Пролетные строения с ездой понизу следует проектировать с учетом обеспечения высоты от уровня головки рельсов до уменьшать до 5550 мм.

7.13. ИС в виде путепроводов и тоннелей предпочтительно проектировать по однопролетной схеме без промежуточных опор на разделительной полосе, что улучшит условия видимости, безопасности и уменьшит общую ширину ИС.

7.14. При сооружении пешеходных мостов через железнодорожные линии, перевод которых на электрическую тягу не предвидится, высоту от уровня головки рельса до низа конструкций допускается уменьшать по 5550 мм.

7.15. Горизонтальное расстояние от внутренней грани опор ИС до оси крайних путей перегонов и станций должно быть не менее 3100 мм.

В особо сильно снегозаносимых выемках (кроме скальных) и на выходах из них (на длине 100 м) указанные расстояния должны быть не менее 5700 мм.

7.16. В многопролетных местах должно быть устроено не менее двух судоходных пролетов, расположенных над судовыми ходами: устройство одного судоходного пролета допускается только в случае недостаточной ширины реки, а также в разводных, наплавных и временных мостах.

В мостах через несудоходные реки, а также в несудоходных пролетах судоходных рек возвышение низа пролетных строений моста над расчетным горизонтом (с учетом подпора) должно быть не менее 0,5 м, а над горизонтом наивысшего ледохода - не менее 0,75 м. При наличии на реке карчехода или селевых потоков возвышение низа пролетных строений должно быть не менее 1 м. Подмостовые габариты судоходных и сплавных пролетов мостов устанавливаются в зависимости от класса внутренних водных путей, согласно НСП 103-52, и приводятся в табл. 55.

7.17. Габариты уникальных ИС (мостов, путепроводов и эстакад) допускается принимать на основе индивидуальных технико-экономических обоснований, учитывающих расположение сооружения, его архитектурно-композиционное значение, особенности другого характера и опыт эксплуатации аналогичных сооружений.

Таблица 55

Класс внутренних водных путей

Высота, м

Ширина, м

в середине пролета

у опоры

между опорами

у пролетного строения

А

Б

А

Б

I

13,5

5

140

120

97 (70)

80 (60)

II

12,5

4

140

100

97 (70)

67 (50)

III

10

3,5

120

80

80 (60)

54 (40)

IV

10

2,5

80

60

40

30

V

7

2

60

40

30

20

VI

3,5

1,5

40

20

20

10

VII

3,5

1

20

10

10

5

Примечания: 1. А - пролет низового направления движения при наличии лесосплава; Б - пролет взводного направления при наличии лесосплава и для обоих направлений при его отсутствии.

2. Значения в скобках следует принимать при колебаниях навигационных уровней свыше 4 м.

План, профиль и элементы конструкций искусственных сооружений

7.18. ИС, как правило, следует располагать на прямых в плане участках дороги. Устройство мостов, путепроводов, эстакад и тоннелей на кривых в плане допускается как исключение при соответствующем технико-экономическом обосновании.

7.19. В пределах кривых на ИС не допускается изменение элементов плана. Максимальный продольный уклон в пределах ИС не должен превышать 30 ‰ Все остальные элементы продольного профиля должны применяться такие же, как и на пропускаемых улицах и дорогах.

Вертикальные прогибы пролетных строений должны быть ограничены так, чтобы в совокупности с величинами строительных подъемов обеспечивалось плавное движение транспорта на сооружении.

7.20. На всем протяжении ИС мостового типа должны быть обеспечены условия для безопасности движения, предотвращающие выход движущихся экипажей за пределы предусмотренных для них полос проезжей части и удары об элементы конструкций. Для этой цели проектируются барьеры безопасности в виде конструктивных элементов или стального бруса. Высота барьера безопасности должна быть 0,6-0,8 м.

7.21. Расположение ИС, пересекающих улицу или дорогу, должно выбираться так, чтобы возможно меньше нарушить видимость при проезде по улице или дороге и не создавать условий, повышающих аварийность.

Не рекомендуется расположение ИС над выпуклыми участками улицы или дороги. Во всех сомнительных случаях надо выполнять расчет расстояния видимости.

7.22. Для улучшения видимости вертикальные стенки и промежуточные опоры транспортных тоннелей и путепроводов, а также потолки должны облицовываться или обрабатываться материалами светлых тонов.

Форма и фактура вертикальных стенок и потолков должны способствовать поглощению шума от движущегося транспорта.

Материал облицовки должен быть долговечным, стойким к атмосферным и температурным воздействиям, а также легко очищаться от грязи.

При въезде в пределы ИС, где транспортные потоки разделяются на основные направления и боковые проезды, начало сооружения (пандусы тоннелей, путепроводов и эстакад) должно четко фиксироваться хорошо видимыми конструкциями со световыми указателями.

7.23. При проектировании ИС необходимо предусматривать специальные мероприятия, обеспечивающие плавность въезда на них автотранспорта с улицы или дороги и проезд через деформационные швы без толчков.

7.24. При проектировании ИС на пересечениях в разных уровнях I и II классов рекомендуется принимать следующие пространственно-конструктивные решения в зависимости от расположения каждого конкретного объекта в плане города:

в периферийных зонах, где чаще всего имеются заранее отведенные участки для строительства пересечений в разных уровнях, рекомендуется выбирать наиболее экономичные по расходу материалов «рассредоточенные» узлы (несколько одноярусных путепроводов или тоннелей или их сочетание);

в срединных зонах, где чаще всего наблюдается дефицит свободной территории и в то же время сосредоточены мощные транспортные потоки, рекомендуется выбирать «компактные» узлы (многоярусные эстакады, тоннели или комбинированные комплексы сооружений). Такие узлы требуют крупных единовременных затрат, но окупаются в короткие сроки за счет рациональных эксплуатационных показателей;

в центральных зонах, для которых характерно наличие ценной исторической застройки и отсутствие свободных территорий, а также сугубо индивидуальное функциональное назначение конкретной площади, рекомендуется в каждом случае выбирать композиционное решение узла индивидуально в зависимости от степени реконструкции площади, от возможности использования подземного и надземного пространства и др.

7.25. При проектировании ИС должны учитываться методы производства работ и разрабатываться схемы организации движения транспорта на период строительства.

Предпочтительнее производить работы по всему фронту ИС с устройством объездных дорог. Допускается производство работ захватками в два этапа с пропуском транспорта по зауженным участкам. Как исключение при соответствующем обосновании допускается строительство ИС в три захватки (в три этапа) и с регулируемым поочередным по направлениям пропуском транспорта.

7.26. При проектировании ИС и выборе вариантов необходимо учитывать отрицательное воздействие транспортного шума на прилегающую территорию и застройку. В проекты ИС должны входить мероприятия по снижению отрицательного воздействия шума: установка противошумовых ограждений, переоборудование примыкающих зданий, изменение функционального назначения примыкающих зданий и др.

7.27. ИС должны иметь приспособления для пропуска линий связи, электросиловых кабелей, а в случае необходимости и других инженерных сетей. На ИС, расположенных на СД, предусматривается пропуск только тех инженерных сетей, которые служат для обслуживания самой СД.

7.28. В транспортных тоннелях длиной более 400 м обязательно устройство искусственной вентиляции. Необходимость устройства вентиляции в тоннелях менее 400 м проверяется расчетом. В тоннелях длиной от 150 до 400 м искусственную вентиляцию предусматривают при недостаточном естественном проветривании, а в транспортных тоннелях длиной менее 150 м в исключительных случаях.

Скорость движения воздуха в транспортном тоннеле при вентилировании должна быть не более 6 м/с. Концентрация в воздухе транспортного тоннеля окиси углерода и других вредных примесей должна быть не выше предусмотренной нормами п. 6.4 главы СНиП II-44-78.

8. ПРОЕКТИРОВАНИЕ ЗЕМЛЯНОГО ПОЛОТНА

Планировочные и рельефные условия

8.1. Под земляным полотном улицы следует понимать грунтовое основание проезжей части, тротуаров, местных проездов, газонов и других элементов улицы в пределах красных линий. Проектирование земляного полотна осуществляется в комплексе с проектированием дорожной одежды (см. раздел 9).

8.2. Земляное полотно следует проектировать исходя из условий его геометрической формы и устойчивости дорожной одежды независимо от погодных условий и времени года.

8.3. Земляное полотно улиц и дорог проектируется с учетом расположения проезжих частей ниже уровня прилегающих территорий, газонов и тротуаров для обеспечения приема поверхностных вод.

На отдельных участках возможно проектирование земляного полотна с возвышающимися над прилегающей территорией проезжими частями (в откосах или в подпорных стенках), располагая в сопряжении с прилегающей территорией местные проезды или тротуары с обеспечением самостоятельного отвода воды с различных элементов улицы, расположенных в разных уровнях.

При расположении улиц и дорог на косогорных участках с уклоном более 1:5, с двумя или большим числом проезжих частей и разделительных полос на разных уровнях, сопрягаемых откосами или подпорными стенками, в случае необходимости возможно проектирование для каждого высотного уровня самостоятельного земляного полотна.

8.4. Проектирование земляного полотна в условиях вечной мерзлоты, просадочных или плывунных грунтов, на оползневых склонах и при других неблагоприятных условиях должно производиться по индивидуальным проектам с учетом указаний, принятых в генеральных планах населенных мест и в специальных руководствах по проектированию в этих условиях.

8.5. На участках с обычным планировочным решением и с простыми инженерно-геологическими, гидрологическими и другими природными условиями земляное полотно следует проектировать с применением типовых решений. Индивидуальные проекты земляного полотна разрабатываются:

а) в случаях особых требований архитектурно-планировочного решения улицы или условий движения транспорта (например, выделение полос скоростного движения или движения специальных транспортных средств на полосах движения, отделенных или изолированных от остального транспорта);

б) в случаях особых местных условий:

для насыпей высотой более 12 м из нескальных грунтов;

для насыпей на участках временного подтопления, а также в местах пересечения водоемов и водостоков;

для насыпей на болотах глубиной более 4 м или при меньшей глубине, когда не предусматривается выторфовывание, а также при наличии поперечных уклонов дна болота более 1:10;

для насыпей на участках со слабыми естественными основаниями, в том числе в местах размещения водопропускных устройств, а также при выходе ключей в пределах основания;

для выемок в нескольких грунтах при высоте откосов более 12 м и в скальных - более 16 м при благоприятных инженерно-геологических условиях;

для выемок при высоте откосов менее 16 м в скальных породах, имеющих наклон пластов в сторону полотна;

для выемок в глинистых переувлажненных грунтах с коэффициентом консистенции более 0,5 или вскрывающих водоносные горизонты;

для выемок глубиной более 6 м в глинистых пылеватых грунтах в районах с избыточным увлажнением, а также в глинистых грунтах, теряющих прочность и устойчивость в откосах под воздействием климатических факторов;

для насыпей и выемок, сооружаемых в сложных инженерно-геологических условиях (на косогорах круче 1:3, на участках с наличием или возможным развитием оползней, оврагов, карста, обвалов, осыпей, селей, снежных лавин, наледей);

в случае возведения земляного полотна с применением гидромеханизации или массовых взрывных работ.

8.6. Типовой поперечный профиль улицы является основным исходным материалом для определения очертания земляного полотна поверху. Толщина конструкции дорожной одежды проезжих частей и тротуаров, включая подстилающие слои, определяет глубину корыта соответствующих элементов.

8.7. Очертание рельефа определяет решение конструкции и очертания земляного полотна понизу, необходимость сооружения уступов в основании насыпи, дренажных устройств в основании земляного полотна, подпорных стенок и других сооружений, обеспечивающих устойчивость земляного полотна. Впадины рельефа (естественные впадины или искусственные котлованы, остатки прежних выработок или карьеров), через которые проходит земляное полотно, засыпаются; по возможности из этих пониженных мест предусматривается отвод воды путем устройства трубчатого или щебеночного дренажа, водопропускной трубы или веток водосточной сети; выбор того или иного устройства производится в зависимости от глубины и размеров впадины и других местных условий на основании технике экономических расчетов.

Грунтовые и климатические условия

8.8. В зависимости от климатических условий устанавливаются: возвышение низа дорожной одежды (дна корыта) от уровня грунтовых вод, чем определяется высота земляного полотна; коэффициент уплотнения, модуль упругости, высота морозного пучения, глубина и продолжительность промерзания и другие данные для расчета и конструирования земляного полотна.

8.9. По климатическим условиям территория СССР, в соответствии с главой СНиП II.5-72* «Автомобильные дороги. Нормы проектирования», делится на пять зон, в зависимости от которых определяются значения перечисленных в п. 8.8 показателей.

8.10. При проектировании земляного полотна грунтовые условия учитываются в зависимости от вида и характеристики грунтов и степени их пригодности в качестве материала для устройства насыпи земляного полотна или в качестве материала для устройства основания земляного полотна (насыпи), корыта проезжей части и других элементов улицы.

8.11. В качестве материала для земляного полотна можно применять грунты, состояние которых под воздействием природных факторов практически не изменяется или изменяется незначительно и не влияет на прочность и устойчивость земляного полотна. К ним следует отнести: скальные из слабовыветривающихся и легковыветривающихся неразмягчаемых горных пород; крупнообломочные; песчаные, за исключением, мелких недренирующих и пылеватых песков; супеси легкие крупные; кислые и нейтральные металлургические шлаки.

Грунты и шлаки, состояние и свойства которых существенно изменяются под воздействием природных факторов, допускаются к использованию в качестве материала для насыпей с учетом ограничений. К таким грунтам относятся скальные из легковыветривающихся размягчаемых пород, мелкие недренирующие и пылеватые пески, глинистые грунты, некоторые грунты особых разновидностей [см. «Указания по проектированию земляного полотна железных и автомобильных дорог» (СН 449-72)].

Возможность и целесообразность применения этих грунтов, а также шлаков и золошлаковых смесей, устанавливается, согласно СН 449-72, в зависимости от местных условий и технико-экономических условий с учетом выбора конструкции насыпи, а также способов защиты земляного полотна от разрушающего воздействия природных факторов.

8.12. При проектировании земляного полотна необходимо особо учитывать верхний слой естественного основания, которым может быть:

а) насыпной грунт (культурный слой); степень его пригодности в качестве основания земляного полотна или грунта для насыпи определяется в зависимости от его состава и плотности по данным геологических изысканий;

б) растительный грунт (дерновый слой), который должен быть снят перед сооружением выемки или насыпи и отвезен на место употребления или складирования для дальнейшего использования в качестве растительного грунта для зеленых насаждений, газонов, планировки откосов, рекультивации выработок и т.д.

В порядке исключения при ширине газонов более 5 м и наличии значительных излишков растительного грунта для экономии объема земляных работ при сооружении насыпи растительный грунт под газонами может быть оставлен неснятым.

В случае непригодности растительного грунта для использования (ввиду засоренности остатками стволов деревьев, пней, камнями, глиной и другими примесями) этот слой должен быть удален при высоте насыпи до 1 м, вопрос о его пригодности в качестве основания насыпи высотой более 1 м должен решаться в зависимости от его состава в каждом отдельном случае.

Условия увлажнения

8.13. Оценку естественных оснований и условий работы земляного полотна и дорожной одежды по условиям увлажнения следует производить для городских улиц и дорог по табл. 56, а для внутримикрорайонных дорог по табл. 57.

Таблица 56

Степень увлажнения

Тип увлажнения

Условия увлажнения городских улиц и дорог

I

Нормальное

Сумма ширины проезжих частей и тротуаров больше 70 % общей ширины улицы. Вдоль проезжих частей располагаются подземные трубопроводы. Грунтовые воды не оказывают влияния на увлажнение верхней толщи грунтов

II

Сверхнормальное

То же, при сумме ширины менее 70 %

III

Избыточное

Сумма ширины проезжих частей и тротуаров менее 50 % общей ширины улиц. Подземные трубопроводы вдоль проезжих частей отсутствуют. Уровень грунтовых или длительно стоящих вод оказывает влияние на увлажнение верхней части грунтов

Таблица 57

Тип увлажнения

Степень увлажнения

Условия увлажнения внутримикрорайонных дорог

I

Нормальное

Тротуары примыкают к проезжей части или ширина газонов между проезжими частями и тротуарами меньше ширины проезжей части. Вдоль проезжих частей проложены подземные трубопроводы. Грунтовые воды не оказывают влияния на увлажнение верхней толщи грунтов

II

Сверхнормальное

Тротуары отсутствуют или отделены от проезжей части полосами зеленых насаждений, сумма ширины которых больше ширины проезжей части. Прокладки подземных трубопроводов вдоль проезжей части отсутствуют. Грунтовые воды не оказывают влияния на увлажнение верхней толщи грунта

III

Избыточное

Тротуары отсутствуют или отделены от проезжей части полосами зеленых насаждений, сумма ширины которых больше ширины проезжей части. Прокладка подземных трубопроводов вдоль проезжей части отсутствует. Уровень грунтовых вод оказывает влияние на увлажнение верхней толщи грунтов

Примечание. В случае реконструкции существующих городских улиц и дорог, находившихся в нормальной эксплуатации на протяжении нескольких лет, нормальное увлажнение определяется при сумме ширины проезжих частей и тротуаров более 50 %, а сверхнормальное - менее 50 % общей ширины улицы.

8.14. Возвышение низа дорожной одежды (дна корыта) над расчетным уровнем грунтовых или длительно стоящих (более 20 сут) поверхностных вод следует принимать по табл. 19 главы СНиП II-Д.5.-72*.

При невозможности или нецелесообразности соответствующего возвышения низа дорожной одежды должны быть предусмотрены одно или совокупность специальных мероприятий:

а) замена грунтов земляного полотна;

б) понижение уровня грунтовых вод прокладкой дренажа глубокого заложения (см. раздел 10) при условии, что расстояние от пониженного уровня грунтовых вод до подстилающего слоя дорожной одежды будет больше, чем возможная высота поднятия капиллярной воды в данном грунте: применение дренажа оправдано при наличии фильтрующих грунтов с коэффициентом фильтрации не менее 1 м/сут;

в) отсыпка из морозоустойчивых дренирующих грунтов верхней части земляного полотна на полную или установленную расчетом часть глубины промерзания грунта;

г) устройство под дорожной одеждой теплоизолирующих слоев из материалов, плохо проводящих тепло (шлаки котельные и металлургические, торфяные плиты, прессованный мох, древесина, искусственные материалы - легкие бетоны, вспенивающиеся смолы типа полиуретановых или карбамидных и др.), с целью регулирования теплового режима земляного полотна;

д) устройство в земляном полотне капилляропрерывающих слоев из крупнозернистых минеральных материалов (камня, гравия, шлака и др.) крупностью 3-8 мм; при этом низ прослоек над наивысшим уровнем грунтовых вод должен располагаться на расстоянии не менее 0,2 м. Капилляропрерывающие прослойки проектируют толщиной 0,16-0,2 м из хорошо дренирующих материалов; сверху и снизу прослойка прикрывается противозаиливающими слоями из мха, каменных высевок толщиной 20-30 мм; более эффективно применение для этой цели стекловолокна или других материалов;

е) устройство паронепроницаемых прослоек, которые располагаются так же, как и капилляропрерывающие на глубине 1-1,3 м.

Для устройства паронепроницаемых прослоек применяются гидроизол, стеклоткань, стеклохолст, материалы, обработанные битумом или другими гидрофобными веществами. Наиболее целесообразным является применение полиэтиленовых пленок.

Поперечные профили земляного полотна

8.15. Поперечные уклоны дна корыта дорожной одежды назначаются равными поперечным уклонам поверхности покрытия, но не менее 20 , и направляются к лоткам проезжих частей или к дренажам.

8.16. При ширине односкатной проезжей части 15 м и более с учетом фильтрационной способности песка, подстилающего дорожную одежду слоя, поверхности земляного полотна, в обе стороны от оси односкатного проезда придаются разноименные уклоны, направленные один к лотку проезжей части, другой - к борту разделительной полосы, с устройством, как правило, в этом случае вдоль разделительной полосы дренажа мелкого заложения.

8.17. На городских площадях, стоянках автомобильного транспорта, разворотных и конечных площадках общественного транспорта при значительной ширине их дну корыта придается в поперечном профиле пилообразное очертание с прокладкой дренажей мелкого заложения в пониженных местах. Протяжение участков с разноименными уклонами не менее 20 определяется с учетом фильтрационной способности песка, подстилающего дорожную одежду слоя.

8.18. Поперечные профили земляного полотна (типовые, рабочие) разрабатываются в зависимости от рельефа и плана улицы или дороги, как правило, не реже чем через 50 м, в масштабах: горизонтальный 1:200, вертикальный 1:100;

Чертежи поперечных профилей выполняются в соответствии с указаниями СН 202-76 и СН 460-74. При наличии вертикальной планировки в красных горизонталях рабочие чертежи поперечных профилей составляются обязательно.

8.19. Чертежи рабочих поперечных профилей служат, как правило, для определения объема земляных работ (объемы насыпи, выемки). При разнородных грунтах объем выемки определяется отдельно для каждой категории грунта по трудности разработки, так же подсчитывается объем растительного и других непригодных для насыпи грунтов.

Подсчет объемов земляных работ производится в попикетной ведомости; при подсчете объема насыпи учитывается коэффициент относительного уплотнения грунта K1 (см. 8.25), а также потери при транспортировании грунта в размере 0,5-1,5 %.

Подсчет объемов работ по крупным перекресткам и площадям может производиться по картограмме объемов работ.

8.20. В случае простого и неизменяющегося составов элементов улицы или городской дороги (одна проезжая часть, газон и тротуар), неизменного соотношения отметок проезжей части и тротуаров, небольшой (до 30 м) ширины улицы и сравнительного ровного рельефа подсчет объемов земляных работ можно выполнить по рабочим отметкам продольного профиля, пользуясь специальными таблицами.

8.21. Поперечное перемещение земляных масс определяется по пикетной ведомости подсчета объемов земляных работ. Распределение земляных масс вдоль улицы или городской дороги выполняется в случае большого протяжения проектируемого участка (более 3 км) и чередования объемов выемки и насыпи при помощи линии объема, которая строится в продольном профиле на основании ведомости подсчета земляных работ. По линии объема также определяют границы и расстояния продольных перевозок грунта.

В обычных случаях решения отдельных улиц или сети улиц района или города линия объема не строится; продольные перемещения определяются по общим объемам, подсчитанным для улицы в целом или для ее части. Расстояние подвоза недостающего грунта или отвоза излишнего грунта принимается на основании технико-экономических изысканий для данного проекта или по справке, выданной заказчиком проекта.

Насыпи и выемки

8.22. Грунты для насыпей должны соответствовать грунтовым и климатическим условиям (п.п. 8.8-8.13), а также требованиям пп. 2.21-12.22 СН 449-72.

8.23. Крутизну откосов насыпей назначают в зависимости от свойств грунтов, геологических, гидрологических и климатических условий, условий снегозаносимости, способов производства работ по данным табл. 58.

Таблица 58

Вид используемого грунта и высота насыпи

Крутизна откосов

1. Каменистый из слабовыветривающихся скальных пород, высота насыпи, м:

 

до 6

1:3

»   12

1:5

2. Каменистый (валунный), щебенистый (галечниковый), дресвяный (гравийный), песок гравелистый, крупный и средней крупности, шлак металлургический, высота насыпи, м:

 

до 6

1:1,5

»   12

1:1,5

3. Прочие грунты, пригодные для возведения насыпи, высота насыпи, м:

 

6

1:1,5

12

6 - в верхней части

1:1,5

6 - в нижней части

1:1,75

4. Песок мелкий барханный в условиях засушливого климата, высота насыпи 6 и 12 м

1:2

5. Местные глинистые грунты, высота насыпи, м:

 

до 2

1:4

от 2

1:3

св. 2 и выше

Принимается по расчету на устойчивость

Примечания: 1. Крутизну откосов насыпей высотой более указанных в табл. 58, а также насыпей, сооруженных с применением гидромеханизации и в условиях вечной мерзлоты, устанавливают по индивидуальным проектам.

2. При размещении насыпи на косогорах крутизной более 1:5 в основании насыпи сооружаются уступы высотой не более 0,5 м и длиной не более 2 м.

8.24. В проектах необходимо предусматривать работы по уплотнению насыпей из грунтов всех видов. Для верхней части насыпи из скальных грунтов слабовыветривающихся пород следует применять щебенистые материалы.

Минимальные значения коэффициента уплотнения грунтов земляного полотна под проезжей частью и тротуарами, включая засыпку котлованов и траншей, следует принимать по табл. 9а, а коэффициент уплотнения насыпи по табл. 10 СН 449-72.

Коэффициент уплотнения насыпи из одноразмерных песков принимается по табл. 59.

8.25. Фактический объем потребного грунта для насыпей Vн.ф, м3, в случаях, когда требуемая плотность грунта в теле насыпи больше естественной плотности грунта в резерве (карьере), определяется по формуле

Vн.ф = VнK1,                                                          (20а)

где Vн - объем проектируемой насыпи, подсчитанный по ее геометрическим размерам;

K1 - коэффициент относительного уплотнения грунта в теле насыпи, равный:

                                                                           (20б)

здесь  и  - плотность соответственно требуемая в насыпи и естественная в резерве (карьере), г/см3.

Величина K1 для ориентировочных расчетов может приниматься по табл. 60.

8.26. Выемка при проектировании улиц и городских дорог может проектироваться для всей улицы в целом или только для проезжей части в зависимости от общего планировочного решения и решения вертикальной планировки улицы и района; в первом случае все элементы улицы располагаются в выемке; во втором - только проезжая часть.

Откосы выемки проектируются в зависимости от их глубины, состояния, свойств грунтов и климатических особенностей района.

Заложение откосов выемки следует проектировать в соответствии с табл. 21 СН 449-72.

Таблица 59

Часть насыпи

Глубина расположения слоя от поверхности покрытия, м

Значения коэффициента уплотнения К при применении покрытий

усовершенствованных

переходных

капитальных

облегченных

Верхняя

До 0,8

0,98

0,95

0,95

Нижняя

0,8

0,95

0,95

0,92

Таблица 60

Способ возведения насыпи

Коэффициент уплотнения

Коэффициент относительного уплотнения K1 при

песках всех видов, супесях, пылеватых суглинках

суглинках, глинах

рыхлых и лессовидных грунтах, черноземах

каменных материалах

Послойная отсыпка с искусственным уплотнением

1

1,1

1,05

Правая фигурная скобка: 001,2

0,8-0,9

0,95

1,05

1

1,15

0,9

1

0,95

1,1

9. РАСЧЕТ И ПРОЕКТИРОВАНИЕ ДОРОЖНЫХ ОДЕЖД

Общие требования

9.1. В настоящей главе приведены основные положения проектирования дорожных одежд в городских условиях.

Дорожная одежда городских скоростных дорог на участках, между населенными пунктами в системе группового расселения, трассируемых по незастроенным и не подлежащим застройке территориям, проектируется по нормам главы СНиП II.5-72* и другим действующим нормативам для внегородских дорог.

9.2. Проектирование дорожной одежды в условиях вечной мерзлоты, просадочных и плывунных грунтов, в районах избыточного увлажнения, засушливых районах Средней Азии или сейсмичности выше 7 баллов и в других районах с наличием особо неблагоприятных условий должно производиться с учетом специальных указаний, технических условий и рекомендаций по проектированию в указанных районах.

Дорожная одежда улиц и дорог специального назначения для пропуска особо тяжелых нагрузок, лесовозных, временных, колейных и др. проектируется по соответствующим указаниям и руководствам.

Климатическое районирование (дорожно-климатические зоны) следует принимать в соответствии с главой СНиП II-Д.5-72*.

9.3. Дорожной одеждой называется конструкция укрепления проезжей части улиц, обеспечивающая пропуск транспорта с расчетными скоростями и нагрузками независимо от времени года, при любых изменениях водно-теплового режима. В соответствии с этим дорожная одежда должна отличаться:

а) необходимой прочностью и отсутствием остаточных деформаций под воздействием расчетных нагрузок в течение расчетного срока работы конструкции;

б) ровностью и шероховатостью поверхности покрытия, обеспечивающей движение транспорта с расчетной скоростью и безопасностью;

в) удовлетворением санитарных требований: беспыльности, удобства уборки снега, мусора и грязи, отвода дождевых вод, бесшумности движения транспорта и т.п.

9.4. Дорожная одежда состоит из следующих конструктивных слоев:

покрытия, состоящего из слоя износа и собственно покрытия. Слой износа периодически возобновляется в течение эксплуатации; слой покрытия может состоять из одного слоя и более и является верхним несущим слоем одежды;

основания, служащего для восприятия нагрузок и передачи их на подстилающий слой или на грунт земляного полотна, состоящего из одного или нескольких слоев;

подстилающего слоя, являющегося нижним слоем дорожной одежды, выполняющим наряду с передачей нагрузок на земляное полотно функции дренирующего и теплоизолирующего слоев.

Число и состав конструктивных слоев определяется в зависимости от решения конструкции дорожной одежды.

Типы дорожных одежд

9.5. Все дорожные одежды делятся по их механическим свойствам на два основных типа:

жесткие - сопротивляющиеся изгибу (одежды с цементно-бетонным покрытием или основанием);

нежесткие и полужесткие - слабо сопротивляющиеся изгибу (одежды без применения вяжущих, с применением органических вяжущих или материалов, укрепленных добавками цемента, извести и других вяжущих).

9.6. По общей прочности дорожные одежды делятся в соответствии с табл. 61.

9.7. Конструкцию одежды и тип покрытия проезжей части намечают с учетом перспективной интенсивности и состава движения, категории улицы, дороги или площади согласно рекомендациям пп. 9.8-9.16. Рекомендуемые дорожные одежды для улиц различных категорий приведены в табл. 62.

Таблица 61

Дорожные одежды

Покрытия и основания

I. Усовершенствованные:

 

а) капитальные

Цементобетонные (сборные и монолитные)

Асфальтобетонные на прочных основаниях: цементобетонном, а также щебеночном и гравийном с укреплением и без укрепления вяжущими; шлаковом, из булыжного и молотого камня.

Щебеночные из прочных каменных материалов с подобранным составом, с введением минерального порошка или без него, обработанные в смесителе вязкими органическими вяжущими.

Мозаиковые и брусчатые мостовые на основаниях бетонном, щебеночном, гравийном и грунтощебеночном

б) облегченные

Из битумно-минеральных смесей, а также из холодного асфальтобетона на основаниях: из щебня и шлака, не обработанных вяжущими материалами, а также на основаниях из грунта, укрепленного вяжущими материалами, грунтощебня и гравийного материала. Щебеночные и гравийные, обработанные органическими вяжущими по способу пропитки или смешения на дороге на основаниях щебеночном, гравийном, шлаковом, а также грунтощебеночном и грунтовом, укрепленных вяжущими материалами. Брусчатые мостовые на песчаном основании

II. Переходные

Грунтоасфальтовые, щебеночные, гравийные и шлаковые с поверхностной обработкой вяжущими материалами; грунтощебеночные и грунтогравийные и грунтовые, обработанные вяжущими материалами; мостовые из булыжного и колотого камня

III. Простейшие

Гравийные, щебеночные и шлаковые, грунтовые, улучшенные минеральными материалами

Таблица 62

Категория улиц и дорог

Дорожные одежды

Скоростные дороги

Усовершенствованные капитальные

Магистральные улицы общегородского и районного значения; площади

Усовершенствованные капитальные и облегченные

Улицы и дороги местного значения:

 

а) жилые

Усовершенствованные капитальные, облегченные и переходные

б) промышленных и складских районов

Усовершенствованные капитальные, облегченные и переходные

в) проезды

Усовершенствованные облегченные и переходные

Пешеходные улицы и дороги

Усовершенствованные облегченные, если нет дополнительных условий по временному пропуску тяжелых транспортных средств

Дороги без выраженного грузооборота, парковые дороги и т.п.

Простейшего типа

Автомобильные стоянки

Усовершенствованные капитальные, облегченные и переходные

Общие принципы проектирования

9.8. При проектировании дорожных одежд выявляют наличие и возможность получения необходимых дорожно-строительных материалов и разделяют проектируемые улицы на участки с одинаковыми условиями проектирования: расчетными нагрузками, увлажнением, грунтами и т.д.

9.9. Для каждого участка выбираются тип и схема конструкций с использованием имеющихся дорожно-строительных материалов с наибольшей возможной унификацией конструкций на смежных участках.

9.10. Конструкции дорожных одежд выбираются по условию наибольшей экономичности строительства, наименьшего расхода материалов, в особенности привозных [см. п. 9.12], наибольших межремонтных сроков службы в годах (см., табл. 63). При этом необходимо учитывать указания «Технических правил по экономному расходованию основных строительных материалов» (ТП 101-76).

9.11. При выборе конструкций дорожных одежд учитываются климатические условия района строительства; гидрогеологические условия; условия увлажнения в зависимости от местности; наличие местных строительных материалов.

Выбор конструкции дорожной одежды, в особенности дренирующего слоя, связан с решением мероприятий по регулированию водно-теплового режима земляного полотна и должен осуществляться в комплексе с его проектированием (см. раздел 8).

Таблица 63

Дорожно-климатическая зона

Категория улиц и дорог

Покрытия

монолитные цементо-бетонные, сборные железобетонные

асфальтобетонные на основании

щебеночном

цементобетонном

I; II

Скоростные дороги, магистральные улицы общегородского значения

13

9

12

Магистральные улицы районного значения и дороги грузового движения (промышленные)

18

9

15

Жилые улицы и дороги местного движения

21

12

18

Внутримикрорайонные проезды и пешеходные улицы

24

15

20

II; III

Скоростные дороги, магистральные улицы общегородского значения

18

12

15

Магистральные улицы районного значения и дороги грузового движения (промышленные)

21

12

18

Жилые улицы и дороги местного движения

24

15

21

Внутримикрорайонные проезды и пешеходные улицы

27

18

24

9.12. Для удешевления конструкций рекомендуется использовать местные материалы:

а) низкопрочные каменные, щебеночные и гравийные - известняки, опоки, дресва, песчаники и др.;

б) отходы промышленности: металлургические шлаки, золы-уноса и т. д.;

в) побочные продукты промышленности - химической, нефтегазовой, строительства и др.;

г) грунты, укрепленные вяжущими.

Местные материалы, как правило, должны применяться при строительстве покрытий усовершенствованных, облегченного, переходного и низшего типов; верхних и нижних слоев оснований усовершенствованных одежд капитального типа; верхних слоев земляного полотна; для устройства морозозащитных слоев и т.д.

9.13. Технические характеристики местных материалов должны приниматься по данным имеющихся лабораторных испытаний, а в случае их отсутствия - по новым лабораторным испытаниям, осуществляемым специально для данного проекта по определению прочности, морозостойкости, истираемости, модуля упругости и сопротивления при изгибе. Вопрос о применении местных материалов должен быть решен при составлении задания на проектирование.

При использовании местных материалов необходимо учитывать не только экономические показатели дорожной одежды, но и показатели прочности, долговечности и условий эксплуатации конструкции, руководствуясь специальными инструкциями, методическими указаниями и рекомендациями по применению тех или иных видов местных материалов.

9.14. Толщина конструктивных слоев дорожной одежды определяется расчетом (см. пп. 9.17-9.22); наименьшая допустимая толщина конструктивных слоев одежды из разных материалов принимается по «Инструкции по проектированию дорожных одежд нежесткого типа» (ВCН 46-72).

Толщину дренирующего слоя следует определять согласно ВСН 46-72, а также по рекомендациям, изложенным в соответствующей литературе [29, 42, 43].

На скоростных дорогах и магистралях общегородского и районного значения общая толщина слоев из материалов, обработанных вяжущими (асфальтобетонное покрытие, черный щебень), не должна быть менее 12 см.

Асфальтобетонное покрытие на основаниях из материалов, укрепленных неорганическими вяжущими (цемент и др.), или из цементобетона должно быть толщиной не менее 12-15 см.

При выборе конструкции необходимо учитывать возможности производственной базы. Должна быть предусмотрена максимальная механизация и индустриализация строительных процессов с использованием опыта строительства и эксплуатации дорог и улиц в данном регионе.

9.15. Конструкции дорожных одежд рекомендуется разрабатывать с использованием типовых проектов. Следует иметь в виду, что типовые проекты не учитывают в полной мере стоимостных показателей конкретных районов, что необходимо уточнять на основе сопоставления вариантов.

При выборе типа покрытия в некоторых случаях целесообразно предусматривать стадийное улучшение конструкции с постепенным изменением типа от низшего к высшему в зависимости от возрастания интенсивности движения.

9.16. Проектирование конструкций дорожной одежды должно осуществляться на основе выбора оптимального, наиболее рационального варианта конструкции, с самой низкой стоимостью 1 м2. Выбор рационального решения конструкций рекомендуется производить по программам расчета дорожных одежд на ЭВМ, в которых на основании исходных данных и величины требуемого модуля упругости конструкции в заданных пределах изменения толщины слоев и с учетом трех критериев расчета (на прочность, сдвиг и изгиб) перебираются все возможные комбинации толщины слоев и выбирается наиболее экономичная. В результате расчета выдаются величины выбранной толщины слоев, стоимость выбранной конструкции и ее эквивалентный модуль.

Расчет дорожных одежд нежесткого типа

9.17. Расчет дорожных одежд нежесткого типа производится по предельным состояниям по методике и формулам, приведенным в ВСН 46-72. Типы и расчетные параметры транспортных средств и расчетные характеристики материалов следует принимать по прил. 3, 9.

Дорожные одежды рассчитывают, как правило, на перспективную интенсивность движения, которая ожидается к концу срока до капитального ремонта (см. табл. 63).

9.18. Перспективную интенсивность движения рекомендуется принимать по данным генерального плана или по материалам комплексной транспортной схемы, где, как правило, интенсивность определена раздельно для общественного, легкового и грузового транспорта. В случае отсутствия таких данных перспективная интенсивность определяется исходя из существующей интенсивности движения на данной улице; рост интенсивности определяется разными методами. Наиболее употребительным является метод экстраполяции на основе изучения роста интенсивности движения за прошлые годы; при этом рост интенсивности определяется по одному из математических законов: линейного роста, уравнений сложных процентов, степенных уравнений и др.

Для определения интенсивности движения на небольших улицах можно принимать ежегодное увеличение транспортных потоков на 10-12 %.

9.19. Расчетное значение интенсивности движения Np, авт/сут, определяется [42] по формуле

                                                          (21)

где Nj - суммарная перспективная интенсивность движения jмарки транспортного средства, авт/сут;

Кп - коэффициент приведения интенсивности к одной полосе движения, равный для однополосной проезжей части 1, двух- и трехполосной - 0,7 и четырехполосной (с разделительной полосой) - 0,35;

Kj - коэффициент приведения к расчетной нагрузке для jмарки транспортного средства, принимаемый по табл. 4 ВСН 46-72.

9.20. Требуемый модуль упругости дорожной одежды Eтреб принимается по номограммам ВСН 46-72 или аналитически по формуле

Eтреб = a + b lg Np,                                                       (22)

где а, b - коэффициенты, принимаемые по табл. 64.

Таблица 64

Расчетные группы и нагрузки

Покрытия

Значения коэффициентов

а

b

Группа А

Капитальные

670

530

Усовершенствованные облегченные

380

520

Переходные

100

500

Группа Б

Капитальные

150

530

Усовершенствованные облегченные

-120

520

Переходные

-390

500

Н-30

Капитальные

830

520

Усовершенствованные облегченные

530

520

Переходные

250

520

H-10

Капитальные

620

520

Усовершенствованные облегченные

330

520

Переходные

40

520

При отсутствии расчетных данных по составу и интенсивности движения требуемый модуль дорожной одежды следует принимать в зависимости от категории улицы или дороги, а также от приведенной интенсивности движения согласно ВСН 46-72.

9.21. Расчетные характеристики грунтов определяются по ВСН 46-72, типы местности по условиям увлажнения принимаются по табл. 56 и 57 настоящего Руководства.

При залегании под дном корыта разнородных грунтов модуль упругости Е0 следует принимать с учетом следующих рекомендаций:

а) при залегании грунта с более низким Е0 над грунтом с высшим Е0 на основании технико-экономических расчетов следует определить, что выгоднее: снять слой более слабого грунта и заменить его грунтом с более высоким Е0 или рассчитывать одежду на слабый грунт;

б) при залегании грунта с более высоким Е0 над грунтом с более низким значением Е0 следует учитывать только при его толщине более 1 м.

9.22. Расчет толщины дорожной одежды по допускаемой величине морозного пучения (расчет на морозоустойчивость) также производится по методике и формулам ВСН 46-72.

Конструирование и расчет дренирующих слоев дорожной одежды

9.23. Применение дренирующих слоев в основании дорожной одежды необходимо в следующих случаях:

а) при залегании под корытом слабофильтрующих (суглинистых, глинистых) подстилающих грунтов или когда земляное полотно отсыпано из таких же грунтов;

б) при неглубоком залегании грунтовых вод на длительно подтапливаемых участках;

в) в районах с большим количеством осадков, а также на участках, где в корыте проезжей части возможно скопление воды, проникающей с поверхности (затяжные уклоны, водопроницаемые грунты обочин, вогнутые участки продольного профиля, наличие газонов и разделительных полос).

9.24. При удельном притоке воды более 70 л/сут на 1 м2 проезжей части и при необходимости снизить толщину дренирующего слоя рекомендуется устраивать дренажи мелкого заложения из песка, гравия, гравиепесчаной массы, отсортированного шлака и других материалов с коэффициентом фильтрации не менее 1 м/сут. На участках в выемках и в нулевых отметках, где возвышение низа дорожной одежды не удовлетворяет требованиям главы СНиП II-Д-72, коэффициент фильтрации дренирующего слоя должен быть не менее 2 м/сут.

Дренирующий слой необходимо устраивать на ширину корыта проезжей части, на участках с открытым водоотводом - на всю ширину земляного полотна.

9.25. Дренаж мелкого заложения может устраиваться в виде продольного дренажа, расположенного под бортовым камнем (см. рис. 15), из труб диаметром 50 или 100 мм с дренажной обсыпкой или из керамзитобетонных трубофильтров.

На участках более 100 м, когда продольный уклон корыта больше поперечного, вместо продольного дренажа рекомендуется устраивать поперечный дренаж такой же конструкции с расположением дрен под углом 60-70° к оси проезжей части или валики из щебня в толще дренирующего слоя. Расстояние между поперечными дренами или валиками определяется расчетом, но принимается не менее 50 м.

Рис. 15. Размещение бортовых камней и дренажа в конструкции дорожной одежды

1 - бортовой камень, 2 - конструкция дорожной одежды; 3 - бетон марки М 200; 4 - щебень крупностью зерен 5-10 мм; 5 - труба асбестоцементная диаметром 100 мм; 6 - бетон марки М 100

9.26. Воду из дренажей мелкого заложения рекомендуется отводить в дождеприемные колодцы водосточной канализации, а в случае их отсутствия на данном участке предусматривать водосборный коллектор с колодцами дренажа не менее чем через 50 м.

Дорожные одежды жесткого типа

9.27. К дорожным одеждам жесткого типа относятся монолитные цементобетонные и железобетонные покрытия на различных основаниях, асфальтобетонные и железобетонные покрытия на основаниях из цементобетона, сборные железобетонные покрытия.

9.28. Цементобетонные сборные и монолитные покрытия и основания из бетона разных марок рекомендуется применять на скоростных дорогах и магистралях общегородского значения, на дорогах и улицах промышленных и складских районов при наличии особо тяжелого движения.

Сборные покрытия применяются также при ускоренном строительстве магистралей и недостатке асфальтобетонов.

Применение покрытий и оснований жесткого типа во всех случаях должно быть обосновано технико-экономическими расчетами.

9.29. Покрытия жесткого типа обычно состоят из следующих конструктивных слоев:

а) цементобетонной армированной или неармированной плиты. Толщина плиты назначается по расчету в пределах от 14 до 24 см (в редких случаях до 30 см);

б) выравнивающего слоя непосредственно под бетонным покрытием из песка толщиной 3-5 см, обработанного битумом, или песка толщиной 8-12 см, обработанного цементом, или других материалов;

в) основания из грунта, обработанного вяжущим, щебня или других прочных материалов;

г) подстилающего слоя из песка, выполняющего также функции морозозащитного и дренирующего слоев.

Конструкция и толщина слоев подбирается в каждом отдельном случае в зависимости от материалов, категории улицы, грунтовых условий и интенсивности движения.

Бетонные покрытия по песчаному основанию (без промежуточных слоев из стабилизированного песка или других материалов) не рекомендуется устраивать на магистральных улицах или дорогах при интенсивности движения выше 3000 м/сут или при наличии тяжелых машин.

9.30. В цементобетонных покрытиях устраиваются швы следующих видов:

а) швы сжатия, при которых цементобетонная плита разрезается на глубину 50-60 мм через 5-7 м;

б) швы расширения толщиной 20-25 мм, при которых плита разрезается на всю толщину через 80-120 м; указанные расстояния должны уточняться в зависимости от температуры бетонирования;

в) швы продольные через 3,5-4,5 м в зависимости от ширины проезжей части;

г) швы рабочие, связанные с окончанием бетонирования.

9.31. Цементобетонные основания устраиваются двух типов:

а) из бетона марок М 200 и М 250 для одежд с повышенной трещиностойкостью на скоростных дорогах и магистралях общегородского значения с интенсивностью более 5000 маш/сут в районах с минимальными температурами ниже –20 °С;

б) из «тощего бетона» марок М 50 и М 100 для дорожных одежд, у которых с течением времени допускается возможность образования поперечных трещин в асфальтобетонных покрытиях. Эта конструкция применяется для скоростных дорог и магистралей общегородского значения в районах, где минимальная температура не ниже – 15 °С и для остальных категорий улиц при любой минимальной температуре.

Конструкции с применением основания из «тощего бетона» марок М 50 и М 100 могут быть отнесены к типу нежестких и рассчитываться в соответствии с пп. 9.17-9.22.

Цементобетонные основания делаются, как правило, со швами сжатия через 10-15 м, швы расширения в основаниях не устраиваются. Толщина асфальтобетонного покрытия цементобетонных оснований разных марок должна приниматься не менее 12 см.

Конструирование и расчет дренирующего и морозозащитного слоев для цементобетонных покрытий и оснований производятся в соответствии с пп. 9.23-9.26.

9.32. Конструирование и расчет плиты цементобетонного покрытия и цементобетонного основания, подстилающих слоев из щебня, песка и других материалов следует производить по рекомендациям, приведенным в соответствующей научно-технической литературе.

Проектирование дорожных одежд при реконструкции улиц

9.33. Необходимость реконструкции дорожной одежды устанавливается по общему заданию на реконструкцию улицы в следующих случаях:

а) если изменились проектируемая или фактическая интенсивность или состав движения;

б) если вследствие этого или благодаря возникшим деформациям существующая дорожная одежда перестала удовлетворять условиям прочности и безопасности движения.

9.34. Для проектирования реконструкции необходимо осуществить изыскательские работы, при которых помимо съемки ситуации, нивелировки продольного и поперечных профилей и других работ общего порядка устанавливается:

а) ширина, толщина и конструкция существующей дорожной одежды;

б) состояние дорожной одежды и земляного полотна, наличие трещин, пучинообразования, просадок и других деформаций, тип грунтов земляного полотна, глубина залегания грунтовых вод и другие особенности, обусловливающие те или иные деформации;

в) модуль упругости существующей дорожной одежды. В соответствии с ВСН 46-72, он должен определяться на месте. Ориентировочно модуль упругости существующей одежды может быть установлен по расчетным характеристикам материалов и замеренной толщине слоев, при этом при наличии сетки трещин на существующей одежде расчетные модули упругости материалов одежды снижаются на 50 %.

9.35. На основе произведенных изысканий и в соответствии с общим заданием на реконструкцию улицы принимается одно из следующих решений:

а) дорожная одежда используется полностью и не нуждается в уширении и усилении. Проезжая часть покрывается только новым слоем износа из асфальтобетона толщиной 5-8 см;

б) дорожную одежду необходимо уширить и выровнять в продольном и поперечном направлениях.

Уширение одежды производится при помощи новой, запроектированной одежды, дно нового корыта делается не менее чем на 5 см ниже существующего, при необходимости в уширенной части сооружается продольный дренаж мелкого заложения с выпусками в проектируемую или существующую водосточную сеть.

Выравнивание существующей одежды производится в зависимости от конструкции существующей и вновь проектируемой одежды: из асфальтобетона, черного щебня, белого щебня. В проекте устанавливаются пределы рабочих отметок, при которых выравнивание выполняется тем или иным материалом, например при рабочей отметке от 4 до 5 см - асфальтобетоном; до 20 см - асфальтобетоном толщиной 7 см и черным щебнем; до 40 см - асфальтобетоном толщиной 7 см, черным щебнем толщиной 12 см и белым щебнем. При этом наименьшая конструктивная отметка добавочного слоя (для асфальтобетона толщиной 4-5 см) всегда должна быть сохранена;

в) существующая одежда нуждается не только в уширении и выравнивании, но и в усилении. При этом производится расчет усиления по методике указанной в п.п. 9.17-9.22; на основании данных изысканий определяется эквивалентный модуль упругости существующий одежды, который вводится в расчет как модуль упругости основания одежды и затем рассчитывается необходимое усиление. Наименьшая необходимая рабочая отметка определяется расчетом усиления и должна быть соблюдена при определении высотных отметок продольного и поперечных профилей реконструкции проезжей части, усиление проектируется одновременно с выравниванием;

г) дорожная одежда не пригодна для использования из-за изношенности и разрушений, наличия пучинообразования, слишком низких или слишком высоких высотных отметок. В этом случае существующая дорожная одежда остается под новой дорожной одеждой или полностью снимается. При этом все участки с нарушенным водно-тепловым режимом реконструируются, грунты земляного полотна заменяются, устраиваются дренажи, теплоизолирующие слои и проводятся все мероприятия, необходимые для устройства новой дорожной одежды в данных условиях.

9.36. Для определения слоев усиления или выравнивания дорожной одежды разрабатывается картограмма покрытий на спрямленном плане проезжей части в масштабе: длина 1:500 или 1:1000; ширина 1:100 или 1:200. На вынесенных поперечниках наносятся рабочие отметки, взятые из разработанных поперечных профилей, по которым методом интерполяции определяются границы того или другого типа усиления (выравнивания) с подсчетом площади соответствующих типов усиления и объемов необходимых материалов по средней рабочей отметке.

Обеспечение шероховатости покрытий

9.37. Все типы усовершенствованных дорожных покрытий с ровной сухой и чистой поверхностью обеспечивают коэффициенты сцепления, достаточные для безопасности движения автомобиля. Вместе с тем покрытия должны иметь такую шероховатость, при которой коэффициент сцепления и на увлажненной поверхности сохранялся бы в допустимых пределах.

В зависимости от условий движения (легких, затрудненных и опасных) требуются разные коэффициенты сцепления и разные параметры шероховатости. Величины коэффициентов сцепления и параметров шероховатости в зависимости от условий движения приведены в прил. 10.

9.38. Повышенные параметры шероховатости требуются:

в зонах пересечений в одном уровне и на подходах к ним на расстоянии, равном длине торможения;

в зонах разделения или слияния потоков движения на основных и переходно-скоростных полосах в пределах длины переходно-скоростных полос отгонами и на подходах к зонам на расстоянии, равном длине торможения;

в зонах подъемов с предельными уклонами в пределах подъема, на всей основной проезжей части, на дополнительной полосе на подъеме и на подходе к дополнительной полосе на длину торможения:

в зонах автобусных остановок на двухполосных дорогах на всей ширине проезжей части в пределах полной длины остановок, переходно-скоростных полос и подходов к ним на расстоянии, равном длине торможения;

на особых участках для обгона, в зонах местного увлажнения поверхности дороги, образования туманов и т.д.

9.39. Повышенные параметры шероховатости на асфальтобетонных покрытиях создаются:

а) из асфальтобетонных и черных смесей специального гранулометрического состава;

б) способом втапливания черного щебня крупностью 5-10 мм;

в) поверхностной обработкой.

На цементобетонных покрытиях повышенные параметры шероховатости должны создаваться специальной обработкой поверхности покрытия: устройством рифленых поперечных бороздок, обработкой поверхности щетками, применением прочного, трудно полируемого щебня и крупного песка.

При проектировании покрытий повышенной шероховатости следует руководствоваться указаниями специальных инструкций и рекомендаций.

9.40. На допустимых предельных уклонах дорожные одежды рекомендуется проектировать с повышенными параметрами шероховатости.

При уклоне асфальтобетонных покрытий свыше 50 , а для скоростных дорог и магистралей непрерывного движения свыше 30 повышенные параметры шероховатости обязательны.

При проектировании дорожных одежд на предельных уклонах рекомендуется предусматривать поперечные дренажи.

Тротуары, пешеходные и велосипедные дорожки

9.41. Сопряжение дорожной одежды проезжей части с тротуаром или газоном на улицах по типовому решению осуществляется установкой бортового камня (см. рис. 15). Типы бортовых камней принимаются по действующим ГОСТам. Кроме указанных в ГОСТах возможно применение бортовых камней специальных типов: армированных длиной 4-6 м; облегченного профиля из песчаного бетона; углового профиля (применяемых при сборных цементобетонных покрытиях); с уширенным основанием.

При нормальном поперечном профиле улицы в обычных условиях бортовой камень ставится высотой 15 см; в местах с повышенной опасностью движения ставится повышенный борт высотой 30 и 45 см.

Выбор специального типа бортового камня производится в зависимости от местных условий, возможностей производственной базы, типа покрытия, решения поперечного профиля улицы и других условий проектирования. Во всех случаях бортовой камень должен удовлетворять требованиям ГОСТов по морозостойкости и прочности.

9.42. Выбор конструкции тротуаров определяется:

категорией улицы, ее градостроительным значением и интенсивностью пешеходного движения;

наличием местных материалов, тротуарных плит или других штучных материалов;

грунтовыми условиями;

расположением тротуара по отношению к проезжей части и газону и отношением ширины тротуара и газона;

нагрузкой на тротуар, в частности, с учетом возможности проезда по тротуару уборочных и обслуживающих машин.

9.43. Типовая конструкция тротуарного покрытия состоит обычно из трех слоев:

а) собственно покрытия;

б) основания из известнякового щебня, гравия, кирпичного щебня, дресвы, укрепленных грунтов и других материалов;

в) песчаного подстилающего и дренирующего слоя.

По конструкции покрытия тротуары делятся на монолитные асфальтобетонные и цементобетонные; сборные - из сборных цементобетонных плит и плиток и других штучных материалов.

9.44. Асфальтобетонные покрытия тротуаров устраиваются из песчаного, литого или мелкозернистого асфальта в один слой толщиной 3 или 4-5 см.

Толщину оснований, см, под асфальтобетонные тротуарные покрытия следует принимать по табл. 65.

Таблица 65

Материал оснований

Магистральные улицы (дороги)

Улицы местного движения

Известняковый щебень (гравий)

12

10

Металлургический шлак

14

11

Кирпичный бой, дресва, песчано-гравийная смесь, ракушечник и другие местные строительные материалы

16

13

Битумно-минеральная смесь

10

3

Грунт, укрепленный цементом или битумом

-

10

Цементобетон марки М 200

10

8

9.45. Монолитные цементобетонные покрытия тротуаров устраиваются из бетона марки М 300 и выше толщиной 10-12 см - на магистральных улицах, 8 см - на улицах местного значения. Монолитные цементобетонные покрытия тротуаров делаются с рифленой поверхностью или другой обработкой поверхности для повышения шероховатости.

Основания под монолитные цементобетонные покрытия тротуаров устраиваются из песчано-цементной смеси толщиной 10 см из гравийных, битумоминеральных, цементоминеральных и других смесей и материалов.

9.46. Толщина дренирующего песчаного слоя, см, под тротуарные покрытия принимается по табл. 66.

Дренирующий слой в I-II климатических зонах устраивается при наличии глинистых и суглинистых грунтов под корытом. Для III климатической зоны толщина подстилающего слоя должна быть уменьшена на 5 см по сравнению с данными табл. 66. В южных районах IV и V зон, а также при наличии песчаных и супесчаных подстилающих грунтов дренирующие слои, как правило, не устраиваются.

Таблица 66

Подстилающий грунт

Группа грунтов

Размещение тротуаров

между проезжей частью и застройкой

между газоном и застройкой

между проезжей частью и газоном

между газонами

Супеси легкие и оптимальные смеси

А

-

-

-

-

Пески пылеватые, тяжелые супеси

Б

10

10

10

15

Суглинки, легкие и тяжелые глины

В

10

20

15

25

Супеси пылеватые и тяжелые пылеватые, суглинки легкие и тяжелые пылеватые

Г

15

25

20

30

При ширине тротуара более 6 м для отвода воды из дренирующего слоя устраивают дренаж мелкого заложения.

При устройстве продольного дренажа мелкого заложения толщина дренирующего слоя может быть уменьшена на 5 см. Для всех зон толщина песчаного слоя при его устройстве делается не менее 10 см.

9.47. Расчет монолитных асфальтобетонных и цементобетонных покрытий тротуаров производится по обычной методике расчета дорожных одежд при нагрузке от уборочных машин с расчетным давлением колеса не менее 2750 кГс/см2. Требуемый модуль упругости тротуаров принимается для магистральных улиц 700 кГс/см2, для улиц местного движения - 600 кГс/см2.

9.48. Вид и толщину основания под сборные покрытия тротуаров следует назначать по табл. 67.

Таблица 67

Материал основания

Толщина основания, см

Металлические шлаки

11-14

Песок среднезернистый или крупнозернистый

8-10

Щебень из каменных материалов

10-12

Цементная стяжка толщиной 2-3 см на щебеночном основании толщиной 10 см

12-13

Песок, укрепленный цементом (6-15 % цемента)

10-12

Бетон марки М 200

8-10

Тощий бетон марки М 100

8-10

Битумно-грунтовые смеси

10

Битумно-минеральные смеси

8-10

Тротуары, как правило, не рассчитываются на морозоустойчивость. В особо ответственных случаях при проектировании тротуаров главных улиц города на центральных магистралях и особо важных объектов необходим расчет на морозоустойчивость и соответственное увеличение толщины слоя песка.

9.49. Сборные покрытия тротуаров устраиваются из бетонных плит на основаниях из тех же материалов, что и монолитные покрытия. Расчет покрытия из сборных плит производится по методике расчета сборных дорожных одежд.

Покрытия тротуаров из разного рода штучных каменных и бетонных материалов (например, бетонные шашки) проектируются по индивидуальным проектам при наличии особых требований.

9.50. В зависимости от планового и высотного решения тротуар может устраиваться с ограничением его тротуарным бортовым камнем или без него.

При решении тротуара в другом уровне, чем прилегающие газоны (выше или ниже), или при повышенных архитектурных требованиях ограничение тротуара бортовым камнем обязательно. В качестве борта применяется специальный тротуарный бортовой камень на основании из бетона или из щебня, борт возвышается над поверхностью тротуара (газона) на 10 см или устраивается заподлицо с ним. Могут применяться и другие типы бортов.

Для удобства отвода поверхностных вод при обычном строительстве улиц целесообразно устраивать тротуары в одном уровне с газонами без ограничения бортовым камнем. В этом случае кромка тротуара делается скошенной с уклоном 1:1, слои основания устраиваются шире ширины тротуара на толщину тротуарного покрытия в каждую сторону и делаются также со скосом 1:1.

9.51. Дорожная одежда велосипедных дорожек проектируется такой же, как и для тротуаров, но с проверкой на морозоустойчивость. В случае если на велосипедную дорожку возможен заезд транспорта, конструкция дорожной одежды принимается как для местного проезда.

10. ВОДООТВОД, ДРЕНАЖИ И СНЕГОУДАЛЕНИЕ

Общие требования к водосточной сети

10.1 Устройство системы водоотвода на улицах имеет целью обеспечить прочность и устойчивость дорожных конструкций и благоприятные условия эксплуатации городских улиц путем быстрого и полного удаления поверхностных вод, поступающих в лотки дорог.

10.2 Водоотводная сеть на улицах является составной частью общей системы водоотвода городской территории, поэтому ее проектирование следует производить в комплексной увязке с водоотводом со всей городской территории. Система отвода поверхностных вод в городах называется ливневой или дождевой канализацией (водостоками) и предназначается для отвода дождевых и талых вод; приема и удаления вод от полива и мытья улиц; отвода поверхностных вод из систем внутренних водостоков зданий; приема выпусков воды из дренажных систем, дорожных дренажей мелкого заложения и от дренажей трамвайных путей; приема производственных вод, допускаемых к спуску без специальной очистки или после пропуска их через очистные установки; приема и удаления вод, поступающих от мойки транспортных машин с предварительным осветлением загрязнений стока.

Сброс производственных вод допускается только по согласованию с органами санитарного надзора и органами, эксплуатирующими систему водоотвода.

10.3. При проектировании водостоков следует руководствоваться главой СНиП II-32-74 «Канализация. Наружные сети и сооружения», в соответствии с которыми назначаются расчетные периоды и расчетные расходы (коэффициенты стока, время поверхностной концентрации); «Временной инструкцией по проектированию сооружений для очистки поверхностных сточных вод» (СН 496-77), а также специальной технической литературой [29, 35].

10.4. Размеры водоотводных сооружений назначаются на пропуск расходов частой повторяемости с учетом обеспечения полного отвода расчетного стока и проверкой на расходы редкой повторяемости.

10.5. Водоотводные системы различаются следующих типов: закрытая (лотки проезжих частей, водоприемные колодцы, трубопроводы: ветки, водостоки, коллектор) и открытая (кюветы, водоотводные канавы).

В городах и поселках обязательно предусматривается водоотводная система закрытого типа.

Применение открытой водоотводной системы допускается в сельских населенных пунктах с устройством мостиков или труб на пересечениях с улицами, дорогами, а также въездами во владения.

Открытая система водоотвода может применяться в малых населенных пунктах и как переходный этап для первой очереди строительства.

10.6. В климатических зонах с открытой оросительной системой может применяться смешанная система отвода поверхностного стока.

В климатических подрайонах IA, IБ, IГ, IД следует предусматривать:

отвод поверхностных вод только по открытым кюветам и лоткам, а из пониженных мест - по трубам, расстояние от зданий и сооружений до дождевой канализации следует определять расчетом из условия сохранения вечномерзлого состояния грунтов оснований близрасположенных зданий и сооружений;

меры по предотвращению образования наледей при проектировании водоотводных канав в льдонасыщенных грунтах, а также конструктивные мероприятия, обеспечивающие гидротермический режим оснований и откосов канав, согласно теплотехническим расчетам.

Стадии и состав проектов водостоков даны в прил. 11.

Водоотводные системы

10.7. Водостоки устраиваются по полной раздельной, полураздельной или общесплавной системе.

При полной раздельной системе предусматривается устройство двух самостоятельных сетей: для отвода фекальных и производственных вод и для отвода поверхностного стока самостоятельной сети ливневой канализации. Сброс фекальных вод в проточные водотоки, реки, водоемы и т.п. осуществляется после полной их очистки.

10.8. При полураздельной системе канализации также устраиваются две самостоятельные системы уличных сетей, но с общими (общесплавными) отводящими коллекторами. При этом все бытовые и производственные сточные воды, весь талый и дождевой сток расчетной повторяемости поступают на очистные сооружения.

Отдельные выпуски боковых водостоков присоединяются к береговым коллекторам через распределительные камеры, из которых часть дождевого стока при ливнях высокой интенсивности сбрасывается в проходящие рядом открытые водотоки (реки).

При полураздельной системе отпадает необходимость устройства многочисленных отдельных очистных сооружений на городской территории.

10.9. При общесплавной системе прокладывается единая сеть трубопроводов для отвода ливневых, талых, производственных и фекально-хозяйственных вод. При этом весь сток поступает на очистные сооружения, за исключением части расхода из береговых (отводных) коллекторов, сбрасываемого через ливнеспуски при сильных ливнях.

10.10. Выпуск поверхностного стока из сети раздельной ливневой канализации проектируется в открытые проточные водотоки с предварительной очисткой от наносов твердого стока и остатков нефтепродуктов, смытых с поверхности городской территории.

Для этого на устьевых участках коллекторов бассейнов площадью более 20 га предусматриваются специальные очистные сооружения. Такие сооружения могут устраиваться как для отдельного выпуска бассейна, так и для собранных в одну систему нескольких выпусков водостоков.

10.11. Выбор системы водоотвода должен производиться на основе технико-экономического сравнения возможных вариантов, с учетом местных условий и санитарной оценки возможности использования существующих водотоков.

10.12. Лотки проезжих частей улиц и трубопроводы, составляющие закрытую сеть водоотвода, подразделяются на дворовую или внутриквартальную, если она расположена в пределах красных линий квартала и не является транзитным участком сети водостоков; на уличную или городскую, если водостоки проходят по улицам или пересекают кварталы и пропускают при этом расходы с вышерасположенного бассейна стока.

Сеть водостоков в пределах отдельного бассейна разделяется на главный коллектор бассейна, боковые коллекторы и водотоки отдельных улиц.

Главные коллекторы бассейнов располагаются по направлению основных тальвегов бассейна и имеют отдельные выпуски в проточные водотоки или коллекторы полураздельной канализации.

Русла ручьев и малых речек, расположенных в пределах города, включаются в систему водоотвода в виде открытых или закрытых протоков на всем их протяжении или на отдельных участках.

Дождеприемные и смотровые колодцы

10.13. Поверхностный сток, сформированный в глубине жилых кварталов, поступает в лотки внутриквартальных проездов, имеющих выход в лотки городских улиц, или в дождеприемные колодцы внутриквартальной сети водостоков, которая присоединяется к городской сети.

10.14. Допускаемая длина свободного пробега потока от водораздельного гребня до первых дождеприемных колодцев определяется в зависимости от площади водосбора, коэффициентов стока и уклонов поверхности.

При этом должна учитываться допустимая высота (5 см) наполнения лотков, при которой будет обеспечен пропуск расходов стока, полученных при выпадении дождей повторяемостью раз в год.

10.15. Среднюю длину свободного пробега воды для различных условий рекомендуется принимать в пределах следующих норм: на СД и МНД - 100-150 м, на МРД и РМ - 150-200 м, на УДМ - 200-250 м, на внутриквартальных проездах - 150 м.

Длина свободного пробега в каждом отдельном случае назначается с учетом категории улицы, ее транспортного и пешеходного значения, продольного уклона, величины водосборной площади, необходимости присоединения производственных или дренажных выпусков и т.п..

10.16. Для приема дождевых и талых вод в закрытую сеть устраивают дождеприемные колодцы типовой конструкции; вода в них поступает через приемные решетки и по трубе-ветке и отводится в закрытую сеть водостоков. Минимальные размеры дождеприемных колодцев в плане при круглой форме 0,7 м, прямоугольной - 0,6×0,9 м.

10.17. Глубина заложения дождеприемника устанавливается в соответствии с принятой наименьшей глубиной заложения водостоков. При благоприятных грунтовых условиях, отсутствии пучинистых грунтов, а также при расположении дождеприемного колодца на скверах и парках глубина его может приниматься на 0,5 м меньше нормальной глубины промерзания, но не менее 0,8 м.

Наименьшая глубина дождеприемного колодца составляет 0,8 м. При невозможности по местным условиям (подземные сооружения) установить дождеприемный колодец нормальной глубины разрешается уменьшить глубину при соблюдении следующих условий: длина ветки от дождеприемного колодца до смотрового колодца водостока не должна превышать 5 м; уклон ветки при этом принимается не менее 50 ‰. Ветка в этом случае прокладывается из чугунных или железобетонных труб.

Дождеприемный колодец глубиной более 2 м устраивается по габаритам смотрового колодца с заменой крышки люка дождеприемной решеткой. Устанавливать дождеприемные решетки на промежуточных смотровых колодцах не рекомендуется. Ветки от дождеприемных колодцев присоединяются к водостокам, причем допускается последовательное присоединение одной веткой двух дождеприемных колодцев. Больше двух дождеприемных колодцев устраивать на одной ветке не разрешается.

10.18. Диаметр водосточных веток (труб от дождеприемного до смотрового колодца) принимается равным 0,3 м.

В отдельных случаях при небольшой водосборной площади и малой длины ветки может быть допущен диаметр трубы ветки, равный 0,2 м. В особых случаях от дождеприемных колодцев, расположенных в пониженных местах, при приеме большого количества воды или воды из открытой сети, прокладываются трубы большого диаметра. Уклоны водосточных веток рекомендуется принимать 20-30 , наименьший уклон - 5 . Наибольшая длина ветки водостока до смотрового колодца может быть принята 40 м.

Трубы для водосточных веток, как правило, применяются железобетонные, реже асбестоцементные.

10.19. Водосточные ветки присоединяются к смотровым колодцам водостоков и коллекторов в пределах высоты рабочей камеры. Ветки к водостокам диаметром до 0,6 м присоединяются по отметкам целых труб, а при больших диаметрах водостоков и коллекторов - на уровне средней трети их высоты. В отдельных случаях допускается присоединение лотка трубы на высоте 0,2 диаметра водостока. Присоединение веток к спускным шахтам смотровых колодцев, как правило, не рекомендуется.

По экономическим соображениям допускается бесколодезное присоединение веток от дождеприемных колодцев к дворовым водостокам и коллекторам на расстоянии не более 15 м от ближайшего смотрового колодца. К водосточным коллекторам диаметром 1,5 м и более бесколодезное присоединение разрешается при любом расстоянии от смотрового колодца.

10.20. К дождеприемным колодцам разрешается присоединять дорожные и трамвайные дренажи мелкого заложения и ветки от стрелочных коробок трамвайных путей. Присоединение к дождеприемникам выпусков внутренних водостоков зданий и дренажей глубокого заложения не разрешается. Прием воды из открытой сети, русел, логов производится через входные оголовки с устройством возле них смотровых колодцев. В соответствии с местными условиями при входных оголовках устраивают камнеловки и мусороуловители.

10.21. Смотровые колодцы на сети водостоков (как правило, сборной конструкции из железобетонных элементов) устанавливаются: на прямых участках трассы на расстоянии 50-200 м, в местах поворота трассы, изменения уклонов и диаметров труб, присоединения боковых водостоков и веток от дождеприемных колодцев, перепадов, пересечений в одном уровне с другими подземными сооружениями и перед затопленными выпусками.

10.22. Повороты и присоединения водостоков диаметром 0,6 м и менее осуществляются в смотровом колодце нормального типа. При этом угол между трубами должен быть не менее 90°. При наличии перепада в колодце угол между трубами не ограничен. Повороты водостоков и водосточных коллекторов диаметром более 0,6 м при угле между трубами не менее 160° осуществляют также в смотровом колодце.

При угле менее 160° поворот водостока осуществляется в поворотной камере по кривой радиусом, равным не менее пяти диаметрам или ширинам водостоков. В отдельных обоснованных случаях допускают уменьшение радиуса поворота, но величина его не должна быть менее трех диаметров водостока.

При повороте водостока (коллектора) по кривой смотровые колодцы должны быть установлены на обоих концах поворотной кривой (участок коллектора).

В пониженных местах (котловинах), а также на верховых участках при приеме значительного расхода воды устанавливают рядом несколько дождеприемных колодцев или колодцев индивидуальной конструкции с решетками достаточной приемной способности.

10.23. Дождеприемные колодцы в лотках улиц и внутриквартальных проездах устанавливаются в следующих местах, предусмотренных проектом вертикальной планировки; в пониженных точках; на перекрестках улиц со стороны притока воды выше полосы пешеходного движения; на выездах из кварталов и между перекрестками. Расстояния между дождеприемными колодцами в зависимости от продольного уклона лотка проезжей части приведены в табл. 68.

Таблица 68

Уклон лотка, ‰

Расстояние между колодцами, м

До 4

50

6

60

10

70

30

80

Св. 30

90

10.24. Шаг расстановки дождеприемных колодцев, указанный в табл. 68, увеличивается в 1,5-2 раза на улицах, расположенных на водоразделе, при наличии внутриквартальной водосточной сети, в лотках дорожек бульваров и скверов и на внутриквартальных проездах.

При продольных уклонах улиц 50 и более рекомендуется перед перекрестками с верховой стороны, а также на прямых участках улиц через 300-400 м устраивать дождеприемники усиленной приемной способности (двойные решетки, колодцы специальной конструкции).

При ширине односкатной проезжей части улицы свыше 15 м и двускатной свыше 30 м, а также при наличии дорожных дренажей мелкого заложения расстояние между дождеприемными колодцами не должно превышать 60 м.

10.25. Смотровые колодцы размещаются на расстоянии друг от друга в зависимости от диаметра водостока согласно табл. 69.

Таблица 69

Диаметр водостока, м

Расстояние между смотровыми колодцами, м

До 0,4

50

0,4-0,6

70

0,7-0,9

100

1,2-1,6

150

Св. 1,6

200

Проектирование водостоков в плане

10.26. В общих границах объекта следует выделять границы бассейнов отдельных коллекторов в соответствии с рельефом местности, проектами горизонтальной и вертикальной планировок и намечаемой схемой развития сети водостоков.

При плоском рельефе водораздельные границы смежных бассейнов могут перемещаться в зависимости от намечаемого в них развития сети водостоков.

10.27. При наличии существующих водосточных коллекторов решение сети проектируется с учетом их максимального использования. Главные коллекторы трассируют по тальвегам или применительно к их направлениям, а при плоском рельефе местности - по возможности посередине бассейна. Все водостоки, как правило, должны трассироваться по направлению городских проездов вне их проезжей части. Исключение допускается для бассейнов, в которых направление улиц не совпадает с тальвегами.

10.28. На плане трассы водостоков должны быть нанесены все существующие и проектируемые подземные сооружения, а также существующие и проектируемые элементы благоустройства, здания и сооружения. Трасса водостоков на улицах должна быть прямолинейной и располагаться параллельно красной линии с минимальным числом поворотов и пересечений с другими подземными сооружениями. Пересечение с другими подземными сооружениями в плане допускается под углом, близким к прямому.

10.29. Трассы инженерных сетей в городах необходимо проектировать как комплексную систему, объединяющую все надземные и подземные сети с учетом их развития на расчетный период в соответствии с рекомендациями раздела 13.

10.30. При ширине улицы в пределах красных линий 60 м и более, а также при устройстве местных проездов, сети водостоков, канализации и водопровода дублируются с прокладкой их по обеим сторонам улиц. При реконструкции проезжих частей улиц, под которыми расположены подземные сети, следует предусмотреть их вынос. При соответствующем обосновании на всех типах городских улиц, как исключение кроме скоростных дорог и общегородских магистралей допускается оставлять под проезжей частью самотечные сети водостоков и канализации.

Таблица 70

Сеть

Расстояние, м, по горизонтали в свету от подземных инженерных сооружений

фундамента зданий и сооружений, путепроводов и тоннелей

ограждения опор контактной сети и связи

оси крайнего пути

бортового камня улицы, дороги

наружной бровки кювета или до подошвы насыпи улицы дороги

фундаментов опор воздушных линий электропередач, напряжением

железные дороги-колеи 1500 мм, но не менее глубины траншей до подошвы насыпи и бровки выемки

трамвая

до 1 кВ и наружного освещения

от 1 до 35 кВ

св. 110 кВ

Самотечная канализация (бытовая и дождевая)

3

1,5

4

2,8

1,5

1

1

2

3

Дренажи

3

3

4

2,8

1,5

1

1

2

3

10.31. Расположение водостока в плане должно быть таким, чтобы при производстве строительных работ и возможных аварийных ремонтных разрытиях была обеспечена сохранность водостока, а также других подземных и надземных сооружений. Расстояние между водостоками и различными подземными сетями и сооружениями следует принимать по табл. 70.

Проектирование водостоков в профиле

10.32. Наименьшая глубина заложения лотка водосточных труб должна приниматься на основании опыта эксплуатации водостоков, находящихся в аналогичных условиях, с обеспечением засыпки над верхом конструкции водостока не менее 0,7 м. При меньшей высоте засыпки трубы водостока должны быть предохранены от повреждения наземным транспортом.

Для обеспечения возможности развития сети водостоков глубину заложения верхового колодца рекомендуется принимать не менее 2 м. При открытом способе производства работ рекомендуется проектировать водостоки с заложением не более 2,5-3,5 м.

При производстве работ закрытым способом (щитами и др.) наименьшая глубина заложения должна назначаться такой, чтобы высота грунта над верхом конструкции была не менее 1,5 диаметров щита, а в исключительно благоприятных грунтовых условиях - при заглублении на высоту, равную диаметру щита. Максимальная глубина заложения водостоков не ограничена, но по эксплуатационным условиям не следует прокладывать водостоки на глубине свыше 8-10 м.

10.33. Уклоны водостоков принимаются примерно параллельно рельефу поверхности с тем, чтобы скорость движения воды в трубах была не ниже минимальной (0,6 м/с) и не выше максимальной - 10 м/с для металлических и 7 м/с - для неметаллических труб.

10.34. Уменьшение диаметра нижележащего участка по сравнению с диаметром вышележащего участка при резком увеличении уклона допускается: при диаметре труб до 0,6 м - на 100 мм, от 0,6 до 1 м - на 200 мм, от 1,3 до 1,7 м - на 300 мм.

10.35. Соединение труб водостока осуществляется шелыга в шелыгу или по осям труб. Как исключение допускается при плоском рельефе соединение водостоков по отметкам лотков труб. В тех случаях, когда диаметр низового участка меньше диаметра верхового участка, соединение осуществляется по лоткам труб.

10.36. На участках трассы, где уклоны поверхности больше предельных, при которых в трубах образуются максимально допустимые скорости, профиль водостока может проектироваться по одной из следующих схем: устройство ряда перепадных колодцев с прокладкой между ними водостока с «предельными» уклонами, замена труб быстротоком повышенной шероховатости, прокладка водостока из чугунных труб в одну или две нити с устройством в низовом конце водобойного колодца (гасителя) и т.п.

Перепадные колодцы, кроме того, проектируются также во избежание пересечения с подземными сооружениями перед затопленным водовыпуском и для компенсации больших местных гидравлических сопротивлений.

Водостоки открытого типа

10.37. Водостоки открытого типа состоят из лотков, кюветов, канав, переездных труб и мостиков, а также русел малых речек. Наименьшие размеры кюветов трапецеидального сечения принимаются по дну 0,4 м при глубине 0,5 м. Глубина кюветов должна быть увязана с отметками входа и выхода у переездных труб, расположенных на перекрестках улиц и въездах в кварталы.

10.38. Глубина потока в канавах и кюветах, расположенных в пределах населенного пункта, не должна превышать 1 м. Запас глубины канав над расчетным горизонтам следует принимать 0,2 м для малых канав и 0,4 м для больших. Канавы в населенных местах рекомендуется устраивать с креплением дна и откосов по смоченному или по всему периметру. Канавы могут заменяться лотками прямоугольной формы (каменные, бетонные или из железобетонных элементов).

10.39. В местах пересечения кюветов и канав с въездами в кварталы и на перекрестках следует укладывать трубы диаметром не менее 0,5 м и, как исключение, диаметром 0,4 м без нарушения требований пропуска расчетных расходов.

10.40. Уклоны открытой дождевой сети на улицах и кварталах следует принимать в соответствии с проектными уклонами улиц и проездов.

Минимальные уклоны канав должны приниматься по расчету исходя из скорости протекания не менее 0,6 м/с при расходах, повторяемостью три раза в год.

Укрепления канав и кюветов, в соответствии с наибольшими скоростями, рекомендуется принимать по табл. 71.

Таблица 71

Грунт или тип укрепления

Наибольшая скорость движения потока, м/с, при его глубине h от 0,4 до 1 м

Крепление бетонными плитами

4

Известняки, песчаники средние

4

Одерновки плашмя

1

»       в стенку

1,6

Мощение одиночное

2

»       двойное

3-3,5

При глубине потока h значения скоростей движения сточных вод следует принимать с коэффициентами: 0,85 при h < 0,4 м и 1,25 при h > 1 м. При скоростях больше допускаемых для принятых типов укрепления устраиваются перепады и быстротоки.

Особенности проектирования водоотвода на скоростных дорогах и магистральных улицах общегородского значения с непрерывным движением

10.41. Закрытая система водоотвода для СД-I состоит из:

а) открытых лотков, размещаемых вдоль дороги на технической полосе за пределами проезжей части;

б) дождеприемных колодцев, установленных в этих лотках;

в) труб-веток, соединяющих дождеприемные колодцы с продольными водостоками;

г) смотровых колодцев на продольных водостоках, дублированных с каждой стороны СД-I, и смотровых колодцев, в которых осуществляется прием воды от дождеприемных колодцев.

10.42. На МНД устраивается закрытая система водоотвода с двусторонней прокладкой водостоков вне зависимости от наличия местных проездов.

10.43. СД-I должны выделяться в самостоятельные бассейны с границами, которые исключают или ограничивают поступление поверхностных вод с прилегающих территорий.

10.44. Время поверхностной концентрации для СД рекомендуется принимать 5 мин, а для общегородских магистралей непрерывного движения 10 мин.

Работа водостоков СД-I при пропуске расходов предельного периода должна осуществляться в самотечном режиме с заполнением емкости труб и лотков технической полосы.

10.45. Длину свободного пробега на скоростных дорогах от водораздела до верхового дождеприемного колодца в лотке принимают 100 м. Водостоки скоростных дорог рассчитывают на предельный период с учетом пропуска расходов этого периода по водостоку и лотку технической полосы без затопления проезжей части дороги. Предельный период назначают в техническом задании на проектирование, но не менее 2 % обеспеченности, т.е. раз в 50 лет. Водоотвод на участках скоростных дорог, где располагаются тоннели, должны иметь обеспеченность не менее 1 %, т.е. на затопляемость раз в 100 лет.

10.46. Прием поверхностных вод с проезжей части на скоростных дорогах осуществляют открытыми лотками технической полосы и дождеприемниками. Открытые лотки устраивают на технической полосе параллельно ограждающему брусу на расстоянии, обеспечивающем размещение осветительных приборов и кабелей.

Продольный водосток размещают параллельно открытому лотку на расстоянии, обеспечивающем его устройство в материковых грунтах.

Дождеприемные колодцы устанавливают с шагом 50 м под открытым лотком, а также во всех пониженных местах открытых лотков и на поворотах.

10.47. Продольные уклоны открытого лотка принимают, как правило, равными продольным уклонам СД-I. На горизонтальных участках СД-I лоток может иметь пилообразный профиль с продольным уклоном не менее 3 ‰.

10.48. Открытый лоток на СД-I образуется установкой на технической полосе бортового камня или устраивается пологим с размерами по высоте 0,2 м и шириной 0,6 м.

Дождеприемные решетки в лотках устанавливаются на 2-3 см ниже отметки лотка.

Водоотвод на улицах и дорогах в выемках и тоннелях

10.49. Водоотводные сооружения на участках улиц и дорог в выемках состоят из нагорного борта, банкета, лотка, кювета или канавы ограждающих откосы выемки от неорганизованного стока воды; водоотводных лотков у подошвы откосов (вдоль внешней кромки тротуаров); закрытого водостока обычного типа с дождеприемными колодцами в подоткосном лотке.

Сброс воды из нагорного лотка или кювета производится в закрытую сеть водостоков дороги в пределах выемки или у ее концов.

10.50. В пределах пандусов тоннелей, как правило, устраивается самостоятельная сеть водостоков с насосной установкой для перекачки воды в городскую сеть. Только в исключительно благоприятных условиях эти самостоятельные водостоки могут иметь самотечное присоединение к городской сети водостоков.

Длина свободного пробега воды на пандусах принимается не более 100-150 м.

Перед порталами тоннеля обязательно устанавливаются дождеприемные колодцы. В пределах тоннеля прокладывается водосток с дождеприемными колодцами через 30-40 м.

Вертикальная планировка на подходах к тоннелям должна обеспечить исключение сброса поверхностных вод с прилегающих участков на пандусы.

Водостоки в тоннелях проектируются в увязке с дренажными устройствами.

10.51. Насосные станции проектируются на расходы повторяемостью раз в 50 лет. Насосные станции могут располагаться за стенами в пределах тоннеля или пандусов.

Насосные станции оборудуются резервными насосами, автоматикой, обеспечиваются электроснабжением от двух независимых источников, а также диспетчерской сигнализацией.

Дренажи глубокого заложения

10.52. Дренажи глубокого заложения устраиваются для понижения уровня подземных вод или для полного их перехвата, а также для осушения земляного полотна при высоком уровне подземных вод, когда другие способы (отсыпка насыпей, замена грунтов, устройство теплоизоляционных и водонепроницаемых прослоек и т.п.) оказываются нецелесообразными.

Дренажи глубокого заложения могут устраиваться и в сочетании с другими способами осушения земляного полотна.

10.53. Норма осушения грунтов (понижение уровня грунтовых вод от поверхности земли) на незастроенных городских территориях принимается на глубину не менее 1,5 м, а на застроенной при наличии подвалов - от 3 до 3,5 м и уточняется в каждом конкретном случае.

Понижение уровня грунтовых вод путем устройства глубокого дренажа на улицах определяется из условия обеспечения прочности и устойчивости земляного полотна (см. раздел 8).

10.54. На городских улицах и дорогах, как правило, применяют закрытые трубчатые дренажи, которые по гидродинамической характеристике подразделяются на дренажи совершенного и несовершенного типов.

Горизонтальные дренажи совершенного типа своим основанием доходят до водоупора и полностью перехватывают потоки грунтовых вод. Конструкция горизонтальных дренажей несовершенного типа опускается под основной горизонт, но не доходит своим основанием до кровли водоупора.

На улицах в соответствии с общей схемой дренирования городских территорий применяется, главным образом, однолинейная система (совершенного и несовершенного типа).

В некоторых случаях при большой ширине улиц и неблагоприятных гидрогеологических условиях прокладываются две линии дрен.

Расчет дренажей глубокого заложения производится в соответствии со специальной технической литературой [29, 43].

Мероприятия по снегоудалению

10.55. Снегоудаление проектируется следующими основными способами: вывозкой автотранспортом на различные виды свалок и к снеготаялкам; сплавом по водостокам и фекально-хозяйственной канализации; поперечной перекидкой снега на резервные, разделительные, технические полосы с оставлением его до весеннего таяния или с последующей вывозкой автотранспортом; временным размещением снега на проезжей части улиц с последующей вывозкой его автотранспортом. На различных улицах города и даже на различных участках одних и тех же улиц могут применяться различные способы снегоудаления.

10.56. Мероприятия по снегоудалению проектируются на основе комплексной генеральной системы снегоудаления города или его района, являющейся составной частью генеральных схем инженерного оборудования города.

Комплексная генеральная система снегоудаления - рациональные взаимоувязанные способы снегоудаления для города, его районов и отдельных улиц, содержит решения о проектировании с учетом принятых способов снегоудаления, соответствующих поперечных профилей городских улиц и дорог, увеличение расчетных диаметров водостоков, дополнительные водосточные линии и водоприемные колодцы, специальные различные снегоприемные камеры на ливневой и фекально-хозяйственной канализации, технические водоводы, для подачи воды в водостоки, распределительные камеры, насосные станции, очистные сооружения, снеготаялки, обогреваемые проезжие части дорог, тротуары и т.п.

10.57. Для проектирования мероприятий по снегоудалению необходимо определять следующие общие расчетные данные: объемный вес и загрязненность снега; расчетный и максимальный снегопад; режим уборки; общее количество снега, подлежащего удалению. Способы определения этих расчетных данных приведены в прил. 12.

10.58. При проектировании снегоудаления способом переброски на резервные, разделительные и технические полосы с оставлением до весеннего таяния или с последующей вывозкой в ночное время ширина этих полос назначается с учетом возможного размещения на них снега.

Применение поперечной переброски снега в русле рек (набережные) допускается только для снега первого заметания и только для рек, весенние паводки на которых обеспечивают вынос загрязнения. Поперечная переброска снега с набережных в русла рек допускается только по разрешению санитарной и речной бассейновой инспекций.

10.59. Вывозка снега автотранспортом проектируется на городские свалки, размещенные вне черты города.

Свалка снега оборудуется подъездными путями с твердым покрытием, механизмами для перемещения снега, снегоразгрузочным транспортом, водоотводом для приема воды от таяния снега и в зависимости от места расположения свалки и места сброса воды от них очистными сооружениями.

10.60. На СД-I, МНД и на подходах к транспортным развязкам в разных уровнях (тоннеля, эстакады) для удаления снега рекомендуется проектировать обогрев проезжей части. При этом рекомендуется обогрев проезжей части проектировать на всем протяжении пандусов и тоннелей при длине тоннелей до 100 м с включением подходов к ним на длину 100 м. При большей длине тоннеля обогрев проезжей части рекомендуется проектировать на 40 м в глубь тоннеля с каждой стороны. На эстакадах обогрев проезжей части рекомендуется проектировать на всем протяжении эстакады с включением участков подходов к ним на длину 100 м.

10.61. Сплав снега по водостокам проектируется при наличии в них постоянного и достаточного расхода воды, обеспечивающего транспортирование и таяние снега в коллекторе.

Основные технические нормативы для сплава снега по водостокам приводятся в табл. 72.

Таблица 72

Характеристика или норматив

Величина

Минимальный диаметр водостока, пригодного для сплава снега, м

0,6-0,7

Оптимальное наполнение трубы водным потоком для снегосплава, диаметр

0,3-0,4

Оптимальная скорость водного потока в трубах для снегосплава, м/с

0,6-0,7

Ориентировочный минимальный расход воды на сплав 1 т снега, м3

7-10

10.62. При отсутствии постоянного расхода воды или при недостаточном постоянном расходе в водостоке рекомендуется проектировать их обводнение из водоемов с помощью технических самотечных и напорных водоводов.

Источниками районного или общегородского обводнения системы водостоков для снегосплава, которое отличается от местного потребностью в большом количестве воды, служат водохранилища или реки, позволяющие перекачку из них воды в количестве от 1 м/с и более. При этом предусматривается создание на командных высотах резервных водохранилищ емкостью на 12-часовую работу системы. Раздача воды из водохранилища должна проектироваться главным образом самотечной, не допуская размещения дополнительных насосных второго подъема для преодоления водоразделов различных бассейнов. При наличии ТЭЦ или других источников сброса горячих вод следует проектировать использование их для снегосплава.

10.63. На водостоках, используемых для снегосплава, проектируются участковые (районные) снегосбросные камеры, снег к которым подвозится автотранспортом на расстояние 1-2,5 км. Ограниченное количество снега может сбрасываться непосредственно в смотровые колодцы, что сокращает потребность в автотранспорте. На водосточных линиях может быть организована так называемая маршрутная схема снегоудаления без применения автотранспорта с загрузкой обвалованного снега в снегоприемные колодцы подвижными механическими совками.

10.64. Сплав снега по водостокам допускается лишь при наличии очистных сооружений в устьевых участках.

Сплав снега по фекально-хозяйственной канализации применяется для сравнительно малозагрязненного снега.

10.65. Снеготаяние может производиться паром, горячей водой, горячими газами или электроэнергией в снеготаялках (участковых или районных), к которым снег подвозится автотранспортом, или обогреваемыми панелями, устраиваемыми в проезжих частях улиц и дорог или на тротуарах по всей или по части площади покрытия.

Стоимость таяния снега в снеготаялках зависит от стоимости теплоносителя с учетом его подачи, производительности строительства и эксплуатации снеготаялок и т.д. В обычных условиях снеготаяние по стоимости оказывается экономически эффективным способом для участков городской территории, на которых дальность перевозки снега автотранспортом превышает 10 км, а также когда другие способы снегоудаления применять не предоставляется возможным.

Применение снеготаяния путем обогрева проезжей части и тротуаров определяется также условиями эксплуатации и категориями городских улиц и дорог.

10.66. Рациональность применения того или иного вида снегоудаления подлежит технико-экономическому обоснованию, как правило, путем сравнения затрат при вывозке снега автотранспортом на свалки (включая затраты на содержание свалок) и затрат на осуществление тех или иных мероприятий с учетом сроков окупаемости.

11. НАРУЖНОЕ ОСВЕЩЕНИЕ ГОРОДСКИХ УЛИЦ И ДОРОГ

Нормы наружного освещения

11.1. Городские улицы и дороги, а также искусственные сооружения на них должны быть оборудованы стационарным наружным освещением.

Уровень освещения в зависимости от назначения объекта освещения и стабильности отражательных характеристик дорожного покрытия регламентируется средней яркостью дорожного покрытия в направлении наблюдателя, находящегося на оси проезжей части, т.е. величиной, характеризующей долю светового потока, отраженного от покрытия в сторону водителя автомобиля; средней горизонтальной освещенностью, т.е. поверхностной плотностью светового потока, падающего на проезжую часть.

11.2 (5.1)*. Освещение улиц, дорог и площадей в городах и поселках следует проектировать исходя из нормы средней яркости усовершенствованных покрытий согласно табл. 73 (20).

* Глава СНиП II-4-79 «Естественное и искусственное освещение».

Освещение улиц, дорог и площадей населенных пунктов, расположенных в Северной строительно-климатической зоне Азиатской части СССР и севернее 66° северной широты в Европейской части СССР следует проектировать исходя из средней горизонтальной освещенности покрытий проезжей части согласно табл. 73 (20).

Таблица 73 (20)

Категория по освещению

Улицы, дороги и площади

Наибольшая интенсивность движения транспорта в обоих направлениях, ед/ч

Средняя яркость покрытия, кд/м2

Средняя горизонтальная освещенность покрытия, лк

А

Скоростные дороги*, магистральные улицы общегородского значения; площади**: главные, вокзальные, транспортные, предмостные и многофункциональных транспортных узлов

Более 3000

1,6

20

От 1000 до 3000

1,2

20

От 500 до 1000

0,8

15

Менее 500

0,6

15

Б

Магистральные улицы районного значения, дороги грузового движения (общегородского значения), площади перед крупными общественными зданиями и сооружениями (стадионами, театрами, выставками, торговыми центрами, колхозными рынками и другими местами массового посещения)

Более 2000

1,0

15

От 1000 до 2000

0,8

15

От 500 до 1000

0,6

10

Менее 500

0,4

10

В

Улицы и дороги местного значения: жилые улицы, дороги промышленных и коммунально-складских районов, поселковые улицы и дороги

500 и более

Менее 500

0,4

0,2

6

4

Поселковые улицы, площади перед общественными зданиями и сооружениями поселкового значения

-

-

4

* Средняя яркость покрытия скоростных дорог принимается 1,6 кд2 независимо от интенсивности движения транспорта.

** Норму средней яркости или средней освещенности покрытия проезжей части в границах транспортного пересечения в двух и более уровнях следует принимать как для освещения основной магистрали, на которой оно расположено.

Примечание. Интенсивность движения транспорта должна приниматься с учетом перспективы развития на ближайшие 10 лет.

Уровень проезжей части улиц, дорог и площадей с переходными и низшими типами покрытий в городах и поселках регламентируется величиной средней горизонтальной освещенности, которая для улиц, дорог и площадей категории Б должна быть 6 лк, для улиц и дорог категории В при переходном типе покрытий - 4 лк и при покрытии низшего типа - 2 лк.

11.3. (5.3)*. Средняя яркость покрытий тротуаров, примыкающих к проезжей части улиц, дорог и площадей, должна быть не менее половины средней яркости покрытия проезжей части этих улиц, дорог и площадей, приведенной в табл. 73 (20).

* Глава СНиП II-4-7,9.

11.4 (5.4)*. Среднюю освещенность на уровне покрытия непроезжих частей улиц, дорог и площадей, бульваров и скверов, пешеходных улиц и территорий микрорайонов в городах и поселках следует принимать согласно табл. 74 (21).

* Глава СНиП II-4-79.

Таблица 74 (21)

Освещаемые объекты

Средняя горизонтальная освещенность, лк

Непроезжие части площадей категорий А и Б и предзаводские площади

10

Тротуары, отделенные от проезжей части:

 

на улицах категории А

4

»         »    категории Б и В

2*

Посадочные площадки общественного транспорта на улицах всех категорий

10

Пешеходные мостики

10

Автостоянки на улицах всех категорий

4

Пешеходные тоннели:

 

днем

100

вечером и ночью

40

Лестницы пешеходных тоннелей вечером и ночью

20

Пешеходные улицы

4

Пешеходные дорожки бульваров и скверов, примыкающих к улицам:

 

категории А

6

»         Б

4

»         В

2

Территории микрорайонов

 

Пешеходные аллеи и дороги

 

Внутренние, служебноозяйственные и пожарные проезды, тротуары-подъезды

2

Автостоянки, хозяйственные площадки и площадки при мусоросборниках

2

Прогулочные дорожки

1

* Норма распространяется также на освещенность тротуаров, примыкающих к проезжей части улиц категорий Б и В с переходными и простейшими типами покрытий.

11.5 (5.10)*. Средняя горизонтальная освещенность обособленного трамвайного пути должна быть 4 лк. Норма освещения трамвайных путей, расположенных на проезжей части улицы, должна соответствовать норме освещения улицы.

11.6 (5.11)*. Среднюю горизонтальную освещенность дорожного покрытия проезжей части городских транспортных тоннелей следует принимать по табл. 75 (25).

Таблица 75 (26)

Режим освещения

Средняя горизонтальная освещенность, лк, на расстоянии от начала въездного портала, м

5

25

50

75

100

125 и более

Дневной:

 

 

 

 

 

 

для тоннелей длиной до 100 м

1000

750

500

200

60

-

для тоннелей длиной более 100 м

1000

750

500

300

150

60

Вечерний и ночной

60

60

60

60

60

60

Для тоннелей длиной до 60 м с прямолинейной трассой искусственное освещение следует проектировать по нормам для вечернего и ночного режима освещения.

11.7 (5.12)*. Средняя горизонтальная освещенность проездов под путеводами и мостами в темное время суток должна быть не менее 30 лк при длине проезда до 40 лк, а при большей длине принимается по нормам освещения тоннелей согласно табл. 75 (25).

11.8 (5.16)*. Осветительные установки должны обеспечивать качественные показатели освещения: равномерность распределения яркости (отношение максимальной яркости к минимальной) или освещенности (отношение максимальной освещенности к средней) и ограничение слепящего действия установок.

Таблица 76 (18)

Светораспределение светильников

Наибольший световой поток ламп в светильниках, установленных на одной опоре, лм

Наименьшая высота установки светильников, м, при источниках света

лампы накаливания

газоразрядные лампы

Полуширокое

Менее 5000

6,5

7

От 5000 до 10000

7

7,5

Св. 10000 » 20000

7,5

8

»  20000    »      30000

-

9

»  30000    »      40000

-

10

»  40000

-

11,5

Широкое

Менее 5000

7

7,5

От 5000 до 10000

8

8,5

Св. 10000 » 20000

9

9,5

»  20000 » 30000

-

10,5

»  30000 » 40000

-

11,5

»  40000

-

13

* Глава СНиП II-4-79.

На улицах, дорогах и транспортных зонах площадей категории А и Б показатель ослепленности для осветительных установок не должен превышать 150.

Для осветительных установок улиц и дорог категории В, а также осветительных установок, уровень освещения которых регламентируется нормами средней освещенности, наименьшая высота расположения светильников по условиям ограничения ослепленности должна приниматься по табл. 76 (18).

Светильники наружного освещения, установленные на стенах зданий, не должны засвечивать окна жилых зданий.

Венчающие светильники рассеянного света должны устанавливаться на высоте не менее 3 м при световом потоке источника света до 6000 лм и на высоте не менее 4 м при световом потоке источника света свыше 6000 лм.

Осветительные приборы и способы их размещения

11.9. Для освещения улиц, проездов и площадей должны применяться светильники наружного освещения, исполнение которых должно соответствовать условиям окружающей среды.

Применение для наружного освещения указанных объектов прожекторов, открытых ламп без осветительной арматуры не допускается.

11.10 (5.17)*. В установках наружного освещения при средней яркости дорожного покрытия 0,4 кд/м2 и более и средней освещенности 4 лк и более следует применять преимущественно светильники с газоразрядными источниками света.

* Глава СНиП II-4-79.

Высокоэкономичные газоразрядные лампы - дуговые ртутные высокого давления с исправленной цветностью (ДРЛ), натриевые высокого давления (ДНаТ) и металлогалогенные (ДРИ) - рекомендуется использовать: лампы ДРЛ различной мощности - на улицах и дорогах всех категорий, а также в транспортных и пешеходных тоннелях; лампы ДНаТ - на улицах и дорогах категорий А и Б при норме средней яркости 1,6 кд/м2 или средней освещенности 10 лк и выше, а также во въездных зонах транспортных тоннелей; лампы ДРИ - на улицах всех категорий при норме средней яркости 0,4-0,8 кд/м2, или средней освещенности 4-10 лк.

11.11. На магистральных улицах и дорогах при интенсивности движения 2 тыс. авт/ч, а также в районах, в которых воздушная среда содержит более 0,5 мг/м3 пыли, дыма и копоти, следует, как правило, применять закрытые пылезащищенные светильники.

11.12. Освещение транспортных и пешеходных тоннелей должно выполняться закрытыми светильниками, как правило, струезащищенного исполнения.

11.13. Основные схемы размещения светильников (фонарей)1 на улицах и дорогах должны соответствовать приведенным на рис. 16.

1 Фонарь - опора и кронштейны с расположенными на них светильниками. Шаг фонарей или отдельных светильников - расстояние между фонарями или отдельными светильниками в одном ряду по линии их расположения вдоль улицы.

Отношение шага фонарей или отдельных светильников к высоте подвеса светильников на улицах всех категорий должно быть не более 5:1 при одностороннем, осевом или прямоугольном их размещении и не более 7:1 при шахматной схеме размещения.

Рис. 16. Схемы размещения светильников на улицах и дорогах

а - односторонняя; б - двухрядная в шахматном порядке; в - двухрядная прямоугольная; г - осевая; д - двухрядная прямоугольная по осям движения:; е - двухрядная прямоугольная по оси улицы

Рис. 17. Схемы размещения светильников на закруглениях улиц и дорог

Рис. 18. Схемы размещения светильников на пересечениях в одном уровне

а, б, в - на четырехсторонних пересечениях; г, д - на примыканиях

При ширине проезжей части 12-15 м и нормативной яркости покрытия 0,6 кд/м2 и выше допускается двустороннее освещение проезжей части. При ширине проезжей части 15 м и более двустороннее освещение следует предусматривать во всех случаях.

На рис. 1-9 приведены примеры размещения опор светильников на характерных поперечных профилях улиц, дорог и проездов.

11.14. На закруглениях улиц и дорог светильники рекомендуется размещать в соответствии с рис. 17.

При наличии на улицах и дорогах категорий А и Б продольных уклонов более 40 ‰, рекомендуется на длине уклона уменьшать принятый для осветительной установки шаг светильников на 10-15 %.

Если тротуар отделяется от проезжей части разделительной полосой шириной 5 м и более, для его освещения следует предусматривать дополнительную осветительную линию.

Рис. 19. Схемы размещения светильников на пересечениях в разных уровнях

а - на развязке; б - на съездах

11.15. Освещение пересечений в одном уровне следует выполнять в соответствии со схемами, приведенными на рис. 18, а в разных уровнях - в соответствии с рис. 19.

Освещение железнодорожных переездов и пешеходных переходов в одном уровне, как правило, должно обеспечиваться светильниками уличного освещения, располагаемыми по схемам, соответствующим рис. 20.

11.16. При проектировании осветительных установок следует учитывать наличие на улицах и дорогах деревьев и высоких кустарников, экранирующих световой поток светильников, падающий на поверхность дороги или тротуара.

При необходимости максимального сохранения сложившейся системы озеленения, не позволяющей привести расстояния от осветительных опор до деревьев и размеры крон деревьев в соответствие с главой СНиП II-60-75, для обеспечения нормируемых показателей установок рекомендуется:

а) использовать тросовый подвес светильников или удлиненные кронштейны, позволяющие вынести светильники за пределы крон;

б) снижать шаг светильников не менее чем в 1,2 раза;

в) увеличить световой поток светильников не менее чем в 1,2 раза путем замены источника света на более мощный или устанавливать дополнительный светильник на опоре.

Выбор того или иного варианта должен производиться на основе их технико-экономического сопоставления по приведенным годовым расходам.

11.17. В пределах проектируемого объекта (улица, дорога, проезд, площадь) рекомендуется сохранять один тип светильников, опор и кронштейнов. При необходимости усиления освещения отдельных участков следует повышать мощность источника света в светильнике (если это возможно) или устанавливать дополнительные светильники той же серии, что и основные.

Для улучшения условий видимости на пешеходных переходах и транспортных пересечениях в одном уровне рекомендуется использовать светильники с источниками света, отличающимися по цветности от источников света в установке улицы или дороги, на которой они расположены. При этом должны использоваться светильники той же внешней формы, что и на остальных участках улицы или дороги.

11.18. Конструкции опор должны приниматься в соответствии с действующими техническими правилами, нормативами, каталогами и типовыми проектами.

С целью сокращения числа опор, устанавливаемых на улицах и дорогах с трамвайным и троллейбусным движением, светильники наружного освещения следует, как правило, размещать на опорах контактной сети, а при наличии воздушной электрической сети общего пользования на опорах этой сети. Шаг опор в этих случаях должен определяться с учетом требований наружных осветительных установок.

Рис. 20. Схемы размещения светильников

а - на железнодорожном переезде; б - на пешеходном переходе

Распределительные сети наружного освещения рекомендуется выполнять кабельными на участках улиц с троллейбусным движением в местах наибольшей вероятности схода штанг.

Светильники на опорах воздушной электрической сети общего пользования рекомендуется располагать ниже проводов этой сети или по другую сторону опоры на уровне проводов; допускается устанавливать консольные светильники выше проводов указанной воздушной сети при условии обеспечения расстояния в плане от края светильника до ближайшего провода не менее 0,6 м.

11.19. Опоры установок наружного освещения рекомендуется располагать на расстоянии не менее 0,6 м от лицевой грани бортового камня до внешней поверхности цоколя опоры. Это расстояние на жилых улицах допускается уменьшать до 0,3 м при условии отсутствия автобусного или троллейбусного движения, а также движения тяжелых грузовых машин.

На пересечениях улиц и дорог опоры, как правило, устанавливаются до начала закругления тротуаров и не ближе 1,5 м от различного рода въездов в единой линии установки опор. На мостах, путепроводах, эстакадах опоры наружного освещения устанавливаются в створе ограждений, в стальных станинах или на фланцах, прикрепляемых к несущим элементам инженерного сооружения.

Разрешается устанавливать опоры наружного освещения на центральной разделительной полосе шириной 5 м и более, а на разделительной полосе шириной 4 м - при устройстве стационарного ограждения и размещении опор в створе этого ограждения.

На улицах и дорогах, оборудованных кюветами, разрешается устанавливать опоры на берме за кюветом.

11.20. В транспортных тоннелях улучшение условий видимости на въезде в дневное время достигается снижением яркости в предпортальной зоне для адаптации глаз водителя или повышением яркости стен и дорожного покрытия во въездной зоне тоннеля.

Снижение яркости достигается путем устройства защитных экранов (люверс) в предпортальной зоне, увеличением высоты портала, окраской стен рамп и портала в черный цвет и др.

Повышение яркости достигается путем увеличения освещенности во въездной зоне (горизонтальной освещенности проезжей части, а также вертикальной освещенности стен), применением белой облицовки поверхности стен и осветлением дорожного покрытия.

Для снижения мощности осветительной установки рекомендуется комплексное использование обоих способов.

11.21. Светильники в транспортных тоннелях устанавливаются, как правило, на стенах в углах перекрытия. На въезде допускается увеличивать число рядов светильников. Светильники на въезде рекомендуется состыковывать в светящиеся линии. Высота расположения светильников должна быть не менее 4 м.

Рекомендуется предусматривать автоматические способы регулирования освещения на въезде в тоннели в зависимости от характеристик естественного освещения.

В пешеходных тоннелях рекомендуется светильники устанавливать по оси перекрытия при ребристом потолке или на стенах в углах перекрытия при гладком потолке.

11.22. В осветительных установках больших транспортных развязок и городских площадей для сокращения числа опор и улучшения условий видимости рекомендуется использовать высокие опоры (24 м и выше) при условии обеспечения удобства обслуживания высокорасположенных светильников.

Парапетные системы освещения, используемые для проезжих частей мостов и путепроводов, допускается применять ограниченно, в случаях, когда другие решения категорически исключаются.

11.23. Для улучшения параметров наружных осветительных установок рекомендуется использовать новые осветленные дорожные покрытия, обладающие повышенной отражательной способностью.

В качестве материалов, позволяющих повысить отражательные характеристики асфальтобетонных покрытий, рекомендуется использовать (вместо гранитного щебня) светлые каменные материалы: естественные - природный кварц, светлый высокопрочный известняк и др. и искусственные - синопал, люксовит, дорсил.

Осветленные покрытия должны применяться в первую очередь на скоростных дорогах и магистральных улицах общегородского значения, в транспортных и пешеходных тоннелях, на пересечениях в одном уровне, а также на пешеходных переходах.

При использовании осветленных покрытий разметка на дорожном полотне должна быть выделена темной окантовкой.

На широких улицах, для которых представляет определенные трудности обеспечение нормируемой поперечной равномерности распределения яркости, рекомендуется использовать по полосам движения разное содержание осветленного щебня, увеличивающиеся по мере удаления от линии размещения светильников.

12. ОЗЕЛЕНЕНИЕ

Основные виды зеленых насаждений на городских улицах и дорогах

12.1. Зеленые насаждения на улицах, дорогах и площадях населенных мест должны обеспечивать защиту населения от шума, пыли, выхлопных газов, улучшать микроклимат (повышение влажности, создание тени), удовлетворять архитектурно-художественным требованиям и условиям безопасности движения - видимости транспортных средств, пешеходов и средств регулирования движения. Ассортимент древесно-кустарниковых пород подбирается в соответствии с местными климатическими условиями, с категориями городских улиц и дорог, а также с общим композиционным решением улиц, дорог и площадей.

12.2. Основными элементами системы озеленения городских улиц и дорог являются:

бульварные полосы с рядовой и групповой посадкой деревьев и кустарников и бульварные полосы, занимающие обособленные территории с устройством дорожек и площадок отдыха. Для повышения гигиенического значения насаждений бульваров рекомендуется размещать их не по оси улицы, а по обеим ее сторонам. Архитектурно-планировочное решение бульвара определяется его назначением, расположением в плане города, габаритами и климатическими условиями города. В случае расположения бульвара на набережной или жилой улице, его используют для прогулок и отдыха, на улицах с интенсивным движением - для транзитного движения пешеходов. Исходя из этого решается планировка бульвара. В первом случае применяются пейзажные приемы озеленения с преобладанием групповых посадок, во втором - создание зеленых насаждений как защитных полос. Ширину бульвара рекомендуется принимать не менее 15 м. Краевые линии бульвара ограждают кустарником, создавая зеленые изгороди;

скверы - наиболее распространенная форма озеленения городских улиц и площадей. Площадь скверов не должна превышать 3-4 га, а размещение в плане города должно быть увязано с их целевым назначением. В частности, скверы, расположенные на площадях, могут служить для регулирования движения транспорта. Скверы в соответствии с их назначением проектируют как не посещаемые населением, предназначенные для обеспечения безопасности движения транспорта на проезжих частях при пересечении в одном уровне; посещаемые населением для транзита и отдыха; архитектурно-декоративного назначения (около общественных зданий и памятников);

палисадники - форма озеленения в виде посадки деревьев и кустарников между тротуаром и застройкой; характерна для малоэтажной застройки. В некоторых случаях может решаться как курдонер - открытым двором с озеленением;

зеленые изгороди из кустарников - самостоятельный элемент озеленения. Рекомендуются в качестве ограждающих конструкций между проезжей частью и тротуаром, на бровке и у подошвы откосов, у трамвайных путей, вдоль парапетов транспортных тоннелей и т.д. Для зеленых изгородей используют кустарник в однорядной или двухрядной посадке. Минимальная ширина полос принимается согласно табл. 77;

Таблица 77

Озеленение полосы

Наименьшая ширина полосы, м

Рядовая, посадка деревьев и деревья в одном ряду с кустарником при посадке:

 

однорядной

2

двухрядной

5

Однорядная посадка кустарника:

 

высокого (свыше 1,8 м)

1,2

среднего (от 1,2 до l,8 м)

1

низкого (до 1,2 м)

0,8

Групповые или куртинные посадки:

 

деревьев

4,5

кустарников

3

Газон

1

разделительные полосы - для разделения отдельных элементов улиц, дорог и площадей. При ширине разделительных полос от 1 до 5 м, а также при наличии полос, отделяющих трамвайные пути, устраивают газоны с посадкой кустарника высотой не более 0,5 м, а также цветники. При ширине полос свыше 5 м возможна посадка деревьев и кустарников;

участки и полосы газонов, цветников, отдельных групповых посадок деревьев и кустарников - партерные газоны; садово-парковые газоны; луговые газоны; газоны на откосах и склонах;

шумогазозащитные полосы зеленых насаждений.

В республиках Средней Азии и других засушливых районах озеленение улиц проектируется в комплексе с обводнением для орошения насаждений и улучшения микроклимата.

12.3. Основные типы зеленых насаждений, которые применяются на улицах и дорогах, разделяются в зависимости от назначения и ширины участков, отводимых под озеленение, и характеризуются:

однорядной посадкой деревьев в лунках на тротуаре;

рядовой посадкой деревьев на газонных полосах (вдоль проезжей части улиц местного значения при ширине газонных полос от 3 до 6 м);

совмещением рядовой посадки деревьев с групповой и рядовой посадкой кустарников;

совмещением рядовой посадки деревьев с групповой или одиночной посадкой деревьев и кустарников (при ширине газонной полосы более 5 м). Ширину полос зеленых насаждений (без учета размещения коммуникаций) рекомендуется принимать согласно табл. 77.

Размещение различных типов зеленых насаждений

12.4. Однорядная посадка деревьев в лунках на тротуаре проектируется при невозможности устройства газонных полос (узкий тротуар, наличие подземных коммуникаций под газонной полосой). Приствольные лунки рекомендуется принимать размером 1,5×1,5 м с металлическими решетками на деревянном или металлическом каркасе. На жилых улицах при достаточной ширине тротуара рекомендуется устройство цветников в лунках с оформлением лунок камнем.

12.5. Расстояние между деревьями при рядовой посадке должно быть не менее 5 м и зависеть от размера кроны взрослого дерева. При озеленении саженцами расстояние между деревьями можно уменьшать в расчете на последующую вырубку малоценных экземпляров.

12.6. Расстояние от деревьев до бордюра проезжей части зависит от интенсивности и скорости движения транспорта, наличия кабеля освещения, контактной сети и ее опор и др. При учете всех условий (кроме складирования снега) минимальное расстояние от бордюра проезжей части до ствола дерева должно быть не менее 3 м; при отсутствии кабеля освещения и контактной сети от ствола дерева - не менее 2,5 м, до кустарника - 1 м. На полосах для складирования снега не должно быть древеснокустарниковых насаждений, а расстояние насаждений от бордюра проезжей части определяется шириной полосы для складирования снега.

12.7. Расстояние между посадочными местами деревьев с широкой кроной и кустарников должно быть не менее 2 м.

Для Северной строительно-климатической зоны расстояние между деревьями в рядовых посадках рекомендуется 3 м; между крупными кустарниками высотой 1 м и более - 1,5 м; между мелкими кустарниками высотой 1 м - 1 м; расстояние между кустарниками в двухрядной живой изгороди - 0,3-0,5 м.

Размеры посадочных мест в Северной строительно-климатической зоне в зависимости от засоленности почвы, глубины залегания мерзлоты, надмерзлотных вод и мощности плодородного слоя почвы принимают:

на незасоленных и слабозасоленных почвах с глубоким залеганием мерзлоты (до 2 м и более) для деревьев 2×2×1,2 м; для высоких кустарников - 1×1×0,8 м; для низких кустарников - 0,8×0,8×0,6 м;

на тех же почвах с неглубоким залеганием мерзлоты (до 0,5 м) для деревьев и крупных кустарников - 2,5×2,5 м (до мерзлоты), для мелких кустарников - 1,5×1,5×0,3 м.

12.8. Цветочное оформление скверов, бульваров и улиц является наиболее трудоемким и дорогостоящим видом озеленения. При оформлении цветами скверов и бульваров рекомендуется широкое применение многолетников, особенно при ландшафтной планировке этих объектов. Оформление улиц цветниками из летников под пологом крон вместо посева газонных трав категорически запрещается. Цветочное оформление подразделяют на следующие основные типы: партеры, клумбы, рабатки, смешанные бордюры, смешанные группы, массивы, розарии, альпинарии.

12.9. Независимо от климатических условий во всех проектах озеленения следует предусматривать устройство поливочного водопровода. Способ полива может быть поверхностный, самотечный, по бороздам, дождеванием, из поливомоечных машин, брызгалками, комбинированный и выбирается на основе технико-экономического сравнения. Полив зеленых насаждений на полосах бульваров и скверов рекомендуется предусматривать из городового хозяйственно-питьевого или специального поливочного водопровода.

Приближение зеленых насаждений к проезжим частям городских дорог и другим сооружениям

12.10 (7.9). Расстояние от зданий и сооружений до деревьев и кустарников следует принимать по табл. 78 (35).

Таблица 78 (35)

Здания и сооружения

Расстояния до оси, м

ствола дерева

кустарника

От наружных стен зданий и сооружений

5

1,5

От осей трамвайных путей

5

3

От края тротуаров и садовых дорожек

0,7

0,5

От края проезжей части улиц, кромок укрепленных полос обочин дорог или бровок канав

2

1

От мачт и опор осветительной сети, трамвая, колонн, галерей и эстакад

4

-

От подошвы откосов, террас и др.

1

0,5

От подошвы или внутренней грани подпорных стенок

3

1

От подземных сетей:

 

 

газопроводов, канализации

1,5

-

теплопроводов (от стенок канала и трубопроводов тепловых сетей при бесканальной прокладке), водопроводов, дренажей

2

2

1

-

силовых кабелей и кабелей связи

2

0,7

Примечания: 1. Приведенные нормативы относятся к деревьям с диаметром кроны не более 5 м и должны быть соответственно увеличены для деревьев с кроной большего диаметра.

2. Расстояния от воздушных электросетей до деревьев следует принимать по правилам устройства электроустановок.

Примеры размещения зеленых насаждений и городских подземных сетей в поперечном профиле магистральной и жилой улиц показаны на рис. 21.

12.11. Полосы зеленых насаждений должны иметь поперечные уклоны в пределах 5-50 , за исключением шумозащитных кавальеров. При больших уклонах рекомендуется устраивать террасы.

12.12. У пешеходных переходов и остановок общественного транспорта посадка деревьев и кустарников выше 0,5 м запрещена на расстоянии 10 м от ближайшей линии, ограничивающей переход или остановку, считая по ходу движения транспорта.

Требования к размещению и типам зеленых насаждений в целях охраны окружающей среды

12.13. При выборе ассортимента деревьев и кустарников для озеленения улиц и дорог следует учитывать их дендрологические и экологические свойства, декоративные качества, газопылеустойчивость и шумозащитную эффективность.

12.14. Защиту жилых территорий от шума и выхлопных газов автотранспорта на скоростных дорогах и магистралях непрерывного движения рекомендуется осуществлять так называемыми «изолирующими» зелеными насаждениями. Эти насаждения представляют собой механическую преграду на пути распространения звуковых волн и состоят из нескольких рядов основных и дополнительных древесных пород и ярусов кустарников с общей шириной полосы озеленения от 10 до 30 м.

Посадку деревьев и кустарников в такой полосе рекомендуется производить с учетом данных табл. 79 по следующей схеме (для полосы шириной 25 м):

I      ряд - низкий кустарник

II      » -    высокий     »

III     » -    дополнительные древесные породы

IV     » -    основные древесные породы

V      » -    то же

VI     » -       »

VII    » -       »

VIII  » -  дополнительные древесные породы

IX     » -  кустарник высокий

Деревья в полосах зеленых насаждений высаживаются высотой не менее 7-8 м, кустарники - не менее 1,5-2 м. Низкие и высокие кустарники, размещаемые в первых рядах со стороны источников шума, должны плотно закрывать подкронное пространство. Ряды насаждений, примыкающие к основным проезжим частям скоростных магистралей, рекомендуется формировать газоустойчивыми древесно-кустарниковыми породами, размещая их в шахматном порядке для наибольшего эффекта снижения уровня шума.

12.15. Расчет эффективности снижения уровня шума полосами насаждений в конкретных условиях рекомендуется производить по данным табл. 80.

Рис. 21. Пример размещения зеленых насаждений и городских подземных сетей в поперечном профиле

а - магистральных улиц; б - улиц местного значения; 1 - тротуар; 2 - газон; 3 - проезжая часть; 4 - электрокабели; 5 - газопровод; 6 - водопровод; 7 - водосточный трубопровод; 8 - канализационный коллектор; 9 - общий коллектор; 10 - телефонная канализация

Таблица 79

Насаждения

Расстояние между деревьями, м

в ряду

между рядами

Порода:

 

 

основная

3

3

дополнительная

2

2

Кустарник:

 

 

высокий

1-1,5

1,5

низкий

0,5

1,5

Таблица 80

Ширина полосы, м

Характеристика шумозащитной полосы

Снижение уровня шума полосой зеленых насаждений, дБА, при интенсивности движения транспорта, авт/ч

60

200

600

1200

1600

2000

2500

10

Трехрядная посадка лиственного, липы мелколистной, тролистного, вяза обыкновенного, липы мелколистной, тополя бальзамического в рядовой конструкции посадок с кустарником в живой изгороди или подлеском из клена татарского, спиреи калинолистной, жимолости татарской

6

7

8

8

8

8

8

15

Четырехрядная посадка лиственных деревьев: липы мелколистной, клена остролистного, тополя бальзамического в рядовой конструкции посадок, с кустарником в двухъярусной живой изгороди и подлеском из акации желтой, спиреи калинолистной, горловины, жимолости татарской

7

8

9

9

9

9

9

15

Четырехрядная посадка хвойных деревьев: ели, лиственницы сибирской в шахматной конструкции посадок с кустарником - в двухъярусной живой изгороди из дерна белого, клена татарского, акации желтой, жимолости татарской

13

15

17

17

18

18

18

20

Пятирядная посадка лиственных деревьев: липы мелколистной, тополя бальзамического, вяза обыкновенного, клена остролистного в шахматной конструкции посадок с кустарником в двухъярусной живой изгороди и подлеском из спиреи калинолистной, жимолости татарской, боярышника сибирского

8

9

10

10

10

10

10

20

Пятирядная посадка хвойных деревьев: лиственницы сибирской, ели обыкновенной в шахматной конструкции посадок с кустарником в двухъярусной живой изгороди и подлеском из спиреи калинолистной, акации желтой, боярышника сибирского

14

16

18

18

19

19

19

25

Шестирядная посадка лиственных деревьев: клена остролистного, вяза обыкновенного, липы мелколистной, тополя бальзамического в шахматной конструкции посадок с кустарником в двухъярусной живой изгороди и подлеском из дерна белого, боярышника сибирского, клена татарского

8

9

10

11

11

11

11

30

7-8-рядная посадка лиственных деревьев: липы мелколистной, клена остролистного, тополя бальзамического, вяза обыкновенного в шахматной конструкции посадок с кустарником в двухъярусной живой изгороди и подлеском из клена татарского, жимолости татарской, боярышника сибирского, дерна белого

9

9

10

11

11

11

11

12.16. При озеленении улиц и дорог следует учитывать защитные возможности зеленых насаждений, создавая посадки так называемого «фильтрующего» типа. В посадках насаждений такого типа рекомендуется использовать газоустойчивые породы, приведенные в табл. 81.

Таблица 81

Растения

Газоустойчивость, балл

Очень чувствительные

 

Сосна обыкновенная

4,3

Лиственница европейская

4,8

Ель обыкновенная

5,1

Чувствительные

-

Ива ломкая

5,2

Барбарис обыкновенный

5,3

Ирга обильноцветущая

6,2

Липа мелколистная

6,5

Ива прутковидная

6,7

Лапчатка кустарниковая

6,8

Сравнительно газоустойчивые

 

Тополь (разные виды)

7,4

Смородина альпийская

7,7

Карагана древовидная

8

Калина-гордовина

9

Боярышник обыкновенный

9,7

Береза бородавчатая

9,7

Сирень обыкновенная

10

Ель колючая

10

Ясень обыкновенный

10,7

Роза морщинистая

12,3

Довольно газоустойчивые

 

Бузина красная

14,2

Калина обыкновенная

14,5

Клен яснелистный

17,3

Жимолость татарская

16,7

Очень газоустойчивые

 

Дуб черешчатый

18

Спирея бумальда

18,3

Бирючина обыкновенная

18,9

Черемуха виргинская

19,9

12.17. При озеленении улиц и дорог для ориентировочной оценки комплексного защитного действия полос зеленых насаждений рекомендуется использовать в качестве примера оценку эффективности типовой защитной полосы зеленых насаждений шириной 20 м, сформированной из пяти рядов деревьев с кустарником в подлеске и живой изгородью со стороны шума, которая: при уровне шума на магистрали 75 дБА снижает уровень шума на 10-15 дБА; сокращает концентрацию вредных микрочастиц воздуха со 100 до 25 % в единице объема; уменьшает скорость ветра с 10 до 2 м/с; снижает концентрацию выхлопных газов до 15 % в единице объема.

13. ГОРОДСКИЕ ИНЖЕНЕРНЫЕ СЕТИ

Размещение инженерных сетей на городских улицах и дорогах

13.1. Инженерные сети городов и других населенных пунктов следует проектировать как комплексную систему, объединяющую все надземные, наземные и подземные сети с учетом их развития на расчетный период.

По назначению инженерные подземные сети подразделяются на:

трубопроводы - водоводы и водопровод, фекально-хозяйственную канализацию, водостоки, дренаж, газопроводы, теплопроводы, специальные трубопроводы промышленных предприятий (нефтепроводы, продуктопроводы, воздухопроводы и т.п.);

кабельные сети высокого и низкого напряжения и сети слабого тока;

общие коллекторы и тоннели для размещения кабелей и трубопроводов различного назначения.

По категориям инженерные подземные сети подразделяются на:

транзитные, обслуживающие город, его районы и крупные предприятия;

разводящие, обслуживающие кварталы и группы домов;

внутриквартальные, обслуживающие здания в пределах квартала.

13.2. При составлении генеральных планов населенных мест разрабатывают схемы инженерных подземных сетей на планах в масштабах 1:10000 и 1:25000. Размещение сетей по отдельным улицам и дорогам проектируют на геодезической основе в масштабе 1:500, выделяя прежде всего зоны для магистральных и разводящих сетей. Для каждой улицы составляют 1-2 поперечных профиля в масштабе 1:50 или 1:100 в пределах красных линий застройки, показывая на них положение всех проектируемых и существующих подземных сетей.

Высотное положение подземных сетей фиксируют на совмещенном продольном профиле с горизонтальным масштабом 1:500 и вертикальным 1:100. Для тепловых сетей иногда принимается вертикальный масштаб 1:50.

При составлении схемы комплексного размещения подземных сетей увязывают между собой прокладки различных видов, проводят вертикальное зонирование сетей и решают схемы их пересечения с крупными подземными сооружениями (пешеходными и транспортными тоннелями, тоннелями метрополитена мелкого заложения и пр.).

13.3. При проектировании городских улиц и дорог следует предусматривать возможность прокладки под ними следующих магистральных подземных сетей: канализации, водостоков, дренажей, водопровода, газопроводов, теплопроводов, силовых кабелей высокого и низкого напряжения, кабеля электротранспорта и связи, электрокабелей городского освещения высокого и низкого напряжения, кабелей связи энергохозяйства, кабелей пожарной и других видов сигнализации.

13.4. Исходными данными для проектирования инженерных подземных сетей является их плановое и высотное положения, а также сечение коллектора или диаметр трубы, отметка верха или лотка сооружения, колодцы и камеры с отметкой крышек, количество кабелей, число отверстий телефонной канализации.

Основой для разработки проекта размещения проектируемых и переустройства существующих инженерных подземных сетей служат топографогеодезический план в масштабе 1:500, заблаговременно выполненный специализированной организацией или подготавливаемый путем корректуры неполных материалов со съемной в натуре сетей по колодцам или по открытым шурфам.

13.5. Под центральными проезжими частями СД, МНД-I, МНД-II, МРД-I и МРД-II прокладка подземных сетей категорически запрещается. При соответствующем обосновании может быть допущена прокладка инженерных сетей под местными проездами МНД и МРД, а также под проезжей частью РМ и УДМ. В этих случаях, как правило, устраивают самотечные подземные сети - водостоки, фекально-хозяйственную канализацию, а также дренажи, предназначенные для понижения уровня грунтовых вод для обеспечения прочности и устойчивости дорожных покрытий.

В малых и средних городах при соответствующем обосновании самотечные подземные сети могут быть уложены под проезжими частями МРД.

Удаление подземных сетей от кромки проезжей части должно учитывать призму обрушения грунта в траншеях подземной прокладки.

13.6. При проектировании подземных сетей в зоне СД, МНД, МРД, как правило, надо предусматривать дублирующие прокладки, чтобы избежать поперечных пересечений этих магистралей. В полосе отвода СД допускаются прокладки подземных сетей, только обслуживающих непосредственно СД.

При ширине улиц между красными линиями 50 м и более следует размещать разводящие подземные сети, в первую очередь кабельные, с каждой стороны улицы в непосредственной близости от застройки, под тротуарами и полосами зеленых насаждений. При ширине улицы менее 50 м дублированные прокладки следует предусматривать только при наличии технико-экономического обоснования.

Для уменьшения длины вводов в здания при застройке новых кварталов рекомендуется вместо вводов в каждое здание проектировать внутриквартальную разводящую сеть.

13.7. Для обеспечения строящихся районов города водой, газом, теплом и электроэнергией подземные сети следует прокладывать до начала застройки микрорайонов: магистральные (городские и районные) сети - вдоль улиц, разводящие (микрорайонные) - вдоль микрорайонных проездов.

Магистральные городские сети прокладывают вдоль МНД и МРД на технических полосах, а магистральные районные сети - вдоль жилых улиц и проездов. При этом следует стремиться к совмещенным прокладкам сетей в одной траншее либо в общем канале или коллекторе. По экономическим соображениям магистральные районные сети следует прокладывать так, чтобы ширина полосы обслуживаемой ими территории была равна ширине межмагистральной территории (0,8-1,4 км).

При строительстве новых районов с озелененными улицами и свободной планировкой жилой застройки подземные сети размещают вне проезжей части - под техническими полосами, полосами зеленых насаждений, а в исключительных случаях - под тротуарами. Рекомендуется размещать инженерные подземные сети на незастроенных территориях вблизи полосы отвода улиц и дорог.

13.8. (11.32). Размещение раздельно прокладываемых подземных сетей проектируют с учетом срока их службы и вероятной частоты вскрытия. В полосе тротуара и прилегающего к нему газона на расстоянии не менее 0,5 м от красной линии прокладывают кабели слабого тока (пожарной сигнализации, радио, телевидения, междугородной связи и специального назначения), затем кабели телефонной связи и с разрывом 0,5-0,6 м - силовые кабели напряжением до 10 кВ. Кабели постоянного тока (троллейбуса, метро, трамвая) размещают на расстоянии 0,5 м от крайнего силового кабеля, а кабели линий высоковольтной передачи напряжением 35 кВ прокладывают в полосах зеленых насаждений на расстоянии не менее 2 м от ближайших подземных сетей.

Инженерные сети следует прокладывать преимущественно по улицам и дорогам, для чего необходимо в поперечных профилях улиц и дорог предусматривать места для укладки сетей: на полосе между красной линией и линией застройки - кабельные сети (силовые, связи, сигнализации и диспетчеризации); под тротуарами - тепловые сети или проходные коллекторы; на разделительных полосах - водопровод, газопровод и хозяйственно-бытовая канализация.

В пределах обочин и откосов городской дороги в выемке прокладываются кабельные сети, предназначаемые для обслуживания осветительных, телемеханических, сигнальных и других дорожных устройств.

Газопроводы следует располагать совместно с водопроводами под полосами озеленения или техническими полосами. Водопроводные магистрали располагаются на технических полосах или полосах озеленения городских улиц и дорог, а разводящая водопроводная сеть под полосами озеленения вдоль проездов. Трубопроводы канализации располагаются ближе к линии застройки с целью уменьшения длины выпусков из кварталов.

Тепловые сети должны располагаться под техническими полосами, а при их отсутствии - под тротуарами, чтобы не оказывать неблагоприятного влияния на зеленые насаждения.

Транзитные сети больших диаметров (водопроводные и тепловые магистрали, канализационные и водосточные коллекторы, газопроводы высокого давления и пр.) целесообразно прокладывать в отдельных траншеях на свободных местах технической полосы или полосы озеленения.

Колодцы и камеры подземных коммуникаций на городских улицах и дорогах должны быть доступны для осмотра и ремонта, обеспечены подъездами для доставки механизмов для водоотлива, прочистки трубопроводов и механизированного управления оборудованием.

При реконструкции проезжих частей улиц и дорог с устройством дорожных покрытий капитального типа, под которыми расположены инженерные подземные сети, следует предусматривать вынос этих сетей на разделительные полосы и под тротуары. При соответствующем обосновании допускается оставлять под полосами озеленения и тротуарами самотечные сети - хозяйственно-бытовую и дождевую канализацию.

Все подземные коммуникации на городских улицах и дорогах всех категорий должны быть вынесены из-под проезжей части и расположены в пределах технических полос и полос озеленения, а в исключительных случаях - под тротуарами.

Это полностью исключит неблагоприятное влияние колодцев и камер коммуникаций на дорожное покрытие и затруднения движения городского транспорта при осмотре и ремонте коммуникаций.

Существующие подземные инженерные сети, попадающие в зону вновь проектируемой дороги или улицы, как правило, перекладываются из-под проезжей части в коллекторы, проходящие под полосами озеленения.

13.9. Вопрос об одностороннем или двустороннем размещении инженерных подземных сетей должен решаться с помощью технико-экономического расчета в зависимости от ширины полосы отвода дороги или улицы, количества ответвлений, местных условий и пр.

При ширине улиц в пределах красных линий 60 м и более следует предусматривать прокладку сетей водопровода и канализации по обеим сторонам улиц.

13.10. Трассирование инженерных подземных сетей в зонах пересечений в разных уровнях 1, 2 и 3 классов следует стремиться предусматривать вне узла пересечения улиц и дорог по внешней границе пересечения (повторение конфигурации) или по прилегающим территориям и параллельным улицам.

Трассирование инженерных подземных сетей в профиле в пределах пересечений в разных уровнях при наличии подземного уровня (транспортного или пешеходного тоннеля) производится в общем коллекторе для подземных сетей параллельно конструкции тоннеля или над ним; в конструкции тоннеля или ниже отметки основания тоннеля - перпендикулярно к конструкции тоннеля.

При строительстве пересечений в разных уровнях по очередям прокладка и перекладка инженерных подземных сетей должна осуществляться в строгом соответствии с проектом пересечения на перспективу, чтобы избежать повторной перестройки подземных сетей.

13.11. При наличии достаточно мощного слоя засыпки над верхом перекрытия тоннеля (более 100 см) инженерные подземные сети располагаются в специальных каналах, блоках или в стальных железобетонных футлярах, прокладываемых в зоне засыпки. При необходимости инженерные подземные сети могут закладываться ниже отметки основания или в пандусной части тоннеля.

При размещении самотечных и напорных трубопроводов под тоннельным переходом или пандусом их прокладка производится в специальных каналах или футлярах, обеспечивающих разгрузку трубопроводов от расположенных над ними внешних нагрузок. При этом следует обеспечивать тщательное уплотнение грунта при засыпке траншей для подземных трубопроводов во избежание просадок и деформаций в конструкциях тоннелей и эстакад.

13.12. В конструкции тоннелей допускается размещать напорные трубопроводы и кабели при обеспечении их разгрузочными устройствами. В коробчатых или многопустотных балках перекрытия тоннеля допускается прокладка кабелей в асбестоцементных трубах и изолированных стальных трубопроводах диаметром до 400 мм с соответствующей отделкой видимых поверхностей и устройством съемного подшивного потолка.

13.13. Газопроводы под транспортными и пешеходными тоннелями разрешается размещать только в исключительных случаях при невозможности других решений. При наличии достаточной засыпки над верхом перекрытия тоннеля инженерные подземные сети могут располагаться в толще засыпки в специальных каналах, блоках или в стальных и железобетонных футлярах.

13.14. В коробчатых балках перекрытия тоннеля допускается размещение кабелей при их прокладке в асбестоцементных трубах и изолированных стальных трубопроводах диаметром до 400 мм. Напорные трубопроводы диаметром до 300 мм разрешается размещать на кронштейнах, вделанных в стенки тоннелей или общих коллекторов, а также в пазухах котлованов этих сооружений. Общие коллекторы для подземных сетей, прокладываемые параллельно тоннелям, допускается устраивать вплотную со стенкой тоннеля.

13.15. При пересечении с пешеходными или транспортными тоннелями, пересекающими полосу отвода городской улицы или дороги, подземные сети располагают в общих коллекторах, размещаемых вне подземных переходов под тротуарами.

Если устройство общего коллектора вдоль дороги не предусматривается, то подземные инженерные сети отводят в стороны от тоннелей, устраивая их в виде скоб, по возможности совмещаемых в общей траншее.

При расположении городской дороги в тоннеле все общегородские сети выносятся за пределы тоннеля, а в тоннеле под тротуарами оставляются только кабельные сети для обслуживания специальных устройств дороги (освещение, сигнализация и пр.) и тоннельные водостоки.

При расположении городской улицы или дороги в выемке порядок размещения подземных коммуникаций не меняется - все коммуникации прокладываются вне проезжей части на полосах озеленения, технических полосах, а в исключительных случаях - под тротуарами.

13.16. При расположении городских улиц и дорог на эстакаде все инженерные подземные сети общегородского значения располагаются вне эстакады, пересекая расположенные под эстакадой городские проезды, как правило, с применением закрытых способов прокладки инженерных сетей (щитовая проходка, продавливание и пр.).

Необходимые для обслуживания городской дороги кабельные сети располагаются на эстакаде под покрытиями тротуаров.

13.17. Рекомендуемое расположение инженерных подземных сетей в поперечном профиле городских улиц и дорог различных категорий показано на рис. 1-9.

При реконструкции существующих улиц и дорог, недостаточной ширине и отсутствии технических полос и полос озеленения, в стесненных условиях и т.д. рекомендуется:

силовые электрокабели прокладывать на расстоянии 0,6 м от красной линии до первого кабеля, последующие кабели - через 0,15 м один от другого, глубина прокладок 0,6-0,8 м;

кабели освещения прокладывать непосредственно в грунте на глубине 0,7 м и защищать сверху от возможных повреждений, с каждой стороны улицы располагать по три кабеля: два кабеля низкого напряжения, соединенные со светильниками, и один - высокого напряжения (фидерный кабель);

телефонные кабели прокладывать на расстоянии 1,5-2 м от красной линии на глубине 0,8 м в трубах с устройством колодцев в местах поворота трассы, а на прямых участках - через 50-60 м; при значительном количестве кабелей устраивают колодцы размером 2×3 м в плане.

Таблица 82 (66)

Сети

Расстояния, м, по горизонтали в свету от подземных инженерных сетей, до

 

фундамента зданий и сооружений, путепроводов и тоннелей

ограждений опор контактной сети и связи

оси крайнего пути

бортового камня улицы, дороги

наружной бровки кювета или до подошвы насыпи (улицы, дороги)

фундаментов опор воздушных линий электропередач напряжением

 

железной дороги 1520 мм, но не менее глубины траншеи до подошвы насыпи и бровки выемки

трамвая

до 1 кВ и наружного освещения

св. 1 кВ до 35 кВ

110 кВ и выше

 

Водопровод и напорная канализация

5

1,5

4

2,8

2

1

1

2

3

 

Самотечная канализация (бытовая и дождевая)

3

3

4

2,8

1,5

1

1

2

3

 

Дренажи

3

1

4

2,8

1,5

1

1

2

3

 

Газопроводы давлением, КГс/см2:

 

 

 

 

 

 

 

 

 

 

низкого - до 0,05

2

1

3,8

2,8

1,5

1

1

5

10

 

среднего - св. 0,05 до 3

4

1

4,8

2,8

1,5

1

1

5

10

 

высокого:

 

 

 

 

 

 

 

 

 

 

св. 3 до 6

7

1

7,8

3,8

2,5

2

1

5

10

 

св. 6 до 12

10

1

10,8

3,8

2,5

2

1

5

10

 

Тепловые сети (от наружной стенки канала)

2

1,5

4

2,8

1,5

1

1

2

3

 

Кабели силовые

0,6

0,5

3,2

2,8

1,5

1

0,5

10

10

 

Кабели связи

0,6

0,5

3,2

2,8

1,5

1

см. примеч. 6

 

Общие коллекторы

2

1,5

10

2,8

1,5

1

1,5

5

10

 

 

Примечания: 1. Для электрифицированных железных дорог расстояние от оси ближайшего железнодорожного пути до силовых кабелей и теплопроводов следует принимать не менее 10,8 м.

2. Расстояние от водопроводов и напорной канализации до фундаментов городских путепроводов и тоннелей допускается принимать 2 м при условии прокладки указанных фундаментов на 0,5 м выше оснований путепроводов и тоннелей.

3. При бесканальной прокладке тепловых сетей расстояние до фундаментов зданий и сооружений следует принимать не менее 5 м.

4. В городах и других населенных пунктах, расположенных в климатических подрайонах IA, IБ, IГ и IД, расстояние от подземных сетей до фундаментов зданий и сооружений следует принимать согласно табл. 66, а от других сетей при строительстве с сохранением вечномерзлого состояния грунтов основания - по теплотехническому расчету, но не менее: 10 м - при бесканальной прокладке трубопроводов, 6 м - при прокладке в канале.

5. При заложении сетей ниже подошвы фундаментов зданий и сооружений более 0,4 м расстояния, указанные в табл. 66, следует увеличивать в зависимости от крутизны откосов, допускаемых для разных грунтов, их обводненности и консистенции, согласно требованиям глав СНиП производства и приемки работ по возведению земляных сооружений, а также по проектированию водопровода, канализации и тепловых сетей.

6. Расстояние от кабелей связи до опор фундаментов воздушных линий электропередачи следует принимать по нормам Министерства связи СССР.

Таблица 83 (67)

Сети

Расстояния, м, по горизонтали в свету, до

 

водопровода

канализации (бытовой)

дренажей и дождевой канализации

газопроводов давлением, кГс/см2

кабелей связи

тепловых сетей

общих коллекторов

 

низкого до 0,05

среднего св. 0,05 до 3

3-6

высокого

кабелей силовых

 

св. 3 до 6

св. 6 до 12

до 35 кВ

св. 35 кВ до 110 кВ

 

Водопровод

0,7-1,5

См. примеч. 1

1,5

1

1

1,5

2

1

1

1

0,5

1,5

1,5

 

Канализация (бытовая)

См. примеч. 1

0,4

0,4

1

1,5

2

5

0,5

0,5

1

0,5

3 - при бесканальной прокладке; 1 - при прокладке в канале

2

 

Дренажи и дождевая канализация

1,5

0,4

0,4

1

1,5

2

5

0,5

0,5

1

0,5

1

1,5

 

Газопроводы давлением, кГс/см2:

 

 

 

 

 

 

 

 

 

 

 

 

 

 

низкого - до 0,05

1

1

1

0,5

0,5

0,5

0,5

1

1

1

1

2

2

 

среднего - св. 0,05 до 3

1

1,5

1,5

0,5

0,5

0,5

0,5

1

1

1

1

2

2

 

высокого:

 

 

 

 

 

 

 

 

 

 

 

 

 

 

св. 3 до 6

1,5

2

2

0,5

0,5

0,5

0,5

1

1

1

1

2

4,

 

св. 6 до 12

2

5

5

0,5

0,5

0,5

0,5

2

2

2

2

4

4

 

Кабели силовые:

 

 

 

 

 

 

 

 

 

 

 

 

 

 

до 35, кВ

1

1

1

1

1

1

2

0,1-0,5

0,1-0,5

0,5

0,5

2

2

 

св. 35 кВ до 110 кВ

1

1

1

1

1

1

2

0,5

0,5

0,5

0,5

2

2

 

Кабельные линии связи

0,5

0,5

0,5

1

1

1

1

0,5

0,5

0,5

-

1

1

 

Тепловые сети

1,5

3 - при бесканальной прокладке; 1 - при канальной прокладке

1

2

2

2

4

2

2

2

1

-

2.

 

Общие коллекторы

1,5

2

1,5

2

2

4

4

2

2

2

1

2

-

 

Примечания: 1. При параллельной прокладке водопроводов питьевой воды с канализацией расстояние между трубопроводами должно быть не менее 1,5 м при водопроводных трубах 200 мм и не менее 3 м при диаметре свыше 200 мм. На этих участках водопроводные трубы должны быть металлическими.

2. При невозможности обеспечить указанные в табл. 67 расстояния между тепловыми сетями и электрокабелем следует предусматривать дополнительную теплоизоляцию теплопроводов из расчета, чтобы дополнительный нагрев грунта в любое время года не превышал 10 °С для кабелей напряжением до 10 кВ и 5 °С - для кабелей напряжением до 35-220 кВ.

3. При одновременной параллельной прокладке в одной траншее двух и более газопроводов расстояния между ними в свету должны быть: для труб диаметром до 300 мм - не менее 0,4 м, для труб диаметром более 300 мм - не менее 0,5 м.

4. Расстояние от бронированных кабелей связи до газопроводов следует принимать 1 м.

5. При совмещенной прокладке инженерных сетей в одной траншее расстояние в свету между трубопроводами допускается уменьшать по сравнению с указанными в табл. 67, обеспечивая при этом размещение камер, колодцев и других устройств, необходимых для монтажа и ремонта сетей.

6. При диаметре труб водопровода свыше 300 мм расстояние между ними и кабелями связи должно быть не менее 1 м.

7. При параллельной прокладке нескольких линий водопроводов расстояние между ними должно быть не менее: 0,7 м - при диаметре труб до 300 мм; 1 м - при диаметре от 400 до 1000 мм и 1,5 м - при диаметре свыше 1000 мм; такие же расстояния принимаются при параллельной прокладке нескольких напорных трубопроводов канализации. При разнице в глубине заложения смежных трубопроводов свыше 0,4 м расстояния, указанные в табл. 67, увеличиваются с учетом крутизны откосов траншей (см. примеч. 5 к табл. 66).

В виде исключения допускается размещать водосточную и канализационную сеть под тротуарами.

Расстояния от подземных сетей до сооружений. Взаиморасположение подземных инженерных сетей

13.18 (11.36). Размещение подземных сетей по отношению к зданиям, сооружениям, зеленым насаждениям и их взаимное расположение должно исключать возможность подмыва оснований фундаментов зданий и сооружений, повреждения близрасположенных сетей и зеленых насаждений, а также обеспечивать возможность ремонта сетей без затруднений для движения городского транспорта.

Расстояния в плане от подземных инженерных сетей до зданий и сооружений следует принимать по табл. 82 (66), а между инженерными подземными сетями - по табл. 83 (67).

Минимальная ширина полосы для нормального размещения одного комплекта инженерных подземных сетей должна составлять не менее 8-12 м, а при расположении одного комплекта сетей на двух полосах по обеим сторонам улицы или дорога - не менее 6-8 м.

13.19. Расстояние от газопровода до наружной стенки колодцев и камер подземных сооружений должно быть не менее 0,3 м.

Разводящая водопроводная сеть располагается на расстоянии не более 2,5 м от бортового камня для обеспечения подъезда к пожарным гидрантам. При расположении водопроводной сети на большом расстоянии от бортового камня необходимо предусматривать устройство асфальтированных площадок, обеспечивающих подъезд к колодцам с пожарными гидрантами, а в отдельных случаях при ширине тротуаров более 3,5 м - подъезд к пожарным гидрантам можно осуществлять по тротуарам.

13.20. В орошаемых районах при непросадочных грунтах расстояние от подземных инженерных сетей до оросительных каналов следует принимать (от бровки каналов) не менее:

от газопроводов низкого и среднего давления, а также от водопроводов, канализации, водостоков и трубопроводов горючих жидкостей - 1 м;

от газопроводов высокого давления до 6 кГс/см2, теплопроводов, хозяйственно-бытовой и ливневой канализации - 2 м;

от силовых кабелей и кабелей связи - 1,5 м.

Расстояние от оросительных каналов уличной сети до фундаментов зданий и сооружений должно составлять не менее 5 м.

13.21. Глубину заложения подземных сетей назначают с учетом их технологических особенностей, гидрогеологических условий и рельефа местности, а также способов производства работ.

Заглубление тепловых сетей от поверхности земли или дорожного покрытия должно приниматься не менее, м:

до верха перекрытий каналов и тоннелей - 0,5;

»     »     перекрытий камер - 0,3;

»     »     оболочки бесканальной прокладки - 0,7.

Допускается использовать перекрытия каналов и тоннелей в случае необходимости в качестве тротуаров.

13.22. Глубину заложения сетей следует назначать с учетом глубины промерзания грунта в данной местности и предотвращения их статическими и динамическими нагрузками с поверхности земли, но не менее указанной в табл. 84.

Таблица 84

Подземные сети

Глубина заложения сетей, считая от их верха, м

Водопровод при диаметре труб, мм:

 

до 300

Ниже глубины промерзания на 0,2 м

от 300 до 600

Выше глубины промерзания на 0,25 диаметра

св. 600

То же, на 0,5 диаметра

Канализация при диаметре труб, мм:

 

до 500

Выше глубины промерзания на 0,3 м

св. 500

То же, на 0,5 м, но не менее 0,7 м от планировочной отметки

Газопровод влажного газа

Ниже глубины промерзания

То же, осушенного газа

0,8-0,9 м

Теплопровод при прокладке в канале

0,5 м

То же, при бесканальной прокладке

0,7 м

Кабели вне проездов

0,7 м

То же, при пересечении проездов

1 м

Совмещенная прокладка инженерных подземных сетей

13.23. Инженерные подземные сети рекомендуется размещать в общих коллекторах; в них располагают линии водопровода, теплопровода, электрические кабели различного напряжения. Прокладка газопроводов всех видов в городских общих коллекторах запрещается.

В пределах территории жилого района следует прокладывать разводящую сеть, вводы, выпуски и дождевую сеть. К числу наиболее экономичных решений относится совмещение всех или большинства разводящих сетей в общем канале или коллекторе (в крайнем случае в одной траншее) с устройством наиболее коротких вводов в здания. Размещение сетей в общих коллекторах особенно целесообразно при реконструкции городских магистралей с развитым подземным хозяйством; при недостатке свободных мест в поперечном профиле улиц для размещения сетей в траншеях; на пересечениях с магистральными улицами и железнодорожными путями.

При совмещенной прокладке инженерных сетей в одной траншее расстояния в свету между трубопроводами по сравнению с нормативными допускается уменьшать, обеспечивая при этом размещение камер, колодцев и других устройств, необходимых для монтажа и ремонта сетей.

Теплосети рекомендуется прокладывать в общих коллекторах, располагаемых в технических зонах вдоль местных проездов, а в исключительных случаях - под тротуарами.

13.24. Минимальные расстояния в плане между подземными сетями при их совмещенной параллельной прокладке в одной траншее следует принимать по табл. 85.

Таблица 85

Подземные сети

Расстояние в свету, м, до

водопровода (стального)

канализации (водостока)

газопровода (стального)

теплопровода (наружной стенки)

Водопровод (стальной)

0,8

1-1,2

0,8

0,8

Канализация, водосток

1-1,2

0,4

0,8

0,8

Газопровод (стальной) давлением, кГс/см2:

 

 

 

 

до 0,05

0,8

0,8

0,4-0,5

0,5

0,05-3

0,8

0,8

0,4-0,5

1

Теплопровод

0,8

0,8

0,5-1

-

Расстояния, указанные в табл. 85, предусматривают расположение трубопроводов на одном уровне или с разницей в отметках их заложения не более 0,4 м; при большей разнице расстояния увеличивают исходя из откоса с уклоном 1:1.

Водопровод следует размещать выше канализационных трубопроводов; при разнице в отметках их заложения 0,4 м расстояние между ними принимают равным 1 м, при меньшей разнице или расположении этих трубопроводов на одном уровне это расстояние принимают равным 1,2 м.

13.25. В плане коллекторы следует прокладывать вдоль городских улиц и дорог параллельно оси проезжей части или красной линии. Наиболее целесообразно размещать коллекторы на технических полосах и под полосами зеленых насаждений. Пересечения коллекторов с другими сооружениями следует выполнять под прямым углом.

Продольный профиль коллектора должен обеспечивать самотечный отвод аварийных и грунтовых вод в пониженные точки, оборудованные средствами для удаления воды. Уклон лотка коллектора следует принимать 20 .

Глубину заложения коллектора следует назначать с учетом глубины пересекаемых коммуникаций и других сооружений, несущей способности строительных конструкций и температурного режима внутри коллектора.

Надземные инженерные сети

13.26. Расстояния по горизонтали в свету от надземных газопроводов, проложенных на опорах, до зданий и сооружений рекомендуется принимать не менее величин, указанных в табл. 86.

В случае если высота опоры превышает высоту линии электропередачи, расстояния между газопроводами и линией электропередачи следует принимать не менее высоты опоры газопровода.

Таблица 86

Сооружения

Минимальные расстояния в свету, м, от зданий и сооружений до надземных газопроводов, проложенных на опорах, при давлении, кГс/см2

до 0,05

0,05-3

3-6

6-12

Производственные и складские здания с производствами, относящимися по пожарной опасности к категориям:

 

 

 

 

А, Б и В

5

5

 

10

Г и Д

2

2

2

5

Открытые склады легковоспламеняющихся и горючих жидкостей и склады сгораемых материалов:

 

 

 

 

на территории промпредприятий

10

10

20

20

вне территории промпредприятий

20

20

40

40

Жилые и общественные здания

2

5

5

 

Железнодорожные и трамвайные пути (до ближайшего рельса)

3

3

3

3

Подземные коммуникации: водопровод, канализация, трубы теплопровода, телефонная канализация, электрические кабельные блоки (от края фундамента опоры газопровода)

1

1

1

1

Ограда открытой электростанции

10

10

10

10

Провода воздушных линий электропередачи

Не менее высоты опоры линий электропередачи

Автомобильные дороги, улицы (от бордюрного камня, внешней бровки кювета или подошвы насыпи)

1,5

1,5

1,5

1,5

Сооружения с открытыми источниками огня и места выпуска расплавленного металла

10

10

10

10

13.27. Расстояния в свету между надземными газопроводами и трубопроводами другого назначения при их совместной прокладке и пересечении должны приниматься:

при диаметре газопровода до 300 мм - не менее диаметра газопровода, но не менее 100 мм;

то же, св. 300 мм - не менее 300 мм.

При пересечении с воздушными линиями электропередачи надземные газопроводы должны проходить ниже этих линий. Расстояния от газопроводов до проводов воздушных линий электропередачи по вертикали следует принимать в зависимости от напряжения по табл. 87.

Таблица 87

Напряжение ЛЭП, кВ

Минимальные расстояния по вертикали между надземными газопроводами и воздушными линиями электропередачи при пересечении в свету, м

До 1

1

20

3

35-110

4

150

4,5

220

5

330

6

500

6,5

13.28. Расстояния от проводов ЛЭП до газопровода и его выступающих конструкций принимаются: по горизонтали - при наибольшем отклонении проводов, по вертикали - по наибольшей стреле провеса. При определении минимальных горизонтальных и вертикальных расстояний между воздушными линиями электропередачи и газопроводом защитные ограждения, установленные над ним (в виде решеток, галереи, площадок), рассматриваются как части газопровода.

При надземной прокладке тепловых сетей на низких опорах расстояние в свету от поверхности земли до низа тепловой изоляции трубопроводов должно быть не менее 0,35 м.

Прокладку газопроводов по железнодорожным и автомобильным мостам следует предусматривать в соответствии с требованиями главы СНиП по проектированию мостов и труб.

14. ОРГАНИЗАЦИЯ И РЕГУЛИРОВАНИЕ ДВИЖЕНИЯ. ОБУСТРОЙСТВО ГОРОДСКИХ УЛИЦ И ДОРОГ

14.1. Организация движения на сети улиц и дорог по городу в целом является задачей соответствующего раздела комплексной транспортной схемы города. Схема организации движения разрабатывается на первую очередь (на расчетный срок схемы даются только основные направления, развивающие предложения первой очереди).

В целях создания однородных по составу и близких по режимам движения транспортных потоков рекомендуется следующее примерное распределение транспортных средств по магистральной улично-дорожной сети города (табл. 88).

Таблица 88

Категория улиц и дорог

Распределение транспортных средств

преобладают

допускаются

не допускаются

Скоростные дороги

Легковые и грузовые автомобили

Экспресс-автобусы

Трамвай, троллейбусы, мотоциклы, мопеды, велосипеды

Общегородские магистрали:

 

 

 

непрерывного движения

Легковые автомобили, автобусы

Троллейбусы, трамвай на обособленном полотне; специализированные грузовые автомобили

Троллейбусы на центральной проезжей части, мотоциклы, мопеды, велосипеды

регулируемого движения

Трамвай, автобусы, троллейбусы, легковые автомобили, специальные грузовые автомобили

Грузовые автомобили, мотоциклы

Мопеды, велосипеды

Районные магистрали

Автобусы, троллейбусы, легковые автомобили, специальные грузовые автомобили

Грузовые автомобили, мотоциклы, велосипеды, при наличии велодорожек

-

Дороги грузового движения

Грузовые автомобили

Легковые автомобили, автобусы (немаршрутные)

Трамваи, троллейбусы, мотоциклы, велосипеды

14.2. Предложения по организации движения на улицах и дорогах района города разрабатываются в проекте детальной планировки. Эти предложения являются основой для конкретных решений организации движения транспорта и пешеходов на последующих стадиях проектирования.

Выбор и размещение технических средств организации движения и обустройства являются задачей технического и рабочего проектирования улиц и дорог.

14.3. При разработке мероприятий по организации и регулированию движения на городских улицах и дорогах следует руководствоваться правилами дорожного движения, соблюдая следующие основные требования:

четкое разделение пешеходов и транспортных средств во времени и пространстве;

разделение транспортных средств по направлениям движения, скоростям и видам транспортных средств;

действующие в правилах ограничения скоростей движения транспортных средств на улично-дорожной сети населенных мест.

Светофорная сигнализация

14.4. Средства светофорной сигнализации обеспечивают следующие виды управления движением пешеходов и транспорта:

беспрограммное управление ручным способом;

автоматическое управление по жесткой программе на отдельном объекте;

автоматизированное координированное управление группой перекрестков или несколькими магистралями;

управление с помощью специальных устройств, включаемых пешеходами или проходящим автомобильным и электрическим транспортом.

14.5. Светофоры устанавливаются на колоннах, кронштейнах, прикрепленных к существующим опорам или стенам зданий, на специальных консольных опорах и на тросах-растяжках исходя из следующих основных положений:

основной светофор на колонке или кронштейне располагается на расстоянии 1-5 м перед пешеходным переходом;

дублирующий светофор при наличии островков безопасности располагается на одном из них; при отсутствии островков безопасности дублирующий светофор совмещается со светофором для встречного направления движения;

дополнительная секция для регулирования правоповоротного движения располагается у светофора, установленного справа перед перекрестком;

дополнительная секция для регулирования левоповоротного движения располагается у светофора, установленного на островке безопасности перед перекрестком. При отсутствии островка безопасности дополнительная секция устанавливается на основном светофоре при подходе к перекрестку;

дублирующая дополнительная секция для регулирования левоповоротного движения располагается у светофора, находящегося на островке безопасности за перекрестком, или у светофора, находящегося слева за перекрестком.

14.6. Все светофоры, кроме размещаемых над проезжей частью, должны располагаться в пределах 0,5-2 м от края проезжей части, при этом необходимо избегать их расположения над инженерными коммуникационными сооружениями мелкого заложения.

14.7. Светофорное регулирование пешеходного движения может осуществляться трехсекционными транспортными светофорами и специальными двухсекционными пешеходными светофорами.

Регулирование пешеходного движения транспортными светофорами допускается только на перекрестках при интенсивности пешеходного потока менее 900 чел.-ч по переходу через пересекаемую улицу и пересекающих лево- и правоповоротных транспортных потоков менее 120 ед/ч. В остальных случаях необходимо применять пешеходные светофоры.

Пешеходные светофоры должны обеспечивать полное разделение во времени пересекающихся транспортных и пешеходных потоков.

14.8. Светофоры, регулирующие пешеходное движение, должны размещаться на тротуарах с обеих сторон проезжей части, а при наличии островка безопасности или приподнятой разделительной полосы, кроме того, и на них.

В плане пешеходные светофоры следует устанавливать вне полосы продолжения пешеходного перехода на расстоянии 1-3 м от ближнего края перехода. От края проезжей части пешеходный светофор должен отстоять не более чем на 2 м.

Пешеходные светофоры следует устанавливать на специальных колонках. При соблюдении вышеуказанных требований допускается совмещенное расположение пешеходных светофоров и светофоров, регулирующих транспортное движение.

14.9. При необходимости применения пешеходных светофоров для регулирования движения пешеходов через одну половину проезжей части (от тротуара до островка безопасности) пешеходные светофоры должны быть установлены и на второй половине проезжей части.

Дорожные знаки

14.10. При размещении знаков необходимо учитывать условия дорожного движения в различные сезоны года; способ установки и расположения знаков должен обеспечивать наилучшую их видимость участниками движения и исключать возможность повреждения проходящими транспортными средствами.

Знаки располагаются изображением навстречу движению на специально предназначенных для этого колонках, а в отдельных случаях на столбах, мачтах, кронштейнах тросах-растяжках, на стенах зданий и элементах дорожных сооружений.

На скоростных дорогах и магистралях непрерывного движения знаки следует размещать на специальных рамных конструкциях над теми полосами проезжих частей, для которых эта информация о регламентации условий движения предназначена.

Подвеска знаков на тросах контактной сети должна быть согласована с трамвайно-троллейбусным управлением горисполкома.

14.11. Перед любым участком улицы или дороги следует устанавливать, как правило, только один знак. В исключительных случаях может быть установлено не более трех различных знаков, которые размещаются: на колонках и столбах (мачтах) - по горизонтали или по вертикали; на тросах-растяжках, рамных конструкциях и кронштейнах, расположенных над проезжей частью - по горизонтали на одном уровне.

14.12. Знаки следует размещать, как правило, справа по ходу движения или над проезжей частью.

Если по условиям движения знак может быть не замечен водителями, устанавливают второй такой же знак над проезжей частью на разделительной полосе, островке безопасности, препятствии или на левой стороне дороги.

Знаки «Остановка запрещена» и «Стоянка запрещена» должны устанавливаться на той стороне улицы или дороги, где необходимо запретить остановку или стоянку транспортных средств.

14.13. Расстояние в плане от края проезжей части дороги до ближайшего к ней края знака, установленного на колонке или столбе (мачте), должно составлять от 6,5 до 2 м. На дорогах с обочинами знаки на колонках рекомендуется устанавливать вне обочины на расстоянии от 0,5 до 2 м, а знаки «Предварительное указание направлений» и «Указатель расстояний» - до 5 м от ее бровки. В пределах одной магистрали знаки следует устанавливать на одинаковом расстоянии от края проезжей части.

14.14. Расстояние краев знаков от проводов осветительной сети должно составлять не менее 1 м, от проводов сети высокого напряжения - не менее 2 м. Запрещается подвешивать знаки на тросах-растяжках в пределах охранной зоны высоковольтных линий.

14.15. Для обеспечения преимущественного права проезда на улице или дороге с интенсивным и многорядным движением по данному направлению устанавливается знак «Главная дорога». При этом на второстепенных улицах или дорогах должны быть установлены знаки «Пересечение с главной дорогой» или «Проезд без остановки запрещен». Знак «Главная дорога» необходимо также устанавливать перед перекрестком в тех случаях, когда главная улица или дорога на этом перекрестке изменяет направление. При этом знак дополняется табличкой, на которой указывается направление главной улицы.

Знак «Главная дорога» следует повторять после перекрестков, где на главную улицу или дорогу поворачивает значительное количество транспортных средств.

14.16. Перед пересечением с улицей или дорогой низшей категории устанавливается знак «Пересечение со второстепенной дорогой». Перед примыканием улицы или дороги низшей категории устанавливается знак «Примыкание к главной дороге второстепенной». При этом на улицах и дорогах низшей категории перед пересечением должны устанавливаться знаки «Пересечение с главной дорогой» или «Проезд без остановки запрещен».

14.17. Для запрещения движения навстречу транспортному потоку по улицам или участкам дорог с односторонним движением следует применять знак «Въезд запрещен». Кроме того, этот знак с табличкой «Полоса движения» устанавливают на улицах и участках дорог с односторонним движением над полосой, используемой для движения во встречном направлении общественного пассажирского транспорта.

14.18. В тех случаях, когда необходимо закрыть въезд на улицу или дорогу всем транспортным средствам или транспортным средствам определенной категории, следует применять знаки «Движение запрещено», «Автомобильное движение запрещено», «Грузовое движение запрещено», «Мотоциклетное движение запрещено, «Гужевое движение запрещено», «Движение тракторов запрещено», «Движение с прицепом запрещено» и «Велосипедное движение запрещено».

14.19. Увеличение зоны действия знаков «Обгон запрещен», «Обгон грузовым автомобилям запрещен», «Ограничение скорости», «Подача звуковых сигналов запрещена», «Остановка запрещена», «Стоянка запрещена» с помощью таблички «Зона действия знака» не допускается. Если необходимо увеличить зону запрещения, соответствующие знаки следует повторять после перекрестка.

14.20. При необходимости введения ограничения для движения в определенных направлениях на перекрестках рекомендуется применять предписывающие знаки «Обязательное направление движения» вместо знаков, запрещающих повороты.

14.21. Когда видимость в пределах закругления улицы или дороги ограничена и (или) радиус кривой в плане меньше нормативного для улицы или дороги данной категории, необходимо применять знаки «Опасный поворот».

На перекрестках с необеспеченными условиями видимости для предупреждения водителей о запрещении или ограничении въезда на пересекаемую улицу следует устанавливать знаки ограничения видов транспорта с табличкой «Направление действия знака».

При недостаточной видимости пересекаемой дороги на подъездах к нерегулируемому перекрестку с улицей или дорогой высшей категории устанавливается знак «Проезд без остановки запрещен».

14.22. Для запрещения в необходимых случаях движения пешеходов по транспортным сооружениям (эстакадам, тоннелям и др.) устанавливают знак «Пешеходное движение запрещено».

Для обозначения улиц, выделенных для движения только пешеходов, используется знак «Дорожка для пешеходов». Указанный знак применяется также на полосах проезжей части, предназначенных только для движения пешеходов.

14.23. На подходах к пешеходным переходам на перегонах улиц и дорог следует применять знак «Пешеходный переход» независимо от наличия разметки перехода. На регулируемых перекрестках с размеченными переходами установка знака не обязательна.

Если пешеходный переход расположен вне зоны перекрестка и если видимость пешеходного перехода ограничена, также следует устанавливать знак «Пешеходный переход» справа по ходу движения транспортных средств перед обозначенным нерегулируемым или регулируемым вызывной светофорной сигнализацией наземным пешеходным переходом на расстоянии 50-100 м.

14.24. Для информации пешеходов о местоположении переходов расстояние между которыми превышает 300 м, на тротуарах магистральных улиц напротив выходов из объектов массового посещения необходимо устанавливать указатели расстояний до ближайших переходов. Эти указатели устанавливают также в местах неразрешенного перехода, когда возможен неожиданный выход пешеходов на проезжую часть.

14.25. Перед наземным нерегулируемым или регулируемым вызывной светофорной сигнализацией пешеходным переходом при интенсивности пешеходного движения по переходу в обоих направлениях более 200 чел.-ч, совместно со знаком «Пешеходный переход» необходимо устанавливать знак «Ограничение скорости».

Перед наземным пешеходным переходом (регулируемым и нерегулируемым), расположенным вне зоны перекрестка при интенсивности пешеходного движения по переходу в обоих направлениях более 200 чел.-ч или интенсивности транспортного движения в одном направлении более 400 ед-ч необходимо в начале зоны ограничения устанавливать знак «Остановка запрещена» с табличкой «Зона действия знака».

14.26. Для назначения минимально допустимой скорости на отдельных полосах проезжей части может быть использован знак «Минимальная скорость», установленный совместно с табличкой «Полоса движения».

14.27. На улицах с односторонним движением транспортных средств знаки «Одностороннее движение» необходимо устанавливать с обеих сторон проезжей части.

Дорожная разметка

14.28. Дорожная разметка включает горизонтальную продольную разметку, горизонтальную поперечную разметку, сочетание этих двух видов, вертикальную разметку, специальные надписи.

14.29. Горизонтальная разметка для разделения потоков одного и противоположных направлений применяется на улицах и дорогах с шириной проезжей части не менее 6 м при интенсивности движения 1000 транспортных средств и более в сутки (или 100 и более в час пик), а также в других случаях, когда этого требуют условия движения.

14.30. Разделение транспортных потоков противоположных направлений осуществляется:

сплошной линией - на улицах и дорогах, имеющих две или три полосы для движения в обоих направлениях, - перед перекрестками, железнодорожными переездами, в местах сужения проезжей части, на участках с видимостью меньше минимально допустимой, а также в других опасных местах;

двойной сплошной линией - на улицах и дорогах, имеющих четыре полосы движения и более;

двойной линией, состоящей из параллельных сплошной и прерывистой линий, - на участках улиц и дорог, где необходимо запретить для транспортных средств, движущихся в одном из направлений, въезд на полосу, предназначенную для движения во встречном направлении;

прерывистой линией - на улицах и дорогах с двумя полосами движения.

Полосы движения должны обозначаться на проезжей части, имеющей две полосы или более в одном направлении.

14.31. Разделение транспортных потоков, следующих в одном направлении, производится:

сплошной линией - перед перекрестками, железнодорожными переездами, при изменении ширины проезжей части, перед препятствием, а также в других опасных местах;

двойной линией, состоящей из параллельных сплошной и прерывистой линий, - на участках, где перестроение в разделяемых полосах движения разрешается только из одной полосы;

двойными прерывистыми линиями - на участках, где направление движения по полосам может изменяться на противоположное; прерывистой линией - для отделения полосы ускорения или замедления (переходно-скоростная полоса) от основной полосы проезжей части и для направления транспортных потоков в пределах перекрестка.

14.32. При интенсивности движения 1000 транспортных средств и более в сутки (или 100 и более в часы пик) края проезжей части должны обозначаться сплошной линией разметки. При наличии бортового камня обозначение края проезжей части не обязательно.

14.33. Стоп-линия наносится для обозначения места обязательной остановки транспортных средств при наличии перед перекрестком дорожного знака «Проезд без остановки запрещен» и в местах, где движение регулируется светофорными объектами. При этом стоп-линия может быть нанесена сразу по всей ширине проезжей части данного направления и отдельно на каждой полосе движения.

Стоп-линию необходимо наносить возможно ближе к пересекаемой проезжей части с учетом наилучшей видимости движущихся по ней транспортных средств и условий пешеходного перехода. Расстояние между регулируемым пешеходным переходом и расположенной перед ним стоп-линией должно быть равно, как правило, 1 м. Для обозначения приближения к стоп-линии на полосе движения можно наносить надпись «Стоп». Расстояние между словом «Стоп» и стоп-линией с учетом скорости движения принимают в пределах от 2 до 25 м (большие расстояния принимаются при больших скоростях).

14.34. Поперечную линию разметки наносят при наличии дорожного знака «Пересечение с главной дорогой», когда по местным условиям знак не может быть установлен непосредственно перед перекрестком и когда необходимо точно указать место, где водитель обязан остановиться при наличии транспортных средств, движущихся по пересекаемой улице. При выборе места нанесения указанной разметки следует руководствоваться требованиями нанесения стоп-линий.

Для обозначения приближения к данной поперечной разметке на полосу движения может быть нанесен треугольник приближения высотой 4 м и с основанием 1,6 м, расстояние между основанием которого и разметкой принимают с учетом скорости движения в пределах 2-25 м.

14.35. Поверхность островков, разделительных полос и других участков проезжей части, закрытых для движения транспортных средств и ограниченных сплошной линией, размечают параллельными линиями, отстоящими друг от друга на расстоянии 1,2 м, наклон которых должен указывать на отклонение транспортных средств в сторону от разметки. Число линий в пределах островка должно быть не менее трех. При небольшой площади островка допускается сплошная окраска всей его поверхности.

Кроме выделения разметкой островки могут выполняться из специальных железобетонных элементов или с помощью бортового камня.

14.36. Площадки для стоянки транспортных средств размещают в местах, обозначенных дорожным знаком «Место стоянки». Граница зоны размеченной стоянки у перекрестка должна отстоять от ближайшего края пересекаемой проезжей части на расстояние не менее 5 м.

Для запрещения остановок транспортных средств используется сплошная линия разметки, наносимая по верху бордюра или на поверхность дорожного покрытия около него, применяемая в сочетании со знаком «Остановка запрещена» или самостоятельно.

Для запрещения стоянки транспортных средств используется прерывистая линия разметки, наносимая по верху бордюра или на поверхность дорожного покрытия около него, применяемая в сочетании со знаком «Остановка запрещена» или самостоятельно.

14.37. Для обозначения разрешенных на перекрестке направлений движения используются указательные стрелы, применяемые в сочетании с дорожным знаком «Направление движения по полосам» или самостоятельно. Длина указательных стрел принимается при скорости движения до 60 км/ч равной 3 м, более 60 км/ч - 6 м.

Для обозначения приближения к сужению проезжей части на последнюю наносятся направляющие стрелы, применяемые в сочетании со знаком «Сужение дороги» или самостоятельно. Длина направляющих стрел принимается так же, как и для указательных стрел.

При скорости движения до 60 км/ч на каждой полосе должно быть нанесено не менее двух направляющих стрел, при большей скорости - не менее трех.

14.38. Разметку, используемую для обозначения номера дороги, применяют в сочетании с дорожным знаком «Номер дороги» или самостоятельно.

На полосах проезжей части, предназначенных исключительно для движения маршрутных транспортных средств, следует наносить разметку в виде буквы А высотой 3 м с основанием 1,4 м, обращенным навстречу движению транспортных средств.

14.39. На проезжей части или на бордюре у остановочного пункта транспортных средств общего пользования следует наносить дорожную разметку - сплошную линию, запрещающую остановку и стоянку транспортных средств.

Посадочные площадки, устраиваемые на одном уровне с проезжей частью, следует отделять от нее линией белого цвета. Перед посадочной площадкой, расположенной на проезжей части улиц и дорог, со стороны приближающихся транспортных средств необходимо наносить отклоняющую разметку проезжей части.

14.40. Для обозначения наземных пешеходных переходов, упорядочения движения по ним пешеходов и регламентации движения транспортных средств в зоне наземных пешеходных переходов используется дорожная разметка переходов.

При интенсивности пешеходного движения свыше 1500 чел.-ч в обоих направлениях разметку регулируемого перехода следует дополнять стрелами.

В зоне наземного пешеходного перехода через проезжую часть шириной не менее 16 м линия продольной разметки, разделяющая транспортные потоки противоположных направлений, должна отклоняться по мере приближения к пешеходному переходу. Длина участка отклонения должна составлять не менее 20 м при скорости движения транспорта до 60 км/ч и не менее 40 м при скорости движения транспорта свыше 60 км/ч; максимальную величину отклонения следует принимать равной половине ширины островка безопасности, но не менее 0,75 м.

14.41. Вертикальной разметкой обозначают:

вертикальные поверхности мостов, путепроводов, порталы тоннелей, торцевые части парапетов и др. на опасных для движения участках улиц и дорог. При большой ширине вертикальной поверхности допускается размечать только ближайший к проезжей части край на ширину 0,5 м, а при большой высоте вертикальной поверхности - на высоту 2 м;

нижние края пролетного строения путепроводов и мостовых ферм при вертикальных подмостовых габаритах менее 5 м. Разметку следует наносить над центром каждой полосы, по которой осуществляется движение в направлении дорожного сооружения;

вертикальные поверхности возвышающихся островков безопасности, бордюр на закруглениях малых радиусов, в местах сужения улицы или дороги и на других опасных местах.

При невозможности нанесения разметки непосредственно на поверхность сооружения допускается выполнять ее на щитах, прикрепляемых к размечаемым элементам.

Разделение потоков пешеходов и транспорта средствами организации движения

14.42. При невозможности отделения пешеходных тротуаров от проезжей части разделительными полосами для предотвращения неконтролируемого выхода пешеходов на проезжую часть в наиболее опасных местах необходимо принять направляющие пешеходные ограждения.

14.43. Направляющие пешеходные ограждения устанавливаются:

а) на перегонах улиц, если при разрешенной остановке или стоянке транспортных средств у тротуара интенсивность пешеходного движения по тротуару превышает 1000 чел.-ч на одну полосу шириной 0,75 м;

б) на перегонах улиц, если при запрещенной остановке или стоянке транспортных средств у тротуара интенсивность движения по пешеходному тротуару превышает 750 чел.-ч на одну полосу;

в) у внеуличных пешеходных переходов;

г) у наземных пешеходных переходов при наличии светофорного регулирования;

д) напротив выходов из крупных пунктов массового тяготения пешеходов (универмагов, станций метро, рынков, школ, проходных крупных предприятий и учреждений и др.).

14.44. Длина направляющих пешеходных ограждений должна быть не менее 50 м, из них в направлении, противоположном направлению движения транспортных средств, не менее 20 м, по направлению движения транспортных средств - не менее 30 м.

При плотности пешеходного движения по тротуару свыше 0,6 чел/м2 и при наличии резервов пропускной способности проезжей части ширина пешеходного пути может временно увеличиваться за счет добавления к тротуару полосы проезжей части.

Для отделения пешеходного пути от проезжей части кроме направляющего пешеходного ограждения должна быть нанесена сплошная линия продольной разметки.

14.45. На регулируемых перекрестках направляющие пешеходные ограждения устраиваются:

а) если пешеходный переход выполняется как продолжение тротуаров. Пешеходное ограждение в этом случае устанавливают от пешеходного перехода на расстоянии не менее 30 м в глубь квартала (обычно до начала посадочной площадки остановочного пункта общественного пассажирского транспорта);

б) если пешеходный переход отнесен в глубь квартала на расстояние свыше 4 м от края проезжей части. Пешеходное ограждение при этом устанавливают вдоль закругления бортового камня на углу перекрестка.

Направляющее пешеходное ограждение устанавливается на тротуаре, а при наличии разделительной полосы, отделяющей тротуар от проезжей части, на полосе, непосредственно у края проезжей части. На улицах, имеющих открытую систему водоотвода, допускается установка ограждений между тротуаром и водоотводом.

14.46. На участках улиц и дорог с разрешенной остановкой или стоянкой транспортных средств вдоль тротуара ограждения следует устанавливать на расстоянии не менее 0,3 м от края проезжей части.

Напротив остановочных пунктов общественного пассажирского транспорта допускается устройство ограждений на разделительной полосе между проезжими частями, предназначенными для встречного направления транспортного движения, при выполнении следующих условий:

а) если разделительная полоса приподнята над проезжей частью;

б) если ширина проезжей части для одного направления движения не превышает 10,5 м;

в) если уличное освещение обеспечивает хорошую видимость ограждения с тротуара в темное время суток.

Длина ограждения на разделительной полосе принимается не менее трехкратной длины посадочной площадки.

14.47. При необходимости устройства разрывов в ограждениях (для обеспечения проезда во дворы, проходы с места остановки общественного транспорта и др.) следует перекрывать эти разрывы ограждениями на противоположной стороне улицы или дороги на расстоянии не менее 15 м.

14.48. С целью предотвращения случайного съезда транспортных средств за пределы проезжей части или на полосы встречного движения на СД и МНД следует предусматривать боковые и осевые ограждения барьерного типа из металлических или железобетонных конструкций, а также в виде бортового камня высотой 0,6-0,8 м.

14.49. Боковые транспортные ограждения необходимо предусматривать на следующих участках СД и МНД:

1) на насыпях высотой более 2 м;

2). на подходах к мостам, эстакадам и путепроводам;

3) на мостах, эстакадах и путепроводах;

4) на виражах с поперечным уклоном менее расчетного;

5) против опор путепроводов;

6) на участках возможных оползней и осыпей;

7) на участках пересечений и примыканий дорог и улиц;

8) на участках кривых с минимальными допустимыми радиусами - устанавливаются только с внешней стороны кривой;

9) на участках, проходящих вдоль железнодорожных линий и водных объектов глубиной более 2 м при расстояниях менее 25 м от проезжей части до этих линий и объектов.

14.50. Направляющие пешеходные ограждения могут быть выполнены в виде:

а) сеточных ограждающих конструкций высотой - 1,4-1,5 м (устанавливаемых, как правило, на разделительной полосе);

б) перильных ограждений высотой 0,8-0,9 м, устанавливаемых между тротуаром и проезжей частью.

Ограждения должны быть непрерывными; их высоту следует назначать в пределах 0,8-1,2 м.

В качестве направляющих пешеходных ограждений допускается использовать газоны (на площадях, перед зданиями учреждений общегородского значения и др.) и посадки декоративного бордюрного кустарника.

Организация движения транспорта на перекрестках, у школ, размещение элементов обустройства

14.51. При малой интенсивности правоповоротного движения не должно запрещаться движение по правой полосе транспортным средствам в прямом направлении. При наличии светофорного регулирования этот маневр производится при зеленом сигнале светофора без дополнительной секции, регулирующей правоповоротное движение.

При интенсивности правоповоротного потока 120 ед/ч и более и интенсивности пешеходного потока не менее 900 чел.-ч по переходу через пересекаемую улицу необходимо применять дополнительную секцию светофора для разделения во времени указанных потоков.

14.52. При отсутствии на перекрестке наземных пешеходных переходов и интенсивном правоповоротном потоке (1500 ед/ч и более) следует организовать его непрерывный пропуск постоянно включенной зеленой стрелкой светофора.

При запрещении прямого движения из правой полосы и при организации правоповоротного движения в два ряда у стоп-линий и в 50-100 м перед перекрестком должны быть установлены дорожные знаки «Направление движения по полосам».

14.53. При левом повороте в двух встречных направлениях без объезда центра перекрестка следует применять разметку.

В случаях когда интенсивность левоповоротного движения превышает 100-120 ед/ч, необходимо вводить дополнительные фазы в цикл светофора - зеленые стрелки для левоповоротного движения.

В случаях когда на перекрестке не может быть осуществлен пропуск транспортных средств налево за один цикл светофорного регулирования, левоповоротное движение необходимо организовывать методами уширения перекрестка, отнесения левого поворота удлинения перекрестка с устройством двух стоп-линий (метод отнесенного пешеходного перехода). Как исключение при отсутствии в квартале жилой застройки может быть применен метод объезда квартала.

При организации левоповоротного движения методом объезда квартала должны быть установлены запрещающий дорожный знак «Поворот налево запрещен» и схема объезда квартала.

14.54. Движение транспортных средств на улицах, прилегающих к территории школ, Домов пионеров, детских учреждений, следует запрещать либо ограничивать по времени или по определенным видам транспортных средств.

Напротив выхода из школ и Домов пионеров на улицу с движением транспортных средств необходимо устанавливать пешеходные ограждения длиной не менее 50 м. С обеих сторон улицы, на которую имеется доступ с прилегающей школьной территории, на всем протяжении зоны соприкосновения улицы с указанной территорией должна быть запрещена или ограничена во времени стоянка транспортных средств.

На всех улицах, прилегающих к участку школы или детского учреждения, должны быть установлены знаки «Дети» с табличкой, указывающей протяженность зоны соприкосновения улицы со школьным участком.

В некоторых случаях на оборудованном пешеходном переходе в районах школ может быть установлен светофор, действующий от пешеходного вызывного устройства в периоды движения детей. В остальное время светофор должен работать в режиме мигающего сигнала.

14.55. Остановочные пункты городского общественного транспорта должны оборудоваться указателями, ограждениями и дорожной разметкой.

Указатели остановочных пунктов необходимо устанавливать так, чтобы обеспечивать хорошую видимость их водителями и пешеходами. Указатели следует располагать на посадочной площадке с таким расчетом, чтобы из всех дверей остановившегося по отношению к указателю транспортного средства общего пользования вход и выход пассажиров производился только на посадочную площадку. При этом следует учитывать, что трамвайные поезда должны останавливаться передней площадкой моторного вагона у указателя остановочного пункта, а троллейбусы и автобусы должны останавливаться так, чтобы задний правый угол их находился против указателя остановочного пункта.

Расположение павильонов для пассажиров общественного транспорта не должно стеснять движение пешеходов вдоль тротуара и не затеснять посадочную площадку.

В I климатической зоне следует предусматривать полностью закрытые и обогреваемые павильоны. В V климатической зоне павильоны следует максимально затенять.

14.56. Различные киоски, элементы благоустройства (скамьи и т.п.) и рекламу в пределах элементов улиц и дорог рекомендуется размещать только при наличии резервной ширины тротуаров и разделительных полос без стеснения и усложнения пешеходного движения.

14.57. В пределах полосы отвода скоростных дорог и вдоль проезжих частей магистральных улиц непрерывного движения запрещается размещение любой посторонней информации, кроме дорожных знаков, регламентирующих условия движения на этих магистралях.

ПРИЛОЖЕНИЕ 1

ОСНОВНЫЕ ХАРАКТЕРИСТИКИ И СОДЕРЖАНИЕ РАЗРАБОТОК УЛИЧНО-ДОРОЖНОЙ СЕТИ НА РАЗЛИЧНЫХ СТАДИЯХ ГРАДОСТРОИТЕЛЬНОГО ПРОЕКТИРОВАНИЯ

Характеристика

Содержание

А. На стадии генерального плана

Задачи

Классификация магистральной сети с определением протяженности и плотности скоростных дорог и магистральных улиц различных категорий; категорирование транспортных развязок всех видов

Исходные данные

Группа данных, характеризующих распределение населения по районам города, по местам приложения труда, культбыта и т.д.

Группа «нормативных» данных транспортного характера - подвижность населения; характеристики расселения и тяготения и т.д.

Группа «обследовательских» данных, характеризующих существующее положение - протяженность и ширина магистралей; интенсивность движения и т.д.

Методы расчета

Метод взаимных корреспонденций для определения потоков пассажиров и грузов с распределением потоков по сети; потоки могут определяться с точностью до половины пропускной способности полосы или вместимости одного вагона (машины) подвижного состава

Получаемые результаты (количественные и графические)

Протяженность магистральных улиц и дорог различных категорий и количество развязок различного класса; графически показываются на схеме магистралей в масштабе и на подоснове эскиза генерального плана

Принципы выбора вариантов (альтернатив)

Наименьшие приведенные затраты с обязательным учетом:

требований защиты городской среды от шума и выхлопных газов автотранспорта

экономии затрат времени населением на транспортные передвижения, определенной по кумулятивным кривым раздельно по трудовым и культурно-бытовым поездкам

стоимости городской территории

Показатели, переходящие как задания для последующих станций

Перспективная суммарная интенсивность движения всех видов транспорта с распределением потоков на развязках в разных уровнях (для резервирования перспективных решений узлов и поперечных профилей на стадиях КТС и ПДП)

Б. На стадии комплексной схемы развития всех видов пассажирского транспорта

Задачи

Определение узлов и участков улиц и дорог, необходимых на расчетный срок и первую очередь КТС как этапа реализации улично-дорожной сети проекта генерального плана

Исходные данные

Перспективные решения генплана по развитию городских путей сообщения.

Группа данных, характеризующих распределение населения по районам города и объектам тяготений (на расчетный срок и первую очередь КТС).

То же, по группе данных «нормативного» характера.

Материалы транспортно-градостроительных обследований расселения, интенсивности движения и т.д.

Методы расчета

Метод взаимных корреспонденций для расчетов потоков пассажиров и грузов на расчетный срок комплексной схемы

Метод коэффициентов роста для расчетов на первую очередь (на базе статистических и обследовательских материалов).

Потоки могут определяться с точностью до половины пропускной способности полосы или вместимости одного вагона (машины) подвижного состава

Получаемые результаты (количественные и графические)

Аналогичны стадии генерального плана с выделением в схемах узлов и поперечных профилях этапов реализации на расчетный срок и первую очередь КТС

Принципы выбора вариантов (альтернатив)

Наименьшие приведенные затраты для обоснования принципиальных технических решений узлов, линий и станций скоростного транспорта с учетом требований охраны окружающей среды, безопасности движения и экономии времени на транспортные передвижения, экономии ценных городских территорий

Показатели, переходящие как задания для последующих стадий

Потоки пассажиров и интенсивность движения транспорта на расчетный срок и первую очередь КТС для заданий на разработку технических проектов дорожно-транспортных объектов и для учета требований первоочередного строительства в ПДП

В. На стадии проекта детальной планировки

Задачи

Разработка поперечников магистралей и улиц местного значения и их красных линий; размещение сети автостоянок для индивидуальных автомобилей

Исходные данные

Интенсивность движения транспорта с распределением потоков на узлах по направлениям на первую очередь и расчетный срок КТС и перспективу генерального плана.

Функциональное зонирование, население и емкость объектов тяготения для определения направлений и величины потоков пешеходов.

Данные транспортных обследований для районов реконструкции

Методы расчета

Определение числа полос проезжих частей и ширины пешеходных дорожек и тротуаров исходя из заданной интенсивности движения и нормативов пропускной способности для принятых условий движения и других нормативов, определяющих ширину элементов поперечного профиля; расчет вместимости автостоянок исходя из уровня автомобилизации и количества населения

Получаемые результаты (количественные и графические)

Поперечные профили, план красных линий, схема организации движения пешеходов и транспорта по району и на наиболее сложных пересечениях магистралей

Принципы выбора вариантов (альтернатив)

По капитальным затратам при сравнении различных технических решений с учетом качественных критериев (условия безопасности, удобства пересадок и пешеходных переходов и т.д.) и требований охраны окружающей среды (особенно защиты от шума)

Показатели, переходящие как задания для последующих стадий

Поперечные профили магистралей; размещение остановок и станций скоростного и наземного транспорта в плане; принципы решения узлов и т.п. как задания для разработки технических проектов соответствующих объектов; пассажирооборот остановок для расчета объектов системы обслуживания

ПРИЛОЖЕНИЕ 2

СОСТАВ ТЕХНИЧЕСКОГО ПРОЕКТА И РАБОЧИХ ЧЕРТЕЖЕЙ СТРОИТЕЛЬСТВА (РЕКОНСТРУКЦИИ) ГОРОДСКИХ УЛИЦ И ДОРОГ

1. Технический проект рекомендуется выполнять в составе следующих материалов:

схемы района в масштабе 1:10000 или 1:5000;

сводного плана существующих и проектируемых подземных коммуникаций, линий существующих и проектируемых бортов проезжих частей и тротуаров, проектируемого озеленения и освещения;

плана проектируемой улицы или дороги с вертикальной планировкой в масштабе 1:500;

продольного профиля со всеми гидрогеологическими данными в масштабах 1:1000 и 1:100;

поперечных профилей в характерных местах в масштабах 1:200 и 1:100;

конструктивного поперечного профиля в масштабе 1:50 или 1:100;

плана со схемой организации движения с техническими средствами регулирования (светофоры, разметка, дорожные знаки, ограждения и др.) и размерами движения в масштабе 1:500;

решений инженерных сооружений (трубы, подпорные стенки, схемы и пр.);

решений отдельных задач технического проекта в части устройства крупных инженерных сооружений (тоннели, эстакады, путепроводы, мосты); насыпей и выемок более 12 м; отвода поверхностных вод, понижения уровня грунтовых вод, очистных сооружений; озеленения; освещения; инженерных сетей; средств регулирования уличного движения и др.

Указанные отдельные части технического проекта должны содержать все необходимые чертежи, определяющие конструктивные и технологические решения с разработкой узлов и деталей, необходимых для составления объемов работ и локальных смет;

плана сносимых строений в масштабе 1:500 с ведомостью инвентаризации;

плана общего водосборного бассейна и частных бассейнов с характеристиками и размерами водосборных площадей с указанием водосточных коллекторов и основных водостоков, мест сброса поверхностных вод и расположений очистных сооружений;

заказных спецификаций для заказа оборудования, приборов, арматуры, труб, кабельных и других изделий по утвержденным формам;

сводного перечня заказных спецификаций;

сводной ведомости объемов работ;

пояснительной записки;

технико-экономических показателей;

проекта организации строительства;

сводной сметы с локальными сметами;

технико-экономических обоснований на основе проекта планировки и застройки.

2. Рабочие чертежи на строительство или реконструкцию городской улицы или дороги составляются после утверждения технического проекта и содержат следующие материалы:

сводный план горизонтальной планировки проектируемой улицы с проектируемыми и переустраиваемыми инженерными коммуникациями в масштабе 1:500 и при необходимости отдельных узлов в масштабе 1:200;

план проектируемой улицы с горизонтальной и вертикальной планировкой в масштабе 1:500;

продольный профиль со всеми гидрогеологическими данными в масштабах 1:1000 и 1:100;

поперечные профили в характерных местах в масштабах 1:200 и 1:100;

конструктивные поперечные профили в масштабах 1:50-1:100 с узлами в масштабах 1:10-1:20;

рабочие чертежи искусственных сооружений, предусмотренных техническим проектом;

рабочие чертежи по отводу поверхностных вод и понижению уровня грунтовых вод с необходимой конструктивной разработкой элементов, узлов и деталей;

рабочие чертежи по озеленению, освещению, размещению инженерных сетей, средств регулирования уличного движения и др.;

сводную ведомость объемов работ;

пояснительную записку.

3. Техно-рабочий проект городской улицы или дороги рекомендуется выполнять в составе следующих материалов:

схемы района в масштабе 1:10000 или 1:5000;

сводного плана горизонтальной планировки с проектируемыми и переустраиваемыми инженерными коммуникациями в масштабе 1:500 и при необходимости отдельных узлов в масштабе 1:200;

плана проектируемой улицы (дороги) с горизонтальной и вертикальной планировкой в масштабе 1:500;

продольного профиля с гидрогеологическими данными в масштабах 1:1000 и 1:100;

поперечных профилей в характерных местах в масштабах 1:200 и 1:100;

конструктивных поперечных профилей в масштабах 1:50-1:100 с узлами и деталями в масштабах 1:10-1:20;

плана со схемой организации движения транспорта с техническими средствами регулирования и размерами движения в масштабе 1:500;

плана сносимых строений в масштабе 1:500 с ведомостью инвентаризации;

плана общего водосборного бассейна и частных бассейнов с характеристиками и размерами водосборных площадей, указанием водосточных коллекторов и основных водостоков, мест сброса поверхностных вод и расположения очистных сооружений;

заказных спецификаций для заказа оборудования, приборов, арматуры, труб, кабельных и других изделий по утвержденным формам;

сводного перечня заказных спецификаций;

отдельных частей техно-рабочих проектов по устройству инженерных сооружений, отводу поверхностных вод, понижению уровня грунтовых вод, озеленению, освещению, размещению инженерных сетей, средств регулирования уличного движения и др.;

сводной ведомости объемов работ;

пояснительной записки;

технико-экономических показателей;

проекта организации строительства;

сводной сметы с локальными сметами;

технико-экономического обоснования строительства на основе данных проекта планировки и застройки.

ПРИЛОЖЕНИЕ 3

ОСНОВНЫЕ ГАБАРИТЫ ТРАНСПОРТНЫХ СРЕДСТВ, ПРЕОБЛАДАЮЩИХ НА УЛИЦАХ И ДОРОГАХ ГОРОДОВ СССР, И НАГРУЗКИ ОТ НИХ

Тип и модель транспортного средства

Габаритные размеры, м

Нагрузки от транспортных средств

длина

ширина

высота

база

колея (наибольшая)

минимальный дорожный просвет под осью колес

минимальный наружный габаритный радиус поворота

полный вес, т

наибольшая статическая нагрузка на ось или тележку, кгс

среднее расчетное давление на покрытие, кгс/см2

расчетный диаметр следа колеса, см

Легковые автомобили

 

 

 

 

 

 

 

 

 

 

 

ЗАЗ-968

3,73

1,53

1,37

2,16

1,30

0,19

5,5

1,11

660

-

-

ВАЗ-21011

4,07

1,61

1,44

2,42

1,35

0,17

5,9

1,35

740

-

-

«Москвич-427»

4,12

1,55

1,48

2,40

1,25

0,18

5,7

1,5

700

-

-

ГAЗ-24

4,73

1,82

1,49

2,80

1,47

0,18

5,9

1,8

940

-

-

ГАЗ-13

5,6

2

1,62

3,25

1,54

0,18

7,8

2,62

1320

-

-

Автобусы

 

 

 

 

 

 

 

 

 

 

 

КАВЗ-651А

6,17

2,38

2,75

3,30

1,65

0,24

8,1

5,3

4000

4

25

ПАЗ-672

7,15

2,44

2,95

3,6

1,69

0,28

9,5

8,06

5500

5

26,5

ЛАЗ-695И

9,19

2,5

2,9

4,19

2,12

0,31

9,5

11,42

6900

5,5

28,5

ЛАЗ-697Н

9,19

2,5

2,9

4,19

2,12

0,31

9,5

10,62

6700

5,5

28

ЛиАЗ-677

10,45

2,5

2,99

5,15

2,15

0,34

11

15,5

9800

7

30

ЗИЛ-158В

9,03

2,5

3

4,86

2,12

0,29

10,9

11,10

7200

4

34

«Икарус-180» сочлененный

16,55

2,5

3,3

-

-

-

-

-

-

-

-

Грузовые автомобили

 

 

 

 

 

 

 

 

 

 

 

ГАЗ-5

5,72

2,88

2,13

3,3

1,65

0,24

8,1

5,15

4000

4

25

ГАЗ-53А

6,40

2,38

2,22

3,7

1,69

0,26

9

7,4

5600

4,8

27

ЗИЛ-130

6,68

2,5

2,4

3,8

1,8

0,27

9,9

9,8

7000

5,5

28

МАЗ-500А

7,14

2,5

2,64

3,95

1,97

0,27

9

14,82

10000

6

33

«Урал-377»

7,6

2,5

2,62

4,2

2

0,4

10,5

15

5500×2

4,3

28,5

МАЗ-516

8,52

2,5

2,65

3,85

1,97

0,27

12

23,52

9000×2

6

31

КрАЗ-257

9,66

2,65

2,66

5,75

1,95

0,29

13,2

23,36

9350×2

6

32

Автомобили-самосвалы

 

 

 

 

 

 

 

 

 

 

 

ГАЗ-93А

5,24

2,09

2,13

3,3

1,65

0,24

8,1

5,3

4000

4

25

ГАЗ-53Б

6,38

2,48

2,58

3,7

1,69

0,26

9

7,4

5600

4,7

27,5

ЗИЛ-ММЗ-555

5,48

2,42

2,51

3,3

1,8

0,27

8,8

9,26

6500

6

26

МАЗ-50

5,78

1,97

3,3

3,4

1,97

0,27

7,5

15,25

9400

6

31,5

КрАЗ-256Б

8,1

2,64

2,83

4,78

1,95

0,29

13

22,47

9000×2

6

31

Автомобили-тягачи

 

 

 

 

 

 

 

 

 

 

 

ЗИЛ-157КВ

6,77

2,27

2,36

4,22

1,76

0,31

12

10,2

4400×2

4

25

ЗИЛ-130В

5,28

2,5

2,4

3,3

1,8

0,26

7,8

8,42

6000

5,5

26,5

КАЗ-608

5,16

2,36

2,44

2,9

1,8

0,28

7,4

8,72

6000

4,7

28,5

МАЗ-50

5,63

2,5

2,65

3,4

1,97

0,3

7,5

14,38

10000

6

33

«Урал-375С»

6,95

2,5

2,62

4,2

2

0,4

10,5

13,22

4600×2

3,5

29

«Урал-377С»

6,99

2,5

2,68

4,3

2

0,4

10,5

14,56

5500×2

4,3

28,5

КрАЗ-258

7,38

2,63

2,67

4,78

1,95

0,29

11,2

21,9

8800×2

6

30,5

Полуприцепы

 

 

 

 

 

 

 

 

 

 

 

ОдАЗ-857Б

8,9

2,5

3,2

6,56

1,79

-

-

9,85

6000

5

27,5

ОдАЗ-88Б

6,38

2,46

2,3

4,48

1,79

-

1,42*

10,35

6000

5

27,5

МАЗ-548Б

6,3

2,45

2

4,34

1,74

-

1,35*

9,52

5700

5

27

Прицепы

 

 

 

 

 

 

 

 

 

 

 

МАЗ-886

7,11

2,5

3,31

-

1,95

-

-

12

6000

5,5

26,5

МАЗ-5243

6,96

2,5

2,05

-

1,95

-

-

10

5000

5,5

24

Троллейбусы

 

 

 

 

 

 

 

 

 

 

 

ЗиУ-5

11,83

2,68

3,53

-

-

-

-

-

10600

5,7

34

ЗиУ-7

10,45

2,68

2,98

-

-

-

-

-

8700

5,7

31

ЗиУ-9

11,95

2,5

3,25

-

-

-

-

-

10600

5,7

34

ТС-1 сочлененный

17,75

2,7

3,51

-

-

-

-

-

-

-

-

ТС-2 сочлененный

17,6

2,7

3,42

-

-

-

-

-

-

-

-

* Габаритный радиус переднего свеса.

ПРИЛОЖЕНИЕ 4

РАСЧЕТ ПРОПУСКНОЙ СПОСОБНОСТИ МАГИСТРАЛИ НЕПРЕРЫВНОГО ДВИЖЕНИЯ

При двух полосах движения в одном направлении

По табл. 16 принимаем значения дистанции безопасности между остановившимися приведенными транспортными единицами: для правой полосы l0 = 3,5 м, для левой l0 = 3,2 м. По соответствующим уравнениям (см. раздел 3) определим значения пропускной способности полос движения: для правой полосы она будет равна 1400 приведенных ед/ч, левой - 1550 приведенных ед/ч. Пропускная способность проезжей части в одном направлении Рпр.ч будет равна

Рпр.ч = 1400 + 1550 = 2950 приведенных ед/ч.

При четырех полосах движения в одном направлении

По табл. 16 принимаем значения дистанции безопасности между остановившимися приведенными транспортными единицами для первой крайней правой полосы l0 = 3,5 м, для второй l0 = 3,2 м, для третьей l0 = 2,8 м и для четвертой крайней левой полосы l0 = 2,5 м. По соответствующим уравнениям (см. раздел 3) определим значения пропускной способности полос движения: для первой полосы она будет равна 1400 приведенных ед/ч, для второй - 1550 приведенных ед/ч, для третьей - 1750 приведенных ед/ч, для четвертой - 1900 приведенных ед/ч. Пропускная способность проезжей части в одном направлении (Рпр) будет равна

Рпр.ч = 1400 + 1550 + 1750 + 1900 = 6600 приведенных ед/ч.

ПРИЛОЖЕНИЕ 5

РАСЧЕТ ПРОПУСКНОЙ СПОСОБНОСТИ РЕГУЛИРУЕМОГО ПЕРЕСЕЧЕНИЯ

Определим пропускную способность общегородской магистрали регулируемого движения, имеющей шесть полос движения при пересечении с четырехполосной районной магистралью, проходящей в стесненных условиях. Интенсивность на подходе наиболее загруженного направления общегородской магистрали 1700 приведенных ед/ч, из которых 200 приведенных ед/ч поворачивают налево. Интенсивность на подходе наиболее загруженного направления районной магистрали 800 приведенных ед/ч, из которых 200 приведенных ед/ч поворачивают направо.

По табл. 16 и 18 принимаем значения дистанции безопасности между остановившимися приведенными транспортными единицами. Для общегородской магистрали имеем: для первой полосы l0 = 3,5 м, для второй l0 = 3,2 м и третьей l0 = 2,8 м. Для районной магистрали имеем: для первой полосы l0 = 4,5 м, для второй l0 = 3,5 м. По соответствующим уравнениям (см. раздел 3) определим значения потоков насыщения. Для общегородской магистрали имеем: M1 = 1400 приведенных ед/ч, М2 = 1450 приведенных ед/ч, М3 = 1560 приведенных ед/ч. Для районной магистрали имеем: М1 = 1200 приведенных ед/ч, М2 = 1400 приведенных ед/ч.

Определим правоповоротный поток районной магистрали Nправ с учетом коэффициента β:

С учетом этого правоповоротного потока расчетная интенсивность на подходе районной магистрали будет равна 820 приведенных ед/ч.

Левоповоротный поток указанной интенсивности требует выделения одной полосы и специального такта, поэтому примем трехтактную схему светофорного регулирования.

Определим фазовые коэффициенты q1, q2 и q3 для циклообразующих направлений движения:

для прямого направления движения общегородской магистрали

для левоповоротного направления движения общегородской магистрали

для прямого направления движения районной магистрали

Определим коэффициент загрузки Z данного перекрестка:

Таким образом, при выбранной схеме регулирования перекресток будет перегружен на 23 %, что требует выполнения мероприятий по повышению его пропускной способности.

Выделим специальную полосу для левоповоротного направления движения на дополнительной четвертой полосе, устроенной за счет разделительной полосы между проезжей частью и тротуаром. В этом случае q по прямому направлению общегородской магистрали будет равно

Для левоповоротного направления движения общегородской магистрали и для районной магистрали фазовые коэффициенты остаются без изменения.

Определим коэффициент загрузки Z для новой планировки перекрестка:

ПРИЛОЖЕНИЕ 6

РАСЧЕТ ПАРАМЕТРОВ ПЕРЕХОДНОЙ КРИВОЙ

Наибольшее распространение на закруглениях автомобильных дорог получили переходные кривые типа клотоиды (радиоидальная спираль), уравнение которой соответствует уравнению траектории автомобиля при переходе с прямолинейного участка дороги на круговую кривую

A2 = RL,                                                            (23)

где A - параметр клотоиды, м;

R - радиус круговой кривой, м;

L - длина клотоиды, м.

В конкретных случаях проектирования встречаются 4 характерных сочетания клотоид и круговых кривых (рис. 22).

Рис. 22. Основные сочетания клотоид и круговых кривых

а - закругление с симметричными клотоидами и круговой кривой А1 = А2; б - закругление с несимметричными клотоидами и круговой кривой А1 А2; в - закругление из симметричных клотоид A1 = A2; г - закругление из несимметричных клотоид А1 А2

1. Исходя из расчетной скорости автомобиля V, км/ч, на конкретном участке дороги предварительно намечаем параметр клотоиды А, м, по следующим данным:

V

30

40

50

60

80

100

120

А

30

45

60

80

120

200

250

При этом учитываем соотношение

                                                        (24)

обеспечивающее условия зрительной плавности закругления.

2. По уравнению клотоиды А2 = RL предварительно намечаем R и L, затем уточняем их исходя из конкретных условий проложения улицы (дороги). Так, радиус круговой кривой или длина клотоиды могут быть ограничены условиями рельефа, застройки и пр. В этих случаях соответственно изменяем характеристики закругления, затем уточняем параметр и длину клотоиды и радиус круговой кривой.

3. По уточненным значениям А и L составляем таблицу разбивки клотоиды методом абсцисс и ординат, с использованием табличных значений клотоиды (табл. 89). Умножая табличные значения на уточненный параметр А, получаем длину клотоиды l от ее начала до любой точки; координаты х и у любой точки клотоиды; здесь х - расстояние по тангенсу, у - длина перпендикуляра к тангенсу в точке х (рис. 23). При таком способе расчета можно принять любую частоту разбивки точек. Предлагаемая методика позволяет использовать всевозможные сочетания R и L.

Рис. 23. Схема разбивки клотоиды

L - длина клотоиды; R - радиус круговой кривой; Т - тангенс закругления; l - длина клотоиды от ее начала до любой точки; х и у - координаты любой точки клотоиды

Таблица 89

l

x

y

l

x

у

0,01

0,010000

0,000000

0,51

0,509138

0,022082

0,02

0,020000

0,000001

0,52

0,519050

0,023404

0,03

0,030000

0,000004

0,53

0,528955

0,024778

0,04

0,040000

0,000011

0,54

0,538858

0,026204

0,05

0,050000

0,000021

0,55

0,548743

0,027684

0,06

0,060000

0,000036

0,56

0,568625

0,029218

0,07

0,070000

0,000057

0,57

0,568498

0,030807

0,08

0,080000

0,000085

0,58

0,578361

0,032453

0,09

0,090000

0,000122

0,59

0,588215

0,034156

0,10

0,100000

0,000167

0,60

0,598059

0,035917

0,11

0,110000

0,000222

0,61

0,607892

0,037737

0,12

0,119999

0,000288

0,62

0,617714

0,039617

0,13

0,129999

0,000366

0,63

0,627523

0,041557

0,14

0,139999

0,000457

0,64

0,637321

0,043560

0,15

0,149998

0,000562

0,65

0,647105

0,045625

0,16

0,159997

0,000683

0,66

0,656876

0,047754

0,17

0,169996

0,000819

0,67

0,666633

0,049947

0,18

0,179995

0,000972

0,68

0,676374

0,052206

0,19

0,189994

0,001143

0,69

0,686100

0,054530

0,20

0,199990

0,001333

0,70

0,695810

0,056922

0,21

0,209990

0,001544

0,71

0,705503

0,059382

0,22

0,219987

0,001775

0,72

0,715128

0,061910

0,23

0,229984

0,002028

0,73

0,724834

0,064503

0,24

0,209980

0,002304

0,74

0,734472

0,067176

0,25

0,249970

0,002604

0,75

0,744089

0,069916

0,26

0,259970

0,002929

0,76

0,753686

0,072728

0,27

0,269964

0,003280

0,77

0,763260

0,075612

0,28

0,279957

0,003658

0,78

0,772813

0,078671

0,29

0,289949

0,004064

0,79

0,782342

0,081603

0,30

0,299939

0,004499

0,80

0,791847

0,084711

0,31

0,309928

0,004964

0,81

0,801326

0,087895

0,32

0,319916

0,005460

0,82

0,810780

0,091155

0,33

0,329902

0,005988

0,83

0,820206

0,094493

0,34

0,339886

0,006549

0,84

0,829605

0,097909

0,35

0,349869

0,007144

0,85

0,838974

0,101404

0,36

0,359849

0,007774

0,86

0,848314

0,104978

0,37

0,369827

0,008439

0,87

0,857622

0,108633

0,38

0,379802

0,009142

0,88

0,866898

0,112368

0,39

0,389775

0,009882

0,89

0,876141

0,116185

0,40

0,399747

0,010660

0,90

0,885349

0,120084

0,41

0,409710

0,011481

0,91

0,894522

0,124066

0,42

0,419673

0,012341

0,92

0,903659

0,128130

0,43

0,429633

0,013243

0,93

0,912758

0,132279

0,44

0,439588

0,014188

0,94

0,921818

0,136513

0,45

0,449539

0,015176

0,95

0,930837

0,140831

0,46

0,459485

0,016210

0,96

0,939816

0,145235

0,47

0,469427

0,017289

0,97

0,948750

0,149724

0,48

0,479363

0,018414

0,98

0,967642

0,154300

0,49

0,489294

0,019588

0,99

0,966488

0,158964

0,50

0,499219

0,020810

1,00

0,975288

0,163714

Рис. 24. Номограмма для определения числа выездов из межмагистральной территории

nж - норма жилищной обеспеченности, м2 жилой площади на 1 чел.; nо - то же, м3 общей площади на 1 чел.; α - уровень автомобилизации, легковых автомобилей на 1000 чел.

ПРИЛОЖЕНИЕ 7

ОПРЕДЕЛЕНИЕ ЧИСЛА ВЫЕЗДОВ ИЗ МЕЖМАГИСТРАЛЬНОЙ ТЕРРИТОРИИ

Определение числа выездов из межмагистральной территории произведено исходя из предельного потока автотранспорта на любом участке проезда в час пик, при котором обеспечивается безопасный переход пешеходов.

Размеры потока автомобильного движения в межмагистральной территории, а значит и число выездов, которые необходимо запроектировать по условиям безопасности пешеходов, зависят от численности проживающего на ней населения (или от плотности жилищного фонда, тыс. м2/га) и от уровня автомобилизации.

Для определения числа выездов из межмагистральной территории в различных планировочных условиях следует пользоваться номограммой (рис. 24).

Например, в межмагистральной территории с плотностью жилищного фонда 4,5 тыс. м2/га при норме жилищной обеспеченности 9 м2 жилой (или 13,5 м2 общей) площади на одного человека и уровне автомобилизации 125 автомобилей на 1 тыс. жителей необходимо иметь 10 выездов на 100 га (последовательность определения показана на номограмме стрелками), т.е. для территории площадью 70 га необходимо иметь 7 выездов.

С помощью номограммы решается и обратная задача, которая возникает в условиях реконструкции: какое население можно расселить в пределах межмагистральной территории с заданным числом выездов, чтобы при определенном уровне жилищной обеспеченности и автомобилизации интенсивность движения на выездах не превышала критического значения.

ПРИЛОЖЕНИЕ 8

ВЫБОР ТИПА ЛЕВОПОВОРОТНЫХ СЪЕЗДОВ И ГЕОМЕТРИЧЕСКОЙ СХЕМЫ ПЕРЕСЕЧЕНИЙ В РАЗНЫХ УРОВНЯХ

Выбор типа левоповоротных съездов, определяющих геометрическую схему пересечений, а также вопрос о целесообразности применения в пределах одного и того же пересечения различных типов съездов следует производить с учетом местных планировочных условий и в зависимости от распределения движения по направлениям, причем наименьший перепробег и наибольшие удобства необходимо предусматривать для основных поворотных направлений.

Рекомендуется использовать следующие основные типы лево-поворотных съездов (рис. 25), образующиеся путем сочетания различных видов расположения ветвей прямых потоков А и разных типов траекторий левых поворотов Б.

Расположения ветвей прямых потоков подразделяются на следующие виды: нераздельное, раздвоенное, частично раздвоенное и перекрестное.

Способы ответвления и присоединения траекторий левоповоротных потоков подразделяются на прямое ответвление или примыкание D (DIRECT) и полупрямое ответвление или примыкание S (SEMIDIRECT). В соответствии с этим поворот налево может выполняться ответвлением влево и примыканием слева DD, ответвлением вправо и примыканием справа SS, а сочетание этих элементов образует типы DS или SD.

Рис. 25. Элементы геометрических схем и пересечений в разных уровнях

А - расположение ветвей прямых потоков; Б - расположение траекторий левых поворотов; а - нераздельное; б - раздвоенное; в - частично раздвоенное; г - перекрестное

В отдельную группу поворотов налево выделяется так называемая обратная петля, или «клеверный лист» L (LOOP).

По расположению траекторий левоповоротных потоков относительно центра узла левые повороты подразделяются на два типа; А - «внутренний» поворот, или поворот через центр узла, и Б - «отогнанный», или наружный поворот (рис. 26).

При проектировании схемы пересечений в разных уровнях выбор типа левоповоротных съездов и их сочетаний следует производить в зависимости от показателя αл и наличия свободной территории:

полупрямые и прямые «через центр узла» съезды целесообразно применять на пересечениях I и II классов на направлениях, имеющих показатель αл ≥ 0,3. В этих случаях точки пересечения потоков собираются близко к центру узла, что вызывает необходимость устраивать узлы в трех-четырех уровнях со сложным комплексом инженерных сооружений, но дает «компактные» в отношении использования городской территории узлы по сравнению с другими типами, обеспечивающими полную развязку движения.

Рис. 26. Типы левых поворотов на пересечениях в разных уровнях

А - «внутренний» через центр узла; Б - «отогнанный» или наружный

Для принятия этих вариантов необходимо специальное технико-экономическое обоснование, включающее расчеты экономической эффективности капитальных вложений, предлагаемый комплекс мероприятий по охране окружающей среды, а также архитектурно-композиционный анализ внедрения сложного комплекса инженерных сооружений в ансамбль городской транспортной площади.

Применение компактных пересечений с полупрямыми и прямыми левоповоротными съездами является наиболее рациональным в условиях дефицита территории в срединной зоне крупных и крупнейших городов;

полупрямые «отогнанные» левоповоротные съезды целесообразно применять на пересечениях II и III классов на направлениях, имеющих показатель αл от 0,15 до 0,3 и при наличии свободной территории. Эти типы съездов используются на «кольцевых» и «петлевых» пересечениях в двух-трех уровнях. В этих случаях точки пересечения потоков располагаются с некоторым удалением от центра узла, что вызывает необходимость возведения «рассредоточенных» узлов с несколькими отдельными путепроводами;

так называемые комбинированные пересечения с использованием полупрямых левых съездов как «отогнанных», так и через центр узла целесообразно применять при различных величинах левоповоротного движения по направлениям и при резко выраженных индивидуальных условиях застройки и рельефа в разных квадратах угла;

левоповоротные съезды в виде «клеверного листа» целесообразно применять на пересечениях II, III и IV классов при αл ≤ 0,15, поскольку этот тип съезда связан с перепробегом, малой скоростью и комфортностью движения. В стесненных условиях капитальной застройки возможно применять схему «сплющенный клеверный лист» с радиусами левых съездов 12-18 м.

ПРИЛОЖЕНИЕ 9

РАСЧЕТНЫЕ ХАРАКТЕРИСТИКИ МАТЕРИАЛОВ

Материалы

Модуль упругости, кгс/см2

Предельное сопротивление растяжению при изгибе, кгс/см2

Параметры, определяющие сопротивление сдвигу

Примечание

φ, град

с, кгс/см2

Смеси асфальтобетонные горячие и теплые:

а) плотные (с минеральным порошком)

марки:

 

 

 

 

 

I

13000-15000

18-20

-

-

Меньшие значения принимаются для теплых смесей и при использовании гравия

II

10000-12000

14-15

-

-

б) пористые (без минерального порошка), марки:

 

 

 

 

 

III

7000-9000

10-12

-

-

То же

IV

5000-6000

8-9

-

-

»

Холодный асфальтобетон, марки:

 

 

 

 

 

I

6000-7000

9-10

-

-

Меньшие значения принимаются при использовании гравия

II

5000-5500

7-8

-

-

То же

То же, без минерального заполнителя

4000-5000

6-7

-

-

»

Щебень, обработанный вязким битумом или дегтем по способу пропитки, класса:

 

 

 

 

 

1-2

5000-6000

7-8

-

-

»

3

4000-5000

6-7

-

-

»

Щебень или гравий, обработанные жидким битумом, дегтем или битумной эмульсией со смешением:

 

 

 

 

 

на дороге

2000-2800

3-4

-

-

Меньшие значения принимаются при обработке гравийных смесей

в установке

3000-5000

4-4,5

-

-

В зависимости от прочности материала и способа обработки: большие значения принимаются при смешении в установке, меньше - при смешении на дороге

Малопрочные каменные материалы, в том числе отходы камнедробления, в смеси с песком или супесью, обработанные битумом, дегтем или битумной эмульсией

2000-3500

2-3,5

-

-

-

То же, укрепленные портландцементом

3000-4500

3-4

-

-

-

Смеси щебеночные и гравийные подобранного зернового состава не ниже 3-го класса, укрепленные портландцементом в количестве, %:

 

 

 

 

 

6-7

6000-7000

6-8

-

-

Меньшие значения принимаются для гравийных смесей

4-5

4000-5000

4-6

-

-

Металлургические шлаки 1-4-го классов однородные по качеству, подобранного зернового состава:

 

 

 

 

 

активные

3500-4500

-

-

-

Бóльшие значения принимаются для шлаков устойчивой структуры

малоактивные

2000-3000

-

-

-

Гравийные смеси подобранного зернового состава, укрепленные добавками гранулированного шлака, в количестве 30 %

 

 

 

 

 

Щебень стандартных фракций, укладываемый по способу заклинки, класса:

3000

1,5

-

-

Бóльшие значения принимаются для пород, обладающих высокой способностью цементироваться

1-2

4000-4500

-

-

-

3

3500

-

-

-

Щебень рядовой, класса:

 

 

 

 

 

1-2

3000-3500

-

-

-

-

3

2500

-

-

-

-

4

2000

-

-

-

-

Дресва изверженных и осадочных пород и мелкий ракушечник

800-1000

-

30-40

0,05-0,1

-

Гравийные материалы в зависимости от зернового состава (первая цифра - зерна крупнее 2 мм, вторая - зерна мельче 0,5 мм), %:

 

 

 

 

 

св. 85 до 3

2500-2700

-

45

0,2-0,5

-

»   70 »  7

2000-2300

-

42

0,2-0,5

-

»   60 »  10

1700-2000

-

37

0,2-0,5

-

»   50 »  12

1500-1700

-

35

0,2-0,5

-

Грунты оптимального зернового состава, укрепленные портландцементом, %:

 

 

 

 

 

6

2000

1,5

-

-

-

8

3000

2,5

-

-

-

10

4000

3,5

-

-

-

Легкие супеси и разнозернистые пески, укрепленные портландцементом, %:

 

 

 

 

 

6

1800

1,5

-

-

-

8

2800

2,5

-

-

-

10

3500

3

-

-

-

Суглинки и пылеватые супеси, укрепленные портландцементом, %:

 

 

 

 

 

8

2000

2

-

-

-

10

2500

2,5

-

-

-

12

2800

3

-

-

-

Грунты оптимального зернового состава, укрепленные органическими вяжущими, %:

 

 

 

 

 

6

1800

-

25

0,2-25

-

8

2500

-

35

0,3-0,35

-

Супесчаные грунты, обработанные органическими вяжущими, %:

 

 

 

 

 

8

1800

-

20

0,2-0,35

-

10

2200

-

30

0,25-0,3

-

Суглинистые грунты, обработанные органическими вяжущими, %:

 

 

 

 

 

10

1500

-

20

0,2-0,25

-

12

1800

-

25

0,25-0,3

-

Каменные мостовые и пакеляж

4000-5000

-

-

-

Большие значения применяются при колотом камне

Примечания: 1. Таблица составлена на основе рекомендаций Гипродорнии, а также научно-технической литературы [21, 42].

2. При отсутствии расчетных величин по составу и интенсивности движения следует принимать требуемый модуль упругости в зависимости от категории улицы и дороги по табл. 64.


ПРИЛОЖЕНИЕ 10

УСЛОВИЯ ДВИЖЕНИЯ, КОЭФФИЦИЕНТЫ СЦЕПЛЕНИЯ И ПАРАМЕТРЫ ШЕРОХОВАТОСТИ ПОВЕРХНОСТИ ПОКРЫТИЙ

Условия движения

Коэффициенты продольного сцепления на мокром покрытии при скорости движения 60 км/ч

Параметры шероховатости покрытий при сдаче в эксплуатацию

Типы покрытий, способы создания шероховатой поверхности и допустимые скорости движения при мокрой поверхности покрытия

 

наименование и группа

характеристика

минимально необходимые в процессе эксплуатации дороги

при сдаче покрытия в эксплуатацию

движение коэффициента сцепления в интервале скоростей 20-60 км/ч, не более

средняя высота выступов, мм, менее

среднее расстояние между вершинами выступов, мм, не более

количество выступов, %, с углом при вершине, град

 

70-110, не менее

150-180, не более

 

1

2

3

4

5

6

7

8

9

10

 

Легкие (группа 1)

Участки прямые или на кривых в плане с радиусами от 1000 м и более, горизонтальные или с продольным уклоном не более 30 , с элементами поперечного профиля, установленными для дорог соответствующих категорий и с укрепленными обочинами; без пересечений в одном уровне и примыканий; при уровнях загрузки не более 0,3 и отсутствии каких-либо помех, вынуждающих водителей менять режим движения

0,35

0,45

0,15

1,5

12,5

2

76

Асфальтобетонные покрытия из средне- и многощебенистых смесей, скорость движения ее более 120 км/ч. Асфальтобетонные покрытия из песчаных смесей, обладающих особо мелкошероховатой поверхностью, допускаются только на дорогах III-IV категорий, скорость движения не более 70 км/ч

 

Затрудненные (группа 2)

Участки на кривых в плане с радиусами, не превышающими 250-1000 м (для соответствующих категорий дорог), на спусках и подъемах с уклонами от 30 до 60 , протяженностью не более 100 м, а также при сочетаниях указанных кривых с уклонами до 40 ‰; участки в зонах сужения проезжей части в пределах пролетных строений мостов, путепроводов, эстакад, недостаточно четкой видимости дальнейшего направления дороги; участки на двухполосных дорогах, предназначенные для выполнения обгонов; участки группы 1 при уровнях загрузки в пределах 0,3-0,5

0,4

0,5

0,15

1,5

12,5

2

76

Асфальтобетонные покрытия из средне- и многощебенистых смесей с дроблением песком, скорость движения не более 100 км/ч

 

Опасные (группа 3)

Участки с видимостью менее расчетной (для соответствующих категорий дорог) на спусках и подъемах с уклонами более 30 ‰, при длине более 100 м; участки в зонах пересечений в одном уровне, разделения или слияния потоков, остановок автобусов, пешеходных переходов; порывов большого ветра, местного увлажнения поверхности дороги, в местах образования тумана; участки групп 1 и 2 при уровнях загрузки более 0,5

0,5

0,6

0,1

3,5

12

30

45

Покрытия с шероховатой поверхностью, создаваемые способами поверхностной обработки или втапливанием щебня размером 5 (10)-15 мм, скорость движения по условиям сцепления колес автомобилей с дорогой не ограничивается

 

Примечания: 1. Покрытия скоростных автомобильных дорог должны на всем протяжении иметь шероховатую поверхность, обеспечивающую коэффициенты сцепления такие же, как на опасных участках.

2. Цементобетонные покрытия с шероховатой поверхностью, создаваемой посредством специальных щеток, приравниваются по возможностям использования к асфальтобетонным покрытиям из средне- или многощебенистых смесей.

3. Покрытия из холодного асфальтобетона и гравийные покрытия, обработанные вяжущими, по возможностям использования приравниваются к покрытиям из песчаного асфальтобетона.

4. Применение покрытий и способов устройства шероховатых поверхностей, не указанных в графе 10 и в примеч. 1 и 3, допускается при условии обеспечения параметров шероховатости и коэффициентов сцепления, указанных для соответствующих условий движения.


ПРИЛОЖЕНИЕ 11

СТАДИИ И СОСТАВ ПРОЕКТОВ ВОДОСТОКОВ

Проектная документация на строительство водостоков разрабатывается на стадии генплана в виде генеральной схемы; при техническом проектировании - в две стадии: технический проект со сметой и рабочие чертежи, а для небольших по стоимости и несложных объектов в одну стадию - техно-рабочий проект со сметой.

Для города, района, отдельного бассейна разрабатывается схема водостоков для объекта в целом. Для городов разрабатывается генеральная схема водостоков для всей водосборной площади, расположенной в пределах границ города. Водостоки для отдельного объекта (улицы, квартала, района) проектируются в увязке с общей схемой водостоков города (генсхемой).

При отсутствии ранее составленной генеральной схемы следует разработать схему водоотвода для бассейна данного объекта в увязке, в случае необходимости, со схемами для смежных бассейнов.

Техническое проектирование водостоков выполняется по плановым заданиям, которые должны сопровождаться архитектурно-планировочным заданием, в котором на основании генеральной схемы, проекта детальной планировки, проекта застройки регламентируются основные условия использования городской территории: красные линии отметки вертикальной планировки, характер застройки в настоящее время и на перспективу, поперечные профили улиц, основные принципиальные решения по руслам малых речек, регулирование русел рек и укрепление берегов.

На устройство городских водоемов (прудов) выдается отдельное архитектурно-планировочное задание, в котором устанавливаются размеры прудов, назначение их, планировка прилегающей территории и требования по защите открытых водостоков от загрязнения.

А. Генеральная схема

Генеральная схема водостоков состоит из чертежей: план района в масштабах 1:10000 или 1:25000, план объекта в масштабах 1:10000 или 1:5000, продольные профили главных коллекторов и пояснительной записки. На плане объекта должно быть показано расположение главных коллекторов, развитие сети водостоков с подразделением на большие (диаметром свыше 1,5 м) и малые (диаметром 1,1-1,5 м) коллекторы; расположение больших (диаметром 0,7-1 м) и малых (диаметром 0,4-0,6 м) водостоков.

Указываются границы бассейнов главных коллекторов, бассейнов главных притоков, а также границы частных бассейнов, выделенные по расчетным точкам.

При наличии планов в масштабе 1:2000 и проектов детальной планировки и застройки рекомендуется по ним прорабатывать вопросы генеральной схемы и результаты проработки наносить на общие планы в масштабах 1:10000 и 1:5000.

Продольные профили составляются от верховьев до устья только для главных коллекторов и главных притоков, имеющих на низовом участке коллектора диаметр 1,5 м или длину более 2-3 км. Для второстепенных малых коллекторов и главных притоков вместо профилей составляются расчетные схемы с отметками. На профилях фиксируют отметки поверхности земли (черные отметки, планировочные отметки), основные пересекаемые подземные сооружения (главные водоводы, каналы канализации, тоннели и т.п.). При глубине заложения более 5-8 м рассматривается вопрос о применении закрытых проходов.

При неблагоприятных гидрогеологических условиях и необходимости дренирования территории в состав работ по генеральной схеме следует включать разработку мероприятий по понижению уровня грунтовых вод в пределах городских территорий. В этих случаях при проектировании сети водостоков необходимо учитывать глубину присоединения к ним городских дренажей.

В генеральной схеме развития сети водостоков должны быть запроектированы: система канализации, тип водостока (закрытый, открытый, смешанный), конструкции водостоков; условия выпуска воды из водостоков в водоемы; схема осветления поверхностного стока при часто повторяющихся дождях; при необходимости - использование прудов для регулирования расходов ливневого стока, устройство насосных установок для принудительного удаления воды, дополнительные мероприятия для обеспечения нормальных условий работы водостоков; прием грунтовых вод; использование водостоков для сплава снега и др.

При составлении генеральной схемы устанавливаются следующие нормативные положения: расчетная формула интенсивности дождей, коэффициент стока для различных зон города, определение периода однократного превышения интенсивности ливней для различных условий формирования поверхностного стока. Кроме того, на стадии генеральной схемы выясняют вопросы планировочного решения сети улиц, назначения территории, характера застройки и благоустройства улиц, возможности сохранения открытых русел малых притоков (балки, ручьи, речки). Устанавливают ориентировочно объемы работ, их очередность и ориентировочную стоимость. Генеральная схема утверждается городским Советом народных депутатов в составе генерального плана города или самостоятельно и служит основополагающим документом на весь расчетный период генерального плана.

Генеральная схема водостоков разрабатывается в увязке с генеральными схемами инженерной подготовки и инженерного оборудования территории города.

Б. Технический проект

Исходными данными для технического проекта служат задание на проектирование, материалы генеральной схемы водостоков, генеральных схем инженерной подготовки и инженерного оборудования территории города, материалы проекта детальной планировки, проекта застройки, геодезическая подоснова со всеми существующими и проектируемыми подземными инженерными сетями, материалы гидрогеологических изысканий и результаты обследования объекта в натуре.

Технический проект содержит выдержки из генсхемы, чертежи плана бассейна в масштабах 1:2000-1:5000, плана объекта в масштабах 1:500 или 1:1000, продольных профилей; чертежи нетиповых конструкций труб и сложных узлов пересечений с другими подземными инженерными сетями и водовыпусков. План объекта составляется на геодезической подоснове со всеми планировочными данными, а также с нанесенными существующими и проектируемыми подземными сооружениями всех типов.

На планах сети водостоков (бассейнов) показывают всю сеть с выделением первой очереди строительства; границы бассейнов стока с выделением площади стока к расчетным точкам, номера коллекторов и расчетных точек, границы частных бассейнов. Указывают длину и диаметр водостока между расчетными точками и иногда их уклоны. В отдельных таблицах приводят фактические площади стока, коэффициенты стока, длину и диаметр водостоков.

Продольные профили составляют по плану с горизонталями рельефа в масштабах: горизонтальный - 1:1000, вертикальный - 1:100. На них показывают отметки вертикальной планировки, отметки и сечения главных подземных сооружений, пересекающих трассу водостоков, данные по проектируемым водостокам (отметки лотка, отметки шелыг, длину и уклоны водостоков, расстояния между расчетными точками, диаметры труб, глубину заложения, расчетные расходы и пропускную способность труб).

Проектное решение сети водостоков в плане и профилях должно быть увязано со схемой сооружений, устраиваемых по осветлению поверхностного стока, предусмотренных в генсхеме.

К техническому проекту прилагаются документы, обосновывающие или разъясняющие принятые технические решения. Сюда относятся: общая геологическая и гидрогеологическая характеристики объекта, сведения о существующей и перспективной застройках, справки о режиме открытых протоков и водоемов, инвентарные данные о существующих водостоках и дренажах с актом об их состоянии в настоящее время и характеристикой работы за прежние годы по данным эксплуатационной службы.

Пояснительная записка к техническому проекту должна быть краткой с обоснованием проектных решений (не повторяя сведений о проектных решениях, которые содержатся в чертежах).

Технический проект крупных водосточных объектов при сложных условиях надлежит разрабатывать в нескольких вариантах и на основании их сравнения рекомендовать к утверждению вариант, наиболее целесообразный в технико-экономическом отношении.

В. Рабочие чертежи и техно-рабочий проект

Рабочие чертежи составляют на основе утвержденного технического проекта (при двухстадийном проектировании).

Рабочие чертежи должны содержать:

выкопировку из плана бассейна, охваченного проектированием, в масштабе 1:2000 или 1:5000, на которую наносится сводный генеральный план проектируемой сети водостоков и строительства первой очереди;

планы трасс водостоков в масштабе 1:500 или 1:200, на которых приводится нумерация смотровых и дождеприемных колодцев, расстояния, диаметры труб и уклоны между смотровыми колодцами (на ветках водостока только расстояния и диаметры труб), указания о переустройстве старых труб водостоков или замене смотровых и дождеприемных колодцев, таблицы объемов работ для каждого водостока в отдельности, а также суммарную сводную таблицу для всего объема работ, предусмотренного проектом;

продольные профили водостоков в масштабах: горизонтальном - 1:1000, вертикальном - 1:100, составляемые по нивелирным данным геодезических изысканий или по проекту реконструкции проезда с указанием всех подземных сооружений, расположенных в местах пересечения их с проектируемым водостоком; на профили наносится геологический разрез по отчетным данным геологических исследований участка, в остальном оформление профилей выполняется в полном соответствии с указаниями технического проекта;

профили веток водостока (горизонтальный масштаб 1:500, вертикальный - 1:50). Для веток длиной 10 м и менее, а также при большей длине при отсутствии пересечений с подземными сооружениями профили можно не составлять. В этом случае проектные данные сводятся по форме, табл. 90.

Таблица 90

Дождеприемные колодцы

Ветки

Смотровые колодцы

№ колодца

высота колодца

отметка верха решетки колодца

отметка лотка колодца

интервал

длина интервала

диаметр трубы

уклон трубы

№ колодца

отметка присоединения ветки

отметка верха люка колодца

отметка лотка колодца

 

 

 

 

 

 

 

 

 

 

 

 

гидравлические расчеты сети проектируемых водостоков в табличной форме, отдельные гидравлические расчеты специальных устройств;

ведомость с указанием объемов работ для прокладки каждого водостока;

таблицы колодцев и спецификации сборных элементов;

схему привязок трассы к плану местности и акт сдачи закрепленной в натуре трассы проектируемых сооружений строительной организации.

Техно-рабочий проект выполняется, как правило, на несложные объекты, не требующие разработки вариантов, при наличии общих схем водостоков (бассейна, района, города) и содержит: выдержку из генеральной схемы план бассейна в масштабах 1:2000-1:5000; план объекта в масштабе 1:500 или 1:1000; продольные профили чертежей нетиповых конструкций труб и узлов пересечений с другими подземными инженерными сетями и чертежей водовыпусков; чертежи типовых конструкций (колодцы, трубы); таблицы колодцев и спецификацию сборных элементов; схему привязки трассы водостока к плану местности и акт сдачи трассы строительной организации; таблицу объемов работ и смету; краткую пояснительную записку с расчетными обоснованиями и копиями согласований с заинтересованными организациями.

ПРИЛОЖЕНИЕ 12

ОПРЕДЕЛЕНИЯ РАСЧЕТНЫХ ДАННЫХ ДЛЯ ПРОЕКТИРОВАНИЯ СНЕГОУДАЛЕНИЯ

Для проектирования мероприятий по снегоудалению необходимо определять следующие общие расчетные данные:

а) объемную массу снега. Она зависит от состояния снега, способа подметания, обвалования и переброски, загрязненности, температуры воздуха и характера ветров (табл. 91). Влияние всех этих характеристик рекомендуется уточнять в конкретных условиях проектирования.

Таблица 91

Вид снега

Объемная масса, т/м3

Количество примесей, %, к массе снега

Свежевыпавший окученный

0,2

0,3-0,5

Лежалый окученный

0,3

1-0,5

Окученный на улицах с интенсивным движением

0,3

1,6-2

Сброшенный с крыш зданий

0,4

0,6-1

Влияние температуры воздуха и ветра на объемную массу снега на длительный период определяется по данным метеорологических станций. Для II климатической зоны среднюю объемную массу окученного снега за год, с учетом температуры и ветра, принимают 0,3 т/м3 при коэффициенте уплотнения 0,4;

б) расчетный и максимальный снегопад. Снегоприемная способность камер и других сооружений, снегоудаляющая способность коллекторов, производительность снеготаялок, площадь технических и резервных полос и т.п. определяются из расчетного снегопада и проверяются на максимальный снегопад с учетом режимов уборки.

Расчетный снегопад qрасч, т/м2, определяется за десятилетний период по формуле

                                  (25)

где q1 - средний максимальный снегопад за первый год;

q2 - средний максимальный снегопад за второй год и т.д.;

                                                          (26)

здесь п - количество максимальных снегопадов за год назначается от 5 до 10 в зависимости от метеорологических условий населенного пункта;

в) режим уборки и интенсивность снегоудаления. Режимом уборки называется отрезок времени, ч, установленный для уборки снега с данной улицы, определяемый решением исполнительного комитета Совета народных депутатов данного населенного пункта в зависимости от его типа, категории городской улицы или дороги.

Для крупных и крупнейших городов рекомендуются категории режимов уборки, приведенные в табл. 92;

Таблица 92

Категория режима уборки

Режим уборки, ч

в средний расчетный снегопад

в максимальный снегопад

I

24

36

II

36

48

III

72

72

IV

96

96

г) общее количество снега. Общее количество снега Q, т, удаляемого за сезон, определяется по формуле

Q = ΣFhγk,                                                                 (27)

где ΣF - сумма площадей, с которых снег, подлежит удалению, м2;

h -    средняя расчетная высота снега, м;

γ -    объемная масса уплотненного снега, т/м3;

k -  коэффициент уплотнения снега, равный 0,4;

                                            (28)

где  - сумма высот твердых осадков, мм;

 -   сумма высот твердых осадков, выпадающих при температуре воздуха более 0 °С, мм;

 - сумма высот твердых осадков при снегопадах с интенсивностью менее 0,2 мм.

Сумма высот твердых осадков для всех видов принимается по метеорологическим данным за 10 лет.

ЛИТЕРАТУРА1

1 В списке не указана инструктивно-нормативная литература по проектированию городских улиц и дорог, которая приводится в ежегодно издаваемом «Перечне действующих общесоюзных нормативных документов по строительству и Государственных стандартов, утвержденных Госстроем СССР».

1. Инструкция по устройству покрытий и оснований из щебеночных, гравийных и песчаных материалов, обработанных органическими вяжущими (ВСН 123-77). Минтрансстрой, М.: Транспорт, 1978.

2. Технические указания по проектированию пересечений и примыканий автомобильных дорог (ВСН 103-74). Минтрансстрой - М.: Транспорт, 1976.

3. Методические рекомендации по проектированию и строительству дорожных одежд с асфальтобетонным покрытием на основаниях из бетона разных марок. СоюздорНИИ. - М., 1971.

4. Методические рекомендации по использованию золошлаковых смесей ТЭС для устройства укрепленных оснований и морозозащитных дорожных одежд. СоюздорНИИ. М., 1971.

5. Методические рекомендации по совершенствованию методов проектирования дорожных одежд с основаниями из укрепленных грунтов и материалов. СоюздорНИИ. М., 1977.

6. Методические рекомендации по нормам и контролю коэффициентов шероховатости дорожных покрытий. СоюздорНИИ. М., 1973.

7. Методические рекомендации по выбору рациональных конструкций дорожных одежд в условиях Средней Азии. СоюздорНИИ. М., 1973.

8. Методические рекомендации по строительству земляного полотна и дорожных одежд в условиях Братск - Усть-Илимского территориально-производственного комплекса. СоюздорНИИ.. М., 1976.

9. Методические рекомендации по выбору конструкций дорожных одежд в районах добычи нефти и газа в районах Западной Сибири. СоюздорНИИ. М., 1973.

10. Методические рекомендации по осушению земляного полотна и основания дорожных одежд в районах из бесточного увлажнения и сезонного промерзания грунтов. СоюздорНИИ, М., 1974.

11. Методические рекомендации по регулированию пешеходного движения. ВНИИБД МВД СССР, М., 1977.

12. Методические рекомендации по проектированию наружных осветительных установок в районах Крайнего Севера. М.: Стройиздат, 1977.

13. Методические указания по проектированию земляного полотна. СоюздорНИИ. М., 1974.

14. Методические указания по оценке прочности и расчету усиления нежестких дорожных одежд. Минавтодор РСФСР. М.: Транспорт, 1979.

15. Рекомендации по проектированию освещения микрорайонов. М.: Стройиздат, 1978.

16. Проектирование наружных осветительных установок при использовании дорожных покрытий с дорсилом. М.: Стройиздат, 1978.

17. Типовые решения освещения улиц и дорог. М.: Стройиздат, 1976.

18. Руководство по проектированию скоростных городских дорог и магистральных улиц общегородского значения с непрерывным движением в г. Москве. Исполком Моссовета. М., 1977.

19. Руководство по регулированию дорожного движения в городах. МВД СССР и МЖКХ РСФСР. М.: Стройиздат, 1974.

20. Краткий автомобильный справочник НИИАТ. М.: Транспорт, 1975.

21. Справочник инженера-дорожника. Изыскания и проектирование автомобильных дорог. М.: Транспорт, 1977.

22. Справочник проектировщика. Градостроительство. М.: Стройиздат, 1978.

23. Абрамов С. К. Подземный дренаж в подземном и городском строительстве. М.: Стройиздат, 1973.

24. Градостроительные меры борьбы с шумом. М.: Стройиздат, 1975.

25. Бабков В. Ф., Андреев О. В., Замахаев М. С. Автомобильные дороги. Т 1 и 2. М.: Транспорт, 1970.

26. Дрю Д. Теория транспортных потоков и управление ими. М.: Транспорт, 1972.

27. Дубровин Е. Н., Ланцберг Ю. С. и др. Пересечения в разных уровнях на городских магистралях. М.: Высшая школа, 1977.

28. Евгеньев И. Е. и Казарновский В. Д. Земляное полотно автомобильных дорог на слабых грунтах. М.: Транспорт, 1974.

29. Карагодин В. Л., Молоков М. В. Отвод поверхностных вод с городских территорий. М.: Стройиздат, 1974.

30. Клинковштейн Г. И, Организация дорожного движения. М.: Транспорт, 1975.

31. Лобанов Е. М., Сильянов В. В. и др. Пропускная способность автомобильных дорог. М.: Транспорт, 1970.

32. Лунц Л. Б. Городское зеленое строительство. М.: Стройиздат, 1974.

33. Меркулов Е. А. Городские дороги. М.: Высшая школа, 1973.

34. Меркулов Е. А., Славуцкий А. К. Основы проектирования городских дорог. М.: Стройиздат, 1971.

35. Моисеев В. Ю., Пинчук В. Я. Проектирование рельефа застраиваемой территории. Киев: Будiвельник, 1977.

36. Молоков М. В., Шифрин В. Н. Очистка поверхностного стока с территорий городов и промплощадок. М.: Стройиздат, 1977.

37. Свечников Е. В., Фишельсон М. С. Городской транспорт. М.: Высшая школа, 1976.

38. Самойлов Д. С, Юдин В. А. Городской транспорт. М.: Стройиздат, 1975.

39. Сигаев А. В. Грузовые магистрали города. М.: Высшая школа, 1975.

40. Сигаев А. В. Проектирование улично-дорожной сети. М.: Стройиздат, 1978.

41. Сильянов В. В. Теория транспортных потоков в проектировании дорог и организации движения. М.: Транспорт, 1977.

42. Славуцкий А. К. Дорожные одежды из местных материалов. М.: Транспорт, 1977.

43. Тулаев А. Я. Проектирование оптимальных нежестких дорожных одежд. М.: Транспорт, 1977.

44. Тулаев А. Я. Расчет и конструкция дренирующих устройств. М.: Высшая школа, 1974.

45. Яковлев Ю. И., Апестин В. К., Шак А. И. Испытание и оценка прочности нежестких дорожных одежд. М.: Транспорт, 1977.

46. Яншин А. М. Перспективы развития сети городских магистралей. М.: Стройиздат, 1975.

СОДЕРЖАНИЕ

Предисловие. 1

1. Общие положения. 1

2. Основные исходные данные. 7

3. Проектирование поперечного профиля и плана. 21

4. Вертикальная планировка улиц и дорог. 38

5. Пересечения улиц и дорог в одном и разных уровнях. 44

6. Пешеходные переходы в одном и разных уровнях. 54

7. Искусственные сооружения на городских улицах и дорогах. 61

8. Проектирование земляного полотна. 64

9. Расчет и проектирование дорожных одежд. 70

10. Водоотвод, дренажи и снегоудаление. 79

11. Наружное освещение городских улиц и дорог. 88

12. Озеленение. 96

13. Городские инженерные сети. 101

14. Организация и регулирование движения. Обустройство городских улиц и дорог. 109

Приложение 1 Основные характеристики и содержание разработок улично-дорожной сети на различных стадиях градостроительного проектирования. 118

Приложение 2 Состав технического проекта и рабочих чертежей строительства (реконструкции) городских улиц и дорог. 119

Приложение 3 Основные габариты транспортных средств, преобладающих на улицах и дорогах городов ссср, и нагрузки от них. 121

Приложение 4 Расчет пропускной способности магистрали непрерывного движения. 122

Приложение 5 Расчет пропускной способности регулируемого пересечения. 122

Приложение 6 Расчет параметров переходной кривой. 123

Приложение 7 Определение числа выездов из межмагистральной территории. 126

Приложение 8 Выбор типа левоповоротных съездов и геометрической схемы пересечений в разных уровнях. 126

Приложение 9 Расчетные характеристики материалов. 128

Приложение 10 Условия движения, коэффициенты сцепления и параметры шероховатости поверхности покрытий. 131

Приложение 11 Стадии и состав проектов водостоков. 133

Приложение 12 Определения расчетных данных для проектирования снегоудаления. 135

Литература. 137

 

 




ГОСТЫ, СТРОИТЕЛЬНЫЕ и ТЕХНИЧЕСКИЕ НОРМАТИВЫ.
Некоммерческая онлайн система, содержащая все Российские Госты, национальные Стандарты и нормативы.
В Системе содержится более 150000 файлов нормативно-технической документации, действующей на территории РФ.
Система предназначена для широкого круга инженерно-технических специалистов.

Рейтинг@Mail.ru Яндекс цитирования

Copyright © www.gostrf.com, 2008 - 2026