Крупнейшая бесплатная информационно-справочная система онлайн доступа к полному собранию технических нормативно-правовых актов РФ. Огромная база технических нормативов (более 150 тысяч документов) и полное собрание национальных стандартов, аутентичное официальной базе Госстандарта. GOSTRF.com - это более 1 Терабайта бесплатной технической информации для всех пользователей интернета. Все электронные копии представленных здесь документов могут распространяться без каких-либо ограничений. Поощряется распространение информации с этого сайта на любых других ресурсах. Каждый человек имеет право на неограниченный доступ к этим документам! Каждый человек имеет право на знание требований, изложенных в данных нормативно-правовых актах!

  


 

ОТРАСЛЕВОЙ ДОРОЖНЫЙ МЕТОДИЧЕСКИЙ ДОКУМЕНТ

Введено в действие

распоряжением Росавтодора

от «17» июля 2002 г. № ОС-617-р

РУКОВОДСТВО
ПО ОЦЕНКЕ РОВНОСТИ ДОРОЖНЫХ ПОКРЫТИЙ
ТОЛЧКОМЕРОМ

МИНИСТЕРСТВО ТРАНСПОРТА РОССИЙСКОЙ ФЕДЕРАЦИИ

ГОСУДАРСТВЕННАЯ СЛУЖБА ДОРОЖНОГО ХОЗЯЙСТВА

(Росавтодор)

Москва 2002

СОДЕРЖАНИЕ

Предисловие

Настоящее Руководство разработано для обеспечения сопоставимости результатов при измерении ровности покрытий автомобильных дорог с помощью толчкомеров.

Толчкомеры являются наиболее распространенными и недорогими быстродействующими средствами измерения ровности в России. Простота конструкции, высокая производительность при минимальных затратах делают актуальным их применение при строительстве, эксплуатации и диагностике автомобильных дорог.

Методу толчкомера присущи недостатки, связанные с повторяемостью и сопоставимостью результатов измерений. Эти недостатки обусловлены, главным образом, техническим состоянием транспортного средства, динамикой изменения параметров его подвески и шин, а также факторами методического характера.

Для уменьшения погрешности измерений и сопоставимости получаемых данных в руководстве описан метод калибровки толчкомеров с использованием эталонных участков. На основании экспериментальных исследований определены калибровочные зависимости толчкомеров по методу трехметровой рейки и международному индексу ровности IRI.

Даны конкретные рекомендации по подготовке и проведению измерений, позволяющие минимизировать погрешности и получать сопоставимые результаты, что особенно актуально для обеспечения задач диагностики автомобильных дорог России, а также сравнивать состояние ровности отечественных автомобильных дорог с зарубежными на основании международного индекса ровности IRI.

Следует отметить, что из-за большого количества факторов, влияющих на результаты измерений, достоверную оценку ровности с помощью толчкомеров можно получить только при добросовестном и скрупулезном выполнении всех положений настоящего руководства.

Коллектив исполнителей проделал большую экспериментальную и аналитическую работу, на основании которой получены зависимости и разработана методика для сопоставления результатов измерения ровности автомобильных дорог с помощью толчкомеров.

В разработке Руководства принимали участие: кандидаты техн. наук Юмашев В. М., Пахомов А. А., инж. Шпак A. M., Рвачев А. Н., Устименко Н. М.

1. Общие положения

1.1. Установки, работающие по методу толчкомера, являются недорогими и доступными, широко применяются для определения эксплуатационной ровности дорожных покрытий и являются основными приборами для определения ровности при диагностике автомобильных дорог. К достоинствам этого метода можно отнести высокую производительность и оперативность получения данных, что позволяет осуществлять сплошной, а не выборочный контроль. В то же время из практики известно, что даже новые однотипные установки могут иметь существенный разброс данных (до 25 % и более), получаемых при контроле ровности одного и того же участка. Используемые методики измерений не позволяют получить хорошую сходимость результатов при использовании толчкомеров разных типов или однотипных, но установленных на разных автомобилях и находящихся в различном техническом состоянии.

1.2. К выполнению работ по диагностике автомобильных дорог привлекаются различные организации, оснащенные, как правило, неоднотипными установками. Поэтому получить сопоставимые оценки о состоянии ровности диагностируемой сети автомобильных дорог по результатам измерений с помощью толчкомеров без принятия дополнительных мер затруднительно.

1.3. Разработанное Руководство направлено на повышение сходимости результатов измерений при определении ровности дорожных оснований и покрытий с помощью метода толчкомера.

2. Описание метода толчкомера

2.1. Суть метода заключается в измерении сжатия рессор (пружин) подвески автомобиля или специального прицепного устройства, используемых для контроля ровности, при проезде контролируемого участка. Суммирование и регистрация сжатия рессор осуществляется с помощью измерителя механического или электронного типа, который получил название толчкомер. Суммарное сжатие рессор, полученное на участке длиной 1 км, выражается величиной, имеющей размерность см/км. При проведении измерений скорость транспортного средства должна быть постоянной. На практике скорость принимается равной 50 км/ч.

2.2. На прогиб рессор, помимо основного возмущающего воздействия (неровности дороги), влияют подрессоренная и неподрессоренная массы автомобиля или прицепного устройства, коэффициент суммарного сопротивления гидравлических амортизаторов и трение в сочленениях подвески, жесткость рессор подвески и радиальная жесткость шин колес. Для повышения стабильности получаемых данных необходимо, чтобы эти параметры оставались неизменными в процессе эксплуатации. К сожалению, на практике достичь этого не удается, но с помощью различных мер можно значительно уменьшить влияние их нестабильности на результаты измерений.

2.3. При движении автомобиля дополнительными возмущающими факторами, влияющими на колебания подвески, кроме неровностей покрытия будут также: дисбаланс колес и отклонение шин от круглой формы, изменение скорости движения в процессе измерений, переключение передач и др.

При повторных измерениях на одном и том же участке невозможно выдержать первоначальный след движения, что приводит к разбросу получаемых данных. Величина разброса в значительной степени зависит от поперечной ровности.

2.4. Конструктивное исполнение измерителя (толчкомера) также оказывает влияние на точность измерения. Его влияние на результаты контроля обусловлено состоянием привода, дискретностью измерения, количеством значащих цифр и др.

3. Выбор метода калибровки толчкомера

3.1. При проведении измерений с помощью различных установок часто принимают одно средство измерения в качестве эталонного и по нему калибруют остальные устройства. Таким способом решают проблему сопоставимости данных, получаемых с помощью различных средств измерений. При контроле ровности с помощью толчкомеров такой вариант принципиально возможен, но только в рамках одной организации.

3.2. Параметры подвески используемых эталонного и калибруемого автомобилей (прицепных устройств) не остаются постоянными в процессе эксплуатации и при замене отдельных элементов подвески. Следствием этого будет изменение калибровочной зависимости в процессе эксплуатации и различие получаемых оценок ровности одного и того же участка с помощью эталонной и прокалиброванной установок. Поэтому периодически необходимо делать поверку полученных калибровочных зависимостей и при необходимости осуществлять их корректировку. При таком варианте калибровки остается проблема сохранения параметров эталонного устройства неизменными в процессе эксплуатации.

3.3. При диагностике автомобильных дорог в различных регионах с помощью разнотипного оборудования рассмотренный вариант получения сопоставимых данных практически неприемлем. В этом случае в качестве эталонного средства контроля необходимо выбирать устройство (метод), которое характеризуется значительно большей стабильностью и точностью, чем калибруемое устройство.

4. Обоснование эталонного метода калибровки

4.1. В мировой практике контроля ровности автомобильных дорог за последние 10 - 15 лет для оценки их ровности достаточно широкое распространение находит международный показатель (индекс) ровности IRI (International Roughness Index). Оценка ровности по IRI получается путем моделирования проезда автомобиля с заданными параметрами подвески со скоростью 80 км/ч по контролируемому следу движения. При этом определяется сжатие рессор автомобиля. Показатель IRI имеет размерность мм/м или м/км. По своей физической сущности показатель IRI близок к оценке по толчкомеру. Для того чтобы получить оценку ровности по IRI необходимо измерить продольный профиль контролируемого участка с шагом не более 0,25 м, а затем вычислить значение IRI.

4.2. При калибровке средств измерений часто используют уравнение регрессии второго порядка, имеющее следующий вид:

                                                   (1)

где:

y - результат измерения эталонным устройством;

x - результат измерения калибруемым устройством;

А, В, С - неизвестные коэффициенты уравнения регрессии, которые необходимо определить.

Рассмотренный подход может быть использован при калибровке толчкомеров. При использовании в качестве эталонного показателя международного индекса ровности IRI уравнение калибровки примет следующий вид:

                                                  (2)

где:

E(IRI) - оценка ровности участка по IRI, м/км;

Т - оценка ровности участка по толчкомеру, см/км.

Для определения коэффициентов А, В, С регрессионного уравнения необходимо выбрать несколько калибровочных участков и получить их оценку ровности с помощью толчкомера и по IRI. Порядок вычисления коэффициентов А, В, С приведен в разделе 6.

4.3. Следует отметить, что до настоящего времени не принят международный стандарт, который классифицировал бы автомобильные дороги по ровности в соответствии со значениями международного показателя ровности IRI. В приложении 1 приведена классификация ровности автомобильных дорог по IRI, которая использовалась при проведении международных сравнительных испытаний по ровности, а также классификация, принятая в Бельгии, Швеции и Финляндии. Показатель ровности IRI в нашей стране пока не включен в нормативные документы и не нашел широкого применения. В то же время, учитывая значительный рост международных перевозок, целесообразно оценивать ровность автомобильных дорог по этому показателю и осуществлять сравнение ровности отечественных автомобильных дорог с зарубежными.

4.4. Получение продольного профиля участков, используемых для калибровки, при отсутствии высокопроизводительных установок профилометрического типа или лазерных цифровых нивелиров, а также вычисление значений международного показателя ровности IRI для этих участков является трудоемким процессом. Поэтому в России в качестве эталонного показателя целесообразно использовать оценку ровности по методу трехметровой рейки с клиновым промерником, который включен в ГОСТ 30412, ГОСТ Р 50597, СНиП 3.06.03-85 и др., а показатель IRI использовать факультативно. Несмотря на различную физическую сущность методов IRI и трехметровой рейки на основании большого объема экспериментальных данных установлена регрессия (зависимость) между оценками ровности по этим методам. Регрессионная функция имеет следующий вид:

                                          (3)

где:

E(IRI) - оценка ровности участка по IRI, м/км;

Р - количество просветов под трехметровой рейкой, превышающих величину 3 мм. Эта величина выражается в процентах от общего количества просветов, полученных при измерении трехметровой рейкой на выбранном участке.

В графическом виде эта зависимость представлена в приложении 2. Получение эталонных оценок участков, используемых для калибровки с помощью трехметровой рейки, менее трудоемкий процесс, чем их нивелирование с коротким шагом и дальнейшая обработка по специальной программе. В этом случае уравнение калибровки будет иметь следующий вид:

                                                (4)

где:

Е(Р) - оценка ровности участка по методу трехметровой рейки, %;

Т - оценка ровности того же участка с помощью калибруемой установки, осуществляющей метод толчкомера, см/км.

5. Выбор эталонных участков и получение их оценок

5.1. Количество участков калибровки N следует принимать равным 6 - 7. При меньшем количестве участков будет возрастать погрешность калибровки. Весь предполагаемый контролируемый диапазон шкалы ровности при измерении толчкомером необходимо разбить на N поддиапазонов и выбрать участки для калибровки с параметрами ровности, соответствующими этим поддиапазонам. Характеристики ровности выбранных участков должны примерно соответствовать арифметической прогрессии (равномерно распределены по предполагаемому диапазону измерения). Участки должны располагаться на прямолинейных отрезках автомобильных дорог и иметь свойства ровности, которые являются общими для всей длины участка, включая пятидесятиметровый подход к калибровочному участку. Длина участков должна быть не менее 400 м каждый.

5.2. Для каждого участка от 1 до N необходимо получить оценку ровности по толчкомеру Т и выбранному эталонному показателю ровности: количеству просветов под трехметровой рейкой или IRI.

6. Расчет калибровочной кривой

6.1. Формулы для вычисления уравнения калибровки (1) (определения коэффициентов А, В, С) приведены ниже:

6.2. В формулах через N обозначено количество участков калибровки; Xi - оценка ровности i-го участка по толчкомеру; Yi - оценка ровности этого же участка по выбранному эталонному методу; i - обозначает порядковый номер участка.

6.3. Полученные в результате вычислений числовые значения коэффициентов А, В, С подставить в регрессионное уравнение (1), которое и будет описывать калибровочную кривую для калибруемой установки.

6.4. Калибровку установок необходимо осуществлять для рабочей скорости, на которой будут проводиться измерения.

6.5. Практика проведения контроля ровности с помощью толчкомеров показала, что принятая рабочая скорость, равная 50 км/ч, не оптимальна. Так, для автомобилей УАЗ сложно поддерживать такую скорость без переключения передач на участках автомобильных дорог даже с небольшим подъемом. При движении с такой скоростью часто создаются помехи транспортному потоку. Поэтому целесообразно иметь калибровочные зависимости, по крайней мере, для двух различных рабочих скоростей, выбор в значительной степени обусловлен типом используемого автомобиля.

6.6. Для каждой установки, предназначенной для диагностики автомобильных дорог, необходимо получить свою калибровочную кривую, то есть каждая установка должна калиброваться индивидуально.

6.7. Калибровка является справедливой только в пределах диапазона ровности, охватываемого участками калибровки.

7. Порядок получения калибровочной зависимости

7.1. Выбрать рабочую скорость.

7.2. На ряде участков автомобильных дорог с различной степенью ровности провести предварительные измерения с помощью толчкомера на выбранной рабочей скорости. По результатам полученной оценки выбрать 6 - 7 участков длиной 300 - 500 м каждый, ровность которых находится в диапазоне от 30 - 40 до 200 - 250 см/км. Желательно, чтобы выбранные участки равномерно перекрывали весь необходимый диапазон ровности.

7.3. Получить точную оценку ровности для каждого выбранного участка Ni на рабочей скорости. Для этого необходимо провести измерения с помощью толчкомера не менее трех раз и определить среднее значение ровности на каждом участке. Привести полученное среднее значение ровности к участку длиной 1 км, умножив его на коэффициент Ki, равный:

                                                           (5)

где:

Li - длина выбранного участка, км.

Полученная оценка ровности Тi в см/км и будет использоваться при вычислении калибровочной зависимости.

7.4. Получить оценку ровности для каждого выбранного участка Ni по принятому эталонному показателю Ei (просветы под трехметровой рейкой или индексу IRI).

7.5. Используя полученные оценки ровности для выбранных участков Еi и Ti, с помощью формул, приведенных в разделе 5, рассчитать коэффициенты А, В, С регрессионного уравнения.

7.6. Подставить полученные числовые значения коэффициентов A, B, С в уравнение (2) или (4), в зависимости от принятого эталонного показателя. Полученное уравнение и будет являться уравнением калибровки или калибровочной зависимостью.

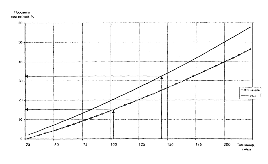
В соответствии с описанным порядком были получены калибровочные зависимости для автомобилей УАЗ-2206 и Газели для рабочей скорости 50 км/ч. В приложении 3 приведены калибровочные зависимости, полученные при использовании в качестве эталонного показателя метода трехметровой рейки, а в приложении 4 - IRI. При калибровке в качестве измерителя использовался толчкомер конструкции Росдорнии ИВП-1м.

Приведенные в приложениях 2 и 3 калибровочные зависимости даны в качестве примера и иллюстрируют порядок получения эталонных оценок. Для каждой конкретной установки должны быть получены свои калибровочные зависимости.

8. Измерение ровности дорожных покрытий

8.1. Так как на результаты контроля ровности с помощью толчкомера оказывают влияние многие факторы, то для повышения достоверности контроля необходимо строго соблюдать требования по техническому обслуживанию и эксплуатации установок и методику проведения измерений.

8.2. Для проведения измерений следует использовать только установки, прошедшие калибровку. Она должна осуществляться перед началом измерительного сезона ежегодно. Через 1 - 2 месяца эксплуатации и при замене элементов подвески необходимо проверять калибровку.

8.3. Измеритель должен располагаться на заднеприводном автомобиле. Перед выездом на испытания водитель должен убедиться в технической исправности автомобиля, а инженер-испытатель проверить работу измерителя в соответствии с установленной методикой.

8.4. Колеса автомобиля должны быть отбалансированы и иметь минимальные биения в вертикальной и горизонтальной плоскостях.

8.5. На всех колесах (включая запасное) следует установить однотипные шины, рекомендованные ТУ по эксплуатации автомобиля. Состояние шин должно соответствовать принятым нормам эксплуатации. Использование шин с неравномерным износом не допускается.

8.6. Давление в шинах должно соответствовать ТУ по эксплуатации с допуском + 0,01 МПа.

8.7. Для исключения сухого трения рессоры должны быть смазаны графитовой смазкой и закрыты защитными чехлами. Предпочтительнее использовать автомобиль с пружинной подвеской.

8.8. Параметры амортизаторов должны соответствовать ТУ. При температуре 0 °С и ниже на амортизаторы необходимо установить теплоизолирующие чехлы.

8.9. Масса автомобиля не должна изменяться более чем на ± 25 кг от ее значения при калибровке.

8.10. Установка измерителя на автомобиль и проверка его функционирования осуществляются согласно разработанным на него ТУ.

8.11. При проведении измерений следует поддерживать рабочую скорость движения в пределах ± 5 % от принятой для измерений без переключения передач, обеспечивая плавность движения автомобиля. На рабочую скорость необходимо переходить не менее чем за 50 м до начала контролируемого участка.

8.12. Измерение ровности необходимо осуществлять при движении по полосе наката. Количество проездов по каждой полосе не менее двух. При разбросе результатов двух измерений более чем на 15 % необходимо провести третье измерение.

8.13. Снятие показаний толчкомера Тi необходимо осуществлять против каждого километрового столба или по датчику пути. Одновременно необходимо снять показания с датчика пройденного пути Si.

9. Обработка результатов измерений

9.1. Определить среднее значение результатов измерений ровности Тi cp для каждого участка измерений.

9.2. Определить длину Si каждого участка измерений.

9.3. Для участков, длина которых более или менее 1 км, привести полученное значение Тi cp к оценке участка длиной в 1 км путем умножения Тi cp на коэффициент Ki, который определяется с помощью выражения (5). Оценка ровности участков протяженностью в 1 км должна выражаться в см/км.

9.4. С помощью полученной калибровочной зависимости  перевести оценку ровности каждого участка по толчкомеру Тi cp в соответствующую оценку по эталонному показателю - просвету под трехметровой рейкой. Порядок перевода значений ровности, полученных с помощью толчкомера, в оценку по эталонному показателю показан стрелками в приложении 3. Аналогично можно получить оценку по международному показателю ровности IRI при наличии соответствующей калибровочной зависимости .

9.5. Используя полученную оценку ровности по методу трехметровой рейки, с помощью приведенной ниже таблицы для каждого участка получить значения частного коэффициента обеспеченности расчетной скорости Кpc6 (см. «Правила диагностики и оценки состояния автомобильных дорог. ВСН 6-90»).

Таблица

Количество просветов под трехметровой рейкой более 3 мм, %

Коэффициент обеспеченности расчетной скорости, Крс6

1

1,0

1,15

2

2,5

1,0

3

5,0

0,89

4

10,0

0,72

5

15,0

0,61

6

20,0

0,53

7

25,0

0,47

8

30,0

0,42

9

35,0

0,38

10

40,0

0,34

11

45,0

0,32

12

52,5

0,25

ПРИЛОЖЕНИЕ 1

Градации ровности автомобильных дорог по IRI

№ п/п

Страна, место использования показателя IRI

Характеристика ровности

Значение IRI, м/км

1

Бельгия, 1984 г.

Класс А. Очень хорошая ровность

До 2

Класс В. Хорошая ровность

от 2 до 4

Класс С. Средняя ровность

от 4 до 6

Класс D. Плохая ровность

от 6 до 8

Класс Е. Очень плохая ровность

более 8

Порог вмешательства

более 6

2

Швеция, 1988 г.

Очень хорошая ровность

до 1,5

Хорошая ровность

1,5 - 2,5

Средняя ровность

2,5 - 3,5

Удовлетворительная ровность

3,5 - 4,5

Неудовлетворительная ровность

> 4,5

3

Финляндия, 2000 г.*)

Автомагистрали

до 1,7

Прочие 2 полосные государственные и национальные дороги

до 1,9

Прочие дороги общего пользования

до 2,1

4

Международный эксперимент (Мировой банк, Бразилия, 1982 г.)

Взлетно-посадочные полосы в аэропортах и высокоскоростные автомобильные дороги

0,8 - 1,3

Новые дорожные покрытия

1,3 - 3,3

Эксплуатируемые автомобильные дороги

2,3 - 5,5

5

Международный эксперимент FILTER (PIARC, Нидерланды, Германия, 1998 г.)

Хорошая ровность

до 1,5

Средняя ровность

от 1,5 до 3,5

Плохая ровность

более 3,5

*) Требования по ровности нового покрытия.


ПРИЛОЖЕНИЕ 2

IRI - рейка

Рис. 1. Зависимость IRI - рейка.

ПРИЛОЖЕНИЕ 3

Рейка - толчкомер, УАЗ, Газель

Рис. 2. Калибровочные зависимости рейка - толчкомер.

ПРИЛОЖЕНИЕ 4

IRI - толчкомер, УАЗ, Газель

Рис. 3. Калибровочные зависимости IRI - толчкомер.

 




ГОСТЫ, СТРОИТЕЛЬНЫЕ и ТЕХНИЧЕСКИЕ НОРМАТИВЫ.
Некоммерческая онлайн система, содержащая все Российские Госты, национальные Стандарты и нормативы.
В Системе содержится более 150000 файлов нормативно-технической документации, действующей на территории РФ.
Система предназначена для широкого круга инженерно-технических специалистов.

Рейтинг@Mail.ru Яндекс цитирования

Copyright © www.gostrf.com, 2008 - 2026