Крупнейшая бесплатная информационно-справочная система онлайн доступа к полному собранию технических нормативно-правовых актов РФ. Огромная база технических нормативов (более 150 тысяч документов) и полное собрание национальных стандартов, аутентичное официальной базе Госстандарта. GOSTRF.com - это более 1 Терабайта бесплатной технической информации для всех пользователей интернета. Все электронные копии представленных здесь документов могут распространяться без каких-либо ограничений. Поощряется распространение информации с этого сайта на любых других ресурсах. Каждый человек имеет право на неограниченный доступ к этим документам! Каждый человек имеет право на знание требований, изложенных в данных нормативно-правовых актах!

  


 

ЦЕНТРАЛЬНЫЙ НАУЧНО-ИССЛЕДОВАТЕЛЬСКИЙ
И ПРОЕ
КТНО-ЭКСПЕРИМЕНТАЛЬНЫЙ ИНСТИТУТ
ОРГАНИЗАЦИИ
, МЕХАНИЗАЦИИ И
ТЕХНИЧЕСКОЙ ПОМОЩИ СТРОИТЕЛЬСТВУ

АОЗТ ЦНИИОМТП

ТИПОВАЯ ТЕХНОЛОГИЧЕСКАЯ КАРТА
НА УСТРОЙСТВО КРОВЕЛЬ
ИЗ ЭЛАСТОМЕРНОГО РУЛОННОГО МАТЕРИАЛА
КРОМЭЛ

МОСКВА

2001

Согласовано:

Начальник Технического управления

АО «Моспромстрой»

____________________ А.К. Готгельф

«6» октября 1998 г.

Утверждено:

Генеральный директор

АОЗТ ЦНИИОМТП

___________________ П.П. Олейник

«6» октября 1998 г.

В технологической карте рассмотрены вопросы устройства и ремонта кровли из эластомерного материала Кромэл. Рекомендована область применения, разработаны организация и технология производства работ, охрана труда, техника безопасности и пожарной безопасности.

Карту разработали в АОЗТ ЦНИИОМТП сотрудники лаборатории кровельных работ кандидаты технических наук Белевич В.Б. и Чайка А.Г. при участии зав. сектором компьютерных и информационных технологий Ягудаева Л.М. и зам. начальника отдела полимерно-строительных материалов ЗАО «Максим Инжиниринг» Селефоненкова В.Е.

Типовая технологическая карта разработана по заданию Управления развития Генплана Правительства Москвы.

Ответственный исполнитель к. т. н. Колосков В.Н.

1. ОБЛАСТЬ ПРИМЕНЕНИЯ

1.1. Технологическая карта разработана на устройство однослойного кровельного ковра для жилых, общественных и производственных зданий из рулонного эластомерного материала Кромэл посредством сплошной приклейки его к основанию. Для приклеивания применяют холодную мастику Мастмэл.

Примечание: существуют другие системы крепления Кромэл к основанию - балластная система со свободной укладкой кровли и гравийным «пригрузом», система механического крепления кровли при помощи специальных крепежных элементов. Эти способы рассматриваются в отдельных технологических картах.

1.2. Кромэл является эластомерным материалом, его свойства позволяют укладывать его в летнее и зимнее время по жестким основаниям:

поверхности железобетонных плит без устройства по ним выравнивающих стяжек;

поверхности цементно-песчаных стяжек прочностью на сжатие 50 кг/см2;

поверхности стяжек из песчаного асфальтобетона с прочностью его на сжатие 8 кг/см2;

старых рулонных ковров, выполненных из различных кровельных материалов.

1.3. При привязке настоящей технологической карты к конкретному объекту уточняются объемы работ, конструкция крыши, калькуляция трудозатрат, использование средств механизации и приспособлений.

2. ТЕХНОЛОГИЯ И ОРГАНИЗАЦИЯ ВЫПОЛНЕНИЯ РАБОТ

2.1. До начала устройства кровли должны быть выполнены и приняты:

все строительно-монтажные работы на изолируемых участках, включая замоноличивание швов между сборными железобетонными плитами, установку и закрепление к несущим плитам водосточных воронок, компенсаторов деформационных швов, патрубков для пропуска инженерного оборудования, анкерных болтов;

слои паро- и теплоизоляции.

Проверочные работы должны включать:

контрольную проверку уклонов скатов и ровности основания под кровлю на всех поверхностях, включая карнизные участки кровель и места примыканий к выступающим конструкциям над кровлей.

Для проверки уклонов можно использовать геодезические приборы - нивелир и рейку, специальную 3-х метровую рейку «Кондор». Если уклоны и ровность превышают допустимые значения (см. Таблицу 5), поверхность основания необходимо исправить.

2.2. При устройстве кровель из эластомерного материала Кромэл должны выполняться требования норм по технике безопасности в строительстве, действующих правил по охране труда и противопожарной безопасности.

2.3. Для устройства кровельного ковра применяют следующие материалы:

рулонный эластомерный материал Кромэл (ТУ 5774-002-41993527-97), изготавливаемые из резиновой смеси на основе этиленпропилендиенового каучука, сдублированной с армирующей основой (или без нее) и вулканизованной по электронно-химической технологии; для системы сплошной приклейки предпочтительно применять материал марки Кромэл-1Р;

мастика Мастмэл;

шовный клей 88 КР.

Показатели физико-механических свойств материала Кромэл приведены в Таблице 1.

Показатели физико-механических свойств приклеивающей мастики Мастмэл приведены в Таблице 2. Эта же мастика используется для защиты поверхности кровли.

Показатели физико-механических свойств уплотняющей ленты Гермэл для использования в местах примыканий приведены в Таблице 3.

2.4. Работа по устройству кровель из Кромэла в соответствии со схемой организации работ на захватках (Рис. 1) должна быть включена в монтажный цикл с тем, чтобы использовать башенный кран для подъема рулонных материалов и мастики, а в случае отсутствия следует использовать крышевые краны (Рис. 2, 3).

2.5. Работа по устройству кровли должна быть организована таким образом, чтобы до минимума сократить непроизводительные переходы рабочих, а также перемещение материалов.


Рис. 1. Схема организации работ и движения кровельщиков при наклейке гидроизоляционного ковра

1 - машинное отделение; 2 - вентшахты; 3 - ендова; 4 - водоприемная воронка; 5 - крышевой стреловой кран;6 - уклон кровли;7 - номер делянки;8 - начало наклейки полотнищ на захватке;9 - направление наклейки полотнищ материала;10 - переход на новое рабочее место


Таблица 1

Физико-механические свойства Кромэл

Наименование показателей

Норма для марок Кромэл

НТД на метод испытаний

1РА

1. Условная прочность при растяжении, МПа, не менее

6,0

6,0

ГОСТ 2678-94

2. Относительное удлинение при разрыве, %, не менее

250

250

То же

3. Водопоглощение, %, не более

0,5

1,0

То же

4. Теплостойкость при температуре 120 °С в течение 2-х часов

отсутствие вздутий

То же

5. Изменение линейных размеров при нагревании, %, не более

2,0

2,0

То же

6. Гибкость на брусе с закруглением r = 5 мм, град. С, не более

-60

-60

То же

2.6. Для обеспечения ровности поверхностей перед выполнением теплоизоляции произвести нивелировку поверхности несущих плит для установки маяков, служащих основанием под рейки для укладки теплоизоляции на необходимую высоту.

2.7. Теплоизоляционные работы совмещают с работами по устройству пароизоляционного слоя, выполняя их «на себя». Это повышает сохранность теплоизоляции при транспортировании материалов.

2.8. Теплоизоляционные плиты должны плотно прилегать друг к другу. Если ширина швов между плитами превышает 5 мм, то их заполняют теплоизоляционным материалом.

2.9. Замоченная во время монтажа теплоизоляция должна быть удалена и заменена сухой.

2.10. В период организации выполнения работ особое условие состоит в том, что теплоизоляционные работы не должны опережать работы по устройству кровли. Как правило, их последовательность должна обеспечивать устройство кровельного ковра в ту же смену, что и укладка теплоизоляционных плит.

Качество теплоизоляции должно быть отмечено в актах на скрытые работы.

Таблица 2

Физико-механические свойства полимерно-битумной мастики Мастмэл
(ТУ
5775-004-41993521-97)

Наименование показателей

Нормы для вариантов Мастмэл-1

Нормы для марок Мастмэл-2

А

Б

Мастмэл-2-1

Мастмэл-2-2

1. Содержание нелетучих веществ, %, в пределах

32 - 38

42 - 48

30 - 40

50 - 60

2. Условная вязкость, с, в пределах

80 - 170

80 - 150

150 - 200

60 - 100

3. Относительное удлинение при разрыве, %, не менее

130

130

130

130

4. Прочность сцепления с основанием (бетоном) при отрыве рулонного кровельного материала, МПа (кг/см2), не менее

0,3 (3,0)

-

0,17 (0,7)

0,17 (1,7)

5. Прочность на сдвиг клеевого соединения между слоями рулонного кровельного материала, кН/м (кг/см2), не менее

2,0 (2,0)

-

2,0 (2,0)

2,0 (2,0)

6. Прочность сцепления с основанием при отрыве уплотнительной ленты, МПа (кг/см2), не менее

-

0,1 (1,0)

-

-

7. Гибкость на испытательном брусе с закруглением радиусом 5 мм, °С, не выше

-60

-60

-50

-40

8. Теплостойкость, в течение 2-х часов, °С, не менее

120

120

-

-

9. Теплостойкость на наклонной под углом 45° поверхности бетонного основания при времени выдержки 5 час, °С, не ниже

-

-

90

80

Рис. 2 Крышевой кран К-1М

1, 2 - стойки; 3 - тележка грузовая; 4 - электропривод

Рис. 3 Крышевой кран КБК-2

1 - стойка; 2 - балка; 3 - крюковая подвеска; 4 - каретка; 5 - привод; 6 - раскос; 7 - контргрузы

Рис. 4 Агрегат безвоздушного распыления 7000Н

1 - насос; 2 - тележка со съемной рукояткой; 3 - электродвигатель; 4 - защитно-отключающее устройство; 5 - электрокабель; 6 - тележка; 7 - пистолет; 8 - рукав высокого давления; 9 - всасывающая система; 10 - фильтр высокого давления

Таблица 3

Физико-механические свойства уплотнительной ленты Гермэл ТУ 5772-001-41993521-97

Наименование показателей

Гермэл

1. Внешний вид

Однородная эластичная лента без посторонних включений и неразмешанных частиц наполнителя, разрывов и сквозных отверстий. На поверхности ленты допускается наличие шагрени

2. Водопоглощение, %, не более

0,15

3. Сопротивление текучести, мм, не более

2,0 при температуре 333 К (60 °С)

4. Предел прочности при растяжении, МПа, не менее

в поперечном направлении

-

в продольном направлении

0,030

5. Относительное удлинение при максимальной нагрузке, %, не менее

30

6. Прочность связи с бетоном (с грунтом) при отрыве, МПа, не менее

0,10

7. Характер разрушения при отрыве

когезионный

8. Прочность связи с металлом при отрыве, МПа, не менее

0,10

9. Характер разрушения при отрыве от металла

когезионный

2.11. Основанием под кровлю могут служить:

ровные поверхности железобетонных несущих плит без устройства по ним выравнивающих стяжек;

выравнивающая стяжка из цементно-песчаного раствора или песчаного асфальтобетона.

Перед устройством кровли из Кромэла основание должно быть сухим, обеспыленным, на нем не допускаются уступы, борозды и другие неровности.

2.12. Основание должно соответствовать требованиям СНиП II-26-76 «Кровли. Нормы проектирования». Основание должно быть ровным, прочным, без трещин и отслоений, сухим, очищенным от мусора обеспыленным, имеющим проектный уклон к водосточным воронкам.

2.13. При устройстве выравнивающей стяжки из цементно-песчаного раствора укладку его производить полосами шириной не более 2 м, ограниченные рейками, которые служат маяками. Раствор можно подавать к месту укладки по трубопроводам при помощи растворонасосов или в бадьях, емкостях. Разравнивают цементно-песчаную смесь правилом.

2.14. В стяжках выполняют температурно-усадочные швы шириной 5 мм, разделяющие стяжку из цементно-песчаного раствора на участки не более 6´6 м, а из песчаного асфальтобетона - на участки не более 4´4 м. Швы должны располагаться над швами несущих плит (в холодных покрытиях) и над температурно-усадочными швами в монолитной теплоизоляции.

2.15. Железобетонные плиты и выравнивающие цементно-песчаные стяжки огрунтовываются составом, который готовят на строительной площадке путем разбавления клеящей мастики Мастмэл растворителем (толуол, нефрас С4-150/200) в соотношении 1:4 и перемешивания до полной однородности.

Наносят грунтовочный состав вручную валиками или механизированным способом при помощи агрегата безвоздушного распыления 7000Н (Рис. 4).

2.16. На температурно-усадочные швы в стяжках укладывают полосы из стеклоткани, рубероида или пергамина с точечной приклейкой с одной стороны шва (Рис. 5).

2.17 Подготовка основания из старого кровельного ковра заключается в следующем:

очистка от грязи, листьев, песка, наплывов битума, посторонних предметов, удаление воды с кровли и просушка влажных мест, выравнивание поверхности;

в местах вздутий, механических повреждений необходимо сделать крестообразный разрез кровельного ковра и, отогнув разрезанные края в стороны, очистить вскрытую поверхность от пыли, грязи, высушить, нанести мастику, выдержать «до отлипа» и тщательно прижать от краев к разрезу. На место разреза наклеить заплату из Кромэла на мастике, перекрывающую поврежденный участок на 100 мм;

очистка водоприемных воронок от грязи, наплывов битума, устранение засоров стояков (перед очисткой воронок их следует закрыть пробками для исключения попадания мусора в стояки);

ремонт карнизных свесов;

съем колпаков и прижимных колец водоприемных, воронок и очистка их от старых герметиков;

для удаления воды из старого кровельного ковра проводят его тепловую обработку.

2.18. Основание в местах примыкания к стенам, шахтам трубам и другим выступающим конструктивным элементам при применении Кромэла не требует переходных бортиков или выкружек.

2.19. Работу по устройству кровельного ковра из Кромэла начинают с разбивки площади крыши на захватки.

Устройство кровельного ковра в пределах рабочих захваток начинают с пониженных участков - карнизных свесов, ендов и водосточных воронок.

2.20. Водоизоляционный слой у водосточных воронок усиливают снизу дополнительным одним слоем Кромэла размером не менее 1000´1000 мм (Рис. 6).

2.21. В ендовах, на коньковых и карнизных участках крыш и над деформационными швами устраивают дополнительный слой водоизоляционного ковра: в ендове - не менее 750 мм с каждой стороны от линии перегиба крыши (Рис. 7); в коньковой части - до 500 мм с каждой стороны от линии перегиба крыши (Рис. 8); на карнизе - до 1000 мм (Рис. 9); над деформационными швами - 1000 мм (Рис. 10).

2.22. Устройство кровельного ковра методом наклейки выполняют в следующей последовательности:

рулон раскатывают в нужном месте, передвигают, выравнивают, обрезают при необходимости края. При подгонке концы полотнищ заводят на вертикальные стенки на высоту не более 100 мм. Закончив подгонку, полотнище скатывают;

на основание на ширину полотнища Кромэла наносят вручную валиками или агрегатом 7000Н мастику Мастмэл толщиной слоя 1 мм и выдерживают его до тех пор, пока он перестанет прилипать при прикосновении сухим пальцем (до «отлипа»);

на основание с нанесенной мастикой раскатывают рулон Кромэла, разглаживают, устраняют складки и морщины, а затем прикатывают дифференциальным катком.

2.23. В местах нахлесток смежные полотнища на ширину 100 мм

обезжиривают растворителем, сушат и наносят шовный клей КР-88 (ТУ 201-951-10-96) и после выдержки клея до «отлипа» соединяют полотнища с последующей прикаткой мест нахлестки валиком с мягкой обкладкой.

2.24. Наклейку с использованием ленты Гермэл осуществляют так:

первое полотнище подгоняют, не сдвигая, складывают пополам (по ширине) и промазывают мастикой основание и отогнутую половину полотнища;

после подсыхания мастики до «отлила», начинают притирать отогнутую половину рулона к обработанному мастикой основанию по всей длине, выгоняя из-под него пузыри воздуха и расправляя складки;

отгибают не приклеенную половину рулона, наносят на нее и основание мастику и приклеивают;

последующий рулон разматывают, укладываю и выравнивают;

края смежных полотнищ обезжиривают растворителем на ширину 80 мм, укладывают на край нижнего полотнища ленту Гермэл;

наклеивают на основание верхнее полотнище указанным выше способом и прикатывают готовый стык роликом в направлении поперек шва (Рис. 11).

2.25. При сырой погоде или температуре воздуха ниже +5 °С края смежных полотнищ перед нанесением клея и размещением ленты Гермэл прогревают строительным феном.

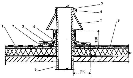
2.26. При устройстве примыканий кровли к стенкам или высоким парапетам выше 450 мм в месте сопряжения основания и вертикальной стенки наклеивают ленту Гермэл-200. На ленту укладывают водоизоляционный ковер Мастмэла. Дополнительный водоизоляционный слой Мастмэла приклеивают к основному и к стене с наклейкой ленты Гермэл. Верхний край дополнительного водоизоляционного ковра посредством металлической рейки прикрепляют к парапету и закрывают металлическим фартуком (Рис. 12).

В местах примыкания кровли к парапетам высотой до 450 мм дополнительный слой заводят на парапет, приклеивают к парапету лентой Гермэл и обделывают кровельной сталью (Рис. 13)

2.27. Места пропуска через кровлю труб выполняют с применением стальных патрубков с фланцами и герметизацией кровли в этом месте (Рис. 14).

Рис. 5 Температурно-усадочный шов в стяжке

1 - стяжка; 2 - шов; 3 - грунтовка по стяжке; 4 - полоса кровельного материала; 5 - точечная приклейка полосы с одной стороны шва; 6 - Кромэл

Рис. 6 Устройство кровли в местах установки водосточных воронок

1 - основной кровельный ковер из Кромэла; 2 - дополнительный слой Кромэла; 3 - колпак водоприемной воронки; 4 - зажимной хомут; 5 - чаша водоприемной воронки; 6 - воронка внутреннего водостока; 7 - выравнивающая стяжка

Рис. 7 Деталь конструкции ендовы

1 - основание под кровлю; 2 - основной кровельный ковер из Кромэла; 3 - дополнительный водоизоляционный слой из Кромэла

Рис. 8 Деталь конструкции конька

1 - основание под кровлю; 2 - основной кровельный ковер из Кромэла; 3 - дополнительный водоизоляционный слой из Кромэла

Рис. 9 Устройство кровли на карнизном свесе

1 - основной кровельный ковер из Кромэла; 2 - дополнительный слой Кромэла; 3 - герметизирующая лента Гермэл; 4 - стяжка под кровельный ковер; 5 - крепежный элемент; 6 - металлический фартук

Рис. 11 Склейка кровельного ковра лентой Гермэл

1 - нижнее полотнище Кромэла; 2 - верхнее полотнище Кромэла; 3 - отогнутый край полотнища; 4 - герметизирующая лента Гермэл

Рис. 10 Устройство деформационных швов со стенками из сборных бетонных деталей

1 - основной кровельный ковер из Кромэла; 2 - дополнительный слой Кромэла; 3 - полоса из стали 40´40 мм через 600 мм; 4 - оси крепежных элементов; 5 - фартук из оцинкованной стали; 6 - сборная бетонная деталь; 7 - несгораемый минераловатный утеплитель; 8 - Vбразный компенсатор; 9 - пароизоляция

Рис. 12 Примыкание кровли к парапету высотой более 450 мм

1 - основной ковер из Кромэла; 2 - дополнительный слой Кромэла; 3 - прокладки из ленты Гермэл; 4 - защитный фартук из кровельной стали; 5 - ось крепежных элементов (для закрепления слоев кровельного ковра, защитных фартуков); 6 - герметизирующая мастика

Рис. 13 Примыкание кровли к парапету высотой до 450 мм

1 - основной ковер из Кромэла; 2 - дополнительный слой Кромэла; 3 - прокладки из ленты Гермэл; 4 - теплоизоляция; 5 - выравнивающая стяжка; 6 - оцинкованная кровельная сталь; 7 - крепежные элементы

Рис. 14 Ремонт кровли в местах пропуска трубы через стальной патрубок

1 - основной кровельный ковер из Кромэла; 2 - прокладка из ленты Гермэл; 3 - горизонтальный дополнительный слой; 4 - вертикальный дополнительный слой; 5 - герметизирующая мастика; 6 - зажимной хомут; 7 - зонт из кровельной стали; 8 - выравнивающая стяжка; 9 - пропускаемая труба

Рис. 15 Пропуск анкера через кровельный ковер

1 - сборная железобетонная плита покрытия; 2 - пароизоляция; 3 - теплоизоляция; 4 - выравнивающая стяжка; 5 - основной кровельный ковер; 6 - рамка из уголка; 7- герметизирующая мастика; 8 - анкер

2.28. Места пропуска анкеров усиливают герметизирующей мастикой. Для этого устанавливают рамку из уголков, которую заполняют герметизирующей мастикой (Рис. 15).

2.29. Для окраски поверхности кровельного ковра применяют следующие защитные составы:

мастика Мастмэл-2 (с алюминиевой пудрой),

хлорсульфополиэтиленовый лак ХП-734 с 25 % наполнителя - алюминиевой пудры ПАК-3 и ПАК-4 (ГОСТ 5494-71),

цветной полиуретановый окрасочный состав.

2.30. После окончания всех кровельных, работ необходимо выполнить требования экологической чистоты: все остатки битума, мастичных комьев, обрезков рулонных материалов должны быть тщательно упакованы, уложены в емкости, контейнеры и спущены с кровли с помощью механизированных средств (крышевые краны, подъемники, лебедки и т.д.), затем вывезены в специально отведенные зоны.

Материально-технические ресурсы

Таблица 4

Код

Наименование машин, механизмов и оборудования

Тип, марка, ГОСТ

Технические характеристики

Назначение

Количество на звено (бригаду)

1

2

3

4

5

6

1

Водосборочная машина

 

Масса 15 кг

Сбор воды

1 шт.

2

Шпатель скребок

ТУ 22-3059-74

Масса 0,55 кг

Соскребание с поверхности оснований цементного раствора

2 шт.

3

Установка компрессорная

СО-263-1

Масса 130 кг

Очистка основания от мусора и пыли

1 шт.

4

Кран крышевой

К-1 или КБК-2 и др. аналогичные

Грузоподъемность К-1 - 300 кг, грузоподъемность КБК-2 - 250 кг

Подъем материалов

1 шт.

5

Поддон для материалов

ПС-0,5И ТУ 65-469-83

Масса 76 кг 1270´890´1260 (высота)

Подъем материалов

2 шт.

6

Агрегат окрасочный высокого давления

7000Н

Масса 80 кг

Нанесение мастики

1 шт.

7

Тележка для кровельных материалов

Пр.1688 ЦНИИОМТП

Масса 17 кг

Подвозка материала

1 шт.

8

Нож со сменными лезвиями

ТУ 35-1175-70

Масса 0,285 кг

Резка рулонных материалов

2 шт.

9

Фен строительный

«Bosh», «Leister»

Мощность 2 - 5 кВт

Прогрев краев смежных полотнищ

1 шт.

10

Валик ленолиумный

 

Масса 1,8 - 2 кг

Прикатка рулонного материала

1 шт.

11

Каток дифференциальный

СО-108

Масса 57 кг

Прикатка полотнищ

1 шт.

12

Влагомер

ВПК-200

 

Определение влажности насыпной теплоизоляции

1 шт.

13

Рейка складная универсальная

КОНДОР-3М

Длина 3 м, масса 5 кг

Проверка уклонов, ровности основания

1 шт.

14

Линейка металлическая

ГОСТ 427-75

Длина 1 м

Для целей измерения

1 шт.

15

Рулетка металлическая РЗ-10

ГОСТ 7502-80

Длина 10 м

Для целей измерения

1 шт.

16

Штангенциркуль

ШЦТ-1-125

 

Измерение толщины рулонных материалов

1 шт.

17

Пояс предохранительный

ГОСТ 12.4.089-86

 

 

3 шт.

18

Каска монтажная

ГОСТ 12.4.087-84

 

Защита головы от падающих предметов

3 шт.

19

Респиратор

РПГ-67А, РМР-62, Ф-46, ПФ-2 ГОСТ 12.4.004.-74

Масса 0, 1 кг

Защита органов дыхания

1 шт.

3. ТРЕБОВАНИЯ К КАЧЕСТВУ И ПРИЕМКЕ РАБОТ

3.1. При поступлении рулонных материалов и мастик на объект их образцы проверяют в лаборатории на соответствие физико-механических показателей паспортным данным.

3.2. Для выявления дефектов кровли проводится ее визуальное обследование. Особое внимание обращается на места сопряжений кровельного ковра с различными конструкциями крыши: выходы на крышу, примыкания к стенам, парапетам, оголовкам вентиляционных блоков, установки телеантенн, вытяжных канализационных стояков и др.

3.3. Определяются места протечек через кровлю; застойные зоны, места вздутий и растрескиваний кровельного ковра, состояние водоприемных воронок, парапетных камней, парапетных решеток.

3.4. По результатам обследования составляются ведомости дефектов кровли и объемов ремонтных работ по устройству кровли.

3.5. Руководство работами по устройству и ремонту кровли с применением Кромэла должно осуществляться ИТР, освоившими технологию применения этого материала,

3.6. Контроль качества всех работ от подготовительных до приемки кровель представлен в Таблицах 5, 6.

Контроль качества

Таблица 5

Наименование работ, подлежащих контролю

Контроль качества выполнения работ

Производителем работ, мастером

Состав предметов контроля

Способы

Время

1

2

3

4

Подготовка поверхности основания под грунтовку

Основание должно быть очищено от мусора, обеспылено, просушено. Основание должно быть без раковин и выбоин.

Визуально

До начала работ

Вертикальные участки каменных конструкций должны быть оштукатурены на высоту заделки ковра.

Закладные элементы свесов водосточных воронок должны быть надежно закреплены. Чаши воронок должны быть жестко прикреплены хомутами к несущим настилам или плитам покрытия и соединены со стояками внутреннего водостока через компенсаторы.

Подготовленное основание должно быть принято по акту на скрытые работы.

Визуально

До начала работ

Огрунтовка основания

Нанесение грунтовочного состава равномерное без пропусков. Расход грунтовки не менее 300 г/м2. Все места примыканий огрунтовывать на всю высоту поднятия кровельного ковра.

Визуально

В процессе работы

Сушка огрунтовки

Огрунтовочные поверхности должны быть просушены до полного испарения растворителя

Проверяется применением тампонов

Ориентировочно 24 час при 20 °С

Наклейка рулонного ковра

Водоприемные воронки и ендовы должны быть оклеены дополнительными слоями и приняты по актам на скрытые работы. Адгезионная прокладка смачивается водой и снимается. Полотна Кромэла скатываются в рулоны лицевой стороной внутрь.

Визуально

В процессе работы

Прочность приклейки рулонного материала

Приклейка считается прочной, если при отрыве произойдет разрушение мастики

Пробным отрывом полотна от основания

После окончания работ

Приемка готовой кровли

Готовность кровли и ее качество оформляются соответствующим актом. Обнаруженные при осмотре кровли дефекты или отклонения от проекта должны быть исправлены до сдачи объекта в эксплуатацию

Тщательным визуальным осмотром, водой

При предъявлении кровли рабочей комиссии

Контролируемые параметры

Таблица 6

Код

Наименование процессов и конструкций, подлежащих контролю

Технические характеристики оценки качества

Предмет контроля

Способ контроля и инструмент

Время проведения контроля

Ответственный за контроль

1

2

3

4

5

6

7

Подготовительные работы

1

Отклонение толщины слоя утеплителя от проектной:

 

Правильность устройства теплоизоляции

Инструментальный. Линейка

В процессе работы

Строительный мастер, прораб

из сборных элементов

от -5 % до +10 %, но не более 20 мм

из сыпучих материалов

не более 10 %

2

Предельная величина швов между смежными плитами утеплителя:

 

То же

Инструментальный. Штангенциркуль

То же

То же

при наклейке

не более 5 мм

при укладке насухо

не более 7 мм

3

Величина уступа между смежными элементами утеплителя

не более 5 мм

То же

То же

То же

То же

4

Влажность засыпного утеплителя

не более 10 %

Правильность устройства теплоизоляции

Измерительный. Влагомер

В процессе работы

Лаборатория. Строительный мастер

5

Прочность стяжки:

 

Правильность устройства стяжки

Лабораторный. Пресс

Образцы кубиков испытывают через 7 и 28 дней

Строительная лаборатория

цементно-песчаной

не менее 50 кг/см2

асфальтобетонной

не менее 8 кг/см2

цементно-песчаной по засыпанной теплоизоляции

не менее 100 кг/см2

6

Толщина цементно-песчаной стяжки:

 

Отклонение не более 10 %

То же

Инструментальный. Линейка

После затвердевания

Мастер, прораб

по засыпной теплоизоляции

25 - 30 мм

по теплоизоляционным плитам

20 - 25 мм

по железобетонным плитам

10 - 15 мм

Толщина стяжки из песчаного асфальтобетона

20 - 25 мм

7

Ровность основания (стяжки):

Плавно нарастающие неровности по высоте не более 10 мм поперек уклона и 5 мм вдоль уклона. Отклонение плоскости основания от заданного не более 0,2 %

То же

3-х метровая рейка КОНДОР-3М

После набора прочности через 3 дня

Строительный мастер, прораб

8

Влажность стяжки:

 

То же

Инструментальный

Перед наклейкой Кромэла

Строительная лаборатория, мастер

цементно-песчаной

не более 5 %

асфальтобетонной

не более 2,5 %

Устройство кровли

1

Способ наклейки полотнища материала (перпендикулярно и в направлении стока воды)

При уклоне до 15 % - перпендикулярно, свыше 15 % - в направлении стока воды

Правильность устройства кровельного ковра

Визуальный

В процессе работы

Строительный мастер, прораб

2

Величина нахлеста полотнищ:

 

То же

Инструментальный. Линейка

То же

То же

при склейке стыков мастикой Мастмэл

100 мм вдоль полотнищ; 150 мм поперек полотнищ

при склейке стыков лентой Гермэл

80 мм вдоль полотнищ; 100 мм поперек полотнищ

3

Величина перехлеста полотнища нижнего слоя ковра через водораздел

При наклейке вдоль ската - перекрытие противоположного ската не менее, чем на 1 м;

при наклейке поперек ската - не менее 250 мм

Правильность устройства кровельного ковра

Инструментальный. Линейка, рулетка

В процессе работы

Строительный мастер, прораб

4

Прочность приклейки полотнищ к основанию и одного слоя к другому

не менее 5 кг/см2; отрыв когезионный

То же

Визуальный, методом отрыва

То же

То же

5

Величина перекрытия дополнительным слоем основного ковра

Перекрытие дополнительным слоем основного ковра не менее, чем на 200 мм.

То же

Инструментальный. Линейка, рулетка

То же

То же

4. ТЕХНИКО-ЭКОНОМИЧЕСКИЕ ПОКАЗАТЕЛИ

Значения затрат труда (ч/час), выработки на одного рабочего в смену (м2) и заработной платы рабочих (руб.) рассчитываются в целом на общий объем кровельных работ или по элементам конструкции на основании калькуляций, исходя из нормативных затрат труда.

Калькуляция затрат труда

Таблица 7

Код

Обоснование, шифр по ЕНиР

Наименование работ

Единица измерения

Объем работ

Норма времени на единицу измерения, чел.-ч

Затраты труда на общий объем работ, чел.-ч

1

2

3

4

5

6

7

1

§ Е7-4, п. 2

Очистка поверхности основания от пыли и мусора

100 м2

1,5

0,41

0,82

2

§ Е7-4, п. 2

Просушивание влажных мест основания

100 м2

0,2

8,6

1,72

3

§ Е7-4, п. 5

Огрунтовка основания

100 м2

1,5

0,65

1,3

4

§ Е7-4, п. 8

Обделка воронок

1 шт.

1

1,3

1,3

5

§ Е11-34, п. 5 (4) (применит.)

Наклейка однослойного ковра из Кромэла

100 м2

1,5

8,0

12,0

6

§ Е11-34, п. 5 (3) (применит.)

Обделка мест примыканий

100 м2

0,5

11,0

5,5

Потребность в материалах, изделиях и конструкциях на 100 м2

Таблица 8

Код

Наименование материалов, изделий

Исходные данные

Потребность на измеритель конечной продукции

Обоснование нормы расхода

Единица измерения по норме

Норма расхода

1

2

3

4

5

6

1

Кромэл

Общие производственные нормы расхода материалов в строительстве. Сб 09. Кровельные работы.

м2

115

115,0

2

Грунтовочный состав

 

кг/м2

0,3

30,0

3

Стеклоткань (пергамин, рубероид)

Данные ЦНИИОМТП

м2

6

6

4

Мастика Мастмэл - 1

То же

кг2

0,15 - 0,2

15 - 20

5

Мастика Мастмэл - 2

То же

кг2

0,3 - 0,4

30

6

Шовный клей КР-88

То же

кг/м2

0,1

10

7

Уплотнительная лента Гермэл-80

То же

пог. м

105

105

8

Уплотнительная лента Гермэл-200 в примыканиях высотой до 250 мм

То же

пог. м

60

60

9

Уплотнительная лента Гермэл-200 в примыканиях высотой до 450 мм

То же

пог. м

100

100



5. ТЕХНИКА БЕЗОПАСНОСТИ И ОХРАНА ТРУДА, ЭКОЛОГИЧЕСКАЯ И ПОЖАРНАЯ БЕЗОПАСНОСТЬ

Общие положения

5.1. К производству кровельных работ допускаются рабочие, прошедшие медицинский осмотр, обученные мерам пожарной безопасности и методам проведения этих работ.

О проведении инструктажей должна быть отметка в специальном журнале под роспись. Журнал должен храниться у ответственного за проведение работ на объекте или в строительной (ремонтной) организации.

5.2. При проведении работ с применением эластомерных рулонных материалов наряду с требованиями настоящей инструкции надлежит также руководствоваться требованиями СНиП Правил пожарной безопасности Российской Федерации и другими нормами и правилами, утвержденными и согласованными в установленном порядке.

5.3. ИТР, мастера, руководители работ должны пройти проверку знаний требований по безопасности труда, знать технологический процесс, устройство и эксплуатацию подъемно-транспортного оборудования, пожаробезопасности и производственной санитарии в соответствии с их должностными обязанностями.

5.4. К обслуживанию и эксплуатации средств механизации при производстве кровельных работ допускаются лица, хорошо изучившие правила эксплуатации, специфические требования по технике безопасности и имеющие удостоверения о допуске к работе.

5.5. Постоянным лицам запрещается находиться в рабочей зоне во время производства работ.

5.6. Перед началом работы кровельщик должен надеть спецодежду и убедиться в ее исправности. Обувь должна быть не скользящей. Предохранительные приспособления (пояс, веревка, ходовые мостики, переносные стремянки и т.п.) должны быть своевременно испытаны и иметь бирки. Для защиты органов дыхания - респираторами марок Ф-62Ш, РУ-60М или типа «Лепесток». Для защиты кожи - пастами и мазями типа силиконовых, ПМ-1, ХИОТ БГ и другими, перчатками резиновым.

На местах проведения работ должны быть вода и аптечка с медикаментами для оказания первой помощи.

5.7. Необходимо получить у мастера, руководителя работ инструктаж о безопасных методах, приемах и последовательности выполнения предстоящей работы.

5.8. Перед началом работы кровельщику необходимо подготовить рабочее место, убрать ненужные материалы, очистить все проходы от мусора и грязи.

5.9. Убедиться в надежности временного ограждения. Проверить ограждено ли место работы внизу здания, укрепить все материалы на крыше.

5.10. При работе на скатах с уклоном более 20 град, и при отделке карнизов кровли с любым уклоном кровельщик обязан пользоваться предохранительным поясом и веревкой, прочно привязанной к устойчивым конструкциям здания. Места закрепления должен указать, мастер или прораб.

5.11. Сбрасывать с кровли материал и инструмент запрещается. Во избежание падения с кровли на проходящих людей каких-либо предметов устанавливаются предохранительные козырьки над проходами, наружными дверьми. Зона возможного падения предметов ограждается, вывешивается плакат «Проход запрещен».

5.12. При складировании на кровле штучных материалов, инструмента и тары с мастикой принять меры против их скольжения по скату или сдувания ветром. Размещать на крыше материалы допускается только в местах, предусмотренных проектом производства работ.

5.13. Во время перерывов в работе технологические приспособления, инструмент, материалы и другие мелкие предметы, находящиеся на рабочем месте, должны быть закреплены или убраны с крыши.

После окончания работы или смены запрещается оставлять на крыше материалы, инструмент или приспособления во избежание несчастного случая. Громоздкие приспособления должны быть надежно закреплены.

5.14. Элементы и детали кровли, в том числе компенсаторы в швах, защитные фартуки, звенья водосточных труб, сливы, свесы и т.п. следует подавать на рабочие места в заготовленном виде. Заготовка указанных элементов и деталей непосредственно на крыше не допускается.

5.15. Растворители и мастики должны храниться в специально оборудованных помещениях. Каждая емкость должна иметь бирку с наименованием содержимого. Порожнюю тару из-под растворителей и мастик следует складировать в закрытых помещениях.

5.16. Помещения, связанные с подготовкой мастик, их разбавлением растворителями и нанесением защитных покрытий должны быть изолированы от смежных помещений и оборудованы приточно-вытяжной вентиляцией во взрывобезопасном исполнении.

5.17. Содержание вредных веществ в рабочей зоне не должно превышать предельно допустимых концентраций.

Требования безопасности при работе с крышевыми кранами

5.18. Поднимать материалы следует только средствами механизации, Кровельные материалы при их подъеме следует укладывать в специальную тару, предохраняющую их выпадение.

5.19. Приемная площадка на кровлю по периметру должна иметь прочное ограждение высотой 1,1 м и бортовую доску не менее 150 мм.

5.20. Краны малой грузоподъемности - К-1М, КБК-2 и другие, применяемые для подачи материалов при устройстве кровель, устанавливаются и эксплуатируются в соответствии с заводской инструкцией (паспортом) завода-изготовителя и инструкцией по охране труда машиниста крышевого крана.

5.21. Лица, допущенные к самостоятельной работе (грузчики, кровельщики, машинисты), должны быть обучены и аттестованы на знание безопасного производства работ и проинструктированы по всем видам выполняемых работ.

Рабочие, обслуживающие краны, должны быть аттестованы на знание устройства и безопасной эксплуатации крана, а также пройти обучение по инструкции по охране труда для стропальщиков, обслуживающих грузоподъемные машины, управляемые из кабины или с пульта управления.

Работы по перемещению груза на высоту должны проводиться под руководством руководителя работ (мастера), аттестованного по статье 7.4.7 «Правила устройства и безопасной эксплуатации грузоподъемных кранов».

5.22. Рабочие (кровельщики), занятые на погрузочно-разгрузочных работах, должны пройти инструктаж по безопасности труда и пожарный безопасности в соответствии с требованиями ГОСТ 12.3.009-76 «Работы погрузочно-разгрузочные».

5.23. Машинист крышевого крана должен проверять правильность и полноту загрузки контргруза, быть ознакомлен с опасными и вредными производственными факторами, действующими на работающего, - это опасность получения травм, возможность поражения электрическим током, падение с высоты поднимаемого груза и другие факторы.

5.24. Машинист крышевого крана обеспечивается спецодеждой, спецобувью и средствами индивидуальной защиты.

5.25. Перед началом работы машинист крышевого крана должен проверить надежность крепления всех элементов конструкций и техническую исправность крана, заземление в соответствии «Правилами устройства электроустановок (ПУЭ)»; проверить освещение, горизонтальность установки крана; наличие ограждений в рабочей зоне подъема крана; исправность пульта управления; исправность грузозахватного приспособления, крюка, тары и тросов; исправность ограничителя высоты подъема крюка; правильность и полноту загрузки контргруза во избежание опрокидывания крана, наличие схем строповки грузов.

Установку крана производить так, чтобы груз при подъеме не мог зацепиться за выступающие части здания.

5.26. После монтажа кран должен быть подвергнут динамическим испытаниям с перегрузкой 10 % и статическим испытаниям с перегрузкой 25 % о чем составляется соответствующий акт.

5.27. Подъем и спуск грузов производится только в вертикальном положении без подтягивания и рывков. Поднимаемый груз должен удерживаться от вращения и раскачивания. Крановщик и мастер должны следить за тем, чтобы масса груза не превышала допускаемую грузоподъемность крышевого крана.

5.28. Во время работы машинист и кровельщик должны подготовить материал для подъема (в соответствии со схемой укладки и строповки), уложить его в контейнер не более 6-ти рулонов, общая масса не должна превышать грузоподъемность крана, проверить надежность закрепления груза.

5.29. Приподнять груз на высоту 200 - 300 мм, чтобы убедиться в правильности зацепки и надежности тормозов, при подъеме груза следить за правильной укладкой грузового троса.

5.30. Перед началом подъема груза машинист крана должен предупредить рабочих. Обслуживающих кран, о необходимости их выхода из опасной зоны и до тех пор, пока они находятся в опасной зоне, не осуществлять подъем груза.

5.31. Подъем груза производить плавно, без рывков, не допуская резкого торможения при подъеме и опускании груза, а также переключения электродвигателя с прямого хода на обратный без выдержки в нейтральном положении. Несоблюдения этого правила может привести к обрыву троса, поломке какой-либо части крана или срыву груза.

5.32. Во время работы крана машинист не должен:

осуществлять чистку и смазывание механизмов крана;

оставлять груз на весу во время перерывов в работе;

производить какой-либо ремонт или регулировку тормозов;

надевать соскочивший торс на ролики направляющего блока;

допускать поднятия груза на оттяжку, опускать и перемещать над людьми;

поднимать людей, следить за надежностью крепления каретки передвижения;

поправлять неравномерно наматывающийся на барабан трос рукой, крючком, палкой или доской, быть возле натянутого троса или допускать присутствие около него людей.

5.33. В случае возникновения неисправностей в работе крана работу следует приостановить, опустить груз, ослабить натяжение троса и только после этого устранить неисправность.

5.34. Работу крышевого крана следует остановить, если отсутствует или неисправна крышка на пульте управления и имеется доступ к токоведущим частям электрооборудования, при появлении шума, стука, запаха гари, резких рывков и толчков, а также при неисправности ограничителя высоты подъема крюка, неисправности электрооборудования, тормоза, грузового троса, тары, недостаточной массы контргруза.

5.35. Если при подъеме груза прекратилась подача электроэнергии, необходимо осторожно и плавно опустить груз вниз, пользуясь ручным тормозом. Не следует производить резкое торможение, так как в результате этого может сломаться опора, на которой укреплен блок.

5.36. После окончания работы машинист обязан опустить грузозахватные приспособления и тару вниз.

5.37. Выключить электропитание крышевого крана и закрыть шкаф пульта управления на замок, осмотреть все узлы крана, съемные грузозахватные приспособления и тару и об обнаруженных недостатках сообщить руководителю работ или лицу, ответственному за исправное состояние крана.

Пожарная безопасность

5.38. Места производства кровельных работ должны быть обеспечены первичными средствами пожаротушения в соответствии с требованиями Правил пожарной безопасности РФ.

5.39. На объекте должно быть определено лицо, ответственное за сохранность и готовность к действию первичных средств пожаротушения.

5.40. Огнетушители должны всегда содержаться в исправном состоянии, периодически осматриваться, проверяться и своевременно перезаряжаться.

5.41. Все работники должны уметь пользоваться первичными средствами пожаротушения, соблюдать требования ГОСТ 12.1.004-91 «Пожарная безопасность». Общие требования.

5.42. Перед началом ремонтных или строительных работ территория объекта должна быть подготовлена, с определением мест установки бытовых вагончиков, мест складирования материалов и легковоспламеняющихся жидкостей.

5.43. Противопожарные двери и люки выходов на покрытие должны быть исправны и при проведении работ закрыты. Запирать их на замки или другие запоры запрещается.

Проходы и подступы к эвакуационным выходам и стационарным пожарным лестницам должны быть всегда свободными.

5.44. Укладку сгораемого утеплителя и устройство кровли из эластомерных материалов на покрытии следует производить участками не более 500 м2. При этом укладку кровли следует вести на участке, расположенном не ближе 5 м от участка покрытия со сгораемым утеплителем без цементно-песчаной стяжки.

5.45. При хранении на открытых площадках наплавляемого кровельного материала, битума, горючих утеплителей и других строительных материалов, а также оборудования и грузов в горючей упаковке они должны размещаться в штабелях или группами площадью не более 100 м2. Разрыв между штабелями (группами) и от них до строящихся или подсобных зданий и сооружений надлежит принимать не менее 24 м.

Экологическая безопасность

5.46. При ремонтах кровли снимаемый кровельный материал должен удаляться на специально подготовленную площадку. Устраивать свалки горючих отходов на территории объектов не разрешается.

5.47. По окончании рабочей смены не разрешается оставлять кровельные рулонные материалы, сгораемый утеплитель и другие горючие материалы внутри или на покрытиях зданий, а также в противопожарных разрывах.

5.48. Кровельный материал, сгораемый утеплитель и другие горючие вещества и материалы, используемые при работе, необходимо хранить вне строящегося или ремонтируемого здания в отдельно стоящем сооружении или на специальной площадке на расстоянии не менее 18 м от строящихся и временных зданий, сооружений и складов.

При разработке технологической карты использованы следующие материалы:

1. Руководство по применению в кровле и гидроизоляции рулонных полимерных материалов серии Кромэл. М. 1977.

2. ТСН КР-97 МО (ТСН 31-30 В-97) Кровли. Технические требования. Правила приемки.

3. СП 31-101-97. Проектирование и строительство кровель.

4. СНиП 3.04.01-87. Изоляционные и отделочные покрытия, 1988.

5. СНиП II-26-76. Кровли. Нормы проектирования, 1976.

6. СНиП 3.01.01-85. Организация строительного производства, 1995.

7. СНиП III-4-80*. Техника безопасности в строительстве, 1989.

8. Правила пожарной безопасности в Российской Федерации, 1994.

СОДЕРЖАНИЕ

1. Область применения. 1

2. Технология и организация выполнения работ. 1

Материально-технические ресурсы.. 10

3. Требования к качеству и приемке работ. 11

Контроль качества. 12

Контролируемые параметры.. 12

4. Технико-экономические показатели. 14

Калькуляция затрат труда. 14

Потребность в материалах, изделиях и конструкциях на 100 м2 14

График производства работ при наклейке Кромэла с применением ленты Гермэл. 16

5. Техника безопасности и охрана труда, экологическая и пожарная безопасность. 17

Общие положения. 17

Требования безопасности при работе с крышевыми кранами. 18

Пожарная безопасность. 19

Экологическая безопасность. 20

 

 




ГОСТЫ, СТРОИТЕЛЬНЫЕ и ТЕХНИЧЕСКИЕ НОРМАТИВЫ.
Некоммерческая онлайн система, содержащая все Российские Госты, национальные Стандарты и нормативы.
В Системе содержится более 150000 файлов нормативно-технической документации, действующей на территории РФ.
Система предназначена для широкого круга инженерно-технических специалистов.

Рейтинг@Mail.ru Яндекс цитирования

Copyright © www.gostrf.com, 2008 - 2026