Крупнейшая бесплатная информационно-справочная система онлайн доступа к полному собранию технических нормативно-правовых актов РФ. Огромная база технических нормативов (более 150 тысяч документов) и полное собрание национальных стандартов, аутентичное официальной базе Госстандарта. GOSTRF.com - это более 1 Терабайта бесплатной технической информации для всех пользователей интернета. Все электронные копии представленных здесь документов могут распространяться без каких-либо ограничений. Поощряется распространение информации с этого сайта на любых других ресурсах. Каждый человек имеет право на неограниченный доступ к этим документам! Каждый человек имеет право на знание требований, изложенных в данных нормативно-правовых актах!

  


 

ЦЕНТРАЛЬНЫЙ НАУЧНО-ИССЛЕДОВАТЕЛЬСКИЙ
И ПРОЕКТНО-ЭКСПЕРИМЕНТАЛЬНЫЙ ИНСТИТУТ ОРГАНИЗАЦИИ,
МЕХАНИЗАЦИИ И ТЕХНИЧЕСКОЙ ПОМОЩИ СТРОИТЕЛЬСТВУ
АОЗТ ЦНИИОМТП

ТИПОВАЯ
ТЕХНОЛОГИЧЕСКАЯ КАРТА
НА УСТРОЙСТВО КРОВЕЛЬ
ИЗ НАПЛАВЛЯЕМОГО РУЛОННОГО МАТЕРИАЛА
ФИЛИЗОЛ

МОСКВА 2001

Согласовано:

Начальник Технического управления

АО «Моспромстрой»

А.К. Готгельф

6 октября 1998 г.

Утверждено:

Генеральный директор

АОЗТ ЦНИИОМТП

П.П. Олейник

6 октября 1998 г.

В технологической карте рассмотрены вопросы устройства кровли из наплавляемого рулонного материала Филизол. Рекомендована область применения, разработаны организация и технология производства работ, охрана труда и техника безопасности.

Технологическая карта может быть распространена на устройство и ремонт кровель с применением аналогичных рулонных битумно-полимерных наплавляемых материалов - Изопласт, Изоэласт, Днепрофлекс и др.

Карта разработана в АОЗТ ЦНИИОМТП сотрудниками лаборатории кровельных работ кандидатами технических наук Белевичем В.Б. и Чайкой А.Г. при участии зав. сектором компьютерных и информационных технологий Ягудаева Л. М.

Типовая технологическая карта разработана по заданию Управления развития Генплана Правительства Москвы.

Ответственный исполнитель к.т.н. Колосков В.Н.

1. ОБЛАСТЬ ПРИМЕНЕНИЯ

1.1. Технологическая карта разработана на устройство кровельного покрытия из рулонного кровельного материала Филизол. Филизол представляет собой рулонный материал, состоящий из стекловолокнистой или полиэфирной основы, покрытой с двух сторон слоем битумно-полимерного вяжущего, состоящего из битума, модифицированного полимерами и наполнителями.

1.2. Филизол выпускается следующих марок в зависимости от области применения:

Филизол-К - для устройства верхнего слоя кровельного ковра, а также его модификация Филизол «КХ» на основе стеклохолста;

Филизол-Н - для устройства нижнего слоя кровельного ковра (и оклеенной гидроизоляции), а также его модификация Филизол «НХ»;

Филизол-супер - для устройства однослойного кровельного ковра.

1.3. В состав работ, рассматриваемых картой, входят наклейка двух- и трехслойного (из материалов Филизол-К и Филизол-Н) или однослойного кровельного ковра из материала Филизол-супер, а также устройство кровли с применением Филизол «КХ» и «НХ».

1.4. Филизол относится к категории наплавляемых рулонных материалов, что позволяет применять его для устройства кровель без приклеивающих мастик в летнее и зимнее время по жестким основаниям (железобетонные плиты, цементно-песчаные и асфальтовые стяжки), огрунтованным битумом БН 70/30, разжиженным керосином или уайт-спиритом в соотношении 1:3.

2. ТЕХНОЛОГИЯ И ОРГАНИЗАЦИЯ ВЫПОЛНЕНИЯ РАБОТ

2.1. До начала устройства кровли должны быть выполнены и приняты:

все строительно-монтажные работы на изолируемых участках, включая замоноличивание швов между сборными железобетонными плитами, установку и закрепление к несущим плитам или к стальным профилированным настилам водосточных воронок, компенсаторов деформационных швов, патрубков (или стаканов) для пропуска инженерного оборудования, анкерных болтов, антисептированных деревянных брусков (или реек) для закрепления изоляционных слоев и защитных фартуков;

слои паро- и теплоизоляции, стяжки и затем проведена контрольная проверка уклонов и ровности основания под кровлю на всех поверхностях, включая карнизные участки кровель и места примыканий к выступающим над кровлей конструктивным элементам.

Проверочные работы должны включать:

соблюдение проектных уклонов от водораздела и других высших отметок ската кровли до самых низших - водосточных воронок; для этого сначала следует устанавливать нивелир и с помощью рейки определить их отметки (Рис. , ). Уклоны определяются отношением превышения отметок к расстоянию между замеряемыми точками. Если окажется, что уклон основания меньше проектного, необходимо исправить стяжку, доведя все отметки до проектных значений;

натянуть шнур между всеми высокими точками или на водоразделе и низкой точкой возле воронки с целью проверки соблюдения уклона по всей поверхности основания на скате и исправить места, где будут обнаружены контруклоны (обратные уклоны);

проверить ровности всей поверхности основания. Для этого приложить к поверхности стяжки вдоль и поперек ската трехметровую рейку; просвет между поверхностью основания и рейкой не должен превышать 10 мм (Таблицы 2 и 5).

Если все требования проекта к качеству основания соблюдены, можно поверхность стяжки огрунтовать. Просохшее после огрунтовки основание готово к началу устройства кровли.

На покрытии зданий с металлическим профилированным настилом и теплоизоляционным материалом из сгораемых и трудносгораемых материалов должны быть заполнены пустоты ребер настилов на длину 250 мм несгораемыми материалами в местах примыканий настила к стенам, деформационным швам, стенкам фонарей, а также с каждой стороны конька кровли и ендовы.

2.2. Настоящая технологическая карта разработана на устройство кровель из Филизол, который может быть применен также при ремонте кровель.

2.3. При устройстве кровель с применением наплавляемых рулонных материалов должны выполняться требования норм по технике безопасности в строительстве, действующих правил по охране труда и противопожарной безопасности.

2.4. Для устройства кровельного ковра применяют следующие материалы:

наплавляемые рулонные материалы Филизол (ТУ 5770-008-05108038-97). Показатели физико-механических свойств материалов Филизол приведены в Таблице 1;

герметизирующие мастики «Эластосил», УТ-32 и другие, удовлетворяющие требованиям ГОСТ 25621-83 для герметизации мест примыкания кровельного водоизоляционного ковра.

На эксплуатируемых кровлях (крышах-террасах) в качестве разделительного слоя рекомендуется применять холст из синтетических волокон по ТУ 6-19-290-83.

Для компенсаторов деформационных швов, элементов наружных водостоков и отделки свесов карнизов применяют материалы в соответствии с требованиями СНиП II-26-76 или серии 1.010-1.

2.5. Работа по устройству кровли из Филизола в соответствии со схемой организации рабочего места (Рис , ) должна быть включена в монтажный цикл с тем, чтобы использовать башенный кран для подъема рулонных материалов, а в случае отсутствия следует использовать крышевой кран (Рис. 2).

2.6. Работа по устройству кровли должна быть организована таким образом, чтобы до минимума сократить непроизводительные перестановки механизмов и переходы рабочих, а также перемещение и переноску Филизола.

2.7. Для обеспечения качества кровли, ровности основания:

перед выполнением теплоизоляции производят нивелировку поверхности несущих плит для установки маяков, служащих основанием под рейки для укладки монолитной теплоизоляции полосами на необходимую высоту.

2.8. Теплоизоляционные работы совмещают с работами по устройству пароизоляционного слоя (если он требуется по проекту), выполняя их «на себя». Это повышает сохранность теплоизоляции при транспортировании материалов.

Таблица 1

Физико-механические свойства наплавляемых рулонных материалов Филизол

Наименование показателя, единицы измерения

Норма по ТУ 5774-008-05108038-97

Филизол-К

Филизол-Н

Филизол-супер

1. Масса 1 м2, кг, в пределах

4,2...4,8

3,4...3,8

5,3...6,0

2. Разрывная сила при растяжении, Н (кгс/5см), не менее, на основе:

стеклоткани

490 (50)

490 (50)

490 (50)

стеклохолста

390 (40)

390 (40)

-

полиэфирного полотна

590 (60)

590 (60)

590 (60)

3. Масса вяжущего с наплавляемой стороны, кг/м2, не менее

2,0±0,1

2,0±0,3

2,5±0,1

4. Водопоглощение через 24 часа, % по массе, не более

1,5

1,5

1,5

5. Потеря посыпки, г/образец, не более

2,0

1,5

2,0

6. Температура хрупкости вяжущего, К (°С), не выше

248 (-25)

248 (-25)

248 (-25)

7. Гибкость на брусе с закруглением радиусом 10 мм при температуре, К (°С)

258 (-15)

258 (-15)

258 (-15)

8. Теплостойкость, К (°С)

358 (+85)

358 (+85)

358 (+85)

2.9. Теплоизоляционные плиты должны плотно прилегать друг к другу. Если ширина швов между плитами превышает 5 мм, то их заполняют теплоизоляционным материалом.

1 - каток; 2 - ручная горелка; 3 - бачок с дизтопливом; 4 - компрессор; 5 - ручная тележка; 6 - контейнер; 7 - кран крышевой; 8 - трап; 9 - ящик с песком и огнетушители; 10 - водосточные воронки;

Рис. 1а Схема организации рабочего места при работе с горелками, работающими на жидком топливе

1 - стойка; 2 - балка; 3 - крюковая подвеска; 4 - каретка; 5 - привод; 6 - раскос; 7 - контргрузы

Рис. 2а Крышевой кран КБК-2

1 - каток ручной ИР-735; 2 - ручная горелка; 3 - газовый рукав; 4 - газовый баллон со стойкой; 5 - ручная тележка; 6 - контейнер; 7 - кран крышевой; 8 - трап; 9 - ящик с песком и огнетушители; 10 - водосточные воронки.

Рис. 1б Схема организации рабочего места при работе с газовыми горелками

1 - балка; 2 - стойка; 3 - тележка грузовая; 4 - электропривод; 5 - протововес.

Рис. 2б Крышевой кран К-1М

2.10. Замоченная во время монтажа теплоизоляция должна быть удалена и заменена сухой.

2.11. В период организации выполнения работы особое условие состоит в том, что теплоизоляционные работы необходимо проводить в сухую погоду, чтобы не допустить замокания теплоизоляционного материала. Качество теплоизоляции должно быть отмечено в актах на скрытые работы.

Перед устройством изоляционных слоев основание должно быть сухим, обеспыленным, на нем не допускаются уступы, борозды и другие неровности. Требования к ровности основания приведены в Таблице 2.

В новом покрытии или при его реконструкции (при капитальном ремонте с заменой теплоизоляции) кровельный ковер выполняют из двух слоев наплавляемого рулонного материала, причем для верхнего слоя применяют материалы с крупнозернистой посыпкой (Филизол-К).

На эксплуатируемых покрытиях (крышах-террасах) кровельный ковер выполняют из двух слоев наплавляемого рулонного материала, имеющих мелкозернистую (тальковую) посыпку либо полиэтиленовую пленку (Филизол-Н), либо производится укладка бетонных плит по всему покрытию или в виде дорожек по песчаному основанию.

2.12. Основанием под кровлю могут служить:

ровные поверхности железобетонных несущих плит либо теплоизоляции без устройства по ним выравнивающих стяжек (затирок);

выравнивающая стяжка из цементно-песчаного раствора или асфальтобетона, которую назначают в соответствии с требованиями, приведенными в Таблице 2.

2.13. В местах примыкания кровель к стенам, шахтам и другим конструктивным элементам должны быть предусмотрены переходные наклонные бортики (под углом 45°), высотой не менее 100 мм из легкого бетона или цементно-песчаного раствора. Стены из кирпича или блоков в этих местах должны быть оштукатурены цементно-песчаным раствором марки 50.

2.14. В стяжках выполняют температурно-усадочные швы шириной 5 мм, разделяющие стяжку из цементно-песчаного раствора на участки не более 6×6 м, а из песчаного асфальтобетона - не более 4×4 м. Швы должны располагаться над швами несущих плит (в холодных покрытиях) и над температурно-усадочными швами в монолитной теплоизоляции и заполняться герметиком (Таблица 3). По ним укладывают полоски шириной 150-200 мм из Филизола с крупнозернистой посыпкой и приклеивают их точечно с одной стороны шва (Рис. 3).

2.15. При устройстве выравнивающей стяжки из цементно-песчаного раствора, укладку последнего производят полосами шириной не более 3 м ограниченными рейками, которые служат маяками. Раствор подают к месту укладки по трубопроводам при помощи растворонасосов или в емкостях на колесном ходу. Разравнивают цементно-песчаную смесь правилом, это может быть металлический уголок, передвигаемый по рейкам. Грунтовку наносят при помощи окрасочного распылителя либо кистями (при малых объемах работ) (Рис. 4).

2.16. При устройстве выравнивающей стяжки из литого асфальта его укладывают полосами шириной до 2 м (ограниченными двумя рейками или одной рейкой и полосой ранее уложенного асфальта) и уплотняют валиком или катком массой 60-80 кг.

2.17. Приклейка Филизола осуществляется путем разогрева наплавляемого слоя горелками, которые работают на сжиженном газе пропан-бутане или жидком топливе (Рис. 5, 6).

2.18. Устройство кровельного ковра в пределах рабочих захваток начинают с пониженных участков: карнизных свесов, участков расположения водосточных воронок и ендов.

2.19. При наклейке изоляционных слоев следует предусматривать нахлестку смежных полотнищ на 100 мм.

2.20. Технологические приемы наклейки наплавляемого рулонного материала могут быть различными. Работу можно выполняют в следующей последовательности.

На подготовленное основание раскатывают 5-7 рулонов, примеряют один рулон по отношению к другому и обеспечивают необходимую нахлестку. Затем приклеивают концы всех рулонов с одной стороны и полотнища рулонного материала обратно скатывают в рулоны (при значительном охлаждении полотнищ в зимний период эти операции производят при легком подогреве ручной горелкой наружной поверхности рулона). Рулоны, раскатывая, приклеивают к основанию при помощи ручной газовой или жидкостной горелки (Рис. 7, 8).

1 - стяжка; 2 - шов; 3 - грунтовка по стяжке; 4 - полоса Филизола В; 5 - герметик; 6 - точечная приклейка полосы (с одной стороны шва); 7 - Филизол Н; 8 - Филизол В

Рис. 3 Температурно-усадочный шов в стяжке

1 - компрессор; 2 - воздухосборник; 3 - воздушный шланг; 4 - масловодоотделитель; 5 - красконагнетательный бачок; 6 - редукционный вентиль; 7 - огрунтовочный шланг; 8 - краскораспылитель; 9 - факел

Рис. 4 Схема компрессорного огрунтовочного агрегата

Таблица 2

Требования к основаниям под кровлю

Наименование показателей

Вид стяжки

из теплоизоляционных слоев монолитной укладки на основе вяжущего

из цементно-песчаного раствора

из песчаного асфальтобетона

из теплоизоляционных плит (в т.ч. со сборной стяжкой из асбестоцементных листов по ГОСТ 18124-75 или цементно-стружечных плит по ГОСТ 10632-77)

цементного

битумного

по засыпной теплоизоляции

по теплоизоляционным плитам или теплоизоляции монолитной укладки

по железобетонным плитам

1. Ровность

Плавно нарастающие неровности не более 10 мм поперек уклона и 5 мм вдоль уклона по высоте между основанием и контрольной рейкой длиной 3 м. Отклонение плоскости основания от заданного уклона не более 0,2 %

Перепады по высоте не более 3 мм 1) у рядом расположенных плит

2. Прочность на сжатие, МПа (кгс/см2), не менее

0,6 (6)

0,15(1,5)

10 (100)

5(50)

5(50)

0,8(8)

По ГОСТ или ТУ на плиты

3. Влажность, %

2)

2)

5

5

5

2,5

По ГОСТ или ТУ на плиты

4. Толщина, мм

3)

3)

25...30

20...25

10...15

20...25

3)

5. Расстояние между температурно-усадочными швами, м, не более

4)

4)

6

4)

4)

4

4)

1) При большой разнице перепадов производят срезку выступов или подкладывают клинообразные пластины (либо выравнивают перепады цементным раствором, бетоном).

2) Не выше предусмотренной главой СНиП по строительной теплотехнике.

3) Толщину теплоизоляции принимают по расчету.

4) Температурно-усадочные швы выполняют над швами в несущих плитах.

Таблица 3

Физико-технические свойства герметизирующих мастик

Наименование показателей

Виды герметиков

клей-герметик кремний органический «Эластосил 137-181»

мастика герметизирущая строительного назначения «Тиопрол»

мастики тиоколовые строительного назначения марок

мастика строительная КГМ-У

«Гермобутил-2м»

АМ-05

КБ-05

Предел прочности на разрыв, МПа (кгс/см2), не менее

0,8 (8)

0,2 (2)

0,1 (1)

0,3 (3)

0,1-0,15

5-5,5

Относительное удлинение, % не менее

500

150

150

100

45

300-350

Жизнеспособность, час, не менее

0,15

2

2

2

 

24

Температурный интервал применения, °С

-60...+200

 

-50...+70

-50...+70

 

-50...+80

Кроме того, для наклейки рулона возможно применение захват-раскатчика, имеющего Г-образную форму с размерами плеч по 1000 мм, изготовленного из металлической трубки диаметром не более 15 мм.

Для этого кровельщик зажигает горелку и оплавляет скатанный рулон маятниковыми движениями горелки вдоль рулона, держа стакан горелки на расстоянии 10-20 см от рулона. После образования валика стекшего наплавленного слоя (с нижней стороны рулона) кровельщик захватом-раскатчиком цепляет и, отступая назад, раскатывает и приклеивает рулон. Прикатка рулона в местах нахлесток осуществляется катком ИР-735 (Рис. 8).

2.21. Следует особо внимательно следить за синхронностью расплавления слоя мастики и раскатыванием рулона. Скорость движения определяется временем, необходимым для начала расплавления мастичного слоя приклеиваемого рулона, что оценивается визуально по началу образования валика расплавленной мастики.

1 - ствол с рукояткой; 2 - регулировочный вентиль; 3 - штуцер; 4 - накидная гайка; 5 - ниппель; 6 - инжектор (сопло); 7 - стакан.

Рис. 5 Горелка газовоздушная ГВ-1-02П

1 - головка горелки; 2 - вентиль подачи воздуха; 3 - вентиль подачи горючего; 4 - державка; 5 - штуцер воздуха М 16×1,5; 6 - штуцер горючего М 16×1,51 Н

Рис. 6 Горелка ПВ-1

Рис. 7 Наклейка рулона

с использованием дифференциального катка ИР-830

с использованием захвата-раскатчика и катка ИР-735

Рис. 8 Наклейка рулона без применения катка

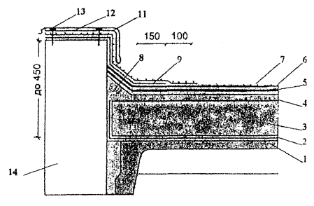
Рис. 9 Примыкание кровли к парапету высотой до 450 мм

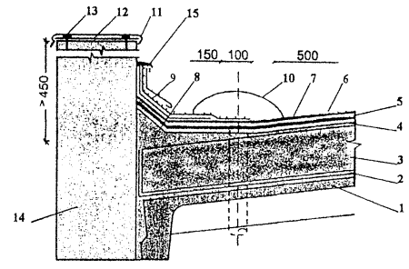
Рис. 10 Примыкание кровли к парапету высотой более 450 мм

1 - сборная железобетонная плита покрытия; 2 - пароизоляция (по расчету); 3 - теплоизоляция; 4 - выравнивающая стяжка; 5 - нижний слой основного кровельного ковра; 6 - верхний слой основного кровельного ковра; 7 - крупнозернистая посыпка; 8 - наклонный бортик; 9 - слои дополнительного кровельного ковра; 10 - воронка внутреннего водостока; 11 - оцинкованная кровельная сталь; 12 - костыли 40×4 через 600 мм; 13 - дюбели; 14 - стена; 15 - герметизирующая мастика

Рис. 11 Конек кровли

Рис. 12 Ендова кровли

1 - сборная железобетонная плита покрытия; 2 - пароизоляция (по расчету); 3 - теплоизоляция; 4 - цементно-песчаная стяжка; 5 - основной кровельный ковер; 6 - дополнительные слои кровельного материала; 7 - крупнозернистая посыпка верхнего слоя; 8 - воронка внутреннего водостока


А, Б, В, Г - последовательность операций;

1 - парапет; 2 - основной кровельный ковер; 3 - переходный наклонный бортик; 4 - нижний слой дополнительного ковра; 5 - верхний слой (с крупнозернистой посыпкой) дополнительного ковра.

Рис. 13 Раскладка и раскрой полотнищ наплавляемого рулонного материала при устройстве дополнительного кровельного ковра на поверхности внутреннего угла

А, Б, - для основного кровельного ковра; В, Г - для дополнительного кровельного ковра

1 - стена вентшахты; 2 - нижний слой основного кровельного ковра; 3 - верхний слой (с крупнозернистой посыпкой) основного ковра; 4 - наклонный бортик; 5 - основной кровельный ковер; 6 - нижний слой дополнительного ковра; 7 - верхний слой (с крупнозернистой посыпкой) дополнительного ковра

Рис. 14 Раскладка и раскрой полотнищ наплавляемого рулонного материала при устройстве кровельного ковра на поверхности внешнего угла


1 - сборная железобетонная плита покрытия; 2 - пароизоляция; 3 - теплоизоляция; 4 - выравнивающая стяжка; 5 - основной кровельный ковер; б - крупнозернистая посыпка; 7 - рамка из уголка; 8 - зонт; 9 - хомут; 10 - труба; 11 - патрубок с фланцем; 12 - герметизирующая мастика

Рис. 15 Примыкание кровли к трубе

1 - сборная железобетонная плита покрытия; 2 - пароизоляция (по расчету); 3 - теплоизоляция; 4 - выравнивающая стяжка; 5 - основной кровельный ковер; 6 - крупнозернистая посыпка верхнего слоя наплавляемого рулонного материала; 7 - рамка из уголка; 8 - герметизирующая мастика; 9 - анкер

Рис. 16 Пропуск анкера через кровельный ковер

1 - сборная железобетонная плита покрытия; 2 - пароизоляция; 3 - теплоизоляция; 4 - выравнивающая стяжка; 5 - основной кровельный ковер; 6 - Филизол, уложенный насухо; 7 - стеклоткань; 8 - оцинкованная кровельная сталь; 9 - компенсатор; 10 - утеплитель (минеральная вата); 11 - бортик из легкого бетона

Рис. 17 Деформационный шов в покрытии

1 - сборная железобетонная плита покрытия; 2 - пароизоляция (по расчету); 3 - теплоизоляция; 4 - выравнивающая стяжка; 5 - основной кровельный ковер; 6 - крупнозернистая посыпка верхнего слоя наплавляемого рулонного материала; 7 - дополнительный слой кровельного ковра; 8- колпак водоприемной воронки; 9 - легкий бетон выравнивающего слоя ендовы; 10 - водоприемная чаша; 11 - уплотнитель

Рис. 18 Воронка внутреннего водостока

2.22. Работу по устройству кровли из Филизола выполняет бригада кровельщиков, состоящая из 2-х или 3-х человек:

один кровельщик работает с горелкой для расплавления наплавленного слоя, регулирует быстроту движения и контролирует качество работы;

второй кровельщик подносит рулоны Филизола в рабочей зоне, раскатывает каждый рулон на 2 м на участке приклейке с целью уточнения направления и нахлестки, затем скатывает полотно снова в рулон;

третий кровельщик выполняет работу по раскатыванию рулонов Филизола и уплотнению нахлесток, например, катком ИР-735.

Разогревая покровный (приклеивающийся) слой наплавляемого материала с одновременным подогревом основания или поверхности ранее наклеенного изоляционного слоя, рулон раскатывают, плотно прижимая к основанию.

Работы можно выполнять с применением дифференциального катка ИР-830 (Рис. 7).

2.23. При наклейке рулонного материала звеном из 2-х человек рабочий с горелкой размещается, как показано на Рис. 8.

2.24. У мест примыкания к стенам, парапетам и т.п. кровельные рулонные материалы наклеивают полотнищами длиной до 2 м. Наклейку полотнищ из наплавляемых рулонных материалов на вертикальные поверхности производят снизу вверх при помощи ручной горелки.

2.25. В местах примыкания кровли к парапетам высотой до 450 мм (Рис. 9) слои дополнительного ковра заводят на верхнюю грань парапета, затем примыкание обделывают оцинкованной кровельной сталью, которую закрепляют при помощи костылей. При пониженном расположении парапетных стеновых панелей (при высоте парапета не более 200 мм) наклонный переходной бортик устраивают из бетона до верха панелей.

При устройстве кровли с повышенным расположением верхней части парапетных панелей (более 450 мм) (Рис. 10) защитный фартук с кровельным ковром закрепляют пристрелкой дюбелями, а отделку верхней части парапета выполняют из кровельной стали, закрепляемой костылями или из парапетных плиток, швы между которыми герметизируют.

2.26. Конек кровли (при уклоне 3 % и более) усиливают на ширину 150...250 мм с каждой стороны (Рис. 11), а ендову - на ширину 500...700 мм (от линии перегиба) одним слоем рулонного материала, приклеиваемого к основанию под кровельный ковер по продольным кромкам (Рис. 12).

2.27. Раскладка и раскрой полотнищ наплавляемого рулонного материала при устройстве основного и дополнительного кровельного ковра в углу парапета и на поверхности внешнего угла приведены на Рис. 13, 14.

2.28. Места пропуска через кровлю труб выполняют с применением стальных патрубков с фланцем (или железобетонных стаканов) и герметизацией кровли в этом месте (Рис. 15). Места пропуска анкеров также усиливают герметизирующей мастикой. Для этого устанавливают рамку из уголков (которая ограничивает растекание мастики), а пространство между рамкой и патрубком или анкером заполняют мастикой (Рис. 16).

2.29. В деформационном шве с металлическим компенсатором перед устройством кровельного ковра на компенсатор наклеивают сжимаемый утеплитель из минеральной ваты и на него укладывают выкружку из оцинкованной кровельной стали, кромки которой опираются на бетонные бортики, затем на выкружку насухо укладывают стеклоткань и Филизол (Рис. 17).

2.30. В местах пропуска через покрытие воронки внутреннего водостока слои кровельного ковра должны заходить на водоприемную чашу, которую крепят к плитам покрытия хомутом с уплотнителем из резины (Рис. 18).

2.31. Дополнительные слои кровельного ковра из Филизола для мест примыканий к вертикальным поверхностям выполняют из заранее подготовленных кусков Филизола необходимой длины.

2.32. Верхний край дополнительных слоев Филизола должен быть закреплен. Одновременно крепят фартуки из оцинкованной стали для защиты этих слоев от механических повреждений и атмосферных воздействий на кровлю. Способы крепления могут быть различными: к деревянным рейкам, заложенным в штрабу кирпичной кладки, или пристрелкой металлической планки размером 4×40 мм (через 600 мм) дюбелями к бетонной поверхности.

Материально-технические ресурсы

Таблица 4

Код

Наименование машин, механизмов и оборудования

Тип, марка, ГОСТ

Технические характеристики

Назначение

Количество на звено (бригаду)

1

2

3

4

5

6

1

Баллоны для газа

ГОСТ 15860-84

Масса 22 кг, объем 50 л

Хранение газа

2 шт.

2

Горелки газовые

ГВ-1-02П, ЦНИИОМТП

Масса 1,25 кг

Расплавление мастики

1 шт.

3

Редуктор для газа

БПО-5-2

Масса 1,6 кг

Регулирование давления

2 шт.

4

Рукава резиновые

ГОСТ 9356-75

Внутренний диаметр 9 мм

Подача газа

30 м

5

Носилки для баллона

ЦНИИОМТП РЧ 1329-3.02.000

Масса 7,5 кг

Переноска баллонов

1 шт.

6

Тележка-стойка для баллонов с газом (на 2 баллона)

ЦНИИОМТП РЧ 1329-3.01.000

Масса 23 кг

Перевозка баллонов и установка

1 шт.

7

Горелки жидкостные

ПВ-1

Масса 1,3 кг

Расплавление мастики

1 шт.

8

Тележка-стойка для баллона с газом (на 1 баллон)

ЦНИИОМТП РЧ 1329-3.03.000

Масса 13,2 кг

Перевозка баллонов и установка

1 шт.

9

Установка компрессорная

СО-243-1

Масса 132 кг, расход воздуха 0,5 м3/мин

Подача сжатого воздуха

1 шт.

10

Каток дифференциальный

ИР-830 (СО-108А)

Масса 42,6 кг

Прикатка

1 шт.

11

Захват-раскатчик

 

Масса 0,3 кг

Раскатка рулона

1 шт.

12

Каток ручной

ИР-735 ЦНИИОМТП РЧ 735.00.000

Масса 5 кг

Приклейка в местах нахлесток

1 шт.

13

Гребок с резиновой вставкой

-

 

Уплотнение полотна

1 шт.

14

Нож кровельный

18975-73

 

Резка материалов

1 шт.

15

Шпатель скребок

ТУ 22-3059-74

 

Соскребание с поверхности оснований цементного раствора

2 шт.

16

Кран крышевой

К-1 или КБК-2 и др. аналогичные

Грузоподъемность К-1 - 300 кг, грузоподъемность КБК-2 - 250 кг

Подъем материалов

1 шт.

17

Строп 4-х ветвевой

Мосгорстрой

Грузоподъемность 10 тм

Подъем кровельных материалов на крышу

1 шт.

18

Тележка для подвозки материалов

РЧ 1688.00.000

Масса 17 кг

Подвозка материалов

1 шт.

19

Поддон для рулонных кровельных материалов

ПС-0,5И

Масса 76 кг

Подача рулонов на крышу

1 шт.

20

Агрегат высокого давления

Финиш-211-1

Масса 75 кг

Нанесение грунтовки

1 шт.

21

Предохранительный пояс

5718-77

 

Защита рабочего от падения

4 шт.

22

Защитная каска

9820-61

 

 

6 шт.

23

Рулетка

7502-69

 

Замеры

1 шт.

24

Метр складной металлический

7253-54

 

Замеры

1 шт.

3. ТРЕБОВАНИЯ К КАЧЕСТВУ И ПРИЕМКЕ РАБОТ

3.1. В процессе подготовки и выполнения кровельных работ проверяют:

качество Филизола, которое должно соответствовать требованиям ТУ;

готовность отдельных конструктивных элементов покрытия для выполнения кровельных работ;

правильность выполнения всех примыканий к выступающим конструкциям;

соответствие числа слоев кровельного ковра указаниям проекта.

3.2. Приемка кровли должна сопровождаться тщательным осмотром ее поверхности, особенно у воронок, водоотводящих лотков, в разжелобках и в местах примыканий к выступающим конструкциям над крышей.

3.3. Выполненная рулонная кровля должна удовлетворять следующим требованиям:

иметь заданные уклоны;

не иметь местных обратных уклонов, где может задерживаться вода;

кровельный ковер должен быть надежно приклеен к основанию, не расслаиваться и не иметь пузырей, впадин.

3.4. Обнаруженные при осмотре кровли производственные дефекты должны быть исправлены до сдачи зданий или сооружений в эксплуатацию.

3.5. Приемка готовой кровли должна быть оформлена актом с оценкой качества работ.

3.6. При приемке выполненных работ подлежит освидетельствованию актами скрытых работ:

примыкания кровли к водоприемным воронкам;

примыкание кровли к выступающим частям вентшахт, антенн, растяжек, стоек, парапетов;

устройство послойно двух слоев кровельного ковра.

3.7. Требования к качеству кровель и предметы контроля приведены в Таблице 5.

3.8. После окончания всех кровельных работ необходимо выполнить требования экологической чистоты:

все остатки битума, мастичных комьев, обрезков рулонных материалов должны быть тщательно упакованы, уложены в емкости, контейнеры и спущены с кровли с помощью механизированных средств (крышевые краны, подъемники, лебедки и т.д.), затем вывезены в специально отведенные зоны.

Контроль качества

Таблица 5

Код

Наименование процессов и конструкций, подлежащих контролю

Технические характеристики оценки качества

Предмет контроля

Способ контроля и инструмент

Время проведения контроля

Ответственный за контроль

1

2

3

4

5

6

7

Подготовительные работы

1

Прочность стяжки: цементно-песчаной

не менее 50 кг/см2

Правильность устройства стяжки

Инструментальный

Образцы кубиков испытывают через 7 и 28 дней

Строительный мастер, прораб

асфальтобетонной

не менее 8 кг/см2

цементно-песчаной по засыпанной теплоизоляции

не менее 100 кг/см2

2

Влажность стяжки: цементно-песчаной

не более 5 %

То же

То же

Перед наклейкой рубероида

Строительная лаборатория, мастер

асфальтобетонной

не более 2,5 %

3

Ровность основания (стяжки): монолитного

Отклонение поверхности основания вдоль уклона и на горизонтальной поверхности ±5 мм, поперек уклона и на вертикальной поверхности ±10 мм

То же

Использование 3-х метровой линейки

После набора прочности через 3 дня

Строительный мастер, прораб

из сборных элементов

Перепады по высоте между смежными изделиями не более 3 мм

4

Толщина стяжки

По проекту, допустимое отклонение 10 %

То же

Измерение линейкой

В процессе выполнения работ

То же

5

Уклон кровли

По проекту, допустимое отклонение не более 0,2 %

То же

Измерение уклономером

Перед наклеиванием ковра

То же

Кровля из Филизола

1

Температура теплоносителя в зоне контакта с расплавляемым слоем материала при наклейке

160 °С, допустимое отклонение +20 °С

Правильность устройства кровли

Термометр

В процессе работы

Строительный мастер

2

Способ наклейки полотнища материала (перпендикулярно и в направлении стока воды)

При уклоне до 15 % - перпендикулярно, свыше 15 % - в направлении стока воды

 

Визуальный

В процессе работы

То же

3

Величина нахлеста в стыке одного полотнища с другим (продольного и поперечного)

100 мм при уклоне менее 1,5 %, 70 мм при уклоне более 1,5 % только для нижних слоев

Правильность устройства кровельного ковра

Визуальный

В процессе работы

Строительный мастер, прораб

4

Величина перехлеста полотнища нижнего слоя ковра через водораздел

При наклейке вдоль ската - перекрытие противоположного ската не менее, чем на 1 м; при наклейке поперек ската - не менее 250 мм

То же

То же

То же

То же

5

Прочность приклейки полотнищ к основанию, и одного слоя к другому

не менее 5 кг/см2

То же

Визуальный, методом отрыва

То же

То же

6

Условия выдерживания рулонов в зимнее время перед наклейкой

В течение не менее 20 час при температуре не менее 15 °С

То же

Визуальный

Зимой

То же

7

Количество дополнительных слоев, перекрывающих основной в местах его примыкания

не менее двух (для утяжеленных наплавляемых материалов)

То же

То же

В процессе работы

То же

8

Величина перекрытия дополнительными слоями основного ковра

Перекрытие нижним дополнительным слоем основного ковра не менее, чем на 150 мм, каждым последующим предыдущего - не менее, чем на 100 мм

То же

То же

То же

То же

9

Влажность утеплителя

не более 10 %

То же

Измерительный

То же

То же

10

Отклонение плоскости утеплителя от заданного уклона

не более 0,2 %

То же

Измерительный

После наклеивания ковра

То же

11

Отклонение толщины слоя утеплителя от проектной:

из сборных элементов

от -5 % до +10 %, но не более 20 мм

 

То же

То же

 

из сыпучих материалов

не более 10 %

12

Величина уступа между смежными элементами утеплителя

не более 5 мм

 

То же

То же

 

13

Отклонение коэффициента уплотнения сыпучих материалов

По проекту, допустимое отклонение не более 5 %

 

Расчетный

 

 

14

Предельная величина швов между смежными плитами утеплителя:

при наклейке

не более 5 мм

 

Визуальный

 

Строительный мастер, прораб

при укладке насухо

не более 2 мм

15

Ширина ендовы по низу у воронки

не менее 0,6

 

Визуальный

 

То же

16

Наличие фартуков, зонтов и других защитных элементов

 

 

Визуальный

 

То же

17

Наличие паспортов (документов по качеству) на все виды исходных материалов и изделий

 

 

Визуальный

 

Главный инженер

4. КАЛЬКУЛЯЦИЯ ЗАТРАТ ТРУДА

4.1. Калькуляция затрат труда при наклейке нового материала.

Таблица 6

Код

Обоснование, шифр по ЕНиР

Наименование работ

Единица измерения

Объем работ

Норма времени на единицу измерения, чел.-ч

Затраты труда на общий объем работ, чел.-ч

1

2

3

4

5

6

7

1

§Е7-4 № 2

Очистка основания от мусора механизированным способом

100 м2 основания

1000 м2

0,41

4,1

2

§Е7-4 № 3

Просушивание влажных мест (20 % поверхности)

100 м2 основания

20 м2

8,6

1,72

3

§Е7-4 № 8

Обделка водосточных воронок

1 шт.

4

1,3

5,2

4

§Е7-4 № 5

Огрунтовка поверхности праймером

100 м2 основания

1000 м2

0,65

6,5

5

§Е7-2 применительно

Покрытие крыши наплавляемым материалом с оплавлением покровного слоя

100 м2 одного слоя

1000 м2 (двухслойной кровли)

4,8

96

6

§ Е7-4 № 11

Обделка мест примыканий к выступающим конструкциям

100 м2 слоя свеса или примыкания

100

4,6

4,6

7

§Е7-6 № 11

Обделка примыканий к стенам защитными фартуками из кровельной стали

1 м

80

0,29

23,2

4.1.1. При капитальном ремонте кровель, если требуется замена пароизоляции, теплоизоляции, стяжки, следует добавить:

8

§Е7-13

Устройство пароизоляции

100 м2 слоя

 

6,7

 

9

§Е7-14 № 9

Устройство теплоизоляции

100 м2 слоя

 

11,5*3

 

10

§Е7-15 № 6

Устройство цементно-песчаной стяжки

100 м2 стяжки

 

21

 

11

§Е7-4 № 5

Огрунтовка стяжки

100 м2

 

10,5

 

12

Примечание 4 (применительно)

Устройство температурных швов в стяжке

100 м шва

 

7,8

 

13

§Е7-4 № 8

Обделка водосточных воронок

1 шт.

 

1,3

 

14

§Е1-16 № 12

Подача материалов свыше 30 м

100 т

 

(4,2:21) + (10*5):(5*5) = 2,2

 

15

§Е7-15 прим. 3

Устройство цементных бортиков

на 100 м бортика

 

10,4

 

4.2. При текущем ремонте кровель выполняются следующие виды работ:

Таблица 7

Код

Обоснование шифр по ЕНиР

Наименование работ и состав работ

Единица измерения

Объем работ (принят условно)

Норма времени на единицу измерения, чел.-ч

Затраты труда на общий объем работ, чел.-ч

1

2

3

4

5

6

7

1

Сборник Т-3-66

Вскрыть воздушные и водяные пузыри, удалить влагу, просушить вскрытые места

100 м2

0,1

9,4

0,94

2

ЕНиР §20-1-65

На поврежденные участки сверху уложить заплаты

м2

10

0,16

1,6

3

ЕНиР §20-1-65 п. 2

Снять старый кровельный ковер вокруг воронок и отслаивающуюся часть рулонного ковра, примыкающего к стенам (лифтовых шахт, вент-блокам, вытяжным трубам, парапету)

м2

10

0,095

0,95

4

РСН §20-3

Срубить наплывы битума в горловинах воронок

шт.

2

0,2

0,4

5

3-19 п. 1

Приготовить раствор из сухой смеси

м3

2,1

2,1

4,41

6

ЕНиР §7-15 примечание 4

Устройство местами выравнивающей стяжки из полимерраствора с целью устранения контруклонов и застойных мест

100 м2

10

4,1

0,41

7

ЕНиР §7-15 п. 12, прим. 1

§7-1 п. 16

Устроить наклонный бортик из цементного раствора М-100, высотой 150 мм, при уклоне 45° и огрунтовать его в местах примыкания к стенам (лифтовых шахт, вентблокам, вытяжным трубам, парапету)

0,25*1,5+0,042 = 0,417

0,1475*1,5+0,0207 = 0,24

м2

6

0,417

2,502

8

§Е7-4 № 1

Очистить кровлю от мусора

100 м2

100

1,0

1,0

9

§Е1-22 п. 1

Погрузить мусор в контейнер вручную

т

0,2

0,67

0,13

10

М(1)-19 п. 6

Спустить материал от разборки и мусора с помощью автокрана

т

1

0,216

0,216



6. ВЕДОМОСТЬ ПОТРЕБНОСТИ В МАТЕРИАЛАХ, ИЗДЕЛИЯХ И КОНСТРУКЦИЯХ НА 1000 м2

6.1. Основные материалы1).

1) При использовании жидкого топлива расход по нормам (Сб. 09 §2. Общие нормы расхода материалов) - 13,9 кг на 100 м2 одного слоя; на объем 1000 м2 двухслойной кровли расход жидкого топлива составит 278 кг без учета устройства кровли в местах примыканий.

Таблица 8

Код

Наименование материалов, изделий

Исходные данные

Потребность на измеритель конечной продукции

Обоснование нормы расхода

Единица измерения по норме

Норма расхода

1

2

3

4

5

6

Двухслойная кровля

1

Филизол-К для верхнего слоя

Сб. 09 §2. Общие нормы расхода материалов

м2

115 на 100 м2

1150

2

Филизол-Н для нижнего слоя

То же

м2

115 на 100 м2

1150

3

Праймер

 

кг

800 г на 1 м2

800

4

Сжиженный газ пропан-бутан

 

кг

22 на 100 м2 слоя

220

Однослойная кровля

1

Филизол-супер

 

м2

115 на 100 м2

1150

2

Праймер

 

кг

800 г на 1 м2

800

3

Сжиженный газ пропан-бутан

Типовые технологические карты ЦНИИОМТП

кг

22 на 100 м2 слоя

220

7. ТЕХНИКА БЕЗОПАСНОСТИ И ОХРАНА ТРУДА, ЭКОЛОГИЧЕСКАЯ И ПОЖАРНАЯ БЕЗОПАСНОСТЬ

Общие положения

7.1. К обслуживанию и эксплуатации средств механизации при производстве кровельных работ допускаются лица, хорошо изучившие правила эксплуатации, специфические требования по технике безопасности и имеющие удостоверение о допуске к работе.

7.2. Для транспортирования баллонов с сжиженным газом пропан-бутаном в зоне стройплощадки или в пределах крыши допускается использование специальных тележек, рассчитанных на 2 баллона. Баллоны на тележках должны надежно крепиться хомутом.

Категорически запрещается подавать на крышу наполненные газом баллоны колпаком вниз.

Кантовка наполненных баллонов допускается в пределах рабочего места и только по основанию крыши, не дающему искры при ударе по нему металлом.

7.3. Посторонним лицам запрещается находиться в рабочей зоне во время производства работ по наклейке Филизола.

Во всем остальном следует руководствоваться СНиП III-480* «Техника безопасности в строительстве», М., 1989.

7.4. Перед началом работы кровельщик должен надеть спецодежду и убедиться в ее исправности. Обувь должна быть не скользящей. Предохранительные приспособления (пояс, веревка, ходовые мостики, переносные стремянки и т.п.) должны быть своевременно испытаны и иметь бирки.

7.5. Необходимо получить у мастера, руководителя работ инструктаж о безопасных методах, приемах и последовательности выполнения предстоящей работы.

7.6. Перед началом работы кровельщику необходимо подготовить рабочее место, убрать ненужные материалы, очистить все проходы от мусора и грязи.

7.7. Убедиться в надежности подмостей и лесов, а на плоской кровле, временного ограждения. Проверить ограждено ли место работы внизу здания, укрепить все материалы на крыше.

7.8. Внешним осмотром проверить исправность баллонов, горелок, рукавов, надежность их крепления (крепить рукава только металлическими хомутами), исправность редукторов, манометров.

7.9. При работе с газовыми баллонами (рабочий газ - пропан) необходимо руководствоваться «Временной инструкцией по безопасной эксплуатации постов, хранению и транспортировке баллонов сжиженных газов пропан-бутановой смеси при гидроизоляционных работах».

7.10. При работе на скатах с уклоном более 20° и при отделке карнизов кровли с любым уклоном кровельщик обязан пользоваться предохранительным поясом и веревкой, прочно привязанной к устойчивым конструкциям здания. Места закрепления должен указать мастер или прораб.

7.11. Сбрасывать с кровли материал и инструмент запрещается, во избежание падения с кровли на проходящих людей каких-либо предметов устанавливаются предохранительные козырьки над проходами, наружными дверьми. Зона возможного падения предметов ограждается, вывешивается плакат «Проход запрещен».

7.12. При складировании на кровле штучных материалов, инструмента и принять меры против их скольжения по скату или сдувания ветром. Размещать на крыше материалы допускается только в местах, предусмотренных проектом производства работ.

7.13. Поднимать материалы следует преимущественно средствами механизации. Кровельные материалы при подъеме надо укладывать в специальную тару для предохранения от выпадения.

7.14. Подготовку, обрезку, выпрямление кровельных листов производить внизу в определенном месте на верстаке. Допускаются эти работы в чердачном помещении при наличии достаточного освещения. Для резки стальных кровельных листов применять ножницы, имеющие специальные кольца или цапфы.

7.15. Элементы и детали кровли, в том числе компенсаторы в швах, защитные фартуки, звенья водосточных труб, сливы, свесы и т.п., следует подавать на рабочие места в заготовленном виде. Заготовка указанных элементов и деталей непосредственно на крыше не допускается.

7.16. Приемная площадка наверху по периметру должна иметь прочное ограждение высотой 1 м и бортовую доску не менее 150 мм.

Требования безопасности при работе с газовыми и жидкостными горелками

7.17. При работе с газопламенным оборудованием рекомендуется пользоваться защитными очками.

7.18. При зажигании ручной газопламенной горелки (рабочий газ - пропан) следует приоткрывать вентиль на 1/4 - 1/2 оборота и после кратковременной продувки рукава зажечь горючую смесь, после чего можно регулировать пламя.

7.19. Зажигание горелки производить спичкой или специальной зажигалкой, запрещается зажигать горелку от случайных горящих предметов.

7.20. С зажженной горелкой не перемещаться за пределы рабочего места, не подниматься по трапам и лесам, не делать резких движений.

7.21. Тушение горелки производится перекрыванием вентиля подачи газа, а потом опусканием блокировочного рычага.

7.22. При перерывах в работе пламя горелки должно быть потушено, а вентили на ней плотно закрыты.

7.23. При перерывах в работе (обед и т.п.) должны быть закрыты вентили на газовых баллонах, редукторах.

7.24. При перегреве горелки работа должна быть приостановлена, а горелка потушена, и охлаждена до температуры окружающего воздуха в емкости с чистой водой.

7.25. Газопламенные работы должны производиться на расстоянии не менее 10 м от групп баллонов (более 2-х), предназначенных для ведения газопламенных работ; 5 м от отдельных баллонов с горючим газом; 3 м от газопроводов горючих газов.

7.26. При зажигании ручной жидкостной горелки (рабочее топливо - дизтопливо) вначале включают компрессор, подавая небольшое количество воздуха на головку горелки (регулировка вентилем), затем приоткрывают вентиль подачи топлива и поджигают полученную топливную смесь у среза головки. Последовательным увеличением расхода горючего и воздуха устанавливают устойчивое пламя. Перемещать компрессор можно только в отключенном состоянии.

7.27. Кровельные материалы, оборудование, топливо следует поднимать при помощи грузоподъемных механизмов в специальной таре или прочно увязанными в пакеты.

7.28. Работу по вертикальной оклеенной гидроизоляции производить с испытанных подмостей или строительных лесов.

7.29. При обнаружении утечки газа из баллонов работу следует немедленно прекратить. Ремонт баллонов или другой аппаратуры на рабочем месте газопламенных работ не допускается.

7.30. В случае замерзания редуктора или запорного вентиля, отогревать их только чистой горячей водой.

7.31. Баллоны с газом должны находиться на расстоянии не менее 1 м от нагревательных приборов и 5 м от нагревательных печей и других сильных источников тепла. Не снимать колпак с баллона ударами молотка, зубила или другим инструментом, могущим вызвать искру. Колпак с баллона следует снимать специальным ключом.

7.32. Рукава предохранять от различных повреждений; при укладке не допускать и сплющивания, скручивания, перегибания; не пользоваться масляными рукавами, не допускать попадания на шланги искр, тяжелых предметов, а также избегать воздействия на них высоких температур; не допускать использования газовых рукавов для подачи жидкого топлива.

7.33. Для подачи сжатого воздуха применяют пневмошланги.

7.34. Баллоны при работе на не постоянных местах должны быть закреплены в специальной стойке или тележке и в летнее время защищены от нагрева солнечными лучами.

7.35. Баллоны с газом следует перемещать только на специально оборудованных тележках.

7.36. Рабочее место кровельщика должно быть обеспечено следующими средствами пожаротушения и медицинской помощи:

порошковые огнетушители из расчета на одну секцию кровли не менее двух штук;

ящик с песком емкостью 0,05 куб. м;

лопаты - 2 штуки;

асбестовое полотно - 1 кв. м;

аптечка с набором медикаментов.

7.37. При возникновении на рабочих местах пожара необходимо тушить его с применением огнетушителей, сухим песком, накрывая очаги загорания асбестовой или брезентовым полотном.

7.38. При несчастных случаях, происшедших в результате аварии, все операции по эвакуации пострадавших, оказанию первой медицинской помощи, доставке (при необходимости) в лечебное учреждение кровельщик выполняет под руководством мастера (прораба).

7.39. По окончании кровельных работ с применением газопламенной горелки кровельщик должен закрыть вентиль подачи топлива на горелки, перекрыть вентиль на баллоне, выключить компрессор.

7.40. Снять рукава с редукторами с баллонов, смотать их и убрать в отведенное место хранения.

7.41. Вентили баллонов закрыть защитными колпаками и поставить баллоны в помещение для их хранения.

7.42. Очистить рабочее место, убрать инструмент и приспособления, материалы, очки, горелки, баллоны. Сообщить мастеру (прорабу) обо всех неполадках, замеченных во время работы; опустить люльки вниз и снять рукоятки с лебедок; отключить электроинструмент и механизмы от электросети; сдать на хранение ручной инструмент и предохранительный пояс; принять теплый душ или тщательно вымыть водой с мылом лицо и руки.

7.43. Приклеивающие составы и растворители, а также их испарения содержат нефтяные дистилляты и поэтому являются огнеопасными материалами. Не допускается вдыхание их паров, курение и выполнение кровельных работ вблизи огня или на закрытых и невентилируемых участках. В случае загорания этих материалов необходимо использовать (при тушении огня) порошковый огнетушитель и песок. Водой пользоваться запрещается.

7.44. Не следует допускать контакта кровельных материалов с растворителями, нефтью, маслом, животным жиром и т.п.

7.45. Работы по устройству тепло- и гидроизоляции покрытий допускается производить при температуре наружного воздуха до минус 20 °С и при отсутствии снегопада, гололеда и дождя.

7.46. Все материалы должны храниться при температурах от 15 до 25 °С.

7.47. Растворители и герметизирующие составы должны храниться в герметично закрытой таре с соблюдением правил хранения легковоспламеняющихся материалов.

Порожнюю тару из-под этих материалов следует хранить на специально отведенной площадке, удаленной от места работы.

Электрооборудование в складских помещениях для хранения газов должно быть взрывозащитного исполнения.

7.48. По окончании рабочей смены не разрешается оставлять неиспользованный горячий утеплитель и кровельные рулонные материалы внутри или на покрытиях зданий, а также в противопожарных разрывах.

7.49. Выполнение работ по устройству кровель одновременно с другими строительно-монтажными работами на кровлях, связанными с применением открытого огня (сварка и т.п.) не допускается.

7.50. До начала производства работ на покрытиях должны быть выполнены все предусмотренные проектом ограждения и выходы на покрытие зданий (из лестничных клеток, по наружным лестницам).

7.51. Противопожарные двери и люки выходов на покрытие должны быть исправны и при проведении работ закрыты. Запирать их на замки или другие запоры запрещается.

Проходы и подступы к эвакуационным выходам и стационарным пожарным лестницам должны быть всегда свободными.

7.52. Оборудование, используемое для подогрева наплавляемого рулонного кровельного материала (газовые горелки с баллонами и оборудованием), не допускается использовать с неисправностями, способными привести к пожару, а также при отключенных контрольно-измерительных приборах и технологической автоматике, обеспечивающих контроль заданных режимов температуры, давления и других, регламентированных условиями безопасности, параметров.

7.53. При использовании оборудования для подогрева запрещается:

отогревать замерзшие трубопроводы, вентили, редукторы и другие детали газовых установок открытым огнем или раскаленными предметами;

пользоваться рукавами, длина которых превышает 30 м;

перекручивать, заламывать или зажимать газопроводящие рукава;

использовать одежду и рукавицы со следами масел, жиров, бензина, керосина и других горючих жидкостей;

допускать к самостоятельной работе учеников, а также работников, не имеющих квалификационного удостоверения и талона по технике безопасности.

7.54. Хранение и транспортирование баллонов с газами должно осуществляться только с навинченными на их горловины предохранительными колпаками. При транспортировании баллонов нельзя допускать толчков и ударов. Переноска баллонов на плечах и руках запрещается.

7.55. При обращении с порожними баллонами из-под горючих газов должны соблюдаться такие же меры безопасности, как и с наполненными баллонами.

7.56. При перерывах в работе, а также в конце рабочей смены оборудование для нагрева кровельного материала должно отключаться, рукава должны быть отсоединены и освобождены от газов и паров горючих жидкостей.

По окончании работы вся аппаратура и оборудование должны быть убраны в специально отведенные помещения (места).

7.57. Кровельный материал, горючий утеплитель и другие горючие вещества и материалы, используемые при работе, необходимо хранить вне строящего или ремонтируемого здания в отдельно стоящем сооружении или на специальной площадке на расстоянии не менее 18 м от строящихся и временных зданий, сооружений и складов.

7.58. На кровле у мест проведения кровельных работ допускается хранить не более сменной потребности расходных (кровельных) материалов. Запас материалов должен находиться на расстоянии не менее 5 м от границы зоны выполнения работ.

7.59. У мест проведения работ допускается размещать только баллоны с горючими газами, непосредственно используемые при работе. Создавать запас баллонов или хранить пустые баллоны у мест проведения работ не допускается.

7.60. Складирование материалов и установка баллонов на кровле и в помещениях ближе 5 м от эвакуационных выходов (в том числе подходов к наружным пожарным лестницам) не допускается.

7.61. Емкости с горючими жидкостями следует открывать только перед использованием, а по окончании работы закрывать и сдавать на склад. Тара из-под горючих жидкостей должна храниться в специально отведенном месте вне мест проведения работ.

7.62. Баллоны с горючими газами и емкости с легковоспламеняющимися жидкостями должны храниться раздельно, в специальных складах или под навесами за сетчатым ограждением, недоступном для посторонних лиц.

Хранение в одном помещении баллонов, а также битума, растворителей и других горючих жидкостей не допускается.

7.63. Заправка топливом агрегатов на кровле должна проводиться в специальном месте, обеспеченном двумя огнетушителями и ящиком с песком. Хранение на кровле топлива для заправки агрегатов и пустой тары из-под топлива не допускается.

7.64. При обнаружении пожара или признаков горения (задымление, запах гари, повышение температуры и т.п.) необходимо:

немедленно об этом сообщить в пожарную охрану;

принять по возможности меры по эвакуации людей, тушению пожара и обеспечению сохранности материальных ценностей.

7.65. По окончании работ необходимо провести осмотр мест и привести их в пожаровзрывобезопасное состояние.

7.66. На объекте должно быть определено лицо, ответственное за сохранность и готовность к действию первичных средств пожаротушения.

Требования безопасности при работе с крышевыми кранами

7.67. Поднимать материалы следует только средствами механизации. Кровельные материалы при их подъеме следует укладывать в специальную тару, предохраняющую их выпадение.

7.68. Приемная площадка на кровлю по периметру должна иметь прочное ограждение высотой 1,1 м и бортовую доску не менее 150 мм.

7.69. Леса, подмости и другие средства подмащивания должны быть инвентарными и изготовлены по типовым проектам.

7.70. Краны малой грузоподъемности - К-1М, КБК-2 и другие, применяемые для подачи материалов при устройстве кровель, устанавливаются и эксплуатируются в соответствии с заводской инструкцией (паспортом) завода-изготовителя и инструкцией по охране труда машиниста крышевого крана.

7.71. Лица, допущенные к самостоятельной работе (грузчики, кровельщики, машинисты), должны быть обучены и аттестованы на знание безопасного производства работ и проинструктированы по всем видам выполняемых работ.

Рабочие, обслуживающие краны, должны быть аттестованы на знание устройства и безопасной эксплуатации крана, а также пройти обучение по инструкции по охране труда для стропальщиков, обслуживающих грузоподъемные машины, управляемые из кабины или с пульта управления.

Работы по перемещению груза на высоту должны проводиться под руководством руководителя работ (мастера), аттестованного по статье 7.4.7 «Правила устройства и безопасной эксплуатации грузоподъемных кранов».

7.72. Рабочие (кровельщики), занятые на погрузочно-разгрузочных работах, должны пройти инструктаж по безопасности труда и пожарной безопасности в соответствии с требованиями ГОСТ 12.3.009-76 «Работы погрузочно-разгрузочные».

7.73. ИТР, мастера, руководители работ должны пройти проверку знаний требований по безопасности труда, знать технологический процесс, устройство и эксплуатацию подъемно-транспортного оборудования, пожаробезопасности и производственной санитарии в соответствии с их должностными обязанностями.

7.74. Машинист крышевого крана должен проверять правильность и полноту загрузки контргруза, быть ознакомлен с опасными и вредными производственными факторами, действующими на работающего, - это опасность получения травм, возможность поражения электрическим током, падение с высоты поднимаемого груза и другие факторы.

7.75. Машинист крышевого крана обеспечивается спецодеждой, спецобувью и средствами индивидуальной защиты.

7.76. Перед началом работы машинист крышевого крана должен проверить надежность крепления всех элементов конструкций и техническую исправность крана, заземление в соответствии с «Правилами устройства электроустановок (ПУЭ)»; проверить освещение, горизонтальность установки крана; наличие ограждений в рабочей зоне подъема крана; исправность пульта управления; исправность грузозахватного приспособления, крюка, тары и тросов; исправность ограничителя высоты подъема крюка; правильность и полноту загрузки контргруза во избежание опрокидывания крана, наличие схем строповки грузов.

Установку крана производить так, чтобы груз при подъеме не мог зацепиться за выступающие части здания.

7.77. После монтажа кран должен быть подвергнут динамическим испытаниям с перегрузкой 10 % и статическим испытаниям с перегрузкой 25 %, о чем составляется соответствующий акт.

7.78. Подъем и спуск грузов производится только в вертикальном положении без подтягивания и рывков. Поднимаемый груз должен удерживаться от вращения и раскачивания. Крановщик и мастер должны следить за тем, чтобы масса груза не превышала допускаемую грузоподъемность крышевого крана.

7.79. Во время работы машинист и кровельщик должны подготовить материал для подъема (в соответствии со схемой укладки и строповки), уложить его в контейнер не более 6-ти рулонов, общая масса не должна превышать грузоподъемность крана, проверить надежность закрепления груза.

7.80. Приподнять груз на высоту 200-300 мм, чтобы убедиться в правильности зацепки и надежности тормозов, при подъеме груза следить за правильной укладкой грузового троса.

7.81. Перед началом подъема груза машинист крана должен предупредить рабочих, обслуживающих кран, о необходимости их выхода из опасной зоны и до тех пор, пока они находятся в опасной зоне, не осуществлять подъем груза.

7.82. Подъем груза производить плавно, без рывков, не допуская резкого торможения при подъеме и опускании груза, а также переключения электродвигателя с прямого хода на обратный без выдержки в нейтральном положении. Несоблюдения этого правила может привести к обрыву троса, поломке какой-либо части крана или срыву груза.

7.83. Во время работы крана машинист не должен:

осуществлять чистку и смазывание механизмов крана;

оставлять груз на весу во время перерывов в работе;

производить какой-либо ремонт или регулировку тормозов;

надевать соскочивший торс на ролики направляющего блока;

допускать поднятия груза на оттяжку, опускать и перемещать над людьми;

поднимать людей, следить за надежностью крепления каретки передвижения;

поправлять неравномерно наматывающийся на барабан трос рукой, крючком, палкой или доской, быть возле натянутого троса или допускать присутствие около него людей.

7.84. В случае возникновения неисправностей в работе крана работу следует приостановить, опустить груз, ослабить натяжение троса и только после этого устранить неисправность.

7.85. Работу крышевого крана следует остановить, если отсутствует или неисправна крышка на пульте управления и имеется доступ к токоведущим частям электрооборудования, при появлении шума, стука, запаха гари, резких рывков и толчков, а также при неисправности ограничителя высоты подъема крюка, неисправности электрооборудования, тормоза, грузового троса, тары, недостаточной массы контргруза.

7.86. Если при подъеме груза прекратилась подача электроэнергии, необходимо осторожно и плавно опустить груз вниз, пользуясь ручным тормозом. Не следует производить резкое торможение, так как в результате этого может сломаться опора, на которой укреплен блок.

7.87. После окончания работы машинист обязан опустить грузозахватные приспособления и тару вниз.

7.88. Выключить электропитание крышевого крана и закрыть шкаф пульта управления на замок, осмотреть все узлы крана, съемные грузозахватные приспособления и тару и об обнаруженных недостатках сообщить руководителю работ или лицу, ответственному за исправное состояние крана.

7.89. При производстве работ на плоских крышах, не имеющих постоянного ограждения (парапетной решетки и т.п.), необходимо устанавливать временные ограждения высотой не менее 1,1 м с бортовой доской.

Временные ограждения следует устанавливать:

по периметру участка производства работ;

на участках крыши, где установлены битумоварочные котлы и битумонасосы.

7.90. Места производства кровельных работ должны быть обеспечены не менее, чем двумя эвакуационными выходами (лестницами), а также первичными средствами пожаротушения в соответствии с Правилами пожарной безопасности при производстве строительно-монтажных работ.

7.91. Во время перерывов в работе технологические приспособления, инструмент, материалы и другие мелкие предметы, находящиеся на рабочем месте, должны быть закреплены или убраны с крыши.

После окончания работы или смены запрещается оставлять на крыше материалы, инструмент или приспособления во избежание несчастного случая. Громоздкие приспособления должны быть надежно закреплены.

Пожарная безопасность

7.92. При проведении работ с применением наплавляемых рулонных материалов наряду с требованиями настоящей инструкции надлежит также руководствоваться требованиями СНиП Правил пожарной безопасности Российской Федерации и другими нормами и правилами, утвержденными и согласованными в установленном порядке.

7.93. К производству кровельных работ допускаются рабочие, прошедшие медицинский осмотр, обученные мерам пожарной безопасности и методам проведения этих работ.

О проведении инструктажей должна быть отметка в специальном журнале под роспись. Журнал должен храниться у ответственного за проведение работ на объекте или в строительной (ремонтной) организации.

Лица, выполняющие работы с применением специального оборудования, должны проходить обучение по программам пожарно-технического минимума в обязательном порядке со сдачей зачетов (экзаменов).

7.94. У мест выполнения кровельных работ, а также около оборудования, имеющего повышенную пожарную опасность, следует вывешивать стандартные знаки (аншлаги, таблички) пожарной безопасности.

7.95. Перед началом ремонтных или строительных работ территория объекта должна быть подготовлена, с определением мест установки бытовых вагончиков, мест складирования материалов, баллонов с горючими газами или легковоспламеняющимися жидкостями.

7.96. Бытовые вагончики и склады материалов (баллонов) следует размещать на территории согласно требованиям действующих норм и правил. Размещение их в противопожарных разрывах между зданиями и сооружениями, а также загромождение ими проездов (подъездов) к зданиям не допускается.

7.97. При ремонтах кровли снимаемый горючий материал должен удаляться на специально подготовленную площадку. Устраивать свалки горючих отходов на территории объектов не разрешается.

7.98. До начала производства работ должны приниматься меры по предотвращению распространения пожара через проемы в стенах и перекрытиях (герметизация стыков внутренних и наружных стен, междуэтажных перекрытий, уплотнения в местах прохода инженерных коммуникаций с обеспечением требуемых пределов огнестойкости), а на покрытиях должны быть выполнены все предусмотренные проектом ограждения и выходы на покрытие зданий (из лестничных клеток, по наружным лестницам).

7.99. Противопожарные двери и люки выходов на покрытие должны быть исправны и при проведении работ закрыты. Запирать их на замки или другие запоры запрещается.

Проходы и подступы к эвакуационным выходам и стационарным пожарным лестницам должны быть всегда свободными.

7.100. На проведение всех видов работ с наплавляемыми материалами с применением горючих утеплителей руководитель объекта обязан оформить наряд-допуск.

В наряде-допуске должно быть указано место, технологическая последовательность, способы производства, конкретные противопожарные мероприятия, ответственные лица и срок его действия.

7.101. Укладку горючего утеплителя и устройство кровли из наплавляемых материалов на покрытии следует производить участками не более 500 м2. При этом укладку кровли следует вести на участке, расположенном не ближе 5 м от участка покрытия со сгораемым утеплителем без цементно-песчаной стяжки.

7.102. При хранении на открытых площадках наплавляемого кровельного материала, битума, горючих утеплителей и других строительных материалов, а также оборудования и грузов в горючей упаковке они должны размещаться в штабелях или группами площадью не более 100 м2. Разрыв между штабелями (группами) и от них до строящихся или подсобных зданий и сооружений надлежит принимать не менее 24 м.

7.103. По окончании рабочей смены не разрешается оставлять кровельные рулонные материалы, горючий утеплитель, газовые баллоны и другие горючие и взрывоопасные вещества и материалы внутри или на покрытиях зданий, а также в противопожарных разрывах.

7.104. Кровельный материал, горючий утеплитель и другие горючие вещества и материалы, используемые при работе, необходимо хранить вне строящегося или ремонтируемого здания в отдельно стоящем сооружении или на специальной площадке на расстоянии не менее 18 м от строящихся и временных зданий, сооружений и складов.

7.105. На объекте должно быть определено лицо, ответственное за сохранность и готовность к действию первичных средств пожаротушения.

7.106. Огнетушители должны всегда содержаться в исправном состоянии, периодически осматриваться, проверяться и своевременно перезаряжаться.

7.107. Использование первичных средств пожаротушения для хозяйственных и прочих нужд, не связанных с тушением пожара, не допускается.

7.108. Все работники должны уметь пользоваться первичными средствами пожаротушения, соблюдать требования ГОСТ 12.1.004-91 «Пожарная безопасность». Общие требования.

8. ТЕХНИКО-ЭКОНОМИЧЕСКИЕ ПОКАЗАТЕЛИ

Значения затрат труда (ч/час), выработки на одного рабочего в смену (м2) и заработной платы рабочих (руб.) рассчитываются в целом на общий объем кровельных работ или по элементам конструкции на основании калькуляций, исходя из нормативных затрат труда.

При разработке Технологической карты использованы следующие материалы:

1. Руководство по применению в кровлях и гидроизоляции наплавляемых рулонных материалов Филизол (ЦНИИпромзданий, 1997).

2. ТСН КР-97 МО. Кровли. Технические требования и правила приемки.

3. ТСН КР-97 МО. Проектирование и строительство кровель.

4. СНиП 3.04.01-87. Изоляционные и отделочные покрытия, 1988.

5. СНиП II-26-76. Кровли. Нормы проектирования, 1976.

6. СНиП 3.01.01-85. Организация строительного производства, 1995

7. СНиП III-4-80*. Техника безопасности в строительстве, 1989.

8. Правила пожарной безопасности в Российской Федерации, 1994.

СОДЕРЖАНИЕ

1. Область применения. 1

2. Технология и организация выполнения работ. 1

Материально-технические ресурсы.. 13

3. Требования к качеству и приемке работ. 14

Контроль качества. 14

4. Калькуляция затрат труда. 16

5. График производства работ. 18

6. Ведомость потребности в материалах, изделиях и конструкциях на 1000 м2 19

7. Техника безопасности и охрана труда, экологическая и пожарная безопасность. 19

Общие положения. 19

Требования безопасности при работе с газовыми и жидкостными горелками. 20

Требования безопасности при работе с крышевыми кранами. 23

Пожарная безопасность. 25

8. Технико-экономические показатели. 26

 

 




ГОСТЫ, СТРОИТЕЛЬНЫЕ и ТЕХНИЧЕСКИЕ НОРМАТИВЫ.
Некоммерческая онлайн система, содержащая все Российские Госты, национальные Стандарты и нормативы.
В Системе содержится более 150000 файлов нормативно-технической документации, действующей на территории РФ.
Система предназначена для широкого круга инженерно-технических специалистов.

Рейтинг@Mail.ru Яндекс цитирования

Copyright © www.gostrf.com, 2008 - 2026