Крупнейшая бесплатная информационно-справочная система онлайн доступа к полному собранию технических нормативно-правовых актов РФ. Огромная база технических нормативов (более 150 тысяч документов) и полное собрание национальных стандартов, аутентичное официальной базе Госстандарта. GOSTRF.com - это более 1 Терабайта бесплатной технической информации для всех пользователей интернета. Все электронные копии представленных здесь документов могут распространяться без каких-либо ограничений. Поощряется распространение информации с этого сайта на любых других ресурсах. Каждый человек имеет право на неограниченный доступ к этим документам! Каждый человек имеет право на знание требований, изложенных в данных нормативно-правовых актах!

  


 

ГОСТ Р 50807-95

(МЭК 755-83)

ГОСУДАРСТВЕННЫЙ СТАНДАРТ РОССИЙСКОЙ ФЕДЕРАЦИИ

УСТРОЙСТВА ЗАЩИТНЫЕ,
УПРАВЛЯЕМЫЕ ДИФФЕРЕНЦИАЛЬНЫМ
(ОСТАТОЧНЫМ) ТОКОМ

ОБЩИЕ ТРЕБОВАНИЯ И МЕТОДЫ ИСПЫТАНИЙ

ГОССТАНДАРТ РОССИИ

Москва

Предисловие

1 РАЗРАБОТАН И ВНЕСЕН Техническим комитетом 330 «Электроустановочные изделия»

2 ПРИНЯТ И ВВЕДЕН В ДЕЙСТВИЕ Постановлением Госстандарта России от 22.08.95 № 444

3 Настоящий стандарт содержит полный аутентичный текст международного стандарта МЭК 755-83 «Защитные устройства, управляемые дифференциальным (остаточным) током. Общие требования» с дополнительными требованиями, отражающими потребности экономики страны

4 ВВЕДЕН ВПЕРВЫЕ

5 ПЕРЕИЗДАНИЕ. Январь 2003 г.

СОДЕРЖАНИЕ

1 Область применения. 4

2 Определения. 5

3 Классификация. 8

4 Характеристики. 9

5 Предпочтительные значения. 11

6 Маркировка. 14

7 Требования к конструкции и функциональным характеристикам.. 15

8 Испытания. 18

Приложение А Определение коэффициента мощности при коротком замыкании. 33

Приложение В Условные обозначения. 33

Приложение С Дополнительные требования, отражающие потребности экономики страны и учитывающие требования государственных стандартов на электротехнические изделия. 34

Рисунки. 36

НОРМАТИВНЫЕ ССЫЛКИ

В настоящем стандарте использованы ссылки на следующие стандарты:

МЭК 50 (101) 1977          Международный электротехнический словарь МЭК00

МЭК 50 (151) 1978          Международный электротехнический словарь МЭК

МЭК 158-3 1985               Аппараты управления низковольтные. Часть 3. Дополнительные требования к контакторам, подлежащим сертификации

МЭК 947-4 1989               Низковольтная аппаратура распределения и управления. Часть 4. Контакторы и пускатели

ГОСТ 2.601-95                 Единая система конструкторской документации. Эксплуатационные документы

ГОСТ 12.1.004-91            Система стандартов безопасности труда. Пожарная безопасность. Общие требования

ГОСТ 12.2.007.0-75         Система стандартов безопасности труда. Изделия электротехнические. Общие требования безопасности

ГОСТ 12.2.007.6-75         Система стандартов безопасности труда. Аппараты коммутационные низковольтные. Требования безопасности

ГОСТ 12.4.155-85            Система стандартов безопасности труда. Устройства защитного отключения. Классификация. Общие технические требования

ГОСТ 20.39.312-85          Комплексная система общих технических требований. Изделия электротехнические. Требования по надежности

ГОСТ 27.410-87               Надежность в технике. Методы контроля показателей надежности и планы контрольных испытаний на надежность

ГОСТ 7399-97                  Провода и шнуры на номинальное напряжение до 450/750 В. Технические условия

ГОСТ 12997-84                Изделия ГСП. Общие технические условия

ГОСТ 13109-97                Электрическая энергия. Совместимость технических средств электромагнитная. Нормы качества электрической энергии в системах электроснабжения общего назначения

ГОСТ 14254-96

(МЭК 529-89)                   Степени защиты, обеспечиваемые оболочками (Код IP)

ГОСТ 15150-69                Машины, приборы и другие технические изделия. Исполнения для различных климатических районов. Категории, условия эксплуатации, хранения и транспортирования в части воздействия климатических факторов внешней среды

ГОСТ 16962.1-89

(МЭК 68-2-1-74)              Изделия электротехнические. Методы испытаний на устойчивость к климатическим внешним воздействующим факторам

ГОСТ 17516.1-90             Изделия электротехнические. Общие требования в части стойкости к механическим внешним воздействующим факторам

ГОСТ 22483-77                Жилы токопроводящие медные и алюминиевые для кабелей, проводов и шнуров. Основные параметры. Технические требования

ГОСТ 22929-78                Аппараты защиты от токов утечки рудничные для сетей напряжением до 1200 В. Общие технические условия

ГОСТ 23216-78                Изделия электротехнические. Хранение, транспортирование, временная противокоррозионная защита, упаковка. Общие требования и методы испытаний

ГОСТ 24682-81                Изделия электротехнические. Общие технические требования в части воздействия специальных сред

ГОСТ 25874-83                Аппаратура радиоэлектронная, электронная и электротехническая. Условные функциональные обозначения

ГОСТ 28216-89

(МЭК 68-2-30-87)            Основные методы испытаний на воздействие внешних факторов. Часть 2. Испытания. Испытание Db и руководство: Влажное тепло, циклическое (12 + 12 часовой цикл)

ГОСТ 30331.3-95

(МЭК 364-4-41-92)

ГОСТ Р 50571.3-94

(МЭК 364-4-41-92)          Электроустановки зданий. Часть 4. Требования по обеспечению безопасности. Защита от поражений электрическим током

ГОСТ Р 8.568-97              Государственная система обеспечения единства измерений. Аттестация испытательного оборудования. Основные положения

ГОСТ Р 50030.1-2000

(МЭК 60947-1-99)           Аппаратура распределения и управления низковольтная. Часть 1. Общие требования и методы испытаний

ГОСТ Р 50030.2-99

(МЭК 60947-2-98)           Аппаратура распределения и управления низковольтная. Часть 2. Автоматические выключатели

ГОСТ Р 50031-99

(МЭК 60934-98)               Автоматические выключатели для электрооборудования (АВО)

ГОСТ Р 50345-99

(МЭК 60898-95)               Аппаратура электрическая малогабаритная. Автоматические выключатели для защиты от сверхтоков бытового и аналогичного назначения

ПР 50.2.002-94                 Государственная система обеспечения единства измерений. Порядок осуществления государственного метрологического надзора за выпуском, состоянием и применением средств измерений, методиками выполнения измерений, эталонами и соблюдением метрологических правил и норм

ПР 50.2.006-94                 Государственная система обеспечения единства измерений. Порядок проведения поверки средств измерений

ПР 50.2.009-94                 Государственная система обеспечения единства измерений. Порядок проведения испытаний и утверждения типа средств измерений

Введение

Настоящий стандарт подготовлен Техническим комитетом ТК 330 «Электроустановочные изделия» и распространяется на защитные устройства, управляемые дифференциальным (остаточным) током, предназначенные, главным образом, для защиты людей от поражений электрическим током, которые могут привести к смертельному исходу.

В стандарте приведены функциональные характеристики рассматриваемых защитных устройств и методы их испытаний. Правила их применения, для достижения необходимого уровня защиты, изложены в ГОСТ 30331.3 и соответствующих нормативных документах.

Для защиты от «косвенного прикосновения» (2.1.7) защитное устройство должно предотвратить длительное пребывание под опасным напряжением и током доступных для прикосновения людьми открытых токоведущих частей электроустановки, кожух которой должен быть во всех случаях заземлен. Таким образом, на этих металлических частях напряжение может появляться лишь в случае отказа изоляции.

Рассматриваемые защитные устройства соответствующей чувствительности (5.14, таблица VI) обеспечивают также повышенный уровень защиты и в случае «непосредственного прикосновения» (2.1.6) людей к токоведущим частям.

Однако применение защитных устройств, управляемых дифференциальным током, может рассматриваться лишь как дополнительная мера защиты по отношению к прямому заземлению в случае непосредственного прикосновения, а не как альтернативное защитное мероприятие.

Основной функцией рассматриваемых защитных устройств является обеспечение безопасности при косвенных прикосновениях, но защитные устройства достаточно высокой чувствительности (с дифференциальным током срабатывания не выше 30 мА) обеспечивают, кроме того, высокий уровень защиты в том случае, когда при отказе всех остальных защитных мер произошло непосредственное прикосновение людей к токоведущей части.

Характеристики отключения защитных устройств соответствуют требованиям международных стандартов на величины длительности воздействия переменного тока промышленной частоты на человека.

Рассматриваемые защитные устройства обеспечивают также высокий уровень защиты от возгораний имущества в случае длительного протекания тока по электрическим проводам или замыкания на землю, на которые не реагируют устройства защиты от сверхтоков (например, согласно ГОСТ Р 50345, см. приложение С).

Настоящий стандарт содержит общие требования, соблюдение которых должно обеспечивать соответствие функциональным характеристикам защитных устройств, управляемых дифференциальным током.

В стандарте содержатся также требования, относящиеся к критериям и методике испытаний, необходимые для обеспечения воспроизводимости результатов испытаний.

Требования настоящего стандарта являются обязательными.

Стандарт пригоден для целей сертификации.

Номера таблиц и рисунков соответствуют приведенным в МЭК 755.

Текст непосредственно примененного стандарта МЭК 755 набран: технические требования - светлым шрифтом, методы испытаний - курсивом, пояснения - петитом.

Дополнительные требования, отражающие потребности экономики страны и учитывающие требования государственных стандартов на электротехнические изделия, в том числе некоторые технические требования ГОСТ 12.4.155 и ГОСТ 22929*, изложены в приложении С.

При изложении текста стандарта даются ссылки на приложение С, которые в указанном месте ссылки дополняют текст МЭК 755 с учетом опыта проектирования, изготовления, испытаний и практического применения защитных устройств в России.

__________

* Указанные стандарты распространяются на устройства защитного отключения (УЗО), управляемые токами утечки (УЗО - У).

ГОСТ Р 50807-95

(МЭК 755-83)

ГОСУДАРСТВЕННЫЙ СТАНДАРТ РОССИЙСКОЙ ФЕДЕРАЦИИ

УСТРОЙСТВА ЗАЩИТНЫЕ, УПРАВЛЯЕМЫЕ
ДИФФЕРЕНЦИАЛЬНЫМ (ОСТАТОЧНЫМ) ТОКОМ

Общие требования и методы испытаний

Residual current operated protective devices.
General requirements and test methods

Дата введения 1996-01-01

1 Область применения

1.1 Настоящий стандарт распространяется на устройства защитного отключения (УЗО), управляемые дифференциальным (остаточным) током (далее - УЗО - Д), предназначенные для электрических сетей переменного тока с номинальным напряжением не выше 440 В и номинальным током не более 200 А, для защиты людей от поражения электрическим током и их имущества от теплового действия электрического тока.

Требования стандарта могут быть использованы как рекомендательные для УЗО - Д переменного тока с номинальным напряжением не выше 1000 В и номинальной силой тока более 200 А.

Настоящий стандарт распространяется на УЗО - Д, выполняющие одновременно функции обнаружения дифференциального тока (2.3.4), измерения и сравнения его величины с заданной величиной тока отключения (2.3.5) и отключения защищаемой цепи при превышении величины дифференциального тока отключения (2.3.6), а также на совокупность устройств, каждое из которых выполняет одну или две вышеуказанные функции, но которые совместно осуществляют все три функции.

Для УЗО - Д, выполняющих одну или две из упомянутых трех функций, необходимы дополнительные требования независимо от того, снабжены они устройствами защиты от сверхтоков или нет.

УЗО - Д, выполняющие дополнительные функции, помимо упомянутых выше, должны также учитывать стандарт, относящийся к этим дополнительным функциям.

Дополнительные или особые требования необходимы для:

- автоматических выключателей, управляемых дифференциальным током и предназначенных для применения неквалифицированными потребителями (например, автоматические выключатели со встроенными УЗО - Д с защитой или без защиты от сверхтоков бытового и аналогичного назначения);

- штепсельных розеток со встроенными УЗО - Д и предназначенных для применения неквалифицированными потребителями;

- штепсельных вилок и соединителей со встроенными УЗО - Д и предназначенных для применения неквалифицированными потребителями;

- устройств, предназначенных для защиты электроустановок или их оборудования от токов замыкания на землю (способных увеличить объем повреждения изоляции или вызвать возгорание), но необязательно предназначенных для защиты потребителей от поражения электрическим током;

- устройств, предназначенных лишь для сигнализации о повреждении изоляции в защищаемой электроустановке.

Настоящий стандарт применяют при эксплуатации в условиях внешних воздействующих факторов, указанных в 5.7 (см. приложение С).

При других условиях может возникнуть необходимость в дополнительных требованиях.

1.2 В стандарте устанавливают:

1) термины и определения (раздел 2);

2) классификацию (раздел 3);

3) характеристики УЗО - Д (раздел 4);

4) предпочтительные значения функциональных характеристик и факторов, влияющих на работоспособность УЗО - Д (раздел 5);

5) маркировку УЗО - Д (раздел 6);

6) требования к конструкции и функциональным характеристикам (раздел 7);

7) испытания, предназначенные для подтверждения функциональных характеристик, и методы, которыми следует проводить эти испытания (раздел 8).

2 Определения

В настоящем стандарте используют нижеследующие термины и определения (выделены полужирным шрифтом).

Определения общего характера, отсутствующие в настоящем стандарте, содержатся в «Международном электротехническом словаре МЭК»: МЭК 50 (151) и МЭК 50 (101)*.

___________

* Определения, приведенные в ГОСТ Р 50345 и ГОСТ Р 50030.1, дополняют нижеследующие определения настоящего стандарта.

При отсутствии других указаний под понятием «напряжение» и «ток» подразумевают действующие значения этих величин.

Буквенные обозначения приведены в приложении В.

К полюсу, предназначенному для нулевого защитного проводника и не обладающему той же степенью защиты от сверхтоков, какой обладают остальные полюсы, некоторые определения могут оказаться неприемлемыми.

2.1 Термины и определения, относящиеся к токам, стекающим с токоведущих частей в землю

2.1.1 Ток замыкания на землю - ток, проходящий в землю через место замыкания при повреждении изоляции.

2.1.2 Ток утечки - ток, который протекает в землю или на сторонние проводящие части в электрически неповрежденной цепи.

2.1.3 Пульсирующий (выпрямленный) постоянный ток - волнообразные импульсы тока длительностью (в угловой мере) не менее 150° за один период пульсации, следующие периодически с номинальной частотой и разделенные промежутками времени, в течение которых ток принимает нулевое значение или значение, не превышающее 0, 006 А величины постоянного тока.

2.1.4 Угол задержки тока a - промежуток времени, выраженный в угловой мере, в течение которого устройство фазного управления задерживает момент начала протекания тока.

2.1.5 Сглаженный постоянный ток - постоянный ток с незначительными волнообразными импульсами.

При этом коэффициент пульсации не превышает 10 %.

2.1.6 Непосредственное прикосновение - прикосновение человека к токоведущим частям электроустановки, находящимся под напряжением.

2.1.7 Косвенное прикосновение - прикосновение человека к открытым проводящим нетоковедущим частям электроустановки, оказавшимся под напряжением в случае повреждения изоляции.

2.2 Термины и определения, относящиеся к величинам, подводимым к УЗО - Д

2.2.1 Подводимая величина - электрическая величина, которая сама по себе или совместно с другими электрическими величинами должна быть приложена к УЗО - Д, чтобы обеспечить его функционирование в заданных условиях эксплуатации.

2.2.1.1 Входная подводимая величина - электрическая величина, вызывающая отключение УЗО - Д в заданных условиях эксплуатации.

Эти условия могут, например, заключаться в обеспечении электропитания некоторых вспомогательных органов.

2.2.1.2 Вспомогательная подводимая величина - электрическая величина, которая необходима для того, чтобы УЗО - Д в заданных условиях эксплуатации отключалось бы на воздействие входной подводимой величины.

2.2.1.3 Вспомогательный источник питания - источник, обеспечивающий наличие вспомогательной подводимой величины.

Питание вспомогательного источника может осуществляться или от самой защищаемой сети или от независимого источника питания, или с помощью комбинации этих источников.

2.2.2 Дифференциальный (остаточный) ток (ID) - действующее значение векторной суммы токов, протекающих в первичной цепи УЗО - Д (далее - дифференциальный ток).

2.2.3 Отключающий дифференциальный ток - значение дифференциального тока, вызывающее отключение УЗО - Д в заданных условиях эксплуатации.

2.2.4 Неотключающий дифференциальный ток - значение дифференциального тока, при котором и ниже которого УЗО - Д не отключается в заданных условиях эксплуатации.

2.3 Термины и определения, относящиеся к работе и различным функциям УЗО - Д

2.3.1 УЗО - Д - механический коммутационный аппарат или совокупность элементов, которые при достижении (превышении) дифференциальным током заданного значения при определенных условиях эксплуатации должны вызвать размыкание контактов.

УЗО - Д может состоять из различных отдельных элементов, предназначенных для обнаружения, измерения (сравнения с заданной величиной) дифференциального тока и замыкания и размыкания электрической цепи (разъединителя).

2.3.2 УЗО - Д без вспомогательного источника питания - устройство, функционирование которого не зависит от вспомогательной подводимой величины.

2.3.3 УЗО - Д со вспомогательным источником питания - устройство, функционирование которого зависит от вспомогательной подводимой величины.

2.3.4 Обнаружение - функция, состоящая в обнаружении дифференциального тока.

Эта функция может осуществляться, например, с помощью датчика входной подводимой величины - измерительного дифференциального трансформатора или другого аналогичного устройства, которое осуществляет векторное суммирование токов.

2.3.5 Измерение и сравнение - функция, обеспечивающая отключение УЗО - Д в том случае, когда обнаруженный дифференциальный ток превосходит заранее установленное значение.

2.3.6 Защитное отключение - функция, состоящая в переводе исполнительного органа УЗО - Д из положения «Включ.» в положение «Отключ.».

2.3.7 Исполнительный орган - часть УЗО -Д, обеспечивающая защитное отключение (см. 2.3.6).

2.3.8 УЗО - Д со свободным расцеплением - УЗО - Д, контакты которого возвращаются в разомкнутое положение и остаются в этом положении, если команда на отключение поступает после начала операции по включению, даже в том случае, когда операция по включению продолжается.

Чтобы обеспечить надежное отключение тока, который может возникнуть, возможно мгновенное размыкание контактов.

2.3.9 УЗО - Д без встроенной защиты от сверхтоков - УЗО - Д, в который не встроена защита от сверхтоков.

2.3.10 УЗО - Д со встроенной защитой от сверхтоков - УЗО -Д, предназначенное также для одновременной защиты от перегрузки и токов короткого замыкания.

Такие устройства должны дополнительно отвечать требованиям соответствующих стандартов, относящихся к этим дополнительным функциям.

2.3.11 Время отключения УЗО - Д - промежуток времени между моментом внезапного возникновения отключающего дифференциального тока и моментом выполнения функции данного устройства до полного гашения дуги.

2.3.12 Предельное время неотключения - максимальный промежуток времени, в течение которого можно пропускать через УЗО - Д дифференциальный ток, превышающий значение максимального неотключающего дифференциального тока, не вызывая его фактического отключения.

2.3.13 УЗО - Д с выдержкой времени (отключения) - УЗО - Д, специально предназначенное для обеспечения заранее заданного значения предельного времени неотключения, соответствующего данному значению дифференциального тока.

2.3.14 УЗО - Д с возвратом в рабочее положение - УЗО - Д, которое, помимо операции включения, требует дополнительной операции по его возврату в рабочее положение, в котором оно способно реагировать на дифференциальный ток.

2.3.15 УЗО - Д с возможностью выдержки времени - УЗО - Д, специально сконструированное таким образом, что к нему может присоединяться отдельное устройство так, что в комплекте они составляют УЗО - Д с выдержкой времени.

2.3.16 Устройство эксплуатационного контроля - устройство, позволяющее моделировать аварийный дифференциальный ток для проверки работоспособности УЗО - Д.

2.4 Термины и определения, относящиеся к значениям и диапазонам подводимых величин

2.4.1 Номинальное значение подводимой величины - значение подводимой величины, указанное изготовителем.

2.4.2 Сверхтоки неотключения в первичной цепи - сверхток в первичной цепи, который в отсутствие дифференциального тока может вызвать отключение УЗО - Д вследствие несимметрии дифференциального трансформатора.

Особый интерес представляют значения сверхтоков неотключения, указанные в 2.4.2.1 и 2.4.2.2.

2.4.2.1 Предельное значение тока неотключения при несимметричной нагрузке в многофазной цепи - максимальное значение тока в двухфазных или в фазном и нулевом рабочем проводниках, которое в отсутствие какого-либо замыкания на корпус или землю или тока утечки не вызывает отключение УЗО - Д.

2.4.2.2 Предельное значение тока неотключения при симметричной нагрузке - максимальное значение тока симметричной нагрузки, которое в отсутствие какого-либо замыкания на корпус или землю или тока утечки не вызывает отключение УЗО - Д.

2.4.3 Неповреждающий дифференциальный ток при коротком замыкании - максимальное значение дифференциального тока, при котором обеспечивается отключение УЗО - Д в заданных условиях эксплуатации, превышение которого может привести УЗО - Д к неработоспособному состоянию.

2.4.4 Предельное значение кратковременного тока термической стойкости - наибольшее действующее значение тока, термическое действие которого УЗО - Д может выдерживать в заданных условиях эксплуатации в течение заданного короткого промежутка времени без нарушения его работоспособности.

2.4.5 Предельное значение кратковременного тока динамической стойкости - наибольшее пиковое значение тока, динамическое действие которого УЗО - Д может выдержать в заданных условиях эксплуатации без нарушения его работоспособности.

2.4.6 Устройство защиты от сверхтоков - устройство, указанное изготовителем, которое должно быть установлено последовательно с УЗО - Д с целью защиты от сверхтоков.

Указанные устройства должны удовлетворять требованиям соответствующих стандартов (например, ГОСТ Р 50345).

2.4.7 Устройство защиты от перегрузки - устройство, указанное изготовителем, которое должно быть установлено последовательно с УЗО - Д с целью защиты от перегрузки.

Указанное устройство должно удовлетворять требованиям соответствующих стандартов (например, ГОСТ Р 50031).

2.4.8 Устройство защиты от короткого замыкания - устройство, указанное изготовителем, которое должно быть установлено последовательно с УЗО - Д с целью защиты от токов короткого замыкания.

Указанные устройства должны удовлетворять требованиям соответствующих стандартов.

2.4.9 Ожидаемый ток - ток, который протекал бы в цепи, если бы каждый главный токопроводящий путь УЗО - Д и устройства защиты от сверхтоков (если они имеются) были заменены проводниками с пренебрежимо малым полным сопротивлением.

Ожидаемый ток можно квалифицировать так же, как фактический, например ожидаемый пиковый ток, ожидаемый дифференциальный ток и т.п.

2.4.10 Включающая способность - значение ожидаемого тока, которое УЗО - Д способно включать при заданном напряжении в заданных условиях эксплуатации без нарушения его работоспособности.

2.4.11 Отключающая способность - значение ожидаемого тока, которое УЗО - Д способно отключить при заданном напряжении в заданных условиях эксплуатации без нарушения его работоспособности.

2.4.12 Способность включения и отключения дифференциального тока - значение ожидаемого дифференциального тока, которое УЗО - Д способно включать, пропускать в течение своего времени отключения и отключать в заданных условиях эксплуатации без нарушения его работоспособности.

2.4.13 Условный ток короткого замыкания - значение ожидаемого тока, которое УЗО - Д без встроенной защиты от токов короткого замыкания, но защищенное последовательно включенным устройством защиты от короткого замыкания, может выдержать в заданных условиях эксплуатации без нарушения его работоспособности.

2.4.14 Условный дифференциальный ток короткого замыкания - значение ожидаемого дифференциального тока, которое УЗО - Д без встроенной защиты от токов короткого замыкания, но защищенное последовательно включенным устройством защиты от короткого замыкания, может выдержать в заданных условиях эксплуатации и без нарушения его работоспособности.

2.4.15 Минимальное значение рабочего напряжения вспомогательного источника (Uх) - минимальное значение напряжения, при котором УЗО - Д сохраняет свою работоспособность (8.5.1).

2.4.16 Напряжение вспомогательного источника, вызывающее отключение УЗО - Д (Uу) - значение напряжения вспомогательного источника, ниже которого происходит автоматическое отключение УЗО - Д при отсутствии дифференциального тока (см. примечание к 8.5.2).

2.5 Термины и определения, относящиеся к значениям и диапазонам воздействующих факторов (см. приложение С)

2.5.1 Воздействующий фактор - фактор, способный повлиять на работоспособность УЗО - Д.

2.5.2 Допустимое значение воздействующего фактора - значение воздействующего фактора, которому соответствуют характеристики, указанные изготовителем. При испытаниях этот фактор может отклоняться от допустимого.

2.5.3 Допустимые условия эксплуатации - совокупность допустимых значений всех воздействующих факторов.

2.5.4 Предпочтительный диапазон значений воздействующих факторов - диапазон значений воздействующих факторов, при которых в указанных условиях обеспечивается работоспособность УЗО - Д, если остальные воздействующие факторы находятся в допустимых пределах.

2.5.5 Предельный диапазон значений воздействующих факторов - диапазон значений, в пределах которого УЗО - Д претерпевает обратимые изменения, при этом не обязательно удовлетворяя всем установленным требованиям.

3 Классификация

Применение УЗО - Д, классификация которых приведена ниже, проводят по ГОСТ 30331.3. УЗО - Д классифицируют:

3.1 по способу действия:

3.1.1 УЗО - Д без вспомогательного источника питания (2.3.2);

3.1.2 УЗО - Д со вспомогательным источником питания (2.3.3):

3.1.2.1 выполняющие автоматическое отключение при отказе вспомогательного источника с выдержкой времени и без нее (7.3):

3.1.2.1.1 производящие автоматическое повторное включение при восстановлении работы вспомогательного источника;

3.1.2.1.2 не производящие автоматическое повторное включение при восстановлении работы вспомогательного источника;

3.1.2.2 не производящие автоматическое отключение при отказе вспомогательного источника:

3.1.2.2.1 способные произвести отключение при возникновении опасной ситуации после отказа вспомогательного источника;

3.1.2.2.2 не способные произвести отключение при возникновении опасной ситуации после отказа вспомогательного источника;

3.2 по способу установки:

- стационарные с монтажом стационарной электропроводкой;

- переносные с монтажом гибкими проводами с удлинителями;

3.3 по числу полюсов:

- однополюсные двухпроводные;

- двухполюсные;

- двухполюсные трехпроводные;

- трехполюсные;

- трехполюсные четырехпроводные;

- четырехполюсные;

3.4 по виду защиты от сверхтоков и перегрузок по току:

- без встроенной защиты от сверхтоков;

- со встроенной защитой от сверхтоков;

- со встроенной защитой от перегрузки;

- со встроенной защитой от коротких замыканий;

3.5 по потере чувствительности в случае двойного заземления нулевого рабочего проводника.

На стадии рассмотрения;

3.6 по возможности регулирования отключающего дифференциального тока:

- нерегулируемые;

- регулируемые:

а) с дискретным регулированием;

б) с плавным регулированием;

3.7 по стойкости при импульсном напряжении:

- допускающие возможность отключения при импульсном напряжении;

- стойкие при импульсном напряжении;

3.8 по характеристикам наличия постоянной составляющей дифференциального тока (см. таблицу VII b):

- УЗО - Д типа АС;

- УЗО - Д типа А;

- УЗО - Д типа В.

4 Характеристики

4.1 Перечень характеристик

Наименования применяемых характеристик:

- способ установки (3.2);

- число полюсов и число токоведущих проводников (3.3);

- номинальный ток In (4.2.1);

- номинальный отключающий дифференциальный ток IDn (4.2.2);

- номинальный неотключающий дифференциальный ток, если он отличается от предпочтительного значения IDn0 (4.2.3);

- тип УЗО - Д по характеристикам наличия постоянной составляющей дифференциального тока;

- номинальное напряжение Un (4.2.4);

- номинальная частота (4.2.5);

- тип вспомогательного источника (если он имеется) и реакция УЗО - Д на его отказ (3.1);

- номинальное напряжение вспомогательного источника (если он имеется) Usn (4.2.6);

- номинальная включающая и отключающая способность Iт (4.2.7);

- номинальная способность включения и отключения дифференциального тока IDт (4.2.8);

- выдержка времени (если она имеется) (4.2.9);

- селективность (если она имеется) (4.2.10);

- координация изоляции, включая воздушные зазоры и пути утечки тока (4.2.11);

- степень защиты (по ГОСТ 14254).

Кроме этого, только для УЗО - Д без встроенной защиты от коротких замыканий дополнительно:

- вид защиты от коротких замыканий (2.4.6 и 2.4.8);

- номинальный условный ток короткого замыкания Inс (4.3.2);

- номинальный условный дифференциальный ток при коротком замыкании IDс (4.3.3).

4.2 Характеристики, общие для всех УЗО - Д

4.2.1 Номинальный ток нагрузки (In)

Указанное изготовителем значение тока, которое УЗО - Д может пропускать в продолжительном режиме работы.

4.2.2 Номинальный отключающий дифференциальный ток (IDn)

Указанное изготовителем значение дифференциального тока (2.2.3), которое вызывает отключение УЗО - Д при заданных условиях эксплуатации.

IDn - определяет действующее значение переменного тока при номинальной частоте.

4.2.3 Номинальный неотключающий дифференциальный ток (IDn0)

Указанное изготовителем значение дифференциального тока (2.2.4), которое не вызывает отключения УЗО - Д при заданных условиях эксплуатации.

4.2.4 Номинальное напряжение (Un)

Указанное изготовителем действующее значение напряжения, при котором обеспечивается работоспособность УЗО - Д (в частности при коротких замыканиях).

4.2.5 Номинальная частота

Значение частоты, на которое рассчитано УЗО - Д и при котором оно работоспособно при заданных условиях эксплуатации.

4.2.6 Номинальное напряжение вспомогательного источника (Usn)

Напряжение вспомогательного источника, на которое рассчитано УЗО - Д и при котором обеспечивается его работоспособность при заданных условиях эксплуатации.

4.2.7 Номинальная включающая и отключающая способность (Iт)

Действующее значение ожидаемого тока (2.4.9), который УЗО - Д способно включить, пропускать в течение своего времени и отключить при заданных условиях эксплуатации без нарушения его работоспособности.

Под заданными условиями эксплуатации понимают условия, приведенные в 8.11.2.2 для УЗО - Д без встроенной защиты от коротких замыканий и в 8.11.3.1 для УЗО - Д со встроенной защитой от коротких замыканий.

4.2.8 Номинальная способность включения и отключения дифференциального тока (IDт)

Действующее значение ожидаемого дифференциального тока (2.2.2 и 2.4.9), который УЗО - Д способно включить, пропускать в течение своего времени отключения и отключить при заданных условиях эксплуатации без нарушения его работоспособности.

Под заданными условиями эксплуатации понимают условия, приведенные в 8.11.2.3 для УЗО - Д без встроенной защиты от коротких замыканий и в 8.11.3.2 для УЗО - Д со встроенной защитой от коротких замыканий.

4.2.9 Выдержка времени и селективность

На рассмотрении.

4.2.10 Нормируемые характеристики при наличии постоянной составляющей дифференциального тока (см. таблицу VII b).

4.2.10.1 УЗО - Д типа АС

УЗО - Д, отключение которого происходит при внезапном появлении или медленном возрастании синусоидального переменного дифференциального тока.

4.2.10.2 УЗО - Д типа А

УЗО - Д с предусмотренным отключением дифференциальных токов:

- синусоидальных переменных;

- пульсирующих постоянных;

- пульсирующих постоянных с наложенной пульсацией величиной 0,006 А, с контролем или без контроля угла сдвига фазы независимо от полярности внезапно приложенных или медленно повышающихся дифференциальных токов.

4.2.10.3 УЗО - Д типа В

УЗО - Д с предусмотренным отключением дифференциальных токов:

- синусоидальных переменных;

- пульсирующих постоянных;

- пульсирующих постоянных с наложенной сглаженной пульсацией постоянного тока величиной 0,006 А;

- постоянных, получаемых электрической схемой с выпрямителем, например:

- трехфазное однополупериодное (рисунок 3h) или двухполупериодное соединение;

- двухполупериодная мостовая схема на линейном напряжении (рисунок 3I) с контролем или без контроля угла сдвига фазы независимо от полярности внезапно приложенных или медленно повышающихся дифференциальных токов.

4.3 Дополнительные характеристики, относящиеся к УЗО - Д без встроенной защиты от коротких замыканий

4.3.1 Координация с устройствами защиты от коротких замыканий (2.4.8)

Устройство защиты от коротких замыканий в комплекте с УЗО - Д предназначено для обеспечения достаточной защиты УЗО - Д от воздействия токов короткого замыкания, не превосходящих значений номинального условного тока короткого замыкания Inc и номинального условного дифференциального тока при коротком замыкании IDс.

Изготовитель УЗО - Д должен указать следующие характеристики устройства защиты от коротких замыканий:

а) максимальное значение пропускаемой величины (I2t);

б) максимальное пропускаемое значение пикового тока.

Любое устройство защиты от коротких замыканий, которое отвечает требованиям, установленным соответствующим стандартом, и обладающее характеристиками а) и б), не превышающими значений, указанных изготовителем для УЗО - Д, может использоваться для защиты УЗО - Д при условии, что оно не нарушает его работоспособность.

4.3.2 Номинальный условный ток короткого замыкания (Inc)

Указанное изготовителем действующее значение ожидаемого тока, который способно выдержать УЗО - Д, защищаемое устройством защиты от коротких замыканий, при заданных условиях эксплуатации без необратимых изменений, нарушающих его работоспособность.

Под заданными условиями эксплуатации понимают условия, приведенные в 8.11.2.1.2.

Необходимо учитывать, что воздействия тока короткого замыкания на УЗО - Д, защищаемое устройством защиты от коротких замыканий, могут изменяться в широких пределах в зависимости от индивидуальных особенностей устройства защиты, даже если они укладываются в предписанную стандартами его рабочую зону, а также в зависимости от момента (фазы) возникновения короткого замыкания, который является случайной величиной.

Изготовитель обязан обеспечить эффективность координации характеристик в условиях наиболее неблагоприятных воздействий на УЗО - Д.

Комплект, состоящий из УЗО - Д и указанного устройства защиты от коротких замыканий, должен выдерживать воздействие любых токов короткого замыкания, не превышающих указанное значение (8.11.2.4.2).

4.3.3 Номинальный условный дифференциальный ток при коротком замыкании (IDс)

Указанное изготовителем значение ожидаемого дифференциального тока, которое способно выдержать УЗО - Д, защищаемое устройством защиты от коротких замыканий, при заданных условиях эксплуатации без необратимых изменений, нарушающих его работоспособность.

Под заданными условиями эксплуатации понимают условия, приведенные в 8.11.2.4.3.

В зависимости от типа установки может потребоваться равенство токов Iпс и IDс.

В том случае, когда номинальный условный дифференциальный ток при коротком замыкании указан для комплекта, состоящего из УЗО - Д и указанного устройства защиты от коротких замыканий, этот комплект должен выдерживать воздействие любых дифференциальных токов при коротком замыкании, не превышающих указанное значение.

5 Предпочтительные значения

5.1 Предпочтительные значения номинального напряжения (Un)

Предпочтительные значения номинального напряжения выбирают из ряда: 100, 110, 120, 200, 220, 230, 240, 380, 400, 415, 440 В (см. приложение С).

Значение 690 В также рассматривают как предпочтительное значение (см. 1.1).

5.2 Предпочтительные значения номинального тока (In)

Предпочтительные значения номинального тока выбирают из ряда: 6, 10, 16, 20, 25, 32, 40, 50, 63, 80, 100, 125, 160, 200 А (см. приложение С).

5.3 Предпочтительные значения номинального отключающего дифференциального тока (IDn)

Предпочтительные значения номинального отключающего дифференциального тока выбирают из ряда: 0,006; 0,01; 0,03; 0,1; 0,3; 0,5; 1; 3; 5; 10; 20 А (см. приложение С).

5.4. Предпочтительное значение номинального неотключающего дифференциального тока (IDn0)

Предпочтительное значение номинального неотключающего дифференциального тока равно 0,5IDn.

При пульсирующем постоянном дифференциальном токе значение неотключающего дифференциального тока зависит от угла задержки тока a согласно 8.3.6.1.1.

5.5 Предпочтительное предельное значение неотключающего тока при несимметричной нагрузке в многофазной цепи

Предпочтительное предельное значение неотключающего тока при несимметричной нагрузке в многофазной цепи равно 6In.

5.6 Предпочтительное предельное значение неотключающего тока при симметричной нагрузке

Предпочтительное предельное значение неотключающего тока при симметричной нагрузке равно 6In.

5.7 Диапазоны и основные значения воздействующих факторов

5.7.1 Предпочтительные эксплуатационные диапазоны и основные значения воздействующих факторов, а также допуски при испытаниях приведены в таблице I.

Таблица I - Влияние внешних воздействующих факторов и других воздействующих величин

Воздействующая величина

Предпочтительный эксплуатационный диапазон

Основное значение

Допуски при испытаниях

Температура окружающей среды (см. примечание 1)

От - 5 до + 40 °С (см. примечание 2)

20 °С

± 5 °С

Высота над уровнем моря

Не более 2000 м

-

-

Относительная влажность: максимальное значение при 40 °С

50 % (см. примечание 3)

-

-

Внешнее магнитное поле

Не более пятикратного значения магнитного поля Земли в любом направлении

Магнитное поле Земли

См. примечание 4

Рабочее положение

По указанию изготовителя с допуском 5° в любом направлении (см. примечание 5)

По указанию изготовителя

2° в любом направлении

Частота

Основное значение ± 5 %

50 и/или 60 Гц по указанию изготовителя

± 2 %

Искажение синусоидальной формы кривой

Не более 5 %

Отсутствие

5 %

Переменная составляющая постоянного тока (для внешнего вспомогательного источника)

-

Отсутствие

3 %

Примечания

1 Максимальное значение средней дневной температуры равно + 35 °С.

2 Допустимы значения за пределами указанного диапазона в местностях с более тяжелыми климатическими условиями.

3 Допустимы более высокие значения относительной влажности при меньших значениях температуры (например, 90 % при 20 °С).

4 Если УЗО - Д предназначено для установки вблизи источника сильного магнитного поля, могут понадобиться дополнительные требования.

5 Установка устройства должна обеспечивать отсутствие деформаций корпуса устройства, способных помешать его работе.

5.7.2 Пределы диапазона температур при хранении, транспортировании и установке

При хранении, транспортировке и монтаже допустимы температуры от минус 20 до плюс 60 °С, что должно учитываться в процессе проектирования УЗО - Д

УЗО - Д не предназначены для нормальной работы при этих предельных значениях температур, но они должны выдерживать их без необратимых изменений, нарушающих их работоспособность.

Для стран с более суровым климатом допустимы другие значения температур (например, от минус 40 до плюс 70 °С).

5.8 Предпочтительные значения номинальной частоты

Предпочтительные значения номинальной частоты 50 и 60 Гц.

Могут использоваться и другие значения. В этом случае номинальная частота должна указываться на маркировочной табличке УЗО - Д и все испытания должны проводиться на этой частоте.

5.9 Предпочтительные значения номинального напряжения внешнего вспомогательного источника питания (Usn)

Предпочтительные значения номинального напряжения внешнего вспомогательного источника питания выбирают из ряда:

- 12, 24, 48, 60, 110, 125, 220 и 250 В для постоянного тока;

- 12, 24, 48, 60, 100, 110, 120, 200, 220, 230, 240, 380, 400, 415, 440 В для переменного тока (см. приложение С).

5.10 Предпочтительные значения номинальной включающей и отключающей способности (Im) (см. приложение С)

Предпочтительные значения номинальной включающей и отключающей способности Iт:

- для УЗО - Д со встроенной защитой от коротких замыканий равны значениям, установленным стандартом для коммутационного аппарата (2.3.7);

- для УЗО - Д без встроенной защиты от коротких замыканий выбирают из ряда: 500, 1000, 1500, 3000, 4500, 6000, 10000, 20000 и 50000 А.

Минимальные значения указаны в таблице II.

Коэффициенты мощности, соответствующие этим значениям, указаны в таблице X.

Таблица II - Минимальные значения номинальной включающей и отключающей способности Im

В амперах

Номинальный ток In

Im

До 50

500

Св. 50 до 100

1000

» 100 » 150

1500

» 150 » 200

2000

5.11 Предпочтительные значения способности включения и отключения дифференциального тока (IDm) (см. приложение С)

Предпочтительные значения способности включения и отключения дифференциального тока выбирают из рада: 500, 1000, 1500, 3000, 4500, 6000, 10000, 20000 и 50000 А.

Минимальные значения указаны в таблице II.

Коэффициенты мощности, соответствующие этим значениям, указаны в таблице X.

5.12 Предпочтительные значения номинального условного тока короткого замыкания (Inс) (см. приложение С)

Предпочтительные значения номинального условного тока короткого замыкания Iпс для УЗО - Д без встроенной защиты от коротких замыканий выбирают из ряда: 500, 1000, 1500, 3000, 4500, 6000, 10000, 20000 и 50000 А.

Минимальные значения указаны в таблице II.

Коэффициенты мощности, соответствующие этим значениям, указаны в таблице X.

5.13 Предпочтительные значения номинального условного дифференциального тока при коротких замыканиях (IDс)

Предпочтительные значения номинального условного дифференциального тока при коротких замыканиях для УЗО - Д без встроенной защиты от коротких замыканий выбирают из ряда: 500, 1000, 1500, 3000, 4500, 6000, 10000, 20000 и 50000 А.

Минимальные значения указаны в таблице II.

Коэффициенты мощности, соответствующие этим значениям, указаны в таблице X (см. приложение С).

5.14 Предпочтительные значения максимального времени отключения

Предпочтительные значения максимального времени отключения (2.3.11) для УЗО - Д типа АС, предназначенных для защиты от поражения электрическим током при повреждениях изоляции (косвенное прикосновение), указаны в таблице III, а для УЗО - Д, предназначенных также для дополнительной защиты от поражения электрическим током в условиях нормальной работы (непосредственное прикосновение), приведены в таблице IV.

Соответствующие кривые характеристики отключения приведены на рисунках 1 и 2.

Таблица III - Предпочтительные значения максимального времени отключения УЗО - Д с отключающим током IDn > 0,03 А, предназначенных для защиты от поражения электрическим током в аварийных режимах (косвенное прикосновение)

Класс

Номинальный ток In, А

Предпочтительные значения максимального времени отключения, с, при токе

IDn

2IDn

5IDn

ТА

Любое значение

2

0,2

0,04

ТВ

Св. 40 (см. примечание)

5

0,3

0,15

Примечание - Класс ТВ предназначен для УЗО - Д с большим номинальным током, состоящего, например, из отдельного дифференциального трансформатора тока и из токового реле, замыкающего цепь отключающей катушки выключателя обычной конструкции или прерывающего цепь удерживающей катушки контактора.

Такое устройство не может отключать электрическую сеть за время порядка 0,04 с даже при высоких значениях дифференциального тока, но оно может обеспечить достаточный уровень защиты в условиях, определяемых пунктом 413.1 ГОСТ 30331.3.

Таблица IV - Предпочтительные значения максимального времени отключения УЗО - Д с отключающим током IDn £ 0,03 А, предназначенных для дополнительной защиты от поражения электрическим током в условиях нормальной работы (непосредственное прикосновение)

Номинальный отключающий дифференциальный ток IDn, А

Предпочтительные значения максимального времени отключения, с, при токе

IDn

2IDn

5IDn

см. примечание

5

5

0,5

1

0,5

0,2

0,04

Примечание - В случае защиты от поражения электрическим током при повреждении изоляции (косвенное прикосновение) с помощью УЗО - Д с величиной тока отключения /Дл < 0,03 А сопротивление заземления должно соответствовать требованиям пункта 413.1.4.2 ГОСТ 30331.3, обеспечивающим характеристики отключения, которые удовлетворяют условиям, изложенным в таблице III для УЗО - Д класса ТА.

Для УЗО - Д типа А значения максимального времени отключения, указанные в таблицах III и IV, также подлежат применению, однако значения токов IDn, 2IDn, 5IDn для таблицы III и IDn, 2IDn, 0,25 А для таблицы IV должны быть умножены на коэффициент 1,4 для УЗО -Д при IDn > 0,015 А и на коэффициент 2 (испытательный ток при этом не менее 0,030 А) для УЗО - Д при IDn £ 0,015 А.

Для УЗО - Д типа В значения максимального времени отключения, указанные в таблицах III и IV, также подлежат применению, однако значения токов IDn, 2IDn, 5IDn для таблицы III и IDn, 2IDn, 0,25 А для таблицы IV должны быть умножены на:

а) коэффициент 2 для:

- сглаженных дифференциальных токов,

- дифференциальных постоянных токов, получаемых в результате трехфазного однополупериодного или двухполупериодного соединения в электрической схеме;

б) коэффициент 1,4 для дифференциальных постоянных токов, получаемых в результате применения двухполупериодной мостовой схемы на линейном напряжении.

6 Маркировка

Каждое УЗО - Д должно быть снабжено долговечной маркировкой с указанием нижеследующих данных.

Маркировка должна быть помещена непосредственно на УЗО - Д или на паспортной табличке (табличках), прикрепленной к УЗО - Д, и размещаться таким образом, чтобы ее можно было без труда прочесть в рабочем положении УЗО - Д:

а) наименование изготовителя или торговый знак;

б) обозначение типа или номер серии;

в) номинальное напряжение;

г) номинальная частота;

д) номинальный ток;

е) характеристика наличия постоянной составляющей дифференциального тока:

- маркировка УЗО - Д типа АС,

- маркировка УЗО - Д типа А ,

- маркировка УЗО - Д типа В ;

ж) номинальный отключающий дифференциальный ток (или диапазон токов);

и) номинальный неотключающий дифференциальный ток, если он отличается от предпочтительного значения;

к) номинальная включающая и отключающая способность;

л) номинальный условный ток короткого замыкания (если это необходимо указать), и в этом случае характеристики последовательно включенного устройства защиты от коротких замыканий в соответствии с 4.3.1;

м) степень защиты (при ее отличии от IP20);

н) рабочее положение (символ по ГОСТ 25874) при необходимости.

Если УЗО - Д применяют со вспомогательным источником питания, необходимо также добавить следующую информацию:

о) обозначение типа вспомогательного источника;

п) номинальное напряжение вспомогательного источника, при котором происходит отключение УЗО - Д, если это предусмотрено (2.4.16);

р) напряжение вспомогательного источника, при котором происходит отключение УЗО - Д, если это предусмотрено (2.4.16);

с) характер тока или номинальная частота вспомогательного источника.

Эта маркировка должна размещаться вблизи зажимов для присоединения вспомогательного источника, если они имеются.

Если на УЗО - Д малого размера не хватает места для размещения всех указанных данных, то по крайней мере информация, указанная в подпунктах д) и ж), должна быть легкоразличима в рабочем положении УЗО - Д.

Информация, указанная в подпунктах а), б), в) и л), может располагаться на боковой стороне УЗО - Д и может быть доступна лишь до его установки в рабочее положение.

Остальная информация должна быть приведена в каталоге изготовителя.

Если имеется необходимость различия между входными и выходными зажимами, то они должны иметь четкую маркировку (например, слова «Сеть» и «Нагрузка», размещенные около соответствующих зажимов).

Зажимы, предназначенные для подключения нулевого рабочего проводника, должны обозначаться символом N.

Орган управления устройством эксплуатационного контроля обозначают символом Т.

К УЗО - Д прилагают электрическую схему в тех случаях, когда их правильное подключение вызывает сомнение.

Это требование обязательно для всех УЗО - Д, имеющих более двух полюсов.

УЗО - Д с подключаемым или размыкаемым защитным нулевым проводником должны быть снабжены электрической схемой.

Выводы для подключения вспомогательного источника питания (при его наличии) должны четко маркироваться.

7 Требования к конструкции и функциональным характеристикам

7.1 Механическая конструкция

7.1.1 Общие требования

Применяемые материалы должны удовлетворять своему назначению и обладать свойствами, позволяющими им выдерживать соответствующие испытания.

Контактное нажатие в контактных соединениях не должно передаваться через изоляционные материалы, размеры которых нестабильны в процессе эксплуатации.

Данное требование не распространяется на керамику, фарфор и аналогичные по стабильности размеров изоляционные материалы, за исключением случаев, когда упругость металлических частей достаточна для компенсации возможной усадки изоляционного материала.

Испытания, предназначенные для проверки характеристик таких материалов, находятся в стадии рассмотрения.

7.1.2 Механизм

Подвижные контакты УЗО - Д с числом полюсов более двух должны быть сблокированы так, чтобы все полюса, за исключением отключающего нулевой защитный проводник (при его наличии), включали и отключали ток практически одновременно.

Полюс, отключающий нулевой защитный проводник, должен размыкаться позже и замыкаться раньше защищенных полюсов.

Механизм коммутационного аппарата УЗО - Д должен обладать свободным расцеплением и быть сконструирован так, чтобы подвижные контакты могли находиться в состоянии покоя только во включенном или в отключенном положении, даже если орган управления освобождается в промежуточном положении.

УЗО - Д должны быть снабжены четкими и надежными указателями замкнутого и разомкнутого положения контактов главной цепи.

Если положение контактов указывает орган управления, то он должен, после освобождения, автоматически занимать положение, соответствующее положению подвижных контактов. В этом случае орган управления должен иметь два четко различающихся состояния, соответствующих положению контактов, но при автоматическом отключении может быть предусмотрено третье отдельное положение органа управления.

Возможно применение символов  и  для обозначения соответственно замкнутого и разомкнутого положения контактов.

7.1.3 Воздушные зазоры и пути утечки тока

Требования находятся на рассмотрении.

7.1.4 Зажимы для внешних проводников

Зажимы для внешних проводников должны обеспечивать такое присоединение проводников, чтобы при этом постоянно поддерживалось необходимое контактное давление между двумя металлическими поверхностями.

УЗО - Д должны иметь такие контактные зажимы, которые позволяли бы присоединять медные провода сечением, указанным в таблице V.

Зажимы не должны допускать смещения проводников и сами не должны смещаться таким образом, чтобы это могло помешать нормальной работе УЗО - Д или привести к нарушению изоляции (путем уменьшения воздушных зазоров и/или путей утечки тока).

Зажимы должны быть легкодоступными в заданных условиях эксплуатации.

Конструкция зажимов должна обеспечивать присоединение как одножильных, так и многожильных проводников.

Допускается применение конструкций зажимов, предназначенных для присоединения шин, при условии, что они не используются для присоединения кабелей.

Такие конструкции зажимов могут быть втычного или болтового типа.

Зажимы для присоединения внешних проводников без использования винтов, болтов или гаек в настоящем стандарте не рассматриваются.

Таблица V - Сечения присоединяемых медных проводов

Номинальный ток In, А

Диапазон номинальных поперечных сечений присоединяемых проводов, мм2

До 10

От 1 до 2,5

Св. 10 до 16

» 1,5 » 4

» 16 » 25

» 2,5 » 6

» 25 » 32

» 4 » 10

» 32 » 50

» 6 » 16

» 50 » 80

» 10 » 25

» 80 » 100

» 16 » 35

» 100 » 125

» 25 » 50

» 125 » 200

» 50 » 95

7.2 Устройство эксплуатационного контроля

Все типы УЗО - Д должны быть снабжены устройствами эксплуатационного контроля, моделирующими протекающий через дифференциальный трансформатор ток, не превышающий по величине 2,5IDn при номинальном напряжении, с целью обеспечения периодической проверки исправности УЗО - Д.

Если УЗО - Д имеет несколько значений тока отключения IDn (3.6), то здесь имеется в виду наименьшее из этих значений.

Устройство эксплуатационного контроля должно успешно пройти испытания по 8.4.

При оперировании устройством эксплуатационного контроля на защитный проводник не должно подаваться напряжение.

При отключенном УЗО - Д оперирование устройством эксплуатационного контроля не должно приводить к подаче напряжения в защищаемую электрическую цепь.

Устройство эксплуатационного контроля не должно быть единственным средством выполнения операции отключения, и оно не предназначается для этого.

Для окрашивания органа управления устройства эксплуатационного контроля предпочтительно используют краску светлых цветов (недопустимо применение красного и зеленого цветов) слабой насыщенности и обозначают его буквой «Т».

Устройство эксплуатационного контроля предназначено лишь для проверки функции отключения, но не значений номинального отключающего дифференциального тока и времени отключения.

7.3 Требования к УЗО - Д со вспомогательным источником питания

УЗО - Д, работа которых зависит от вспомогательного источника питания, должны быть работоспособны при любом значении напряжения источника в пределах от 0,85Usn до 1,1Usn, где Usn - номинальное напряжение вспомогательного источника (4.2.6).

Соблюдение этого требования проверяют с помощью испытаний, указанных в 8.5, с учетом дополнительных условий, приведенных в 8.3.2.

УЗО - Д в соответствии с их классификацией должны соответствовать требованиям таблицы VI.

Таблица VI - Требования к УЗО - Д со вспомогательным источником питания

Классификация УЗО - Д в соответствии с 3.1

Реакция на отказ вспомогательного источника

УЗО - Д, отключающиеся автоматически при отказе

Без выдержки времени

Мгновенное отключение в соответствии с условиями испытаний, приведенными в 8.5.2а

вспомогательного источника (3.1.2.1)

С выдержкой времени

Отключение после выдержки времени в соответствии с 8.5.2в.

Работа в течение выдержки времени в соответствии с 8.5.3

УЗО - Д, не отключающиеся автоматически при отказе вспомогательного источника (3.1.2.2)

Остаются во включенном положении

7.4 Превышение температуры

УЗО - Д должны иметь такую конструкцию, которая обеспечивала бы нормируемое превышение температуры при испытаниях.

Предельные значения превышения температуры различных частей УЗО - Д должны соответствовать стандартам, относящимся к соответствующей коммутационной аппаратуре и (или) к электронным элементам (при их наличии), например ГОСТ Р 50030.2.

Соответствующие испытания проводят в условиях, указанных в 8.7.

7.5 Сопротивление изоляции и электрическая прочность изоляции

Сопротивление изоляции и электрическая прочность изоляции УЗО - Д должны соответствовать нормируемым значениям.

УЗО - Д должны выдерживать испытания по 8.8.

7.6 Стойкость при импульсном напряжении

Конструкция УЗО - Д должна обеспечивать стойкость против ложных отключений при импульсах напряжения.

УЗО - Д должны выдерживать испытания по 8.12.

7.7 Электрическая прочность изоляции при импульсном напряжении

Конструкция УЗО - Д должна обеспечивать электрическую прочность изоляции при импульсном напряжении и выдерживать испытания по 8.13.

7.8 Механическая и коммутационная износостойкость

Конструкция УЗО - Д должна выдерживать указанное в стандартах на коммутационный аппарат, например ГОСТ Р 50030.2*, число операций включения и отключения, а также операций по включению и отключению тока в условиях, указанных в 8.14.

___________

* В случае, если размыкающее устройство является расцепителем.

7.9. Стойкость против механических ударов

УЗО - Д должны обладать достаточной механической прочностью, чтобы выдерживать без повреждения или отключения механические нагрузки, возникающие в процессе монтажа и эксплуатации.

Проверка осуществляется испытаниями по 8.15.

7.10 Надежность УЗО - Д при воздействии повышенной влажности

УЗО - Д должны обеспечивать надежную работу в условиях длительной эксплуатации с учетом старения компонентов.

Соответствие проверяют испытанием, указанным в 8.16.

Продолжительность испытания выбирают в зависимости от условий эксплуатации в соответствии с 8.16.2.

7.11 Условия работоспособности УЗО - Д с возвратом в рабочее положение (2.3.14)

Включение такого УЗО - Д после его отключения должно быть невозможным, если не выполнена операция по его возвращению в исходное положение.

7.12 Поведение УЗО - Д в случае замыкания на землю нейтрали на стороне сети и стороне нагрузки

Требование находится на рассмотрении.

7.13 Поведение УЗО - Д при наличии в токе замыкания на землю постоянной составляющей

УЗО - Д должны соответствовать требованиям к испытаниям, указанным в 8.3.6.

8 Испытания

8.1 Общие требования

Испытания в соответствии с настоящим стандартом являются типовыми. Перечень испытаний приведен в таблице VII (см. приложение С).

Таблица VII - Перечень типовых испытаний (см. приложение С)

Испытание

Номер пункта

требований

методов испытаний

1 Проверка функциональных характеристик

4.2-4.4

8.3

2 Проверка отключения устройства эксплуатационного контроля при предельном номинальном напряжении

7.2

8.4

3 Проверка поведения УЗО - Д в случае отказа вспомогательного источника питания для УЗО - Д, характеризуемых требованиями 3.1.2.1

7.3

8.5

4 Проверка превышения температуры

7.4

8.7

5 Проверка сопротивления изоляции и электрической прочности изоляции

7.5

8.8

6 Проверка предельного значения тока неотключения при появлении сверхтока в УЗО - Д без встроенной защиты от сверхтоков

5.5; 5.6

8.9

7 Проверка поведения УЗО - Д в условиях короткого замыкания

4.3; 5.12; 5.13

8.11

8 Проверка прочности изоляции при импульсном напряжении

7.7

8.13

9 Проверка механической и коммутационной износостойкости

7.8

8.14

10 Проверка надежности при воздействии

7.10

8.16

8.2 Условия испытаний

При отсутствии других указаний испытаниям подвергают УЗО - Д, соответствующие требованиям настоящего стандарта при предпочтительных значениях воздействующих факторов согласно таблице I.

8.3 Проверка функциональных характеристик

8.3.1 Испытательная цепь

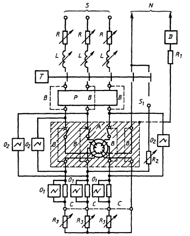
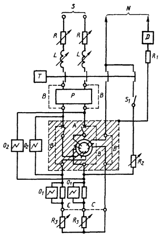
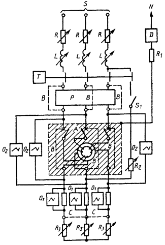
УЗО - Д устанавливают как при нормальных условиях эксплуатации. Испытательная цепь должна характеризоваться низкой индуктивностью и соответствовать, в зависимости от назначения испытания, рисункам 3а, рисункам 3b или рисункам 4.

Измерительные приборы для определения значения дифференциального тока должны относиться к классу точности 0,5.

У приборов для измерения времени отключения относительная погрешность должна быть не более 10 % измеряемой величины.

Если измеренные результаты сомнительны, то время отключения измеряют запоминающим осциллографом или электронным цифровым отметчиком времени.

8.3.2 Условия дополнительных испытаний УЗО - Д со вспомогательным источником питания

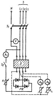
Для УЗО - Д со вспомогательным источником питания каждую серию испытаний повторяют при напряжениях, равных 1,1; 1,0 и 0,85 номинального напряжения этого источника, подаваемых на соответствующие выводы.

8.3.3 Испытания с применением синусоидального дифференциального тока при отсутствии номинального тока нагрузки при контрольной температуре, равной (20 ± 5) °С

УЗО - Д подвергают сериям испытаний (каждая серия состоит из пяти измерений), которые проводят для каждого полюса отдельно. Испытательная схема должна соответствовать рисунку 3а или рисунку 3b, в зависимости от типа применяемого источника.

8.3.3.1 Проверка правильности отключения при постоянном увеличении дифференциального тока

При предварительно замкнутых выключателях S1 и S2 испытательной цепи и УЗО - Д постепенно повышают дифференциальный ток с таким расчетом, чтобы дифференциальный ток от исходного уровня не более 0,21IDn в течение 30 с достиг IDn. Проводят не менее пяти измерений значения отключающего дифференциального тока.

Все измеренные значения должны находиться в пределах между неотключающим дифференциальным током неотключения и IDn, дифференциального отключения.

8.3.3.2 Проверка правильности отключения УЗО - Д в присутствии дифференциального тока

В условиях, когда испытательная цепь откалибрована при номинальном отключающем дифференциальном токе IDn, а выключатели S1 и S2 испытательной цепи предварительно включены, создается электрическая цепь для протекания тока путем включения контактов испытуемого УЗО - Д с целью более точного моделирования условий эксплуатации. Проводят не менее пяти измерений времени отключения.

Ни один измеренный результат не должен превышать предельного значения, указанного для отключающего дифференциального тока IDn согласно таблице III или IV, в зависимости от типа УЗО - Д.

8.3.3.3 Проверка правильности отключения в случае внезапного появления дифференциального тока

В условиях, когда испытательную цепь последовательно калибруют при значениях токов отключения, указанных ниже, а выключатель S1 испытательной цепи и испытуемое УЗО - Д находятся во включенном положении, внезапно подают дифференциальный ток путем включения выключателя S2 испытательной цепи. Испытание проводят при каждом значении дифференциального тока, указанном в таблицах III и IV, в зависимости от типа УЗО - Д.

При каждом значении ID проводят пять измерений времени отключения. Ни один результат не должен превышать установленных пределов.

Испытательная лаборатория может также проверить время отключения при значениях ID, являющихся промежуточными между указанными в таблицах III и IV, чтобы удостовериться, что оно меньше стандартных предельных значений по рисункам 1 и 2.

8.3.4 Проверка правильности отключения под нагрузкой при контрольной температуре

Испытания по 8.3.3.1 и 8.3.3.3 повторяют с подачей в УЗО - Д непосредственно перед испытанием номинального тока, как в нормальных условиях эксплуатации.

Испытание по 8.3.3.2 повторяют с предварительной подачей в УЗО - Д номинального тока при любом подходящем напряжении в течение времени, достаточного для достижения теплового равновесия.

8.3.5 Испытания при предельных температурах, указанных в 5.7.2, УЗО - Д должно выдержать (по 8.3.3.3) последовательно в следующих условиях:

а) при температуре окружающего воздуха минус 5 °С в обесточенном состоянии;

б) при температуре окружающего воздуха плюс 40 °С с предварительной подачей в УЗО - Д, при любом допустимом напряжении тока, который это УЗО - Д может проводить длительно при данной температуре согласно соответствующему стандарту на коммутационный аппарат до достижения теплового равновесия.

Для УЗО - Д, у которых вспомогательным источником питания служит электрическая сеть, необходимо достижение теплового равновесия при номинальном напряжении, чтобы можно было учесть превышение температуры элементов, обусловленное применением вспомогательного источника питания.

8.3.6 Проверка правильности отключения при наличии постоянной составляющей дифференциального тока

Действительны условия испытания по 8.3.1 и 8.3.2, за исключением испытательных цепей, изображенных на рисунках 3а и рисунку 3b.

8.3.6.1 УЗО - Д типа А

В дополнение к испытаниям, указанным в 8.3.3 - 8.3.5, УЗО - Д должны отвечать требованиям к испытаниям, указанным в 8.3.6.1.1 - 8.3.6.1.4.

УЗО - Д, работоспособность которых зависит от линейного напряжения, испытывают при напряжении, равном в 1,1 и 0,85 номинального.

8.3.6.1.1 Проверка правильности отключения в случае непрерывного нарастания пульсирующего постоянного тока

Испытания выполняют по испытательным схемам, изображенным на рисунке 3с или 3d.

Включаются вспомогательные выключатели S1 и S2 u испытуемое УЗО - Д, обозначаемое буквой D. Соответствующий тиристор настраивают так, чтобы углы задержки тока a равнялись 0,90 и 135°. Каждый полюс УЗО - Д испытывают дважды при каждом значении угла задержки тока в позициях I и II вспомогательного выключателя S3.

В ходе каждого испытания ток постоянно наращивают со скоростью приблизительно  для УЗО - Д с IDn > 0,015 А и  для УЗО - Д с IDn < Ток отключения должен соответствовать значениям таблицы VIIa.

Таблица VIIa

Угол a

Отключающий дифференциальный ток, А

Нижний предел

Верхний предел

0°

0,35IDn

1,41IDn или 2IDn

90°

0,25IDn

(см. 5.14)

135°

0,1IDn

 

8.3.6.1.2 Проверка правильности отключения в случае внезапного появления пульсирующего постоянного тока

Эти УЗО - Д испытывают в соответствии со схемами на рисунке 3с или рисунку 3d.

После калибровки этой цепи при значениях, указанных ниже, и замыкания вспомогательного выключателя S1 и УЗО - Д внезапно создают дифференциальный ток путем замыкания выключателя S2. Это испытание проводят при каждом значении дифференциального тока, указанном в 5.14, в зависимости от типа УЗО - Д.

Проводят два измерения времени отключения при каждом значении дифференциального тока, умноженного на коэффициент 1,4 для УЗО - Д с IDn > 0,015 А и на коэффициент 2 (при этом испытательный ток должен быть не менее 0,030 А) для УЗО - Д с IDn £ 0,015 А, при значении угла задержки тока a = 0°, при этом переключатель S3 находится в положении I для первого измерения и в положении II для второго измерения.

Ни один из результатов измерения не должен превышать установленных предельных величин.

8.3.6.1.3 Проверка правильности отключения под нагрузкой при контрольной температуре

Повторяют испытания по 8.3.6.1.1 с подачей в испытуемый полюс и любой другой полюс УЗО - Д номинального тока, включаемого непосредственно перед испытанием.

На рисунках 3с и рисунку 3d подача номинального тока не показана.

Таблица VIIb - Защита, обеспечиваемая УЗО - Д типов АС, А и В

Тип дифференциального тока

Форма дифференциального тока

Отключение УЗО - Д*

Пункт

АС

А

В

стандарта

 

Синусоидальный переменный ток АС

Внезапно подаваемый

+

+

+

8.3.3.2

 

Медленно нарастающий

8.3.3.1

 

Пульсирующий постоянный ток А

Внезапно подаваемый

 

+

+

8.3.6.1.2

 

с или без 0,006 А

Медленно нарастающий

8.3.6.1.1

8.3.6.1.3

8.3.6.1.4

 

Сглаженный постоянный ток В

 

 

+

8.3.6.2.1

 

8.3.6.2.2

8.3.6.2.3

 

8.3.6.2.4

 

8.3.6.2.5

 

* Индикация символом +. Символ «+» означает отключение УЗО - Д соответствующего типа на отключающем дифференциальном токе, характеризующемся формой, указанной в таблице.

 

8.3.6.1.4 Проверка правильности отключения при пульсирующем постоянном токе, на который накладывается стабилизированный постоянный ток 0,006 А

УЗО - Д испытывают в соответствии со схемами на рисунке 3е или 3f с наложением на выпрямленный по полуволне (0°) ток стабилизированного постоянного тока 0,006 А.

Каждый полюс УЗО - Д поочередно испытывают дважды в каждой из позиций переключателя I и II.

Ток полуволны I1, постоянно наращивают от нуля приблизительно со скоростью  для устройств с IDn > 0,015 А и  для устройств с IDn £ 0,015 А, причем УЗО - Д должно отключать до достижения током значения, не превышающего соответственно 1,4IDn + 0,006 А для УЗО - Д с IDn > 0,015 А или IDn + 0,006 А, но не менее 0,03 А плюс 0,006 А для устройств с IDn £ 0,015 А.

8.3.6.2 УЗО - Д типа В

В дополнение к испытаниям, указанным в 8.3.3-8.3.5 и 8.3.6.1, УЗО - Д следует подвергать испытаниям согласно 8.3.6.2.1 - 8.3.6.2.6.

Для УЗО - Д, работоспособность которых зависит от линейного напряжения, эти испытания проводят при напряжении, равном 1,1 и 0,85 номинального.

8.3.6.2.1 Проверка правильности отключения в случае медленно нарастающего дифференциального стабилизированного постоянного тока

Испытание проводят в соответствии со схемой на рисунке 3g, при этом выключатели S1 и S2 находятся во включенном положении.

Каждый полюс УЗО - Д испытывают дважды в каждой из позиций I или II переключателя S3.

При каждом испытании дифференциальный ток постоянно увеличивают начиная с нуля и до 2IDn в течение 30 с.

Отключение УЗО - Д должно произойти между значениями тока 0,5IDn и 2IDn.

8.3.6.2.2 Проверка правильности отключения в случае внезапного появления дифференциального стабилизированного постоянного тока

Испытательную цепь, изображенную на рисунке 3g, последовательно проверяют по значениям дифференциального тока, указанным ниже. При этом вспомогательный выключатель S1 и испытуемое УЗО - Д - D находятся во включенном положении. При включении выключателя S2 внезапно появляется дифференциальный стабилизированный постоянный ток.

Испытание проводят пять раз для каждого из предусмотренных значений дифференциального тока, указанных в 5.14, в соответствии с типом УЗО - Д, при этом значения испытательного тока умножают на коэффициент 2.

Для каждого значения дифференциального тока и каждого положения I или II переключателя S3 измеряют время отключения.

Измеренные величины не должны превышать установленных максимальных значений времени отключения, приведенных в таблицах III и IV.

8.3.6.2.3 Проверка правильности отключения при появлении дифференциального стабилизированного сглаженного постоянного тока

Испытательную цепь, изображенную на рисунке 3g, последовательно проверяют по значениям дифференциального тока, указанным ниже. При этом выключатель S2 и испытуемое УЗО - Д - D устанавливают во включенное положение. При включении выключателя S1 в цепи внезапно появляется испытательный дифференциальный ток, имитируя таким образом наиболее приближенные к эксплуатационным условия.

Испытания проводят пять раз для каждого из предусмотренных значений дифференциального тока, указанных в 5.14, в соответствии с типом УЗО - Д; при этом значения испытательного тока умножают на коэффициент 2.

Для каждого значения дифференциального тока и каждого положения I и II переключателя S3 регистрируют время отключения.

Измеренные величины не должны превышать установленных соответствующих максимальных значений времени отключения, приведенных в таблицах III и IV.

8.3.6.2.4 Проверка правильности отключения в случае медленно повышающегося дифференциального тока в результате повреждения цепи, имеющей трехфазное однополупериодное или двухполупериодное соединение

Испытания проводят на трех- или четырехполюсных УЗО - Д в соответствии со схемой на рисунке 3h, при этом выключатели S1 и S2 находятся в замкнутом положении.

Испытание проводят дважды. При каждом испытании, начиная с нуля, ток постепенно увеличивают до 2IDn в течение 30 с.

Отключение происходит между значениями тока 0,5IDn и 2IDn.

8.3.6.2.5 Проверка правильности отключения в случае медленно повышающегося дифференциального тока в результате повреждения цепи, имеющей двухполупериодную мостовую схему на линейном напряжении

Испытания проводят на двух-, трех- и четырехполюсных УЗО - Д в соответствии со схемой на рисунке 3I, при этом выключатели S1 и S2 находятся в замкнутом положении.

Испытания проводят на всех возможных комбинациях пар полюсов УЗО - Д.

При каждом испытании ток, начиная от нулевого значения, постепенно увеличивают до 1,4IDn в течение 30 с. Отключение УЗО - Д должно происходить между значениями тока 0,5IDn и 1,4IDn.

1 Для упрощения испытаний в случае появления дифференциальных токов в результате повреждения цепи, имеющей трехфазное однополупериодное или двухполупериодное соединение, двухполупериодную мостовую схему на линейном напряжении, проверку правильности отключения выполняют только с медленно нарастающим дифференциальным током и при значении угла задержки тока a = 0°.

2 Для упрощения испытаний в случае появления дифференциальных токов в результате повреждения трехфазных цепей выпрямителя проверку правильности отключения выполняют только для трехфазного однополупериодного соединения.

8.3.6.2.6 Проверка правильности отключения с нагрузкой при контрольной температуре

Повторяют испытания по 8.3.6.2.1, 8.3.6.2.4 и 8.3.6.2.5, при этом УЗО - Д нагружают номинальным током, как при нормальной эксплуатации, непосредственно перед испытанием. Соединения нагрузкой указаны на рисунках 3g, рисунках 3h и рисунках 3I пунктирными линиями.

8.4 Проверка отключения УЗО - Д при предельном номинальном напряжении

а) В УЗО - Д подают напряжение, равное 0,85 номинального, и проверяют его устройством эксплуатационного контроля 25 раз с интервалами в 1 с, каждый раз включая устройство контроля и УЗО -Д.

б) Испытание по пункту а) повторяют при напряжении, равном 1,1 номинального.

в) Один раз выполняют испытание по пункту б) в течение 30 с, удерживая орган управления устройством эксплуатационного контроля УЗО - Д в замкнутом положении. УЗО - Д должно отключаться во всех случаях.

В результате испытания не должно быть ухудшения работоспособности УЗО - Д.

Чтобы убедиться, что значение дифференциального тока, созданного устройством эксплуатационного контроля, менее 2,5IDn при номинальном напряжении, измеряют полное сопротивление цепи устройства эксплуатационного контроля и рассчитывают испытательный ток с учетом параметров цепи испытуемого УЗО - Д.

Если для проведения проверки необходимо разобрать УЗО - Д, следует использовать отдельный образец.

Предполагают, что износостойкость устройства эксплуатационного контроля проверяют испытаниями по 8.14.

8.5 Проверка УЗО - Д при отказе вспомогательного источника питания для устройств, характеризуемых 3.1.2.1

8.5.1 Проверка предельного значения рабочего напряжения вспомогательного источника питания (Uх)

На соответствующие выводы подают напряжение вспомогательного источника питания Usn с постепенным понижением его уровня от номинального до нулевого значения в течение 30 с до тех пор, пока не происходит автоматическое отключение УЗО - Д.

Измеряют соответствующие значения напряжения вспомогательного источника питания.

Выполняют 5 измерений.

Все полученные значения должны быть ниже 0,85 номинального напряжения вспомогательного источника питания Usn.

В заключение данной серии измерений проверяют правильность отключения УЗО - Д в случае, когда дифференциальный ток подают при падении напряжения вспомогательного источника до величины, указанной в настоящем пункте, и автоматического размыкания контактов.

8.5.2 Проверка автоматического отключения УЗО - Д в случае отказа вспомогательного источника питания

На соответствующие выводы подают номинальное напряжение вспомогательного источника питания Usn. Предварительно УЗО - Д включают.

Затем питание вспомогательного источника отключают. Измеряют интервал времени между моментом этого отключения и моментом размыкания главных контактов УЗО - Д.

Выполняют 5 измерений:

а) для устройств с мгновенным размыканием ни одна величина не должна превышать 0,04 с;

б) для УЗО - Д с выдержкой времени при размыкании максимальная и минимальная из измеренных величин должны быть расположены в диапазоне, указанном изготовителем.

8.5.3 Проверка правильности отключения при появлении дифференциального тока в период выдержки времени (при ее наличии)

УЗО - Д подключают к испытательной цепи согласно рисунку 3а или 3б, и на соответствующие выводы подают номинальное напряжение вспомогательного источника питания Usn. Затем это напряжение отключают соответствующим выключателем. УЗО - Д не должно отключаться до истечения времени выдержки.

На протяжении этой выдержки УЗО - Д подвергают испытаниям по 8.3.3 в зависимости от длительности времени выдержки, указанной изготовителем.

Если выдержка составляет несколько секунд, следует ограничиться проведением испытания по 8.3.3.3 и проверить только время отключения при IDn.

8.6 Проверка поведения УЗО - Д в случае замыкания на землю нейтрали на стороне сети и стороне нагрузки

Требования находятся в стадии рассмотрения.

8.7 Проверка превышения температуры

УЗО - Д следует испытывать при номинальном токе в условиях, указанных в стандартах на коммутационный аппарат для испытания на превышение температуры. Величина превышения температуры не должна выходить за пределы, указанные в соответствующих стандартах для различных частей УЗО - Д, например:

- если коммутационным аппаратом является расцепитель, - по ГОСТ Р 50030.2;

- если коммутационным аппаратом является контактор, - по МЭК 947-4.

8.8 Проверка изоляции

8.8.1 Общие положения

Различные цепи УЗО - Д должны испытываться в соответствии со стандартами на применяемый коммутационный аппарат при отсутствии других указаний в 8.8.2 и 8.8.3.

Во время испытания главной цепи вспомогательные цепи (при их наличии) должны быть соединены между собой и с открытыми токопроводящими частями.

Если УЗО - Д предназначено для эксплуатации в условиях относительной влажности выше величин, указанных в таблице I, то перед испытанием возможно выдерживание в камере влажности.

8.8.2 Вторичная обмотка дифференциального трансформатора

Цепь, содержащую вторичную обмотку дифференциального трансформатора, не подвергают испытаниям на проверку изоляции, если она не соединена с открытыми металлическими частями, защитным проводником или частями, находящимися под напряжением, а напряжение, соответствующее номинальному отключающему дифференциальному току, не превышает 24 В.

8.8.3 Вспомогательные цепи

К вспомогательным цепям относят цепи вспомогательного источника питания (при его наличии).

а) Измерение сопротивления изоляции и испытания на электрическую прочность изоляции вспомогательных цепей выполняют непосредственно после измерения сопротивления изоляции и испытаний на электрическую прочность изоляции главной цепи в условиях, указанных ниже в пунктах б) и в).

В случае использования электронных частей, в нормальных условиях эксплуатации подключенных к главной цепи, эти соединения следует выполнять так, чтобы во время этих испытаний не появлялось напряжение между входами и выходами этих частей.

б) Сопротивление изоляции измеряют:

- между вспомогательными цепями, соединенными между собой, и корпусом;

- между каждой из частей вспомогательных цепей, по возможности, которую в нормальных условиях эксплуатации можно отсоединить от других частей, и всеми прочими частями, соединенными между собой, после подачи напряжения постоянного тока около 500 В в течение 1 мин.

Сопротивление изоляции должно быть не ниже 2 МОм.

в) Между частями, перечисленными в пункте б), подают практически синусоидальное напряжение номинальной частоты в течение 1 мин.

Значения этого напряжения при испытаниях указаны в таблице VIII.

Таблица VIII

В вольтах

Номинальное напряжение вспомогательных цепей (переменное или постоянное)

Испытательное напряжение

До 30

600

Св. 30 до 50

1000

» 50 » 110

1500

» 110 » 250

2000

» 250 » 500

2500

В начале испытания напряжение не должно превышать половины указанного, а затем его постепенно повышают до полного значения не менее чем за 10 с и не более чем за 20 с.

В процессе испытания не должно быть пробоев и коротких замыканий.

Токи поверхностного разряда, не вызывающие уменьшение испытательного напряжения, не учитывают при оценке результатов проверки.

Если вспомогательная цепь УЗО - Д недоступна для проверки по пункту б), то испытывают образцы, специально подготовленные изготовителем, или выполняют требования инструкции завода-изготовителя.

8.9 Проверка предельного значения тока неотключения при появлении сверхтока для УЗО - Д без встроенной защиты от сверхтоков

Эта проверка может выполняться при напряжении ниже номинального напряжения устройства.

8.9.1 Испытания с несимметричной нагрузкой

УЗО - Д подключают к схеме проверки предельного значения тока неотключения согласно рисунку 4. Выключатель S1 должен быть разомкнут.

В УЗО - Д со вспомогательным источником питания на соответствующие выводы подают номинальное напряжение Usn этого источника.

Регулируемым резистором R1 устанавливают ток в цепи равным 6In.

Испытательный выключатель S1 замыкают и через 1 с вновь размыкают. Испытание повторяют трижды для каждой возможной комбинации токопроводящих путей с интервалом между двумя последовательными замыканиями не менее 1 мин.

УЗО - Д не должно отключаться.

8.9.2 Испытание с симметричной нагрузкой

УЗО - Д присоединяют как при нормальной эксплуатации, с практически неиндуктивной нагрузкой, соответствующей симметричному току 6IDn в каждой фазе.

В УЗО - Д со вспомогательным источником питания Usn при испытании на соответствующие выводы подается номинальное напряжение этого источника.

Ток источника питания включают выключателем S1 и через 1 с выключают.

Испытание повторяют трижды с интервалом между двумя последовательными включениями не менее 1 мин.

При испытаниях УЗО -Д не должно отключаться

8.10 Проверка предельного значения тока неотключения при появлении сверхтока для УЗО - Д со встроенной защитой от сверхтоков

Требования настоящего пункта находятся в стадии рассмотрения.

8.11 Проверка УЗО - Д в условиях короткого замыкания

8.11.1 Перечень испытаний на короткое замыкание указан в таблице IX.

Таблица IX - Испытания, необходимые для проверки поведения УЗО - Д в условиях короткого замыкания

Испытания

Испытания УЗО - Д

без встроенной защиты от коротких замыканий

со встроенной защитой от коротких замыканий

Номинальная включающая и отключающая способность Im

8.11.2.2

8.11.3.1

Номинальная способность включения и отключения дифференциального тока IDm

8.11.2.3

8.11.3.2

Координация при номинальном условном токе короткого замыкания Iпc

8.11.2.4.1

-

Координация при номинальной включающей и отключающей способности Im

8.11.2.4.2

-

Координация при номинальном условном дифференциальном токе при коротком замыкании IDc

8.11.2.4.3

-

8.11.2 Испытания УЗО - Д без встроенной защиты от коротких замыканий при коротком замыкании

8.11.2.1 Общие требования настоящего пункта действительны для испытаний по проверке поведения УЗО - Д без встроенной защиты от коротких замыканий

8.11.2.1.1 На рисунках 5-10 представлены соответственно схемы испытательных цепей, которые следует использовать для испытания:

- однополюсного УЗО - Д двухпроводного;

- двухполюсного УЗО - Д;

- двухполюсного УЗО - Д трехпроводного;

- трехполюсного УЗО - Д;

- трехполюсного УЗО - Д четырехпроводного;

- четырехполюсного УЗО - Д.

Источник электрической энергии S обеспечивает питание электрической цепи, включающей резисторы R, катушки индуктивности L, аппараты защиты от коротких замыканий Р (если они предусматриваются) согласно 2.4.8, испытуемое УЗО - Д, обозначаемое буквой А, и дополнительные резисторы R2 и/или R3.

Резисторы и катушки индуктивности испытательной цепи должны быть регулируемыми, чтобы удовлетворять заданным условиям испытаний.

Катушки индуктивности должны быть с воздушными сердечниками, последовательно соединены с резисторами R, а их величина должна достигаться последовательным соединением отдельных катушек индуктивности.

Допускается параллельное соединение катушек индуктивности, когда у них практически одинаковая постоянная времени.

Так как величина восстанавливающегося напряжения испытательной цепи, включающей большие катушки индуктивности с воздушными сердечниками, нехарактерна для нормальных условий эксплуатации, катушка индуктивности с воздушным сердечником на каждой фазе должна быть зашунтирована резистором, отводящим около 0,6 % величины тока, проходящего через катушку индуктивности, если нет других соглашений между изготовителем и потребителем.

В каждой испытательной цепи резисторы R и катушки индуктивности L включают между источником электрической энергии S и УЗО - Д, обозначаемым буквой А.

В случае использования аппарата защиты от коротких замыканий Р он подключается между резисторами R и УЗО - Д, обозначаемым буквой А.

При наличии вспомогательных резисторов R3 их следует устанавливать на выходе УЗО - Д между устройством и последующими соединениями.

Схема испытательной цепи должна прилагаться к протоколу испытаний.

Если отсутствуют другие соглашения между изготовителем и потребителем или испытательным центром, которые должны быть указаны в протоколе испытаний, схемы испытательной цепи должны соответствовать настоящему стандарту.

Заземляют только одну точку испытательной цепи: закорачивающее соединение С испытательной цепи, нейтральную точку источника питания или любую другую удобную точку. Способ заземления следует указывать в протоколе испытания.

Предварительно калиброванный резистор R используют для достижения:

- отключающего дифференциального тока 10IDn, способного вызвать отключение УЗО - Д за минимальное время, установленное в таблицах III и IV, в зависимости от его типа;

- номинальной способности включения и отключения дифференциального тока IDm;

- номинального условного дифференциального тока при коротком замыкании IDс.

S1 - вспомогательный выключатель.

Номинальное напряжение вспомогательного источника питания (при его наличии) подают на соответствующие выводы.

Все токопроводящие части УЗО - Д, заземляемые при нормальных условиях эксплуатации, в том числе его корпус и металлическое основание, на котором смонтировано устройство, присоединяют к нейтральной точке источника питания или к неиндуктивной искусственной нейтрали, допускающей ожидаемый аварийный ток не менее 100 А.

Это соединение должно включать надежный аппарат D (типа плавкого предохранителя, состоящего из медной проволоки диаметром 0,1 мм и длиной не менее 50 мм) для обнаружения аварийного тока и, при необходимости, резистор R1 ограничивающий ожидаемый аварийный ток до значения около 100 А.

Осциллограф О1 подсоединяют к выходу УЗО - Д.

Осциллограф О2 подсоединяют между выводами каждого полюса УЗО - Д.

При отсутствии в протоколе испытаний других указаний сопротивление измерительных цепей должно составлять 100 Ом на 1 В возвращающегося напряжения.

8.11.2.1.2 Допуски по испытательным, параметрам

Все испытания по проверке номинальной включающей и отключающей способности и правильности координации между УЗО - Д и аппаратами защиты от коротких замыканий проводят при значениях параметров и коэффициентов, указанных изготовителем в соответствии с таблицей I настоящего стандарта (при отсутствии других указаний).

Испытания следует считать удовлетворительными, если значения, внесенные в протокол испытаний, отклоняются от установленных в пределах допусков:

- по току                                         + 5 %;

- по коэффициенту мощности    - 0,05;

- по напряжению                           + 5 % (за исключением возвращающегося напряжения по 8.11.2.1.4).

8.11.2.1.3 Коэффициент мощности испытательной цепи

Коэффициент мощности каждой фазы испытательной цепи определяют в соответствии с приложением А.

Коэффициент мощности многофазной цепи оценивают как среднее значение коэффициентов мощности каждой фазы.

Для испытаний на номинальный условный ток короткого замыкания значение коэффициента мощности, соответствующего данному номинальному условному току короткого замыкания, приводится в таблице X.

Среднее значение коэффициента мощности испытательной цепи должно быть указано в протоколе испытаний.

Разность между средним значением и максимальным и минимальным значениями коэффициента мощности фаз не должна превышать 25 % среднего значения.

Таблица X - Коэффициенты мощности для испытаний на короткое замыкание

Ток короткого замыкания, А

Коэффициент мощности

До 500

1,00

Св. 500 до 1500

0,95

» 1500 » 3000

0,90

» 3000 » 4500

0,80

» 4500 » 6000

0,70

» 6000 » 10000

0,50

» 10000 » 20000

0,30

» 20000 » 50000

0,25

» 50000

0,20

8.11.2.1.4 Возвращающееся напряжение

Среднее значение возвращающегося напряжения должно равняться 110-5 % номинального напряжения испытуемого УЗО - Д.

8.11.2.1.5 Калибровка испытательной цепи

Испытуемое УЗО - Д, обозначаемое буквой А, и аппарат защиты от коротких замыканий Р, при его наличии, заменяются временными соединениями В, полным сопротивлением которых можно пренебречь по сравнению с полным сопротивлением испытательной цепи.

Для испытания по 8.11.2.4.1 (координация при номинальном условном токе короткого замыкания Iпс) выходные выводы УЗО - Д замыкают накоротко с помощью соединений С с достаточно малым полным сопротивлением, сопротивления R и катушки индуктивности L регулируются так, чтобы при испытательном напряжении обеспечить ток, равный номинальному условному току короткого замыкания при заданном коэффициенте мощности. Испытательная цепь получает питание одновременно на всех полюсах, и осциллограф О1 фиксирует ток в испытательной цепи.

Для испытаний по 8.11.2.2 (номинальная включающая и отключающая способность Im), по 8.11.2.3 (номинальная способность включения и отключения дифференциального тока IDm), по 8.11.2.4.2 (координация при номинальной включающей и отключающей способности Im) и по 8.11.2.4.3 (координация при номинальном условном дифференциальном токе при коротком замыкании IDс) используют, при необходимости, дополнительные резисторы R2 и/или R3 для достижения требуемых значений испытательных токов (соответственно Im, IDm, IDс).

8.11.2.1.6 Состояние УЗО -Д, подлежащего испытаниям

УЗО - Д, предназначенные для встраивания, следует испытывать в оболочке того же типа, что и в условиях эксплуатации. Механизмом управления следует оперировать как в нормальных условиях эксплуатации.

Если управление коммутационным аппаратом электрическое, то питание должно осуществляться при минимальном напряжении, установленном для цепи управления.

Проводят проверку правильности отключения УЗО - Д в обесточенном состоянии в заданных условиях.

При испытаниях на воздействие короткого замыкания на УЗО - Д около токоведущих частей на расстоянии, заданном изготовителем, устанавливают металлические экраны, которые должны быть изолированы от земли и присоединены к токоведущим частям УЗО - Д.

Допускается вместо металлических экранов использовать металлическую оболочку минимальных размеров из тех, в которых предполагают использование УЗО - Д.

8.11.2.1.7 Состояние аппарата защиты от коротких замыканий Р (при его наличии), подлежащего испытаниям

Аппарат защиты от коротких замыканий должен находиться в состоянии, предусмотренном для испытаний на короткое замыкание в соответствующих стандартах на данный тип аппарата.

8.11.2.1.8 Поведение УЗО - Д при испытаниях

Во время испытаний УЗО - Д не должно представлять собой опасность для оператора.

Кроме этого, не должны появляться устойчивая дуга, перекрытие между полюсами и открытыми токопроводящими частями, отключение УЗО - Д, обозначаемого буквой А, в цепи заземления.

Любые выбросы продуктов дугообразования, способные уменьшить уровень изоляции УЗО - Д, не должны превышать пределов, установленных изготовителем.

8.11.2.1.9 Состояние УЗО - Д после испытаний

После каждого испытания, выполненного в соответствии с требованиями 8.11.2.2, 8.11.2.3, 8.11.2.4.1-8.11.2.4.3, УЗО - Д не должно иметь признаков повреждений, препятствующих его дальнейшему использованию, и должно быть способно без ремонта выдержать напряжение, равное удвоенному номинальному, в течение 1 мин и включать и отключать свой номинальный ток при номинальном напряжении.

УЗО - Д должно удовлетворительно выдерживать все испытания, указанные в 8.3.3.3, но при значении 1,25IDn и наибольшем значении ID из таблицы III или IV в зависимости от типа УЗО - Д, и по 8.5, насколько это применимо.

8.11.2.2 Проверка номинальной включающей и отключающей способности

Это испытание предназначено для проверки способности УЗО - Д выдерживать токи короткого замыкания, при которых аппарат защиты от коротких замыканий может не сработать, тогда как наличие дифференциального тока вызывает отключение УЗО - Д.

8.11.2.2.1 Условия испытаний

УЗО - Д испытывают в условиях, предписанных в 8.11.2.1, без ввода в цепь отдельного аппарата Р защиты от коротких замыканий.

Соединения В с бесконечно малым полным сопротивлением заменяют УЗО - Д, обозначаемым буквой А, соединениями с приблизительно таким же полным сопротивлением, как у аппарата Р защиты от коротких замыканий.

Вспомогательный выключатель S1 остается включенным.

8.11.2.2.2 Методика испытаний

УЗО - Д должно быть трижды включено в испытательной цепи и автоматически отключиться под воздействием отключающего дифференциального тока, равного 10IDn, который протекает через выключатель S1 и резистор R2.

Временной интервал t между последовательными включениями должен составлять 3 мин.

После каждого гашения дуги в течение 0,1 с должно поддерживаться восстанавливающееся напряжение.

8.11.2.3 Проверка номинальной способности включения и отключения дифференциального тока (IDm)

Это испытание предназначено для проверки способности УЗО - Д выдерживать дифференциальные токи при коротком замыкании.

8.11.2.3.1 Условия испытаний

УЗО - Д следует испытывать согласно условиям, предписанным в 8.11.2.1, с таким электрическим монтажом, чтобы ток короткого замыкания был дифференциальным, без задействования в электрическую цепь аппарата Р для защиты от коротких замыканий.

Испытывают только один полюс, который не должен представлять собой коммутируемую нейтраль УЗО - Д.

Токопроводящие части, не предназначенные для проведения дифференциального тока при коротком замыкании, подключают на входных выводах к источнику напряжения.

Соединения В с бесконечно малым полным сопротивлением заменяют УЗО - Д, обозначаемым буквой А.

Вспомогательный выключатель S1 остается включенным.

8.11.2.3.2 Методика испытаний

В процессе испытаний осуществляют следующие циклы:

О - t - О - t- O - t- CO - t - СО,

где О - размыкание УЗО - Д, обозначаемого буквой А, с созданием короткого замыкания выключателем Т;

СО - замыкание УЗО - Д, обозначаемого буквой А, при замкнутом выключателе Т и с последующим размыканием;

t - временной интервал длительностью 3 мин.

Для выполнения трех размыканий вспомогательный выключатель Т синхронизируется относительно волны напряжения так, чтобы дуга зажигалась в трех точках:

(30 ± 10)°, (60 ± 10)° и (90 ± 10)°.

После гашения дуги напряжение восстановления должно сохраняться не менее 0,1 с.

8.11.2.4 Проверка координации между УЗО - Д и аппаратом защиты от коротких замыканий

Данные испытания предназначаются для проверки способности УЗО - Д, защищаемого аппаратом защиты от коротких замыканий, без повреждения выдерживать токи короткого замыкания не более номинального условного тока короткого замыкания (4.3.1).

С этой целью в условиях, соответствующих 8.11.2.1, проводят следующие испытания (см. также таблицу IX):

а) испытание (8.11.2.4.1) при номинальном условном токе короткого замыкания Iпс, где короткое замыкание создают в отсутствие дифференциального тока.

Этот ток короткого замыкания устраняют аппаратом защиты от коротких замыканий.

Возможно отключение УЗО - Д из-за асимметрии в цепи дифференциального трансформатора;

б) испытание (8.11.2.4.2) для проверки срабатывания аппарата защиты от коротких замыканий при токах короткого замыкания, соответствующих по величине номинальной включающей и отключающей способности Iт и защиты им УЗО -Д. Испытание выполняют без дифференциального тока.

Ток короткого замыкания отключают аппаратом защиты от коротких замыканий.

Во время этого испытания возможно отключение УЗО - Д;

с) испытание (8.11.2.4.3) для проверки способности УЗО - Д, в случае короткого замыкания фазы на землю при токах не более номинального условного дифференциального тока при коротком замыкании IDс, выдерживать соответствующие нагрузки благодаря аппарату защиты от коротких замыканий.

8.11.2.4.1 Проверка координации при номинальном условном токе короткого замыкания (Iпс)

8.11.2.4.1.1 Условия испытаний

Соединения В с бесконечно малым полным сопротивлением заменяют УЗО - Д, обозначаемым буквой А, и аппаратом защиты от коротких замыканий Р.

Вспомогательный выключатель S1 выключен (в испытательной цепи отсутствует дифференциальный ток).

8.11.2.4.1.2 Методика испытаний

Аппарат защиты от коротких замыканий Р включают перед каждой операцией (или в основание держателей плавких предохранителей вставляют новые плавкие вставки).

Выполняют следующий цикл испытаний:

O - t - CO,

где О - выключение аппарата защиты от коротких замыканий Р, когда короткое замыкание создают выключателем Т, а УЗО - Д и аппарат защиты от коротких замыканий Р включены в электрическую цепь;

СО - включение УЗО - Д, обозначаемого буквой А, при включенных выключателе Т и аппарате защиты от коротких замыканий Р с последующим отключением аппарата защиты от коротких замыканий Р;

t - временной интервал длительностью 3 мин или время введения в действие аппарата защиты от коротких замыканий Р, если оно больше 3 мин.

После каждого гашения дуги напряжение восстановления должно поддерживаться не менее 0,1 с.

8.11.2.4.1.3 Поведение УЗО - Д во время испытаний при номинальном условном токе короткого замыкания

Аппарат защиты от коротких замыканий Р должен отключать опасные величины тока.

Во время испытаний возможно отключение контактов УЗО - Д.

8.11.2.4.2 Проверка координации при номинальной включающей и отключающей способности Im УЗО - Д

8.11.2.4.2.1 Условия испытаний

Соединения В с пренебрежимо малым полным сопротивлением заменяют УЗО - Д, обозначаемым буквой А, и аппаратом защиты от коротких замыканий Р.

Вспомогательный выключатель S1 выключен (в испытательной цепи отсутствует дифференциальный ток).

8.11.2.4.2.2 Методика испытаний

Выполняют следующий цикл испытаний:

O - t - О - t - O - t - CO - t - СО,

где О - выключение аппарата защиты от коротких замыканий Р, когда короткое замыкание создает выключатель Т, а УЗО - Д, обозначаемое буквой А, и аппарат защиты от коротких замыканий Р включены в электрическую цепь с последующим отключением аппарата защиты от коротких замыканий Р;

СО - замыкание аппарата защиты от коротких замыканий Р при замкнутом выключателе Т и с последующим отключением;

t - временной интервал длительностью 3 мин или время введения в действие аппарата защиты от коротких замыканий Р, если оно больше.

Для выполнения трех размыканий вспомогательный выключатель Т синхронизируется относительно волны напряжения так, чтобы дуга зажигалась в трех точках:

(30 ± 10)°, (60 ± 10)°, (90 ± 10)°.

После гашения дуги не менее 0,1 с должно поддерживаться восстанавливающееся напряжение.

8.11.2.4.3 Проверка координации при номинальном условном дифференциальном токе при коротком замыкании IDс

8.11.2.4.3.1 Условия испытаний

УЗО - Д следует испытывать при условиях, предписанных в 8.11.2, но так выполнить электрический монтаж, чтобы ток короткого замыкания был дифференциальным током.

Испытывают один полюс, который не должен быть коммутируемой нейтралью УЗО - Д.

Токоведущие части, не предназначенные для проведения дифференциального тока при коротком замыкании, подключают на входных выводах к источнику напряжения.

Соединения В с пренебрежимо малым полным сопротивлением заменяют УЗО - Д, обозначаемым буквой А, и аппаратом защиты от коротких замыканий Р.

Вспомогательный выключатель S1 оставляют включенным.

8.11.2.4.3.2 Методика испытаний

В процессе испытаний выполняют цикл испытаний:

О - t - О - t - О - t - СО - t - СО,

где О - отключение или только УЗО - Д, обозначаемого буквой А, или одновременно УЗО - Д и аппарата защиты от коротких замыканий Р, причем когда выключатель Т создает короткое замыкание, УЗО - Д, обозначаемое буквой А, и аппарат защиты от коротких замыканий Р находятся во включенном положении;

СО - включение УЗО - Д, обозначаемого буквой А, когда выключатель Т и аппарат защиты от коротких замыканий Р находятся во включенном положении, с последующим выключением либо только УЗО - Д, обозначаемого буквой А, либо одновременно УЗО - Д, обозначаемого буквой А, и аппарата защиты от коротких замыканий Р;

t - временной интервал длительностью 3 мин или время введения в действие аппарата защиты от коротких замыканий Р, если оно больше.

Для выполнения трех размыканий вспомогательный выключатель Т синхронизируется относительно волны напряжения так, чтобы дуга зажигалась в трех точках:

(30 ± 10)°, (60 ± 10)° и (90 ± 10)°.

После гашения дуги не менее 0,1 с должно поддерживаться восстанавливающееся напряжение.

8.11.3 Испытания на воздействие короткого замыкания

УЗО - Д со встроенной защитой от коротких замыканий.

8.11.3.1 Проверка номинальной включающей и отключающей способности (Im)

Испытания проводят в условиях, предписанных для этих характеристик стандартами на данный тип коммутационного аппарата.

Действительны условия испытаний, указанные в 8.11.2.1, если они не противоречат условиям, приведенным в стандартах на коммутационный аппарат.

8.11.3.2 Проверка номинальной способности включения и отключения дифференциального тока (IDm)

Действительны условия по 8.11.2.3 (с использованием, при необходимости, резистора R3 на выходной стороне испытуемого полюса для получения тока, соответствующего по величине номинальной способности включения и отключения дифференциального тока IDm) с учетом условий, указанных в стандартах на данный коммутационный аппарат.

8.12 Проверка стойкости при импульсном напряжении

Требования находятся в стадии рассмотрения.

8.13 Проверка прочности изоляции при импульсном напряжении

Испытанию подвергают УЗО - Д, закрепленное на металлической опоре, подключенное как в нормальных условиях эксплуатации и находящееся во включенном состоянии.

Импульсы напряжения подаются генератором положительных и отрицательных импульсов с длительностью фронта, равной 1,2 мкс, и временем достижения половинного значения 50 мкс, с допусками:

± 5 % для пикового значения;

± 30 % для длительности фронта;

± 20 % для времени достижения половинного значения.

Первую серию испытаний выполняют при пиковом импульсном напряжении 6 кВ с подачей импульсов напряжения между фазами, соединенными между собой и нейтралью УЗО - Д.

Вторую серию испытаний выполняют при пиковом импульсном напряжении 8 кВ с подачей импульсов напряжения между металлической опорой, соединенной с выводами, предназначенными для подключения защитных проводников, если они предусматриваются, и фазами и нейтралью, соединенными между собой.

В обоих случаях подают 5 положительных и 5 отрицательных импульсов с интервалами между последовательными импульсами не менее 10 с.

Во время испытания не должно быть пробоев изоляции. При возникновении одного пробоя дополнительно подают 10 импульсов той же полярности, которые вызвали пробой, и с использованием той же схемы соединений. Более одного пробоя изоляции не допускается.

После присоединения УЗО - Д к генератору импульсов допускается регулирование формы импульсов при использовании делителя напряжения и осциллографа.

Термин «пробой» охватывает явления, связанные с повреждением изоляции под воздействием резкого возрастания нагрузки в электрической сети.

Допускаются незначительные колебания величины импульсов при условии, что величина колебаний не превышает 5 % их пикового значения.

Для импульса на первой половине фронта допускаются амплитуды колебаний, не превышающие 10 % пикового значения импульса.

8.14 Проверка механической и коммутационной износостойкости

УЗО - Д подвергают испытаниям на механическую и коммутационную износостойкость согласно требованиям ГОСТ Р 50030.2* и МЭК 947-4**.

___________

* В случае, если размыкающее устройство является расцепителем.

** В случае, если размыкающее устройство является контактором.

Для первой половины, но не менее 500 операций отключения должно быть произведено устройством эксплуатационного контроля, а для второй половины в 500 операций отключения через один из полюсов пропускают отключающий дифференциальный ток на уровне его номинального значения.

Для УЗО - Д с отключающим током IDn до 0,01 А включ. максимальное число отключений должно составлять соответственно 1500 и 1500.

После этого испытания УЗО - Д не должно иметь повреждений, препятствующих его дальнейшему использованию, и должно удовлетворительно выдерживать испытания по 8.3.3.3, но при значении отключающего дифференциального тока 1,25IDn и при наибольшем значении IDn из указанных в таблицах III и IV в зависимости от типа УЗО - Д.

Без какой-либо предварительной подготовки для защиты от влажности УЗО - Д должно удовлетворительно выдержать испытание на электрическую прочность изоляции согласно относящемуся к такой проверке пункту соответствующего стандарта на коммутационный аппарат.

8.15 Проверка стойкости против механических ударов

Требования находятся в стадии рассмотрения.

8.16 Проверка надежности при воздействии повышенной влажности

Испытания проводят согласно требованиям ГОСТ 28216.

8.16.1 Испытательная камера

Камера должна быть сконструирована в соответствии с требованиями ГОСТ 28216.

8.16.2 Требования к испытаниям

Циклы испытаний выполняют в следующих условиях:

- максимальная температура (55 ± 2) °С;

- циклы выбирают из ряда: 6,14 и 28 сут.

8.16.3 Методика испытаний

Требования к методике испытаний - согласно ГОСТ 28216.

8.16.3.1 Требования к проведению испытаний

Для испытания используют УЗО - Д, прошедшие испытания по 8.3 и 8.4.

8.16.3.2 Условия испытаний

8.16.3.2.1 В камеру помещают УЗО - Д, смонтированное, а также присоединенное как при нормальной эксплуатации и во включенном состоянии.

8.16.3.2.2 Период стабилизации (согласно рисунку 11)

Температура УЗО - Д должна быть стабилизирована на уровне (25 ± 3) °С:

а) либо путем выдерживания УЗО - Д в отдельной камере перед помещением его в испытательную камеру;

б) либо путем регулирования температуры испытательной камеры до (23 ± 3) °С после помещения в нее УЗО - Д и поддержания ее в этих пределах до достижения установившейся температуры.

В период стабилизации температуры одним из перечисленных методов относительная влажность должна оставаться в пределах, предписанных для нормальных атмосферных условий испытания.

В последний час пребывания УЗО - Д в испытательной камере значение относительной влажности следует повысить до 95 % при температуре окружающего воздуха (25 ± 3) °С.

8.16.3.2.3 Описание 24-часового цикла испытаний (согласно рисунку 12):

а) температуру испытательной камеры постепенно повышают до верхнего предела согласно 8.16.2; этот верхний предел должен быть достигнут за 3 ч 30 мин со скоростью нарастания температуры в пределах заштрихованной зоны на рисунке 12.

В этот период значение относительной влажности должно быть не ниже 95 %, за исключением последних 15 мин испытаний, когда она должна быть не менее 90 %. За время повышения температуры на УЗО - Д должна конденсироваться влага.

Условие, согласно которому должна происходить конденсация, означает, что температура поверхности УЗО - Д ниже точки росы атмосферы, т.е. относительная влажность должна быть выше 95 %, если тепловая постоянная времени невелика;

б) температура испытательной камеры должна поддерживаться на практически постоянном уровне, соответствующем максимальной температуре в пределах ± 2 °С в течение 12 ч ± 30 мин с момента начала цикла.

В этот период относительная влажность должна составлять (93 ± 3) %, за исключением первых и последних 15 мин, в течение которых ее значение должно находиться в пределах 90-100 %.

В течение последних 15 мин конденсации на УЗО - Д не должно быть;

в) температуру испытательной камеры понижают до (25 ± 3) °С в течение 3-6 ч.

В течение первых 90 мин скорость понижения температуры должна быть такой, что если бы она поддерживалась согласно рисунку 12, то температура (25 ± 3) °С была бы достигнута за 3 ч ± 15 мин.

Во время понижения температуры относительная влажность не должна быть ниже 95 %, за исключением первых 15 мин, когда она должна быть не менее 90 %;

г) температуру до завершения 24-часового цикла поддерживают на уровне (25 ± 3) °С при относительной влажности не менее 95 %.

8.16.4 Восстановление (согласно рисунку 13)

После окончания цикла УЗО - Д не следует удалять из испытательной камеры.

Дверцу испытательной камеры открывают и ожидают восстановления условий (температура и влажность) окружающей атмосферы в течение 2-5 ч, прежде чем перейти к заключительным измерениям в соответствии с 8.16.5.

8.16.5 Заключительные измерения

После испытаний, проведенных в соответствии с 8.16.2-8.16.4, УЗО - Д должно успешно выдержать испытания по 8.3.3 3, при условии 1,25IDn и наибольшем значении IDn из указанных в таблицах III и IV, в зависимости от типа УЗО - Д.

8.17 Проверка старения электронных частей

Требования находятся в стадии рассмотрения.

ПРИЛОЖЕНИЕ А

(рекомендуемое)

ОПРЕДЕЛЕНИЕ КОЭФФИЦИЕНТА МОЩНОСТИ ПРИ КОРОТКОМ ЗАМЫКАНИИ

Точного метода определения коэффициента мощности при коротком замыкании не существует, но в рамках настоящего стандарта коэффициент мощности испытательной цепи можно определить одним из описанных ниже методов.

Метод I. Определение по составляющим постоянного тока

Угол j можно определить по кривой составляющей постоянного тока волны асимметричного тока между моментом короткого замыкания и моментом разъединения контактов.

1) Формула составляющей постоянного тока

,

где id - значение составляющей постоянного тока в момент t;

 - значение составляющей постоянного тока в момент, принятый за исходную точку отсчета времени;

L/R - постоянная времени цепи, с;

t - время, отсчитываемое от исходного момента, с;

е - основание натурального логарифма.

По этой формуле можно вычислить постоянную времени L/R.

Таким образом необходимо:

a) измерить значение  в момент короткого замыкания и id в другой момент t до разъединения контактов;

b) рассчитать  разделив id на ;

c) по таблице значений е установить величину х, соответствующую соотношению id/;

d) величина х обозначает Rt/L, откуда определяется L/R.

2) Угол j определяют по формуле

,

где w = 2pх.

Этот способ неприменим, если ток измеряется трансформаторами тока.

Метод II. Определение с помощью контрольного генератора

Если используют контрольный генератор, сопряженный с валом испытательного, то напряжение контрольного генератора на осциллограмме сравнивают с напряжением испытательного генератора по углу сдвига фаз между напряжениями, а затем с его током.

Разность между углами сдвига фаз напряжений контрольного и испытательного генераторов, с одной стороны, и напряжения контрольного генератора и тока испытательного, с другой стороны, соответствует углу сдвига фаз между напряжением и током испытательного генератора, по которому определяют коэффициент мощности.

ПРИЛОЖЕНИЕ В

(справочное)

УСЛОВНЫЕ ОБОЗНАЧЕНИЯ

Номинальный ток нагрузки                                                                                            In

Дифференциальный ток                                                                                                  ID

Номинальный отключающий дифференциальный ток                                               IDn

Номинальный неотключающий дифференциальный ток                                                                                                                                                IDn0

Номинальное напряжение                                                                                              Un

Номинальное напряжение источника вспомогательного питания                            Usn

Номинальная включающая и отключающая способность                                           Im

Номинальная способность включения и отключения дифференциального тока    IDm

Номинальный условный ток короткого замыкания                                                     Inc

Номинальный условный дифференциальный ток при коротком замыкании           IDc

Предельное рабочее напряжение вспомогательного источника                                Ux

Напряжение отключения УЗО - Д, автоматически отключающегося в случае

отказа вспомогательного источника                                                                             Uy

ПРИЛОЖЕНИЕ С

(обязательное)

ДОПОЛНИТЕЛЬНЫЕ ТРЕБОВАНИЯ, ОТРАЖАЮЩИЕ ПОТРЕБНОСТИ ЭКОНОМИКИ СТРАНЫ И УЧИТЫВАЮЩИЕ ТРЕБОВАНИЯ ГОСУДАРСТВЕННЫХ СТАНДАРТОВ НА ЭЛЕКТРОТЕХНИЧЕСКИЕ ИЗДЕЛИЯ

В настоящем приложении изложены технические требования, правила приемки и методы испытаний, которые дополняют или изменяют соответствующие разделы и/или пункты МЭК 755.

Введение. Дополнить после восьмого абзаца:

Защитные устройства, управляемые дифференциальным током, предназначены для электрических сетей переменного тока с нулевым защитным проводником.

В местах с особыми условиями, например на средствах водного и сухопутного транспорта и т.п. или во взрывоопасных условиях, используют защитные устройства специальной конструкции.

Требования настоящего стандарта могут быть использованы в стандартах на указанные защитные устройства.

Пункт 1.1. Дополнить предпоследний абзац:

Виды климатических исполнений - по ГОСТ 15150.

Пункт 2.2.2 дополнить примечанием:

Примечание - Векторное суммирование токов прямого и обратного направлений в первичной цепи (датчик) УЗО - Д выполняет измерительный дифференциальный трансформатор.

В случае прикосновения человека к токоведущим частям действующее значение векторной суммы токов, протекающих в первичной цепи УЗО - Д, не равно нулю, система выводится из равновесия и появляется разностный ток рассогласования - дифференциальный ток. С помощью энергии, передаваемой дифференциальным током вторичной обмотке трансформатора, происходит четкое срабатывание (отключение) расцепителя дифференциального тока.

Ввести пункт 3.9:

3.9 По конструктивному исполнению:

- дифференциальные реле;

- дифференциальные выключатели.

Ввести пункт 4.3.4:

4.3.4 Среднюю наработку на отказ необходимо указывать в стандартах или технических условиях на УЗО - Д конкретных типов с учетом требований ГОСТ 27.410 и ГОСТ 20.39.312.

При этом средняя наработка на отказ должна выбираться из ряда: 16×103, 20×103, 40×103, 80×103, 10×104, 20×104, 40×104, 80×104, 10×105.

Пункт 5.1 изложить в новой редакции:

5.1 Предпочтительные значения номинального напряжения выбирают из ряда: 120, 240/120, 220, 230, 240, 380/220, 400/230, 415/240, 380, 400, 440, 660 В.

Пункт 5.2. Дополнить ряд номинальных токов значениями: 250, 400, 630 А.

Пункт 5.3. Дополнить ряд номинальных токов значением 0,002 А.

Ввести пункты 5.7.3 - 5.7.6:

5.7.3 Номинальные значения механических внешних воздействующих факторов - по ГОСТ 17516.1 для групп механического исполнения, устанавливаемых в стандартах или технических условиях на УЗО - Д конкретных типов.

5.7.4 Требования к УЗО - Д, предназначенным для эксплуатации на высоте более 2000 м, должны указываться в стандартах или технических условиях на УЗО - Д конкретных типов.

5.7.5 УЗО - Д должны соответствовать в части воздействия специальных сред требованиям ГОСТ 24682 (при необходимости).

5.7.6 Условия транспортирования, хранения и допустимые сроки сохраняемости должны устанавливаться в стандартах или технических условиях на УЗО -Д конкретных типов в соответствии с ГОСТ 15150 и ГОСТ 23216.

Пункт 5.9. Изложить ряды номинальных напряжений для переменного тока в новой редакции:

12, 24, 48, 60, 100, 110, 120, 120/240, 220, 230, 240, 380/220, 400/230, 415/240, 380, 400, 415 В.

Пункт 5.10. Дополнить ряд номинальной включающей и отключающей способности значением 200 А.

Таблицу II изложить в новой редакции:

Таблица II

В амперах

Номинальный ток In

Im

До 16

200

Св. 16 до 50

500

» 50 » 100

1000

» 100 » 150

1500

» 150 » 200

2000

Пункт 5.11. Дополнить предпочтительные значения способности включения и отключения дифференциального тока значением 200 А.

Пункт 5.12. Дополнить предпочтительные значения номинального условного тока короткого замыкания значением 200 А.

Пункт 5.13. Дополнить предпочтительные значения номинального условного дифференциального тока при коротких замыканиях значением 200 А.

Раздел 6 дополнить следующим требованием:

Система условных обозначений должна указываться в стандартах или ТУ на изделия, в которые встраивается УЗО - Д.

Условное обозначение содержит: способ установки, число полюсов, вид защиты от сверхтоков, номинальный ток, номинальное напряжение, функциональное исполнение (А, В или АС), номинальный отключающий дифференциальный ток, климатическое исполнение и т.п.

Пункт 7.1.1 дополнить требованиями:

Режим работы УЗО - Д - продолжительный.

В УЗО - Д должны применяться такие элементы, чтобы потребляемая ими электрическая мощность была минимальной.

УЗО - Д должны исправно функционировать при колебаниях напряжения в сети от 0,85 до 1,1 Un, изменениях частоты сети по ГОСТ 13109.

Пылезащита УЗО - Д - по ГОСТ 12997 (при необходимости).

Водозащита УЗО - Д - по ГОСТ 12997 (при необходимости).

Пункт 7.2 дополнить требованием:

Орган управления устройства эксплуатационного контроля УЗО - Д должен быть размещен на наружной стороне корпуса или корпуса электроустановки, в которую встраивается УЗО - Д.

Способ периодической проверки функционирования должен быть указан в стандартах или ТУ на УЗО - Д конкретных типов.

Пункт 7.4 дополнить требованием:

Превышение температуры - по МЭК 158-3.

Пункт 7.5 дополнить требованием:

Сопротивление изоляции и электрическая прочность изоляции - по МЭК 158-3.

Ввести пункты 7.14 и 7.15:

7.14 Требования безопасности*

____________

* Нормируемые требования по безопасности для электроустановочных устройств, которым должно соответствовать УЗО - Д: защита от поражения электрическим током, сопротивление заземления, устойчивость к старению, влагостойкость, механическая прочность, теплостойкость, огнестойкость, коррозиеустойчивость и т.п. - приведены в других стандартах.

7.14.1 Конструкция УЗО - Д должна соответствовать требованиям ГОСТ 12.1.004, ГОСТ 12.2.007.0, ГОСТ 12.2.007.6 и должна быть пожаробезопасной и безопасной для людей.

7.14.2 Классы УЗО - Д по способу защиты человека от поражения электрическим током должны быть установлены в стандартах или ТУ на УЗО - Д конкретных типов в соответствии с ГОСТ 12.2.007.0.

7.14.3 Дополнительные требования безопасности УЗО - Д должны быть указаны в стандартах или ТУ на УЗО - Д конкретных типов.

7.15 Комплектность

7.15.1 Комплектность УЗО - Д должна соответствовать стандартам или ТУ на УЗО - Д конкретных типов.

7.15.2 К УЗО - Д должна прилагаться эксплуатационная документация по ГОСТ 2.601 в составе, указанном в стандартах или ТУ на УЗО - Д конкретных типов, в том числе там указывают:

- область применения данного УЗО - Д;

- тестирование;

- правила пользования и т.п.

7.15.3 Электробезопасность при обслуживании УЗО - Д - по «Правилам технической эксплуатации электроустановок потребителей» и «Правилам техники безопасности при эксплуатации электроустановок потребителей» (ПТЭ и ПТБ), утвержденным Госэнергонадзором СССР.

Пункт 8.1 дополнить перечнем испытаний:

Перечень испытаний для УЗО - Д, приведенный в таблице VII, является обязательным для установления программ и объема контрольных испытаний*:

- приемосдаточных;

- периодических;

- типовых;

- квалификационных;

- сертификационных.

___________

* Периодичность испытаний, количество образцов УЗО - Д, подвергаемых испытаниям, программа и объем испытаний должны устанавливаться в стандартах или ТУ на УЗО - Д конкретных типов.

Испытательное оборудование должно быть аттестовано по ГОСТ Р 8.568. Средства измерений должны иметь свидетельства о метрологической аттестации по ПР 50.2.009 или о периодической поверке по ПР 50.2.002 и ПР 50.2.006.

Испытания проводят с медными проводниками по ГОСТ 7399 и ГОСТ 22483.

УЗО - Д на ударную прочность (7.9) испытывают по ГОСТ 16962.1.

УЗО - Д считают выдержавшими испытания, если после испытаний функциональные характеристики соответствуют значениям, установленным в настоящем стандарте и стандартах или ТУ на УЗО - Д конкретного типа.

Среднюю наработку на отказ проверяют в соответствии с ГОСТ 27.410 по методике, установленной в стандартах или ТУ на УЗО - Д конкретного типа.

Ввести пункт 8.19.

8.19 Гарантии изготовителя

Изготовитель должен гарантировать соответствие УЗО - Д требованиям настоящего стандарта, а также технических условий на УЗО - Д конкретных типов при условии соблюдения правил транспортирования, хранения и эксплуатации, установленных стандартами или техническими условиями на УЗО - Д конкретных типов.

Гарантийные сроки устанавливают в стандартах или технических условиях на УЗО - Д конкретных типов.

РИСУНКИ

S - предельные значения, соответствующие максимальной длительности напряжения контакта до 220 В, указанной в таблице 41 ГОСТ 30331.3

Рисунок 1 - Рабочие характеристики УЗО - Д, дополняющие таблицу III стандарта и сопоставляемые при максимальной длительности напряжения контакта

Диапазоны воздействия переменного тока частотой (50/60 Гц) на взрослого человека:

зона 1 - без реакции;

зона 2 - без опасного физиопатологического эффекта,

зона 3 - без риска фибрилляции,

зона 4 - возможность фибрилляции (с вероятностью до 50 %),

зона 5 - опасность фибрилляции (с вероятностью св. 50 %)

Рисунок 2 - Значения времени отключения (мкс) УЗО - Д при IDn £ 0,03 А (см. таблицу IV стандарта) в зависимости от диапазонов воздействия дифференциальных токов (мкА) с частотой 50/60 Гц на взрослого человека

                                                           

S - источник электрической энергии; I - независимая линия электропитания; V - вольтметр; А - амперметр; S1 - многополюсный выключатель; S2 - однополюсный выключатель; D - испытуемое УЗО - Д; R - регулируемый резистор; SA - дополнительный выключатель

Рисунок 3а - Испытательная цепь для проверки правильности отключения УЗО - Д без вспомогательного источника или с дополнительным источником, образованным независимой линией питания (на схеме изображено пунктиром)

 

Рисунок 3b - Испытательная цепь для проверки правильности отключения УЗО - Д с основной линией питания, используемой как дополнительный источник

                                                        

S - источник электрической энергии; I - независимая линия питания; V - вольтметр; А - амперметр (показывающий истинное действующее значение); D - УЗО - Д, подвергаемое испытанию; R - регулируемый резистор; S1 - многополюсный выключатель, S2 - однополюсный выключатель; S3 - двухполюсный выключатель на два направления; SA - вспомогательный выключатель, Th - тиристоры

Рисунок 3с - Схема испытательной цепи для проверки правильности отключения УЗО - Д без вспомогательного или с вспомогательным источником питания, представляющим собой независимую линию питания (пунктирное соединение), в случае дифференциального тока с пульсирующей постоянной составляющей

 

Рисунок 3d - Схема испытательной цепи для проверки правильности отключения УЗО - Д с вспомогательным источником питания, представляющим собой главную линию питания, в случае дифференциального тока с пульсирующей постоянной составляющей

                                

S - источник электрической энергии; I - независимая линия питания; V - вольтметр; А - амперметр; D - УЗО - Д, подвергаемое испытанию; Di - диоды; R1 и R2 - регулируемые резисторы, S1 - многополюсный выключатель; S2 - однополюсный выключатель, S3 - двухполюсный выключатель на два направления; SA - вспомогательный выключатель

Рисунок 3е - Схема испытательной цепи для проверки правильности отключения УЗО - Д без вспомогательного или с вспомогательным источником питания, представляющим собой независимую линию питания (пунктирное соединение), в случае дифференциального тока со стабилизированной постоянной составляющей

 

Рисунок 3f - Схема испытательной цепи для проверки правильности отключения УЗО - Д с вспомогательным источником питания, представляющим собой главную линию питания, в случае дифференциального тока со стабилизированной постоянной составляющей

А1 - амперметр постоянного тока; А2 - амперметр переменного тока; D - испытуемое УЗО - Д; Ds - источник постоянного тока; R - регулируемый резистор; RL - активная нагрузка; S - источник питания переменного тока; S1 - многополюсный выключатель; S2 - однополюсный выключатель; S3 - двухполюсный выключатель на два направления; V - вольтметр

Рисунок 3g - Испытательная цепь для проверки правильности отключения УЗО - Д в случае увеличивающегося дифференциального стабилизированного постоянного тока

А1 - амперметр действующих значений; А2 - амперметр постоянного тока; D - испытуемое УЗО - Д; PR - трехфазное однополупериодное или двухполупериодное соединение; R - регулируемый резистор для дифференциального тока; RL - активная нагрузка; S - источник питания переменного тока; S1 - многополюсный выключатель; S2 - однополюсный выключатель; V - вольтметр

Рисунок 3h - Испытательная цепь для проверки правильности отключения УЗО - Д в случае медленно повышающегося дифференциального тока при повреждении цепи, имеющей трехфазное однополупериодное или двухполупериодное соединение

А1 - амперметр действующих значений; А2 - амперметр переменного тока; D - испытуемое УЗО - Д; PR - двухполупериодная мостовая схема на линейном напряжении; R - регулируемый резистор для дифференциального тока; RL - активная нагрузка; S - источник переменного тока; S1 - многополюсный выключатель; S2 - однополюсный выключатель; V - вольтметр

Рисунок 3i - Испытательная цепь для проверки правильности отключения УЗО - Д в случае медленно повышающегося дифференциального тока в результате повреждения цепи, имеющей двухполупериодную мостовую схему на линейном напряжении

S - источник электрической энергии; S1 - двухполюсный выключатель, V - вольтметр; D - испытуемое УЗО - Д; R - регулируемый резистор; А - амперметр

Рисунок 4 - Схема проверки предельного значения тока неотключения УЗО - Д при наличии сверхтоков. Испытания проводят при несимметричной нагрузке

S - источник электрической энергии; R - регулируемый резистор; L - регулируемая катушка индуктивности; Р - аппарат защиты от коротких замыканий; В - временные соединения для калибровки; С - соединение для испытания при номинальном условном токе короткого замыкания; Т - устройство, создающее короткое замыкание; О1 - самописец, регистрирующий ток; О2 - самописец, регистрирующий напряжение; D - детектор аварийного тока; R1 - резистор, ограничивающий ток в устройстве D; R2 - регулируемый резистор для калибровки тока отключения ID; R3 - дополнительный регулируемый резистор для получения токов меньших по величине номинальных условных токов короткого замыкания; S1 - вспомогательный выключатель; А - УЗО - Д, подвергаемое испытанию

Рисунок 5 - Схема испытательной цепи для проверки правильности координации с аппаратом защиты от коротких замыканий и номинальной включающей и отключающей способности однополюсного УЗО - Д с двумя токопроводящими путями в однофазной цепи и без встроенной защиты от коротких замыканий

N - нулевой провод; S - источник электрической энергии; R - регулируемый резистор; L - регулируемая катушка индуктивности; Р - аппарат защиты от коротких замыканий; В - временные соединения для калибровки; С - соединение для испытания при номинальном условном токе короткого замыкания; Т - устройство, создающее короткое замыкание; О1 - самописец, регистрирующий ток; О2 - самописец, регистрирующий напряжение; D - детектор обнаружения аварийного тока повреждения; R1 - резистор, ограничивающий ток в устройстве D; R2 - регулируемый резистор для калибровки тока отключения ID; R3 - дополнительный регулируемый резистор для получения токов меньших по величине номинальных условных токов короткого замыкания; S1 - вспомогательный выключатель; А - УЗО - Д, подвергаемое испытанию

Рисунок 6 - Схема испытательной цепи для проверки правильности координации с аппаратом защиты от коротких замыканий и номинальной включающей и отключающей способности двухполюсного УЗО - Д без встроенной защиты от коротких замыканий в однофазной цепи

N - нулевой провод; S - источник электрической энергии; R - регулируемый резистор; L - регулируемая катушка индуктивности; Р - аппарат защиты от коротких замыканий; В - временные соединения для калибровки; С - соединения для испытания при номинальном условном токе короткого замыкания; Т - устройство, создающее короткое замыкание; О1 - самописец, регистрирующий ток; О2 - самописец, регистрирующий напряжение; D - детектор обнаружения аварийного тока повреждения; R1 - резистор, ограничивающий ток в устройстве D; R2 - регулируемый резистор для калибровки тока отключения ID; R3 - дополнительный регулируемый резистор для получения токов меньших по величине номинальных условных токов короткого замыкания; S1 - вспомогательный выключатель; А - УЗО - Д, подвергаемое испытанию

Рисунок 7 - Схема испытательной цепи для проверки правильности координации с аппаратом защиты от коротких замыканий и номинальной включающей и отключающей способности двухполюсного УЗО - Д с тремя путями прохождения тока без встроенной защиты от коротких замыканий в однофазной цепи со средней нейтралью

N - нулевой провод; S - источник электрической энергии; R - регулируемый резистор; L - регулируемая катушка индуктивности; Р - аппарат защиты от коротких замыканий; В - временные соединения для калибровки; С - соединения для испытания при номинальном условном токе короткого замыкания; Т - устройство, создающее короткое замыкание; О1 - самописец, регистрирующий ток; О2 - самописец, регистрирующий напряжение; D - детектор обнаружения аварийного тока повреждения; R1 - резистор, ограничивающий ток в устройстве D; R2 - регулируемый резистор для калибровки тока отключения ID; R3 - дополнительный регулируемый резистор для получения токов меньших по величине номинальных условных токов короткого замыкания; S1 - вспомогательный выключатель; А - УЗО - Д, подвергаемое испытанию

Рисунок 8 - Схема испытательной цепи для проверки правильности координации с аппаратом защиты от коротких замыканий и номинальной включающей и отключающей способности трехполюсного УЗО - Д без встроенной защиты от коротких замыканий в трехфазной цепи

N - нулевой провод; S - источник электрической энергии; R - регулируемый резистор; L - регулируемая катушка индуктивности; Р - аппарат защиты от коротких замыканий; В - временные соединения для калибровки; С - соединения для испытания при номинальном условном токе короткого замыкания; Т - устройство, создающее короткое замыкание; О1 - самописец, регистрирующий ток; О2 - самописец, регистрирующий напряжение; D - детектор обнаружения аварийного тока повреждения; R1 - резистор, ограничивающий ток в устройстве D; R2 - регулируемый резистор для калибровки тока отключения ID; R3 - дополнительный регулируемый резистор для получения токов меньших по величине номинальных условных токов короткого замыкания; S1 - вспомогательный выключатель; А - УЗО - Д, подвергаемое испытанию

Рисунок 9 - Схема испытательной цепи для проверки правильности координации с аппаратом защиты от коротких замыканий и номинальной включающей и отключающей способности трехполюсного УЗО - Д с четырьмя токопроводящими путями без встроенной защиты от коротких замыканий в трехфазной цепи с нулевым проводом

N - нулевой провод; S - источник электрической энергии; R - регулируемый резистор; L - регулируемая катушка индуктивности; Р - аппарат защиты от коротких замыканий; В - временные соединения для калибровки; С - соединения для испытания при номинальном условном токе короткого замыкания; Т - устройство, создающее короткое замыкание; О1 - самописец, регистрирующий ток; О2 - самописец, регистрирующий напряжение; D - детектор обнаружения аварийного тока повреждения; R1 - резистор, ограничивающий ток в устройстве D; R2 - регулируемый резистор для калибровки тока отключения ID; R3 - дополнительный регулируемый резистор для получения токов меньших по величине номинальных условных токов короткого замыкания; S1 - вспомогательный выключатель, А - УЗО - Д, подвергаемое испытанию

Рисунок 10 - Схема испытательной цепи для проверки правильности координации с аппаратом защиты от коротких замыканий и номинальной включающей и отключающей способности четырехполюсного УЗО - Д в трехфазной цепи с нейтралью без встроенной защиты от коротких замыканий

Рисунок 11 - Период стабилизации

Рисунок 12 - Цикл испытания

Рисунок 13 - Восстановление

Ключевые слова: устройства защитные, дифференциальный (остаточный) ток

 




ГОСТЫ, СТРОИТЕЛЬНЫЕ и ТЕХНИЧЕСКИЕ НОРМАТИВЫ.
Некоммерческая онлайн система, содержащая все Российские Госты, национальные Стандарты и нормативы.
В Системе содержится более 150000 файлов нормативно-технической документации, действующей на территории РФ.
Система предназначена для широкого круга инженерно-технических специалистов.

Рейтинг@Mail.ru Яндекс цитирования

Copyright © www.gostrf.com, 2008 - 2026