Крупнейшая бесплатная информационно-справочная система онлайн доступа к полному собранию технических нормативно-правовых актов РФ. Огромная база технических нормативов (более 150 тысяч документов) и полное собрание национальных стандартов, аутентичное официальной базе Госстандарта. GOSTRF.com - это более 1 Терабайта бесплатной технической информации для всех пользователей интернета. Все электронные копии представленных здесь документов могут распространяться без каких-либо ограничений. Поощряется распространение информации с этого сайта на любых других ресурсах. Каждый человек имеет право на неограниченный доступ к этим документам! Каждый человек имеет право на знание требований, изложенных в данных нормативно-правовых актах!

  


 

ГОСУДАРСТВЕННЫЙ СТАНДАРТ СОЮЗА ССР

БОЛТЫ И ГАЙКИ
ДЛЯ РЕЛЬСОВЫХ СКРЕПЛЕНИЙ
ЖЕЛЕЗНОДОРОЖНОГО ПУТИ

БОЛТЫ КЛЕММНЫЕ ДЛЯ РЕЛЬСОВЫХ
СКРЕПЛЕНИЙ ЖЕЛЕЗНОДОРОЖНОГО ПУТИ

ГОСТ 16016-79

ИПК ИЗДАТЕЛЬСТВО СТАНДАРТОВ

Москва

ГОСУДАРСТВЕННЫЙ СТАНДАРТ СОЮЗА ССР

БОЛТЫ КЛЕММНЫЕ ДЛЯ РЕЛЬСОВЫХ
СКРЕПЛЕНИЙ ЖЕЛЕЗНОДОРОЖНОГО ПУТИ

Конструкция и размеры.
Технические
требования

Clamp bolts for rail track fastenings.
Design and dimensions.
Technical requirements

ГОСТ
16016-79*

Взамен
ГОСТ 16016-70

Постановлением Государственного комитета СССР по стандартам от 26 апреля 1979 г. № 1547 срок введения установлен

с 01.01.81

Постановлением Госстандарта от 03.06.92 № 522 снято ограничение срока действия

Настоящий стандарт распространяется на клеммные болты нормальной точности (класс точности В) и грубой точности (класс точности С), применяемые для прикрепления рельса к подкладке в раздельных рельсовых скреплениях.

При поставке клеммных болтов для рельсовых скреплений на экспорт следует учитывать требования настоящего стандарта и ГОСТ 16018-79, предъявляемые к этим болтам.

Требования настоящего стандарта являются обязательными.

(Измененная редакция, Изм. № 1, 3).

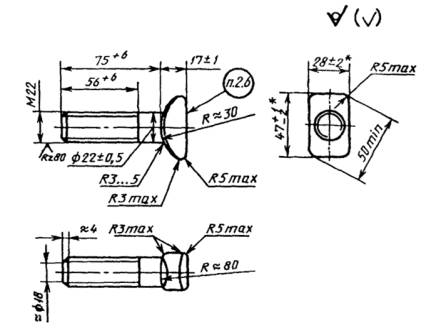
1. КОНСТРУКЦИЯ И РАЗМЕРЫ

1.1. Конструкция и размеры клеммных болтов должны соответствовать указанным на чертеже.

1.2. Допускается изготовление болтов длиной от 65 до 105 мм и длиной резьбы от 40 до 72 мм по согласованию потребителя с изготовителем. При этом длина болта должна назначаться кратной 10 мм, а длина резьбы кратной:

4 мм - при длине резьбы до 60 мм включ.;

6 мм -   »        »        »      св. 60 мм.

1.3. Вариант изготовления головки болта устанавливает предприятие-изготовитель по согласованию с потребителем.

(Измененная редакция, Изм. № 2).

Исполнение 1
(Класс точности В)

Исполнение 2
(Класс точности С)

Вариант изготовления болта с облегченной головкой для исполнений 1 и 2

d » dср, где dcp - средний диаметр резьбы.

* Размеры указаны с учетом высоты швов от разъема матриц и заусенцев от обсечки облоя.

Пример условного обозначения клеммного болта класса точности В, исполнения 1, диаметром резьбы d = 22 мм, с крупным шагом резьбы, с полем допуска 8g, длиной 75 мм, класса прочности 3.6, из спокойной стали, с цинковым покрытием толщиной 9 мкм, хроматированным:

Болт M22 - 8g ´ 75.36.C.019 ГОСТ 16016-79

То же, класса точности С, исполнения 2, из автоматной стали без цинкового покрытия:

Болт С2 M22 - 8g ´ 75.36.A ГОСТ 16016-79

(Измененная редакция, Изм. № 2).

1.4. Допускается по согласованию с потребителем изготовлять болты с углублением в торце головки, глубиной не более 0,3 высоты головки.

(Введен дополнительно, Изм. № 2).

2. ТЕХНИЧЕСКИЕ ТРЕБОВАНИЯ

2.1. Клеммные болты должны изготовляться в соответствии с требованиями настоящего стандарта и ГОСТ 1759.0-87 по рабочим чертежам, утвержденным в установленном порядке.

2.2. Механические свойства болтов должны соответствовать классу прочности 3.6, 4.8 или 5.8 по ГОСТ 1759.4-87.

2.1, 2.2. (Измененная редакция, Изм. № 2).

2.3. Клеммные болты должны изготовляться без покрытия. По согласованию потребителя с изготовителем клеммные болты могут иметь цинковое с хроматированием покрытие толщиной 9 - 15 мкм. Требования к покрытию - по ГОСТ 9.301-86.

2.4. Резьба - по ГОСТ 24705-81. После допуска 8 g по ГОСТ 16093-81.

2.5. Смещение оси головки относительно оси стержня болта не должно быть более 0,9 мм.

2.6. Маркировать: товарный знак или условное обозначение предприятия-изготовителя и год изготовления (две последние цифры).

Высота знаков маркировки - не менее 8 мм, толщина - не менее 1 мм, выпуклость - не менее 0,5 мм.

2.7. Теоретическая масса 1000 болтов (в скобках - масса болтов с облегченной головкой):

345 (320) - исполнения 1;

335 (310) - исполнения 2.

Примечания:

1. Когда возможно применение болтов как в исполнении 1, так и в исполнении 2, в конструкторской документации должна указываться масса в исполнении 1.

2. Изменение массы 1000 болтов при изменении их длины на 10 мм не должно быть более:

29,8 кг - для исполнения 1;

25,7 кг - для исполнения 2.

(Измененная редакция, Изм. № 2).

2.8. Правила приемки - по ГОСТ 17769-83.

(Измененная редакция, Изм. № 1).

2.9. Методы контроля болтов - по ГОСТ 1759.0-87.

Испытания механических свойств болтов должны проводиться по требованию потребителя в соответствии с ГОСТ 1759.4-87. Измерение твердости и испытание на разрыв на косой шайбе не проводится.

Допуски размеров, формы и расположение поверхностей и методы их контроля - по ГОСТ 1759.1-82.

Дефекты поверхности и методы контроля - по ГОСТ 1759.2-82.

(Измененная редакция, Изм. № 1, 2).

2.10. Контроль качества цинкового покрытия - по ГОСТ 9.302-88.

2.11. (Исключен, Изм. № 1).

2.12. Упаковка болтов и маркировка тары - по ГОСТ 18160-72.

2.13. Болты должны быть укомплектованы гайками по ГОСТ 16018-79.

Допускается транспортирование болтов и гаек без упаковки, при этом должна быть исключена возможность их смешивания.

2.14. Транспортирование болтов без упаковки на железнодорожных платформах не допускается.

СОДЕРЖАНИЕ

 

 




ГОСТЫ, СТРОИТЕЛЬНЫЕ и ТЕХНИЧЕСКИЕ НОРМАТИВЫ.
Некоммерческая онлайн система, содержащая все Российские Госты, национальные Стандарты и нормативы.
В Системе содержится более 150000 файлов нормативно-технической документации, действующей на территории РФ.
Система предназначена для широкого круга инженерно-технических специалистов.

Рейтинг@Mail.ru Яндекс цитирования

Copyright © www.gostrf.com, 2008 - 2026