|
|
|
МИНИСТЕРСТВО МОРСКОГО ФЛОТА СССР Приложение
к письму ПРАВИЛА РД 31.04.01-90 МОСКВА РАЗРАБОТАН: Южным научно-исследовательским и проектно-конструкторским институтом морского флота, Министерство морского флота СССР Директор С. М. Нунупаров Зав. отделом стандартизации Б. И. Рапопорт Зав. отделом № 26 В. В. Анфиногентов Руководитель разработки зав. сектором Н. М. Марачев Ответственный исполнитель - младший научный сотрудник М. О. Плотникова Астраханским ЦКБ, Министерство речного флота РСФСР Начальник А. В. Комиссаров Руководитель разработки, зам. начальника А. И. Боровский Ответственный исполнитель Н. Д. Черкасов СОГЛАСОВАН: Главным управлением Госкомприроды СССР Заместитель начальника А. П. Львов Министерством здравоохранения СССР Заместитель Главного государственного санитарного врача СССР А. М. Скляров ВНЕСЕН Главфлотом ММФ Заместитель начальника Б. Б. Заика УТВЕРЖДЕН: Министерством морского флота СССР Заместитель министра Н. П. Цах Министерством речного флота РСФСР Заместитель министра В. В. Иванов Министерством рыбного хозяйства СССР Заместитель министра Е. Д. Ширяев
О введении в действие РД 31.04.01-90 Минморфлотом СССР совместно с Минрыбхозом СССР и Минречфлотом РСФСР разработан и утвержден руководящий документ РД 31.04.01-90 «Правила ведения работ по очистке загрязненных акваторий портов» со сроком введения в действие с 1 января 1991 г. РД 31.04.01-90 устанавливает комплекс организационных, технических и технологических требований и рекомендаций к ведению работ по очистке загрязненных акваторий от плавающих примесей и ликвидации разливов нефти в портах. ПРЕДЛАГАЮ: 1. Пароходствам: 1.1. К 01.10.90 г. подготовить план организационно-технических мероприятий для введения в действие РД 31.04.01-90 «Правила ведения работ по очистке загрязненных акваторий портов». 1.2. С 01.01.91 г. в портах при очистке загрязненных акваторий руководствоваться РД 31.04.01-90. 2. В/О «Мортехинформреклама» обеспечить издание и рассылку РД 31.04.01-90 заинтересованным организациям и предприятиям Минморфлота СССР по разнарядке Главфлота. 3. Считать утратившим силу РД 31.04.01-79. Заместитель министра Н. П. Цах
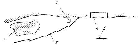
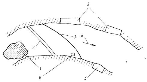
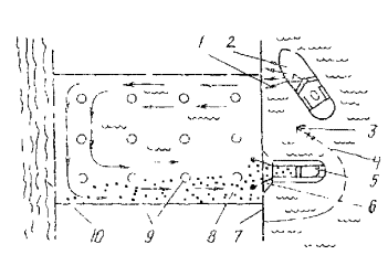
Инструктивным письмом ММФ от 19.03.90 № 29 срок введения в действие установлен с 01.01.91 Настоящие Правила устанавливают комплекс организационных, технических и технологических требований и рекомендаций по ведению работ по очистке загрязненных акваторий портов от плавающих примесей и ликвидации разливов нефти (термины - см. справочное приложение 1). Выполнение требований настоящих Правил обязательно для всех находящихся на территории СССР портов, портпунктов, пристаней, причалов, судоремонтных предприятий независимо от их расположения на водном объекте, назначения и ведомственной принадлежности, а также для всех организаций и предприятий, имеющих закрепленные за ними в установленном порядке акватории. 1. ОБЩИЕ ПОЛОЖЕНИЯ1.1. Общие требования к качеству воды акваторий портов установлены Санитарными правилами и нормами охраны прибрежных вод морей от загрязнения в местах водопользования населения (СанПиН № 4631-88) и Санитарными правилами и нормами охраны поверхностных вод от загрязнения (СанПиН № 4630-88), утвержденными Минздравом СССР. 1.2. Требования, обусловливающие необходимость очистки акваторий портов от плавающих примесей (нефти и мусора), установлены правилами технической эксплуатации гидротехнических сооружений и акваторий портов. 1.3. Требования, касающиеся предотвращения загрязнения портов, должны соответствовать нормативам и положениям, которые установлены Основами водного законодательства Союза ССР и союзных республик, Санитарными правилами и нормами охраны прибрежных вод морей от загрязнения в местах водопользования населения и Санитарными правилами и нормами охраны поверхностных вод от загрязнения, а также другими отраслевыми и ведомственными правилами охраны водных объектов от загрязнения при различных видах водопользования. 1.4. Для выполнения требований по предотвращению загрязнения каждый порт должен быть оснащен специальными средствами, обеспечивающими прием с судов нефтесодержащих и сточных вод, нефтесодержащих отходов, нефтяного шлама и мусора. Состав портовых технических средств и тарифы за оказываемые ими услуги по предотвращению загрязнения моря с судов устанавливаются ведомствами, которым принадлежат порты 1.5. Каждым портом должна быть разработана оптимальная схема обслуживания судов в порту, предусматривающая меры по предотвращению загрязнения и очистке портовой акватории. Перечень таких мер и действующие тарифы в соответствии с Общими правилами морских торговых и рыбных портов Союза ССР должны быть приведены в обязательном постановлении по порту, которое вручается капитану каждого судна, входящего в порт. 1.6. Администрация каждого порта в развитие настоящих Правил, а также для уточнения и конкретизации отдельных требований и положений с учетом географических, гидрометеорологических и других особенностей порта разрабатывает дополнительные инструкции и руководящие документы по ликвидации разливов нефти и очистке акватории, проведению тренировок и учений специальных подразделений портов. 1.7. Администрации портов рекомендуется при оценке своей хозяйственной деятельности учитывать объем и результаты проведенных работ по очистке загрязненных акваторий и данные, характеризующие их чистоту. 1.8. Ответственность за содержание акваторий портов в чистоте в соответствии с действующими ведомственными правилами технической эксплуатации портовых сооружений и акваторий несет главный инженер порта, а в портах, где должность главного инженера отсутствует, начальник порта. 1.9. Постоянный ведомственный контроль за соблюдением настоящих Правил осуществляют инспекции портового надзора, а в речных портах - судоходные инспекции и лица в порту, ответственные за проведение работ по очистке загрязненных акваторий и ликвидацию разливов нефти. 1.11. В портах, к акваториям которых прилегают организации и предприятия различных ведомств (промышленные предприятия, порты Минморфлота, Минрыбхоза, железная дорога и т.п.), постоянный контроль за состоянием акватории, соблюдением в порту установленных мер и координацию деятельности хозяйственных организаций по предотвращению загрязнения рекомендуется обеспечивать межведомственным комиссиям (МВК), которые организуют свою работу в соответствии с указаниями разд. 7 настоящих Правил. 2. ОЦЕНКА СТЕПЕНИ ЗАГРЯЗНЕННОСТИ И ТРЕБОВАНИЯ К КАЧЕСТВУ ОЧИСТКИ АКВАТОРИЙ ПОРТОВ2.1. Контрольная оценка качества воды портовых акваторий в соответствии с установленными Санитарными правилами и нормами охраны поверхностных вод от загрязнения (СанПиН № 4630-88) и Санитарными правилами и нормами охраны прибрежных вод морей от загрязнения в местах водопользования населения (СанПиН № 4631-88) и другими нормативными требованиями осуществляется органами Госкомприроды СССР. 2.2. Настоящие Правила устанавливают методику оценки и предельные показатели качества воды портовых акваторий по наличию плавающих мусора и нефти, которыми необходимо руководствоваться при очистке акваторий. 2.3. Оценку степени загрязненности акватории порта плавающими примесями производят визуально в баллах отдельно по жидкой примеси (нефти - обязательное приложение 2) и по твердой примеси (мусору - обязательное приложение 3). При этом общая оценка степени загрязненности акватории принимается по худшему параметру (высшему баллу) любой плавающей примеси. 2.4. Принятая в настоящих Правилах методика оценки в баллах должна быть сохранена и после внедрения в практику специальных приборов, предназначенных для определения степени загрязненности акваторий портов. 2.5. На акватории каждого порта для оценки степени загрязненности устанавливаются контрольные участки размером от 50 до 100 м2. Независимо от общей площади акватории количество контрольных участков должно быть не менее трех. 2.6. При назначении контрольных участков необходимо учитывать специфику порта, его назначение, места сброса сточных вод промышленных предприятий, ливневых вод, размещение причалов погрузки и выгрузки нефти и древесины, а также преобладающие в данном районе течения и ветры. 2.7. Количество и места расположения контрольных участков должны обеспечивать представительность и получение наихудшей оценки степени загрязненности всей акватории и отдельных ее участков. 2.8. Схема расположения и количество назначенных контрольных участков на акватории порта должны быть согласованы с территориальными органами по охране природы Госкомприроды СССР и учреждениями и органами санитарно-эпидемиологической службы на водном транспорте и утверждены приказом по порту. При конструктивном изменении порта или границ его акватории схема расположения и количество контрольных участков пересматриваются. 2.9. При степени загрязненности акватории порта или отдельного ее участка, превышающей 2 балла, необходимо производить очистку. Очистку следует производить до тех пор, пока на акватории не будет достигнута степень загрязненности 1 балл и менее, либо до тех пор, пока только на одном контрольном участке степень загрязненности не будет превышать 2 балла. К участкам акватории порта, степень загрязненности которых достигает 2 балла, могут быть отнесены участки, где сбор плавающей нефти и мусора механизированным способом затруднен, а загрязненность не приводит к таким отрицательным последствиям, как загрязнение корпусов судов, захват нефти в кингстоны, уменьшение безопасности плавания судов и безопасности работы порта. 2.10. Администрации порта по согласованию с контролирующими органами дается право вводить для вверенного им порта другие методы и способы оценки состояния загрязненности акваторий для организации, планирования и анализа результатов работы по очистке и ликвидации разливов нефти, если эти методы и способы не ведут к ухудшению экологической обстановки в порту. 3. КЛАССИФИКАЦИЯ ПОРТОВ3.1. Настоящие Правила устанавливают классификацию портов по оснащенности средствами для предотвращения загрязнения и для очистки акваторий, которая является дополнительной и не зависит от существующей классификации портов по технико-экономическим показателям, объему перевалки груза, по географическим, судоходным, транспортным и иным признакам. 3.2. В зависимости от оснащенности средствами для предотвращения загрязнения и для очистки акваторий порты делятся на четыре типа: тип 1 - порты, имеющие достаточные средства для предотвращения загрязнения акваторий, обеспечивающие прием с судов и обработку загрязняющих веществ (очистные сооружения, сборщики льяльных вод, зачистные станции и т.п.), и средства для очистки акваторий; тип 2 - порты, имеющие только достаточные средства для предотвращения загрязнения, обеспечивающие прием с судов и обработку загрязняющих веществ; тип 3 - порты, имеющие только средства для очистки акваторий; тип 4 - порты, не имеющие достаточных средств для приема с судов загрязняющих веществ и для очистки акваторий. 3.3. Ведомства и организации должны установить для подведомственных портов тип в соответствии с настоящими Правилами. Установленная для портов классификация согласовывается с контролирующими органами, указанными в п. 1.10 настоящих Правил. 3.4. Судовладельцы должны выдать капитанам своих судов перечень транзитных речных портов с указанием типа в соответствии с настоящими Правилами для составления графика сдачи загрязняющих веществ с судов и для разработки мероприятий при возможных разливах нефти. 3.5. Ведомства и организации, которым принадлежат порты типов 2 и 4, не имеющие собственных средств для очистки акваторий, должны разработать план доставки технических средств из других портов для ликвидации разливов нефти и для регулярной очистки акваторий. 4. ТЕХНИЧЕСКИЕ СРЕДСТВА ДЛЯ ОЧИСТКИ АКВАТОРИЙ ПОРТОВ4.1. Порт в зависимости от установленного типа должен иметь специальные средства для очистки акваторий от плавающей нефти и мусора. Состав и количество таких средств для каждого порта обосновываются и устанавливаются ведомством или организацией, которым принадлежит порт. Специальные средства могут находиться в ведении специализированных организаций, осуществляющих очистку акваторий портов по договорам с портами. В этом случае состав и количество средств для очистки устанавливаются организацией, осуществляющей очистку. 4.2. Технические средства для очистки загрязненных акваторий портов должны включать: 1) средства для сбора плавающей на поверхности воды нефти и мусора; 2) средства для ограждения загрязненных участков акваторий портов и локализации разливов нефти; 3) средства для удаления, утилизации или уничтожения собранных с акватории порта загрязняющих веществ; 4) вспомогательные средства. 4.3. Средства для сбора плавающей нефти и мусора должны обеспечивать сбор всех видов нефти, смешанной с различным мусором, в характерных для данного порта навигационных, гидрометеорологических, климатических и иных условиях и включать нефтемусоросборщики, нефтесборные средства, устройства и приспособления, в том числе и для сбора нефти вручную, различные сорбенты и сорбирующие материалы и вещества, химические собирающие и рассеивающие (диспергаторы) препараты. 4.3.1. Рекомендуется оснащать порт различными нефтесборными средствами с тем, чтобы при ликвидации разливов нефти и очистке акваторий была возможность выбора оптимального способа сбора. 4.3.2. При оснащении порта нефтесборными средствами следует отдавать предпочтение таким, которые обеспечивают характеристики собираемой нефти, допускающие утилизацию ее в качестве топлива. 4.3.3. Используемые в портах сорбирующие материалы и вещества и химические препараты (собиратели нефти, диспергаторы) должны иметь разрешение на применение, выдаваемое контролирующими органами в установленном порядке. 4.4. Средства для ограждения загрязненных участков акваторий портов и локализации разливов нефти должны обеспечивать закрытие районов порта, которым разливы нефти могут принести наибольший ущерб, возможность ограждения судов на период проведения операций с нефтью и возможность локализации разлившейся нефти в порту и должны включать боны требуемого класса, средства установки, крепления, уборки бонов с акватории порта, средства для промывки бонов и хранения их на берегу. 4.4.1. На участках и в районах портов, где постоянно проводятся операции с нефтью, необходимо иметь комплект готовых к немедленному применению боновых заграждений в количестве, достаточном для ограждения судна, перекрытия выхода нефти из нефтерайона порта. 4.4.2. Порт обязан по заявкам капитанов ограждать суда боковыми заграждениями на период проведения судном операций с нефтью. 4.4.3. Рекомендуется предусматривать возможность применения для локализации разлившейся нефти струй из пожарных стволов судов и береговых систем. 4.5. Средства для удаления, утилизации или уничтожения собранных с акватории порта загрязняющих веществ должны обеспечивать: 1) прием с нефтесборных средств собранной нефтесодержащей смеси (железнодорожные, автомобильные или береговые цистерны, топливные или грузовые цистерны судов и т.п.); 2) транспортировку и передачу нефтебазам принятой с нефтесборных судов нефтесодержащей смеси; 3) вывоз на уничтожение сжиганием загрязненного нефтью мусора, собранного с поверхности воды (для этой цели могут использоваться автосамосвалы с герметичными кузовами); 4) уничтожение собранного с поверхности воды загрязненного нефтью мусора (специальные печи для сжигания и т.п.). Указанные средства при ликвидации разливов нефти могут привлекаться по мере надобности от специализированных предприятий и организаций. 4.6. Вспомогательные средства предназначены для выполнения различных операций при ликвидации разливов нефти и должны включать: 1) неспециализированные плавучие средства, участвующие в очистке акваторий портов (катера, шлюпки для обслуживания боновых заграждений, суда служебно-вспомогательного флота и т.п.); 2) грузоподъемные средства; 3) автотранспорт (самосвалы, вакуумные автоцистерны и т.п.); 4) (перекачивающие средства; 5) емкости для собранной нефтесодержащей смеси. 4.7. При разливах вязкой нефти в холодное время года, когда разлившаяся нефть охлаждается до температуры застывания, необходимо предусмотреть обеспечение работающих на ликвидации разлива технических средств паром для подогрева нефти за счет заводских котельных, паровых судов или установки на берегу передвижных источников пара. 4.8. Эксплуатация технических средств для очистки акваторий портов должна осуществляться в соответствии с требованиями, установленными техническими условиями, инструкциями, руководствами и наставлениями по их эксплуатации. 4.9. Технические средства для очистки акваторий портов должны поддерживаться в исправном техническом состоянии путем проведения планово-предупредительных ремонтов, обслуживания и осмотров. 4.10. Технические характеристики и конструкция заказываемых и поступающих в порты технических средств для очистки акваторий должны удовлетворять специфическим условиям порта; технические средства должны быть испытаны, приняты и допущены к эксплуатации в установленном порядке. 4.11. Ответственность за поддержание технических средств в исправном техническом состоянии, за использование их по прямому назначению несет главный инженер порта или специализированной организации, осуществляющей очистку акваторий по договорам с портами, а при отсутствии в штате должности главного инженера - начальник порта. 4.12. Режим эксплуатации технических средств для очистки акваторий портов должен обеспечивать постоянную готовность их к началу работы по ликвидации разливов нефти. Для этой цели рекомендуется организовать дежурство средств в ночное время, в праздничные и выходные дни, обеспечить неснижаемый 30 %-ный запас топлива и других необходимых для нормальной работы расходных материалов. На средствах, которые могут уходить для ликвидации разливов за пределы порта, рекомендуется также иметь запас продуктов и воды для экипажа (этот запас может храниться на базовом судне, если средство выходит на операцию в составе экспедиции или в сопровождении другого судна). 5. ТЕХНОЛОГИЯ ОЧИСТКИ АКВАТОРИЙ ПОРТОВ5.1. Общие положения5.1.1. Портам и организациям, осуществляющим очистку акваторий портов на договорных условиях, рекомендуется разработать типовую технологическую инструкцию по очистке акватории и ликвидации разливов нефти в портах. 5.1.2. В каждом порту на основании типовой инструкции должны быть разработаны и утверждены оптимальные схемы ведения работ по очистке загрязненной акватории с конкретным описанием всего технологического процесса по каждой схеме. 5.1.3. Технология ведения работ по очистке акватории должна учитывать: 1) характеристику загрязнения акватории порта; 2) характеристику загрязняющих веществ, плавающих на акватории порта; 3) гидрометеорологические условия порта; 4) характеристику технических средств для локализации разливов нефти и методы локализации; 5) характеристику технических средств для сбора нефти и мусора, методы очистки акваторий портов; 6) особенности ликвидации разливов нефти в порту в ледовых условиях; 7) особенности ликвидации разливов нефти сорбирующими материалами; 8) особенности ликвидации разливов нефти химическими препаратами; 9) меры безопасности при очистке акваторий портов. 5.1.4. Принятая в порту технология ведения работ по очистке загрязненной акватории должна быть утверждена руководителем порта. 5.1.5. Собранная в порту нефтесодержащая смесь должна сдаваться на местные нефтебазы. В портах, где невозможно организовать сдачу собранной нефтесодержащей смеси на нефтебазы, администрации порта предоставляется право использовать ее для собственных нужд порта (в котельных, на судах и т.п.) с оформлением факта утилизации в установленном порядке. 5.1.6. Собранный в порту загрязненный нефтью мусор, что, как правило, имеет место при разливах нефти, подлежит уничтожению. Методы и места уничтожения загрязненного нефтью мусора определяются местными Советами народных депутатов по согласованию с контролирующими органами. Уничтожение должно производиться методами, исключающими повторное загрязнение природных объектов и атмосферы. 5.1.7. Для вывоза собранного с акватории порта загрязненного нефтью мусора должны использоваться герметичные емкости либо самосвалы с герметичными кузовами. 5.1.8. Маршруты движения автотранспорта, вывозящего загрязненный нефтью мусор, должны быть определены портом в установленном порядке и обозначены в пределах города по согласованию с органами ГАИ и пожарной охраны. 5.1.9. При очистке акватории и ликвидации разливов нефти в портах необходимо: 1) исключить плавание судов по загрязненному участку акватории; 2) предписать обязательным постановлением по порту всем судам, проходящим мимо работающего нефтемусоросборщика, держаться в стороне от него и снизить скорость до уровня, исключающего образование волны, нарушающей режим работы. Работающий в морском порту нефтемусоросборщик в соответствии с МСС-1965 должен нести сигналы: в светлое время суток - два шара и между ними ромб, в темное время - два красных и один белый огонь, а в речном порту - красный огонь, как самоходное судно с нефтегрузом, в соответствии с Правилами плавания по внутренним водным путям РСФСР. 5.2. Регулярная очистка5.2.1. Технология регулярной очистки на основании предшествующего опыта должна учитывать: 1) особенность загрязнения акватории порта из постоянных источников (преобладающий вид загрязняющего вещества, места выхода загрязняющих веществ на акваторию, примерное количество и основные свойства загрязняющих веществ и т.п.); 2) влияние гидрометеорологических условий на состояние загрязнения акватории и отдельных ее участков (районы скопления нефти и мусора, скорость и направление перемещения нефти и мусора под воздействием течения и ветра и т.п.). 5.2.2. Регулярная очистка должна предусматривать: 1) сбор плавающих на поверхности воды нефти и мусора: с открытой акватории; закрытых участков акватории (между судном и причалом и между двумя судами); участков акватории вдоль причалов и молов, участков акватории в углах причалов; участков акватории под навесными и свайными причалами и пирсами; 2) очистку от нефти и мусора ледяного и снежного покрова акваторий. Периодичность регулярной очистки устанавливается администрацией порта исходя из степени загрязненности акватории. 5.2.3. Очистка открытой акватории5.2.3.1. Очистка открытой акватории порта должна производиться последовательной обработкой нефтемусоросборщиком загрязненной площади акватории. При этом необходимо: 1) во избежание выноса загрязняющих веществ с акватории порта на пути их дрейфа установить боковые заграждения либо сдерживать нефтяное пятно струями воды из пожарных стволов; 2) постоянно учитывать направление дрейфа загрязняющих веществ с тем, чтобы исключить попадание этих веществ в места, где сбор их нефтемусорооборщиком будет невозможен; 3) начинать обработку загрязненного участка с периферии в направлении его большей оси; 4) установить такую скорость движения нефтемусоросборщика по загрязненному участку, при которой обеспечивается максимальная производительность сбора нефти и мусора (для некоторых конструкций нефтемусоросборщиков у носовой части при этом не должна возникать волна, препятствующая поступлению загрязняющих веществ в приемную камеру); 5) осуществлять поворот нефтемусоросборщика для движения в обратном направлении только после выхода из загрязненного участка (на чистой воде). 5.2.3.2. Очистка открытой акватории порта может производиться путем ограждения загрязненного участка оперативными бонами в следующем порядке: 1) концы бокового заграждения (длину выбирают в зависимости от площади загрязненного участка акватории) крепят к носовой части двух нефтемусоросборщиков либо к нефтемусаросборщику и катеру или буксиру; 2) очистку открытой акватории начинают с наиболее загрязненного участка; 3) нефтемусоросборщики либо нефтемусоросборщик и буксир должны двигаться малым ходом вперед параллельным курсом (рис. 1); Рис. 1. Движение нефтемусоросборщиков при очистке открытой акватории: 1 - загрязняющие вещества; 2 - оперативные боновые заграждения; 3 - нефтемусоросборщик; 4 - вспомогательный нефтемусоросборщик 4) расстояние между нефтемусоросборщиками либо между нефтемусоросборщиком и катером или буксиром выбирают из расчета максимального захвата загрязняющих веществ; 5) после выхода нефтемусоросборщиков за границу загрязняющих веществ один нефтемусоросборщик либо катер или буксир останавливается, а другой, описывая циркуляцию, подходит к первому нефтемусоросборщику и швартуется к нему носом к корме (рис 2); Рис. 2. Ограждение загрязненного участка открытой акватории бонами: 1 - вспомогательный нефтемусоросборщик или катер; 2 - рабочий нефтемусоросборщик; 3 - оперативные боновые заграждения; 4 - загрязняющие вещества 6) нефтемусоросборщик начинает всасывать загрязняющие вещества с поверхности огражденного участка акватории, при этом постепенно сокращая площадь огражденного участка за счет протягивания конца бокового заграждения вдоль борта нефтемусоросборщика за корму (рис. 3); Рис. 3. Сбор загрязняющих веществ с огражденного участка открытой акватории: 1 - загрязняющие вещества; 2 - вспомогательный нефтемусоросборщик или катер; 3 - рабочий нефтемусоросборщик; 4 - оперативные боковые заграждения 7) очистку огражденного участка прекращают после удаления всех загрязняющих веществ, затем операцию повторяют для следующего участка акватории. 5.2.3.3. В тех случаях, когда акватория порта допускает маневрирование, очистку открытой акватории рекомендуется производить следующим образом (рис. 4): Рис. 4. Очистка открытой акватории нефтемусоросборщиком, оборудованным боновыми заграждениями: 1 - нефтемусоросборщик; 2 - оперативные боновые заграждения; 3 - загрязняющие вещества; 4 - буксиры 1) к носовым направляющим щитам нефтемусоросборщика и двум буксирам крепят оперативные боковые заграждения; 2) буксиры и нефтемусоросборщик движутся самым малым ходом вперед; 3) буксиры обеспечивают необходимое раскрытие боновых заграждений и охват загрязненного участка акватории; 4) загрязняющие вещества направляют боковыми заграждениями в приемную камеру нефтемусоросборщика. 5.2.3.4. На открытых участках акваторий портов, расположенных на реках, где имеется течение, собирать плавающую нефть и мусор необходимо при движении нефтемусоросборщика против течения со скоростью относительно воды не более 2 уз (3,7 км/ч). В тех случаях, когда скорость течения на открытом участке акватории не позволяет нефтемусоросборщику выполнять необходимые для очистки акватории маневры, собирать плавающую нефть и мусор следует на участках реки, где скорость течения за счет естественных факторов снижена и где выносимые рекой загрязняющие вещества концентрируются (затоны, заливы, изгибы русла реки и т.п.). 5.2.3.5. Очистка открытых участков акватории может производиться последовательной обработкой тралением загрязненного участка сборным ордером, образованным нефтемусоросборщиком, к направляющим щитам которого для увеличения ширины захвата присоединяются боны, удерживаемые в раскрытом состоянии двумя вспомогательными катерами или буксирами. Такой способ очистки может быть рекомендован для очистки акваторий, где площадь их обеспечит маневрирование такого ордера. 5.2.4. Очистка закрытых участков акваторий5.2.4.1. Очистку закрытых участков акваторий (между судном и причалом, между двумя судами и т.п.) необходимо производить двумя нефтемусоросборщиками (либо нефтемусоросборщиком и катером) в следующем порядке (рис. 5, 6): Рис. 5. Сбор загрязняющих веществ между двумя судами: 1 - судно; 2 - вспомогательный нефтемусоросборщик или катер; 3 - загрязняющие вещества; 4 - рабочий нефтемусоросборщик Рис. 6. Сбор загрязняющих веществ между судном и причалом: 1 - причал; 2 - рабочий нефтемусоросборщик; 3 - загрязняющие вещества; 4 - вспомогательный нефтемусоросборщик или катер 1) нефтемусоросборщик подходит с подветренной стороны к форштевню стоящего у причала судна (к форштевням стоящих лагом судов) малым передним ходом до постановки в упор; 2) второй нефтемусоросборщик либо катер подходит с кормы судна (судов) малым задним ходом на минимальное расстояние и, удерживаясь на месте швартовами или переменными ходами, работой винта на передний ход создает поток поверхностного слоя воды в направлении первого нефтемусоросборщика; 3) режим работы винта второго нефтемусоросборщика (либо катера) устанавливается в зависимости от длины стоящего у причала судна: при малой длине судна нефтемусоросборщик (либо катер) должен работать малым ходом; 4) во избежание выноса нефти и мусора за пределы зоны всасывания при чрезмерной скорости подтекания загрязняющих веществ к приемной камере нефтемусоросборщика необходимо на непродолжительное время (3 - 5 с) перевести работу нефтемусоросборщика на задний ход: струей воды от винта загрязняющие вещества будут возвращены в зону всасывания нефтемусоросборщика; 5) движение поверхностного слоя к приемной камере нефтемусоросборщика может также создаваться струей воды из пожарного ствола. 5.2.4.2. При очистке участков акватории между судном и причалом и между двумя судами целесообразно дополнительно к экипажу нефтемусоросборщика привлекать вспомогательный персонал для выборки крупногабаритного мусора, который часто скапливается на таких участках акватории. 5.2.4.3. При очистке закрытых участков акватории необходимо в полной мере использовать подсасывающую способность нефтемусоросборщика, для чего рекомендуется устанавливать минимальное погружение приемной кромки шибера и минимальную осадку нефтемусоросборщика за счет уменьшения количества принятого балласта, периодически повышать частоту вращения гребного винта и т.п. 5.2.5. Очистка акватории вдоль причалов и молов5.2.5.1. При очистке акватории вдоль причалов и молов нефтемусоросборщик движется малым ходом, причем корпус нефтемусорооборщика должен быть расположен под углом 15-30° к причалу (рис. 7). Рис. 7. Сбор загрязняющих веществ у причалов и молов: 1 – нефтемусоросборщик с закрытым со стороны причала носовым щитом; 2 - причал; 3 - загрязняющие вещества; 4 – нефтемусоросборщик с открытым на одну треть со стороны причала щитом 5.2.5.2. Для нефтемусоросборщиков, имеющих для увеличения площади захвата носовые направляющие щиты, при работе у причалов и молов необходимо принять меры для предотвращения повреждения их: щит со стороны причала не открывать или открывать не более чем на одну треть. 5.2.5.3. В случае, если нефть и мусор вышли из зоны всасывания нефтемусоросборщика и начинают обтекать его с бортов, необходимо на непродолжительное время перевести работу нефтемусоросборщика на задний ход с тем, чтобы загрязняющие вещества струей воды от винта были возвращены в зону всасывания. Вместо переключения работы нефтемусоросборщика на задний ход для возвращения загрязняющих веществ в зону всасывания могут быть использованы струи из пожарных стволов. 5.2.5.4. Для повышения интенсивности очистки участков акватории у причалов и молов рекомендуется использовать катер или буксир, который работой своего гребного винта будет создавать поток поверхностного слоя вдоль причала к приемной камере нефтемусоросборщика (рис. 8). Рис. 8. Сбор загрязняющих веществ у причалов и молов с использованием вспомогательного нефтемусоросборщика: 1 - швартовы; 2 - рабочий нефтемусоросборщик; 3 - причал; 4 - загрязняющие вещества; 5 - вспомогательный нефтемусоросборщик 5.2.6. Очистка акватории в углах причалов5.2.6.1. При очистке акватории в углах причалов нефтемусоросборщик пришвартовывается к причалу в непосредственной близости от скопления нефти и мусора и производит всасывание загрязняющих веществ при работе малым ходом вперед, передвигаясь на швартовах вдоль причала (рис. 9). 5.2.6.2. При значительном количестве нефти и мусора в углах причалов рекомендуется производить очистку с установкой боновых заграждений. В этом случае для повышения интенсивности подсасывания целесообразно использовать второй нефтемусоросборщик или катер, который работой своего гребного винта будет создавать поток поверхностного слоя к приемной камере нефтемусоросборщика (рис. 10). Для создания потока к приемной камере нефтемусоросборщика могут также применяться струи из пожарных стволов. Рис. 9. Сбор загрязняющих веществ в углах причалов: 1 – причал; 2 - загрязняющие вещества; 3 - нефтемусоросборщик Рис. 10. Сбор загрязняющих веществ в углах причалов с использованием вспомогательного нефтемусоросборщика и боновых заграждений: 1 - вспомогательный нефтемусоросборщик или катер; 2 - загрязняющие вещества; 3 - оперативные боновые заграждения; 4 - рабочий нефтемусоросборщик; 5 - швартовы 5.2.7. Очистка участков акватории под навесными причалами и пирсами5.2.7.1. Очистку участков акватории под навесными причалами и пирсами необходимо производить следующим способом (рис. 11): 1) струей воды из пожарного ствола с катера или буксира под пирс создается поток загрязняющих веществ в направлении приемной камеры нефтемусоросборщика, стоящего на швартовах носом к причалу; 2) за кормой нефтемусоросборщика при этом рекомендуется установить боновое заграждение, которое исключит вынос загрязняющих веществ на открытую акваторию порта; 3) при отсутствии боновых заграждений следует периодически на непродолжительное время переводить работу нефтемусоросборщика на задний ход с тем, чтобы нефть и мусор струей от винта были возвращены в зону всасывания. 5.2.7.2. При очистке глухих карманов под причалами и пирсами рекомендуется струей воды из пожарного ствола вдоль причала создавать поток поверхностного слоя, который будет направлять нефть и мусор из-под причала в сторону нефтемусоросборщика (рис. 12). Рис. 11. Сбор загрязняющих веществ под навесными причалами и пирсами с использованием струи воды из пожарных стволов: 1 - струя из пожарного ствола; 2 - пожарный катер; 3 - якорь; 4 - оперативные боновые заграждения; 5 - нефтемусоросборщик; 6 - швартовы; 7 - линия пирса; 8 - загрязняющие вещества; 9 - сваи; 10 - линия берега Рис. 12. Сбор загрязняющих веществ в глухих карманах с использованием струй воды из пожарных стволов: 1 - нефтемусоросборщик; 2 - оперативные боновые заграждения; 3 - якорь; 4 - карман в причале; 5 - струя воды из пожарного ствола; 6 - пожарный катер; 7 - швартовы 5.3 Ликвидация разливов нефти5.3.1. Работы по ликвидации разливов нефти на акватории порта должны включать выполнение следующих основных операций: локализацию разлива нефти (ограждение разлитой на акватории порта нефти бонами); сбор разлитой нефти; ликвидацию последствий разлива нефти. При возгорании разлившейся на акватории порта нефти необходимо сначала ликвидировать пожар, а затем приступить к ликвидации разлива. 5.4. Локализация разливов нефти5.4.1. При разливе нефти на акватории порта должны быть приняты срочные меры к локализации ее боновыми заграждениями на возможно меньшей площади и предотвращению распространения нефти по акватории, под навесные причалы, пирсы и т.п. 5.4.2. При разливе нефти с судна, стоящего у причала, боковое заграждение должно быть установлено с внешней стороны судна, концы заграждений должны быть закреплены к причалу у носа и кормы судна. 5.4.3. При разливе нефти с судна, стоящего на рейде или у свайного пирса, боновое заграждение должно быть установлено вокруг судна либо с подветренной стороны по дуге с обхватом носовой и кормовой частей судна. 5.4.4. Для локализации разлившейся нефти на открытых участках акваторий портов боновое заграждение должно устанавливаться вокруг нефтяного пятна либо по дуге с обхватом подветренной стороны пятна. 5.4.5. При установке боновых заграждений вокруг судна между бортом судна и бонами должны быть предусмотрены приспособления (плавающие на воде распорки, буйки и т.п.), исключающие плотное прилегание бонов к бортам (рис. 13). Рис. 13. Ограждение бонами судна, стоящего у причала: 1 - боновое заграждение; 2 - треугольная распорка из досок; 3 - капроновая оттяжка; 4 - буй на якоре; 5 - узел крепления к причалу 5.4.6. Участки портов, где существует постоянная угроза разлива нефти (нефтеучастки портов, базы для бункеровки судов), а также участки на акваториях портов, которым разлив нефти может принести наибольший ущерб, рекомендуется защищать стационарными боновыми заграждениями. 5.4.7. Рекомендуется ограждать бонами суда, производящие операции с нефтью и нефтепродуктами на акватории порта. 5.4.8. Для принятия срочных мер по локализации разлива нефти на акваториях портов оперативными боновыми заграждениями рекомендуется оснащать портовые пожарные катера, а при отсутствии пожарных катеров - портовые пожарные команды, которые несут постоянное дежурство в портах и могут принять эффективные меры по локализации разлива в любое время суток. Экипажи пожарных катеров и пожарные команды должны быть обучены операциям с боновыми заграждениями. Это требование распространяется на дежурные рейдовые суда в портах, где из состава рейдового флота выделяют судно для несения непрерывного круглосуточного дежурства на случай пожара. 5.4.9. Для предотвращения растекания нефти на значительные площади при разливах на акваториях портов до установки и во время установки боновых заграждений необходимо использовать струи пожарных стволов, направленные на поверхность воды на расстояние около 1 м от границы нефтяного пятна, что препятствует растеканию пятна и разбрызгиванию нефти. 5.4.10. Установка боновых заграждений при локализации разливов нефти должна производиться в соответствии с инструкцией, разрабатываемой изготовителем для данного типа боновых заграждений. 5.4.11. За установленными для локализации разлива нефти на акватории порта боновыми заграждениями необходимо вести постоянное наблюдение в течение всего периода ликвидации разлива и принимать соответствующие меры против их повреждения плавающим мусором, проходящими судами и нефтемусоросборщиками. 5.4.12. Установленные для локализации разлива нефти на акватории порта оперативные боновые заграждения должны удерживаться от сноса их ветром и течением постановкой на якоря, креплением к причалам или берегу, катерами. 5.4.13. При плавании судов в районе установленных боновых заграждений все суда обязаны снизить скорость до безопасного предела и принять все меры против повреждения их, что должно быть указано в обязательном постановлении капитана порта. 5.4.14. При наличии значительного течения, исключающего возможность локализации разлива нефти на открытой акватории порта, оперативные боновые заграждения должны быть установлены так, чтобы разлитая нефть была отведена на участки с пониженной скоростью течения. В этом случае следует устанавливать боновые заграждения под острым углом к направлению течения. Рекомендуются следующие варианты установки боновых заграждений: 1) шевронный - боны от оси реки отводятся симметрично на оба берега (рис. 14); 2) каскадный - боны от оси реки отводятся на один берег. При значительной скорости течения необходимо устанавливать последовательно несколько заграждений (рис. 15); 3) диагональный - заграждение устанавливается через реку от берега до берега (рис. 16). Рис. 14. Шевронное расположение бонов: 1 - нефтяное пятно; 2 - нефтеприемник; 3 - боны; 4 - защищаемый объект; 5 - направление течения Рис. 15. Каскадное расположение бонов 1 - нефтяное пятно; 2 - нефтеприемник; 3 - бон; 4 - защищаемый объект; 5 - направление течения Рис. 16. Диагональное расположение бонов: 1 - нефтяное пятно; 2 - защита от плавающих предметов; 3 - боковое заграждение; 4 - направление течения; 5 - защищаемые объекты; 6 - нефтесборное устройство При скорости перемещения нефтяного поля uп более 0,25 м/с боковое заграждение рекомендуется устанавливать под углом к направлению перемещения нефтяного поля таким образом, чтобы нормальная составляющая uн скорости uп не превышала 0,25 м/с (см рис. 17 и таблицу). Ориентировочные значения угла установки бокового заграждения к направлению течения в зависимости от скорости перемещения нефтяного поля (от скорости течения) Vп
Рис. 17. Определение угла установки бонового заграждения 5.4.15. При разливах нефти на акваториях речных портов, где локализация нефти бонами из-за значительного течения затруднена или вообще невозможна, рекомендуется сдерживать и изменять направление движение нефтяного пятна судами-экранами, струями воды из пожарных стволов катеров, буксиров и стоящих в порту судов. 5.4.16. При разливе нефти из поврежденных танков в условиях течения необходимо поставить судно на якорь в стороне от судового хода, ближе к берегу, в зоне с относительно малой скоростью течения, и по возможности поврежденным бортом к берегу. Затем установить боковые заграждения по схеме рис. 18. Рис. 18. Предотвращение растекания нефти корпусом судна и боковыми заграждениями: 1 - линия берега; 2 - оперативные боковые заграждения; 3 - аварийное судно; 4 - направление течения; 5 - якорь; 6 - нефтяное пятно 5.4.17. В начальный момент разлива необходимо удерживать вытекающую из танкера нефть внутри пространства, образованного корпусом судна и боковым заграждением, не допуская загрязнения нефтью берега. При значительном разливе для увеличения размеров огражденного участка водной поверхности до предельного использования всей длины боновых заграждений судно необходимо продвинуть против течения (рис. 19). Рис. 19. Перемещение судна для увеличения ограждаемого судном и бонами участка: 1 - нефтяное пятно; 2 - оперативные боновые заграждения; 3 - аварийное судно; 4 - направление передвижения судна; 5 - направление течения; 6 - линия берега; 7 - якорь 5.4.18. При разливах нефти на реках рекомендуется обеспечивать локализацию по следующим схемам (рис 20): 1) при разливе в протоке или озере (рис. 20, а) бонами перекрываются все выходы, соединяющие место разлива с рекой, перекрываются заполненные нефтью заводи. Сформировавшееся нефтяное пятно, если оно может менять свое место при изменении гидрометеорологических условий, следует также оградить бонами; 2) при разливе в районе причалов (рис 20, б) боновое заграждение следует устанавливать ниже причала таким образом, чтобы локализовать разлившуюся нефть в углублениях береговой линии, где течение минимально; 3) при разливах у заводи (рис 20, в) боновые заграждения устанавливаются между берегами заводи таким образом, чтобы исключалась возможность выноса нефти течением. 5.4.19. Оперативные боновые заграждения на акваториях портов должны крепиться к специальным буям, установленным на якорях (рис 21). При этом: 1) для крепления боновых заграждений на акваториях портов рекомендуется применять якоря массой 10-15 кг легкие по ГОСТ 25496-82, якоря Матросова по ГОСТ 8497-78, якоря адмиралтейские по ГОСТ 760-74; 2) для соединения буя с якорем рекомендуется применять канаты капроновые с длиной окружности 40 мм (диаметром 13 мм) по ГОСТ 10293-77. Длина каната должна быть не менее наибольшей глубины в порту. При этом необходимо для увеличения держащей силы якоря между якорем и канатом предусматривать отрезок цепи калибром 9 по ГОСТ 228-79 или ГОСТ 7070-75 длиной 2-4 м; 3) буи для крепления боновых заграждений должны иметь яркую, легко различимую окраску и должны быть снабжены сигнальными огнями и радарными отражателями для наблюдения за ними при плохой видимости. Рис. 20. Схема локализации нефтяного загрязнения: а - в протоке или озере, сообщающихся с рекой; б - в районе причалов; в - у заводи; 1 - боковое заграждение; 2 - нефтяное пятно; 3 - причал Рис. 21. Установка бонового заграждения на буи: 1 - бон; 2 - оттяжка бона; 3 - синтетический канат; 4 - буй; 5 - канат буя; 6- якорь-цепь; 7 - якорь 5.4.20. Крепление боновых заграждений к причалам необходимо выполнять таким образом, чтобы был обеспечен минимальный зазор между причалом и концевой секцией заграждения. Конструкция крепления должна учитывать при необходимости изменение уровня воды при отливах, приливах и волнении. Крепления боновых заграждений к причалам необходимо располагать только над водой. 5.4.21. Для крепления концов боновых заграждений к корпусам судов при локализации разливов и/или ограждении судов на период операций с нефтью рекомендуется использовать магнитные прихваты. 5.4.22. Для предотвращения утечки нефти через зазоры в местах крепления боновых заграждений к причалам и в местах соединения отдельных секций рекомендуется применять струи воды из пожарных стволов, направленные на поверхность чистой воды в сторону локализованной нефти в непосредственной близости от зазора. 5.4.23. Оперативные боновые заграждения могут доставляться к месту разлива на катерах или буксировкой. При буксировке боновых заграждений по акватории порта катерами должны применяться нетонущие синтетические канаты. При доставке боновых заграждений к месту разлива на катерах спуск их на воду должен производиться на чистой воде на расстоянии 100-150 м от нефтяного поля. Спуск боновых заграждений на воду следует производить с кормы при движении катера самым малым ходом вперед против ветра и течения. Не допускается спускать на воду крупные секции боновых заграждений в пакетах, в свернутом или сложенном виде. 5.4.24. Для буксировки и установки боновых заграждений на акватории порта могут использоваться рабочие катера или шлюпки с подвесными моторами. При этом: 1) во избежание повреждения бонов скорость буксировки их не должна превышать 4 уз (7,4 км/ч); 2) при буксировке необходимо обеспечить постоянный контроль за бонами, соблюдать особую осторожность при маневрировании во избежание повреждения бонов и попадания бонов и буксирного каната на винт. 5.5. Сбор разлитой нефти5.5.1. Если разлив нефти произошел в порту, не имеющем собственных технических средств для сбора разлитой нефти, то должны быть приняты срочные меры по доставке средств из ближайшего порта, располагающего ими. 5.5.2. Основным методом сбора нефти при ликвидации разливов в портах следует считать механический сбор. Механический сбор плавающей на воде нефти осуществляют нефтесборщики, нефтемусоросборщики, различные нефтесборные устройства и приспособления, доставленные на место разлива до установки боновых заграждений (до локализации разлива). К месту разлива должны быть также подведены средства, которые могут принимать с нефтемусоросборщиков собранную нефтесодержащую смесь, - танкеры, нефтеналивные баржи и т.п. (рис. 22). Рис. 22. Ликвидация разлива нефти на акватории порта: 1 - танкер или нефтеналивная баржа; 2 - нефтемусоросборщик; 3 - нефтяное пятно; 4 - оперативные боновые заграждения; 5 - струя воды из пожарного ствола; 6 - пожарный катер Если для ликвидации разлива используется несамоходный нефтесборщик без собственных энергетических средств, то на место разлива должны быть доставлены технические средства, обеспечивающие его нормальную работу (буксиры, катера, вакуумные автоцистерны, пожарные автомашины). При разливах в порту должны быть приняты все необходимые меры к немедленному началу сбора нефти. 5.5.3. Перед началом сбора нефти при ликвидации разливов в порту на всех нефтесборщиках, участвующих в операции, должны быть произведены замеры количества имеющейся на них нефтесодержащей смеси. Результаты замеров в кубических метрах должны быть зафиксированы в судовом журнале или в акте для использования в расчетах за выполненную работу по ликвидации разлива. 5.5.4. Замеры количества нефтесодержащей смеси на нефтесборщиках производит обслуживающий персонал штатными средствами самостоятельно либо в присутствии представителей контролирующих организаций, портнадзора и объекта, с которого произошел разлив нефти, если такой объект к этому времени установлен. 5.5.5. Замеры количества собранной нефтесодержащей смеси могут производиться на пунктах, обеспечивающих прием ее с нефтемусоросборщиков (нефтебазах, танкерах, баржах и т.п.). Приемным пунктом нефтемусоросборщику выдается официальный документ о количестве принятой с него нефтесодержащей смеси. 5.5.6. При сборе разлитой на акватории порта нефти следует руководствоваться технологическими указаниями, изложенными в подразд. 5.1 и 5.2 настоящего раздела. 5.5.7. При ликвидации разливов нефти в портах рекомендуется не перекачивать собранную нефтесодержащую смесь в нефтяные цистерны нефтесборщиков, а сдавать ее после замера количества из приемных ванн в вакуумные автоцистерны или на зачистные станции, имеющие вакуумные системы. 5.5.8. При разливах вязкой нефти в холодное время года рекомендуется для сбора использовать портальные краны, оборудованные грейферами. Для слива нефтесодержащей смеси из грейферов в этом случае необходимо предусмотреть достаточное количество цистерн (береговых, железнодорожных), снабженных портальными зерновыми воронками, а также средствами, исключающими попадание в них мусора. 5.5.9. При ликвидации разливов вязкой нефти в холодное время года необходимо предусмотреть не менее двух источников пара для подогрева собранной нефтесодержащей смеси при сдаче ее из приемных ванн нефтесборщиков. 5.5.10. При ликвидации разливов нефти в речных портах, где локализация ее из-за значительных скоростей течения затруднена или вообще невозможна, для повышения эффективности сбора нефти рекомендуются следующие варианты изменения формы нефтяного пятна и придания ему нужного направления движения: 1) нефтяное пятно струями воды из пожарных стволов одного пожарного катера превращается в полосу, которую улавливает стоящий на швартовах нефтемусоросборщик (рис. 23); Рис. 23. Сбор нефти на течении с использованием струй воды из стволов пожарного катера: 1 - швартовы; 2 - нефтемусоросборщик; 3 - нефтяное пятно; 4 - струи воды из пожарных стволов; 5 - пожарный катер; 6 - линия берега 2) плывущее нефтяное пятно струями воды с двух пожарных катеров превращается в полосу, которую улавливает нефтемусоросборщик (рис. 24); Рис. 24. Сбор нефти на течении с использованием струй воды из пожарных стволов двух катеров: 1 - нефтемусоросборщик; 2 - пожарные катера; 3 - струи воды из пожарных стволов; 4 - нефтяное пятно; 5 - линия берега 3) плывущее нефтяное пятно с помощью боновых заграждений, закрепленных одним концом к нефтемусоросборщику, а другим - к берегу, под действием струи воды с пожарного катера превращается в полосу, которую улавливает нефтемусоросборщик (рис. 25); 4) плывущее нефтяное пятно под действием ветра и струи воды с пожарного катера превращается в полосу, которую улавливает нефтемусоросборщик (рис. 26). Рис. 25. Сбор нефти на течении с использованием боновых заграждений и струи воды из пожарного ствола: 1 - нефтемусоросборщик; 2 - оперативные боновые заграждения; 3 - струя воды из пожарного ствола; 4 - пожарный катер; 5 - нефтяное пятно; 6 - линия берега Рис. 26. Сбор нефти на течении с использованием струи воды из пожарного ствола и ветра: 1 - нефтемусоросборщик; 2 - нефтяное пятно; 3 - пожарный катер; 4 - струя воды из пожарного ствола; 5 - линия берега 5.5.11. Для сбора нефти, успевшей распространиться тонким слоем по поверхности воды, возможна обработка нефтяного пятна химическими собирателями нефти, способствующими сокращению площади нефтяного пятна и увеличению его толщины. Порядок и условия применения собирателей нефти определяются в соответствии с инструкцией завода-изготовителя, согласованной в установленном порядке с контролирующими органами. 5.5.12. В тех случаях, когда ликвидация разлива нефти на акватории порта механическими способами невозможна, может производиться по согласованию с контролирующими органами сбор нефти впитывающими средствами (сорбентами), нормативный запас которых должен быть во всех портах. В качестве сорбентов могут применяться следующие материалы: неорганические - перлит, вермикулит (после специальной обработки); органические - вылущенные початки кукурузы, солома, измельченный торф, опилки, волокна целлюлозы; синтетические - пенопласт, полиуретан, полипропилен, обрезки ткани и т.п. Порядок и условия применения сорбирующих материалов для ликвидации разливов нефти в портах, необходимое количество их, способы нанесения на поверхность и сбора с поверхности, методы утилизации собранной нефтесодержащей смеси и повторного использования сорбентов должны определяться в соответствии с инструкцией завода - изготовителя сорбирующего материала, согласованной в установленном порядке с контролирующими органами, либо согласовываться с ними в процессе проведения операции. 5.5.13. При невозможности или низкой эффективности ликвидации разлива нефтемусоросборщиками и сорбентами для ликвидации разлива нефти в портах может быть рекомендовано применение химических рассеивающих препаратов - диспергаторов. Для применения диспергаторов необходимо получить разрешение в установленном контролирующими органами порядке. 5.6. Ликвидация разливов нефти в ледовых условиях5.6.1. При разливе в условиях сплошного льда и при застывании нефти, что исключает распространение ее на большой площади, ликвидацию разлива необходимо производить путем сбора пропитанного нефтью слоя снежного покрова и льда. 5.6.2. При ликвидации разливов в ледовых условиях для сбора нефти с поверхности воды, свободной ото льда (полыньи, разводья и т.п.), следует использовать переносные нефтесборные средства, работающие от вакуумных автоцистерн или судовых вакуумных систем, применять для сбора нефти переносные агрегаты и сорбенты. 5.6.3. При разливе нефти в условиях сплошного битого льда рекомендуется следующий порядок работ по ликвидации разлива: 1) обколоть лед вокруг разлива; 2) в проход во льду завести боновые заграждения, имеющие повышенную прочность (например, металлические, стеклопластиковые и т.п.); 3) один конец заграждений закрепить к причалу, а другой отводить буксиром от границы разлива, создавая на огражденном участке зону свободной ото льда воды (рис. 27); Рис. 27. Сбор нефти и условиях битого льда с использованием буксира и боновых заграждений: 1 - буксир; 2 - оперативные боковые заграждения; 3 - нефтемусоросборщик; 4 - битый лед; 5 - танкер 4) в свободную ото льда зону завести нефтемусоросборщик и вспомогательное плавсредство, могущее быть источником горячей воды или пара; 5) нефтемусоросборщиком собирать загрязненный нефтью лед вместе с поверхностным слоем воды; 6) собранный в приемную ванну лед перегрузить в мусорный контейнер; 7) загрязненный нефтью лед в мусорном контейнере обмывать горячей водой или обрабатывать паром; 8) очищенный от нефти лед из мусорного контейнера выгружать на берег или сбрасывать в море за пределами разлива нефти; 9) крупные льдины, которые из-за своих размеров не проходят в приемную ванну, следует промывать за бортом. 5.6.3.1. При ликвидации разливов нефти в условиях сплошного битого льда зону свободной от льда поверхности воды можно обеспечивать судами-экранами, заведенными в зону разлива. 5.6.4. При ликвидации разливов нефти в условиях битого льда рекомендуется использовать портальные и плавучие краны, снабженные грейферами, для сбора нефти и загрязненного льда в металлические баржи и автосамосвалы с герметичными кузовами. 5.6.5. Ликвидацию разлива нефти в ледовых условиях при значительном удалении места разлива от причалов, пирсов, портовых сооружений, от стоящих на якорях судов допускается производить путем сжигания с использованием стимуляторов горения (например, торфяного бертината). Ликвидацию разлива нефти в этих случаях следует производить только с разрешения пожарной охраны порта и при надлежащем противопожарном обеспечении. 5.7. Ликвидация последствий разлива нефти5.7.1. После завершения работ по ликвидации разлива нефти необходимо ликвидировать последствия разлива: произвести очистку от нефти портовых береговых сооружений, очистить от нефти и свернуть боновые заграждения и переносные нефтесборные средства и устройства. 5.7.2. Очистку от нефти портовых береговых сооружений, боновых заграждений, нефтесборных средств, корпусов судов, участвовавших в операции, производят промывкой водой из пожарных стволов. Для ускорения процесса очистки целесообразно применять пар или горячую воду. Стекающая в воду нефть собирается нефтемусоросборщиком в соответствии с указаниями подразд. 5.1 и 5.2 настоящих Правил. 5.7.3. Для промывки загрязненных нефтью боновых заграждений рекомендуется применять специальные моечные машины. 5.7.4. После ликвидации разлива все привлеченные для операции из других портов в порядке взаимодействия технические средства (нефтемусоросборщики, боновые заграждения, автотранспорт, суда и т.п.) должны быть возвращены владельцу. Неисправности технических средств, возникшие при ликвидации разлива, должны быть устранены портом либо за счет порта, в котором ликвидировался разлив. 6. ПОЖАРНАЯ БЕЗОПАСНОСТЬ И ОХРАНА ТРУДА6.1. К работам по очистке загрязненных акваторий портов допускаются лица мужского пола, достигшие 18-летнего возраста, прошедшие предварительные и периодические медицинские осмотры, вводный и первичный инструктажи по технике безопасности на рабочем месте и специальную подготовку. 6.2. Все работающие по очистке загрязненных акваторий портов должны знать основные свойства нефти и химических препаратов для ликвидации разливов, должны быть обучены безопасным приемам работы с ними, приемам оказания первой помощи при отравлении, приемам использования средств индивидуальной защиты. 6.3. При ликвидации разлитой на акватории порта нефти все противопожарные средства нефтемусоросборщиков, средства индивидуальной защиты экипажа должны быть приведены в готовность к немедленному действию. 6.4. На работах по ликвидации разливов сырой нефти и нефтепродуктов I и II классов могут быть использованы технические средства с исправными пожарными системами, искрогасителями; для обслуживающего персонала должны быть индивидуальные средства защиты. 6.5. Весь производственный персонал, участвующий в работах по очистке загрязненных акваторий портов, должен быть в защитных касках и соответствующей спецодежде. Разрешается работать только в обуви с подошвой из бензомаслостойкого материала, закрепленной с использованием гвоздей, не вызывающих искрение, не скользящей по металлической палубе, загрязненной нефтепродуктами. 6.6. Весь производственный персонал, занятый на работах по очистке загрязненных акваторий портов, должен строго соблюдать требования правил, норм, инструкций и указаний по охране труда, пожарной безопасности, изложенные в соответствующих ведомственных, отраслевых и межотраслевых документах. 6.7. При ликвидации разлитой на акватории порта нефти экипаж нефтемусоросборщиков должен применять в качестве средств индивидуальной защиты органов дыхания универсальные фильтрующие респираторы РУ-60М по ГОСТ 17269-71. При этом необходимо учитывать уменьшение защитного действия респираторов при повышении содержания паров углеводородов в воздухе. 6.8. В каждом порту, имеющем специализированное подразделение по очистке акватории, должны быть разработаны инструкции по технике безопасности и пожарной безопасности при ведении работ по очистке загрязненных акваторий портов. Эти инструкции должны быть согласованы с технической инспекцией профсоюза рабочих морского и речного флота и утверждены начальником порта. 6.9. Персонал специализированного подразделения по очистке загрязненных акваторий портов, участвующий в установке боновых заграждений, должен быть в рабочих спасательных жилетах. 6.10. При выгрузке мусора с нефтемусоросборщика стропить ковш может только член экипажа нефтемусоросборщика, имеющий свидетельство стропальщика-сигнальщика. 7. ОРГАНИЗАЦИЯ РАБОТ ПО ОЧИСТКЕ ЗАГРЯЗНЕННЫХ АКВАТОРИЙ ПОРТОВ7.1. Общие положения7.1.1. Каждый порт, оснащенный средствами для очистки акваторий, должен иметь персонал для обслуживания этих средств, объединенный в специальное производственное подразделение. 7.1.2. Численность специального подразделения, штатное расписание и структура его устанавливаются портом. 7.1.3. Специальное подразделение порта по очистке акватории должно возглавляться руководителем, управляющим подразделением на основе единоначалия. 7.1.4. Портом должна быть разработана система материального стимулирования персонала, обеспечивающего очистку акваторий портов и ликвидацию разливов нефти в портах, за количество собранной нефти и сокращение времени ликвидации разливов. 7.1.5. Рекомендуемая в п. 1.11 настоящих Правил межведомственная комиссия (МВК) по контролю за состоянием портовой акватории: 1) создается на общественных началах решением местного Совета народных депутатов из ответственных представителей всех организаций и предприятий, прилегающих к акватории порта, представителей местного Совета народных депутатов и государственных контролирующих органов для оказания помощи всем заинтересованным организациям и предприятиям в реализации мероприятий по предотвращению загрязнения и очистке акватории порта и ликвидации разливов нефти в порту. В своей деятельности МВК не может подменять органы, обеспечивающие государственный контроль в соответствии с установленным порядком; 2) возглавляется представителем порта, имеющего на балансе большее количество природоохранных средств; 3) действует в соответствии с положением, принятым на совещании всех представителей; 4) обеспечивается техническими средствами для контроля за состоянием акватории (катерами, автотранспортом и т.п.) на паритетных началах участниками МВК; 5) при контроле за состоянием портовой акватории руководствуется действующими нормативными документами по предотвращению загрязнения моря и Положением по обеспечению функций государственного контроля за водными объектами. 7.2. Организационная структура специализированного подразделения7.2.1. В порту типа 1 должно быть специализированное подразделение по предотвращению загрязнения и очистке акватории. Типовая схема организационной структуры подразделения по предотвращению загрязнения и очистке акватории принимается в соответствии с рекомендуемым приложением 4. 7.2.2. В порту типа 3 должно быть специализированное подразделение по очистке акватории. Типовая схема организационной структуры подразделения по очистке акватории принимается в соответствии с рекомендуемым приложением 5. 7.2.3. Для портов типов 2 и 4, не имеющих специализированных подразделений и технических средств для очистки акваторий, должны быть разработаны оптимальные схемы по очистке акваторий, основанные на привлечении технических средств других портов и организаций как для регулярной (плановой) очистки, так и для ликвидации разливов нефти. 7.2.4. В портах, имеющих специализированное подразделение по предотвращению загрязнения и очистке акватории, должно быть разработано и утверждено начальником порта положение о таком подразделении. Положение о специализированном подразделении должно включать: назначение подразделения; функции подразделения; состав технических средств; организационную структуру подразделения; права и обязанности начальника подразделения; должностные инструкции руководителей групп и руководящих работников подразделений; условия оплаты за очистку акваторий портов и ликвидацию разливов нефти в портах (в том числе и за работу в загазованной среде); тарифы на очистку акваторий и ликвидацию разливов нефти в портах. 7.2.5. Штатное расписание специализированного подразделения составляется ежегодно и утверждается в установленном порядке с учетом объема выполняемых в порту работ по предотвращению загрязнения и очистке акватории и наличия специальных технических средств, используемых для этих целей. 7.3. Организация регулярной очистки7.3.1. Регулярная очистка портов производится по утвержденному главным инженером порта, а при отсутствии в штате должности главного инженера - начальником порта плану, который должен быть составной частью плана производственной деятельности порта. 7.3.2. Проведение очистки акватории или отдельных ее участков вне утвержденного плана выполняется по заявкам начальников районов порта, подаваемым диспетчеру портофлота (порта), по требованию и рекомендации органов государственного надзора и МВК (где они созданы). В заявке или рекомендации МВК на очистку должно быть указано: где расположен загрязненный участок, номера причалов или районов порта; краткая характеристика загрязнения (нефть, мусор мелкий, мусор крупный, бревна и т.п.); ориентировочная площадь (в квадратных метрах) загрязненного участка акватории; ожидаемое изменение в положении загрязненного участка (дрейф под действием ветра и течения и т.п.); дата и время подачи заявки. Заявка может быть подана в письменном виде или передана в виде телефонограммы. 7.3.3. Задание на выполнение работ по очистке акватории порта выдается нефтемусоросборщику дежурным диспетчером; задание и результаты выполнения задания должны быть записаны в судовом журнале нефтемусоросборщика. 7.3.4. Оценка качества выполненных работ по очистке акватории порта производится начальником подразделения в соответствии с рекомендациями разд. 2 настоящих Правил. 7.3.5. По каждому техническому средству для очистки акваторий и в целом по подразделению следует оформлять отчет о результатах работы по форме рекомендуемых приложений 6 и 7. Периодичность оформления отчета устанавливается портом. 7.4. Организация работ по ликвидации разливов нефти7.4.1. В каждом порту должен быть разработан и согласован с территориальными органами Госкомприроды СССР план мероприятий по ликвидации разливов нефти на акватории порта. Этот план должен предусматривать: места наиболее вероятного разлива нефти; сорт и ориентировочное количество нефти, разлив которой возможен при существующих условиях эксплуатации и специфике порта; состав сил и перечень технических средств, необходимых для ликвидации разлива, в том числе и средств, привлекаемых к операции из других портов, ведомств и организаций; схему постоянного размещения и расстановки технических средств для ликвидации разливов на всех участках порта, где существует потенциальная угроза разлива, а также сроки готовности средств к применению; порядок управления работами по ликвидации разливов; схему оповещения и связи при проведении работ по ликвидации разливов нефти; перечень и номера телефонов организаций, с которыми необходимо взаимодействовать при ликвидации разливов; перечень позывных и каналы (частоты) радиотехнических средств связи судов, привлекаемых к ликвидации разливов; перечень и номера телефонов организаций и должностных лиц, которые могут быть привлечены к операциям по ликвидации разливов в качестве консультантов и экспертов. 7.4.2. В каждом порту должна быть отработана оптимальная схема оповещения о происшедшем на акватории порта разливе в соответствии с рекомендуемыми приложениями 8 и 9. 7.4.3. С получением сигнала о разливе нефти на акватории порта диспетчер информирует об этом начальника порта, территориальные органы Госкомприроды СССР и дает указание руководителю подразделения по очистке акватории порта о начале работ по ликвидации разлива. 7.4.4. С получением сигнала о разливе нефти руководитель подразделения по очистке акватории должен произвести обследование района разлива, в результате которого должно быть выяснено: точное место разлива; характеристика объекта, с которого произошел разлив; сорт и ориентировочное количество разлитой нефти; прекратился ли слив; направление и сила ветра в районе разлива; направление и скорость течения в месте разлива; температура воды и воздуха в районе разлива; характеристика загрязнения; ожидаемые изменения нефтяного поля под действием ветра и течения; оценка вероятных последствий разлива; необходимые средства для локализации разлива и защиты уязвимых районов порта от разлившейся нефти; необходимое количество и состав средств для ликвидации разлива. 7.4.5. Руководство работами по ликвидации разливов нефти в портах обеспечивается руководителем подразделения по очистке акватории. 7.4.6. В тех случаях, когда ликвидация разливов нефти в портах связана с решением многих различных вопросов (взаимодействие с различными организациями, привлечение людей и технических средств других организаций и т.п.), руководство работами осуществляет штаб руководства операциями (ШРО), который заблаговременно должен быть создан в каждом порту. Рекомендуется следующий состав ШРО: начальник порта - начальник штаба; главный инженер - заместитель; главный диспетчер порта; начальник портофлота; представитель территориального органа Госкомприроды СССР; руководители (заместители руководителей) взаимодействующих организаций и предприятий, прилегающих к акватории порта. 7.4.7. ШРО при ликвидации разлива может привлекать для оказания помощи и консультаций представителей гидрометеослужбы, специалистов аварийно-спасательной службы и других специалистов. 7.4.8. Состав ШРО утверждает начальник порта по согласованию с заинтересованными организациями и предприятиями. 7.4.9. Список членов ШРО с адресами и номерами служебных и домашних телефонов должен находиться в диспетчерской порта (портофлота). 7.4.10. Решение о созыве ШРО для руководства операциями по ликвидации разлива на акватории порта принимает начальник порта в зависимости от размера, особенностей разлива и конкретных условий для выполнения работ по его ликвидации. 7.4.11. Руководство операциями по ликвидации разливов нефти на акватории порта, могущих повлечь тяжелые последствия для порта, промышленных предприятий, городов и населенных пунктов, примыкающих к акватории порта, или вызвать тяжелые экологические последствия, когда к ликвидации разлива и его последствий должны быть привлечены средства различных ведомств и организаций, осуществляет чрезвычайная аварийная комиссия (ЧАК), которая должна быть создана решением местного Совета народных депутатов. Рекомендуется следующий состав ЧАК: заместитель председателя исполкома - председатель комиссии; начальник пароходства или порта - заместитель председателя комиссии; начальник местного УВД; начальник пожарной охраны; заведующий коммунальным хозяйством; представитель штаба военного округа; представитель штаба военно-морской базы; представитель территориального органа Госкомприроды СССР. 7.4.12. Решение о представлении в местный Совет народных депутатов предложения о необходимости созыва ЧАК принимает ШРО. 7.4.13. ЧАК в своей работе по ликвидации разлива нефти и основных последствий его руководствуется положением, утвержденным решением местного Совета народных депутатов. 7.4.14. Для ликвидации разливов нефти в порту могут привлекаться технические средства и персонал морских спецподразделений Госморспецслужбы. Решение о привлечении принимается начальником порта. 7.4.15. При ликвидации разливов нефти в портах должна быть обеспечена надежная радиосвязь между руководителем работ и всеми средствами, обеспечивающими сбор нефти. И. о. зам. начальника Главфлота В. А. Мирзабейли ПРИЛОЖЕНИЕ 1
|
|||||||||||||||||||||||||||||||||||||||||||||||||||||||||||||||||||||||||||||||||||||||||||||||||||||||||||||||||||||||||||||||||||||||||||||||||||||||||||||||||||||||||||||||||||||||||||||||||||||||||||||||||||||||||||||||||||||||||||||||||||||||||||||||||||||||||||||||
|
Оценка, баллы |
Количество нефти на 1 м2 поверхности, г |
Внешний вид поверхности воды |
|
0 |
- |
Чистая водная поверхность без признаков опалесценции (отсутствие признаков цветности при различных условиях освещения) |
|
1 |
0,1 |
Отсутствие пленки и пятен, отдельные радужные полосы, наблюдаемые при наиболее благоприятных условиях освещения и спокойном состоянии водной поверхности |
|
2 |
0,2 |
Отдельные пятна и серая пленка серебристого налета на поверхности воды, наблюдаемые при спокойном состоянии водной поверхности, появление первых признаков цветности |
|
3 |
0,4 |
Пятна и пленка с яркими цветными полосами, наблюдаемые при слабом волнении |
|
4 |
1,2 |
Нефть в виде пятен и пленки, покрывающая значительные участки поверхности воды, не разрывающаяся при волнении, с переходом цветности к тусклой мутно-коричневой |
|
5 |
2,4 |
Поверхность воды покрыта сплошным слоем нефти, хорошо видимой при волнении, цветность темная, темно коричневая |
Примечание. Значения предельного количества нефти на 1 м2 поверхности воды приведены для справок с целью ориентировочной оценки количества разлитой на акватории нефти.
|
Оценка, баллы |
Внешний вид поверхности воды |
|
0 |
Чистая водная поверхность; на открытой акватории площадью 100 м2 наблюдаются отдельные небольшие скопления мелкого мусора общей площадью не более 0,01 м2 |
|
1 |
На площади 100 м2 открытой акватории наблюдаются отдельные небольшие скопления мелкого мусора общей площадью не более 1 м2, отдельные предметы размером по любому направлению не более 25 см |
|
2 |
На площади 100 м2 открытой акватории наблюдаются отдельные скопления мусора общей площадью не более 2 м2, отдельные предметы, размер которых по любому направлению не превышает 50 см |
|
3 |
На площади 100 м2 открытой акватории наблюдаются скопления мусора общей площадью до 5 м2, отдельные предметы, размер которых не превышает 1 м по большей стороне, скопления мусора в углах, тупиках и у наветренной стороны причалов при ширине загрязненной полосы до 0,5 м |
|
4 |
На площади 100 м2 открытой акватории наблюдаются скопления мусора общей площади 10 м2, значительное количество предметов, размер которых не превышает 1,5 м по большей стороне, в углах, тупиках и у наветренной стороны причалов скопления мусора при ширине загрязненной полосы до 1 м |
|
5 |
На площади 100 м2 открытой акватории наблюдаются скопления мусора общей площадью более 10 м2, крупные предметы размером по большей стороне свыше 1,5 м, в углах, тупиках и у наветренной стороны причалов скопления мусора с шириной загрязненной полосы более 1 м |


|
Отчет о работе _____________________________________________________________ (наименование технического средства) за______________________________________________________________ (месяц, квартал, год)
Капитан (руководитель) ____________ (______________) «__» _________ 19 __ г. (подпись) (фамилия) (дата) ПРИЛОЖЕНИЕ 7
|
|||||||||||||||||||||||||||||||||||||||||||||||||||||||||||||||||||||||||||||||||||||||||||||||||||||||||||||||||||||||||||||||||||||||||||||||||||||||||||||||||
|
№ п/п |
Наименование технического средства |
Обслужено судов, ед. |
Принято с судов |
Мойка танков |
Очистка акватории |
Использование времени, ч |
Экономические результаты, тыс. р. |
|||||||
|
балластных вод, тыс. т |
льяльных (подсланевых) вод, тыс т |
отработанного масла (нефтеостатков), т |
мусора, м3 |
сточных (хоз.-фекальных) вод, т |
Общий объем, м3 |
Собрано нефтепродуктов, т |
Собрано нефтесодержащей смеси, т |
Собрано мусора, м3 |
в эксплуатации |
в ремонте |
||||
|
|
(Указываются данные по техническому средству) |
|
|
|
|
|
|
|
|
|
|
|
|
|
|
|
Итого … |
|
|
|
|
|
|
|
|
|
|
|
|
|
Начальник подразделения _________________________ (______________________)
(подпись) (фамилия)
«___» _________________ 19 __ г.
(дата)

|
Обозначение документа |
Наименование документа |
|
Охрана природы. Гидросфера. Общие требования к охране поверхностных и подземных вод от загрязнения нефтью и нефтепродуктами |
|
|
ГОСТ 17269-71 |
Респираторы фильтрующие газопылезащитные РУ-60 и РУ-60му. Технические условия |
|
Санитарные правила и нормы охраны поверхностных вод от загрязнения. Минздрав СССР, 1988 |
|
|
Санитарные правила и нормы охраны прибрежных вод морей от загрязнения в местах водопользования населения. Минздрав СССР, 1988 |
|
|
РД 31.04.14-82 |
Инструкция по применению бертината для ликвидации нефтяных разливов |
|
РД 31.81.10-75 |
Правила техники безопасности на судах морского флота |
|
РД 33.5.3.01-83 |
Методика подсчета убытков, причиненных государству нарушением водного законодательства |
|
РД 31.35.10-86 |
Правила технической эксплуатации портовых сооружений и акваторий. ММФ |
|
- |
Правила технической эксплуатации портовых сооружений МРФ РСФСР, 1985 |
|
- |
Общие правила морских торговых и рыбных портов Союза ССР, 1985 |
|
- |
Основы водного законодательства Союза ССР и союзных республик, 1970 |
|
- |
Правила технической эксплуатации речного транспорта, 1974 |
|
- |
Типовое положение об организации в пароходствах работ по ликвидации последствий аварийных разливов нефти и нефтепродуктов в водоемы. МРФ РСФСР, 1980 |
|
- |
Правила плавания по внутренним водным путям РСФСР. Введены в действие с 15 марта 1985 г. приказом Министерства речного флота РСФСР от 28.08.84 № 100 |
|
- |
Типовое положение об организации в пароходствах работ по ликвидации последствий аварийных разливов нефти и нефтепродуктов в водоемы. Утверждено и введено в действие приказом Министерства речного флота РСФСР от 06.08.80 № 126 |
СОДЕРЖАНИЕ
|
ГОСТЫ, СТРОИТЕЛЬНЫЕ и ТЕХНИЧЕСКИЕ НОРМАТИВЫ. Некоммерческая онлайн система, содержащая все Российские Госты, национальные Стандарты и нормативы. В Системе содержится более 150000 файлов нормативно-технической документации, действующей на территории РФ. Система предназначена для широкого круга инженерно-технических специалистов. Copyright © www.gostrf.com, 2008 - 2026 |