Крупнейшая бесплатная информационно-справочная система онлайн доступа к полному собранию технических нормативно-правовых актов РФ. Огромная база технических нормативов (более 150 тысяч документов) и полное собрание национальных стандартов, аутентичное официальной базе Госстандарта. GOSTRF.com - это более 1 Терабайта бесплатной технической информации для всех пользователей интернета. Все электронные копии представленных здесь документов могут распространяться без каких-либо ограничений. Поощряется распространение информации с этого сайта на любых других ресурсах. Каждый человек имеет право на неограниченный доступ к этим документам! Каждый человек имеет право на знание требований, изложенных в данных нормативно-правовых актах!

  


 

ПРАВИТЕЛЬСТВО МОСКВЫ

МОСКОМАРХИТЕКТУРА

РЕКОМЕНДАЦИИ
ПО ПРОЕКТИРОВАНИЮ И ПРИМЕНЕНИЮ
ДЛЯ СТРОИТЕЛЬСТВА И РЕКОНСТРУКЦИИ
ЗДАНИЙ В Г. МОСКВЕ

ФАСАДНОЙ СИСТЕМЫ С ВЕНТИЛИРУЕМЫМ
ВОЗДУШНЫМ ЗАЗОРОМ «
ИНТЕРАЛ» («ТЕХНОКОМ»)

2003

Предисловие

1. Разработаны: Центральным научно-исследовательским и проектным институтом жилых и общественных зданий (ЦНИИЭП жилища).

Авторский коллектив:

д.т.н. Николаев С.В.                                         - руководитель работы

д.т.н. Граник Ю.Г.                                            - научно-техническое руководство

инж. Ставровский Г.А.                                     - общая редакция и конструкция системы

д.т.н. Зырянов В.С.                                           - прочностные расчеты

к.т.н. Беляев В.С.                                              - теплотехнические расчеты

инж. Грибанова И.В.                                        - компьютерная графика

Консультанты:

Директор ООО «Интерал

Инжиниринг» Хомиченко А.В.                       - организационно-технические решения и

конструкция системы

Начальник службы контроля

качества Писмарев В.А.

Конструктор Кривоногова Н.В.

2. Подготовлены к утверждению и изданию Управлением перспективного проектирования и нормативов Москомархитектуры

3. Утверждены указанием Москомархитектуры от 04.02.03 г. № 6.

СОДЕРЖАНИЕ

1. Введение. 1

2. Назначение и область применения. 3

3. Конструктивное решение систем.. 3

4. Исходные данные для проектирования системы.. 13

5. Определение основных параметров системы.. 13

6. Прочностные расчеты.. 14

7. Теплотехнические расчеты.. 20

8. Состав проектно-сметной документации. 32

9. Технико-экономические показатели. 33

10. Основные положения по производству работ и системе контроля качества. 33

11. Правила эксплуатации системы.. 35

12. Перечень нормативных документов и литературы.. 35

Приложение. 35

1. ВВЕДЕНИЕ

1.1. Рекомендации являются методическим и справочным пособием для разработки проектов наружной отделки и утепления зданий и сооружений с применением навесных фасадных систем с вентилируемым воздушным зазором «Интерал».

1.2. Фасадные системы «Интерал» также, как и другие навесные фасадные системы с вентилируемым воздушным зазором, являются одним из наиболее эффективных способов отделки и утепления зданий различного назначения, при этом, благодаря отсутствию мокрых процессов работы по монтажу систем могут выполняться круглый год. Системы «Интерал» достаточно хорошо опробированы на новых и реконструированных зданиях в г. Москве.

Фотографии построенных в Москве зданий, облицованных системами «Интерал», приводятся на рис. 1.1 - 1.3.

1.3. Разработчиком систем «Интерал» является ООО «Интерал Инжиниринг», изготовителем элементов систем ООО «ЭЗ Техноком СТМ», работы по монтажу систем выполняет ООО «СПМУ «Спецмонтаж».

1.4. На конструкцию навесных фасадных систем «Интерал» выданы Технические свидетельства Госстроя РФ, в том числе:

на систему «Интерал-Т-МХ-ВХ» - № ТС-07-0500-02,

на систему «Интерал-Т-КВ-ВХ» - № ТС-07-0499-02,

на системы «Интерал-Т-КС-ВГХ» - № ТС-07-0498-02.

Указанные Технические свидетельства зарегистрированы 25.03.2002 г.

1.5. Рекомендации содержат следующие данные: назначение и область применения систем, конструктивные решения систем, состав исходных данных для проектирования, методики расчетов всех расчетных параметров систем, способы производства работ, правила эксплуатации систем и их технико-экономические показатели.

Рис. 1.1. Осенний бульвар, владение 17, жилой дом.

Рис. 1.2. ул. Б. Каменьщики, владение 6-8, жилой дом.

Рис. 1.3. ул. 1-ая Брестская, владение 6-8, здание Москомархитектуры.

2. НАЗНАЧЕНИЕ И ОБЛАСТЬ ПРИМЕНЕНИЯ

2.1. Системы «Интерал» предназначены для фасадной отделки и теплоизоляции наружных стен в соответствии с II этапом энергосбережений СНиП II-3-79* и МГСН 2.01-99.

2.2. Системы допускается применять для строящихся и реконструируемых зданий в г. Москве с несущими конструкциями наружных стен из кирпича, бетона и других материалов плотностью более 600 кг/м2.

Этажность зданий в соответствии с требованиями пожарной безопасности приводится в разделах 5 приложений к Техническим свидетельствам Госстроя РФ, приведенных в п. 1.4.

3. КОНСТРУКТИВНОЕ РЕШЕНИЕ СИСТЕМ

3.1. Системы являются многослойными конструкциями, включающими несущий каркас, прикрепленный к основанию (несущим конструкциям наружной стены), слой утеплителя, также прикрепленный к основанию, и фасадный облицовочный слой из листовых, плитных, в виде кассетных панелей материалов, прикрепленных к элементам (в основном к вертикальным профилям) несущего каркаса. При этом между облицовочным слоем и слоем утеплителя устраивается вентилируемый воздушный зазор, с помощью которого влага, накапливающаяся в утеплителе, эффективно удаляется.

3.2. Системы «Интерал» в соответствии с техническими свидетельствами отличаются друг от друга в основном видом облицовочного материала и способом его крепления к вертикальным профилям несущего каркаса. Так в системе «Интерал-Т-МХ-ВХ» для наружной облицовки фасадов применяются листы стальные оцинкованные, алюминиевые, типа «Alucobond» с различным цветным покрытием или кассетные панели, изготовленные из них; в системе «Интерал-Т-КВ-ВХ» - плиты керамогранита с открытым (видимым) креплением, а в системе «Интерал-Т-КС-ВГХ» - плиты керамогранита со скрытым креплением. Общий вид этих систем представлен на рис. 3.1 ÷ 3.4.

3.3. Несущие каркасы всех систем «Интерал» имеют много общего и включают следующие элементы: кронштейны, вертикальные профили и различные крепежные элементы (дюбели, анкерные болты, саморезы, вытяжные заклепки, клямеры для открытого крепления и горизонтальные профили с кронштейнами для скрытого крепления плит керамогранита).

3.3.1. Кронштейны - это элементы, которые с помощью дюбелей и анкерных болтов крепят несущий каркас к основанию. Они (рис. 3.5) выпускаются 2-х типов: «L»-образные и «С»-образные с флажком. Последние обладают меньшей площадью контакта с основанием и их применяют в случаях, когда важно сократить теплопотери. Кроме того, есть еще 2 типа кронштейнов, которые применяют на углах здания. Кронштейны изготавливают из алюминиевого сплава АМг2М или АМг2Н по ГОСТ 4784-97 с покрытием ЛКМ толщиной 60 - 120 мкм или без него, их толщина 4 мм. Для обеспечения возможности устройства систем разной толщины «L»-образные кронштейны и флажки выпускаются различных длин, «L»-образные кронштейны от 85 до 225 мм, а флажки от 85 до 185 мм.

3.3.2. К выступающей части кронштейнов заклепками крепят вертикальные профили, являющиеся базой, на которой, в свою очередь, крепят элементы (плиты, листы, кассеты) отделочного слоя. Вертикальные профили изготавливают из алюминиевого сплава АД31Т1 по ГОСТ 4784-97 с защитным покрытием ЛКМ толщиной 60 - 120 мкм или без него и из стали оцинкованной по ГОСТ 14918-80.

Формы сечения вертикальных профилей приведены на рис. 3.6. Среди них «Г» и «L» профили применяют для всех видов облицовочных материалов, кроме кассетных панелей, для рядовых участков стены. Профили форм «Е» и «» применяют для тех же видов отделочных материалов, но на участках стены, примыкающих к внешним углам зданий. Профиль формы «П» применяют для облицовочного слоя, выполненного из кассетных панелей. Кроме того, в системе применяют «L»-образный профиль, выполненный из стального оцинкованного листа толщиной 1,2 мм. Этот вертикальный профиль устанавливают над оконным проемом для увеличения предела огнестойкости наиболее уязвимого участка системы.

3.3.3. Кляммеры (скобы) (рис. 3.7) применяют для открытого крепления плит керамогранита. Их изготавливают из нержавеющей стали 12Х18Н10Т по ГОСТ 5632-72 толщиной 1 мм. Контакт стальных деталей (из нержавеющей стали и оцинкованных) с алюминиевыми следует исключить за счет прокладки между ними полимерной шайбы или посадки стальных деталей на свежую краску.

3.3.4. Горизонтальные профили и кронштейны для скрытого крепления (рис. 3.8) применяют только в случаях скрытого крепления плит керамогранита. Горизонтальные профили и кронштейны для скрытого крепления выполняются из алюминиевого сплава АД31Т1 по ГОСТ 4784-97 с защитным покрытием ЛКМ толщиной 60 - 120 мкм или без него.

3.3.5. Для крепления кронштейнов к основанию применяют дюбели с анкерными болтами SDF и SDR фирмы EJOT ТАМВАСН GmbH (Германия) и МВ-S и МВR-S фирмы Munqo Betestigung AG (Швейцария). Для крепления элементов каркаса между собой и листовых облицовочных материалов к вертикальным профилям применяют вытяжные стальные оцинкованные заклепки диаметром 4,8 и 5 мм и алюминиевые диаметром 3 и 3,2 мм фирмы BRALO, SA (Испания).

3.4. Слой утеплителя систем выполняют из влагостойких минераловатных плит типа «Венти Баттс», «PAROC». «NOBASIL» предприятий ЗАО «Минеральная вата» (Россия), PAROC EXPORT OY AB (Финляндия) и др.

Плиты утеплителя кренятся к основанию тарельчатыми дюбелями SDM, SRM, ТIД, IДК, SBN и ДH фирмы EJOT ТАМВАСН GmbH (Германия) и Д-1 и Д-2 Бийского завода стеклопластиков из расчета 5 шт. на 1 плиту. Плиты без кашированной открытой поверхности должны быть защищены ветрогидрозащитной паропроницаемой пленкой типа «TYVEK». Для крепления пленки на поверхности утеплителя используют часть дюбелей, которыми крепят плиты утеплителя.

3.5. Для устройства обрамления оконных и других проемов, примыканий системы к карнизам, плитам балконов и лоджий, парапетам и т.п. в некоторых случаях к основанию крепятся специальные кронштейны, на которые устанавливают элементы откосов или специальные короба, покрытия парапетов, влагозащитные барьеры и другие детали.

3.6. После окончания работ по монтажу несущего каркаса и утепляющего слоя к вертикальным профилям крепят облицовочный материал. Его крепление, в зависимости от вида облицовочного материала, производят следующим образом:

- все листовые материалы - вытяжными заклепками алюминиевыми и стальными оцинкованными;

- кассетные панели вешают на горизонтальные штифты, устанавливаемые в вертикальные «П»-образные профили;

- открытое крепление плит керамогранита производят с помощью кляммеров, прикрепленных вытяжными заклепками к вертикальным профилям;

- для скрытого крепления керамогранита к вертикальным профилям на заклепках крепят горизонтальные профили с кронштейнами, в которых установлены стопорные оцинкованные винты (анкера плиточные), входящие в заранее высверленные в каждой плите керамогранита 4 отверстия с обратным уклоном.

Конструктивное решение систем «Интерал», кроме приведенных выше, поясняется еще следующими рисунками:

- вертикальные и горизонтальные разрезы систем, рис. 3.9 - 3.12;

- решение системы у наружного угла здания, рис. 3.13;

- решение системы у верха оконного проема, рис. 3.14;

- решение системы на парапете здания, рис. 3.15.

Изделия и материалы разрешенные для применения в системе «Интерал» и требования, которым они должны отвечать, приводятся в разделах 2 и 5 приложений к Техническим свидетельствам Госстроя РФ.

1. Основание.

2. Кронштейн «С»-образный.

3. Анкерный болт крепления кронштейна.

4. Флажок.

5. Вертикальный профиль.

6. Облицовочный аллюминиевый лист.

7. Заклепки вытяжные для крепления облицовочного листа.

8. Утеплитель.

9. Тарелочный дюбель крепления утеплителя.

10. Паронитовая прокладка.

Рис. 3.1. Системы «Интерал» (Т-МХ-ВХ) с облицовкой листовым материалом.

1. Основание.

2. Кронштейн «L»-образный.

3. Анкерный болт крепления кронштейна.

4. Вертикальный профиль.

5. Горизонтальный стержень в вертикальном профиле для навески кассетной панели.

6. Кассетная панель.

7. Утеплитель.

8. Дюбель для крепления утеплителя.

9. Паронитовая прокладка.

Рис. 3.2. Системы «Интерал» (Т-МХ-ВХ) с облицовкой кассетами.

1. Основание.

2. Кронштейн «L»-образный.

3. Анкерный болт крепления кронштейна.

4. Вертикальный профиль.

5. Облицовочная плита керамогранита.

6. Скоба (кляммера).

7. Утеплитель.

8. Тарелочный дюбель крепления утеплителя.

9. Паронитовая прокладка.

Рис. 3.3. Системы «Интерал» (Т-КВ-ВХ) с облицовкой плитами керамогранита, прикрепленными к несущему каркасу кляммерами.

1. Основание.

2. Кронштейн «L»-образный.

3. Анкерный болт крепления кронштейна.

4. Вертикальный профиль.

5. Горизонтальный профиль.

6. Кронштейн для скрытого крепления облицовочных плит.

7. Облицовочная плита керамогранита.

8. Утеплитель.

9. Тарелочный дюбель крепления утеплителя.

10. Паронитовая прокладка.

Рис. 3.4. Системы «Интерал» (Т-КС-ВГХ) с облицовкой плитами керамогранита со скрытым креплением.

Рис. 3.5. Система «Интерал», кронштейны.

Рис. 3.6. Система «Интерал», вертикальные профили (поперечное сечение).

Рис. 3.7. Кляммеры (скобы) для крепления плит керамогранита.

а - рядовые (промежуточные); б - крайние

Рис. 3.8. Детали несущего каркаса для скрытого крепления плит керамогранита.

а - горизонтальный профиль; б - кронштейн

1. Основание.

2. Кронштейн (С-образный элемент и флажок).

3. Анкерный болт.

4. Вертикальный профиль.

5. Утеплитель.

6. Экран (алюминиевые листы).

7. Заклепка.

8. Паронитовая прокладка.

Рис. 3.9. Система «Интерал», с облицовкой алюминиевыми листами.

а - вертикальный разрез; б - горизонтальный разрез

1. Основание.

2. Кронштейн L-образный.

3. Анкерный болт.

4. Вертикальный профиль П-образный.

5. Утеплитель.

6. Экран (кассетные панели).

6а. Экран (угловая кассетная панель).

7. Штифт для навески кассетных панелей.

8. Паронитовая прокладка.

9. Заклепка.

Рис. 3.10. Система «Литерал» с облицовкой кассетными панелями.

а - вертикальный разрез; б - горизонтальный разрез

1. Основание.

2. Кронштейн (С-образный элемент и флажок).

3. Анкерный болт.

4. Вертикальный профиль.

5. Утеплитель.

6. Экран (плиты керамогранита).

7. Кляммера.

8. Паронитовая прокладка.

Рис. 3.11. Система «Интерал», с облицовкой плитами керамогранита с открытым креплением.

а - вертикальный разрез; б - горизонтальный разрез

1. Основание.

2. Кронштейн «L»-образный.

3. Анкерный болт.

4. Вертикальный профиль.

5. Горизонтальный профиль.

6. Кронштейн для скрытого крепления плит керамогранита.

7. Плиты керамогранита.

8. Утеплитель.

9. Паронитовая прокладка.

Рис. 3.12. Система «Интерал» с облицовкой плитами керамогранита со скрытыми креплением.

а - вертикальный разрез; б - горизонтальный разрез

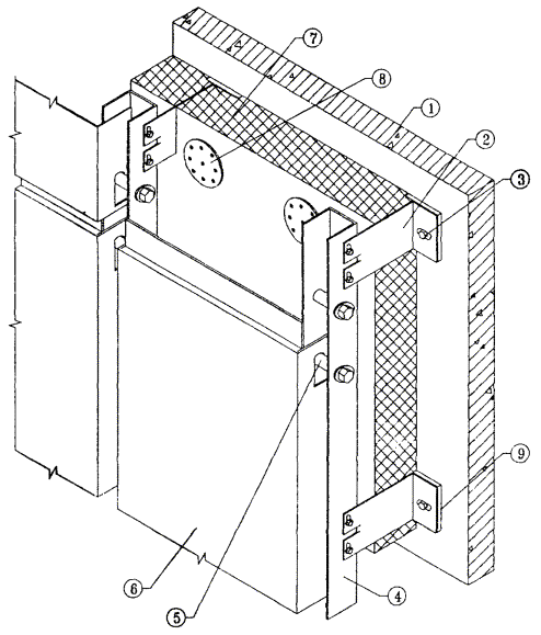
1. Основание.

2. Кронштейн угловой

3. Анкерный болт.

4. Вертикальный профиль.

5. Облицовочный материал.

6. Утеплитель.

7. Паронитовая прокладка.

8. Заклепка вытяжная.

Рис. 3.13. Конструкция системы у наружного угла здания, горизонтальный разрез.

1. Основание.

2. Кронштейн (С-образный с флажком).

3. Анкерный болт.

4. Вертикальный профиль.

5. Облицовочный материал.

6. Утеплитель.

7. Кронштейн специальный.

8. Верхний откос из металлического листа.

9. Заклепка вытяжная.

10. Коробка оконного блока.

11. Пеноутеплитель.

12. Штукатурка.

Рис. 3.14. Конструкция системы у верха оконного проема, вертикальный разрез.

1. Основание.

2. Кронштейн (С-образный с флажком).

3. Анкерный болт.

4. Вертикальный профиль.

5. Облицовочный материал.

6. Утеплитель.

7. Кронштейн специальный.

8. Заклепка вытяжная.

9. Покрытие парапета.

Рис. 3.15. Конструкция системы у верха парапета, вертикальный разрез.

4. ИСХОДНЫЕ ДАННЫЕ ДЛЯ ПРОЕКТИРОВАНИЯ СИСТЕМЫ

4.1. Проектно-сметная документация на систему для конкретного объекта разрабатывается на основе задания на проектирование, подготовленного в соответствии с существующим в г. Москве порядком и утвержденного заказчиком. Задание на проектирование обязательно должно содержать требование о соответствии системы II этапу СНиП II-3-79* и МГСН 2.01-99.

4.2. Задание на проектирование должно включать следующие исходные данные:

- архитектурные чертежи фасадов здания, включающие данные о фактуре и цвете облицовочных материалов, чертежи архитектурных деталей (карнизов, обрамления проемов и т.п.) и другие необходимые данные, если это не входит в состав работ по данному заданию;

- строительные чертежи наружных стен от фундаментов до парапетов, включая узлы, поясняющие решение и размеры всех конструкций;

- данные от разработчиков фундаментов о величине допустимой дополнительной нагрузки на стены здания или заключение компетентной организации о несущей способности фундаментов здания;

- план участка, где расположено здание.

Для реконструируемых зданий задание на проектирование дополнительно должно содержать акт обследования наружных стен здания, где указывается состояние поверхности фасадов, результаты испытаний на усилия, с которым принятые дюбели можно вырвать из стены и геодезическую съемку поверхностей фасадов с данными о величине отклонений их отдельных участков от вертикальной плоскости.

4.3. К заданию на проектирование должно быть приложено Приложение к Техническому свидетельству Госстроя России на эту фасадную систему.

5. ОПРЕДЕЛЕНИЕ ОСНОВНЫХ ПАРАМЕТРОВ СИСТЕМЫ

5.1. К основным параметрам системы следует отнести:

- тип и размер облицовочных материалов и способ их крепления к несущему каркасу;

- характеристику принятых плит утеплителя: марку, размеры, плотность, теплопроводность, наличие или отсутствие защитного слоя;

- величину воздушного зазора;

- схему размещения на фасаде здания кронштейнов и вертикальных профилей со всеми необходимыми размерами, в том числе, расстояние от основания до экрана;

- марку дюбелей для крепления кронштейнов несущего каркаса к основанию;

- марку дюбелей для крепления плит утеплителя к основанию.

5.2. Тип и размер облицовочных плит, их цвет, фактуру поверхности и способ крепления к несущему каркасу, определяет главный архитектор проекта, если эти данные не приведены в задании на проектирование системы.

5.3. Выбор плит утеплителя выполняется на основании теплотехнических расчетов, методика которых приводится ниже. Там же (в разделе «Теплотехнические расчеты») имеются рекомендации по определению величины воздушного зазора.

В случае применения плит утеплителя с кашированной поверхностью можно обойтись без гидроветрозащитной мембраны.

5.4. Схема размещения на фасаде здания элементов несущего каркаса разрабатывается, исходя из следующих данных:

- размеров по ширине облицовочных плит, вертикальный шов между которыми должен располагаться в центре вертикального профиля;

- геометрии фасада здания, размещении на фасаде проемов, балконов, карнизов и других отступающих (выступающих) от плоскости фасада элементов для минимизации применения облицовочных плит с нестандартными размерами;

- результатов прочностных расчетов системы, благодаря которым, в том числе, уточняется шаг по вертикали установки кронштейнов;

- расстояния от основания до экрана, принятого на основании теплотехнических расчетов, при этом следует учитывать величину фактических отклонений фасада от проектного положения.

5.5. Марку дюбелей для крепления кронштейнов и утеплителя выбирают с учетом результатов прочностных расчетов системы, материала основания, паспортных данных рассматриваемых дюбелей и результатов испытаний принятых дюбелей на выдергивание.

6. ПРОЧНОСТНЫЕ РАСЧЕТЫ

6.1. Методические предпосылки

Прочностные расчеты включают проверку прочности и деформаций металлических профилей, анкерных болтов и стержней, несущих нагрузки от их собственной массы, массы облицовочных плит, утеплителя и от давления ветра, стыковых соединений профилей между собой, их креплений к основным несущим конструкциям здания. Нагрузку от собственной массы профилей в случаях, когда она относительно мала, возможно не учитывать.

Физико-механические характеристики материалов профилей, их соединений и крепежных элементов следует принимать по СНиП |3, 4|.

Нагрузки от собственной массы облицовочных плит и утеплителя принимаются по техническим условиям или паспортным данным предприятий-изготовителей. Временные нагрузки от ветра принимаются по СНиП |2|, в данном случае для I ветрового района г. Москвы. Кроме того, учитываются дополнительные коэффициенты к ветровым нагрузкам в соответствии с письмом ЦНИИСКа № 1-945 от 14.11.2001 г. (см. Приложение).

Усилия: изгибающие моменты, поперечные и продольные силы; прогибы определяются с использованием основных положений сопротивления материалов и строительной механики. Коэффициенты надежности по нагрузкам gf, а также единый коэффициент надежности по ответственности уп = 0,95 принимаются по СНиП |2|.

При проверке прочности и деформаций элементов и стыковых соединений формулы СНиП |3, 4| трансформируются по форме к условиям примеров.

Подробно методика расчета проиллюстрирована в приводимом ниже примере (п. 6.4). В примере исходные параметры даны для конкретных материалов и конструкций (п. 6.2). В то же время приведенная методика, где все расчетные формулы даются как в буквенном, так и в числовом выражениях со ссылками на нормативные источники, может быть использована и для других вариантов и сочетаний материалов и конструктивных решений.

6.2. Характеристики материалов

Расчетные сопротивления несущих профилей и заклепок, изготовленных из алюминиевых сплавов марок АД31Т1, АМг2М и АМг2Н2, согласно |3| (МПа): профилей: на растяжение, сжатие и изгиб R = 120; на сдвиг Rs = 75; на смятие Rlp = 90; модуль упругости Е = 7·104; соединений на заклепках: на срез Rrs = 70; на смятие Rrp = 110; Коэффициент условий работы gс = 1.

Расчетные сопротивления стальных болтов по |4| (МПа): на растяжение Rвt = 170; на срез Rвs = 150. Коэффициент условий работы gв = 0,8.

Тип, конструкция и допускаемое усилие на 1 болт с дюбелем подбираются по каталогам фирм с учетом материала и состояния стены.

Утеплитель - минераловатные плиты «Венти-Баттс» плотностью g = 110 кг/м3, толщиной δ = 150 мм. Прочность на сжатие утеплителя «Венти-Баттс» при 10 % деформации 0,02 МПа.

6.3. Расчетные схемы

Направления координатных осей приняты:

ось х - горизонтальная в плоскости стены;

ось у - горизонтальная по нормали к стене;

ось z - вертикальная в плоскости стены.

Расчетная схема вертикальных профилей - двухпролетная, неразрезная балка, неподвижно закрепленная на верхней опоре и подвижно в направлении z - на остальных опорах (рис. 6.1).

Пролеты в направлении оси «z» соответствуют шагам кронштейнов.

К вертикальным профилям прикладывается вертикальная нагрузка от собственного веса и веса облицовочных плит с эксцентрицитетом относительно заклепочного соединения еу3 = 50 мм и относительно стены (расстояние между заклепками и стеной) еус= 160 мм и горизонтальная ветровая нагрузка.

Расчетная схема фиксирующих флажков - стойки двухпролетной рамы (рис. 6.1), ригелем которой является вертикальный профиль, а опорами - кронштейны. Длина флажков диктуется толщиной слоя утеплителя и воздушного зазора. К флажку прикладывается вертикальная нагрузка от профиля с облицовкой и горизонтальная ветровая нагрузка (рис. 6.2). Через флажок эти нагрузки передаются на кронштейны.

Рис. 6.1. Расчетные схемы вертикального профиля.

а - на вертикальные нагрузки; б - на ветровые нагрузки.

Рис. 6.2. Расчетная схема флажка.

а - геометрия; б - схема нагрузок и усилия в опорном сечении 0-0; в - то же в верхнем выступе.

Рис. 6.3. Расчетная схема кронштейна.

а - схема нагрузок; б - эпюра моментов; в - эпюра поперечных сил.

Расчетная схема кронштейна - консоль с вылетом lу (рис. 6.3), диктуемым толщиной слоя утеплителя и конструкцией соединения с флажком. На кронштейны через вертикальные профили-флажки передаются вертикальные и горизонтальные (ветровые) нагрузки.

Расчетная схема распорных стержней для крепления утеплителя - консоль с вылетом lу = δут.

Заклепочные и болтовые соединения между профилями и со стеной, анкеровка в стене, рассчитываются на действие усилий среза от вертикальных нагрузок, растяжения, изгиба и вырыва от совместного действия вертикальной и горизонтальной нагрузок.

6.4. Пример расчета

6.4.1. Исходные данные и нагрузки

В данном примере принят вариант с облицовочными плитами из керамогранита плотностью g = 2500 кг/м3, размеры плит 600 ´ 600 мм, толщина δ = 10 мм. Крепление плит - алюминиевыми профилями с С-образным кронштейном и фиксирующим флажком; толщина вертикальных профилей - 2 мм, флажков и кронштейнов - 3,5 мм.

Шаги вертикальных профилей и кронштейнов вдоль здания lх = 0,3 м, шаги кронштейнов по вертикали lz = 1,2 м.

Крепление кронштейна к стене - одним стальным болтом Æ 10 мм с дюбелем.

Утеплитель - минераловатные плиты - по п. 6.2, крепится к стене независимо от облицовки, стальными распорными стержнями Æ 5 мм с шляпками Æ 80 мм.

Вертикальные нагрузки на единицу поверхности фасада (Н/м2): от веса облицовочных плит: нормативная qzn = 2500·10·10-3·101 = 250; расчетная qz = gf·qzn =1,1·250 = 275; от веса утеплителя - расчетная qут = gf·g·δ = 1,3·110·150·10-3·101 = 215; собственным весом алюминиевых профилей пренебрегается.

Горизонтальные нагрузки от ветрового давления приняты условно для высоты Н = 80 м; нормативное значение ветрового давления для I ветрового района wo = 0,23 кПа; коэффициент «К» для зданий высотой 80 м, тип местности «В», по табл. 6 |2| К = 1,45; аэродинамический коэффициент принимается максимальным - для угловых зон здания С = 2; коэффициент gр = 1,3, учитывающий пульсационную составляющую ветровой нагрузки и коэффициент gm = 1,2 увеличения средней величины ветрового давления при расчете узлов крепления (gр и gm - по рекомендации ЦНИИСК, как дополнение к СНиП |2|).

Нормативная ветровая нагрузка для элементов конструкций qyn = wn = 0,23·1,45·|-2|·1,3 = 0,867 кПа = 867 Н/м2; то же для узлов креплений qyn = 867·1,2 = 1040 Н/м2. Расчетная нагрузка при коэффициенте надежности по нагрузке gf = 1,4 |2|: для элементов qy = 1,4·867 = 1214 Н/м2, для узлов qy = 1,4·1040 = 1456 Н/м2.

Далее расчет профилей и их креплений производится лишь для участков около углов здания. При этом для средних зон фасада образуется запас прочности подконструкций. Во избежание перерасхода материалов при необходимости могут быть увеличены шаги кронштейнов в одном или в обоих направлениях с соответствующим перерасчетом прочности и жесткости несущих элементов и их креплений.

Расчет для средних зон фасада отличается величиной аэродинамического коэффициента С = 0,8 и определением коэффициента gр по формуле (8) СНиП |2|.

6.4.2. Расчет вертикального профиля

Геометрические характеристики

Для поперечного сечения профиля с отверстием Æ 5 мм: δ = 2 мм; А = = 260 мм2; Аn = 250 мм2; J = 55993 мм4; Jn = 46839 мм4; Wn = 1142 мм3; t = δ = 2 мм; So = 1371 мм3.

Определение усилий

Нагрузки на 1 м профиля (Н/м):

- вертикальные от плит: нормативная рzn = qzn·lх = 250·0,3 = 75; расчетная рz = qz·lx = 275·0,3 = 82,5;

- горизонтальные от ветра: для элементов нормативная ру1n = qyn·lx = 867·0,3 = 260; расчетная ру1 = qу·lx = 1214·0,3= 364; для узлов крепления ру2n = gm·ру1n = 260·1,2 = 312; ру2 = ру1·gm = 364·1,2 = 437.

Изгибающие моменты в плоскости, перпендикулярной стене (Н·м):

- от вертикальной расчетной нагрузки: относительно заклепочного соединения М1З = Ктабл.·рz·lz·еуЗ = 0,5·82,5·1,2·0,05 = 2,5; относительно стены М1с = рz·lz·еус = 82,5·1,2·0,16 = 15,8;

- от ветровой нагрузки: нормативной М2n = Ктабл.·рyn·lz2 = 0,125·260·1,22 = 46,8; расчетной М2 = 0,125·364·1,22 = 65,6.

Продольное усилие Nz = рz·(2lz) = 82,5·(2·1,2) = 198 Н.

Поперечная сила для элементов: Qу1 = ру·lz/2 + М2/lz = 364·1,2/2 + 65,6/1,2 = 273 Н; для узлов креплений Qу2 = Qу1·gm = 273·1,2 = 328 Н.

Проверка прочности профиля на растяжение с изгибом

По формуле (29) |3|

 = 72,1 МПа < 120·1 = 120 МПа;

прочность на растяжение с изгибом обеспечивается.

Проверка профиля на сдвиг (срез)

По формуле (21) |3|

·0,95 = 3,8 МПа < 75·1 = 75 МПа;

прочность на сдвиг (срез) обеспечивается.

Проверка прочности крепления профиля к флажку

Крепление производится двумя алюминиевыми заклепками d = 4,8 мм, площадью сечения A = 18,1 мм2.

Усилия среза в одной заклепке (Н): от вертикальной нагрузки Q1 = Nz/2 = 198/2 = 99; от изгибающего момента Q2 = М13/z = 2,5·103/45 = 56; от горизонтальной нагрузки Q3 = Qy2/2 = 328/2 = 164; суммарные: Qz = Q1 = 99; Qy = Q2 + Q3 = 56 + 164 = 220.

По формулам (73), (74) |3|: на срез

;

·0,95 = 12,7 МПа < 70 МПа;

на смятие

;

·0,95 = 23,9 МПа < 110 МПа.

прочность заклепочного соединения на срез и смятие обеспечивается.

Проверка жесткости вертикального профиля

Проверяется прогиб в направлении оси «у», т.е. по нормали к стене, от действия нормативной ветровой нагрузки руn = 260 Н/м, с изгибающим моментом на средней опоре М2n = 46,8 Нм.

По формулам строительной механики

 =

=  = 0,68 мм;

f/l = 0,68/1200 = 1/1765, что меньше предельно допустимой величины [f/l] = 1/200, жесткость профиля достаточна.

6.4.3. Расчет флажка

Геометрические характеристики

1) опорного поперечного сечения (с учетом двух вырезов) h = 30 мм; lк = 130 мм; δ = 3,5 мм; An = 30·3,5 = 105 мм2; Wn = 3,5·302/6 = 525 мм3; Jn = 3,5·303/12 = 7875 мм4; Sn = 3,5·152/2 = 394 мм3;

2) вертикальных выступов: h = 10 мм; lk = 10 мм; δ = 3,5 мм; A = 10·3,5 = 35 мм2; W = 3,5·102/6 = 58 мм3; J = 3,5·103/12 = 292 мм4; δ = 3,5·52/2 = 44 мм3.

Усилия

От вертикальной нагрузки, передаваемой вертикальным профилем Nz = 198 H; от горизонтальной нагрузки: для элементов Nу1 = ру1·lz = 364·1,2 = 437 H; для узлов соединений Nу2 = рy2·lz = Ny1·1,2 = 437·1,2 = 525 Н. Продольное растягивающее усилие Nу = 437 и 525 Н, поперечная сила Qz = Nz = 198 Н.

Проверка прочности опорного сечения на растяжение с изгибом и сдвиг (срез)

Плечо вертикальной нагрузки относительно расчетного сечения lу = 130 мм. Изгибающий момент М = Ктабл.·Nz·ly = 0,5·198·0,13 = 12,9 Нм.

По формуле (29) |3| на растяжение с изгибом (см. п. 6.4.2)

·0,95 = 27,3 МПа < 120·1 = 120 МПа;

прочность опорного сечения на растяжение с изгибом обеспечивается.

По формуле (21) |3|

tz = ·0,95 = 2,7 МПа < 75·1 = 75 МПа;

прочность опорного сечения на сдвиг (срез) обеспечивается.

Проверка прочности вертикальных выступов на изгиб и сдвиг (срез)

Плечо горизонтального усилия в верхнем выступе lz = 10 мм; плечо внутренней пары z = 45 мм.

Горизонтальное усилие в верхнем выступе: от вертикальной нагрузки Nу,1 = Му/z = 12,9·103/45 = 287 Н; от горизонтальной (ветровой) нагрузки Nу,2 = Ny/2 = 437/2 = 219 Н; суммарное Nу = Nу,1 + Ny,2 = 287 + 219 = 506 H.

Изгибающий момент в основании выступа М = Nу lz = 506·10·10-3 = 5,06 Нм; поперечная сила Qу = Nу = 506 H.

По формулам, аналогичным с опорным сечением:

на изгиб gn = ·0,95 = 82,9 МПа < 120 МПа;

на сдвиг (срез) ·0,95 = 20,7 МПа < 75 МПа;

прочность выступа на изгиб и сдвиг (срез) обеспечивается.

6.4.4. Расчет кронштейна

Геометрические характеристики приопорных сечений (см. рис. 6.3)

в = 50 мм; t = δ = 3,5 мм; A = в·δ = 50·3,5 = 175 мм2; J = 50·3,53/12 = 179 мм4; W = 50·3,52/6 = 102 мм3; S = 50·1,752/2 = 77 мм3.

Усилия

Вертикальное расчетное усилие, передаваемое флажком Nz = 198 Н с плечом еу = 0,03 м. Горизонтальное расчетное усилие на одну ветвь кронштейна Ny(1) = 437/2 = 219 Н с эксцентриситетом еz = 0,01 м.

Изгибающий момент в ветви: М = Nz·еу + Ny(1)·еz = 198·0,03 + 219·0,01 = 8,1 Нм; максимальная поперечная сила Qz = Nz = 198 Н; продольная сила в ветви Nу(1) = 219 Н.

Проверка прочности приопорных сечений кронштейна на растяжение (сжатие) с изгибом

По формуле (29) |3| ;

·0,95 = 76,6 МПа < 120 МПа;

прочность на растяжение (сжатие) с изгибом обеспечивается.

Проверка прочности кронштейна на сдвиг (срез)

По формуле (21) |3|  от вертикальной нагрузки:

tz = ·0,95 = 23,2 МПа < 75 МПа;

прочность на сдвиг (срез) обеспечивается.

Проверка прочности в вырезах кронштейна на смятие

Площадь смятия Авр = 3,5·3,5 = 12,25 мм2: усилие Nвр = Ny(1) = 219 H.

Напряжения смятия

·0,95 = 17 МПа < Rвр = 90 МПа;

прочность на смятие в вырезах обеспечивается.

6.4.5. Расчет крепления кронштейна к стене

Крепление производится одним стальным болтом Æ 12 мм с расчетным диаметром 9,7 мм и расчетной площадью сечения Аn = 73,9 мм2; Wn = pr3/4 = 0,785·4,853 = 89,6 мм3. Расчетные сопротивления - по п. 6.2.

Изгибающий момент в болте М = Nz·ey = 198·0,03 = 5,9 Нм; поперечная сила Qz = Nz,1 = 198 Н; продольная сила Nу = Ny,2 = 525 Н.

По формуле (50) |4| ;

·0,95 = 69,3 МПа < 170·0,8 = 136 МПа;

прочность болтов на растяжение с изгибом обеспечивается.

По формуле (127) |4|: Qz·gn £ Rвs·gв·Аn = Nв;

198·0,95 = 188 Н < 150·0,8·73,9 = 8868 Н;

прочность болтов на срез обеспечивается.

6.4.6. Расчет крепления утеплителя

На 1 м2 стены принимается 4 распорных стержня: на 1 стержень с расчетной площадью сечения А = 19,6 мм2, приходится Aут.1 = 0,25 м2.

При диаметре шляпки dш = 80 мм утеплитель может воспринять усилие сжатия не более [N] = Rут·Аш = 0,02·p·802/4 = 100,5 H.

Контроль за ограничением этого усилия осуществляется по величине деформации обжатия утеплителя под шляпкой, которая при δут = 150 мм не должна превышать D = 0,1·150= 15 мм.

Поперечная сила, приходящаяся на 1 стержень от веса утеплителя, Qz = qут·Аут = 215·0,25 = 53,8 Н.

По формуле (127) |4|: Qz·уn = 53,8·0,95 = 51,1 Н < 150·0,8·19,6 = 2352 Н; прочность стержней на срез обеспечивается.

7. ТЕПЛОТЕХНИЧЕСКИЕ РАСЧЕТЫ

7.1. Введение

В настоящем разделе анализируются принципы теплотехнического проектирования систем наружных стен «Интерал» с вентилируемыми воздушными прослойками между экраном и теплоизоляционным слоем, приводятся рекомендации по различным техническим параметрам.

Принципы теплотехнического проектирования включают методы теплотехнических расчетов, расчеты воздухообмена и влагообмена в воздушных прослойках.

Методика теплотехнических расчетов базируется на требованиях СНиП II-3-79* [5] и МГСН 2.01-99 [10].

7.2. Основные, используемые в тексте, понятия

Воздушная прослойка между утеплителем и экраном, вентилируемая наружным воздухом; швы, зазоры - приточные (воздухозаборные) и вытяжные (воздуховыводящие) отверстия. Путями прохождения наружного воздуха могут являться в основном горизонтальные стыковые швы элементов экрана, поскольку вертикальные, как правило, закрыты.

Условное сопротивление паропроницанию - приведенное, учитывающее сопротивление паропроницанию материалов экрана с учетом швов между облицовочными панелями.

7.3. Основные положения по проектированию фасадных систем наружных стен с вентилируемой воздушной прослойкой

При проектировании зданий с вентилируемыми фасадами системы «Интерал» следует учитывать особенности экранируемых стен.

Минимальный размер швов* для притока воздуха рекомендуется 10 мм (при размерах плит экрана 1200 ´ 600 мм) для Москвы.

Общая толщина воздушной прослойки принимается, как правило, 60 мм для Москвы.

Площадь отверстий щели* для вытяжки воздуха не должно быть менее сечения отверстий щели для притока.

* - то же, что швы-зазоры.

7.4. Правила теплотехнического проектирования наружных ограждений с вентилируемым фасадом

Теплотехническое проектирование наружных стен с вентилируемыми фасадами системы «Интерал» включает в себя два этапа. Причем второй этап применяется, если после первого этапа расчетов не выявится надежность рассматриваемой конструкции в теплотехническом отношении.

Первый этап

Назначается конструктивное решение стены, в т.ч. параметры экранов, приточных и выводных щелей с учетом раздела 7.3.

Выполняется теплотехнический расчет наружной стены с экраном, т.е. определяется необходимая толщина теплоизоляции, исходя из требований 2-ого этапа СНиП II-3-79* (98) [5] и с учетом требований МГСН 2.01-99 [10].

Выполняется расчет влажностного режима стены по методике СНиП II-3-79* (98) [4] с учетом коэффициента паропроницаемости по глади экрана.

Проверяется расчетом упругость водяного пара на выходе из воздушной прослойки по формуле (18) с учетом параметров стены при расходе воздуха равном нулю, если требования СНиП II-3-79* (98) будут выполнены.

Если влажностный режим стены удовлетворяет требованиям норм строительной теплотехники СНиП II-3-79* (98) [5], то на этом теплотехническое проектирование заканчивается.

Если влажностный режим экранированных стен не удовлетворяет требованиям, то подбирается такой размер швов и экрана, чтобы с ними конструкция стены удовлетворяла требованиям СНиП [5].

Если расчет влажностного режима наружного ограждения с вентилируемым фасадом показал невыполнение требований СНиП II-3-79* (98) [5], а другой материал стены и экрана подобрать нельзя, то переходят ко второму этапу теплотехнического проектирования.

1) Определяется условное сопротивление паропроницанию экрана с учетом швов по методике раздела 7.6.6.

2) С учетом этого показателя проводят расчет влажностного режима по методике СНиП II-3-79* (98 г.).

3) При необходимости определяется влажностный режим рассматриваемой конструкции в годовом цикле с учетом средних месячных температур.

4) С учетом результатов расчета по п. 2, 3 анализируются результаты, при необходимости корректируются материалы и их толщины в конструкции с целью исключения влагонакопления в годовом цикле. В основном, проведенных упомянутых расчетов для определения применимости конструкции, бывает достаточно. В других случаях расчет может быть продолжен в следующей последовательности.

4.1) С учетом этажности здания и района строительства определяется скорость движения воздуха в прослойке за экраном и расход воздуха.

Для выполнения п. 5 определяется термическое сопротивление воздушной прослойки по формуле (16).

4.2) Определяется температура на выходе из воздушной прослойки.

4.3) Определяется действительная упругость водяного пара на выходе из прослойки еу по формуле (18). Определяется упругость водяного пара на выходе из прослойки и проверяется условие еу < Ен, где Ен - максимальная упругость водяного пара на выходе из прослойки. Анализируются результаты расчетов и корректируется конструкция стены.

7.5. Краткая характеристика объекта и нормативные требования

Для расчета принято многоэтажное (6-ти этажное) жилое здание, расположенное в г. Москве.

Наружные стены двух вариантов: с внутренним слоем из монолитного железобетона gо = 2500 кг/м3, толщиной 0,18 м (λБ = 2,04) и кирпича, толщиной 0,51 м (λБ = 0,58 Вт/м °С).

Снаружи внутреннего слоя располагается утеплитель - базальтовая минвата, толщиной, определяемой расчетом с λ = 0,045 [10], воздушная прослойка толщиной 0,06 м и панель - экран системы «Интерал», толщиной 0,0012 м. Высота экрана принята 1,2 м, ширина 0,6 м.

Система является многослойной конструкцией, состоящей из несущего каркаса, утепляющего слоя, экранов, ряда монтажных профилей для устройства оконных откосов, сливов обрамления панелей, углов и т.п.

Основанием для системы являются несущие конструкции наружных стен зданий и сооружений из различных материалов: кирпича, монолитного и сборного бетона и др. В расчетах приняты кирпич и железобетон.

В системе слой наружной облицовки фасада установлен с воздушным зазором относительно расположенного за ним основания или плит утеплителя, закрепленного на основании.

Облицовочный слой - экран системы выполняется из алюминиевых листов или плит керамогранита. Толщина алюминиевых экранов принята 1,2 мм.

В качестве утеплителя принимаются базальтовые минераловатные плиты «Венти-Баттс».

Толщина воздушной прослойки δпр может в расчете варьироваться. Назначаем ее первоначальную толщину в соответствии с МГСН 2.01-99 δпр = 60 мм [10].

Прослойка за экраном вентилируется. В нижней части конструкции приточная щель, а в верхней - условно-вытяжная. Площадь выходных щелей принимается равной не менее площади входных.

Требования к теплотехническим характеристикам конструкций содержатся в СНиП II-3-79* [5] и МГСН 2,01-99 [10].

Требования к сопротивлению теплопередаче конструкций приведены в [5], исходя из санитарно-гигиенических и комфортных условий и условий энергосбережения. Так как требования из условия энергосбережения являются более жесткими, они и приняты в настоящей работе в качестве критерия оценки системы.

Согласно [5] требования по второму этапу нужно принимать для зданий, строительство которых начинается с 1 января 2000 года.

На основе [5 и 10] составлена таблица 1 исходных расчетных данных, где представлены требуемые сопротивления теплопередаче наружных стен жилых домов.

Таблица 1.

Значения нормативных требований к наружным ограждениям жилых зданий

№ пп

Название нормативного документа

Требуемое сопротивление теплопередаче наружных стен

ГСОП

Город

1

2

3

4

5

1.

СНиП 23.01-99 [5], СНиП II-3-79* (98 г.), табл. 1б

3,13

4943

Москва

7.6. Методика теплотехнического расчета наружных стен с вентилируемой воздушной прослойкой

7.6.1. Общие требования

Расчет наружных стен с экраном и вентилируемой воздушной прослойкой основан на расчете теплотехнических характеристик стен и расчета влажностного режима.

Теплотехнический расчет наружных стен с вентилируемой прослойкой в соответствии с настоящим разделом включает в себя:

- подбор толщины теплоизоляционного слоя;

- определение влажностного режима в соответствии с действующими теплотехническими нормами;

- определение параметров воздухообмена в прослойке;

- определение термовлажностного режима прослойки;

- определение условного приведенного сопротивления паропроницанию экранов с учетом швов-зазоров между панелями-экранами.

Таким образом, для стен с вентилируемой воздушной прослойкой производится несколько теплотехнических расчетов: расчет теплового режима стен и прослойки и влажностного режима стены и прослойки.

7.6.2. Определение толщины теплоизоляционного слоя

Методика теплотехнического расчета разработана в соответствии с рядом документов, подготовленных ЦНИИЭП жилища и НИИСФ как авторами СНиП II-3-79* и полностью удовлетворяет нормативным требованиям [5, 10].

В основу конструктивных решений наружных стен при определении приведенных сопротивлений теплопередаче главных фрагментов принимаются толщины утеплителя, рассчитанные по формуле:

                                          (1)

где:

Rоreq (или) Rотрпр - требуемое приведенное сопротивление теплопередаче стен, м2·°С/Вт;

r - коэффициент теплотехнической однородности по табл. 2; 3.

Таблица 2.

Значения r кирпичных утепленных снаружи стен

Толщина, м

Коэффициент r при λ, Вт/м °С

стены (без дополнительного утепления)

утеплителя

0,04

0,05

0,08

0,38

0,1

0,705

0,726

0,73

0,15

0,693

0,713

0,73

0,2

0,68

0,7

0,715

0,51

0,1

0,694

0,714

0,73

0,15

0,682

0,702

0,72

0,2

0,667

0,687

0,702

0,64

0,1

0,685

0,7

0,715

0,15

0,675

0,69

0,705

0,2

0,665

0,68

0,695

Примечания:

1. В таблице даны r для фрагмента с оконным проемом (проемность 25 %).

2. Для получения значений r с учетом глухих участков приведенные в таблице значения умножаются на 1,05.

Таблица 3.

Значения r бетонных утепленных снаружи стен

Толщина, м

Коэффициент r при λ, Вт/м °С

панели (без дополнительного утепления)

утеплителя

0,04

0,05

0,08

0,3

0,05

0,9

0,92

0,95

0,1

0,84

0,87

0,88

0,15

0,81

0,84

0,85

0,35

0,05

0,87

0,9

0,93

0,1

0,8

0,83

0,86

0,15

0,78

0,81

0,83

0,4

0,05

0,82

0,87

0,9

0,1

0,77

0,8

0,83

0,15

0,75

0,78

0,8

0,2

0,74

0,765

0,785

Для проверки правильности принятых толщин утепляющих слоев определяются приведенные сопротивления теплопередаче наружных стен для основных «фрагментов». Каждый рассчитываемый фрагмент делится на отдельные участки, характеризуемые одним или несколькими видами теплопроводных включений.

Средневзвешенное значение приведенного сопротивления теплопередаче слоистых наружных стен определяется (на секцию) по формуле:

                                                            (2)

где:

 - сумма площадей фрагментов наружных стен (k - количество фрагментов стен), м2;

Fi, Rоiпр - соответственно площадь и приведенное сопротивление теплопередаче i-го фрагмента стен, м2·°С/Вт;

*) Rоrcp, то же, что Rопрср и Ror, то же, что Roпр.

Если Rorcp > Roreq**) по табл. 1б СНиП II-3-79* [5], конструкция стены удовлетворяет требованиям теплотехнических норм. Если Rorcp < Roreq пр, то следует либо увеличить толщину утепляющего слоя, либо рассмотреть возможность включения в проект энергосберегающих мероприятий (утепление узлов и т.п.).

Для практических расчетов допускается при определении Roпр (Ror) коэффициент теплотехнической однородности наружных стен с вентилируемой прослойкой применять табл. 3.

Для расчета средневзвешенного значения многослойных наружных стен при наличии в стенах глухих (без проемов) участков может быть также использована формула:

Ror ср = Ror·n                                                                 (3)

где:

n = 1,05 - коэффициент, учитывающий наличие глухих участков в наружных стенах.

7.6.3. Определение влажностного режима наружных стен

Влажностный режим наружных стен может определяться двумя методами. По СНиП II-3-79* (98 г.)*) и исходя из баланса влаги в годовом цикле.

*) В связи с отсутствием данных по паропроницаемости пленки «TYVEK» ее коэффициент паропроницаемости μ принят равным μ утеплителя.

Определение влажностного режима наружных стен в годовом цикле производится в следующей последовательности:

1. Определяются исходные данные для расчета;

2. Определяются сопротивления паропроницанию слоев конструкции наружной стены, параметры внутреннего и наружного воздуха;

3. Определяется приток и отток влаги (пара) к рассматриваемому сечению по формулам:

 и                                       (4)

где

ев, ен - упругость водяного пара внутреннего и наружного воздуха;

еt - то же, в рассматриваемом сечении;

,                                                (5)

Rо п.вн.сл. - сопротивление паропроницанию от внутренней поверхности до границы зоны возможной конденсации (с учетом пограничного слоя);

 - сумма сопротивлений паропроницанию слоев до рассматриваемого сечения;

Rоп - сопротивления паронроницанию всей стены.

По указанным формулам определяется упругость водяного пара еi в характерных сечениях конструкции в годовом цикле.

Если еt окажется больше максимальной упругости водяного пара Е, то в данном сечении может образовываться конденсат.

7.6.4. Определение параметров воздухообмена в прослойке

Движение воздуха в прослойке осуществляется за счет гравитационного (теплового) и ветрового напора. В случае расположения приточных и вытяжных отверстий на разных стенах скорость движения воздуха в прослойках Vпр может определяться по следующим формулам:

,                                         (6)

где кн, кз - аэродинамические коэффициенты на разных стенах здания по СНиП 2.01.07-85 [2];

Vн - скорость движения наружного воздуха;

к - коэффициент учета изменения скорости потока по высоте по СНиП 2.01.07-85;

Н - разности высот от входа воздуха в прослойку до ее выхода из нее;

tср, tн - средняя температура воздуха в прослойке и температура наружного воздуха;

 - сумма коэффициентов местных сопротивлений (определяется сложением аэродинамических сопротивлений).

Другим вариантом определения Vпр служит формула:

;                                      (7)

gн, gпр - плотности наружного воздуха и в прослойке.

Другой вариант определения Vпр по разности давлений воздуха на входе и выходе:

DРD = DРвх - DРвых,

DРвх и DРвых = Н·(gн - gпр) + 0,5·gн·Vн2н - кз)·к,                              (8)

Vпр по формуле:

.                                                         (9)

При расположении воздушной прослойки на одной стороне здания, можно принять кн = кз. В этом случае, если пренебречь изменением скорости ветра по высоте, формула (6) примет вид:

.                                                  (10)

Формула (7) примет вид:

,                                                 (11)

gпр - плотность воздуха в прослойке.

Указанные формулы применены в технической системе. При этом g имеет размерность кг/м3.

В системе СИ в числителе «g» будет отсутствовать, а «g» имеет размерность Н/м3.

Из полученных по указанным формулам скорость движения воздуха корректируется с учетом потерь давления на трение по известным из курса «Вентиляция» методам.

Расход воздуха в прослойке определяется по формуле:

W = Vпр·3600·δпр·gпр,                                                   (12)

где δпр - толщина воздушной прослойки, м; шириной 1 м, или площадь Fпр, м2.

7.6.5. Определение параметров тепловлажностного режима прослойки

Температура входящего в прослойку воздуха tо определяется по формуле:

,                                            (13)

где tв, tн - расчетные температуры внутреннего и наружного воздуха;

m - коэффициент, равный 0,26 в системе СИ и 0,3 - в технической.

Остальные обозначения даны в [17].

Допускается определять температуру воздуха, входящего в прослойку по формуле

tо = n·tн,                                                         (14)

где n = 0,95.

Температура воздуха по длине прослойки определяется по формуле:

,          (15)

где кв и кн - коэффициенты теплопередачи внутренней и наружной частей стены до середины прослойки;

hу - расстояние между стыковыми горизонтальными швами, служащими для поступления (или вытяжки) воздуха.

При определении термического сопротивления прослойки Rпр следует пользоваться формулами:

,                                                       (16)

где aпр = 5,5 + 5,7·Vпр + aл,                                                                                              (17)

где aл - коэффициент лучистого теплообмена;

Св - переводной коэффициент: в технической системе равен 1, а в СИ В = 3,6.

Действительная упругость водяного пара на выходе из прослойки определяется по формуле:

,           (18)

Полученная по данной формуле величина упругости водяного пара на выходе из прослойки еу должна быть меньше максимальной упругости водяного пара Еу.

Если еу > Еу, то необходимо изменить геометрические параметры прослойки стены здания.

В формуле (18) Мв и Мн равны соответственно:

; ,                                               (19)

где:

Rвп и Rпн - сумма сопротивлений паропроницанию от внутренней поверхности до воздушной прослойки и от воздушной прослойки до наружной поверхности;

ев и ен - действительная упругость водяного пара с внутренней стороны стены и снаружи;

ео - упругость водяного пара воздуха, входящего в прослойку;

,                                                             (20)

n - переводной коэффициент.

7.6.6. Методика определения условного приведенного сопротивления паропроницанию с учетом швов-зазоров между панелями экранами

Для расчета используются либо коэффициенты паропроницаемости материалов - экрана по СНиП II-3-79* (98 г.), либо полученные экспериментально.

Расчет приведенного сопротивления паропроницанию экранов с учетом швов-зазоров производится в следующей последовательности:

1) Определяется условное сопротивление паропроницанию в стыковых швах по формуле:

 м2·ч·Па/мг (м2·ч·мм рт. ст.)/г,                       (21)

где В - коэффициент перевода из системы СИ в техническую, равен 7,5; в технической В = 1;

ηш = 6,5 [мг/м2·ч·Па(г/м2·ч·мм рт. ст.)]

 - местные сопротивления проходу воздуха (см. формулу 6);

δэ - толщина экрана, м.

2) Определяется сопротивление паропроницанию плит экрана по его глади по формуле:

,                                                            (22)

где μэ - коэффициент паропроницаемости экрана по СНиП II-3-79* [4].

3) Определяется приведенное условное сопротивление паропроницанию экрана с учетом стыковых швов Rппр по формуле:

,                                                      (23)

 - суммарная расчетная площадь экрана (как правило принимается 1 м2);

Fгл - площадь экрана без швов, м2;

F’ - площадь швов, через которые поступает воздух. Как правило, площадь выходных швов в верхней части экрана не учитывается;

Rп и Rп’ - см. выше.

7.7. Теплотехнический расчет наружных стен с вентилируемым фасадом

Расчет производится для г. Москвы.

1 - раствор;

2 - кирпичная кладка;

3 - минеральная вата;

4 - панель экрана;

5 - воздушная прослойка;

6 - зона возможной конденсации.

Рис. 7.1. Схема наружной стены для расчета влажностного режима.

7.7.1. Расчет толщины теплоизоляции

Толщина теплоизоляции из минваты типа «Фасад-Баттс» для кирпичной (рис. 7.1) стены для г. Москвы равна:

 м.

где:

3,13 - требуемое сопротивление теплопередаче стен для г. Москвы;

0,726 - коэффициент теплотехнической однородности, см. табл. 2 (при проемности 18 %);

0,10 - термическое сопротивление вентилируемой воздушной прослойки.

*) Над чертой толщины слоев, под чертой - коэффициенты теплопроводности [4].

В действительности термическое сопротивление прослойки будет несколько выше - Rвп = 0,11 м2·°С/Вт за счет меньшего коэффициента излучения алюминия с внутренней стороны экрана, что идет в запас теплозащиты:

 м2·°С·ч/Ккал (0,11 м2·°С/Вт),

где aвп - коэффициент теплообмена по формуле (17);

aвп = 5,5 + 5,7 Vпр + aл = 5,5 + 5,7·0,4 + 0,13 = 7,9 Ккал/м2·ч·°С (9,17 Вт/м2·°С);

;

где 4,25; 0,22; 4,9 - коэффициенты излучения, Ккал/м2·ч·°К4;

0,61 - температурный коэффициент;

0,045 - коэффициент теплопроводности минваты в соответствии с сертификатами [19].

Сопротивление теплопередаче по глади наружной стены при толщине утеплителя из минваты 0,15 м:

 м2·°С/Вт.

Приведенное сопротивление теплопередаче:

Roпр = 4,49·0,726 = 3,26 м2·°С/Вт.

Толщина теплоизоляции из базальтовой минваты для бетонной стены для г. Москвы:

 м.

где r = 0,83 в соответствии с табл. 3 (при проемности 18 %).

Сопротивление теплопередаче по глади наружной стены условное:

 м2·°С/Вт.

Приведенное сопротивление теплопередаче:

Roпр = 3,9·0,83 = 3,23 м2·°С/Вт.

Толщина утеплителя может быть скорректирована в соответствии с номенклатурой выпускаемых изделий, что не повлияет на правомочность полученных расчетов и выводов.

7.7.2. Расчет влажностного режима бетонных стен

Выполняется расчет влажностного режима бетонных наружных стен с экраном по СНиП II-3-79* (98) по глухой части без учета стыковых швов для г. Москвы.

Влажностный режим наружных стен характеризуется процессами влагонакопления, зависящими от ряда внешних факторов и физических характеристик, от сопротивления паропроницанию конструкции. Расчетное сопротивление паропроницанию Rп, м2·ч·Па/мг (до плоскости возможной конденсации) должно быть не менее большего из требуемых сопротивлений паропроницанию Rп1тр, из условия недопустимости накопления влаги за год эксплуатации и Rп2тр из условия ограничения влаги в конструкции за период с отрицательными среднемесячными температурами.

Расчет ведется с учетом того, что зона возможной конденсации располагается на внешней границе утеплителя.

В период эксплуатации в зимних условиях температура воздуха tв = 20 °С, а относительная влажность j = 55 %.

Расчетное сопротивление паропроницанию наружной стены до зоны возможной конденсации Rп, м2·ч·Па/мг:

 м2·ч·Па/мг

(В технической системе Rп = 49 м2·ч·мм рт. ст./мг)

Расчетное сопротивление паропроницанию части ограждающей конструкции, Rпн м2·ч·Па/мг, расположенной между наружной поверхностью и плоскостью возможной конденсации равно:

 м2·ч·Па/мг

На экране с внутренней стороны конструкции стены по глухой части экрана в случае отсутствия или малого движения воздуха будет образовываться конденсат. Количественно ориентировочно это можно проиллюстрировать табл. 4, где показано влагонакопление в годовом цикле стены, с экраном, имеющим коэффициент паропроницаемости по глади μ = 0,008 мг/м·ч·Па.

Как видно из табл. 4, при маловлагопроницаемом экране в годовом цикле во всех месяцах упругость водяного пара е больше максимальной упругости водяного пара Е и, следовательно, происходит постоянное влагонакопление в прослойке у экрана, в отдалении от горизонтальных швов при отсутствии движения воздуха в прослойке. Поскольку в районе горизонтальных швов распределение влаги иное, как и при движении воздуха далее в расчетах учитываются эти обстоятельства.

Следующим этапом расчета является учет стыковых швов-зазоров в соответствии со специально разработанной методикой влажностного расчета для вентилируемых фасадов [18].

Условное сопротивление паропроницанию зазоров в горизонтальных стыковых соединениях экранов по формуле (21):

 м2·ч·мм рт. ст./г (0,00011 м2·ч·Па/мг)

где: 0,0012 м - толщина экрана.

Таблица 4.

Распределение влажности в кирпичной стене толщиной δ = 0,51 м, с утеплением минватой и панелью «Полиалпан», воздушной прослойкой (по глади μ = 0,008 мг/м·ч·Па, 0,001 г/м·ч·мм рт. ст.)

Размерность

Индексы

МЕСЯЦЫ

I

II

III

IV

V

VI

VII

VIII

IX

X

XI

XII

°С

tн

-10,2

-9,6

-4,7

4

11,6

15,8

18,1

16,2

10,6

4,2

-2,2

-7,6

°С

tв

20

20

20

20

11,6

15,8

18,1

16,2

10,6

20

20

20

°С

Dt

30,2

29,6

24,7

16

0

0

0

0

0

15,8

22,2

27,6

°С

tп

-9,9

-9,3

-4,4

4,2

 

 

 

 

 

4,4

-2,0

-7,3

 

 

 

 

 

 

 

 

 

 

 

 

 

 

 

 

 

 

 

 

 

 

 

 

 

 

 

 

мм рт. ст.

Еt

1,96

2,07

3,17

6,19

10,24

13,46

15,58

13,81

9,59

6,27

3,88

2,47

 

 

 

 

 

 

 

 

 

 

 

 

 

 

 

 

 

 

 

 

 

 

 

 

 

 

 

 

мм рт. ст.

ен

1,604

1,62

2,41

4,026

5,939

7,941

9,615

9,391

7,001

4,828

3,132

2,0485

мм рт. ст.

ев55

9,647

9,647

9,647

9,647

5,939

7,941

9,615

9,391

7,001

9,647

9,647

9,647

мм рт. ст.

Dе

8,043

8,027

7,237

5,671

-

-

-

-

-

4,819

6,545

7,598

мм рт. ст.

еt

4,54

4,56

5,06

6,06

 

 

 

 

 

6,59

5,53

4,83

 

 

 

 

 

 

 

 

 

 

 

 

 

 

 

 

 

 

 

 

 

 

 

 

 

 

 

 

 

 

 

 

 

 

 

 

 

 

 

 

 

 

Часы

 

744

672

744

720

744

720

744

744

720

744

720

744

ч/м2

Qвн.сл.

1311,8

1167,9

1105,4

570,7

-836,4

 

 

 

 

576,3

952,4

1224,8

ч/м2

Qнар.сл.

105,4

120,3

225

619,9

1450,8

 

 

 

 

426,9

214,3

124,8

ч/м2

DQ

1206,5

1047,6

880,4

-49,0

-2287,2

 

 

 

 

149,4

738,2

1100,0

ч/м2

ΣDQ

3194,0

4241,7

5122,9

5073,1

2285,8

 

 

 

 

149,4

887,6

1987,6

 

 

 

 

 

Конденсат

 

 

 

 

 

 

 

 

 

 

 

 

 

 

 

 

 

 

 

 

 

Сопротивление паропроницанию по глади считается бесконечно большой величиной; тогда формула (23) примет вид:

 м2·ч·мм рт.ст./г (0,0136 м2·ч·Па/мг)

где: 0,0083 м2 - площадь швов на м2 экрана, принимая высоту горизонтального шва 10 мм.

Расчетное сопротивление паропроницанию части ограждающей конструкции Rпн, расположенной между наружной поверхностью и плоскостью возможной конденсации: Rпн = 0,0136 м2·ч·Па/мг (0,102 м2·ч·мм рт. ст/г).

Требуемое сопротивление паропроницанию Rп из условия недопустимости накопления влаги за год эксплуатации:

 м2·ч·Па/мг.

Требуемое сопротивление паропроницанию из условия ограничения влаги в наружной стеновой панели за период с отрицательными температурами наружного воздуха:

 м2·ч·Па/мг.

 м2·ч·Па/мг.

Поскольку Rп1тр и Rп2тр < Rп = 6,53 м2·ч·Па/мг, влажностный режим к зоне швов системы «Интерал» для г. Москвы удовлетворяет требованиям норм строительной теплотехники при расчете по СНиП II-3-79* (98) для бетонной стены.

7.7.3. Определение скорости движения воздуха и упругости водяного пара на выходе из прослойки

Определяется скорость движения воздуха в прослойке при температуре наружного воздуха минус 28 °С. Расчет делается по формулам (10 ÷ 11) при расстоянии между стыковыми швами h = 1,2 м.

Температура входящего в прослойку воздуха по формуле (14):

tx = -28·0,95 = -26,6 °С.

Определяем расход воздуха в прослойке по формуле (12): при толщине прослойки 0,06 м в соответствии с МГСН 2.01-99 [9]:

W = 0,37·3600·1,403·0,06 = 112,3 кг/м·ч,

где: V = 0,37 м/с - скорость движения воздуха в прослойке с учетом сопротивлений прохождению воздуха ξ = 9,2 и трению по формуле (10):

 м/с;

V = 0,12 - 0,12·0,07 = 0,112 м/с.

Расход воздуха в прослойке составит W = 3600·0,112·1,405·0,06 = 34 кг/мч,

где 0,07 - коэффициент, учитывающий трение [8].

Примечание:

В действительности средняя температура воздуха в прослойке будет выше, а скорость и расход воздуха больше, что идет в запас. Данная скорость и расход воздуха характерны в районе горизонтальных швов, если их рассматривать как приточные и вытяжные.

Упругость водяного пара на выходе из прослойки еу при начальной упругости ео = 0,34 мм рт. ст. (в технической системе) по формуле (18) при учете горизонтальных швов:

 мм рт. ст.

где:

Мв =  = 0,020

Мн =  = 9,8

Мв + Мн = 9,82

Мв·ев + Мн·еп = 0,020·9,64 + 9,8·0,29 = 3,03.

еу меньше максимальной упругости водяного пара Е, равной 0,39, следовательно, принятые параметры конструкции удовлетворительные.

Далее выполнен расчет влажностного режима наружной кирпичной стены с экраном, имеющей несколько худшие влажностные характеристики с точки зрения влагонакопления у экрана за счет большей паропроницаемости кирпичной стены по сравнению с бетонной (рис. 7.1).

Без учета горизонтальных швов, т.е. по глухой части экрана при отсутствии движения воздуха будет образовываться конденсат, см. выше.

При учете горизонтальных швов расчет влажностного режима кирпичной стены, утепленной снаружи минеральной ватой, показывает следующее.

Расчетное сопротивление паропроницанию стены до зоны возможной конденсации:

 = 3,91 м2·ч·Па/мг (29,3 м2·ч·мм рт. ст./г)

Расчетное сопротивление паропроницанию части наружной стены, расположенной между наружной поверхностью ее и плоскостью возможной конденсации при учете горизонтальных швов равно:

Rппр = 0,0136 м2·ч·Па/мг (см. выше) (0,102 м2·ч·мм рт. ст./г)

Требуемое сопротивление паропроницанию, Rп1, м2·ч·Па/мг из условия недопустимости накопления влаги за год эксплуатации:

 м2·ч·Па/мг.

Требуемое сопротивление паропроницанию из условия ограничения влаги в стене за период с отрицательными температурами воздуха Rп2тр:

 = 0,346 м2·ч·Па/кг.

 = 906.

Поскольку Rп2тр < Rп, недопустимого влагонакопления в стене в зоне стыковых швов не будет, влажностный режим стены там удовлетворяет требованиям норм строительной теплотехники.

Определяем упругость водяного пара на выходе из прослойки при ее вентиляции для кирпичной стены по формуле (18):

 = 0,335,

где:

Мв =  = 0,034; Мн =  = 9,8

Мв·ев + Мн·еп = 0,034·9,64 + 9,8·0,29 = 3,16.

еу меньше максимальной упругости водяного пара наружного воздуха Е = 0,39 мм рт. ст. Следовательно влажностный режим прослойки и стены при движении воздуха в ней с расходом 34 кг/мч будет удовлетворителен.

Без учета стыковых швов еу= 0,36, что также меньше Е = 0,39.

7.8. Заключение

7.8.1. На основании выполненных теплотехнических расчетов наружных стен фасадной системы «Интерал», определены:

7.8.2. Теплозащитные качества системы

7.8.2.1. Требуемая толщина теплоизоляционных базальтовых минераловатных плит типа «Венти-Баттс» составляет при железобетонной несущей стене 0,16 м; при кирпичной стене 0,15 м. Приведенное сопротивление теплопередаче наружных стен при указанной толщине утеплителя составит: 3,23 - 3,26 м2·°С/Вт. (При проемности 18 %).

7.8.2.2. Влажностный режим системы при указанных в п. 7.8.2.3 параметрах конструкции (см. пп. 7.8.2.2.1 - 7.8.2.2.3):

7.8.2.2.1. При отсутствии движения воздуха в прослойке по глади экранов из алюминия в отдалении от горизонтальных швов-зазоров влажностный режим может быть неудовлетворительный.

7.8.2.2.2. В районе швов-зазоров влажностный режим удовлетворителен:

7.8.2.2.3. При наличии движения воздуха в количестве 34 кг/мч при расчетной разности давлений при указанных в п. 7.8.2.4 параметрах влажностный режим системы удовлетворителен.

7.8.2.3. Параметры системы при которых обеспечиваются указанные в п. 7.8.2.3.1 ÷ 7.8.2.3.3 выводы следующие:

7.8.2.3.1. Высота горизонтального шва между экранами составляет 10 мм.

7.8.2.3.2. Толщина воздушной прослойки между утеплителем и экраном составляет 0,06 м.

7.8.2.3.3. Толщина (ширина) воздухозаборной щели внизу стены составляет 0,06 м (с перфорациями 50 % живого сечения), толщина (ширина) воздуховыводящей щели вверху стены должна быть не меньше воздухозаборной.

8. СОСТАВ ПРОЕКТНО-СМЕТНОЙ ДОКУМЕНТАЦИИ

8.1. Рабочий проект или рабочая документация системы наружных ограждений фасадов с вентилируемым воздушным зазором включает следующие разделы: общую пояснительную записку, архитектурную часть, конструкторскую часть, конструкторскую часть по решению архитектурных деталей, специальные части (водосток, антенны, рекламу и т.п.) и сметы.

8.2. В общей пояснительной записке приводятся следующие данные:

- архитектурная концепция решения фасадов здания и отдельных архитектурных элементов;

- данные о конструктивном решении системы и ее элементов;

- данные о решении специальных устройств на фасаде, если они имеются;

- данные об эффективности энергосбережения принятых технических решений, результаты теплотехнических расчетов;

- экологическая характеристика системы;

- основные технико-экономические показатели системы.

8.3. Архитектурная часть включает чертежи фасадов здания, отдельных архитектурных элементов и узлов. На чертежах приводится цветовое решение фасада и его отдельных элементов.

8.4. Конструкторская часть включает чертежи всех конструктивных элементов системы, с узлами и деталями, а также полную спецификацию всех применяемых материалов и изделий.

8.5. Специальная часть включает чертежи фасадов с привязкой мест размещения специальных устройств, узлы и детали конструкций, крепления этих устройств на фасаде, а также спецификацию оборудования, материалов и изделий, предусмотренных проектом.

8.6. Сметы на устройство системы составляются на основе действующих нормативов, единичных расценок, фактической стоимости оборудования и материалов, а также утвержденных заказчиком калькуляций на отдельные виды работ и элементы конструкций.

9. ТЕХНИКО-ЭКОНОМИЧЕСКИЕ ПОКАЗАТЕЛИ

Стоимость системы для конкретных зданий зависит от многих факторов, в том числе, от размеров здания, архитектурного решения фасадов, оборудования и оснастки, применяемых для монтажа системы, а также от структуры подрядной организации и ее коммерческой политики. В связи с этим конкретная стоимость системы, может колебаться в значительных пределах. Поэтому считаем, что здесь наиболее целесообразно привести прямые затраты, т.е. стоимость отдельных элементов системы и ее монтажа (стоимость монтажа без учета стоимости лесов, люлек и других средств для рядового участка фасада).

Поэлементная стоимость (прямые затраты в $ US) 1 м2 системы для рядового участка фасада с различными облицовочными материалами (на 2002 г.):

С облицовкой плитами керамогранита с открытым креплением:

- стоимость деталей каркаса                                        - 24

- стоимость утеплителя толщиной 150 мм                 - 15

- стоимость облицовочного материала                      - 26

- стоимость монтажа                                                    - 20

Итого                                                                              - 85

С облицовкой плитами керамогранита со скрытым креплением:

- стоимость деталей каркаса                                        - 36

- стоимость утеплителя толщиной 150 мм                 - 15

- стоимость облицовочного материала                      - 44

- стоимость монтажа                                                    - 30

Итого                                                                              - 125

С облицовкой кассетными панелями из композитного листового материала:

- стоимость деталей каркаса                                        - 21

- стоимость утеплителя толщиной 150 мм                 - 15

- стоимость облицовочного материала                      - 59

- стоимость монтажа                                                    - 30

Итого                                                                              - 125

Данные о стоимости элементов системы представлены ее разработчиком ООО «ИнтерАЛ Инжиниринг».

10. ОСНОВНЫЕ ПОЛОЖЕНИЯ ПО ПРОИЗВОДСТВУ РАБОТ И СИСТЕМЕ КОНТРОЛЯ КАЧЕСТВА

10.1. Для выполнения работ по монтажу системы здание разбивается на захватки и определяется порядок и последовательность перемещения монтажников с одной захватки на другую.

10.2. Величина захваток и их количество в каждом случае определяются с учетом многих факторов, в том числе размеров фасадов здания, величины бригады монтажников, оснащения строительной организации оборудованием и оснасткой, условиями комплектации строительства материалами, изделиями и др. Захваткой может быть вся высота фасада, а можно фасад по высоте разделить на несколько захваток, учитывая наличие промежуточных карнизов, поясков и другие факторы. Также в горизонтальном направлении захваткой может быть весь фасад, только одна секция или может быть принят какой-либо другой способ деления фасада на захватки. Разбивка фасадов здания на захватки и выбор средств для работы монтажников на высоте (подмости, люльки, подъемные платформы и т.п.) выполняется в проекте организации строительства или в технологических картах.

10.3. При монтаже системы на реконструируемых зданиях работы начинаются с очистки фасада от несвязанных с основанием элементов, таких как отслоившиеся штукатурка, краска и т.п. Кроме того, фасад надо освободить (демонтировать) от специальных устройств: водостоков, различных кронштейнов, антенн, вывесок и др.

10.4. Монтаж системы начинается с разметки фасада установки маяков, по которой будут устанавливаться и крепиться к основанию кронштейны и вертикальные профили. Разметка выполняется с помощью геодезических приборов, уровня и отвеса. Установка и крепление кронштейнов и вертикальных профилей в пределах захватки может производиться снизу вверх и наоборот в зависимости от решений, принятых в ПОС.

10.5. После разметки фасада в нем сверлятся отверстия под дюбели для крепления кронштейнов к основанию посредством анкерных болтов. Для снижения теплопередачи в месте примыкания кронштейна к основанию между ними на анкерный болт одевается паронитовая прокладка.

В случаях, когда основанием является кирпичная кладка, нельзя устанавливать дюбели в швы кладки, при этом, расстояние от центра дюбеля до ложкового шва должно быть не менее 25 мм, а от тычкового - 60 мм. Минимальное расстояние от края конструкции до дюбеля оговаривается специальными рекомендациями фирмы-изготовителя дюбелей.

Категорически запрещается сверлить отверстия для дюбелей в пустотелых кирпичах или блоках с помощью перфоратора.

10.6. На кронштейны устанавливаются и крепятся к ним вертикальные профили, которые являются базой для устройства отделочного слоя фасада в пределах проектных допусков. Поэтому установка каждого профиля, его положение в вертикальной плоскости проверяется соответствующими приборами: теодолитом, отвесом и др. Крепление профиля к кронштейну производится заклепками или винтами.

10.7. К началу монтажа плит утеплителя захватка, на которой производятся работы, должна быть укрыта от попадания влаги на стену и плиты утеплителя.

Исключением могут быть случаи, когда монтажники не покидают рабочие места до тех пор, пока все смонтированные плиты не закроют, предусмотренной проектом, ветровлагозащитной пленкой.

10.8. Монтаж плит утеплителем начинается с нижнего ряда, который устанавливается на стартовый профиль, цоколь или другую соответствующую конструкцию, и ведется снизу вверх. Если плиты утеплителя устанавливаются в 2 ряда, следует обеспечить перевязку швов. Плиты утеплителя должны устанавливаться плотно друг к другу так, чтобы в швах не было пустот. Если избежать пустот не удается, они должны быть тщательно заделаны тем же материалом. Вся стена (за исключением проемов) непрерывно по всей поверхности должна быть покрыта утеплителем, установленной проектом толщины. Крепление плит утеплителя к основанию производится пластмассовыми дюбелями тарельчатого типа с распорными стержнями. В случае применения ветровлагозащитной пленки, установленные плиты утеплителя сначала крепятся к основанию только двумя дюбелями каждая плита и только после укрытия нескольких рядов пленкой устанавливаются остальные, предусмотренные проектом, дюбели. Полотнища пленки устанавливаются с перехлестом 100 мм.

10.9. Монтаж облицовочных плит преимущественно начинают с нижнего ряда и ведут снизу вверх. Крепление облицовочных материалов к вертикальным профилям изложено в п. 3.6. Одновременно производится облицовка оконных проемов и других элементов фасада. Во время монтажа отделочных материалов следует следить за тем, чтобы воздушный зазор позади них был чист и без каких-либо посторонних включений.

10.10. В процессе монтажа элементов системы должен выполняться пооперационный контроль качества работ и составляться акты на скрытые работы. Это должно выполняться в соответствии с действующей в подрядной организации «Системой управления контролем качества продукции», где указано, какие параметры и технологические процессы контролируются и лица, ответственные за выполнение этой работы. В составе комиссии, подписывающей акты на скрытые работы, должны быть лица (представители проектной организации), выполняющие авторский надзор.

10.11. Работы по монтажу системы могут выполнять организации, специалисты которых прошли обучение и имеют лицензию на право выполнения указанных работ от ООО «Интерал».

10.12. Все работы должны выполняться под контролем лица, ответственного за безопасное производство работ и в соответствии с требованиями СНиП 12-03-99 «Безопасность труда в строительстве. Общие требования» и СНиП III-4-80 «Техника безопасности в строительстве».

11. ПРАВИЛА ЭКСПЛУАТАЦИИ СИСТЕМЫ

11.1. В процессе строительства и эксплуатации здания не допускается крепить непосредственно к облицовочным материалам любые детали и устройства.

11.2. Не следует допускать возможность попадания воды с крыши здания на облицовочные материалы, для чего надо содержать желоба на крыше и водостоки в рабочем состоянии.

11.3. Уход за облицовкой фасада, заключающийся в ее регулярной очистке и периодическом восстановлении, продлит срок службы облицовки.

11.4. Промывка водой является одним из наиболее эффективных способов очистки облицовки.

Рекомендуется сочетать промывку с ручной очисткой поверхности щетками или скребками. При этом, следует подключить попадание грязной воды на ветровлагозащитную пленку, которой покрыт утеплитель.

11.5. Элементы облицовки с дефектами, не подлежащими восстановлению, заменяются в соответствии с инструкцией разработчика системы.

12. ПЕРЕЧЕНЬ НОРМАТИВНЫХ ДОКУМЕНТОВ И ЛИТЕРАТУРЫ

1. СНиП 2.08.01-89* и МГСН 3.01-01 Жилые здания.

2. СНиП 2.01.07-85 Нагрузки и воздействия.

3. СНиП 2.03.06-85 Алюминиевые конструкции.

4. СНиП II-23-81* Стальные конструкции.

5. СНиП II-3-79* (изд. 1998 г.) Строительная теплотехника.

6. СНиП 23-01-99 Строительная климатология.

7. СНиП 2.01.01-82 Строительная климатология и геофизика.

8. СНиП 2.03.11-85 Защита строительных конструкций от коррозии.

9. СНиП 21-01-97 Пожарная безопасность зданий и сооружений.

10. МГСН 2.01.99 Нормативы по теплозащите и тепловодоэлектроснабжению.

11. ГОСТ 17177-94 Материалы и изделия строительные теплоизоляционные. Методы испытаний.

12. ГОСТ 22233-93 Профили пресованные из алюминиевых сплавов для ограждающих конструкций. Общие технические условия

13. ГОСТ 26805-86 Заклепка трубчатая для односторонней клепки тонколистовых строительных металлоконструкций. Технические условия.

14. ГОСТ 27180-86 Керамические плитки. Методы испытаний.

15. ГОСТ 7025-78 Материалы стеновые и облицовочные. Методы определения водопоглощения и морозостойкости.

16. ГОСТ 481-80 Паранитовые листы.

17. Рекомендации по проверке и учету воздухопроницаемости наружных ограждающих конструкций жилых зданий. ЦНИИЭП жилища, Москва, 1983 г.

18. Рекомендации по проектированию и применению для строительства и реконструкции зданий в г. Москве системы с вентилируемым воздушным зазором «Краспан». Правительство Москвы. Москомархитектура, Москва, 2001 г.

19. Заключение и протокол сертификационных испытаний НИИСФ № 51 от 22.06.2000 г. М.

ПРИЛОЖЕНИЕ

Госстрой России

Государственное унитарное предприятие

«Центральный научно-исследовательский              Директору по научной деятельности

институт строительных конструкций                                        Гранику Ю.Г.

имени В.А. Кучеренко»

ИНН 7721193175

ГУП ЦНИИСК

им. В.А. Кучеренко

в ФАКБ МИнБ Волгоградский

Расчетный счет 4050281020015000175

в АКГ «Московский инвестиционный банк»

г. Москва

БИК 044525600 к.с. 00101010000000000600

109-428, Москва, 2-я Институтская, 6

тел (095) 171-26-50, 170-10-60

факс 171-28-58

14. 11. 2001 г. № 1-945

На Ваш № 320-1437 от 25.10.2001 г.

При расчете указанной в Вашем письме системы «облицовка-покрытие» необходимо учитывать действие средней (wm) и пульсационной (wp) составляющих давления ветра.

При этом для элементов облицовки, расположенных на наветренной поверхности здания wp определяется по формуле 8 СНиП 2.01.07-85* «Нагрузки и воздействия». Для элементов облицовки, расположенных на боковых и подветренной сторонах здания допускается принимать

wp = 0,3wm(h),

где h - высота здания.

При определении ветровой нагрузки, действующей на внутренние поверхности рассматриваемых конструкций, пульсации давления допускается не учитывать.

Одновременно обращаем Ваше внимание на то, что при расчете узлов крепления элементов облицовки среднюю составляющую (wm) ветровой нагрузки необходимо увеличить на 20 %.

Зам. директора института   /подпись/   Назаров Ю.П.

Исп. Попов 1747312

 




ГОСТЫ, СТРОИТЕЛЬНЫЕ и ТЕХНИЧЕСКИЕ НОРМАТИВЫ.
Некоммерческая онлайн система, содержащая все Российские Госты, национальные Стандарты и нормативы.
В Системе содержится более 150000 файлов нормативно-технической документации, действующей на территории РФ.
Система предназначена для широкого круга инженерно-технических специалистов.

Рейтинг@Mail.ru Яндекс цитирования

Copyright © www.gostrf.com, 2008 - 2026