Крупнейшая бесплатная информационно-справочная система онлайн доступа к полному собранию технических нормативно-правовых актов РФ. Огромная база технических нормативов (более 150 тысяч документов) и полное собрание национальных стандартов, аутентичное официальной базе Госстандарта. GOSTRF.com - это более 1 Терабайта бесплатной технической информации для всех пользователей интернета. Все электронные копии представленных здесь документов могут распространяться без каких-либо ограничений. Поощряется распространение информации с этого сайта на любых других ресурсах. Каждый человек имеет право на неограниченный доступ к этим документам! Каждый человек имеет право на знание требований, изложенных в данных нормативно-правовых актах!

  


 

НАУЧНО-ИССЛЕДОВАТЕЛЬСКИЙ ИНСТИТУТ ОСНОВАНИЙ
И ПОДЗЕМНЫХ СООРУЖЕНИЙ ИМ. Н. М. ГЕРСЕВАНОВА
(НИИОСП ИМ. Н. М. ГЕРСЕВАНОВА)
ГОССТРОЯ СССР

Пособие
по производству работ
при устройстве оснований и фундаментов
(к СНиП 3.02.01-83)

Часть 1

Утверждено

приказом НИИОСП им. Н. М. Герсеванова

Госстроя СССР

№ 22 от 20 февраля 1984 г.

МОСКВА СТРОЙИЗДАТ 1986

ПРЕДИСЛОВИЕ

Настоящее Пособие разработано к СНиП 3.02.01-83 «Основания и фундаменты». В Пособии приводятся дополнительные требования, соблюдение которых необходимо при составлении проектов производства работ, требования по производству и приемке работ, связанных с устройством оснований и фундаментов. Пособие разработано на основе выполненных за последние годы научных исследований в области фундаментостроения, отечественного и зарубежного опыта применения прогрессивной технологии строительного производства и новых средств механизации строительно-монтажных работ.

Пособие состоит из девяти разделов: общая часть, естественные основания, уплотнение грунтов, строительное водопонижение, закрепление грунтов, сооружения, устраиваемые способом «стена в грунте», свайные фундаменты, шпунтовые ограждения и анкеры, опускные колодцы и кессоны.

В каждом разделе приведены как традиционные способы производства работ, так и новые способы строительства оснований и фундаментов.

В разделе «Естественные основания» содержатся основные положения по возведению фундаментов мелкого заложения, главное внимание уделено сохранению природного состояния грунта от возможного замачивания, промерзания и т.д.

В раздел «Уплотнение грунтов» включен материал по новым методам уплотнения слабых и водонасыщенных песчаных грунтов виброустановкой ВУУП-6, а также уплотнения просадочных грунтов предварительным замачиванием с применением энергии глубинных взрывов.

В разделе «Строительное водопонижение» даны рекомендации по предотвращению возможных вредных последствий в результате осуществления водопонизительных работ, основные параметры трубчатых и каркасно-стержневых фильтров заводского приготовления.

В разделе «Закрепление грунтов» внесены изменения и дополнения, новые разработки, отвечающие требованиям СНиП 3.02.01-83 и практике строительства.

В Пособии описан способ буросмесительного закрепления илов, получивший в последнее время широкое распространение, а также новые рецептурные варианты силикатизации и смолизации грунтов.

В разделе «Сооружения, устраиваемые способом «стена в грунте» приведены характеристики и марки вновь разработанных и выпускаемых землеройных механизмов, новые способы устройства противофильтрационных завес и уточнены противофильтрационные характеристики материалов заполнения.

В раздел «Свайные фундаменты, шпунтовые ограждения и анкеры» включен материал по вибрационному погружению и извлечению металлического шпунта, по применению вибрационной технологии изготовления набивных свай. Впервые в этот раздел Пособия включен подраздел «Инъекционные анкеры».

В разделе «Опускные колодцы и кессоны» приводится новый материал по опусканию колодцев способом задавливания. Впервые даны рекомендации по снижению сил трений при опускании колодцев с помощью различного рода обмазок и электроосмоса, по применению анкеров для удержания колодцев от всплытия.

Пособие разработано НИИОСП им. Н. М. Герсеванова (доктора техн. наук Смородинов М. И. - разд. 1, 7, 8, 9; Сорочан Е. А. - разд. 2; кандидаты техн. наук Галицкий В. Г. - разд. 3; Федоров Б. С. - разд. 7; Александровский Ю. В. - разд. 7, 9; Березницкий Ю. А. - разд. 9; Бахолдин Б. В. - разд. 8; Светинский Е. В. - разд. 8; Четыркин Н. С. - разд. 8; Таргулян Ю. О. - разд. 8; инженеры Арсеньев А. А. - разд. 1, 7, 9; Кацов К. П. - разд. 7; Мещанский А. Б. - разд. 4; Курденков Л. И., Мотузов Я. Я. - разд. 5; Бобровский Я. М. - разд. 8; Джантимиров X. А. - разд. 8; Остюков Б. С. - разд. 9; Наумкина И. Д. - разд. 8); ВНИИГС (д-р техн. наук Цейтлин М. Г. - разд. 7, 8; кандидаты техн. наук Зубков В. М. - разд. 3; Перлей Е. М. - разд. 7, 8, 9; Феоктистова Н. В. - разд. 7; Раюк В. Ф. - разд. 9; Никольская Г. Н. - разд. 7; Азбель Г. Г. - разд. 7; Верстов В. В. - разд. 8; Серебро А. Я. - разд. 9; Мишаков В. А. - разд. 8; инженеры Анисимов В. М. - разд. 3; Шик С. П. - разд. 9; Трофимов В. Е. - разд. 8; Финкельштейн С. Р., Гдалин С. В. - разд. 8; Придчин К. А. - разд. 8; Алмазов А. Н. - разд. 9), ГПИ «Фундаментпроект» (инженеры Моргулис М. Л. - разд. 4; Рабинович И. С. - разд. 4; Шароватов В. И. - разд. 5; Коньков Н. К. - разд. 7, 9; Ханин Р. Е. - разд. 8; Лешин Г. М. - разд. 8), ЦНИИС (кандидаты техн. наук Глотов А. М. - разд. 8; Тюленев Е. А. - разд. 8; Головачев А. С. - разд. 8; Школьников И. Е. - разд. 8), Гидроспецпроект (канд. техн. наук Хасин М. Ф. - разд. 7, инж. Катульский В. В. - разд. 5), НИИСП (канд. техн. наук Янкулин М. Г. - разд. 7); НИИОУС (канд. техн. наук Сорокин В. В. - разд. 7); ВНИИОМШС (канд. техн. наук Шпарбер А. А. - разд. 6); ЛИИЖТ (канд. техн. наук Перминов Н. А. - разд. 9); БТИСМ (канд. техн. наук Ивахнюк В. А. - разд. 9; инж. Кочерженко В. В. - разд. 9); НИИСК (канд. техн. наук Рыжов A. M. - разд. 3; инженеры Курдюцкий Ю. М. - разд. 3; Степура И. В. - разд. 5); Крымский НИИпроект (канд. техн. наук Кильвандер Э. Я. - разд. 5); Ростовский ПромстройНИИпроект (канд. техн. наук Голованов А. Н. - разд. 5; инж. Уснов Ю. А. - разд. 5).

Пособие разработано под общей редакцией д-ра техн. наук Смородинова М. И. и инж. Арсеньева А. А.

Раздел 1. ОБЩАЯ ЧАСТЬ

1.1. Требования настоящего Пособия должны соблюдаться при производстве и приемке работ по устройству оснований и фундаментов зданий и сооружений всех видов.

Работы, выполняемые при возведении мостов автодорог, гидротехнических, мелиоративных и других сооружений, должны производиться с учетом особенностей этих сооружений.

1.2. Земляные, каменные, бетонные и другие работы должны выполняться с учетом требований соответствующих СНиП или других документов, утвержденных Госстроем СССР или с ним согласованных.

1.3. Очередность и способы производства работ по устройству оснований и фундаментов должны быть взаимно увязаны с работами по прокладке подземных инженерных коммуникаций, строительству подъездных дорог на стройплощадках и другими работами нулевого цикла.

1.4. Работы по устройству оснований и фундаментов без проектов производства работ запрещаются. Проект производства работ разрабатывается на основе общего проекта и проектной документации по организации строительства.

1.5. При устройстве подземной части сооружения необходимость водопонижения, уплотнения и закрепления грунта, устройства шпунтовых ограждений, замораживания грунта, возведения фундаментов методом «стена в стене» и проведения других работ устанавливается проектом сооружения, а организация работ - проектом организации строительства.

Необходимость выполнения перечисленных работ может быть установлена и в процессе разработки проекта производства работ по устройству оснований и фундаментов или при вскрытии котлованов и при устройстве оснований и фундаментов. В этих случаях решение об их выполнении принимается проектной и строительной организацией совместно с заказчиком.

1.6. При производстве работ должны соблюдаться правила Госгортехнадзора, технической инспекции и т.д., правила производства работ при прокладке и переустройстве подземных сооружений, благоустройстве городских территорий и устройстве дорожных покрытий, а также положения об охране подземных и надземных инженерных сооружений.

1.7. Строительно-монтажные, погрузочно-разгрузочные и специальные работы должны выполняться с соблюдением правил техники безопасности, пожарной безопасности, производственной санитарии и правил, оговоренных в разделах данного руководства.

1.8. Законченные при устройстве оснований и фундаментов отдельные ответственные конструкции должны приниматься техническим надзором заказчика с составлением актов промежуточной приемки этих конструкций.

1.9. При возведении фундаментов на грунтах с особыми свойствами (просадочные, насыпные, вечномерзлые и др.), а также под особо ответственные сооружения в период строительства должны быть организованы наблюдения за перемещениями фундаментов и деформациями сооружения. Объекты и методика наблюдений устанавливаются в проекте с учетом затрат, необходимых для устройства реперов и марок и осуществления наблюдений.

После окончания строительства наблюдения должны быть продолжены эксплуатирующей организацией.

1.10. При обнаружении несоответствия фактических инженерно-геологических и гидрогеологических условий, принятых в проекте, допускается корректировка проекта производства работ.

На основании уточненных в процессе осуществления строительства объемов работ составляется объектная (локальная) исполнительная смета. Если стоимость фактических объемов указанных работ превышает исчисленную стоимость в сметном расчете, то увеличение сметной стоимости этих работ производится заказчиком в пределах общей сметной стоимости строительства предприятия, сооружения по сводному сметному расчету за счет средств на непредвиденные работы и затраты или за счет уточнения на основании рабочих чертежей сметной стоимости строительства других объектов, входящих в состав предприятия, сооружения.

Раздел 2. ЕСТЕСТВЕННЫЕ ОСНОВАНИЯ

2.1. Перерыв между окончанием разработки котлована и устройством фундамента, как правило, не допускается. При вынужденных перерывах должны быть приняты меры к сохранению природных свойств грунта.

2.2. Сохранение природной структуры грунтов в основании включает:

защиту котлована от попадания поверхностных вод;

ограждение котлована и грунтов основания водонепроницаемой стенкой (шпунтовой, ледогрунтовой и т.п.) с погружением ее на 1 м в слой относительно водоупорного грунта (глина, суглинок);

снятие гидростатического давления путем глубинного водоотлива из подстилающих слоев, содержащих воды;

исключение притока воды в котлован через дно путем временного понижения уровня подземных вод с помощью иглофильтровых установок, водослива из скважин-фильтров при песчаных грунтах или электроосмоса при супесях и глинах и суглинках;

исключение динамических воздействий во время откопки котлованов землеройными машинами с помощью защитного слоя грунта недобора;

защиту грунта основания от промерзания или сохранение мерзлого состояния грунтов на все время эксплуатации сооружения.

2.3. Размеры котлована в плане должны назначаться по проектным габаритам фундамента с учетом конструкции его ограждения и крепления, конструкции опалубки и способов водоотлива и сооружения фундамента.

2.4. В рабочих чертежах котлована должны быть данные о расположении в пределах котлована надземных, подземных сооружений и коммуникаций, указаны горизонты подземных, меженных и высоких вод, а также рабочий горизонт воды.

2.5. До начала разработки котлована должны быть выполнены следующие работы:

разбивка котлована;

планировка территории и устройства для отвода поверхностных и подземных вод;

перенос при необходимости надземных и подземных коммуникаций или сооружений;

ограждение котлована (в необходимых случаях).

2.6. Перенос (переустройство) действующих подземных коммуникаций и разработка грунта в местах их расположения допускаются лишь при наличии письменного разрешения организации, ответственной за эксплуатацию коммуникаций.

2.7. В процессе устройства котлованов и фундаментов должен быть установлен постоянный надзор за состоянием грунта, ограждений и креплений котлована, за фильтрацией воды и соблюдением правил техники безопасности.

2.8. Возведение фундаментов на основаниях из насыпных грунтов допускается в случаях, предусмотренных проектом, после подготовки основания с учетом состава и состояния грунтов и в соответствии с принятым решением по способу их отсыпки и уплотнения.

Использование в качестве оснований насыпей из шлака и других негрунтовых материалов допускается при наличии специальных указаний, разработанных в проекте и предусматривающих порядок производства, технологию и контроль качества работ.

2.9. Устройство котлованов и поперечных прорезей, устраиваемых в насыпи и конусах устоев, а также котлованов, располагаемых вблизи существующих насыпей, опор мостов и других надземных и подземных сооружений и коммуникаций, находящихся в пределах призмы обрушения, выполняется по рабочим чертежам, согласованным с заинтересованными организациями.

В рабочих чертежах должны быть детально разработаны конструкция ограждения и крепления стенок котлована или прорези, конструкция перекрытия прорези, способы разработки и осушения (водоотлива) котлована, обеспечивающие сохранность существующих конструкций и сооружений, безопасность движения транспорта и производства работ.

2.10. При разработке котлованов непосредственно около фундаментов существующих зданий и сооружений, а также действующих подземных коммуникаций необходимо принять меры против возможных деформаций и нарушений устойчивости откосов котлованов и существующих сооружений и коммуникаций.

Мероприятия, обеспечивающие сохранность существующих зданий, сооружений и коммуникаций, должны быть разработаны в проекте и согласованы с организациями, которые их эксплуатируют.

2.11. Защиту котлована от поступления подземных вод по мере углубления котлована следует осуществлять методами, изложенными в разд. 4 настоящего Пособия. При этом мероприятия по отводу воды должны опережать земляные работы.

2.12. Котлованы следует разрабатывать, как правило, участками, не превышающими 1000 м2 в летних условиях и 300 м2 - в зимних.

2.13. Грунт из котлована может складироваться на бровке с обеспечением устойчивости стен котлована.

2.14. Крепления котлованов должны быть, как правило, инвентарными (за исключением случаев крепления небольших котлованов, траншей и приямков сложной конфигурации, разрабатываемых вручную) и выполняться таким образом, чтобы они не препятствовали производству последующих работ по устройству фундаментов. Последовательность разборки креплений должна обеспечить устойчивость стенок котлованов до окончания работ по устройству фундаментов.

2.15. При разработке котлована в водонасыщенных грунтах следует предусматривать меры, исключающие их наплыв в котлован.

2.16. В случае если основание сложено водонасыщенными мелкими и пылеватыми песками или глинистыми грунтами текучепластичной и текучей консистенции должны быть приняты меры по защите их от возможных нарушений при движении землеройных и транспортных машин.

2.17. Величина недобора грунта устанавливается проектом и уточняется в процессе работы. Изменение величины недобора грунта должно быть согласовано с проектной организацией.

2.18. Случайные переборы грунта в котловане должны быть восполнены местным или песчаным грунтом с тщательным уплотнением. Заполнение перебора глубиной не более 50 см глинистым грунтом разрешается при его консистенции менее 0,5. Вид грунта заполнения и степень уплотнения необходимо согласовать с проектной организацией.

2.19. Основания, нарушенные при производстве работ в результате промерзания, затопления, перебора грунта и т.д., должны быть восстановлены способом, согласованным с проектной организацией.

2.20. Разработка грунта в котлованах или траншеях при переменной глубине заложения фундаментов должна вестись уступами. Отношение высоты уступа к его длине устанавливается проектом, но должно быть не менее 1:2 - при связных грунтах, 1:3 - при несвязных грунтах.

В случае отрыва котлована при переменной глубине заложения фундаментов грунт должен разрабатываться способами, обеспечивающими сохранение структуры грунта в уступах основания.

2.21. Грунты в основании, не соответствующие в природном залегании требуемой проектом плотности и водонепроницаемости, следует доуплотнять с помощью уплотняющих средств (катков, тяжелых трамбовок и др.).

Степень уплотнения, выражаемая плотностью сухого грунта, должна быть задана в проекте и должна обеспечивать повышение прочностных свойств грунта, уменьшение его деформативности и водопроницаемости.

Методы устройства насыпей, подушек, обратных засыпок, а также уплотнения грунта устанавливаются проектом и уточняются проектом производства работ в зависимости от назначения и требуемой степени уплотнения, вида и состояния грунтов, объема работ, имеющихся средств механизации, сроков производства работ и др.

2.22. Засыпка пазух грунтом и его уплотнение должны выполняться с обеспечением сохранности гидроизоляции фундаментов и стен подвалов, а также расположенных рядом подземных коммуникаций (кабелей, трубопроводов и др.).

2.23. Работы по засыпке пазух следует производить сразу после устройства перекрытий над подвалами; не допускается оставлять открытыми пазухи длительное время.

Засыпку пазух рекомендуется доводить до отметок, гарантирующих надежный отвод поверхностных вод. В зимних условиях грунт для засыпки пазух должен быть талым.

2.24. Устройство фундаментов надлежит производить немедленно после приемки основания комиссией и подписания акта, разрешающего приступить к устройству фундамента.

Не допускаются перерывы более двух суток между окончанием разработки котлованов и устройством фундамента. При более длительных перерывах должны быть приняты меры против обводнения котлованов поверхностными водами, промораживания талых пучинистых грунтов, а также изменения температурного режима основания из вечномерзлых грунтов, если проектом предусмотрено сохранение их в мерзлом состоянии.

2.25. Во время возведения фундамента поступающую в котлован воду надлежит откачивать во избежание затопления свежего слоя бетона или раствора до приобретения ими не менее 30 % проектной прочности. Для предупреждения вымывания раствора из бетонной смеси должны быть устроены водосборные колодцы и водоотводные лотки. Водоотлив из котлованов следует выполнять с учетом требований разд. 4 настоящего Пособия.

В случаях устройства дренажей необходимо соблюдать требования к составу, размерам и свойствам дренирующих материалов, а также к соблюдению заданных уклонов дренажей.

2.26. При особо сильном притоке воды, удаление которой может вызвать вымывание раствора и наплыв грунта в котлован, необходимо устраивать тампонажную подушку из бетона, укладываемого подводным способом. Толщину подушки назначают по проекту производства работ, но не менее 1 м при напоре воды до 3 м.

2.27. Монтаж сборных фундаментов должен выполняться кранами, расположенными за пределами подготовленных участков основания.

Поверхность основания, сложенного глинистыми грунтами, должна быть выровнена подсыпкой из горизонтально спланированного песка (кроме пылеватого) слоем 5-10 см. Поверхность песчаного основания планируется с использованием того же песка.

2.28. При возведении монолитных фундаментов, как правило, устраивают подготовку из уплотненного слоя щебня или тощего бетона, обеспечивающую надежную установку арматуры и не допускающую утечки раствора из бетонной смеси бетонируемого фундамента.

2.29. Если основание сложено глинистыми грунтами консистенции выше 0,5 или водонасыщенными песками, уплотнение следует выполнять легкими катками или трамбовками.

2.30. При переменной глубине заложения фундамента возведение его должно вестись начиная с нижних отметок основания. Вышерасположенные участки или блоки фундамента надлежит укладывать на основание с предварительным уплотнением засыпки пазух нижележащих участков или блоков.

2.31. Если грунты основания должны быть сохранены в вечномерзлом состоянии (принцип I), то разработку котлованов и устройство фундаментов следует выполнять, как правило, при устойчивой среднесуточной температуре воздуха ниже 0 °С. В случае разработки котлованов при температуре выше 0 °С необходимо принять меры по защите основания от оттаивания. Производить обогрев возводимых фундаментов способами, которые могут вызвать оттаивание грунта основания, запрещается.

Если грунты основания используются в оттаявшем состоянии (принцип II), то разработка котлована может производиться в любое время года. При этом не должно допускаться промерзание пучинистых грунтов.

2.32. Мероприятия по соблюдению требуемого температурного режима грунтов указываются в проекте оснований и фундаментов и должны выполняться с начала строительных работ. Если таких указаний нет или необходимо изменить календарный график работ, то данные мероприятия следует согласовать с проектной организацией.

При длительной задержке в строительстве или его консервации необходимо обеспечить в соответствии с проектом: при принципе I - воздействие охладительной системы (вентилируемого подполья и т.д.), создающей и поддерживающей проектный температурный режим грунтов основания; при принципе II - тепловое воздействие здания или сооружения.

2.33. После проведения предпостроечных работ по замораживанию или охлаждению основания (при принципе I) или по оттаиванию основания (при принципе II) разрешение на производство работ по возведению фундаментов может быть выдано только при предъявлении материалов контрольных наблюдений* и проверки соответствия выполненных работ требованиям проекта по обеспечению температурного состояния грунтов в основании, по осадке основания при предпостроечном оттаивании грунтов и т.п.

* Программа контрольных наблюдений составляется проектной организацией.

2.34. До начала работ по устройству фундаментов подготовленное основание должно быть принято по акту комиссией с участием заказчика и подрядчика, а при необходимости - представителя проектной организации, в том числе геолога.

Комиссия должна установить соответствие расположения, размеров, отметок дна котлована, фактического напластования и свойств грунтов указанным в проекте, а также возможность заложения фундаментов на проектной или измененной отметке.

Проверка отсутствия нарушений природных свойств грунтов основания или количества их уплотнения в соответствии с проектными должна при необходимости сопровождаться отбором образцов для лабораторных испытаний, зондированием, пенетрацией и др.

2.35. В случае если комиссией установлены значительное расхождение между фактическими и проектными характеристиками грунта основания и необходимость пересмотра проекта, решение о проведении дальнейших работ должно приниматься при обязательном участии представителя проектной организации и заказчика.

2.36. При возведении фундаментов необходимо контролировать глубину их заложения, размеры и расположение в плане, устройство отверстий и ниш, выполнение гидроизоляции и качество примененных материалов и конструкций. На устройство (подготовку) основания и гидроизоляции фундаментов предусмотрено обязательно составление актов освидетельствования скрытых работ.

2.37. Контроль качества и приемка работ должны осуществляться систематически техническим персоналом строительной организации и выполняться представителями авторского надзора и заказчика с привлечением представителя строящей организации, а также геолога для проверки и приемки оснований.

2.38. Результаты контроля следует фиксировать записью в журнале производства работ, актом промежуточной проверки или актом приемки скрытых работ, в том числе актом приемки отдельного подготовленного участка основания.

2.39. Контроль должен включать проверку выполнения требований проекта оснований и фундаментов, проекта производства работ, а также указаний соответствующих глав СНиП.

При проверке следует обратить внимание на:

соблюдение необходимых недоборов грунта, недопущение переборов и нарушения структуры грунта основания;

недопущение нарушения структуры грунта при срезке недоборов, подготовке оснований и укладке блоков фундаментов,

предохранение грунтов оснований от подтапливания подземными и поверхностными водами с размягчением и размывом верхних слоев основания;

соответствие характеристик вскрытых грунтов основания предусмотренным в проекте;

достижение достаточного и однородного уплотнения песчаных подушек, а также обратных засыпок и подготовок под полы,

достаточность примененных мер по защите грунтов основания от промерзания;

соответствие фактической глубины заложения и размеров фундаментов, а также их конструкции и качества примененных материалов предусмотренным в проектах.

2.40. Отсутствие нарушений природных свойств грунтов основания и соответствие этих свойств предусмотренным в проекте допускается проверять визуально. В сомнительных случаях следует применять пенетрацию, зондирование, отбор образцов грунта для испытаний и др.

При больших отклонениях от проектных данных должно быть выполнено, кроме того, испытание грунтов пробными нагрузками и принято решение о необходимости разработки поправок либо к проекту оснований и фундаментов, либо к проекту производства работ.

2.41. Проверку однородности и достаточности выполненного уплотнения грунтов в естественном залегании или грунтовых подушек следует осуществлять полевыми методами (зондированием, радиоизотопными методами и пр.) и выборочным определением плотности сухого грунта по отобранным образцам из каждого уплотненного слоя грунта.

2.42. В актах приемки оснований, составляемых по мере подготовки последних, необходимо:

привести оценку соответствия грунтов основания предусмотренным в проекте;

указать поправки, внесенные в проект оснований и фундаментов, а также в проект производства работ после промежуточных проверок оснований;

дать рекомендации по дальнейшим работам.

2.43. К актам приемки оснований прилагаются следующие документы:

материалы испытаний грунтов, выполненных как в процессе текущего контроля производства работ, так и при приемке основания;

акты промежуточных проверок и приемок скрытых работ;

журналы производства работ;

рабочие чертежи по фактически выполненным работам.

Раздел 3. УПЛОТНЕНИЕ ГРУНТОВ

ОБЩИЕ ПОЛОЖЕНИЯ

3.1. Для уплотнения слабых глинистых, рыхлых песчаных и просадочных грунтов необходимо применять следующие способы:

в пределах деформируемой зоны основания или ее части - поверхностное уплотнение тяжелыми трамбовками, устройство грунтовых подушек и вытрамбовывание котлованов заданной формы и глубины;

в пределах всей толщи рыхлых, песчаных, водонасыщенных или просадочных грунтов основания - глубинное уплотнение виброустановкой, глубинное уплотнение грунтовыми сваями, предварительное замачивание и замачивание с глубинными взрывами.

Выбор одного или сочетание нескольких способов уплотнения определяется проектом. Уширение уплотненной зоны по периметру здания или сооружения за наружные грани фундаментов принимается не менее 3 м.

3.2. Поверхностное уплотнение тяжелыми трамбовками производится свободным сбрасыванием трамбовки массой 5-15 т с высоты 4-8 м. Трамбование производят по всей площади сооружения или в отдельных котлованах, где расположены фундаменты.

3.3. Трамбованием создается уплотненный слой грунта толщиной 2,5-8 м в зависимости от веса трамбовки, площади ее рабочей поверхности, высоты сбрасывания, числа ударов, вида грунта, его плотности и влажности.

Поверхностное уплотнение применяется в целях:

увеличения плотности грунта;

обеспечения равномерной осадки зданий и промышленных сооружений, возводимых на слабых глинистых, рыхлых песчаных, а также просадочных грунтах;

уменьшения водопроницаемости глинистых грунтов в основании сооружения (бассейнов, отстойников, резервуаров для воды и т.п.).

3.4. Поверхностное трамбование чаще всего применяется для уплотнения слабых глинистых, рыхлых песчаных грунтов, а также на площадках с I типом грунтовых условий по просадочности.

При этом для сравнительно небольших по ширине фундаментов (до 1,5-2 м) оно оказывается, как правило, достаточным для полной ликвидации просадочных свойств грунтов в пределах всей деформируемой зоны от нагрузки фундаментов. При большой глубине деформируемой зоны, значительно превышающей глубину уплотнения, а также при необходимости полного устранения возможности просадки грунтов основания фундаментов поверхностное уплотнение осуществляется в комбинации с устройством грунтовой подушки необходимой толщины.

На площадках с II типом грунтовых условий по просадочности поверхностное уплотнение полностью или частично устраняет просадку грунта только от нагрузки фундаментов и применяется в сочетании с водозащитными и конструктивными мероприятиями. При необходимости устранения просадочных свойств грунтов на всю толщину поверхностное уплотнение применяется для доуплотнения верхнего, разрыхленного (буферного) слоя грунта после предварительного замачивания, уплотнение грунтовыми сваями, предварительного замачивания с использованием глубинных взрывов ВВ.

3.5. Поверхностное уплотнение применяется в глинистых грунтах со степенью влажности G ≤ 0,75 и производится при их оптимальной влажности. Оптимальная влажность W0 определяется по формуле

W0 = Wp - (0,01 - 0,03),                                                          (1)

где Wp - влажность на границе раскатывания.

3.6. В настоящем пособии приняты следующие термины:

уплотненный слой - слой, в пределах которого происходит увеличение плотности грунта по сравнению с плотностью его в природном сложении;

толщина достаточно уплотненного слоя, в котором плотность сухого грунта ρd1,65 т/м3;

граница достаточно уплотненного слоя, где плотность сухого грунта соответствует требованиям проекта или ρdl,6 т/м3;

отказ - предельная величина понижения поверхности уплотняемого грунта от одного удара трамбовки в конце процесса трамбования;

уплотнение до отказа - уплотнение грунта таким числом ударов, при котором практически отсутствует понижение поверхности, т.е. наблюдается отказ.

3.7. Грунтовая подушка - слой уплотненного грунта - устраивается путем послойной отсыпки глинистых, песчаных и других грунтов в пределах деформируемой зоны основания с последующим их уплотнением укаткой или трамбованием.

Отсыпке грунтов предшествует отрыв котлована глубиной, превышающей отметку заложения фундаментов на принятую в проекте толщину грунтовой подушки. Дно котлована планируется под одну отметку или отдельными террасами. Верхний слой дна котлована уплотняется до проектной плотности, после чего производится послойная отсыпка грунта в подушку. Для отсыпки подушек используются как местные, так и привозные глинистые, песчаные, песчано-гравелистые грунты оптимальной влажности. Толщина слоев назначается в зависимости от используемого оборудования.

После уплотнения каждого слоя проверяется качество выполненных работ и при обеспечении проектной плотности производятся отсыпка и уплотнение следующего слоя.

Грунтовые подушки целесообразно устраивать толщиной 1,5-5 м.

3.8. Устройство грунтовых подушек обеспечивает создание в основании фундаментов слоя уплотненного грунта с малой сжимаемостью и низкой фильтрационной способностью. В просадочных грунтах подушки устраняют просадку только в пределах деформируемой зоны.

3.9. Грунтовые подушки устраивают в котлованах по всей площади сооружения или под отдельными фундаментами и применяют, когда невозможно осуществить поверхностное уплотнение грунтов трамбованием.

3.10. При устройстве грунтовых подушек в пределах всей толщи деформируемой зоны от нагрузки фундаментов на площадках с I типом грунтовых условий по просадочности здания и сооружения возводятся как на обычных непросадочных грунтах без применения дополнительных мероприятий.

На площадках со II типом грунтовых условий по просадочности устройство грунтовой подушки устраняет просадку грунта только от нагрузки фундаментов в пределах толщины подушки. Для исключения просадки грунта от собственного веса при аварийном замачивании необходимо дополнительно применять водозащитные и конструктивные мероприятия, уплотнение предварительным замачиванием или замачиванием с использованием глубинных взрывов.

3.11. Метод возведения фундаментов в вытрамбованных котлованах состоит в том, что котлованы под отдельные фундаменты не отрываются, а вытрамбовываются на необходимую глубину (0,6-3 м) с одновременным уплотнением грунтов вокруг и под дном котлована.

Вытрамбовывание котлованов производится падающей с высоты 4-8 м по направляющей штанге трамбовкой, имеющей форму будущего фундамента и массу 1,5-7 т.

После вытрамбовывания в котлован заливается враспор монолитный бетон (без опалубки) или устанавливается сборный фундамент, имеющий близкие к котловану форму и размеры.

3.12. Фундаменты в вытрамбованных котлованах применяются в зависимости от следующих грунтовых условий: на просадочных лессовых грунтах I типа, покровных глинистых, насыпных глинистых грунтах с числом пластичности Jp 0,03; при плотности сухого грунта γск1,6 т/м3. При степени влажности G0,75 для фундаментов неглубокого заложения и G0,65 - для удлиненных фундаментов.

Примечание. В отдельных случаях возможно применение указанных фундаментов: в супесях с числом пластичности Jp ≥ 0,03, а также в мелких и пылеватых песках; в глинистых грунтах с плотностью сухого грунта ρs = 1,65 т/м3; в грунтах со степенью влажности G0,75. Однако в этих условиях возможность сохранения формы котлованов и достаточная несущая способность фундаментов определяются опытными работами и испытаниями, выполняемыми в соответствии с требованиями пп. 3.121-3.306; на просадочных грунтах II типа применение таких фундаментов допускается, если суммарная величина просадки грунта от собственного веса и осадки фундаментов от его нагрузки не превышает предельно допустимых величин для проектируемых зданий и сооружений.

3.13. В результате вытрамбовывания вокруг котлована образуется уплотненная зона (рис. 1), в пределах которой происходит повышение плотности сухого грунта, модуля деформации, прочностных характеристик с и φ, а также полностью устраняются просадочные свойства грунта.

3.14. Фундаменты в вытрамбованных котлованах подразделяются:

по глубине заложения:

на фундаменты мелкого заложения, у которых отношение высоты hs к ширине среднего сечения bm ≤ 1,5 (см. рис. 1, а);

на фундаменты удлиненные, у которых dp / bm > 1,5 (см. рис. 1, б);

по способу устройства:

на обычные (без уширения основания) с плоской или клиновидной подошвой (см. рис. 1, а);

с уширением основания путем втрамбовывания в дно котлована отдельными порциями жесткого материала (щебня, гравия, жесткой бетонной супеси и т.п.) с последующим заполнением верхней части котлована монолитным бетоном (см. рис. 1, б).

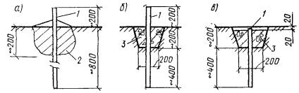
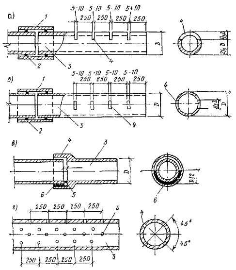
Рис. 1. Фундаменты в вытрамбованных котлованах

а - обычные; б - с уширенным основанием; 1 - фундамент; 2 - втрамбованный жесткий материал; 3 - уплотненная зона

3.15. Фундаменты в вытрамбованных котлованах исходя из конструктивных особенностей зданий и сооружений целесообразно применять:

столбчатые для каркасных промышленных, гражданских и сельскохозяйственных зданий при вертикальной нагрузке на них до 2000 кН;

ленточные прерывистые и столбчатые для бескаркасных жилых и промышленных зданий при нагрузке до 300 кН;

с уширенным основанием при нагрузках на столбчатые фундаменты свыше 500-800 кН.

Рис. 2. Ленточные прерывистые фундаменты в вытрамбованных котлованах

а - разрез по ленточным прерывистым фундаментам; б - вид в плане; 1 - ленточный прерывистый фундамент; 2 - уплотненная зона

3.16. По взаимному расположению и характеру взаимодействия с грунтом основания фундаменты в вытрамбованных котлованах подразделяются на следующие виды:

отдельно стоящие (столбчатые), для которых не сказывается взаимное влияние одного на другой как при вытрамбовывании котлованов, так и при передаче нагрузки на грунт;

ленточные прерывистые фундаменты (рис. 2), устраиваемые в близко расположенных один от другого котлована с учетом взаимного влияния соседних фундаментов.

3.17. Вытрамбовывание котлованов трамбовками массой 3-6 т допускается выполнять при расположении фундаментов на расстоянии не менее 10 м от существующих зданий и сооружений, находящихся в удовлетворительном состоянии и не имеющих трещин; 15 м от зданий и сооружений, имеющих трещины в стенах, а также от инженерных коммуникаций, выполненных из чугунных, керамических, асбестовых и железобетонных труб.

При массе трамбовок менее 3 т указанные расстояния могут быть уменьшены в 1,5 раза.

3.18. Глубинное уплотнение грунтовыми сваями просадочных и насыпных грунтов, обратных засыпок котлованов осуществляется за счет вытеснения грунта в стороны при пробивке скважин или расширении скважин-шпуров энергией взрыва. Полученные скважины засыпают местным глинистым грунтом с послойным уплотнением.

Глубинное уплотнение обеспечивает создание уплотненного слоя толщиной 5-25 м.

3.19. Глубинное уплотнение применяется в целях устранения просадочных свойств грунтов со степенью влажности G ≤ 0,75 и доведения плотности сухого грунта до величины ρd ≥ 1,65 т/м3 при одновременном сокращении возможной величины осадки сооружений; получения противофильтрационных завес вокруг отдельных сооружений или фундаментов из уплотненного грунта с плотностью грунта ρd ≥ 1,75 т/м3 и значения коэффициента фильтрации Кф ≤ 5 · 10-7, см/с.

Для достижения установленной проектом плотности расстояния между осями (грунтовых свай) l (l = md) для различных значений ρs; п и ε в долях среднего диаметра сечения скважин (грунтовых свай) можно принимать по табл. 1.

Таблица 1

Природная пористость грунта n, %

Коэффициент пористости грунта природного сложения

Площадь F, м2 и расстояние между грунтовыми сваями l, м, при плотности ρd, т/м3

1,65

1,7

F

l

F

l

55

1,224

0,264

1,8

0,298

1,75

52

1,084

0,224

2

0,286

1,75

50

1

0,182

2,25

0,206

2,1

48

0,92

0,149

2,5

0,175

2,25

46

0,85

0,145

2,75

0,142

2,5

44

0,785

0,084

3,25

0,11

3

3.20. Уплотнение оснований зданий и сооружений предварительным замачиванием, а также замачиванием и глубинными взрывами применяется с целью повышения прочности и несущей способности, устранения просадочных свойств грунтов, снижения их деформативности и коэффициента фильтрации.

3.21. Уплотнение просадочных грунтов предварительным замачиванием, а также замачиванием и глубинными взрывами основывается на способности их самоуплотнения при замачивании под действием собственного веса на площадках со II типом грунтовых условий. Глубинными взрывами вызывается дополнительная просадка замоченного лессовидного грунта с полным нарушением его первоначальной структуры.

3.22. Для устранения просадочных свойств всей толщи, начиная с отметки заложения фундаментов, методы глубинного уплотнения грунтовыми сваями, предварительным замачиванием, а также замачиванием и глубинными взрывами применяют с доуплотнением верхнего разрыхленного (буферного) слоя грунта тяжелыми трамбовками, устройством грунтовых подушек и т.п.

3.23. Уплотнение грунтов предварительным замачиванием грунта, а также замачиванием и глубинными взрывами наиболее целесообразно применять в тех случаях, когда просадочные грунты представлены лёссовидными суглинками и супесями, пылеватыми песками с относительно высоким коэффициентом фильтрации (не менее 0,2 м/сут) и с низким значением плотности сухого грунта ρs ≤ 1,45 т3 и нет ограничений по условиям существующей застройки.

3.24. Чтобы устранить влияние замачивания и глубинных взрывов на расположенные вблизи здания и сооружения, возведенные без ликвидации просадочных свойств или без полной их прорезки глубокими фундаментами, расстояние от замачиваемой площади до существующих зданий и сооружений должно составлять не менее трехкратной величины толщины просадочного грунта, а при использовании взрывов и расчетной сейсмобезопасной зоны.

Примечания: 1. Если существующие здания или сооружения возведены с устранением просадочных свойств грунтов на всю толщу или с полной их прорезкой фундаментами, расстояния уменьшаются вдвое.

2. Если здания и сооружения расположены на расстояниях меньше вышеуказанных, уплотнение выполняется после устройства противофильтрационных завес.

3.25. Применение способов уплотнения грунтов предварительным замачиванием и замачиванием с использованием глубинных взрывов на оползневых склонах не допускается.

3.26. Взрывные работы производятся специализированными организациями «Союзвзрывпрома» и другими при строгом соблюдении техники безопасности и действующих Единых правил безопасности при взрывных работах.

3.27. В процессе проведения предварительного замачивания грунта и замачивания с глубинными взрывами систематически наблюдают за просадкой грунта по поверхностным и глубинным маркам путем их нивелирования относительно неподвижного репера или системы временных реперов, расположенных вне зоны развития просадки на расстоянии не менее двойной толщины слоя просадочного грунта.

3.28. Глубинное уплотнение водонасыщенных песчаных оснований применяется для повышения их несущей способности и осуществляется виброустановкой ВУУП-6.

ТРЕБОВАНИЯ К МАТЕРИАЛАМ

3.29. Для устройства грунтовых подушек, обратных засыпок котлованов, траншей, планировочных насыпей и подсыпок при строительстве следует использовать местные глинистые и песчаные грунты, а также отвалы отходов различных производств, располагающихся в районе строительства.

Использование привозных грунтов допускается только при соответствующем технико-экономическом обосновании в связи с необходимостью получения повышенных характеристик уплотненных грунтов в случаях, когда местные грунты не могут быть использованы вследствие заторфованности, наличия строительного мусора или органики, высокой природной влажности, превышающей влажность на границе раскатывания.

3.30. Песчаные грунты и аналогичные им отходы производств для устройства грунтовых подушек, обратных засыпок котлованов, траншей, планировочных насыпей и подсыпок допускается использовать только при строительстве на слабых глинистых, водонасыщенных песчаных и просадочных грунтах с I типом грунтовых условий при применении мероприятий по устранению просадочных свойств грунтов или их прорезке свайными фундаментами.

На просадочных грунтах со II типом грунтовых условий в связи с необходимостью выполнения водозащитных мероприятий и создания маловодопроницаемых экранов применение песчаных и других дренирующих зернистых материалов не допускается.

3.31. Грунты, используемые для уплотнения, не должны содержать мусор, чернозем, отходы строительного производства, органические включения весом более 0,05, комья мерзлого грунта.

При устройстве грунтовых подушек, планировочных насыпей, обратных засыпок котлованов вокруг корпусов, траншей и т.п., если отсутствуют специальные указания в проекте, допускается использовать грунты с содержанием органических включений весом до 0,1 и комьев мерзлого грунта размером до 10 см при общем содержании их не более 15 %.

3.32. Грунтовые подушки, обратные засыпки котлованов, траншей, планировочные насыпи и подсыпки возводятся, как правило, из местных грунтов, получаемых при отрыве котлованов и траншей, планировке территории срезкой, а также из специально отводимых резервуаров и карьеров.

Отходы производств для грунтовых подушек, различных подсыпок и насыпей, доставляемые со специально отведенных участков и соответствующие заданным требованиям, характеризуются:

относительно однородным составом по основной массе составляющего материала и наличию включений;

устойчивостью структуры при изменении температурно-влажностного режима (отсутствие разложения, набухания, возгорания и т.п.);

отсутствием включений размером более 20 см и не более 0,3 от толщины отсыпаемого слоя.

3.33. Грунтовые подушки, обратные засыпки котлованов и насыпей возводятся из грунтов оптимальной влажности W0, принимаемой для глинистых грунтов при их уплотнении:

трамбованием W0 = Wp - (0,01 + 0,03);

укаткой W0 = Wp;

где Wp - влажность на нижнем пределе пластичности (раскатывания).

Для песчаных грунтов и аналогичных им по составу отвалов отходов производств значение оптимальной влажности приближенно принимается:

Для крупных и средних песков                                                           0,08-0,12

Для мелких пылеватых песков                                                            0,12-0,18

3.34. При вытрамбовывании котлованов, уплотнении лёссовых просадочных грунтов предварительным замачиванием и замачиванием с использованием глубинных взрывов применяются: дренирующие материалы; трубы для водопроводов и крепления стенок скважин, запорная и измерительная арматура (вентили, водомеры); взрывчатые вещества; вода.

3.35. Дно котлована покрывают дренирующим материалом слоем 0,1-0,15 м, заполняют мелкие и глубокие узкие траншеи и дренажные скважины, используемые также для создания уширений при вытрамбовывании котлованов.

В качестве дренажных материалов применяются чистые крупнозернистые пески, щебень, мелкий гравий, галька размером фракций 0,5-20 мм с коэффициентом фильтрации: для крупнозернистого песка - 30-50 м/сут; для мелкого щебня, гальки или гравия - 50-20 м/сут.

3.36. Для транспортировки воды используются любые виды тонкостенных труб диаметром 50-250 мм, а для крепления скважин от заплывания тонкостенные металлические, пластмассовые, асбоцементные и другие трубы диаметром от 50 до 400 мм. Крепление верха скважин при замачивании через инвентарную разводку производится с помощью оголовков из труб диаметром 400 мм, длиной 0,5 м. Диаметр труб запорной и измерительной арматуры определяется гидравлическим расчетом, исходя из требуемого количества воды, подаваемой на площадку.

3.37. При уплотнении грунтов замачиванием и глубинными взрывами применяются водостойкие взрывчатые вещества: аммонит № 6ЖВ, граммонол, гранутол (МРТУ 3-324-66), зерногранулит 50/50-В, 30/70-В.

Энергетические и другие свойства ВВ приведены в справочных пособиях и руководствах по взрывным работам в строительстве.

3.38. Вода, подаваемая на площадку, должна быть чистой, содержание твердых взвешенных частиц допускается не более 2 г/л.

ТРЕБОВАНИЯ К ПРОЕКТУ ПРОИЗВОДСТВА РАБОТ

3.39. Исходным материалом для разработки проекта организации работ по поверхностному уплотнению грунтов тяжелыми трамбовками при устройстве грунтовых подушек, вытрамбовывании котлованов служат данные инженерно-геологических изысканий на участке расположения зданий и сооружений и результаты определения основных физико-механических характеристик грунтов в природном залегании на глубину не менее 10 м, а при глубинном уплотнении, предварительном замачивании и замачивании с глубинными взрывами просадочных грунтов или гидровиброуплотнении слабых водонасыщенных грунтов - на всю их толщу ниже отметки фундаментов. Кроме того, необходимы данные о конструктивных особенностях зданий с указанием нагрузок на фундаменты, их размеров и т.п.

3.40. Уплотнение просадочных грунтов должно выполняться на основе материалов инженерно-геологических изысканий, содержащих данные о наличии на площадке грунтовых вод, величине просадочной толщи, типе грунтовых условий, возможной величине просадки от нагрузки фундаментов и собственного веса грунта, а также основных физико-механических характеристиках грунтов в природном залегании (влажность на границе раскатывания и границе текучести, относительная просадочность, начальное просадочное давление и т.п.).

3.41. Проектные решения по уплотнению грунтов должны содержать:

а) при поверхностном уплотнении трамбовками - план и разрезы котлована с размерами уплотняемой площади и контурами фундаментов; указания о необходимой глубине уплотнения, требуемой плотности и оптимальной влажности грунта, по выбору типа грунтоуплотняющего механизма, о необходимом количестве ударов трамбовки или проходов уплотняющей машины по одному следу, величине понижения трамбуемой поверхности;

б) при устройстве грунтовых подушек - планы и разрезы котлованов; физико-механические характеристики отсыпаемого грунта; указания по толщине отсыпаемых слоев, рекомендуемым режимам работы механизмов для уплотнения грунта, а также по плотности грунтов в подушках;

в) при вытрамбовывании котлованов - данные по вертикальной планировке застраиваемой территории; план расположения и размеры отдельных котлованов; указания по срезке и использованию существующего плодородного слоя и уплотнению подсыпки, применению навесного оборудования и рекомендуемым режимам работы механизмов;

г) при уплотнении грунтовыми сваями - план размещения свай с указанием их диаметра и глубины; требования к влажности, плотности уплотняемых грунтов; характеристики применяемого оборудования, общий вес грунта и вес отдельных порций, засыпаемых в скважины, а также разрыхленного верхнего (буферного) слоя грунта и способ его уплотнения;

д) при уплотнении предварительным замачиванием и замачиванием с глубинными взрывами - план разбивки уплотняемой площади на отдельные участки (карты) с указанием их глубины и очередности замачивания, расположения поверхностных и глубинных марок; схему сети водовода; данные по среднесуточному расходу воды на 1 м2 уплотняемой площади и времени замачивания каждого котлована или участка (карты), а в случае замачивания через скважины (дополнительно) - план расположения скважин с указанием их глубины, диаметра, способа проходки и вида дренирующего материала для засыпки;

е) при гидровиброуплотнении песчаных грунтов - план площадки с указанием глубины уплотнения; схему сети водовода для искусственного водонасыщения грунта; расстояние от работающей виброустановки до соответствующих зданий и сооружений.

3.42. В проекте поверхностного уплотнения грунтов оснований тяжелыми трамбовками следует указывать:

толщину уплотняемого слоя;

величину недобора грунта до проектной отметки заложения фундаментов при производстве земляных работ;

количество воды, заливаемой на 1 м3 уплотняемого основания (при необходимости доувлажнения);

ориентировочную величину отказа для каждого вида грунта основания;

диаметр рабочей поверхности, высоту сбрасывания и вес трамбовки.

3.43. Размеры уплотняемой площади в плане, величина недобора грунта до проектной отметки заложения фундаментов, требуемая глубина уплотнения и плотность сухого грунта, потребное количество воды для доувлажнения грунта, а также диаметр, высота сбрасывания и вес трамбовки назначаются в соответствии с Руководством по проектированию оснований зданий и сооружений.

3.44. В тех случаях, когда необходимая глубина уплотнения, указанная в проекте, не может быть достигнута используемыми трамбующими механизмами, производится двухслойное или многослойное уплотнение.

При этом глубина отрыва котлована hк определяется по формуле

hк = hпр - hуп - Δh,                                                                (2)

где hпр - проектная толщина уплотненного слоя основания фундаментов, м; hуп - толщина уплотненного слоя, получаемая при использовании данной трамбовки, м; Δh - величина недобора грунта до проектной отметки заложения фундаментов.

3.45. В проекте устройства грунтовой подушки должны быть указаны толщина грунтовой подушки с привязкой к высотным отметкам здания или сооружения; размеры грунтовой подушки в плане в пределах отдельных фундаментов или сооружений в целом; рекомендуемый вид грунта для возведения подушек;

значение оптимальной влажности грунта;

требуемая плотность грунта в подушке.

3.46. Толщину грунтовой подушки в просадочных грунтах назначают в зависимости от деформируемой зоны при замачивании и от нагрузки фундамента в соответствии с требованиями Руководства по проектированию оснований зданий и сооружений (М.: Стройиздат, 1977).

3.47. Толщина грунтовой подушки в зданиях и сооружениях, чувствительных к неравномерным просадкам (например, крупнопанельные жилые, многоэтажные каркасные здания, не рассчитанные на возможные деформации основания), назначается равной глубине деформируемой зоны просадочного грунта при замачивании, но не менее 2 м. Если просадочная толщина меньше деформируемой зоны, толщина грунтовой подушки принимается равной толщине просадочного грунта.

3.48. При устройстве грунтовой подушки в просадочных грунтах используют местные однородные глинистые грунты оптимальной влажности, при которой обеспечивается наилучшее уплотнение.

В проекте производства работ по вытрамбовыванию котлованов должны быть указаны:

план отрыва котлована под здание или сооружение с отметками, с которых должно производиться вытрамбовывание котлованов под фундаменты;

размеры в плане и глубина отдельных вытрамбованных котлованов;

размеры, форма, вес, высота сбрасывания трамбовки и ориентировочное количество ударов для вытрамбовывания котлованов на заданную глубину;

влажность грунтов, при которой рекомендуется осуществлять вытрамбовывание котлованов, а при необходимости повышения природной влажности до оптимального значения - требуемое количество воды;

ориентировочные размеры уплотненной зоны при принятых размерах и режиме трамбования;

минимально допустимые расстояния между котлованами ленточных прерывистых фундаментов;

размеры уширений в основании, объем жесткого материала (бетона, щебня, песчано-гравийной смеси и т.п.), втрамбовываемого в дно котлована, число порций и объем одной порции;

расчетные значения прочностных характеристик и модуля деформации уплотненных грунтов, величина расчетного давления на уплотненный грунт, действующие нагрузки на фундаменты и предельные нагрузки на них;

особые требования по технологии производства работ, контролю качества и практике работ.

3.49. Глубина вытрамбовывания котлована назначается исходя из необходимой глубины заложения фундаментов с учетом требований СНиП 2.02.01-83.

3.50. Форма и размеры трамбовок назначаются в зависимости от формы и размеров фундаментов.

Форма трамбовок в плане при вытрамбовывании котлованов под обычные фундаменты принимается квадратной, прямоугольной или круглой с плоским или реже заостренным основанием, уклон боковых стенок трамбовок - в зависимости от степени плотности и влажности грунтов, а также от величины горизонтальных нагрузок принимается в пределах от 1:5 до 1:3.

Для вытрамбовывания котлованов под фундаменты с уширенным основанием принимаются трамбовки квадратной, шестигранной или круглой формы в плане с углом заострения нижнего конца равным 60-90°.

Вес трамбовки принимается с учетом следующих значений удельного статического напряжения по основанию трамбовки: 0,03 МПа для обычных фундаментов и 0,05 МПа - для фундаментов с уширением.

Высота сбрасывания трамбовок определяется типом применяемого грузоподъемного механизма и принимается равной 4-8 м.

3.51. Вытрамбовывание котлованов должно производиться, как правило, при оптимальной или близкой к ней влажности грунтов.

Отклонение от оптимальной влажности допускается не более чем на 0,04 по абсолютному значению.

3.52. Проект глубинного уплотнения основания грунтовыми сваями составляют из расчета достижения в уплотненном массиве плотности сухого грунта ρd = l,65 т/м3.

Если уплотнение производят в целях устройства противофильтрационной завесы, проект составляют из расчета достижения средней плотности сухого грунта ρd = l,75 т/м3 и коэффициента фильтрации Кф5 · 10-7 см/с.

3.53. Глубинное уплотнение станками ударно-канатного бурения допускается при природной влажности, а с использованием энергии взрыва - только при оптимальной их влажности.

3.54. Если глубинное уплотнение производят в непосредственной близости от существующих зданий и сооружений или коммуникаций, безопасное расстояние для производства работ назначается в зависимости от местных условий и применяемой технологии с соблюдением требований действующих Единых правил безопасности при взрывных работах (ЕПБ).

3.55. Проектный диаметр скважин при пробивке их станками ударно-канатного бурения принимается 0,5 м, а при использовании энергии взрыва - 0,4 м.

3.56. Проект производства работ должен составляться в соответствии с действующими нормативными документами и учитывать требования настоящего Пособия в части технологии последовательности производства работ по пробивке скважин и их набивки грунтовым материалом, контроля качества уплотнения и приемки работ.

3.57. Исходными материалами для составления проекта уплотнения просадочных грунтов предварительным замачиванием и замачиванием с применением глубинных взрывов, кроме указанных в пп. 3.40 и 3.41 настоящего Пособия, служат:

генплан в пределах проектируемых и расположенных вблизи них существующих зданий и сооружений с нанесенными на нем инженерными коммуникациями;

топографическая карта площадки с нанесенными на нее горизонталями через 0,5 м по высоте, которая используется при выборе способа замачивания грунтов, назначении размеров карт, очередности замачивания и т.п.;

физико-механические характеристики всех литологических слоев грунта, входящих в просадочную толщу с выделением дренирующих и водоупорных слоев, а также относительная просадочность грунтов, определяемая через 1-2 м по глубине;

расчеты возможных просадок от собственного веса грунта по отдельным шурфам и скважинам и построенная на их основе карта просадочности грунтов площадки с горизонталями через 10-25 см расчетной просадки. С учетом расчетных просадок определяют необходимую площадь замачивания, размеры отдельных карт и т.

С учетом генерального плана, расположения проектируемых и существующих зданий и сооружений устанавливается возможность влияния предварительного замачивания и замачивания с использованием глубинных взрывов на существующие здания и коммуникации.

3.58. Проект производства работ по уплотнению просадочных грунтов предварительным замачиванием должен содержать:

размеры котлованов и методику замачивания;

технологическую карту земляных работ;

необходимое количество воды для замачивания котлована и отдельных карт;

конструкции, число и расположение глубинных и поверхностных марок;

способы уплотнения верхнего недоуплотненного (буферного) слоя грунта.

3.59. Размеры одновременно замачиваемых площадей, время, количество воды, необходимое для промачивания всей толщи просадочных грунтов, принимаются в соответствии со СНиП 2.02.01-83.

3.60. При уплотнении просадочных грунтов предварительным замачиванием и глубинными взрывами кроме материалов, перечисленных в пп. 3.42 и 3.43, должны быть приведены:

технологическая карта взрывных работ;

указания по планировке территории, ее ограждении, обеспечении водой, электроэнергией, организации подъездов, складирования материалов и изделий;

схема охранной зоны, включая пятно застройки, сейсмобезопасное расстояние до существующих зданий, сооружений, коммуникаций и безопасную зону для людей.

3.61. В проекте производства работ по замачиванию необходимо указать:

разбивку котлованов, бурение скважин и засыпку их дренирующим материалом;

разводку воды по всей уплотняемой площади и установку водомеров;

указания по контролю заливаемой воды;

порядок нивелирования поверхностных и глубинных марок, а также проходку контрольных скважин для определения влажности и плотности грунта после окончания замачивания.

3.62. Технологическая карта по взрывным работам должна содержать: противосейсмические защитные мероприятия, если они предусмотрены; указания по технике безопасности и производству взрывных работ, ликвидация возможных отказов, зарядов ВВ.

3.63. Проект производства работ по гидровиброуплотнению водонасыщенных грунтов включает:

схему уплотнения и технологический режим работы виброустановки;

проектную глубину уплотнения;

состав работ по опытному уплотнению;

расчетное значение показателя уплотненного грунта, определяемое расстоянием от работающей установки до существующих зданий, сооружений и коммуникаций;

схему водоподводящих коммуникаций для искусственного водонасыщения грунта при уровне грунтовых вод ниже 0,5 м от поверхности.

3.64. Расстояние от работающих виброустановок ВУУМ-6 до существующих зданий и сооружений должно быть не менее 40 м, а до подземных коммуникаций - 25 м.

ПРИМЕНЯЕМЫЕ МЕХАНИЗМЫ И ИХ ТЕХНИЧЕСКАЯ ХАРАКТЕРИСТИКА

3.65. Для поверхностного уплотнения грунтов тяжелыми трамбовками весом до 4,5-7 т используются в основном широко распространенные в строительстве краны-экскаваторы Э-10011 и Э-1252, оборудованные стрелой драглайном, а для трамбовок весом 10-15 т карьерные краны-экскаваторы Э-2503 и Э-2505 грузоподъемностью 40-50 т. При использовании трамбовок с таким весом обеспечивается нормальная работа кранов-экскаваторов в том же режиме, что и при разработке грунта.

3.66. Основным оборудованием при устройстве грунтовых подушек являются грунтоуплотняющие механизмы. Выбирают их в зависимости от объема, фронта работ, сроков выполнения, вида применяемого грунта.

При больших объемах уплотняемых грунтов и при достаточном фронте работ для маневрирования машин целесообразно применять трамбующие машины Д-1471, тяжелые катки на пневмоколесном ходу.

При ограниченном фронте работ, а также в стесненных условиях для уплотнения грунтов наиболее целесообразны самоходные катки, тракторы, тяжелые трамбовки.

3.67. Толщина уплотненного слоя, типы кранов-экскаваторов и трамбовок, сменная производительность и ориентировочное количество ударов по одному следу для уплотнения грунтов до коэффициента Купл = 0,95-0,96 принимается по табл. 2.

Толщина отсыпаемых слоев при грунтовых подушках, типы грунтоуплотняющих механизмов и ориентировочное количество проходов для уплотнения грунтов до коэффициента Купл = 0,93-0,95 принимаются по табл. 3. При необходимости уплотнения грунтов до Купл = 0,98 указанная в табл. 3 толщина слоя снижается на 20-25 %.

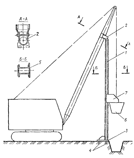
Рис. 3. Схема оборудования для вытрамбования котлованов на экскаваторе со стрелой драглайн

1 - направляющая штанга; 2 - шарнир; 3 - упорная плита; 4 - зубья; 5 - направляющая пластина; 6 - трамбовка; 7 - каретка

Приведенные в табл. 3 значения толщины уплотненного слоя достигаются при оптимальной влажности отсыпаемых грунтов. При влажности грунтов выше или ниже оптимальной более чем на 0,02-0,03 толщина уплотняемого слоя обычно снижается на 20-30 %.

В процессе послойной отсыпки грунтов учитывается сжатие их при уплотнении, а толщина отсыпаемых слоев в рыхлом состоянии принимается на 20-25 % больше приведенных в табл. 3.

Рис. 4. Схема оборудования на экскаваторе с прямой лопатой для вытрамбовывания котлованов

1 - направляющая стойка; 2 - распорка; 3 - опорная плита; 4 - зубья; 5 - серьга; 6 - трамбовка; 7 - каретка; 8 - оголовок

3.68. Вытрамбовывание котлованов производится с помощью навесного оборудования, состоящего из трамбовки, направляющей штанги или рамы, обеспечивающих падение трамбовки строго в одно и тоже место, и каретки, с помощью которой трамбовка скользит по направляющей штанге (рис. 3-6).

3.69. Оборудование навешивается на кран-экскаватор или трактор. При вытрамбовывании котлованов небольших размеров в плане может использоваться сваебойное оборудование.

Для подъема и сбрасывания трамбовки используется лебедка грузоподъемного механизма. При использовании сваебойного агрегата трамбовка-шаблон забивается в грунт сваебойным молотом.

Грузоподъемность механизма должна превышать массу трамбовки при соответствующем вылете стрелы в 1,2-1,3 раза.

3.70. Навесное оборудование на кран-экскаватор может быть двух видов: с шарнирным креплением направляющей штанги к стреле драглайна, обеспечивающим работу с трамбовками массой 3-6 т (рис. 3), и шарнирным креплением направляющей рамы к стреле прямой лопаты для трамбовок массой 6-10 т (см. рис. 4).

Рис. 5. Основные виды трамбовок для вытрамбовывания котлованов

а - с плоской подошвой; б - с заостренной подошвой; в - удлиненное, для устройства фундаментов с уширенным основанием; г - то же, с уширенной верхней частью; д - для вытрамбовывания котлованов с использованием сваебойного оборудования

Рис. 6. Схема оборудования для вытрамбовывания котлованов на базе трактора

1 - трамбовка; 2 - направляющая рама; 3 - система блоков; 4 - направляющая стойки; 5 - противовес; 6 - каретка; 7 - подвеска; 8 - элементы жесткости; 9 - аутригер

Рис. 7. Схема оборудования для вытрамбовывания котлованов на базе сваебойного агрегата

1 - шаблон трамбовки; 2 - подвеска; 3 - молот

3.71. Направляющая штанга длиной 8-12 м (см. рис. 3) обычно имеет коробчатое сечение и состоит из двух швеллеров или четырех уголков, усиленных вертикальным листом, по которому скользит каретка.

В верхней части направляющая штанга заканчивается специальным шарниром, обеспечивающим перемещение ее в двух направлениях и служащим для навески ее на стрелу драглайна.

Для предотвращения горизонтальных смещений в процессе вытрамбовывания котлованов в нижней части направляющая штанга имеет опорную плиту с зубьями длиной 20-30 см, которые при установке штанги на место погружаются в грунт.

3.72. Направляющая рама (см. рис. 4) состоит из направляющей стопки длиной 10-15 м и распорки, повышающей жесткость навесного оборудования и ограничивающей вылет стрелы, что позволяет повысить маневренность и более полно использовать грузоподъемность крана-экскаватора.

Конструкция направляющей стойки аналогична описанной в п. 3.110 и отличается тем, что в верхней части она имеет оголовок, на котором крепятся блоки, и серьгу для крепления стойки к стреле крана-экскаватора.

Таблица 2

Тип грунтоуплотняющего механизма

Высота сбрасывания трамбовки

Толщина уплотненного слоя, м, на грунтах

Число ударов по одному следу

Сменная производительность, м3

глинистых

песчаных, гравелистых

Э-10011, Э-1252, трамбовки диаметром 1,2 м, массой 2,5 т

6-8

1,5-2,0

1,8-2,2

12-14

100-300

То же, диаметром 1,6 м, массой 3,5 т

6-8

2,0-2,3

2,3

12-14

100-300

То же, диаметром 1,8 м, массой 5,5 т

6-8

2,5

2,7-3,0

12-14

100-300

То же, диаметром 2 м, массой 6-7 т

6-8

3,2-3,5

3,5-3,8

12-14

100-300

Э-2503 и Э-2505, трамбовки диаметром 2,4 м, массой 10 т

10-12

5-5,5

6

10-12

300-400

То же, диаметром 3 м, массой 15 т

10-12

7

8

8-10

400-500

Узлы крепления направляющей рамы к крану шарнирные, благодаря чему обеспечивается возможность подъема ее на 30-40 см и перемещение крана-экскаватора.

3.73. Каретка имеет коробчатое сечение и обычно состоит из двух швеллеров, усиленных накладками и соединенных с трех сторон металлическими листами. Каретка надевается на направляющую штангу и удерживается на ней с помощью соответствующих пазов или полок швеллера. Внутри нее располагаются катки, которые перемещаются по вертикальному листу направляющей штанги.

Крепление каретки к трамбовке осуществляется на болтах.

3.74. Трамбовка заданной в проекте формы (см. рис. 5) изготавливается из металлического листа толщиной 10-16 мм путем сварки отдельных элементов в стыках. Для исключения выступов и неровностей сварные швы зачищаются.

Сверху трамбовка имеет крышку из листа толщиной 20-30 мм с болтами диаметром 30-60 мм, с помощью которых к ней крепится каретка.

Внутренняя часть трамбовки заполняется бетоном на высоту, при которой обеспечивается ее заданная масса.

Таблица 3

Тип грунтоуплотняющего механизма

Толщина уплотненного слоя, м, на грунтах

Число проходов по одному следу

Сменная производительность, м

песчаных, гравелистых

глинистых

Пневмокатки массой 25 т

0,5

0,5

10-12

530

То же, 40 т

0,6

0,7

10-12

530

Груженые автомашины

 

 

 

 

БелАЗ

0,6

0,7

10-12

300

КраЗ

0,5

0,5

10-12

200

МАЗ

0,4

0,4

10-12

200

Тракторы Т-100, Т-140

0,3

0,2

8-10

250

Скреперы

0,25

0,2

6-8

200

Трамбующие машины Д-471

1

1,2

3-5

300

Вибрационные катки массой до 2 т

0,7

0,3

3-4

100

То же, массой до 5 т

1

0,4

3-4

100

3.75. Трамбовка с помощью скобы крепится к рабочему тросу крана-экскаватора через специальную вставку из троса длиной 0,8-1 м, благодаря чему в момент удара ее о грунт исключается закручивание рабочего троса и его преждевременный износ.

В целях снижения тягового усилия на лебедку допускается запасовка троса через полиспаст, для чего на крышке трамбовки устанавливается соответствующий блок.

3.76. Навесное оборудование на базе трактора С-100, ТМ-100 обеспечивает возможность работы с трамбовками массой до 2,5-3 т и состоит из направляющей рамы, прикрепленной к задней части трактора, системы блоков, подвесок, противовеса, устанавливаемого на передней части (см. рис. 6).

Направляющая рама высотой 6-8 м состоит из двух стоек, по которым движется каретка. Стойки по высоте соединяются элементами жесткости, внутри которых проходит трамбовка. Стойки коробчатого сечения состоят из двух уголков.

3.77. Для повышения устойчивости на период вытрамбовывания котлованов к стойкам направляющей рамы крепятся аутригеры. На время переезда механизма с одного пункта на другой и установки трамбовки на центр будущего котлована аутригеры поднимаются.

3.78. Каретка имеет коробчатое сечение с пазами, которые входят в направляющие стойки. В центре каретки располагается блок, через который проходит рабочий трос от лебедки. Крепление каретки к трамбовке выполняется на болтах. Трамбовка крепится к рабочему тросу лебедки через полиспаст.

3.79. При использовании сваебойного агрегата для вытрамбовывания котлованов в качестве трамбовки используется полый металлический шаблон, жестко закрепленный с помощью болтов на молоте (рис. 7).

Шаблон сваривается из металлического листа толщиной 12-16 мм с расположенными внутри ребрами жесткости. Для извлечения шаблона из грунта он с помощью подвесок крепится к станине молота.

Максимальный размер трамбовки в верхней части по ширине при применении трубчатых дизель-молотов должен быть не более 1 м, а штанговых - 0,9 м.

3.80. Для глубинного уплотнения просадочных грунтов грунтовыми сваями используют стайки ударно-канатного бурения типа БС-1М или другие станки, позволяющие применить ударный снаряд массой не менее 3 т, что обеспечивает использование наконечников для пробивки скважин диаметром 0,5-0,6 м.

Техническая характеристика станка

Глубина уплотнения                                                                     18-20 м

Диаметр скважины                                                                       500 мм

Масса бурового снаряда                                                               2700-3000 кг

Высота подъема бурового снаряда                                             0,94-1,1 м

Число ударов долота о забой                                                       44-52 уд/мин

Скорость подъема бурового снаряда                                          0,9 м/мин

Высота мачты                                                                                1,45 м

Ход                                                                                                 Гусеничный самоходный

Скорость передвижения                                                              0,9 км/ч

Удельное давление на грунт                                                        0,7 кг/см2

Габариты станка в рабочем положении:

длина                                                                                         7000 мм

ширина                                                                                      3480 »

высота                                                                                       15050 »

Габариты станка при перевозке:

длина                                                                                         9060 мм

ширина                                                                                      3480    »

высота                                                                                       4300    »

Масса станка без бурового снаряда                                            90,8 т

Диаметр инструментального каната                                          26-30 мм

Длина каната                                                                                 H + 36 м

Мощность электродвигателя                                                       32 кВ

Напряжение                                                                                   380/220 В

3.81. Буровой снаряд, входящий в комплект станка, состоит из штанги и долот различной конструкции. Штанга подвешена на канате. Канатный замок скреплен со штангой коническим резьбовым соединением.

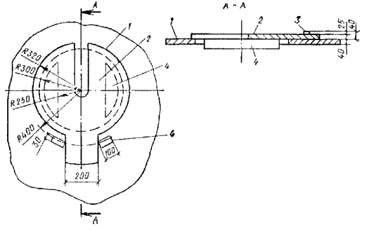
Рис. 8. Конструктивная схема наконечника для прописки скважин

1 - сердечник-долото; 2 - оболочка; 3 - бетон; 4 - сварные швы; 5 - отверстие для подачи бетонной смеси под оболочку

Рис. 9. Новая поворотная плита для свинчивания штанг ударного снаряда

1 - поворотная плита; 2 - ключ для свинчивания штанг; 3 - упоры, приваренные к ключу; 4 - упоры, приваренные к плите

Рис. 10. Дозатор (совок) емкостью 0,35 м3 для засыпки скважин грунтом

1 - толкатель из трубы диаметром 219 мм, длиной 2 м; 2 - совок; 3 - место крепления гидроподъемника ножа бульдозера и толкателя; 4 - рама толкателя из швеллера № 20; 5 - вилка крепления толкателя к раме бульдозера

Для уплотнения грунтов станок БС-1М приспосабливают к проходке скважин диаметром 0,5-0,6 м и оборудуют его:

наконечником параболоидной формы диаметром 426 мм (рис. 8);

стальным цилиндрическим кондуктором диаметром 550 м, длиной 1500 мм, толщиной стенок 10-12 мм, предназначенным для исключения расширения устья скважины, а также для более точной ее пробивки;

новой поворотной плитой для свинчивания штанг диаметром 600 мм (рис. 9).

Эти приспособления можно изготовить в любых мастерских.

3.82. Наконечник для проходки скважин изготавливают на месте, используя долото, к которому приваривают оболочку необходимой геометрической формы из листовой стали толщиной 10-12 мм. Зазор между долотом и оболочкой заполняют цементным раствором. Наконечник можно изготовить литым из стали.

3.83. Оболочка наконечника имеет форму двух усеченных конусов с цилиндрической частью между ними высотой 150-200 мм. Ударная часть сердечника (долота) заточена на конце с углом при вершине 30-4.

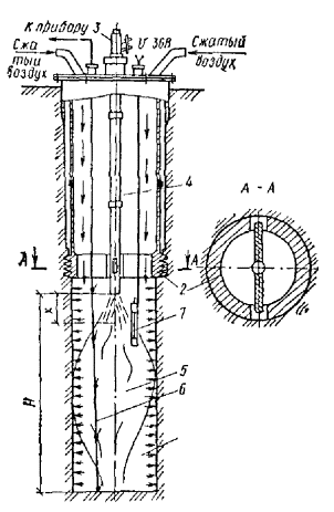
Рис. 11. Уплотнитель виброустановки ВУУП-6

3.84. Для засыпки грунта применяется приспособление в виде совка (рис. 10), изготовленного из отрезка трубы диаметром 522 мм, длиной до 500 мм, разрезанного вдоль на две половины. Толщина стенки трубы должна быть не менее 10 мм. Совок приваривают к трубе диаметром 219 мм, длиной 200 см. Полуцилиндрическую часть совка усиливают ребрами жесткости, привариваемыми к выпуклой его стороне.

3.85. При уплотнении просадочных грунтов предварительным замачиванием и замачиванием с глубинными взрывами ВВ применяются различные механизмы: экскаваторы ЭО3311Г, ЭО4111Б, Э-10011, Э1252 и др., бульдозеры ДЗ-29, ДЗ-17, 19, ДЗ-270, автосамосвалы ЗИЛ, МАЗ и др., а также буровые машины УГБ-50 и СО-2.

3.86. Для глубинного уплотнения песчаных грунтов используется виброустановка ВУУП-6.

Техническая характеристика виброустановки ВУУП-6

Толщина уплотняемого слоя                                                           6 м

Продолжительность цикла уплотнения                                         15 мин

Производительность                                                                        170-210 м3

Тип вибропогружателя                                                                     В-401

Мощность электродвигателя                                                           55 кВт

Частота вращения электродвигателя                                              1470 об/мин

Масса уплотнения                                                                            920 кг

Высота уплотнителя                                                                         7 м

Диаметр уплотнителя                                                                      1000 мм

Частота вынужденных колебаний                                                  1500 кол/мин (25 Гц)

Амплитуда колебаний                                                                      5-6 мм

Общая высота виброустановки                                                        8,8 м

Масса виброустановки                                                                     3400 кг

Грузоподъемность механизма                                                         6 т

Примечание. Рабочие чертежи виброустановки ВУУП-6 имеются во ВНИИГС (193148, Ленинград, ул. Карловская, 4).

3.87. Уплотнитель представляет собой сварную металлическую пространственную конструкцию (рис. 11), детали которой могут быть изготовлены в любых мастерских.

ОПЫТНОЕ УПЛОТНЕНИЕ

3.88. Основным работам по уплотнению просадочных грунтов должно предшествовать в процессе строительства опытное уплотнение, которое производится для уточнения отдельных параметров проекта.

Опытное уплотнение при однородном напластовании грунтов производится в одном, а при разнородном напластовании или при значительном изменении влажности грунтов - не менее чем двух характерных пунктах строительной площадки.

Размеры опытных участков принимаются не менее 3 × 3 м диаметра трамбовки или двойной ширины рабочего органа трамбующей машины при уплотнении трамбованием и не менее 6 × 12 м - при уплотнении укаткой.

При глубинном уплотнении просадочных грунтов грунтовыми сваями опытный участок уплотняется не менее чем тремя смежными сваями, расположенными в плане в вершинах равностороннего треугольника на расстоянии согласно проекту.

Опытное уплотнение просадочного грунта предварительным замачиванием и замачиванием с глубинными взрывами осуществляется в котловане глубиной 0,8 м и шириной, равной толщине слоя просадочного грунта, но не менее 20 м.

3.89. В результате опытного глубинного уплотнения песчаного грунта определяется технологический режим виброуплотнения.

3.90. Опытное уплотнение трамбованием производят для уточнения толщины уплотненного слоя, необходимого числа ударов трамбовки по одному следу, а также установления величины понижения уплотняемой поверхности.

3.91. При устройстве грунтовых подушек уточняются толщины отсыпаемых слоев грунта, число проходов трамбующих машин или механизмов по одному следу и средняя объемная масса сухого грунта в уплотняемом слое.

Опытное уплотнение производят в котловане, отрытом в пределах участка строительства здания или сооружения.

Отметку дна опытного котлована с учетом величины недобора грунта назначают по проекту, а впоследствии уточняют по средней величине понижения поверхности дна котлована.

3.92. Опытные работы по вытрамбовыванию котлованов производят с целью определения:

среднего количества ударов трамбовки заданной массы, размеров и оптимальной высоты сбрасывания для вытрамбовывания котлованов необходимой глубины;

для фундаментов с уширенным основанием из жесткого материала - количества и объемов засыпки жесткого материала, а также необходимого числа ударов для втрамбовывания каждой порции засыпки в дно котлована;

для ленточных прерывистых фундаментов - минимально допустимого расстояния между двумя соседними котлованами при различной глубине их вытрамбовывания;

плотности сухого грунта, влажности и прочностных характеристик φ и С уплотненного грунта, размеров уплотненной зоны вокруг вытрамбованного котлована, а также размеров уширенного основания при втрамбовывании в дно котлована жесткого материала.

Кроме того, в необходимых случаях проводятся испытания опытных фундаментов на вертикальные и горизонтальные нагрузки и определение модулей деформации уплотненных и неуплотненных просадочных грунтов штампами в соответствии с ГОСТ 12374-77 «Грунты, метод полевого испытания статическими нагрузками».

3.93. Опытные работы по вытрамбовыванию котлованов производятся на площадке, расположенной поблизости от строящегося объекта, в котловане, отрытом на проектную глубину.

В том случае, если ранее в подобных грунтовых условиях уже выполнялись опытные работы с аналогичными размерами трамбовок или производилось вытрамбовывание котлованов под здания или сооружения, они могут не выполняться и рекомендуется использовать ранее полученные результаты.

3.94. Количество назначаемых пунктов проведения опытных работ зависит от изменчивости грунтовых условий в соответствии с п. 3.88.

3.95. Опытные работы производятся для всех видов и размеров трамбовок, применяемых при устройстве фундаментов с вытрамбовыванием котлованов на глубину, предусмотренную проектом фундаментов.

Вытрамбовывание котлованов каждой трамбовкой на заданные глубины производится, как правило, с двухкратной повторностью.

3.96. Опытное глубинное уплотнение просадочных грунтов выполняют перед разбивкой сетки грунтовых свай в основании фундаментов зданий и сооружений. При однородном напластовании грунтов опытное уплотнение производят в одном пункте, а при разнородном напластовании или резком изменении влажности грунтов - не менее чем в двух наиболее характерных местах.

Скважины пробивают с поверхности земли или с принятой в проекте отметки дна котлована, отрытого в пределах участка строительства.

3.97. Опытное глубинное уплотнение грунтовыми сваями осуществляют с целью:

уточнения расстояния между грунтовыми сваями для достижения проектной плотности уплотненного грунта;

установления количества и вида зарядов ВВ при расширении скважин взрывом;

установления фактического расхода грунтового материал на одну грунтовую сваю.

3.98. Опытное уплотнение грунта предварительным замачиванием и замачиванием с глубинными взрывами производят в целях:

установления необходимого количества воды и времени замачивания;

уточнения веса глубинных зарядов ВВ и глубину их погружения;

уточнения фактической величины просадки грунта от собственного веса и действия зарядов ВВ;

определения толщины верхнего недоуплотненного слоя грунта.

Опытное замачивание производят перед отрывом котлована вблизи участка строительства здания или сооружения.

Устройство дренирующего слоя, поглощающих и взрывных скважин и камер, а также планировка дна котлована при опытном уплотнении замачиванием и замачиванием с глубинными взрывами выполняются в соответствии с принятыми в проекте рекомендациями.

Рис. 12. Схема размещения штырей для определения величины отказа

1-3 - номера штырей; 4 - место отбора монолитов; 5 - контрольный шурф 1 × 2 × 4 м

3.99. Методика опытного уплотнения грунтов должна предусматривать соблюдение изложенных ниже требований.

При уплотнении трамбовками через каждые два удара трамбовки (прохода трамбующей машины) по забитым в грунт штырям нивелированием определяется понижение уплотняемой поверхности. Для контрольного определения толщины уплотненного слоя в центре уплотненной площади на глубину, равную двум диаметрам трамбовки (через 0,25 м по глубине), должна определяться плотность и влажность грунта.

При устройстве грунтовых подушек опытное уплотнение производится при трех вариантах: числе проходом катков 6, 8 и 10 или ударов трамбовки (проходов трамбующей машины) по одному следу - 8, 10 и 12. Уплотнение производится для всех разновидностей применяемых грунтов не менее чем при трех соответствующих значениях их влажности, равных 1,2Wp, 1,0Wp и 0,8Wp (Wp - влажность на границе раскатывания).

После уплотнения грунта на опытном участке надлежит определить плотность и влажность уплотненного грунта на двух горизонтах, соответствующих верхней и нижней части уплотненного слоя.

Опытное вытрамбовывание производится с замером понижения дна котлована после каждых двух ударов трамбовки. Нивелирование выполняется по верху трамбовки и в двух диаметрально противоположных точках. Для контрольного определения размеров уплотненной зоны в центре котлована отрывается шурф на глубину, равную двум диаметрам или двойной ширине основания трамбовки, с отбором проб грунта по глубине и в сторону от центра через 0,25 м.

При опытном вытрамбовывании котлованов с уширенным основанием фиксируется объем каждой порции втрамбовываемого материала (щебня, гравия, крупного песка) и размеры (в плане и по глубине) полученного уширения.

Для установления результатов опытного глубинного уплотнения грунтовыми сваями на строительной площадке должен отрываться контрольным шурф на глубину не менее 0,7 просадочной толщи с определением влажности и плотности грунта через каждые 0,5 м на глубину 3 м, а ниже - через каждый 1 м. На каждом горизонте определяется плотность грунта в двух точках в пределах каждой грунтовой сваи и в пределах межсвайного пространства.

Рис. 13. Графики понижения трамбуемой поверхности

Для наблюдения за просадкой уплотняемого грунта в процессе опытного замачивания и замачивания с глубинными взрывами следует устанавливать на дне котлована и за пределами по двум взаимно перпендикулярным сторонам котлована поверхностные марки через 3 м на расстоянии, равном полуторной толщине слоя просадочного грунта, а в центре котлована - куст глубинных марок в пределах всей просадочной толщи через 3 м по глубине.

3.100. Для измерения величины понижения отметки дна опытного котлована под воздействием трамбования забивают металлические штыри диаметром 16-20 мм, длиной 500-600 мм по оси котлована в центре каждого следа трамбовки заподлицо с поверхностью земли (рис. 12).

После забивки штырей производят нивелирование и определяют их отметки относительно неподвижного репера. Результаты отсчетов заносят в журнал трамбования грунта в опытном котловане.

3.101. Трамбование грунта в опытном котловане осуществляют по всему котловану двумя ударами последовательно, переходя от одного следа к другому. По мере трамбования производят нивелирование головок штырей и определяют среднюю величину понижения трамбуемой поверхности.

Трамбование ведут до момента, когда понижение штырей составляет не более 1-2 см для глинистых и песчаных грунтов и 4-5 см - для крупнообломочных.

3.102. По результатам нивелирования строят график (рис. 13, а) зависимости понижения поверхности от числа ударов (проходов) и график (рис. 13, б) приращения величины понижения дна котлована на каждые два удара трамбовки.

Участок графика, в пределах которого приращение величины понижения имеет постоянное значение, характеризует величину понижения в сантиметрах на два удара.

По графику (см. рис. 13, б) устанавливают участок перехода кривой понижения поверхности от каждых двух ударов в прямую, параллельную оси абсцисс, что характеризует достижение грунтом «уплотнения до отказа», при котором дальнейшее трамбование становится нецелесообразным, так как приводит к разрушению структуры грунта и разрыхлению верхнего слоя.

3.103. Полученная величина понижения от последних ударов принимается за величину отказа при трамбовании данного вида грунта. Число ударов, соответствующее этой точке на графике, принимается как минимально необходимое.

Средняя величина понижения трамбуемой поверхности при уплотнении до отказа, полученная по графику (см. рис 13), принимается за необходимую величину недобора грунта до проектной отметки под фундаменты при разработке котлована.

3.104. Площадки для опытного уплотнения грунтов при устройстве грунтовых подушек выбирают в наиболее характерных грунтовых условиях комплекса сооружений в стороне от застраиваемых участков.

Основание опытной площадки должно быть спланировано и уплотнено до плотности, принятой в проекте.

Опытное уплотнение производят при трех значениях влажности грунтов: W1 = W0; W2 = 1,2W0; W3 = 0,8W0,

где W0 - оптимальная влажность грунта, принимаемая равной: для трамбовок W0 = Wp - (0,01 - 0,03), а укаткой - W0 = Wp; Wp - влажность грунта на границе раскатывания.

Рис. 14. Графики зависимости удельного веса сухого грунта от влажности при постоянной удельной работе А (А = 50, 100, 150 т·см/м)

Толщина уплотняемых слоев принимается: h1 = H; h2 = 1,2H; h3 = 0,8H, где H - величина уплотняемого слоя грунта в зависимости от применяемого оборудования (см. табл. 2).

3.105. На каждом пункте опытного участка после уплотнения грунта при заданной влажности, толщине слоев и числе проходов механизмов отбирают пробы уплотненного грунта для определения объемной массы сухого грунта и влажности через 0,2 м по глубине.

Пробы отбирают в пределах верхней и нижней зон уплотненного слоя.

3.106. По результатам опытного уплотнения строят графики зависимости плотности от влажности γск = f(W) при различном числе проходов трамбующих механизмов или ударов трамбовки для каждой толщины уплотняемых слоев (рис. 14).

На графиках через серию кривых проводят горизонтальную линию с ординатой, равной проектной плотности грунта. Участки кривых, расположенные выше горизонтальной линии, указывают, при каком числе проходов уплотняющего механизма и интервалов изменения влажности грунта при данной толщине слоя может быть достигнута плотность не ниже проектной.

Толщину уплотняемого слоя выбирают на основе указанных кривых.

3.107. Опытное вытрамбовывание производится с отметки пола первого этажа или подвала. При разнородном напластовании грунтов (по влажности, плотности, литологии) и при наличии подсыпки вытрамбовывание выполняют не менее чем на двух характерных участках.

3.108. Вытрамбовывание котлованов при выполнении опытных работ производится с замером величин понижения дна котлована после каждых двух ударов трамбовки. Замер понижения делается с помощью нивелирования верха трамбовки или замера погруженной части трамбовки в двух диаметрально противоположных точках. На основе этого строится график понижения дна котлована в зависимости от числа ударов трамбовки (см. рис. 13).

В процессе вытрамбовывания производятся визуальные наблюдения за состоянием стенок вытрамбованных котлованов. В случае осыпания грунта со стенок котлована отмечается глубина, при которой оно происходит, и производится повышение влажности грунтов путем увлажнения дна и стенок котлованов в процессе вытрамбовывания, а также снижение высоты сбрасывания трамбовок.

3.109. При вытрамбовывании котлованов под ленточные прерывистые фундаменты, а также столбчатые фундаменты при расположении их в осях на расстояниях менее 2bср (bср - ширина котлована в среднем сечении) наряду с требованиями п. 3.92 производится замер вертикальных и горизонтальных перемещений окружающей их поверхности по двум створам.

Замер перемещений выполняется после каждых двух ударов трамбовки по металлическим штырям, представляющим собой обрезки из арматуры (см. п. 3.100) и забитым в грунт через 20-25 см на расстоянии 2bср от грани котлована (см. рис. 12). Вертикальные перемещения замеряются нивелированием, а горизонтальные - мерной лентой относительно неподвижной точки - репера.

3.110. Для определения минимально допустимых расстояний между котлованами ленточных прерывистых фундаментов вытрамбовываются четыре опытных котлована с расстоянием между ними поверху соответственно bср, 0,8bср и 0,5bср.

При вытрамбовывании первого котлована замеряются вертикальные и горизонтальные перемещения поверхности грунта по маркам, установленным слева.

При вытрамбовывании последующих котлованов вертикальные и горизонтальные перемещения замеряются как по целику грунта между предыдущим и вытрамбовываемым котлованом, так и по дну ранее вытрамбованного котлована.

3.111. Минимально допустимые расстояния между вытрамбованными котлованами ленточных прерывистых фундаментов назначаются исходя из следующих условий:

обязательная сохранность стенок ранее вытрамбованных котлованов;

горизонтальные перемещения верха близрасположенной стенки ранее вытрамбованного котлована не должны превышать 10 см, а низа - 4 см;

вертикальные перемещения (подъем) дна ранее вытрамбованного котлована не должны превышать 4 см.

Минимальные расстояния между котлованами столбчатых фундаментов принимаются при условии, что величины вертикальных и горизонтальных перемещений у ближайшей грани котлована поверху не превышали 4 см.

Рис. 15. Понижение дна котлована в процессе вытрамбовывания и втрамбовывания жесткого материала

1 - вытрамбовывание; 2 - втрамбовывание жесткого материала; 3 - засыпка жесткого материала

3.112. Для фундаментов в вытрамбованных котлованах с уширенным основанием опытные работы производятся, как правило, с втрамбовыванием одной, двух и трех порций щебня, песчано-гравийной смеси или другого жесткого материала. При трех порциях засыпки принимается максимальный объем засыпаемого материала V, а объем материала к каждой порции составляет 1/3 V.

В отдельных случаях может меняться объем материала в каждой порции, т.е. высота засыпки котлована, а также вид втрамбованного материала в дно котлована.

В процессе вытрамбовывания котлованов, а также втрамбовывания жесткого материала в его дно строятся графики понижения дна котлованов (рис. 15).

3.113. После вытрамбовывания по оси котлованов отрываются шурфы и траншеи на глубину не менее 2bср ниже его дна с таким расчетом, чтобы одна из его стенок проходила через центр котлованов для определения влажности, плотности сухого грунта, формы и размеров уплотненной зоны, уширенного основания из трамбованного материала, а также для отбора монолитов уплотненного грунта с целью определения его прочностных характеристик φ и С.

Отбор проб грунта производится через 20-25 см по схемам, приведенным на рис. 16 для различных котлованов.

Размеры уширений в основании замеряются мерной лентой с точностью 1 см через 10-15 см по глубине. По полученным результатам замеров строятся графики изменения удельного веса сухого грунта по глубине и в стороны, определяются формы и размеры уплотненных зон и уширенных оснований (рис. 17).

Рис. 16. Схема отбора проб из шурфа при проведении опытных работ

1 - вытрамбованный котлован; 2 - шурф; 3 - место отбора образцов для определения W, δпр и γск; 4 - места отборов монолитов для определения φ и С

Рис. 17. Уплотненная зона и график изменения объемного веса скелета уплотненных грунтов для удлиненных фундаментов с уширенным основанием

I - вытрамбованный котлован; II - уплотненная зона; III - по горизонтали от оси котлована или от уширения; IV - по вертикали ниже дна котлована или от уширения; V, VI - по горизонтали от боковой поверхности; VII - уширенное основание

3.114. Монолиты уплотненных грунтов для определения их прочностных характеристик отбираются с глубины 0,25-0,35 м от дна вытрамбованного котлована, а при устройстве уширенного основания - от нижней его границы. Испытания уплотненных грунтов производятся при их полном водонасыщении по схеме консолидированного сдвига в соответствии с Руководством по лабораторному определению деформационных и прочностных характеристик просадочных грунтов (М.: Стройиздат, 1974).

3.115. Результаты опытных работ оформляются в виде отчета или акта, на основе которого уточняется технология производства работ по вытрамбовыванию котлованов под фундаменты. К нему прилагаются:

а) схема размещения опытной площадки с вытрамбованными котлованами;

б) графики понижения трамбуемой поверхности в зависимости от количества ударов трамбовок при вытрамбовывании котлованов (см. рис. 15) и втрамбовывании жесткого материала (см. рис. 17);

в) характеристики режима вытрамбовывания котлованов (масса, размеры, удельное статическое давление, высота сбрасывания трамбовки);

г) результаты определений вертикальных и горизонтальных перемещений грунтов при вытрамбовывании котлованов под ленточные прерывистые фундаменты, минимально допустимые расстояния между ними;

д) результаты определения плотности сухого грунта уплотненных грунтов, формы и размеров уплотненных зон и уширений в основании (см. рис. 17);

е) значения прочностных характеристик φ и С уплотненных грунтов с указанием плотности сухого грунта, при которой они определены.

3.116. При необходимости выполнения испытаний опытных фундаментов вертикальной и горизонтальной нагрузками в процессе проведения paбот в соответствии с программой испытаний вытрамбовываются котлованы для фундаментов. Бетонирование фундаментов выполняется сразу же после вытрамбовывания котлованов.

3.117. Испытания опытных фундаментов выполняются вертикальными статическими нагрузками с целью определения:

расчетной нагрузки на фундамент принятых размеров и конструкций;

расчетного давления на уплотненный грунт основания под фундаментами в вытрамбованном котловане.

Испытания опытных фундаментов выполняются, как правило, для:

новых районов, в которых впервые начинается применение фундаментов в вытрамбованных котлованах;

новых конструкций фундаментов в вытрамбованных котлованах, новых конструктивных схем зданий, а также для фундаментов с нагрузками, в 1,5-2 раза превышающими ранее применяемые;

грунтовых условий, в которых ранее фундаменты в вытрамбованных котлованах не применялись и нет данных по статическим испытаниям опытных фундаментов;

всех видов, форм и размеров фундаментов, существенно отличающихся между собой и имеющих массовое применение.

Примечание. При наличии результатов испытаний одинаковых по размерам и конструкциям фундаментов, выполненных по другим районам с аналогичными грунтовыми условиями, испытания опытных фундаментов можно не производить.

3.118. Пункты проведения испытаний опытных фундаментов следует располагать, как правило, в непосредственной близости от наиболее ответственных зданий, а также в наиболее характерных местах, где по предварительным данным ожидаются наибольшие осадки и горизонтальные перемещения фундаментов. При однородном сложении застраиваемой площадки (по составу, состоянию и физико-механическим характеристикам грунтов) по глубине сжимаемой толщи испытания допускается выполнять в одном пункте. При разнородном напластовании грунтов испытания опытных фундаментов должны производиться не менее чем в двух местах.

3.119. При испытании опытных фундаментов в вытрамбованных котлованах вертикальными статическими нагрузками применяется специальное оборудование, включающее упорную установку и реперную систему, и проводится в соответствии с ГОСТ 12374-77.

3.120. После пробивки скважин и набивки их грунтовым материалом отрывается контрольный шурф, из которого отбираются образцы грунта. На каждом горизонте определяется плотность сухого грунта в двух точках в пределах каждой грунтовой сваи, а в междусвайном - в семи точках, расположенных на каждой стороне треугольника, соединяющего оси грунтовых свай (рис. 18).

В случае если плотность грунта окажется меньше предусмотренной в проекте, в последний вносят изменения по размещению грунтовых свай и в дальнейшем уплотнение производят по уточненной сетке расположения грунтовых свай.

Примечание. В ответственных случаях (например, для зданий с мокрым технологическим процессом, возводимых на площадках с глубиной просадочной толщи более 15 м), производят испытания уплотненных грунтов статической нагрузкой, руководствуясь ГОСТ 12374-77. Необходимость и методику проведения таких испытаний устанавливает проектная организация.

3.121. Уплотнение просадочных грунтов предварительным замачиванием и замачиванием с использованием глубинных взрывов зарядов ВВ продолжают до полного промачивания всей толщи просадочных грунтов и стабилизации просадки. За стабилизацию просадки принимают просадку не более 10 мм в неделю.

3.122. В процессе замачивания примерно один раз в неделю производят периодическое нивелирование поверхностных и глубинных марок. Марки привязывают к постоянному реперу или системе временных реперов, расположенных на расстоянии, равном не менее чем двум толщинам просадочного слоя грунта замачиваемого участка.

3.123. Марка простейшей конструкции состоит из арматурного стержня диаметром 16-24 мм, длиной 80-100 см, забитого в грунт на глубину 60-80 см с уплотнением грунта вокруг стержня. Такие марки устанавливаются за пределами котлована (рис. 19).

Рис. 18. Схема отбора образцов грунта для определения плотности грунта

1-21 - места отбора образцов между грунтовыми сваями; I-VI - места отбора образцов в сваях

Рис. 19. Конструкции поверхностных марок

а - простейшего типа; б - с бетонной опорой; в - с бетонной опорой в зимнее время; 1 - арматурный стержень 16-24 мм; 2 - уплотненный грунт, 3 - бетонная опора

Основные поверхностные марки, устанавливаемые в пределах котлованов, состоят из бетонной призмы размером 20 × 20 см, толщиной 10-20 см, в которую забетонирован стержень диаметром 16-24 мм, выступающий на высоту 20-30 см.

3.124. Для наблюдения за послойной просадкой грунта в центре котлована устанавливают куст глубинных марок. Марки устанавливают через каждые 2-3 м по глубине в пределах всей просадочной толщи. В плане их располагают обычно в шахматном порядке через 0,5-0,8 м одна от другой. Глубинная марка состоит из внутренней реперной трубы или стержня, соединенных бетонным анкером с грунтом основания, защитной реперной трубы, исключающей влияние просадки окружающего грунта на реперную трубу, и сальников (рис. 20).

3.125. Опытный участок размером 10 × 10 м при виброуплотнении песчаных грунтов следует располагать в пределах площадки, имеющей наиболее характерные гранулометрический состав и плотность сложения песчаного грунта.

3.126. Уплотнение основания без рыхления следует производить в семи точках, а с рыхлением в шести (рис. 21). После уплотнения необходимо зафиксировать колышками фактические места погружения уплотнителя для последующего зондирования.

3.127. Оценка уплотнения основания должна производиться по показателям удельного веса сухого грунта γd и относительной плотности ID, учитывающей как зерновой состав, так и форму частиц песчаного грунта. Показатели достигнутой плотности грунта по результатам зондирования должны быть сопоставлены с данными плотности сложения грунта образцов, отобранных из шурфов.

3.128. Выполнение опытного уплотнения грунтов должно фиксироваться актами, где указываются рекомендуемые величины отказов при уплотнении грунтов и грунтовых подушек различными грунтоуплотняющими машинами, графики понижения трамбуемой поверхности и дна вытрамбовываемых котлованов в зависимости от режимов работы трамбующих машин, данные по необходимому количеству ударов на одну порцию грунта, загружаемого в скважину при устройстве грунтовых свай, графики просадки глубинных и поверхностных марок, расхода воды при замачивании грунтов и другие результаты опытного уплотнения, регламентирующие технологию основных работ с обеспечением соответствующих показателей по качеству и срокам.

Рис. 20. Конструкция глубинной марки

1 - скважина; 2 - реперная труба; 3 - защитная труба; 4 - анкер из уплотненного бетона; 5 - сальник из просмоленной пакли

Рис. 21. Схемы выполнения работ на участке опытного уплотнения песка

а - без рыхления; б - с предварительным рыхлением; 1 - точки уплотнения; 2 - точки рыхления; 3 - зондирование до уплотнения; 4 - зондирование после уплотнения

3.129. Результаты опытного уплотнения, используемые в качестве основных документов для уточнения проекта производства работ по уплотнению и их приемке, необходимо заносить в журнал и оформлять актом.

В журнале и акте на опытное уплотнение должны быть указаны: влажность, плотность и вид уплотняемого грунта; толщина уплотняемого слоя грунта; вес, размеры и высота сбрасывания трамбовки; число ударов по одному следу; достигнутая глубина уплотнения; величина отказа и недобора грунта до проектной отметки заложения фундаментов.

3.130. В журнале и акте опытных работ по устройству грунтовых подушек следует указать: вид грунта; толщину отсыпаемого слоя; число проходов грунтоуплотняющего механизма; среднюю плотность грунта в уплотненном слое; оптимальную влажность и предел ее изменения.

Журналы заполняются в процессе производства работ, а акты - после окончания опытного уплотнения. Форма журнала и акта приведена в прил. 1, 2. Акты (прил. 3) составляются произвольной формы и подписываются производителем работ.

3.131. Результаты опытных работ по вытрамбовыванию котлованов заносят в журнал (прил. 4) и оформляют актом. К акту прилагаются:

схема размещения опытной площадки с вытрамбованными котлованами;

графики понижения трамбуемой поверхности в зависимости от количества ударов трамбовок (см. рис. 13) и втрамбовывания жесткого материала (см. рис. 15);

характеристики режима вытрамбовывания котлованов (масса, размеры, удельное статическое давление, высота сбрасывания трамбовки);

результаты определений вертикальных и горизонтальных перемещений грунтов при вытрамбовывании котлованов под ленточные прерывистые фундаменты и минимально допустимые расстояния между ними;

результаты определения плотности сухих уплотненных грунтов и размеров уплотненных зон и уширений в основании (см. рис. 17);

значения прочностных характеристик φ и С уплотненных грунтов с указанием плотности сухого грунта, при которой они определялись.

3.132. Результаты опытного уплотнения грунтовыми сваями фиксируются в журнале и оформляются актом (прил. 5, 6) проходки и набивки скважин грунтовым материалом. В них должны быть приведены:

глубина уплотнения;

тип оборудования и вес ударного снаряда;

вид и влажность засыпаемого в скважину грунта;

вес и число порций грунта, засыпаемых в скважину;

число ударов на одну порцию грунта;

плотность и влажность уплотненного грунта между сваями и в теле грунтовых свай;

толщина разрыхленного (буферного) верхнего слоя и способ его уплотнения.

3.133. Результаты опытного уплотнения просадочных грунтов предварительным замачиванием оформляют актом, в котором должны быть приведены:

исполнительный чертеж опытного котлована с указанием расположения глубинных и поверхностных марок;

ведомость нивелирования марок;

графики просадки глубинных и прилегающих к ним поверхностных марок во времени;

графики суточного и полного расхода воды;

профили просадки поверхности грунта по сторонам расположения поверхностных марок;

зарисовки просадочных трещин и результаты определения влажности после замачивания в пределах всей толщи.

3.134. Работы, выполненные по опытному уплотнению песчаного грунта, заносятся в журнал (прил. 7) и оформляются актом, в котором приводятся:

технологический режим уплотнения;

графики зондирования;

гранулометрический состав грунта;

удельный вес сухого грунта и относительная плотность.

3.135. На основе актов проектная организация уточняет проект производства работ по уплотнению грунтов оснований.

ПРАВИЛА ПРОИЗВОДСТВА РАБОТ

3.136. При поверхностном уплотнении грунтов трамбованием следует:

а) отрывку котлованов и траншей вести отдельными участками, размеры которых назначаются в зависимости от производительности оборудования из расчета сохранения оптимальной влажности грунта в открытом котловане на период трамбования;

б) доувлажнять грунт, заливая расчетное количество воды равномерно по всей площади участка или карты, причем уплотнение грунта начинается только после впитывания заливаемой воды и подсыхания грунта на поверхности до влажности, близкой к оптимальной;

в) уплотнение грунта в пределах отдельных участков производить циклами с последовательным переходом от следа к следу; при различной глубине заложения фундаментов уплотнение грунта следует производить, начиная с более высоких отметок;

г) по окончании поверхностного уплотнения верхний взрыхленный слой грунта доуплотнять при оптимальной влажности ударами трамбовки с высоты 0,5-1 м;

д) уплотнение грунта трамбованием в зимнее время вести при талом состоянии грунта и естественной влажности; необходимая глубина уплотнения при влажности грунта ниже оптимальной достигается увеличением веса, диаметра или высоты сбрасывания трамбовки.

3.137. Поверхностное уплотнение грунтов трамбованием включает следующие процессы:

отрыв котлованов или траншей;

подготовку основания для уплотнения, включая планировку и при необходимости доувлажнение грунта до оптимальной влажности;

уплотнение грунта основания;

проверку качества уплотнения.

3.138. Котлован должен быть огражден от попадания атмосферных вод с окружающей территории.

В дождливое время дно котлована планируется с уклоном к приемному колодцу-зумпфу, из которого воду удаляют насосом.

3.139. Заливку котлована водой для придания грунту оптимальной влажности производят равномерно по всей площади отдельными участками с обеспечением спокойного поступления воды.

При больших площадях уплотняемого основания размеры участков назначают из расчета, чтобы обеспечить фронт работ на срок 3-4 дня.

3.140. Трамбование производят через сутки после полного впитывания воды в грунт. Когда влажность грунта у поверхности большая и он прилипает к трамбовке, уплотнение следует прекратить и дать возможность грунту подсохнуть. Если по метеорологическим условиям это осуществить практически невозможно, поверхность дна котлована засыпают слоем маловлажного грунта толщиной 10-15 см. В отдельных случаях для этих целей можно использовать сухой щебень из кирпича, известняка, способный впитывать воду.

3.141. Уплотнение грунтов тяжелыми трамбовками производят с поверхности отрытого котлована, сбрасывая трамбовку массой 5,5-7 т с высоты не менее 6-8 м, а массой 10-15 т - с высоты 12-15 м.

Рис. 22. Схема уплотнения в пределах отдельного участка

а - трамбовка массой 10-15 т; б - то же, 5-7 т

3.142. Трамбовки изготавливают на месте строительства из железобетона или металла в виде усеченного конуса с низким расположением центра тяжести, при котором обеспечивается вертикальность ее падения.

Для обеспечения низкого расположения центра тяжести нижнюю часть железобетонной трамбовки заполняют металлическим ломом.

Трамбовку подвешивают к стреле крана непосредственно на тросе через специальную подвеску, исключающую скручивание рабочего троса. Конструкция железобетонной трамбовки приведена в прил. 8.

3.143. Размеры отдельных участков, подвергающихся уплотнению, назначаются равными 1,4-1,5 радиуса действия стрелы крана. Уплотнение производится по технологической схеме, приведенной в прил. 9.

Трамбование грунта ведется в последовательности, указанной на рис. 22, а.

При этом для равномерного уплотнения всей площади по одному следу дается по два-три удара трамбовки массой 5,5-7 т (рис. 22, б). Такая последовательность сохраняется до тех пор, пока не будет передано заданное число ударов по уплотнению до отказа.

Уплотнение грунта трамбовками массой 10-15 т ведется со смещением следов на расстояние, равное одному диаметру трамбовки (см. рис. 22, а).

При этом по одному следу дается заданное число ударов по уплотнению до отказа.

3.144. Перестановку крана на новый участок производят после окончания работ по уплотнению предыдущего.

Во время трамбования необходимо соблюдать требования к высоте подъема трамбовки, правильному расположению следов и числу ударов.

3.145. После трамбования необходимо произвести планировку дна котлована и уплотнение верхнего разрыхленного слоя тяжелыми катками в соответствии с указаниями п. 3.67 и табл. 2.

3.146. В тех случаях, когда после уплотнения отметка дна всего котлована или в отдельных местах окажется ниже проектной отметки заложения фундаментов, необходимо произвести подсыпку местного грунта с доуплотнением его до требуемой плотности.

3.147. В зимнее время допускается уплотнение только талого грунта при температуре воздуха не ниже минус 10 °С.

Уплотнение должно производиться при естественной влажности. Необходимая глубина уплотнения при влажности ниже оптимальной достигается увеличением высоты сбрасывания, массы трамбовки или числа ударов по одному следу.

3.148. Поверхностное уплотнение грунта трамбованием в зимний период производится с учетом:

глубины промерзания грунта в местных климатических условиях в течение суток по материалам районной метеостанции для оголенной поверхности;

производительности применяемого оборудования для уплотнения и числа смен в сутки;

конструкции фундаментов и способа их возведения.

3.149. Для сохранения талого состояния грунта котлованы отрывают участками, размеры которых устанавливают из среднесуточной производительности применяемого оборудования.

Общую величину недобора грунта до проектной отметки принимают равной величине понижения уплотняемой поверхности при трамбовании с дополнением толщины суточного промерзания грунта.

3.150. В отрытых котлованах, когда уплотнение не может быть осуществлено при положительной температуре, поверхность котлована утепляют и уплотнение производят участками.

3.151. При промерзании грунта основания на значительную глубину грунт перед трамбованием должен быть приведен в талое состояние отогреванием или удалением мерзлого грунта с заменой его талым грунтом с последующим уплотнением.

3.152. В зимних условиях, когда влажность грунта менее оптимальной, уплотнение рекомендуется производить при естественной влажности с увеличением массы или высоты сбрасывания трамбовки.

3.153. При уплотнении грунта тяжелыми трамбовками необходимо соблюдать правила техники безопасности при производстве строительно-монтажных работ в соответствии со СНиП III-4-80.

При этом запрещается:

работать на неисправном кране;

во время работы крана производить его ремонт или смазку;

менять вылет стрелы с поднятой трамбовкой;

передвигать кран на новую стоянку с трамбовкой, поднятой на высоту более 0,5 м.

При уплотнении не допускается находиться у работающего крана на расстоянии, меньшем длины вылета стрелы.

В темное время места работы должны быть освещены.

При маневре крана следует подавать предупреждающий сигнал; его передвижение допускается после того, как машинист убедится в отсутствии людей в радиусе действия крана.

Прежде чем приступить к работам по уплотнению грунта тяжелыми трамбовками, весь персонал, занятый на этих работах, должен пройти инструктаж по технике безопасности.

3.154. Устройство грунтовых подушек должно производиться в котлованах, отрытых ниже проектной отметки заложения фундаментов на глубину, равную толщине грунтовой подушки, с соблюдением следующих требований:

а) толщина отсыпаемых слоев должна приниматься в зависимости от уплотняющей способности применяемых механизмов;

б) грунт для устройства грунтовой подушки следует доставлять в котлован в состоянии оптимальной влажности или производить доувлажнение его до оптимальной влажности на месте укладки;

в) отсыпка каждого последующего слоя должна производиться только после проверки качества уплотнения и получения удовлетворительных результатов по предыдущему слою;

г) устройство грунтовых подушек в зимнее время допускается из талых грунтов с содержанием мерзлых комьев размером не более 15 см не свыше 15 % общего объема при среднесуточной температуре воздуха не ниже минус 10 °С. В случае понижения температуры или перерывов в работе подготовленные, но не уплотненные участки котлована должны укрываться теплоизоляционными материалами или рыхлым сухим грунтом; отсыпка грунта на промороженный слой допускается, как исключение, при толщине мерзлого слоя не более 0,5 м и влажности грунта не выше влажности на границе раскатывания.

3.155. Устройство грунтовых подушек включает:

разработку котлована;

планировку и уплотнение его дна;

отсыпку, планировку и уплотнение каждого слоя до требуемой плотности;

проверку качества уплотнения грунта в каждом слое.

3.156. Грунтовые подушки устраивают по проектам, включающим технологические карты производства работ. Рациональную схему и порядок производства выбирают в зависимости от имеющегося оборудования по уплотнению грунтов, фронта работ и плана расположения здания или сооружения.

Рис. 23. Последовательность операций по устройству грунтовой подушки при рытье траншей экскаватором

1 - движение экскаватора; 2 - движение самосвалов; 3 - рытье котлована; 4 - отсыпка грунта слоями; 5 - уплотнение грунта и контроль качества

3.157. Разработку котлованов осуществляют в зависимости от толщины подушки, размеров и конфигурации фундаментов в соответствии с п. 3.61 настоящего Пособия. Траншеи под фундаменты отдельно стоящих колонн разрабатывают сплошной лентой основных рядов (рис. 23); грунтовые подушки устраивают также в виде сплошных лент, а не на отдельных участках.

При разработке котлованов и траншей устраивают съезды для машин. Чтобы предотвратить попадание атмосферных вод с окружающей территории, котлованы ограждают валом высотой не менее 20-30 см.

3.158. Для удобства производства работ всю уплотняемую площадь разбивают на отдельные карты, на каждой из которых последовательно чередуются выполнение основных работ по отсыпке грунта и его уплотнению.

3.159. Размеры карт назначают с учетом производительности и числа применяемых механизмов для устройства подушек, а также изменения влажности грунтов за период от начала отсыпки до окончания уплотнения.

Уменьшение влажности грунта в результате испарения в летнее время рекомендуется принимать приближенно в пределах 0,02 за сутки. Для исключения изменения влажности под влиянием атмосферных осадков и испарения отсыпанный грунт сразу же уплотняют до проектной плотности.

3.160. В тех случаях, когда для устройства подушек используют грунты влажностью ниже оптимальной, рекомендуется производить доувлажнение их до оптимальной влажности непосредственно в карьере или резерве. Разработку грунта в карьере или резерве и доставку на место укладки производят только после полного впитывания воды в грунт и достижения им оптимальной влажности.

3.161. При небольшом объеме работ доувлажнение грунта производят после его отсыпки равномерно по всей площади заданным количеством воды из автоцистерны или временного водопровода. К уплотнению приступают после того, как грунт по всей глубине приобретает влажность, близкую к оптимальной.

3.162. Использование переувлажненного грунта допускается только в сухое время, когда возможно подсушивание грунта до оптимальной влажности.

Подсушивание грунта производят послойно путем естественного испарения, для чего после укладки и разравнивания грунт выдерживают установленное опытом время. Чтобы ускорить процесс просушивания грунта, рекомендуется производить его рыхление.

3.163. При необходимости повышения влажности уже уплотненного слоя грунта доувлажнение рекомендуется производить после рыхления верхнего уплотненного слоя на глубину 1/3 его толщины, а укатку производят в соответствии с п. 3.1 настоящего Пособия.

3.164. В случае значительных объемов работ и при использовании тяжелых катков для предупреждения образования вала перед вальцом катка целесообразно производить предварительную подкатку уплотняемого грунта более легкими катками на пневмоколесном ходу с пониженным давлением воздуха 0,4-0,6 МПа (4-6 атм) в шинах или тракторами.

3.165. При применении кулачковых катков необходимо учитывать, что эффективность их работы зависит от состояния и чистоты кулачков, т.е. следует обращать внимание на исправность очистных приспособлений.

3.166. Укатку грунта можно производить транспортными средствами, доставляющими грунт. В этом случае их движение необходимо организовать таким образом, чтобы уплотнение производилось равномерно.

Доуплотнение верхнего слоя следует осуществлять тяжелыми катками.

3.167. Если работы по устройству подушек были прерваны на длительное время, то перед возобновлением работ необходимо произвести доуплотнение верхнего, ранее уплотненного слоя.

3.168. Уплотнение грунтов в дождливое время производят сразу после их отсыпки. Перерывы в работах устраивают только после окончания уплотнения грунта, при этом уплотненная поверхность должна иметь уклон для стока воды в приямки-зумпфы, откуда ее удаляют насосами. При отсыпке грунта на мокрую поверхность следует применять грунт влажностью ниже оптимальной на 0,02-0,03.

3.169. Отсыпку и уплотнение грунта в зимних условиях производят с учетом:

возможной глубины промерзания грунта за сутки в местных климатических условиях;

производительности применяемого оборудования для уплотнения грунта;

толщины уплотняемого слоя и числа смен в сутки;

конструкции фундаментов и принятого решения по их возведению.

3.170. Чтобы исключить возможность промерзания грунта в процессе его укладки и уплотнения, весь процесс по устройству подушек должен быть организован непрерывным потоком, желательно круглосуточно.

3.171. Укладка грунта на ранее уплощенный промороженный грунт допускается при толщине слоя не более 0,4 м только в тех случаях, когда влажность его не превышает 0,9 влажности на границе раскатывания. В противном случае промороженный грунт должен быть удален.

3.172. Доувлажнение грунта в зимних условиях на месте укладки допускается только водным раствором поваренной соли.

3.173. В процессе производства работ по поверхностному уплотнению трамбованием и укаткой ведут журналы (прил. 2), в которых указывают:

вид уплотняемого грунта;

толщину уплотняемого слоя;

вес, размер и высоту сбрасывания трамбовок, тип грунтоуплотняющих механизмов;

число ударов трамбовки или проходов грунтоуплотняющих механизмов;

плотность и влажность уплотняемого грунта. Журналы подписывает производитель работ или сменный инженер.

3.174. Вытрамбовывание котлованов под фундаменты должно выполняться с соблюдением следующих требований:

а) вытрамбовывание котлованов под отдельно стоящие фундаменты надлежит выполнять сразу на всю глубину котлована без изменения положения направляющей штанги трамбующего механизма;

б) доувлажнение грунта в необходимых случаях должно производиться от отметки дна котлована на глубину не менее полуторной ширины котлована;

в) оттаивание мерзлого грунта необходимо производить на всю глубину промерзания в пределах площади, стороны которой равны полуторным размерам сторон котлована; вытрамбовывание котлованов при отрицательной температуре воздуха рекомендуется выполнять без дополнительного увлажнения грунта;

г) втрамбовывание в дно котлована щебня, гравия, крупного песка для создания уширенного основания производят сразу же после вытрамбовывания котлована.

3.175. Вытрамбовывание котлованов состоит из следующих процессов:

отрывка и подготовка котлована для вытрамбовывания;

вытрамбовывание котлованов;

втрамбовывание жесткого материала в дно котлована;

устройство монолитных фундаментов;

установка сборных фундаментов.

3.176. Котлован вытрамбовывания отрывается на проектную глубину сразу по всей площади или отдельными участками в зависимости от необходимого фронта работ. При этом полностью срезается растительный слой и насыпной грунт, содержащий более 0,05 органических включений по весу.

3.177. Подсыпка дна котлована при срезке растительного слоя с содержанием растительных остатков более 0,05, а также при уклонах местности выполняется из местного глинистого грунта оптимальной влажности отдельными слоями с уплотнением каждого слоя до удельного веса сухого грунта 1,55-1,6 т/м3.

Качество уплотнения проверяется путем отбора проб из расчета одной пробы на 100 м3 уплотненного грунта, но не менее трех на каждом участке.

Подсыпку целесообразно производить из глинистых грунтов с более высоким числом пластичности, чем грунты подстилающего слоя, но не ниже 0,8.

Размеры котлована в плане должны обеспечить возможность маневрирования механизмов, выполняющих вытрамбовывание котлованов и бетонирование фундаментов, для чего с одной стороны здания делается уширение котлована, на котором осуществляются проезды и развороты машин.

3.178. В целях исключения попадания атмосферных вод с окружающей территории котлован с верховой стороны обваловывается, а съезды делаются с низовой стороны. Дно котлована в пределах каждого участка должно быть ровным, исключающим скопление атмосферных вод, и планируется с точностью ±5 см.

3.179. В тех случаях, когда необходимо доувлажнение грунтов до оптимальной влажности, производится заливка расчетного количества воды на пятно будущего котлована, огражденное грунтовым валиком или специальным шаблоном, вдавливаемым в грунт.

Необходимое количество воды A, м3, для получения оптимальной влажности грунта под каждый котлован определяется по формуле

A = [l,2γск (W0 - W) / γв] hуплF,                                              (3)

где γв - удельный вес воды, равный 1 тс/м3; F - площадь проекции уплотненной зоны; hупл - максимальная толщина уплотненного слоя; γск - среднее значение плотности сухого грунта естественного сложения; W0 - значение оптимальной влажности грунта; W - природная влажность грунта.

При необходимости увлажнения грунтов на глубину более 2,5-3 м для замачивания бурятся одна или три расположенные по вершинам равностороннего треугольника скважины диаметром 20-30 см, глубиной до 1,2 м, в которые заливается вода.

После полного впитывания воды и подсыхания верхнего слоя грунта до оптимальной влажности производится повторная планировка всей площади котлована.

3.180. При производстве работ в зимнее время, когда толщина промерзающего слоя превышает 30 см, производится оттаивание его на всю толщину промерзания на площади диаметром 3bср (bср - размер трамбовки в среднем сечении).

3.181. Перед началом работ по вытрамбовыванию котлованов производится разбивка их центров. Отклонения центров котлованов в каждую сторону не должны превышать 3 см от проектного положения.

Для фундаментов с плоской подошвой относительно их осей по шаблону очерчивается место установки трамбовки.

Для фундаментов с заостренным и уширенным основанием по центрам будущих котлованов устанавливаются соответствующие шаблоны, обеспечивающие необходимую точность установки трамбовки.

3.182. При разбивке осей каждому котловану присваивается порядковый номер, который в дальнейшем используется для технического отчета, и в соответствии с выполненной нивелировкой и требованиями проекта намечается необходимая глубина вытрамбовывания.

3.183. Готовность котлована для производства работ по вытрамбовыванию оформляется актом на скрытые работы. Акт составляется представителями заказчика, технической инспекции, авторского надзора, исполнителя работ после осмотра готовности работ на месте. К акту прилагается исполнительная схема котлована с указанием проектных и фактических размеров и отметок, данных по разбивке осей зданий и центров будущих фундаментов.

3.184. Вытрамбовывание котлованов производится в соответствии с проектом или технологической картой производства работ.

Очередность вытрамбовывания котлованов и схема движения механизма с трамбовкой назначается с таким расчетом, чтобы обеспечить бетонирование фундаментов не позднее, чем через 1-2 сут после окончания вытрамбовывания с учетом расстояния между трамбуемой и бетонируемой захватками (не менее 15 м) в целях предохранения свежеуложенного бетона от сотрясений в течение первых трех суток его твердения.

3.185. При расстояниях в свету между отдельными фундаментами менее 0,8bср (bср - ширина трамбовки в среднем сечении) котлованы вытрамбовываются через один фундамент. Вытрамбовывание котлованов под пропущенные фундаменты производится не менее чем через 3 сут после бетонирования фундаментов в ранее вытрамбованных котлованах.

В процессе производства работ обращается особое внимание на сохранность вытрамбованных котлованов и забетонированных фундаментов.

3.186. Вытрамбовывание котлованов начинается с установки трамбовки по центру и осям будущего фундамента. Допускаются отклонения центра трамбовки на величину не более 3 см, а разворот осей на 5°.

Вытрамбовывание котлованов производится последовательным сбрасыванием трамбовки по направляющей штанге с высоты 3-8 м, а при применении сваебойного оборудования - забивкой на заданную глубину.

Высота сбрасывания трамбовки принимается при следующих условиях: величина погружения трамбовки за один удар не должна превышать 0,15 глубины котлована, необходимо исключить засасывание трамбовки, обеспечить сохранность стенок котлована и т.п. Для доуплотнения верхнего слоя дна котлована последний удар трамбовки делается с высоты 1 м.

3.187. Вытрамбовывание котлованов на каждой стоянке механизма должно производиться сразу на всю глубину. Перемещение направляющей штанги и механизма во время вытрамбовывания, за исключением случая выправления направляющей в вертикальное положение, не рекомендуется.

Рис. 24. Последовательность вытрамбовывания котлована в два следа под спаренный фундамент у осадочного шва (о.ш.)

I-V - этапы вытрамбовывания

Глубина вытрамбованного котлована должна соответствовать проектной с точностью ±5 см.

3.188. Вытрамбовывание котлованов под спаренные фундаменты (у осадочных швов и т.п.) должно выполняться последовательно отдельными этапами на 0,2-0,4 глубины котлована при каждом положении направляющей штанги (рис. 24).

Изменение положения направляющей штанги при вытрамбовывании котлованов под спаренные фундаменты выполняется перемещением механизма или поворотом стрелы.

3.189. Смещение центров вытрамбованных котлованов от проектного положения не должно превышать 0,1 его ширины поверху, а при наличии стакана для установки колонны - 0,05. При невыполнении этих условий перед сдачей котлована производится соответствующая подрезка боковых стенок котлована вручную с удалением или доуплотнением осыпавшегося грунта на дно котлована.

3.190. В процессе вытрамбовывания котлованов инженерно-техническим персоналом участка и лабораторией строительства ведется журнал производства работ в соответствии с формой, приведенной в прил. 14.

3.191. Приемка-сдача готовых котлованов под бетонирование фундаментов осуществляется отдельными захватками (секциями). Каждый котлован очищается от рыхлого разуплотненного грунта на дне и стенках котлована и в целях исключения влияния атмосферных воздействий и выполнения требований техники безопасности закрывается крышкой.

Приемка котлованов выполняется комиссией на основе исполнительной схемы с указанием проектных и фактических отметок и расположения котлованов, журнала производства работ (см. прил. 4), осмотра состояния котлованов на месте и оформляется актом на скрытые работы с приложением приведенных выше документов.

3.192. Для создания уширенного основания в дно вытрамбованного котлована втрамбовывается жесткий материал (щебень, гравий, крупный песок, жесткий бетон и т.п.).

Вид материала, втрамбованного в дно котлована, указывается в проекте и назначается с учетом конструкции фундамента, нагрузок на него, наличия в районе строительства того или иного материала и т.п. Прочность материала (щебня, гравия, песка) должна быть не ниже 300 кгс/см2.

3.193. Втрамбовывание жесткого материала в дно котлована производится, как правило, сразу же после его вытрамбовывания без изменения положения механизма и направляющей штанги и с занесением необходимых данных в журнал производства работ (прил. 10).

При последовательном выполнении работ особое внимание обращается на точность установки направляющей штанги и трамбовки в их первоначальное положение.

3.194. Засыпка и втрамбовывание жесткого материала в вытрамбованный котлован производится отдельными порциями из расчета заполнения котлована на 0,6-1,2 м по высоте.

Засыпка выполняется при поднятой трамбовке мерными емкостями, например ковшом автопогрузчика. Каждая порция материала засыпается после втрамбовывания предыдущей порции до проектной глубины котлована или отметки, указанной в проекте.

3.195. Втрамбовывание жесткого материала в дно котлована производится сбрасыванием трамбовки с высоты 4-8 м. При осыпании грунта со стенок котлована высота сбрасывания трамбовки снижается до 3-4 м.

При близко расположенных один от другого фундаментах (на расстояниях в свету менее 2bср) втрамбовывание жесткого материала производят через один фундамент.

3.196. Втрамбовывание жесткого материала продолжается до тех пор, пока не будет погружен в грунт заданный в проекте объем жесткого материала. Втрамбовывание последней порции материала допускается прекращать, не доходя до проектной отметки, если после 12 ударов трамбовки понижение трамбуемой поверхности за один удар достигает менее 3-4 см, что отмечается в графе «Примечание» журнала производства работ.

3.197. Фундаменты устраиваются сразу же после приемки вытрамбованных котлованов в соответствии с п. 3.132. Устройство их начинается с установки и закрепления арматурных сеток (каркасов) в соответствии с проектом, а также опалубки выступающих частей, гнезд и закладных деталей фундаментов в соответствии с их расположением по проекту.

3.198. Бетонирование фундаментов производится враспор бетоном марки М200 или М150 до заранее установленных отметок на стенках котлована, опалубки стакана или специально устанавливаемых приспособлениях. Бетон уплотняется вибраторами.

Укладка бетона и его уплотнение производятся в соответствии с проектом производства работ, типовыми технологическими картами и требованиями СНиП III-15-76.

Во избежание засорения бетона грунтом подачу его в котлован целесообразно осуществлять по легким наклонным лоткам, передвигаемым с одного котлована на другой.

3.199. Бетонирование фундаментов производится сразу на всю высоту до проектной отметки верха. Допуски и отклонения верхних поверхностей фундаментов от проектных отметок не должны превышать ±10 мм.

В процессе бетонирования ведется журнал бетонных работ.

3.200. Приемка готовых фундаментов производится технической комиссией (см. п. 3.132) на основе данных об их состоянии на месте, журналов производства работ, исполнительных схем с составлением акта на скрытые работы. К акту прилагаются исполнительные схемы на выполненные фундаменты, журналы производства работ по вытрамбовыванию котлованов и бетонных работ, ведомость испытаний контрольных образцов-кубов бетона.

Монтаж и устройство верхнего строения начинаются после того, как бетон фундаментов достигает прочности не ниже 70 % проектной.

3.201. Перед установкой сборных фундаментных башмаков уточняются разбивка центра и осей фундаментов по вытрамбованным котлованам и отметки их дна. При смещении центра осей, а также при повышении отметки дна вытрамбованного котлована более чем на 5 см от проектного положения производится соответствующая подрезка стенок и дна котлована с зачисткой их вручную. После этого закрепляется на месте положение осей фундамента.

3.202. Перед установкой сборных фундаментных башмаков на подготовленной поверхности дна вытрамбованного котлована укладывается выравнивающий слой из цементного раствора толщиной 3-5 см. В том случае, если отметка дна котлована окажется ниже проектной, толщина цементной подготовки увеличивается на соответствующую высоту.

3.203. Сборные фундаменты-башмаки устанавливаются строго по осям фундаментов и затем вдавливаются в вытрамбованный котлован путем добивки их легкими ударами трамбовки, падающей с высоты 0,5-0,8 м.

Зазоры между фундаментами и стенками котлованов заполняются пластичным бетоном или цементным раствором.

3.204. Отрывка котлованов для вытрамбовывания в зимнее время выполняется отдельными захватками с размерами, при которых с учетом среднесуточных отрицательных температур обеспечивается вытрамбовывание котлована в практически талом грунте.

Подсыпка грунта при планировке дна котлована производится только талым грунтом с уплотнением его до требуемой степени плотности в талом состоянии.

Сразу же после отрыва и планировки дна котлованов поверхность их в местах расположения вытрамбованных котлованов целесообразно утеплять специальными матами.

3.205. Вытрамбовывание котлованов в зимнее время должно производиться при талом состоянии грунта. Промерзание грунта с поверхности допускается на глубину не более 30 см.

При промерзании грунта на глубину более 30 см перед началом работ по вытрамбовыванию котлованов производится его оттаивание на всю толщину мерзлого слоя (см. п. 3.120). Метод, режим и сроки оттаивания мерзлого грунта принимаются в соответствии с проектом или типовыми технологическими картами производства работ.

3.206. Вытрамбовывание котлованов при отрицательных температурах воздуха производится, как правило, при его естественной влажности без дополнительного увлажнения.

При влажности грунтов ниже оптимальной на 0,06-0,08 допускается производить доувлажнение их раствором поваренной соли.

3.207. Перед вытрамбовыванием котлована снег и лед с поверхности грунта в месте их расположения удаляют.

В процессе производства работ по вытрамбовыванию котлована, втрамбовыванию жесткого материала в дно котлована, а также по бетонированию фундаментов не допускается попадание в котлован комьев снега, льда, мерзлого грунта.

3.208. Втрамбовывание жесткого материала в дно котлована в зимних условиях должно производиться только при талом состоянии грунта на дне котлована сразу же после его вытрамбовывания. Разрыв между вытрамбовыванием котлована и втрамбовыванием жесткого материала не должен превышать 4-5 ч.

Жесткий материал, используемый для создания уширенного основания, должен находиться в талом или сыпучем состоянии.

3.209. После вытрамбовывания до проектной отметки и втрамбовывания жесткого материала котлованы следует закрывать утепленными крышками. Талое состояние грунта на дне и стенках котлованов должно сохраняться до бетонирования фундаментов.

3.210. Перед бетонированием фундаментов проверяется талое состояние стенок и дна вытрамбованных котлованов, а также готовность их в соответствии с требованиями п. 3.191. При промерзании грунта внутри котлованов производится оттаивание его.

3.211. Бетонирование фундаментов в зимнее время выполняется в соответствии с требованиями разд. 5 СНиП III-15-76.

Режим электропрогрева и уплотнения бетона на период его твердения, а также контроль за электропрогревом определяется проектом производства работ.

3.212. Установка сборных фундаментных блоков в зимнее время производится по пп. 3.243-3.245 с электропрогревом бетонной или цементной подготовки под фундаментами и в зазорах между ними и стенками котлованов.

3.213. После бетонирования фундаментов грунт вокруг фундаментов во избежание дополнительного промерзания утепляется на весь период производства работ. Для его утепления применяют опилки, соломенные маты, снег и т.п.

В тех случаях, когда возможно промерзание грунта и незагруженных фундаментов на величину 0,3Hн (Hн - нормативная глубина сезонного промерзания, определяемая по п. 3.31 СНиП 2.02.01-83), на фундаментах следует установить марки и проводить систематическое наблюдение за их осадкой и подъемом. При подъемах свыше 2 см до монтажа верхних конструкций фундаменты после оттаивания грунта вокруг них должны быть добиты или пригружены статической нагрузкой с получением осадки: при добивке - 5 см, при пригрузке - осадки, равной величине подъема.

3.214. Глубинное уплотнение грунтов грунтовыми сваями должно выполняться с соблюдением следующих требований:

а) проходка скважин станками ударно-канатного бурения должна осуществляться, как правило, при природной влажности грунта; станки должны быть устойчивы, а штанги ударного снаряда строго вертикальны; проходку скважин надлежит производить с использованием преимущественно ударных снарядов диаметром до 0,45 м и весом не менее 3 т при высоте сбрасывания 0,8-1,2 м;

б) устройство скважин с помощью взрыва допускается, если влажность грунта находится на пределе раскатывания, а при меньшей влажности грунт должен быть доувлажнен; в случае отсутствия указаний в проекте шпуры бурятся диаметром 80 мм, а ВВ принимается в виде патронов аммонита № 9 или № 10 весом 50 г от 5 до 10 шт. на 1 м шпура; при проходке скважин взрывом их надлежит устраивать через одну, а пропущенные - только после засыпки и послойного уплотнения ранее пройденных;

в) перед засыпкой каждой скважины, полученной взрывом, должны производиться замеры ее глубины; при образовании завала высотой до 1,5 м он должен быть уплотнен 20 ударами трамбующего снаряда, более 1,5 м - делается новая скважина;

г) для уплотнения грунта в скважинах следует применять станки ударно-канатного бурения, обеспечивающие возможность использования грунтов с отклонением от оптимальной влажности в пределах от 0,02 до -0,06;

д) проходка скважин станками ударно-канатного бурения в зимнее время допускается при промерзании грунта на глубину не более 0,3 м, а при большей глубине - только после оттаивания промерзшего слоя или проходки его бурением; набивку скважин при отрицательной температуре воздуха необходимо производить талым грунтом.

3.215. Глубинное уплотнение грунтовыми сваями состоит из следующих этапов:

вертикальной планировки площадки с удалением растительного слоя;

разбивки сетки грунтовых свай;

пробивки скважин до проектной глубины;

доставки грунта и засыпки его в скважины отдельными порциями с послойным уплотнением до проектной плотности;

поэтапного контроля за пробивкой скважин, толщиной отсыпаемого слоя грунта в скважину и качеством уплотнения. Число одновременно работающих станков принимают исходя из размеров уплотняемой площади.

3.216. Пробивку скважин станками ударно-канатного бурения производят с поверхности спланированной площади или со дна котлована через одну. Пропущенные скважины пробивают после засыпки грунта и его уплотнения в ранее полученных.

Скважины пробивают одним станком с наконечником, используемым также и для уплотнения засыпаемого грунта, или двумя станками с использованием второго станка для изготовления пропущенных грунтовых свай.

3.217. Скважины разрешается пробивать, когда зазор между поверхностью наконечника свободно висящего ударного снаряда и внутренней поверхностью кондуктора (цилиндра) составляет не более 4 см.

3.218. Равномерное уплотнение оснований с использованием энергии взрыва зарядов ВВ обеспечивается при оптимальной влажности грунта.

Когда природная влажность грунта меньше оптимальной, производят его доувлажнение.

3.219. Перед производством работ следует провести контрольное определение влажности грунта по образцам, отобранным из разведочных скважин через 1 м по глубине.

Скважины бурят на всю глубину просадочной толщи в пределах контура возводимого сооружения из расчета одна скважина на 600 м2 уплотняемой площади, но не менее одной в пределах здания.

По образцам, отобранным из скважин, составляют чертежи колонок с указанием результатов определения природной влажности и влажности на границе раскатывания для каждого слоя по глубине.

По полученным послойным среднеарифметическим значениям определяют средневзвешенную влажность грунта в природном залегании и на границе раскатывания по формуле

Wср = (W1h1 + W2h2 + W3h3) / (h1 + h2 + h3),                                     (4)

где Wср - средневзвешенная влажность грунта; W1; W2; W3 - среднеарифметические значения влажности отдельных слоев грунта; h1, h2, h3 - толщина однородных слоев грунта, м.

3.220. Необходимое количество воды А на 1 м3 грунта определяется по формуле

A = γск (KW0 - W),                                                             (5)

где γск - среднее значение плотности сухого грунта, т/м3; W0 - оптимальная влажность, доли единицы; W - природная влажность грунта; К - коэффициент, учитывающий потери воды на испарение и равный 1,1.

Для принятых значений плотности и влажности грунта количество воды может быть определено по табл. 4.

Замачивание грунтов основания производят после удаления растительного слоя, а при наличии насыпных грунтов, состоящих из строительного мусора с органическими остатками, - после их удаления.

Таблица 4

Грунт

Количество воды, м3, необходимое для повышения влажности грунта до оптимального значения при влажности его в природном состоянии

0,07

0,08

0,09

0,10

0,11

0,12

0,13

0,14

0,15

0,16

0,17

Супесь

0,144

0,128

0,112

0,096

0,080

0,062

0,048

0,032

0,016

-

-

Суглинок

0,176

0,160

0,144

0,128

0,112

0,096

0,080

0,062

0,048

0,032

0,016

Примечание. Таблица составлена для γск = 1,6 т/м3 при Wp = 0,16 для супеси и Wр = 0,18 - для суглинка.

Заливку расчетного количества воды при толщине просадочного грунта более 15 м производят в пределах всей уплотняемой площади или отдельными участками через дно котлована и дренажные скважины диаметром 150-200 мм.

Дренажные скважины для замачивания пробивают или бурят между запроектированными грунтовыми сваями и заполняют дренирующим материалом (песком или щебнем). Число их назначают из расчета одна скважина на 10 м2 площади уплотняемого основания.

3.221. При производстве работ в зимнее время замачивание грунта производят только через дренажные скважины.

Количество воды, поступающей в котлован, учитывают водомерами или другим способом, обеспечивающим точность расхода воды до 10 %.

3.222. После полного просачивания воды в грунт и подсыхания дна котлована производят контрольное бурение с отбором образцов для определения влажности. Если влажность грунта ниже предусмотренной проектом, производится дополнительное увлажнение.

3.223. Скважины-шпуры для установки цепочки патронов ВВ устраивают диаметром 80-85 мм. Проходка их осуществляется бурением или пробивкой.

3.224. Для пробивки скважин-шпуров применяют штанги диаметром 48-52 мм. Штанги забивают в грунт звеньями длиной 2-2,5 м вибратором или молотом весом 350-400 кг.

В первое звено штанги ввинчивают конусообразный башмак диаметром 80-85 мм, изготовленный из металла, который обеспечивает легкое извлечение штанг после пробивки.

Верх штанги для сохранения резьбы при забивке накрывается наголовником в виде стальной пробки или муфты с деревянной прокладкой.

3.225. Для обеспечения вертикальности скважин-шпуров штанги погружают через кондуктор. Извлечение штанг производят тем же копром, которым производилась пробивка.

Проходка скважин-шпуров производится от периферии котлована к центру через одну. Пробивка оставшихся скважин-шпуров производится после расширения взрывом ранее пройденных и набивки их грунтом и фиксируется в журнале (прил. 5).

3.226. Для расширения скважин в просадочных грунтах применяются патроны фабричного изготовления. При их отсутствии патроны можно готовить на месте из плотной водонепроницаемой бумаги, накатанной в два-три слоя на деревянные болванки с последующей закаткой торца. Дно такой гильзы забивается по торцу болванки.

Аммоний или другое ВВ засыпается в гильзы мерными стаканчиками по 50 г с точностью взвешивания до 0,5 г, после чего гильза закрывается. При повышении влажности ВВ в патронах их применение не допускается.

3.227. Для каждого слоя однородного грунта число патронов устанавливается на основе инженерно-геологического разреза исходя из степени глинистости грунта, характеризуемой числом пластичности и уточняется на основе опытных взрывов:

Число пластичности грунта

0,05

0,06-0,08

0,09-0,12

0,13-0,14

0,15-0,16

0,17 и более

Количество патронов на 1 м скважины-шпура

5

6

7

8

9

10

3.228. Патроны надежно прикрепляются к одной или двум нитям шпагата или отожженной проволоки и размещаются равномерно по глубине в пределах каждого однородного слоя.

Длина цепочки патронов назначается с таким расчетом, чтобы верхний патрон располагался на 0,5-0,7 м ниже поверхности земли (устья шпура) во избежание выброса грунта при взрыве.

До опускания заряда в скважину-шпур должны быть проверены ее вертикальность, глубина, число патронов, их расположение, длина заряда и соответствие их проекту.

Заряд опускается в скважину-шпур непосредственно перед взрывом и должен находиться в натянутом состоянии под действием собственного веса.

3.229. Взрыв осуществляется в каждой скважине отдельно при помощи детонирующего шпура. Интервал между взрывами отдельных зарядов принимается не менее 1 мин. После взрыва и выхода газов измеряются глубина и диаметр полученной скважины.

3.230. При взрыве может образоваться завал части скважины грунтом.

Если высота завала больше 1,5 м, скважина считается бракованной. В этом случае вначале трамбуют обвалившийся грунт, затем засыпают порции грунта с послойным уплотнением и в непосредственной близости изготавливают дополнительную грунтовую сваю.

Если высота завала менее 1,5 м, при необходимости его вначале доувлажняют и утрамбовывают не менее чем 20 ударами снаряда, а затем засыпают первую порцию грунта с последующим уплотнением.

3.231. Скважины заполняют грунтом порциями, каждая из которых уплотняется станком БС-1М. В качестве грунтового материала используются суглинки и супеси (без включения растительных остатков и строительного мусора), имеющие оптимальную влажность. Отклонение от оптимальной влажности допускается в пределах 0,02-0,04.

Если влажность предназначенного к засыпке в скважину грунта не отвечает требованию проекта, производят его доувлажнение.

Ориентировочное количество воды, м3, необходимое для увлажнения 1 м грунта в зависимости от его влажности, принимается по табл. 5.

3.232. Доставленный к месту работ и подготовленный к засыпке грунт должен быть в короткий срок использован для набивки скважин.

Если создается запас грунта, то должны быть приняты меры, предупреждающие возможное его высыхание или переувлажнение (покрытие грунта брезентом, хранение под навесом и т.п.).

3.233. Объем грунта в порции назначают из расчета получения столба рыхлого материала в скважине высотой не более 2 диаметров скважины.

Грунт засыпают в скважину при поднятом ударном снаряде с помощью механизмов, снабженных дозаторами, равными 0,2 м3 (порядка 300 кг) при массе ударного снаряда 3 т.

3.234. Трамбование каждой порции грунта в скважине производится с помощью станка ударно-канатного бурения с массой ударного снаряда не менее 2 т.

3.235. Набивку скважин грунтом ведут до полного ее окончания. В случае перерыва в работе скважину следует закрыть, исходя из условий техники безопасности.

Для набивки 0,8-1 м скважины требуется 300-400 кг грунта (одна порция), а для уплотнения его до проектной плотности достаточно 20 ударов, т.е. примерно 0,5 мин работы станка.

3.236. В зимнее время основными трудностями, вызывающими снижение производительности работ, являются:

промерзаемость верхних слоев грунта, затрудняющая пробивку скважин и вызывающая отклонение ее оси от проектной;

быстрое смерзание подвозимого грунта для засыпки скважин в процессе его складирования.

Промерзание верхнего слоя грунта на глубину 0,15-0,2 м не оказывает существенного влияния на пробивку скважин станками БС-.

При глубине промерзания верхнего слоя грунта более 0,2 м необходимо проведение дополнительных работ, обеспечивающих пробивку скважин. К ним относятся:

разработка мерзлого грунта станками шнекового бурения;

электропрогрев мерзлого грунта;

комбинированный способ, который включает в себя электропрогрев с последующим разбуриванием грунта.

3.237. При проходке скважин в мерзлом грунте принимается следующая схема работ. Первоначально буровой машиной (диаметром 325 мм) разбуривается верх скважины до глубины 1,5-2 м, после чего на скважину устанавливается станок, который производит дальнейшую пробивку скважин диаметром снаряда 426 мм.

3.238. При устройстве грунтовых свай грунт, засыпаемый в скважины, не должен содержать в себе мерзлых включений грунта.

3.239. Уплотнение грунтов предварительным замачиванием необходимо выполнять с соблюдением следующих требований:

а) котлован или отдельные карты для замачивания должны отрываться в основном за счет удаления растительного и насыпного слоев, дно котлована планируется срезкой грунта;

б) замачивание должно проводиться путем затопления котлована водой с поддержанием уровня на высоте 0,3-0,8 м от дна и продолжаться до промачивания всей толщи просадочных грунтов и условной стабилизации просадки, за которую принимается просадка менее 1 см в неделю;

в) в процессе предварительного замачивания должны вестись систематические наблюдения за осадкой поверхностных и глубинных марок, а также за расходом воды; нивелирование марок должно производиться не реже одного раза в 3-7 дней;

г) глубину замачивания следует устанавливать по результатам определения влажности грунта через метр по глубине на всю просадочную толщу;

д) при отрицательных температурах воздуха предварительное замачивание должно производиться с сохранением дна затапливаемого котлована в талом состоянии и подачей воды под лед;

е) при уплотнении грунтов замачиванием с применением энергии глубинных взрывов взрывные работы следует выполнять сразу же после подачи в грунт воды.

3.240. При уплотнении просадочных грунтов предварительным замачиванием последовательно выполняются следующие этапы:

подготовка котлованов-карт для замачивания;

замачивание грунта в котлованах;

доуплотнение верхнего разрыхленного слоя грунта после окончания замачивания.

Подготовка котлована для замачивания включает в себя разбивку на карты; подвозку дренирующего материала; разводку временного водопровода; бурение скважины при толщах просадочных грунтов, достигающих 15 м и более, и другие строительные работы.

3.241. Котлованы отрываются бульдозером или скрепером. Вынутый грунт частично идет на обвалование котлована. Стенки котлована устраиваются с минимальными откосами, а обвалование - с откосами в 45° и тщательным уплотнением.

Рис. 25. Рекомендуемая схема расположения скважин дли замачивания котлованов

1 - контур котлована; 2 - контур проектируемого здания; 3 - скважины для предварительного замачивания

3.242. Планировка котлована или отдельных карт выполняется с точностью ±10 см от заданных отметок. В целях предотвращения заиливания грунта по дну котлована отсыпается дренирующий слой, из крупнозернистого песка или гравия толщиной 8-10 см. При этом дренирующий слой не должен содержать глинистых или пылеватых частиц более 20-25 % по весу.

На участке, где установлены поверхностные и глубинные марки, разравнивание дренирующего материала производится вручную.

3.243. Дренажные скважины целесообразно устраивать на глубину 0,7-0,8 величины просадочной толщи.

Расстояние между скважинами в пределах замачиваемого участка назначается 3-7 м и принимается в зависимости от их диаметра и фильтрационной способности грунтов.

В целях обеспечения более равномерного уплотнения грунта по всему котловану и ускорения просадки скважины по периметру котлована располагаются через 2-4 м (рис. 25).

3.244. При замачивании грунта следует вести наблюдения за:

расходом воды (по водомерам или по величине понижения уровня воды по водомерным рейкам);

временем появления просадочных трещин в грунте и развитием их во времени;

осадкой поверхностных и глубинных марок.

3.245. В результате предварительного замачивания должна быть промочена вся толща просадочных грунтов. Для контроля в пределах котлована пробуриваются 2-3 скважины с отбором проб грунта для определения влажности через 1 м по глубине.

3.246. После достижения условней стабилизации просадки все трещины с раскрытием более 2 см должны быть за тампонированы раствором из лёссовых грунтов (1 м3 воды на 0,2-0,3 м3 грунта).

Дно траншей для прокладки коммуникаций, несущих воду, придорожных кюветов, а также дно и откосы арыков-оросителей в местах пересечения просадочных трещин в грунте следует уплотнять на глубину 50-70 см.

3.247. При низких температурах воздуха для бесперебойной подачи воды временные трубопроводы, задвижки, водомеры утепляются.

3.248. Чтобы сохранить грунт дна котлована в талом состоянии, высота столба воды в котловане должна быть больше возможной толщины льда.

3.249. При производстве работ по предварительному замачиванию в зимнее время поверхностные марки устанавливаются заподлицо с дном котлована.

3.250. Нивелирование поверхностных марок в пределах котлована в этом случае производится до и после замачивания.

3.251. К началу производства работ строительная организация должна быть обеспечена согласованной с Госгортехнадзором и местным отделением Взрывпрома проектной документацией.

3.252. При уплотнении просадочных грунтов замачиванием и энергией глубинных взрывов должны последовательно выполняться следующие операции:

срезка растительного слоя и подготовка котлована или распределительных траншей для замачивания;

бурение дренажных, взрывных или совмещенных скважин, а также скважин для глубинных геодезических марок;

устройство взрывных или совмещенных скважин;

засыпка дренажным материалом скважин, траншей и дна котлована;

устройство глубинных и поверхностных марок;

монтаж подводящего водопровода и водомерного узла;

устройство гасителей напора водяной струи в виде приямков, заполненных щебнем или гравием;

нивелирование поверхностных и глубинных марок с привязкой к стационарному реперу;

замачивание уплотняемого массива грунта;

нивелирование марок по окончании замачивания;

производство взрывных работ;

нивелирование марок в течение последующих 15-20 сут;

поверхностное осушение территории;

доуплотнение верхнего слоя.

В необходимых случаях, когда уплотнение грунта производится на больших площадях, следует предусматривать устройство песчано-гравийных подушек, позволяющих ускорить начало строительно-монтажных работ на уплотненном участке. По условиям существующей застройки иногда необходимо устраивать водозащитные экраны, препятствующие распространению воды в стороны от замачиваемого участка.

3.253. Котлованы для замачивания выполняются за счет срезки растительного слоя и устройства обвалования из уплотненного местного грунта.

Глубину котлована и распределительных траншей необходимо назначать из условия сохранения слоя воды при замачивании 0,3-0,5 м. В зимнее время уровень воды в котловане должен поддерживаться на одной отметке.

Для удобства работ на больших площадях уплотнение должно выполняться по захваткам (картам). Дно котлована или распределительных траншей в пределах захваток необходимо планировать с точностью до ±5 см от заданных отметок и покрывать слоем дренажного материала толщиной 0,1-0,2 м.

На площадках с пересеченным рельефом замачивание, как правило, следует производить с подачей воды к дренажным скважинам через инвентарную водоразводящую сеть.

3.254. Бурение дренажных, взрывных или совмещенных скважин выполняется до нарезки распределительных траншей. Проходку дренажных и совмещенных скважин, как правило, следует осуществлять установками шнекового бурения, например УГВ-50М, или навесной установкой СО-2. В случае применения иного бурового оборудования последнее должно полностью исключать уплотнение стенок дренажных скважин.

3.255. Чтобы не засыпать скважины грунтом при нарезке траншей, их закрывают инвентарными затворами. Проходку дренажных траншей следует осуществлять роторными экскаваторами, а также специальными траншеекопателями различных конструкций.

3.256. Установка труб в совмещенные скважины осуществляется кранами. Если для крепления взрывных скважин используются асбоцементные, полиэтиленовые, керамические трубы или сборные элементы, то перед их установкой снизу ставят заглушки или на дно скважины укладывают литую бетонную смесь толщиной не менее 0,3 м, препятствующую проникновению разжиженного грунта во взрывную камеру при замачивании. Для снижения сейсмического эффекта допускается применять различные экранирующие устройства в соответствии с пособием на взрывные работы.

3.257. Установку поверхностных геодезических марок следует выполнять после окончания работ по устройству скважин и засыпке дна котлована или распределительных траншеи дренажным материалом.

Установка глубинных геодезических марок ведется параллельно с работами по бурению скважин. Внутренний стержень глубинной марки не должен иметь искривлений и стыков, препятствующих его свободному перемещению в защитной трубе. Каждая, глубинная марка должна иметь бирку или четкую маркировку, наносимую несмываемой краской на защитную трубу.

3.258. Перед замачиванием расположение марок с привязкой их к постоянным или системе временных реперов, расположенных за пределами уплотняемого участка, фиксируется на исполнительной схеме.

3.259. Работы по замачиванию основания следует начинать только после завершения всех подготовительных работ в пределах карты и после записи в журналах показаний водомеров и отметок первой нивелировки поверхностных и глубинных марок.

3.260. В процессе замачивания в оголовках скважины необходимо поддерживать постоянный уровень воды при помощи вентилей, установленных на инвентарной разводящей сети у каждой скважины или на подводящей сети при замачивании через распределительные траншеи.

3.261. Расход воды по каждому замачиваемому участку (карте) следует замерять не менее двух раз в сутки по контрольным водомерам и данные заносить в специальный журнал (прил. 11).

3.262. Перерывы в замачивании недопустимы. В случае перерывов, вызванных аварийными ситуациями, когда растекание воды за контуры участка не грозит окружающей застройке, следует руководствоваться правилами:

при продолжительности перерыва до 1 сут количество заливаемой воды не меняется;

при продолжительности перерыва более 1 сут и наличии дренирующих подстилающих слоев количество заливаемой воды увеличивается на 20 %, а при перерыве 2 сут - на 30 %.

3.263. Окончание работ по замачиванию на каждой карте устанавливается по объему воды, залитой в дренажные скважины или в объединяющие их траншеи в соответствии с проектом.

3.264. При погружении зарядных камер на заданную глубину после замачивания площадки можно использовать вибропогружатели и кран соответствующей грузоподъемностью или приспособления для погружения контейнера с подмывом водой.

Зона нарушения структуры водонасыщенного грунта Rн определяется по формуле

,                                                                    (6)

где Кн - коэффициент, определяемый экспериментально (для замоченных лёссовидных супесей и суглинков его значение принимается равным 2,45); е - коэффициент работоспособности ВВ, принимаемый по ЕПБ; q - масса сосредоточенного заряда.

В застроенных массивах глубинные заряды не должны превышать 10 кг, а расстояния до существующих зданий должны быть не менее 50-70 м.

Шаг между взрывными скважинами, полученный из условия нарушения структуры всего замоченного массива, равен:

по квадратной сетке ;

по шахматной сетке .

Минимально допустимая глубина размещения заряда ВВ по условию образования камуфлетного взрыва определяется по формуле

,                                                          (6)

где КВВ - коэффициент, зависящий от типа ВВ; принимается для тротила и аммонита равным 0,85 и для аммонала - 0,58; Кгр - коэффициент, зависящий от вида грунта, принимается для глин и суглинков 0,24-0,3 и для супесей 0,29-0,4. Сейсмобезопасное расстояние определяется по формуле

,                                                                 (6)

где rс - расстояние от эпицентра взрыва, м, Кс - коэффициент, зависящий от свойств грунта в основании охраняемого сооружения; значение для водонасыщенных глинистых грунтов равно 1,5 · 9 = 13,5; α - коэффициент, принимаемый для камуфлетного взрыва, 1,2.

3.265. Взрывные работы необходимо производить сразу после замачивания. Разрыв между окончанием замачивания и взрывами, в зависимости от размеров площадки, составляет от 3 до 8 ч.

За это время следует выполнить демонтаж инвентарных трубопроводов, зарядку и тампонирование скважин, нивелирование поверхностных и глубинных марок.

3.266. Перед опусканием заряда в скважину необходимо проверить проходимость заряда по транспортной трубе. Заряды водостойкого аммонита в стандартной упаковке (например, ПН-А6-Ж8) диаметром 90 мм ± 10 мм, длиной 500 мм ± 20 мм и массой 3,25 кг ± 0,15 кг следует опускать в зарядную камеру на шпагате. Опускать заряды на детонирующих шпурах или проводах, идущих к детонаторам, категорически запрещается. При использовании водостойких типов гранулированного ВВ в качестве промежуточных детонаторов следует применять прессованные и литые шашки Т-400 и ТГ-500.

3.267. Забойку подготовленных к взрывам скважин после установки глубинных зарядов ВВ следует выполнять песком и водой. При использовании транспортной трубы диаметром 50 мм и менее забойка должна производиться водой. В случае отказа такая забойка позволит заменить электродетонаторы и произвести глубинный взрыв, не поднимая заряд ВВ на поверхность.

3.268. В целях эффективного уплотнения и снижения сейсмического воздействия замедление между взрывами должно составлять не менее 3-5 с. При использовании транспортных труб диаметром 100 мм и более, как правило, применяется огневой способ взрывания, а при диаметре 50 мм и менее инициирование заряда производится только электрическим способом с применением пиротехнических реле.

Примечание. Огневой способ взрывания применительно к данному методу заключается в том, что инициирование взрыва патронированного ВВ, например 6ЖВ, производится детонирующим шнуром (ДШ), один конец которого закрепляется в самом заряде, а второй выходит на дневную поверхность. К свободному концу ДШ прикрепляется зажигательная трубка, состоящая из капсюля-детонатора и отрезка огнепроводного шнура. Длина огнепроводного шнура принимается из расчета, чтобы взрывник успел зажечь все трубки на скважинах данной серии взрывов и удалиться на безопасное расстояние. Длина зажигательного шнура на всех скважинах каждой серии взрывов (взрывы, как правило, выполняются мелкими сериями по 5 шт.) назначается одинаковой (примерно 1,2-1,5 м), поэтому время замедления между взрывами составляет 5-10 с и обусловливается временем между двумя последовательными зажиганиями отрезков огнепроводного шнура.

3.269. Для безотказного взрывания следует применять для каждой скважины два электродетонатора с параллельным подключением или две нитки детонирующего шнура при огневом способе взрывания. В грозу взрывные работы не производятся.

3.270. По окончании взрывных работ необходимо как можно раньше произвести извлечение транспортных инвентарных труб.

После извлечения и промывки каждой инвентарной трубы водой ее следует нарастить и повторно использовать в работе. При наращивании трубы необходимо использовать точечную сварку для того, чтобы приваренная часть легко отделялась в момент взрыва. При этом не следует допускать внутренних наплывов металла в стыках, мешающих погружению заряда ВВ в нижнюю часть трубы.

3.271. После проведения взрывных работ вследствие просадок грунта необходимо в некоторых случаях производить наращивание обвалований или грунтовых перемычек между уплотненной и соседней захватками.

3.272. После предварительного замачивания оснований и замачивания с использованием глубинных взрывов ВВ производится уплотнение верхнего слоя грунта тяжелыми трамбовками, укаткой, грунтовыми сваями и т.п.

Рис. 26. Схема расположения точек рыхления и уплотнения

1 - точки уплотнения; 2 - точки рыхления

Рис. 27. Технологический график уплотнения песчаного грунта

Для ликвидации просадочных свойств грунтов в пределах деформируемой зоны от нагрузок зданий и сооружений иногда целесообразно применять уплотнение тяжелыми трамбовками в сочетании с устройством грунтовой подушки.

3.273. Нормативное давление на грунты, уплотнение предварительным замачиванием и замачиванием с использованием энергии взрыва, определяется так же, как для естественных грунтов в соответствии с главой СНиП 2.02.01-83.

3.274. Уплотнение водонасыщенных песчаных грунтов виброустановкой ВУУП-6 включает последовательное выполнение следующих операций:

планировка площадки (удаление растительного слоя грунта);

разбивка точек погружения уплотнения;

водонасыщение песчаного грунта при уровне грунтовых вод ниже 0,5 м от дна котлована;

уплотнение грунта до проектной глубины.

3.275. При гидровиброуплотнении следует принимать равностороннюю треугольную сетку со сторонами, равными: для крупного и средней крупности песка - 3 м, для мелкого песка - 2 м.

3.276. В песчаных грунтах природного сложения необходимо предварительно произвести рыхление грунта на проектную глубину уплотняемой толщи для разрушения структурных связей песка и увеличения зоны уплотнения.

При этом рыхление и уплотнение грунта производится по квадратной сетке со сторонами, равными 2 м (рис. 26).

3.277. При гидровиброуплотнении песчаных грунтов применяются грузоподъемные механизмы, обеспечивающие возможность переноса виброустановки в вертикальном положении (см. п. 3.86). Скорость извлечения уплотнителя грузоподъемным механизмом из грунта не должна превышать 5 м/мин.

3.278. Соединение уплотнителя с вибропогружателем в процессе уплотнения должно быть жестким и неизменным.

Подъем и перемещение виброустановки ВУУП-6 во избежание ее повреждений производится плавно, без рывков.

Включение вибропогружателя В-401 производится после установки уплотнителя вертикально на поверхность грунта. Запрещается включать вибропогружатель при свободно подвешенном уплотнителе.

3.279. Уплотнение песчаных грунтов на глубину 6 м производится в соответствии с технологическим графиком (рис. 27), который составляется по результатам опытного уплотнения.

3.280. Полный цикл уплотнения песчаных грунтов на глубину 6 м в одной точке должен продолжаться не менее 15 мин и состоять из 4-5 чередующихся погружений и подъемов уплотнителя. На каждой глубине погружения уплотнителя в одном цикле следует соблюдать виброударный режим виброустановки ВУУП-6.

3.281. При погружении уплотнителя в грунт не допускается натяжение троса грузоподъемного механизма и отклонение виброустановки от вертикального положения.

3.282. После полного цикла уплотнения грунта основания в четырех точках на глубину 6 м установка отключается на 15 мин.

3.283. В случае уплотнения грунтов, требующих предварительного глубинного рыхления, работы по рыхлению и уплотнению должны производиться поочередно - сначала в четырех точках сетки по оси рыхления, затем в трех точках по оси уплотнения.

При рыхлении погружение и извлечение уплотнителя производится без установок. Время на рыхление грунта на глубину 6 м в одной точке не должно превышать 2 мин.

3.284. При искусственном водонасыщении песчаного грунта уплотнителем виброустановки ВУУП-6 (см. рис. 11) сначала включают насос (с напором не менее 80 м) для подачи воды в трубчатую штангу уплотнителя, а затем вибропогружатель. При достижении уплотнителем проектной глубины подачу воды следует прекратить, а работу по уплотнению необходимо продолжить.

Примерное количество воды, %, необходимое для насыщения песчаного грунта, определяется по табл. 5.

3.285. Технология уплотнения насыпных или намывных песчаных грунтов виброустановками ВУУП-6 аналогична уплотнению естественных песчаных оснований.

3.286. В процессе производства работ по уплотнению на строительной площадке следует вести журнал (прил. 7).

Таблица 5

Удельный вес сухого грунта, кН/м3 (плотность сухого грунта, г/см3)

Количество воды, %, от объема уплотняемого песка

14,71 (1,5)

50

15,2 (1,55)

45

15,69 (1,6)

40

3.287. Качество работ по уплотнению грунтов надлежит проверить путем определения плотности грунта при уплотнении трамбованием через 0,25-0,5 м по глубине, а при послойном уплотнении укаткой - в середине каждого слоя; количество пунктов определения плотности устанавливается из расчета один пункт на каждые 300 м2 уплотненной площади и берется не менее 2 проб при уплотнении трамбованием и 3 проб в каждом слое при послойном уплотнении укаткой. При уплотнении тяжелыми трамбовками грунтов с оптимальной влажностью качество уплотнения допускается проверять контрольным определением отказа из расчета одно определение на каждые 100 м2 уплотненного грунта.

Качество работ при уплотнении грунтовыми сваями проверяется определением плотности уплотненных грунтов на отметке заложения фундаментов в пределах участков между тремя грунтовыми сваями, расположенными в плане по вершинам равностороннего треугольника; количество пунктов устанавливается из расчета один на каждые 1000 м2 уплотненной площади. Фактическое расстояние и глубина их должны соответствовать проекту. Если расстояние между центрами грунтовых свай окажется больше проектного на 0,4 диаметра, устраиваются дополнительные грунтовые сваи.

Качество работ по предварительному замачиванию, в том числе с применением энергии глубинных взрывов, проверяется наблюдением за просадками поверхностных и глубинных марок и определением плотности грунта через 1-2 м в пределах всей уплотняемой его толщи. Количество мест определения влажности и плотности грунта назначается не менее одного на каждые 3000 м2 площади уплотненного основания.

Качество уплотнения грунта при любом способе производства работ признается удовлетворительным, если средняя плотность грунтов в уплотненном основании соответствует проекту. Допустимое отклонение в сторону уменьшения плотности, принятой в проекте, не должно превышать 0,05 т/м3 в количестве не менее 10 % общего числа определений.

3.288. Результаты работ по уплотнению просадочных грунтов должны фиксироваться в соответствующих журналах (см. прил. 1-11).

Приемка работ по уплотнению просадочных грунтов производится по данным определения плотности и влажности уплотненных грунтов с составлением акта.

3.289. Приемка работ по поверхностному уплотнению грунтов тяжелыми трамбовками производится только после дополнительного уплотнения разрыхленного верхнего слоя грунта.

Уплотнение признается удовлетворительным, если понижение отметки дна котлована под действием ударов трамбовки не превышает величины установленного отказа.

Контрольное определение отказа производится двумя ударами трамбовки при сбрасывании се с высоты, принятой при производстве работ, но не менее 6 м.

Если, по данным контрольного трамбования и определения качества выполненных работ, уплотнение окажется неудовлетворительным, производится дополнительное уплотнение.

При контрольной проверке качества уплотнения составляется акт приемки работ по уплотнению основания или устройству грунтовой подушки.

3.290. Приемка работ по вытрамбовыванию котлованов и возведению в них фундаментов производится на основе:

акта выполнения опытных работ;

исполнительной схемы расположения котлованов в плане, журнала производства работ (см. прил. 10, 11);

двухстороннего акта на скрытые работы;

3.291. Изготовление грунтовых свай в пределах отдельных фундаментов должно сопровождаться составлением технической документации в виде журнала глубинного уплотнения оснований (прил. 5).

Для этого необходимо иметь нумерацию свай, позволяющую легко отыскивать и проверять показатели их изготовления. Журнал заполняется в процессе производства работ.

3.292. По окончании работ по глубинному уплотнению оснований составляется схема фактического расположения грунтовых свай с указанием их порядкового номера и глубины.

3.293. Приемка законченных работ по подготовке оснований должна осуществляться на основании следующих материалов:

журналов и актов производства работ по изготовлению грунтовых свай;

исполнительной схемы расположения грунтовых свай с указанием фактической их глубины;

результатов контроля качества уплотнения по шурфам.

3.294. Приемка работ по уплотнению просадочных грунтов предварительным замачиванием должна осуществляться по результатам:

замера осадки глубинных и поверхностных марок;

контрольного определения влажности грунта в пределах всей замоченной толщи.

Степень влажности промоченного грунта в пределах всей толщи должна быть не менее 0,85 полной влагоемкости грунта.

Определение степени влажности грунта и величины относительной просадочности производится после наступления условной стабилизации.

Относительная просадочность грунта после уплотнения предварительным замачиванием должна быть менее 0,01 при природном давлении.

3.295. В случае, если толща недостаточно увлажнена, производится повторное замачивание до получения условной стабилизации просадки. При необходимости рекомендуется изменить методику замачивания, а именно: изменить число, глубину и расположение дренажных скважин.

3.296. Производство работ по уплотнению грунтов замачиванием и энергией глубинных взрывов следует осуществлять под постоянным контролем строительных лабораторий, которые должны документально фиксировать:

расположение скважин относительно разбивочных осей зданий и сооружений, их глубину и диаметр;

качество дренирующего материала;

конструкцию транспортных труб и взрывных камер и их установку в проектное положение (длина, внутренний диаметр, герметичность);

количество заливаемой воды и сроки замачивания;

глубину расположения заряда, его массу, качество забойки, количество взорванных зарядов;

выполнение в срок и результаты геодезических наблюдений за осадками поверхностных и глубинных марок;

исследование образцов грунта, отобранных до и после уплотнения.

3.297. Расход воды замеряется не менее двух раз в сутки. При этом необходимо осуществлять визуальный контроль за ходом замачивания и общим состоянием замачиваемой площадки. Не допускаются утечки воды за пределы площадки и перерывы в замачивании.

3.298. Степень увлажнения просадочной толщи до глубинных взрывов должна проверяться бурением контрольных скважин с отбором проб на влажность через 1 м по глубине или с помощью радиоизотопных и электрометрических методов.

3.299. Контроль осадки грунта необходимо осуществлять нивелированием глубинных и поверхностных марок относительно неподвижного репера, которое производится до замачивания, перед взрывами и после завершения взрывных работ не реже одного раза в неделю до наступления условной стабилизации осадок.

3.300. При проведении взрывных работ должны контролироваться количество произведенных глубинных взрывов, для чего взрывы следует выполнять сериями по пять штук с интервалом в пределах серии до 5 с. В случае отказа заряда ВВ должны немедленно приниматься меры по его извлечению или уничтожению в строгом соответствии с требованиями ЕПБ. После окончания взрывных работ специализированной организацией «Взрывпром» составляется акт об отсутствии отказов.

3.301. Приемка работ должна производиться согласно СНиП на основании исполнительной документации: актов на скрытые работы, данных об осадках поверхностных и глубинных марок и степени их стабилизации на период начала строительно-монтажных работ; результатов лабораторных исследований грунтов до и после уплотнения; документации о планировочных и подготовительных работах, объеме залитой воды, массе глубинных зарядов, схеме взрывания и ликвидации верхнего недоуплотненного слоя.

3.302. При строительстве многоэтажных зданий и сооружений на водонасыщенных, уплотненных лёссовых грунтах с давлением по подошве фундаментов более 2 кг/см2, необходимо выполнять поверочный расчет на устойчивость сооружения в условиях незавершенной консолидации.

3.303. Контроль качества гидровиброуплотнения песчаных грунтов следует проводить согласно требованиям настоящего Пособия и СНиП III-8-76.

3.304. В качестве основного метода контроля уплотнения песчаного грунта следует применять: для крупных и средней крупности песков - динамическое зондирование, для мелких песков - статическое зондирование, результаты зондирования должны сопоставляться с данными опытного уплотнения. Глубина зондирования устанавливается больше проектной глубины уплотнения на 1 м.

3.305. Допустимое отклонение уменьшения плотности грунта от проектной не должно превышать 0,05 г/см3, при этом количество определений, давших большие значения, не должно превышать 10 % их общего числа.

3.306. Акт освидетельствования скрытых работ составляют представители организации, выполнявшей уплотнение, подрядчика, заказчика и авторского надзора в соответствии с требованиями СНиП 3.01.01-85.

Раздел 4. СТРОИТЕЛЬНОЕ ВОДОПОНИЖЕНИЕ

ОБЩИЕ ПОЛОЖЕНИЯ

4.1. Водопонижение - искусственное понижение уровня подземных вод - достигается откачкой или отводом их к пониженным местам. Оно носит название «строительное водопонижение», когда применяется при производстве земляных и других строительных работ по возведению фундаментов, гидротехнических сооружений, различных подземных сооружений и коммуникаций, а также при разработке горных выработок в строительный период.

Сущность метода основывается на том, что при откачке подземных вод, поступающих в скважину, котлован, подземную выработку, поверхность воды в грунте приобретает воронкообразную форму, понижаясь при этом с уклоном к месту откачки. Аналогичный эффект достигается при устройстве дренажа (отводе) подземных вод. При напорном характере подземных вод воронкообразную форму принимает пьезометрическая поверхность, отображающая напоры подземных вод.

Воронкообразная (пониженная) поверхность подземных вод называется депрессионной поверхностью, а осушенное пространство между первоначальной (непониженной) поверхностью подземного потока и депрессионной поверхностью - депрессионной воронкой.

По мере откачки площадь распространения и глубина депрессионной воронки увеличиваются. Если интенсивность откачки остается постоянной, то со временем наступает стабилизация - установившийся режим, при котором не происходит дальнейшего развития депрессионной воронки. При прекращении откачки уровни подземных вод восстанавливаются, и их поверхность (или пьезометрическая поверхность) постепенно приобретает свою первоначальную (природную) форму.

4.2. Задачи строительного водопонижения в общем заключаются в соответствующем развитии и поддержании в течение необходимого времени депрессионной воронки в водоносных грунтах, прорезаемых котлованом (сооружением), а также в снятии избыточного напора в подстилающих водоносных грунтах, отделенных от котлована водоупором.

В том случае, если депрессионная поверхность водного потока в грунтах, прорезаемых котлованом, нигде его не пересекает, представляется возможным вести все подземное строительство насухо, т.е. полностью решается основная задача водопонижения.

Снятие напора в подстилаемых слоях обычно возможно осуществить в заданных пределах, что позволяет избежать нарушения природных свойств оснований сооружений.

4.3. При строительном водопонижении применяются, в основном, временные устройства, а необходимое оборудование и другие средства, предусмотренные для эксплуатации сооружений и предприятий, могут быть использованы временно в течение всего срока данного строительства.

В этом случае водопонизительные средства и устройства наряду с удовлетворением условиям строительного периода должны также отвечать соответствующим требованиям проекта, учитывающим условия их дальнейшей эксплуатации.

Совокупность определенно расположенных и предназначенных для приема, откачки и отвода подземных вод в строительный период устройств и средств и выполняемых планомерно работ по их сооружению, вводу в действие и содержанию составляет систему строительного водопонижения.

Системы строительного водопонижения формируются с применением водоотлива из котлованов и траншей, дренажа, открытых и вакуумных водопонизительных скважин, иглофильтров и электроосушения, применяемых в различных сочетаниях в виде линейных, кольцевых, неполнокольцевых, систематических, групповых и отдельных водопонизительных устройств.

Строительное водопонижение должно выполняться по проекту (составляемому как часть основного проекта), который должен отвечать требованиям СН 202-81* и СНиП 2.02.01-83 и 3.02.01-83.

4.4. Производство водопонизительных работ влияет на состояние грунтов, их поведение в котловане и в окружающем грунтовом массиве. Уже само понижение уровня воды в грунте приводит к увеличению давления от его собственного веса и к дополнительным осадкам территории и возведенных на ней сооружений. В большинстве случаев эти дополнительные осадки достаточно равномерные и не оказывают существенного влияния на работу сооружений, при относительно неглубоких понижениях уровня воды эти осадки невелики. Но при глубоких понижениях уровня подземных вод дополнительные осадки могут оказаться значительными и должны учитываться в основном проекте, а при производстве крупных водопонизительных работ необходимо вести наблюдения за сдвижением земной поверхности, осадками сооружений и их деформациями. При необходимости, в зависимости от соотношения фактических и определенных в проекте деформаций, следует регулировать режим водопонизительных работ и принимать меры к обеспечению сохранности сооружений и их нормальной эксплуатации.

В процессе бурения скважин ударными способами могут происходить местные уплотнения грунта, способные вызвать дополнительные осадки рядом расположенных фундаментов. Поэтому следует избегать расположения водопонизительных скважин в непосредственной близости от существующих фундаментов.

В процессе производства водопонизительных работ возможно не только уплотнение, но и разрыхление грунтов и нарушение прочностных связей в них. Особенно опасные нарушения природных свойств грунтов происходят, если не принимаются надлежащие меры предосторожности при открытом водоотливе, когда возможна значительная фильтрация через откосы котлована.

Фильтрационный поток создает дополнительное гидродинамическое давление на грунт, ослабляет прочностные связи в нем, может вызвать вынос частиц грунта - все это, во избежание нарушения устойчивости откосов котлована и разуплотнения оснований сооружений, должно учитываться в проекте и при строительстве. В случае фильтрации подземных вод через откосы градиенты напора вблизи их поверхности не должны достигать значений, при которых возможен вынос грунта в котлован. В связи с этим не должны допускаться резкие понижения уровня воды в котловане. Фильтрационный поток при высачивании в котлован должен быть рассредоточен. При обнаружении сосредоточенной фильтрации для борьбы с суффозией следует применять фильтрующие пригрузки; в крупных котлованах возможно применять рыхление грунта на участках сосредоточенной фильтрации бульдозером, которое часто дает положительные результаты по рассредоточению фильтрации и прекращению суффозии. В осушенном котловане весь фильтрационный приток должен каптироваться водосборными канавами и передовыми траншеями. Для этого они должны быть соответственно заглублены относительно дна котлована, фильтрация через которое не допускается.

Разуплотнение грунта возможно также и в процессе бурения, содержания и ликвидации водопонизительных скважин.

При погружении иглофильтров гидравлическим способом без обсыпки грунт вокруг них разуплотняется, некоторое дополнительное разуплотнение грунта происходит и при извлечении иглофильтров. Подобные разуплотнения часто не оказывают существенного влияния на устойчивость откосов и на основания сооружений, но всегда необходимо принимать их во внимание и в каждом отдельном случае определять, допустимы ли они. Как правило, следует применять иглофильтры с песчано-гравийной обсыпкой. Это сводит к минимуму разуплотнение грунта вокруг скважины и повышает эффективность иглофильтрового способа водопонижения.

Разуплотнение грунта вокруг водопонизительных скважин возможно в процессе бурения разными способами из-за вывалов, образования пробок и т.п., а также в процессе откачки - из-за выноса мелких частиц при плохой работе фильтров. Предотвратить подобные явления возможно только соблюдая особую тщательность работ при бурении скважин и оборудовании их фильтрами; при бурении в малоустойчивых грунтах следует применять подливку воды в скважины. Конструкция фильтров водопонизительных скважин должна строго соответствовать характеру окружающего скважины грунта.

Мероприятия для предотвращения всех вышеуказанных отрицательных последствий производства работ должны отвечать особенностям застройки и состоянию сооружений в районе работ. Должны приниматься меры защиты и непосредственно для самих сооружений. Для этого перед началом работ по водопонижению необходимо обследовать техническое состояние зданий и сооружений, находящихся в зоне работ, а также уточнить расположение подземных коммуникаций.

4.5. Обследование зданий, сооружений и подземного хозяйства следует производить, в основном, перед составлением проекта водопонижения. В результате должны быть получены сведения, необходимые для принятия решения о мерах по обеспечению сохранности всех промышленных и гражданских объектов в зоне водопонизительных работ в процессе их производства. Надлежащее внимание должно быть уделено и объектам водоснабжения, питающимся подземными водами, уровень которых предполагается понизить.

Одновременно необходимо получить согласие и разрешение соответствующих организаций на производство буровых и водопонизительных работ.

Перед обследованием следует предварительно ознакомиться с проектной и исполнительной документацией по сооружениям в зоне работ. В отдельных случаях могут потребоваться специальные работы для уточнения трасс сетей, некоторых элементов конструкций каких-либо ответственных или ценных в культурно-историческом отношении зданий и сооружений (например, шурфовочные и обмерные работы и т.п.). Проведение указанных обследований и получение разрешения на производство работ входит в обязанности основного заказчика, программу необходимых обследований следует согласовывать с проектной организацией.

Данные, полученные в результате обследования зданий и сооружений, должны приниматься во внимание при составлении проектов производства работ. При этом строительная организация должна проверить соответствие действительного состояния зданий, сооружений и коммуникаций принятому за основу в проекте и установить возможность соблюдения действующих правил техники безопасности, в частности:

а) бурения и прокладки трубопроводов вблизи существующих кабелей и трубопроводов, проложенных в земле;

б) безопасного приближения буровых установок с высокими мачтами к воздушным ЛЭП и др.

Началу производства работ должны предшествовать планировка и расчистка территории (от леса, мусора и т.п.) для возможности свободного применения предусмотренных машин и механизмов.

4.6. Необходимо осуществлять взаимоувязку водопонизительных, земляных и других общестроительных работ так, чтобы обеспечивалась их высокая эффективность. В то же время при комплексной организации строительства следует создавать благоприятные условия для ведения водопонизительных работ. При необходимости внесения изменений в принятую методику тех или других работ приоритет должны иметь более эффективные решения.

Если земляные и другие строительные работы производятся заблаговременно, подготовленные водопонизительные системы должны обеспечить возможность ввода в действие водопонизительных устройств, установок и средств с определенным опережением развития водопонижения по сравнению с развитием земляных и других строительных работ. С другой стороны, при производстве земляных работ должна предусматриваться подготовка, в первую очередь, берм и площадок, на которых производится погружение иглофильтров, забуривание скважин и размещение насосных установок, устройство зумпфов и (после ввода в действие насосных станций открытого водоотлива) разработка передовых траншей и водоотводных канав. Последние разрабатываются обычно драглайнами или канавокопателями в направлении от зумпфов к водораздельным точкам. Эти устройства в крупных и долго существующих котлованах должны совмещаться с сетью ливнестоков и водосборников, предназначающихся для поверхностных вод.

Водопонизительные установки и устройства, включая сеть водостоков, зумпфов и водосборников, должны размещаться так, чтобы не создавать стеснений для работы землеройного и другого строительного оборудования и транспорта, не препятствовать строительству и эксплуатации соседних сооружений, разработкам полезных ископаемых и т.п.

В то же время при устройстве съездов в котлованы, транспортных коммуникаций и размещении строительного оборудования следует учитывать необходимость эффективного расположения водопонизительных устройств.

Во избежание лишних непроизводительных затрат все строительные работы, которые ведутся с применением водопонижения, должны выполняться без перерывов и в минимальные сроки.

При подводной разработке грунтов вместе с ними удаляется то или иное (в зависимости от метода работ) количество воды; это приводит к соответствующему притоку в котлован подземных вод и некоторому снижению их уровня. В глубоких котлованах для обеспечения возможности их разработки зеркало воды в них приходится специально понижать с помощью открытого водоотлива. Необходимость в этом возникает и при осушении котлована для производства дальнейших работ. Такая откачка должна вестись равномерно и соответствовать темпам развития водопонижения в окружающем котлован грунтовом массиве (см. п. 4.28 и табл. 26). При необходимости ускорения процесса осушения котлована (понижения зеркала воды в нем) во избежание нарушения устойчивости его откосов и дна следует дополнительно применять иглофильтры, вакуумные или открытые водопонизительные скважины.

Необходимо осуществлять также взаимоувязку работ на соседних объектах, так как при производстве водопонизительных работ понижение уровня подземных вод развивается далеко за пределы того объекта, для которого оно непосредственно предназначено. Это обстоятельство следует по возможности использовать при строительстве соседних подземных сооружений. Но иногда оно может и ухудшить условия строительства смежных объектов, если там, например, будут осушены грунты, разрабатываемые методами гидромеханизации. В другом случае разрабатываемый подводным способом котлован, представляющий собой открытый водоем, может послужить причиной увеличения притока в соседние котлованы, разрабатываемые насухо.

Взаимоувязка работ на соседних объектах необходима и при устройстве водоотводящих коммуникаций, водоснабжения и энергоснабжения.

ПРОЕКТ ПРОИЗВОДСТВА ВОДОПОНИЗИТЕЛЬНЫХ РАБОТ

4.7. Проект производства водопонизительных работ должен разрабатываться организацией, выполняющей эти работы на базе основного проекта водопонижения во взаимосвязи с проектом производства земляных и других общестроительных работ.

4.8. Проект производства работ должен отвечать требованиям СНиП 3.01.01-85 и включать:

данные о составе и объемах строительно-монтажных водопонизительных работ;

стройгенплан;

календарный план производства строительно-монтажных водопонизительных работ;

технологические схемы и карты по видам водопонизительных работ, предусмотренных в основном проекте;

программу и техническую документацию для ведения гидрогеологических и геодезических наблюдений в период строительства, а также наблюдений за работой водопонизительных устройств и установок;

проектные решения по необходимым вспомогательным и временным сооружениям, коммуникациям и временному энергоснабжению системы строительного водопонижения;

проектные решения по ликвидации систем строительного водопонижения;

спецификации и графики доставки на площадку необходимых материалов и оборудования для выполнения строительно-монтажных водопонизительных работ.

МАТЕРИАЛЫ

4.9. Основными материалами для производства водопонизительных работ служат трубы, фильтры и материалы для песчано-гравийных обсыпок и фильтровых покрытий.

4.10. Все материалы должны отвечать требованиям проекта и соответствующих ГОСТов, указанных в проекте.

4.11. Для трубчатых дренажей следует применять трубы керамические канализационные (ГОСТ 286-82), керамические дренажные (ГОСТ 8411-74 с изм.), асбестоцементные безнапорные (ГОСТ 1839-80), бетонные ТБ (ГОСТ 20054-82), железобетонные (ГОСТ 6482.0-79 с изм.), чугунные канализационные (ГОСТ 6942.3-80), чугунные напорные (ГОСТ 9583-75) и трубофильтры из пористого бетона (ВСН 13-77 МЭ и Э).

Для приема подземных вод в асбестоцементных и чугунных трубах устраиваются круглые или щелевые отверстия (рис 28, а, рис. 28, б, г), в бетонных и железобетонных - круглые (рис. 28, г). В керамические канализационные трубы подземные воды поступают через не полностью заделанные стыковые зазоры (рис. 28, в), в трубофильтры - через поры в материале их стенок. Материал труб выбирается в зависимости от глубины заложения дрены и агрессивности среды. В условиях наличия агрессивных для цемента подземных вод применяются керамические и чугунные трубы. При неагрессивной среде могут применяться трубы из любого указанного выше материала с учетом максимальной глубины заложения дрены (табл. 6).

4.12. При бурении водопонизительных скважин используются обсадные трубы согласно ГОСТ 632-80 с изм. (табл. 7). При бурении скважин диаметром более 500 мм используются сварные трубы (ГОСТ 10704-76 с изм.). Обсадные трубы используются преимущественно и для изготовления фильтров, для которых допускается применение также сварных труб.

4.13. Для водопонизительных скважин следует применять фильтры, как правило, заводского изготовления, в основном, трубчатые или каркасно-стержневые (табл. 8). Допускается применение гравитационных, корзинчатых, кожуховых, блочных фильтров.

Рис. 28 Водоприемные отверстия в дренажных трубах

а - отверстия в верхней части асбестоцементных и чугунных труб; б - отверстия в боковой части асбестоцементных и чугунных труб; в - прием воды через стык в керамических и чугунных трубах; г - отверстия в бетонных и железобетонных трубах; 1 - муфта; 2 - резиновое кольцо; 3 - труба; 4 - водоприемные отверстия; 5 - просмоленная пакля; 6 - асфальтовая мастика или жирная глина

4.14. В зависимости от возможностей строительства допускается (по согласованию с проектной организацией) замена одного из указанных типов водоприемной части скважин другим при условии соблюдения требований табл. 9.

4.15. При отсутствии фильтров заводского изготовления строительной организацией могут быть выполнены трубчатые или каркасно-стержневые фильтры, руководствуясь данными по разбивке отверстий на трубах (табл. 10), назначению числа стержней в фильтровом каркасе (табл. 11), и определению скважности фильтрового покрытия из проволочной обмотки (табл. 12).

Таблица 6

Грунты основания

Материал труб

Максимальная глубина заложения, м, при диаметре труб, мм

150

200

250

300

Пески гравелистые, крупные и средней крупности, глины и суглинки полутвердые, тугопластичные

Бетонные

-

4

-

3,5

Керамические канализационные

7,3

5,7

4,7

4,9

Керамические дренажные и асбестоцементные безнапорные

3,5

3

2,6

-

Асбестоцементные напорные:

 

 

 

 

ВТ-6

9,3

8,4

6,8

6,5

ВТ-9

16,9

14,9

12,3

12,5

Пески мелкие и пылеватые

Бетонные

-

4,1

-

3,6

Керамические канализационные

7,6

5,9

4,9

5,1

Керамические дренажные и асбестоцементные безнапорные

3,6

3,7

3,1

-

Асбестоцементные напорные:

 

 

 

 

ВТ-6

9,7

9,3

7,1

6,8

ВТ-9

17,5

15,5

12,8

13

Трубофильтры по ВСН-13-77

6,5

7

7

8

4.16. Для обсыпки фильтров водопонизительных скважин и трубчатых дренажей применяется отмытый песок, гравий и песчано-гравийные смеси с частицами крупностью не менее 0,5 мм и не более 7 мм, а также продукты дробления изверженных пород (граниты, сиениты, диориты, габбро, порфириты, липариты, диабазы, базальты) или прочных осадочных пород (кремнистые известняки, хорошо сцементированные невыветрелые песчаники и др. при временном сопротивлении на сжатие не ниже 60 МПа). Материал обсыпки должен быть плотным, нерастворимым в воде, свободным от солевых примесей.

Гранулометрический состав песчано-гравийной обсыпки трубчатых дренажей и водопонизительных скважин может быть уточнен (по согласованию с проектной организацией) по данным о гранулометрическом составе окружающих грунтов в естественном залегании с соблюдением требований, приведенных в табл. 13, в которой приняты следующие условные обозначения:

D50 - диаметр частиц, мельче которых в подбираемом слое обсыпки содержится 50 % по массе, мм; d50 - диаметр частиц, мельче которых в грунте, прилегающем к подбираемому слою (или в наружном слое обсыпки, или в слое обсыпки, прилегающей к фильтру, дренажной трубе), содержится 50 % по массе, мм; D10, D60, D80 - крупность частиц, мельче которых в материале каждого слоя обсыпки содержится соответственно 10, 60, 80 % по массе, мм; δ0 - толщина одного слоя обсыпки, мм; D - наружный диаметр фильтра, мм; D0 - диаметр проходных отверстий (ширина щелей просвета) фильтра (дренажной трубы), мм.

Таблица 7

Условный (наружный) диаметр трубы, мм

Труба

Муфта

Условный (наружный) диаметр трубы, мм

Труба

Муфта

толщина стенки, мм

масса 1 м, кг

наружный диаметр, мм

масса, кг

толщина стенки, мм

масса 1 м, кг

наружный диаметр, мм

масса, кг

114

7,4

19,4

127

3,7

406

11,1

108,3

431,8

35,9

127

7,5

22,1

141,3

4,6

426

11

112,6

451

37,5

140

7,7

25,1

153,7

5,2

473

11,1

125,9

508

54

146

8,5

28,8

166

8

508

11,1

136,3

533,4

44,6

168

8,9

35,1

187,7

9,1

530

12

153,3

-

-

178

9,2

38,2

194,5

8,3

630

12

182,89

-

-

194

9,5

43,3

215,9

12,2

720

12

209,5

-

-

219

10,2

52,3

244,5

16,2

820

12

239,1

-

-

245

10

58

269,9

17,9

920

12

268,7

-

-

273

10,2

65,9

298,5

20,7

1020

14

347,3

-

-

299

11,1

78,3

328,9

22,5

1120

14

381,9

-

-

324

11

84,8

351

23,4

1220

14

416,4

-

-

340

10,9

88,0

365,1

25,5

1320

14

450,9

-

-

351

11

92,2

376

29

1420

14

485,4

-

-

377

11

99,3

402

31

 

 

 

 

 

Примечание. Трубы с условными (наружными) диаметрами от 114 до 508 мм соответствуют ГОСТ 632-80 с изм., а с диаметрами от 530 до 1420 мм - ГОСТ 10704-76 с изм.

Песчано-гравийная обсыпка фильтров водопонизительных скважин выполняется не менее чем на 2-10 м выше верхней кромки фильтра в зависимости от глубины скважины и высоты участка фильтровой колонны, перекрываемого обсыпкой. Расход песчано-гравийной обсыпки (с учетом ее растекания) на 1 м высоты скважины приведен в табл. 14.

Таблица 8

Типоразмер секции

Диаметр, мм

Масса, кг

Типоразмер секции

Диаметр, мм

Масса, кг

наружный

внутренний

наружный

внутренний

Фильтры трубчатые перфорированные

Т-5Ф

168

132

69

Т-12Ф1

325

307

195

Т-6Ф1В

188

152

91

Т-14Ф1

377

259

227

Т-8Ф1В

245

203

118

Т-16Ф1

426

408

259

Т-10Ф1В

299

255

168

 

 

 

 

Фильтры трубчатые с проволочной обмоткой из нержавеющей стали

ГП-5Ф2В

168

132

82

ТП-12Ф2

341

307

229

ТП-6Ф2В

188

152

106

ТП-14Ф2

393

359

266

ТП-8Ф2В

245

203

136

ГП-16Ф2

442

408

304

ТП-10Ф2В

299

255

203

 

 

 

 

Фильтры трубчатые с просечным листом из нержавеющей стали

ТЛ-5Ф4В

168

132

82

ГЛ-12Ф4В

339

307

223

ТЛ-6Ф4В

188

152

107

ТЛ-14Ф4

391

359

259

ТЛ-8Ф4В

245

203

137

ГЛ-16Ф4

440

408

294

ТЛ-10Ф4В

299

255

190

 

 

 

 

Фильтры стержневые (каркасы)

С-5Ф5В

174

132

69

С-12Ф5В

352

307

161

С-6Ф5В

196

152

77

С-14Ф5В

405

359

178

С-8Ф5В

247

203

88

С-16Ф5В

454

408

202

С-1

301

255

105

 

 

 

 

Фильтры каркасно-стержневые с проволочной обмоткой из нержавеющей стали

СП-5Ф7В

178

132

80

СП-12Ф7В

359

307

158

СП-6Ф7В

200

152

89

СП-14Ф7В

411

359

180

СП-8Ф7В

251

203

103

СП-16Ф7В

460

408

200

СП-10Ф7В

307

255

136

 

 

 

 

Фильтры каркасно-стержневые с просечным листом из нержавеющей стали

СЛ-5Ф11В

176

132

81

СЛ-12Ф11В

355

307

189

СЛ-6Ф11В

198

152

90

СЛ-14ФПВ

407

359

210

СЛ-8Ф11В

249

203

104

СЛ-16Ф11В

456

408

237

СЛ-10Ф11В

303

255

122

 

 

 

 

Таблица 9

№ п.п.

Тип водоприемной части скважины

Область применения

1

Водоприемная часть скважины не оборудуется фильтром

Прочные трещиноватые скальные породы, в пределах которых нет опасности вывалов и выноса заполняющего трещины материала в полость скважины, при расположении скважинного насоса выше незакрепленной части скважины или в скважине, работающей без насоса; скважины с уширенной водоприемной полостью, образованной в результате выноса породы из водоносного слоя

2

Трубчатые фильтры - трубы с круглой или щелевой перфорацией без обсыпки и без водоприемного покрытия

Трещиноватые скальные и крупнообломочные породы при отсутствии опасности выноса грунтового материала из трещин; при надлежащем обосновании - гравелистые грунты

3

Трубчатые фильтры с водоприемным покрытием из проволочной обмотки, штампованного листа с отверстиями или сетки, а также фильтры из штампованного листа без опорного каркаса, без обсыпки

При надлежащем обосновании - крупные и гравелистые пески, крупнообломочные и трещиноватые скальные породы при отсутствии опасности выноса песчаного материала в скважину

4

Трубчатые фильтры с водоприемным покрытием по п. 3 настоящей таблицы и фильтры из штампованного листа с песчано-гравийной обсыпкой

Пески и другие горные породы при опасности выноса мелких частиц в скважину

5

Каркасно-стержневые фильтры с водоприемным покрытием по п. 3 настоящей таблицы

По п. 3 настоящей таблицы при условии расположения скважинного насоса над фильтром, а также в скважинах, работающих без насоса

6

Каркасно-стержневые фильтры с водоприемным покрытием по п. 3 настоящей таблицы и с песчано-гравийной обсыпкой

По п. 4 настоящей таблицы при расположении скважинного насоса над фильтром, а также в скважинах, работающих без насоса

7

Гравитационные фильтры колокольного или зонтичного типа

Пески средней крупности

8

Корзинчатые и кожуховые фильтры

Условия, в которых, согласно требованиям табл. 3, требуется двухслойная обсыпка и в которых созданию обсыпки непосредственным погружением в скважину песка и гравия препятствуют напорные воды

9

Блочные фильтры

Крупные пески и гравийно-галечниковые отложения при отсутствии в подземных водах кольматирующих химических образований

Примечание. Применение фильтров без обсыпки допускается, если возможные при этом обрушения горных пород не угрожают осложнениями на прилегающей территории.

Таблица 10

Диаметр фильтра, мм

Диаметр отверстий, мм

Число отверстий в ряду

Число рядов отверстий на 1 м трубы

Площадь сечения отверстий на 1 м трубы, м2

Расстояние между центрами отверстий, мм

Скважность, %

по окружности

по длине трубы

100

10

16

60

0,08

22

17

20

13

14

55

0,1

25

18

28

16

10

50

0,1

35

20

28

150

10

23

60

0,11

22

17

22

13

20

55

0,14

25

18

23

16

14

50

0,14

35

20

28

19

12

40

0,14

42

25

28

200

10

28

60

0,13

23

17

19

13

26

55

0,19

25

18

28

16

18

50

0,18

36

20

27

19

16

40

0,19

41

25

28

22

12

40

0,18

55

25

28

250

10

36

60

0,17

23

17

20

13

32

55

0,23

26

18

28

16

26

50

0,26

35

20

31

19

20

40

0,24

42

25

28

22

16

40

0,24

53

25

29

25

14

30

0,2

60

33

29

Таблица 11

Диаметр патрубка, мм

Диаметр стержней, мм

Число стержней по образующей

Диаметр патрубка, мм

Диаметр стержней, мм

Число стержней по образующей

наружный

внутренний

наружный

внутренний

219

210

14

12

377

355

16

24

273

255

14

12

426

402

16

32

325

305

16

20

 

 

 

 

Таблица 12

Ширина просвета, мм

Скважность, %, при диаметре проволоки, мм

1,5

2

3

4

0,5

25

20

14

11

0,75

33

27

20

15

1

40

33

25

20

1,5

50

43

33

27

2

57

50

40

33

2,5

62

55

45

36

3

66

60

50

43

3,5

70

63

54

46

4

73

66

57

50

4,5

75

69

60

53,5

5

77

71

62

55,5

5,5

78,5

73

64

57

6

80

75

66

60

4.17. Проволоку для обмотки фильтровых труб следует применять, как правило, из нержавеющей стали. При невозможности получения нержавеющей стали рекомендуется применять антикоррозийные покрытия.

Сетки используются гладкого (галунного) и квадратного плетения (табл. 15-17), штампованные просечные листы - с проходными отверстиями открытого типа (табл. 18) и типа «мост» (табл. 19).

4.18. Использование для фильтров водопонизительных скважин и дренажей покрытий из волокнистых, тканых и других материалов возможно при условии обеспечения необходимого срока службы водопонизительного устройства.

Таблица 13

№ п.п.

Требования к гранулометрическому составу обсыпки

Область распространения требования

1

5 ≤ D50 / d50 < 10

Соотношение крупности частиц материала однослойной обсыпки и прилегающего к ней грунта; то же, наружного слоя обсыпки и прилегающего к ней грунта; то же, внутреннего и наружного слоя обсыпки

2

D60 / D1010

Соотношение частиц различной крупности в материале одного слоя обсыпки

3

D60 / D10 ≤ 5

Соотношение частиц различной крупности в материале обсыпки фильтров водопонизительных скважин

4

D60 / D103

Соотношение частиц различной крупности в материале обсыпки фильтров водопонизительных скважин при укладке его сбрасыванием по зазору между обсадкой и фильтровой колонной трубы

5

δ = 10-15 см

Минимальная толщина одного слоя обсыпки трубчатых дренажей

6

δ ≥ 30 D80 и δ00,25D

Толщина слоя обсыпки фильтров водопонизительных скважин

7

D0 = d50

Соотношение между размером проходного отверстия фильтра (дренажной трубы) и средним диаметром частиц в обсыпке

Примечания: 1. При пересечении фильтром водопонизительной скважины нескольких водоносных слоев или прослоек D50 обсыпки следует подбирать по наименьшему значению d50, определенному при гранулометрическом анализе всех отобранных образцов породы, но с соблюдением для каждого пересекаемого слоя условия D50 < d50. Если значения d50 различных слоев настолько отличаются между собой, что условие невыполнимо, то в порядке исключения следует предусматривать обсыпку с различными значениями D50 по высоте фильтра. 2. Если условие п. 1 настоящей таблицы невыполнимо для однослойной обсыпки, то необходимо предусматривать двухслойную обсыпку.

Таблица 14

Условный диаметр, мм

Объем материала обсыпки, м3

Условный диаметр, мм

Объем материала обсыпки, м3

обсадных колонн

фильтра

обсадных колонн

фильтра

400

200

0,11

300

100

0,075

250

0,091

150

0,068

300

0,065

200

0,048

350

150

0,094

250

100

0,049

200

0,077

150

0,038

250

0,056

 

 

Таблица 15

Номер сетки

Номинальное число нитей на 26 мм

Диаметр проволок, мм

Размер ячейки, мм

Материал

Масса 1 м2 сетки, кг

основа

уток

основа

уток

6/70

6

70

0,7

0,4

0,34

Л-68

3,79

7/70

7

70

0,6

0,4

0,34

Л-68

3,68

8/55

8

55

0,6

0,5

-

Л-68

4,46

8/70

8

70

0,6

0,4

-

Л-80

3,835

8/80

8

80

0,5

0,35

-

Л-80

3,3

10/70

10

70

0,5

0,4

0,32

Л-80

3,74

10/80

10

80

0,5

0,33

-

Л-80

3,05

10/90

10

90

0,45

0,3

0,27

Л-80

2,75

10/100

10

100

0,45

0,3

-

Л-80

2,68

12/90

12

90

0,45

0,3

0,27

Л-80

2,86

14/90

14

90

0,45

0,3

-

Л-80

3,1

14/100

14

100

0,45

0,28

0,23

Л-80

3,04

16/100

16

100

0,4

0,25

0,23

Л-80

2,825

18/130

18

130

0,32

0,22

0,17

Л-80

2,3

20/160

20

160

0,28

0,18

0,14

Л-80

2

* По ВТУЭ 145-41.

Таблица 16

Номер сетки

Номинальное число проволок на 26 мм

Номинальный диаметр проволоки, мм

Расчетная масса 1 м2 сетки, кг

основа

уток

основа

уток

24

24

260

0,7

0,4

3,38

28

28

260

0,6

0,4

3,28

32

32

260

0,6

0,4

3,36

36

36

260

0,5

0,4

3,20

40

40

325

0,5

0,35

3,10

44

44

360

0,45

0,3

2,61

48

48

360

0,45

0,3

2,63

52

52

390

0,45

0,28

2,66

56

56

390

0,4

0,28

2,49

60

60

390

0,4

0,28

2,54

64

64

485

0,35

0,22

2,01

68

68

485

0,35

0,22

2,06

72

72

550

0,3

0,2

1,82

76

76

550

0,3

0,2

1,83

80

80

600

0,28

0,18

1,62

90

90

645

0,28

0,16

1,52

100

100

670

0,25

0,16

1,52

120

120

670

0,22

0,16

1,52

160

160

820

0,2

0,14

1,44

200

200

870

0,18

0,12

1,21

Таблица 17

Номер сетки

Диаметр проволоки, мм

Число проволок на 26 мм сетки

Число ячеек на 1 см2 сетки

Сторона ячейки в свету, мм

Живое сечение сетки, %

Масса 1 м2 латунной сетки, кг

2,6

0,5

32,3

10,4

2,6

70,3

1,14

2,5

0,5

33,3

11,2

2,5

70

1,18

2

0,5

40

16

2

64

1,41

1,6

0,45

49

23,8

1,6

60,8

1,39

1,25

0,4

59

34,6

1,25

58,5

1,33

1

0,35

74

54,9

1

55

1,23

09

0,35

80

64

0,9

41,3

1,38

08

0,3

91

82,6

0,8

53

1,2

07

0,3

99

98

0,7

48

1,27

063

0,25

114

130

0,63

48

1

06

0,25

118

139

-

49,8

1,04

056

0,23

126,5

160

0,56

51

0,97

05

0,22

139

193

0,5

48,2

0,94

045

0,18

159

252

0,45

50,9

0,72

042

0,15

125,5

308

0,42

54

0,55

04

0,15

182

331

0,4

53

0,58

0355

0,15

200

400

0,355

49

0,63

0315

0,14

222

494

0,315

46

0,61

028

0,14

238

567

0,28

44,5

0,65

025

0,13

264

694

0,25

43,3

0,62

0224

0,13

278

763

0,224

40,8

0,66

02

0,13

303

918

0,2

36,7

0,72

018

0,13

323

1040

0,18

33,8

0,76

016

0,12

385

1480

0,16

32,7

0,72

015

0,1

400

1600

-

36

0,56

014

0,09

435

1890

0,14

38

0,56

0125

0,09

465

2130

0,125

33,8

0,54

0112

0,08

515

2630

0,112

34,7

0,46

0105

0,075

566

3140

-

37

0,43

01

0,07

588

3460

0,1

34,6

0,4

* По ГОСТ 6613-73 с изм.

ОСНОВНОЕ ОБОРУДОВАНИЕ

4.19. Основным оборудованием для производства водопонизительных работ, кроме общестроительного, служат насосы, буровые станки, иглофильтровые установки.

4.20. Для водоотлива используются серийно выпускаемые центробежные насосы для воды, при необходимости для загрязненной воды, или погружные электронасосы для загрязненной воды типа ГНОМ. Технические данные насосов типа ГНОМ приведены в табл. 20.

4.21. При устройстве дренажей используются общестроительное оборудование и машины, применяемые для земляных, санитарно-технических и водопонизительных работ. Технические данные основных типов центробежных насосов, применяемых в насосных станциях дренажных систем, приведены в табл. 21.

Таблица 18

Длина щели, мм

Ширина щели, мм

Ширина перемычки по вертикали, мм

Ширина перемычки по горизонтали, мм

Толщина листа, мм

Скважность, %

20

1

6

2

1,5

25,3

1

6

2,5

1,5

21,8

1,5

4

2

2

35,2

2

5

3

2,5

31,3

2,5

5

3

3

35,4

3

4

3

2

40,3

3

6

3

4

37,3

3,5

6

3,5

3

37

4

6

4

5

36,8

4,5

4

3,5

2

44,5

5

5

5

5

37,9

5

6

4

6

40,4

6

7

6

8

34,6

7

6

5

5

41,6

7

7

5

5

40

8

6

5

3

43,3

10

6

5

5

45,7

25

1,5

5

2,5

2

30,8

2,5

7

5

4

25,5

3

5

3

4

40,8

3,5

5

5

5

33,2

4

5

5

5

36

4,5

5

5

5

37,9

5

5

4

5

44,4

5,5

5

3,5

2

48,5

6

5

4

2

47,3

25

6

7

6

8

37

7

7

6

3

42,8

8

5

5

6

47,7

30

5

10

5

5

36,2

6

7

6

6

38,8

8

10

7

8

37,8

9

6

6

2

46,7

10

6

5

6

51,5

35

4

5

4

4

42,7

6

5

4

5

50,6

6

5

5

5

46

7

8

7

6

39

9

9

7

6

42,2

10

10

10

8

36,5

40

8

8

10

10

35,5

20,8

8

6

10

57,1

50

10

10

9

8

42

12

10

9

6

45,2

60

12

10

10

6

44

Таблица 19

Ширина моста поверху, мм

Толщина стенки, мм

Высота просвета моста, мм

Средняя длина щели, мм

Ширина щели, мм

Перемычка щели по вертикали, мм

Перемычка между щелями по горизонтали, мм

Скважность, %

17

2,5

1

18,5

5

17,5

5,5

9,78

1,5

19,25

16,75

15,26

2

20

19

19,55

2,5

20,75

18,25

25,42

3

1

18,5

20,5

9,04

1,5

19,25

19,75

14,11

2

20

22

18,14

2,5

20,75

21,25

23,58

3

21,5

23,5

27,33

3,5

1

18,5

20,5

9,04

1,5

19,25

19,75

14,11

2

20

22

18,14

2,5

20,75

21,25

23,58

3

21,5

23,5

27,33

4

1

18,5

23,5

8,39

1,5

19,25

22,75

13,08

2

20

25

16,94

2,5

20,75

24,25

22,03

3

21,5

26,5

25,59

20

4

1

21,5

7

23,5

7,5

6,58

1,5

22,25

25,75

9,59

2

23

25

13,21

2,5

23,75

27,25

16,05

3

24,5

26,5

19,86

3,5

25,25

28,75

22,5

4

26

28

26,56

5

1

21,5

26,5

6,17

1,5

22,25

28,75

9,02

2

23

28

12,43

2,5

23,75

30,25

15,17

3

24,5

29,5

18,77

3,5

25,25

31,75

21,33

4

26

31

25,18

4.22. Для устройства водопонизительных скважин применяются, в основном, станки ударно-канатного и вращательного бурения (табл. 22, 23).

4.23. Для откачки воды из скважин применяют насосы с погружным электродвигателем (агрегаты электронасосные центробежные скважинные) и насосы с электродвигателем на поверхности (агрегаты водоподъемные с электродвигателем над скважиной).

Таблица 20

Параметры

Марка насоса

ГНОМ 10-10

ГНОМ 15-15

ГНОМ 25-20

ГНОМ 40-18Т

ГНОМ 53-10Т

ГНОМ 100-25

Подача, м3/ч

10

16

25

40

53

100

Напор, м

10

15

20

18

10

25

Мощность электродвигателя, кВт

1,1

1,7

4

5,5

4

15

Габариты, мм

278 × 210 × 450

500 × 240

260 × 327 × 600

327 × 260 × 660

295 × 260 × 600

530 × 385 × 820

Масса, кг

21

31

58

76

58

180

Допустимый размер твердых включений в воде, мм

6

5

8

6

8

5

Допустимое содержание в воде механических примесей, %

10

10

-

-

-

10

Допустимая температура воды, °С

35

35

35

60

45

35

Таблица 21

Марка насоса

Подача, м3

Напор, м

Мощность, кВт

Частота вращения, об/мин

Габариты, мм

Масса, кг

НЦС-1

18

20,5

5,79

3000

1215 × 390 × 655

250

НЦС-1

120

11,3

6,96

3000

1215 × 390 × 655

250

НЦС-1

130

8,3

6,91

3000

1215 × 390 × 655

250

НЦС-3

8

21,7

2,38

3000

1120 × 385 × 540

150

НЦС-3

36,4

15,9

3,14

3000

1120 × 385 × 540

150

НЦС-3

60

4,3

3,76

3000

1120 × 385 × 540

150

К 160/30

160

30

30

1500

1470 × 615 × 575

455

К 290/30

290

30

40

1500

1640 × 710 × 656

600

КМ 45/55

45

55

10,5

3000

847 × 385 × 435

198

КМ 90/35

90

35

10,8

3000

847 × 403 × 440

197

КМ 160/20

160

20

10,9

1500

877 × 472 × 505

237

Д200-95 (4НДВ)

200

95

100

3000

830 × 640 × 520

210

Д200-36 (5НДВ)

200

36

40

1500

830 × 800 × 620

270

Д320-50

320

50

75

150

830 × 970 × 700

380

Таблица 22

Параметры

Типы станков

УГБ-3УК

УГБ-4УК

БУ-2 «Уралец»

Максимальная глубина бурения, м

300

500

250

Максимальный диаметр бурения, мм

600

900

300

Грузоподъемность лебедок, кН:

 

 

 

талевой

20

32

-

желоночной

12

20

5

инструментальной

20

32

12

Высота мачты, м

13,5

16

11,6

Грузоподъемность мачты, кН

120

250

-

Мощность двигателя, кВт

22

40

20

Габариты в рабочем положении, м:

 

 

 

высота

12,75

16

12

длина

5,8

7,7

6

ширина

2,3

2,64

2,7

Масса станка с мачтой и двигателем, т

8

12,8

11,1

Технические данные выпускаемых в Советском Союзе скважинных насосов приведены в табл. 24, в которой приняты следующие обозначения для типоразмеров агрегатов:

А - артезианский; В - водяной; Г - допускается повышенное содержание твердых механических примесей в воде; Н - насос; Т - турбинный; Тр - допускается повышенная температура воды; X - допускается химическая активность воды; Ц - центробежный; Э - с приводом от погружного электродвигателя.

Первое число (для насосов типа ЭЦВ - первое после букв) - внутренний диаметр фильтровой колонны, уменьшенный в 25 раз и округленный; второе число - для насосов типа А - быстроходность; АНТ - рабочее колесо; ЭЦВ - производительность, м3/ч; третье число - для насосов типа А - число корпусов насоса; АТН - число рабочих колес; ЭЦВ - напор, м. Для насосов типа ЭЦВ перед буквами ставится порядковый номер модернизации, например: 1ЭЦВ12-160-65.

Характеристики насосов приведены на рис 29 и 30.

4.24. В Советском Союзе выпускаются и поставляются комплектно иглофильтровые установки следующих типов: ЛИУ; УВВ; ЭИ и ЭВВУ (табл. 25). Все они могут быть использованы для гравитационного водопонижения.

Для вакуумного водопонижения используются установки типов УВВ, ЭИ и ЭВВУ.

Таблица 23

Параметры

Типы станков вращательного бурения

УГБ-50М

УГБ-1ВС

УРБ-3А2

1BA15B

УРБ-600

FA-12

Основной способ бурения

Вращательный

Вращательный с промывкой

Вращательный с обратной промывкой и ударно-канатный 250/250

Номинальная глубина бурения, м

50

50

600

500

600

-

Диаметры бурения, мм:

 

 

 

 

 

 

начальный

198

198

243

394

490

1270/600

конечный

151

151

93

190

214

-

Высота мачты, м

8

8,65

18,4

18,4

22,4

13,12

Грузоподъемность мачты максимальная, кН

73

52

100

300

700

125

Установленная мощность главного привода, кВт

36

44

180

288

520

-

Габариты станка в транспортном положении, мм:

 

 

 

 

 

 

длина

8000

6540

10860

10853

12460

13100

ширина

2250

2380

3000

3000

2650

2480

высота

3500

2730

3750

3750

4160

3560

Таблица 24

Марка насоса

Мощность электродвигателя, кВт

Длина насоса, мм

Агрегаты электронасосные центробежные скважинные для воды*

ЭЦВ5-4-125

2,8

1890

ЭЦВ5-6,3-80

2,8

1620

1ЭЦВ6-4-130

2,8

1700

1ЭЦВ6-4-190

4,5

2041

3ЭЦВ6-6,3-85

2,8

1358

4ЭЦВ6-6,3-85

2,8

1484

3ЭЦВ6-6,3-125

4,5

1564

4ЭЦВ6-6,3-125

4,5

1710

1ЭЦВ6-10-50

2,8

1361

3ЭЦВ6-10-80

4,5

1415

ЦВ6-10-110

5,5

1713

1ЭЦВ6-10-140

8

1891

1ЭЦВ-10-185

8

2222

ЭЦВ6-10-235

11

2799

3ЭЦВ6-16-50

4,5

1502

3ЭЦВ6-16-75

5,5

1708

ЭЦВ6-16-75Г

5,5

1640

ЭЦВ6-16-110Г

8

1860

ЭЦВ6-25-140ХГ

16

3291

ЭЦВ6-25-140ХТрГ

16

3291

3ЭЦВ8-16-140

11

1795

1ЭЦВ8-25-100

11

1832

2ЭЦВ8-25-100

11

1822

2ЭЦВ8-25-150

16

2128

1ЭЦВ8-25-150ХТрГ

22

2658

ЭЦВ8-25-300

32

4190

ЭЦВ8-40-60

11

1666

ЭЦВ8-40-180

32

2960

2ЭЦВ10-63-65

22

1720

2ЭЦВ10-63-110

32

2125

1ЭЦВ10-63-150

45

2504

2ЭЦВ10-63-150

45

2415

1ЭЦВ10-63-270

65

3234

ЭЦВ10-120-60

32

2150

ЭЦВ10-160-35Г

22

1867

1ЭЦВ12-160-65

45

1966

1ЭЦВ12-160-100

65

2157

1ЭЦВ12-210-25

22

1747

2ЭЦВ12-210-55

45

2330

1ЭЦВ12-210-145

125

3390

2ЭЦВ12-255-30Г

32

1602

ЭЦВ12-375-30Г

45

1860

ЭЦВ14-210-300Х

250

5679

ЭЦВ16-375-175Х

250

5626

Агрегаты водоподъемные с электродвигателем над скважиной

АТН8-1-7

7,5

33396

АТН8-1-11

10

46154

АТН-1-16

13

69915

АТН8-1-22

17

93358

20А-18×1-1

75

27210

20А-18×3-1

250

83375

24А-18×1-1

250

43797

* Типоразмеры агрегатов ЭЦВ соответствуют ГОСТ 10428-79 с изм.

Примечание. Требуемый подпор для насосов марок ЭЦВ5-4-125 - 1ЭЦВ12-210-25 - 1 м; 2ЭЦВ12-210-55 - 2ЭЦВ12-255-30Г, а также ЭЦВ14-210-300Х - 2 м; ЭЦВ12-375-30Г и ЭЦВ16-375-175Х - 6 м.

Рис. 29. Характеристика насосов типа ЭЦВ

Рис. 30. Характеристики насосов типа А, АП, АТН, ЭПН

ВОДООТЛИВ ИЗ КОТЛОВАНОВ И ТРАНШЕИ

4.25. Для водоотлива в котлованах и траншеях устраиваются специальные зумпфы (водосборники), к которым вода поступает по канавкам и водостокам (рис. 31), каптирующим фильтрационный приток через откосы и дно выработки. Необходимость устройства канавок и зумпфов приводит к некоторому увеличению объемов земляных работ, что почти не ощущается при разработке больших котлованов и карьеров и более ощутимо при разработке малых котлованов. Вместимость зумпфа рекомендуется принимать не менее 5-минутной максимальной производительности откачивающего из него воду насоса.

Для применения водоотлива из котлованов и траншей не ставятся ограничения в зависимости от характера грунтов и их фильтрационных свойств. Но в то же время следует учитывать, что в малоустойчивых грунтах возможны затруднения, связанные с необходимостью предохранения от нарушения свойств грунтов в откосах и в основании сооружений и обеспечения надлежащей эффективности большинства методов земляных и строительных работ.

При производстве земляных работ в гравийно-галечниковых и щебенистых грунтах, в полускальных и скальных породах сохранение грунтов в устойчивом состоянии обычно не вызывает затруднений, но и в этих условиях следует уделять организации приема и отвода фильтрационных вод и взаимоувязке с другими работами надлежащее внимание, иначе может быть снижена эффективность использования различного строительного оборудования и транспорта. При этом опасность возможных осложнений возрастает с увеличением глубины выработки и притока подземных вод.

Таблица 25

Параметры

ЛИУ-6Б

УВВ-2

УВВ-3-6КМ

ЭИ-70* (ЭВВУ)

насос № 1

насос № 2

Максимальная производительность установки по воде, м3

140

65

43

43

150

Напор на выходе, м

35

28

-

20

-

Масса насосного агрегата, кг

650

470

1320

790

639

Габариты насосного агрегата (с электродвигателем)

1845 × 945 × 1250

1680 × 735 × 1234

4400 × 2200 × 1900

1800 × 780 × 1400

1500 × 690 × 715

Мощность электродвигателя, кВт

22

11

30

15

75

Длина коллектора, м:

 

 

 

 

 

всасывающего

-

105

54

105

-

напорного

 

-

-

-

48

сливного

 

-

-

-

42

Длина одного звена, м

-

6

4,5

6

6

Размеры фильтрового звена, м:

 

 

 

 

 

наружный диаметр по сетке

-

68,5

70

68,5

70

общая длина

-

1,26

1

1,26

1,12

длина водоприемной части

-

0,8

0,8

0,8

0,8

Общая длина иглофильтра, м

-

8,5

7,5

8,5

12

Масса установки, т

-

7,1

5,08

6,85

10,5

* В комплект установок типа ЭВВУ дополнительно входят фильтровые оболочки, а фильтровые звенья не имеют сетчатого покрытия.

Организация водоотлива облегчается при разработке грунтов методами гидромеханизации, так как откачка подземных вод обычно совмещается с удалением пульпы, а в забое допускается разрыхление грунтов фильтрационным притоком.

4.26. Разработка крупных и глубоких котлованов с водоотливом осуществляется ярусами. Разработка каждого яруса начинается с проходки пионерной (разрезной) траншеи глубиной, несколько превышающей высоту яруса. Уклон траншеи принимается противоположным направлению движения экскаватора. При этом в начале траншеи (вблизи съезда) устраивается водоприемный зумпф для сбора фильтрующей воды. Насосы для откачки воды устанавливаются вблизи зумпфа на дне траншеи или у верхней бровки траншеи на поверхности земли. Последнее рекомендуется при больших притоках. Высота яруса регламентируется фактической высотой всасывания насосов и не превышает 3-4 м.

Рис. 31. Открытый водоотлив в котловане

1 - дренажная канава; 2 - зумпф; 3 - пониженный уровень подземных вод; 4 - дренажная пригрузка; 5 - насос

По окончании разработки траншеи на уровне ее дна в месте расположения зумпфа устраивается насосная станция, действующая в течение всего периода разработки яруса.

При большой площади котлована в пределах одного яруса могут устраиваться дополнительные насосные станции. По окончании выемки земли по контуру дна выработки устраиваются водосборные траншеи.

В аналогичном порядке осуществляется водоотлив на последующих ярусах разработки котлована.

4.27. Водоотлив непосредственно из передовых траншей или из котлованов, не имеющих специальных зумпфов, допускается, когда не требуется их полного осушения, например, при подводной разработке грунтов грейферами или земснарядами. Когда требуется полное осушение котлована, должны быть заблаговременно подготовлены зумпфы и обеспечен беспрепятственный сток воды к ним.

Котлованы, разрабатываемые в водоносных глинистых грунтах, которые служат основанием сооружений, рекомендуется переуглублять на 20-40 см ниже отметки подошвы фундаментов и выполнять втрамбовку и сплошную подсыпку щебнем или гравием.

4.28. Разработка котлованов подводным способом ведется черпанием грунта из-под воды землечерпательным (землесосным) снарядом или экскаватором, оборудованным грейфером или ковшом драглайна. Обычно она сопровождается снижением уровня воды в выемке.

Скорость снижения уровня подземных вод в грунтовом массиве вблизи откосов меньше скорости снижения уровня воды в самом котловане и еще в большей мере отстает развитие депрессии вдали от котлована. При этом возникает опасность значительного возрастания гидравлического градиента фильтрации в приоткосной зоне.

При определенных для каждого конкретного грунта значениях выходного градиента фильтрации и величины уступа может наступить разрушение грунта в откосах. Для фильтрующих грунтов - это суффозионные явления, которые могут повлечь за собой образование в грунтовом массиве каверн, пещер, пустот, провальных воронок и, наконец, обрушение на отдельных участках откоса. В слабофильтрующих грунтах значительное давление подземных вод изнутри массива в сочетании со взвешивающим воздействием воды может вызвать оплывание и оползание откосов.

Значительные градиенты фильтрации на заключительном этапе разработки котлована - при сниженном уровне воды в котловане - могут вызвать деформацию и разуплотнение грунтов дна котлована, появление выходов воды с выносом грунта (грифонов), вплоть до полного нарушения основания будущего сооружения.

Отсюда вытекают требования тщательной увязки интенсивности понижения уровня воды в котловане, разрабатываемом подводным способом, с грунтовыми и гидрогеологическими условиями и со снижением уровня подземных вод за его пределами.

Допустимая в данных условиях интенсивность понижения уровня, общая величина снижения, методы и объемы необходимых водопонизительных работ, мероприятия по обеспечению устойчивости откосов должны решаться в специальном разделе проекта, рассматривающем этот этап строительства.

Значения допустимых скоростей снижения уровня воды в котловане приведены в табл. 26. Эти значения могут быть уточнены в процессе разработки и осушения котлована.

4.29. В насосных станциях для водоотлива из котлованов и траншей устанавливаются резервные насосы в количестве 100 % при одном работающем насосе и 50 % при количестве работающих насосов более одного.

При этом следует стремиться к тому, чтобы на каждой насосной станции как рабочие насосы, так и резервные были одного типа. Установка разнородных по производительности (и другим параметрам) агрегатов на одной насосной станции не рекомендуется.

Таблица 26

Коэффициент фильтрации грунта, м/сут

Допустимые скорости снижения уровня воды в котловане, см/сут, при глубине, м, уровня воды от непониженного уровня подземных вод

до 5

5-10

10-20

св. 20

До 2

30

25

20

15

2-10

60

40

30

25

10-20

100

70

50

40

Св. 20

120

90

60

50

УСТРОЙСТВО ДРЕНАЖЕЙ

4.30. Дренажи того или иного вида, имеющие непрерывное простирание (траншейные, трубчатые, пластовые и др.) могут применяться для различных задач водопонижения в разнообразных природных условиях.

4.31. Простейшим видом траншейных дренажей, применяемых для строительного водопонижения, являются канавки и передовые траншеи, устраиваемые в котлованах при водоотливе из них.

Когда территория позволяет разместить дренажные траншеи вне котлованов сооружений, траншейный дренаж может быть использован для осушения значительных площадей, на которых необходимо вести работы ниже уровня подземных вод на протяжении длительного времени.

В малоустойчивых грунтах нижняя, затопленная часть канав и траншей может быть заполнена фильтрующим материалом (камнем, щебнем, гравием). При необходимости использования площади, занятой канавами или траншеями, последние после укладки фильтрующего материала могут быть засыпаны грунтом с постепенным переходом в материале засыпки от крупных фракций к мелким (т.е. с устройством обратного фильтра) для предохранения от засорения его водопроводящей части, образуя таким образом закрытый беструбчатый дренаж.

4.32. Трубчатые дренажи могут быть использованы для строительного водопонижения в тех случаях, когда они предусматриваются для постоянных дренажных систем. В этом случае они должны быть выполнены заблаговременно с целью защиты заглубленного сооружения не только в период эксплуатации, но и в период его строительства. Однако трубчатые дренажи могут применяться и только на период строительства, например, на откосах долго существующих котлованов (рис. 32) и в других случаях, когда это оправдано экономически.

Рис. 32. Дренаж на откосах котлована

1 - пониженные уровни подземных вод; 2 - песчаная пригрузка; 3 - дренажная труба; 4 - засыпки гравием

При устройстве трубчатых дренажей, после отрывки траншеи, необходимо отобрать пробы окружающего грунта, уточнить его гранулометрический состав и соответствующий ему состав песчано-гравийной обсыпки, требования к материалу для нее и при необходимости к материалу фильтровых покрытий согласно пп. 4.16 и 4.17.

4.33. Дренажи в виде проходных и полупроходных подземных галерей ввиду их значительной стоимости применяются, в основном, в период эксплуатации сооружений и рудников в качестве постоянного средства осушения территорий предприятий, населенных пунктов, для борьбы с оползнями и т.д. Такие дренажи при их заблаговременном исполнении возможно использовать и для водопонижения в строительный период. При их устройстве необходимо руководствоваться действующими нормативными материалами по подземным горным выработкам и гидротехническим тоннелям.

4.34. Работы по устройству траншейных, трубчатых, галерейных дренажей должны начинаться с прокладки сбросных участков от дренажной сети до открытых водоприемников или существующих коллекторов ливневой канализации при самотечном выпуске, а в случае перекачки - со строительства насосной станции и водоотвода.

4.35. Пластовый дренаж (развитый по площади слой фильтрующего материала) применяется в сочетании с трубчатыми дренами (или беструбчатыми закрытыми дренами) при строительном водопонижении на откосах котлованов (см. рис. 32), а также в основаниях сооружений (например, когда необходимо забетонировать фундаментную плиту и нельзя предотвратить фильтрацию через дно котлована) и в основаниях грунтовых отвалов.

При устройстве пластового дренажа в основаниях грунтовых отвалов отвод воды от них допускается осуществлять с помощью систематически расположенных дрен-канав, устраиваемых под слоем пластового дренажа. Площадь сечения дрен-канав должна быть не менее 0,1 м2. Дрены заполняются каменным или щебеночным материалом или блоками из беспесчаного бетона. По дренам вода отводится в канаву, выполняемую вдоль фронта отвалов.

Устройство пластового дренажа в котловане включает следующие (по порядку выполнения) виды работ: срезку, зачистку и планировку дна котлована до проектных отметок, укладку трубчатых дрен (или устройство беструбчатых дрен-канав), включая подготовку под них и фильтровую обсыпку, укладку по дну котлована песчаного слоя с уплотнением его легкими катками, укладку поверх песчаного слоя гравия или щебня. При выполнении работ нельзя допускать нарушений в сопряжении щебеночного слоя постели со щебеночной обсыпкой труб.

4.36. Каптируемые дренажами подземные воды отводятся к пониженным местам территории, в овраги, речки, водоемы, если есть такие возможности в районе строительства, или к специальным водосборникам (зумпфам), у которых устраиваются перекачные насосные станции.

Устройство заглубленных дренажных насосных станций может выполняться в открытом котловане или способом опускного колодца. Насосные станции глубоких дренажей устраивают в шахтах, проходимых горным способом.

УСТРОЙСТВО И ЭКСПЛУАТАЦИЯ ВОДОПОНИЗИТЕЛЬНЫХ СКВАЖИН

4.37. При строительном водопонижении применяются открытые (сообщающиеся с атмосферой) и вакуумные (герметически закрытые) водопонизительные скважины, оборудованные насосами, самоизливающиеся и водопоглощающие скважины и сквозные фильтры.

4.38. Открытые водопонизительные скважины, оборудованные насосами (рис. 33), применяются, в основном, при больших (более 4 м) глубинах гравитационного водопонижения в грунтах с коэффициентом фильтрации св. 2 м/сут при достаточной толщине водоносного слоя, при которой может быть обеспечена необходимая производительность водопонизительных скважин. Они могут применяться в грунтах с коэффициентом фильтрации менее 2 м/сут, когда их эффективность подтверждается опытными данными, и при водопонижении менее 4 м, если это оправдывается технико-экономическими соображениями.

Рис. 33. Открытая скважина, оборудованная насосом

1 - кондуктор; 2 - песчано-гравийная обсыпка; 3 - местный песчаный грунт; 4 - отстойник; 5 - просечной лист; 6 - надфильтровые трубы; 7 - пьезометр для замера уровня воды в скважине; 8 - пьезометр для замера уровня воды в обсыпке; 9 - направляющие фонари; 10 - муфта; 11 - насосный агрегат; 12 - водоподъемные трубы

Ряд выпускаемых скважинных насосов (см. табл. 24) имеет достаточно широкий диапазон характеристик (см. рис. 29 и 30). Благодаря этому имеются широкие возможности для решения с помощью скважин, оборудованных насосами, задач водопонижения в различных природных условиях.

Применяемые для конкретных объектов насосы должны иметь оптимальные параметры (расход, напор), соответствующие расчетной производительности скважин и требуемой высоте подъема откачиваемой из них воды.

Для контроля за работой скважин каждая десятая-пятнадцатая из них (в зависимости от общего их количества) оборудуется скважинным пьезометром для замера уровня внутри фильтровой колонны, затрубным пьезометром для замера уровней за фильтровой колонной и при подключении скважин к напорному водоотводящему трубопроводу дополнительной задвижкой для замера дебита и взятия проб на пескование. В необходимых случаях дополнительной задвижкой оборудуется каждая скважина.

Для повышения производительности скважины, вскрывающие весь водоносный слой до водоупора, могут выполняться с уширенным основанием - специальной полостью, образуемой в водоупоре и заполняемой фильтрующим материалом.

4.39. Самоизливающиеся скважины (с изливом через устье) применяются тогда, когда возможен излив из них на достаточно более низкую отметку, чем должен иметь пониженный уровень подземных вод.

Самоизливающиеся скважины выполняются вертикальными и под разными углами к вертикали и забуриваются с разных горизонтов с поверхности земли, с берм на откосах, со дна котлована, из подземных выработок - в зависимости от принятого порядка производства работ и от их назначения. Они могут служить основным средством снятия напора, когда излив из них обеспечивает достаточное снижение пьезометрического уровня подземных вод в водоносном слое, и применяться в качестве резервного мероприятия, когда напор снимается с помощью скважин, оборудованных насосами, на случай аварийных перерывов в их работе (рис. 34), а также использоваться для других целей в различных водопонизительных системах.

Скважины, предназначенные для работы в качестве резервных, должны поддерживаться все время в работоспособном состоянии. Этому должно уделяться внимание в течение всего периода работы водопонизительной системы. При длительном «простое» (без излива) самоизливающихся скважин целесообразно производить их периодические прокачки с помощью эрлифта.

Самоизливающиеся скважины должны быть заглублены в достаточно водообильную зону водоносного слоя для снятия напора в нем.

Самоизливающаяся скважина, в которой осаждается грунт, должна иметь ниже фильтрового звена отстойник, а устье скважины должно быть защищено от попадания в нее случайных предметов и грунта.

В случае прекращения самоизлива необходимо установить, не связано ли это с засорением или повреждением скважины. При необходимости следует принять срочные меры к ее восстановлению.

Самоизливающиеся горизонтальные или слабо наклонные к горизонту скважины, устраиваемые с берм на откосах (рис. 35) или на природных склонах, предназначаются для забора воды из глубины грунтового массива и устранения открытой фильтрации через грунт. Они иногда оказываются более эффективными или менее сложными в исполнении, чем устройство дренажа, пригрузок на откосах и т.п.

Системы радиальных самоизливающихся скважин, забирающих воду из водоносного слоя и отводящих ее в центральный водосборный колодец, представляют собой лучевые водозаборы (рис. 36), используемые при крупных и длительных водопонизительных работах.

Возможно применение радиальных скважин без специального водосборного колодца, когда лучи направляются в сторону потока подземных вод из одного или нескольких пунктов в котловане (например, из его углов), а вода от них отводится по канавкам.

Рис. 34. Система водопонижения с применением резервных самоизливающихся скважин

1 - иглофильтры; 2 - открытые скважины, оборудованные насосом; 3 - самоизливающиеся резервные скважины

В подземных выработках самоизливающиеся скважины (рис. 37) применяются любого направления и используются для водопонижения во всех слоях, окружающих выработки. При необходимости повышения их эффективности они могут быть переустроены в вакуумные подключением к ним насосных установок УВВ.

4.40. Водопоглощающие скважины применяются на тех участках, где слой, в котором требуется понизить воду, хорошо ее отдает и имеет достаточную толщину ниже требуемого пониженного уровня подземных вод, а нижележащие слои грунта обладают надлежащей поглощающей способностью.

4.41. Сквозные фильтры (рис. 38) применяются для строительного водопонижения в сочетании с дренажными галереями (или другими подземными выработками) там, где такие системы предусматриваются для работы в эксплуатационный период.

Вода, сбрасываемая по сквозным фильтрам в дренажные галереи и подземные выработки, отводится по ним к устью и далее к наружному водоотводу или к водосборникам подземной насосной станции (рис. 39), откуда откачивается на поверхность.

4.42. Вакуумные скважины с погружными насосами и герметически закрытым устьем, предусматриваемые для вакуумного водопонижения (при котором в фильтрах скважин поддерживается вакуум до 7-8 м водяного столба в грунтах с коэффициентами фильтрации ниже 2 м/сут) (рис. 10) могут выполняться с поверхности, а также из открытых и подземных горных выработок. Они оборудуются дополнительно наземными вакуум-насосами (или эжекторами) для откачки воздуха.

Рис. 35. Схема устройства горизонтальной скважины

1 - фильтровая колонна, оборудованная наконечником с обратным клапаном; 2 - опорная рама; 3 - домкраты с зажимным хомутом; 4 - маслостанция; 5 - откидные домкраты для упора трактора в грунт; 6 - передвижная насосная станция гидроподмыва; 7 - отстойник для обратной воды

Рис. 36. Лучевой водозабор

1 - шахта; 2 - лучевые скважины; 3 - центробежные насосы

Вакуум-скважины должны иметь дополнительные приборы и устройства по сравнению с открытыми скважинами: вакуумметр, устройство для измерения уровня воды в скважине, задвижку и манометр на напорном трубопроводе. Задвижка и манометр должны устанавливаться на каждой вакуум-скважине. Все погружные насосы, установленные в вакуум-скважине, должны иметь обратный клапан, расположенный непосредственно над насосом.

При устройстве и эксплуатации вакуум-скважин необходимо обращать внимание на:

повышенную опасность возникновения пескования скважин, что требует особой тщательности подбора и устройства обсыпки скважин;

необходимость ограничения поступления воздуха в скважины, для чего фильтры вакуум-скважин должны быть достаточно (не менее чем на толщину осушаемого слоя) удалены от откосов выработки, а на верхних участках надфильтровых труб должны выполняться глиняные тампоны;

необходимость тщательной герметизации муфтовых соединений надфильтровых труб, крышки скважины и сальниковых уплотнений в местах пересечения с крышкой всех элементов оборудования, а также точной центровки в скважине фильтровой колонны;

важность ограничения колебаний уровней воды в скважине: наиболее низкий, уровень должен обеспечить требуемое заводом-изготовителем подтопление насоса, а наиболее высокий - достаточно малый (отвечающий проектному) напор в пределах фильтра скважины (зона колебаний уровня воды в вакуум-скважине может быть допущена и в пределах отстойника, если это не противоречит требованиям проекта).

4.43. Устройство открытых и вакуумных водопонизительных скважин, оборудуемых насосами; самоизливающихся скважин, забуриваемых с поверхности или из выработок; водопоглощающих скважин и сквозных фильтров возможно с помощью механического и гидравлического бурения с последующим погружением в буровую скважину фильтровой колонны и устройством обсыпки, непосредственно гидравлическим погружением фильтра в грунт, гидропневматическим погружением фильтров и обсадных труб. Допускается задавливание, забивка и вибропогружение труб. Наиболее распространено механическое бурение с применением вращательного способа с прямой и обратной промывками, грейферного и ударного способов.

4.44. Рекомендуется применять следующие виды механического бурения:

ударное бурение (в основном ударно-канатное бурение станками УГБ-3УК, УГБ-4УК, Б-2 «Уралец» и др.) - в нескальных грунтах на глубину до 100-150 м и на большую глубину в скальных грунтах; при очистке забоя желонкой скорость ее подъема должна исключать подсасывание грунта через нижний конец обсадной трубы; при проходке грунтов, в которых возможно образование пробок, в полости обсадной трубы следует поддерживать уровень воды, превышающий статический уровень подземных вод; допустимо добавлять в скважину жирную пластическую глину, если она не вызывает глинизации водоносного слоя; в нескальных грунтах возможно использование грейферного бурения;

Рис. 37. Восстающая скважина

1 - шарошечное долото; 2 - переходник с обратным клапаном; 3 - фильтр; 4 - оголовок скважины с выпускной задвижкой; 5 - кондуктор; 6 - водоносный слой; 7 - скальная порода; 8 - подземная выработка

Рис. 38. Сквозной фильтр

1 - надфильтровые трубы; 2 - местный песчаный грунт; 3 - песчано-гравийная обсыпка; 4 - фильтровые звенья; 5 - переходная муфта; 6 - задвижка; 7 - перфорированная труба ограждения

Рис. 39. Система водопонижения со сквозными фильтрами

1 - сквозные фильтры; 2 - подземные выработки; 3 - шахтный ствол и подземная насосная станция с водосборниками

вращательное колонковое бурение с промывкой чистой водой или продувкой воздухом станками ЗИФ-300, ЗИФ-600, ЗИФ-1200 и др. для скважин в скальных грунтах диаметром до 200 мм; при колонковом бурении может быть допущена глинистая промывка: при бурении перекрываемых слоев, в которых водопонижение не требуется, и в случаях, когда опытным путем доказана возможность эффективной разглинизации скважин;

вращательное бурение сплошным забоем с механической подачей разрушенной породы на поверхность - шнековое бурение - станками УГБ-50М, УГБ-1ВС и др. для скважин глубиной до 50 м при отсутствии твердых прослоев, валунов, вязких и липких глинистых грунтов;

вращательное бурение с вращателем у забоя - реактивно-турбинное бурение - с использованием станков УГБ-600, БУ-75Бр, «Уралмаш-125» и других для глубоких скважин (более 100 м) большого диаметра (более 500 мм);

вращательное бурение сплошным забоем с промывкой или продувкой воздухом с вращателем на поверхности - роторное бурение станками УРБ-3АМ, УРБ-3А2, 1БА15В и др.

Роторное бурение возможно с применением нескольких технологий:

а) с прямой промывкой глинистым раствором для бурения скважин диаметром до 500 мм при бурении по перекрываемым слоям и когда опытным путем подтверждена возможность эффективной разглинизации и с обязательным ее выполнением в зоне установки фильтра (применяемый глинистый раствор должен соответствовать свойствам разрабатываемых грунтов);

б) с промывкой чистой водой или продувкой воздухом - в устойчивых грунтах;

Рис. 40. Вакуум-скважина

1 - отстойник; 2 - электродвигатель; 3 - кожух; 4 - насос; 5 - обратный клапан; 6 - стабилизатор динамического уровня; 7 - кабель; 8 - поверхность водоупора; 9 - фильтр; 10 - напорный трубопровод; 11 - трубка прибора для измерения уровня воды в скважине; 12 - надфильтровая труба; 13 - муфта; 14 - «пояс»; 15 - глиняный тампон; 16 - трубка вакуумметра; 17 - вентиль; 18 - манометр; 19 - вакуумметр; 20 - крышка; 21 - трубка для подключения вакуум-насоса

в) с обратной промывкой чистой водой (всасывающее бурение) - для скважин глубиной до 300 м и диаметром до 1000 мм и более при отсутствии включений валунов, больших скоплений крупной гальки и при залегании уровня подземных вод на глубине 3 м и ниже от поверхности земли.

При бурении с промывкой в набухающих грунтах должны применяться специальные реагенты, препятствующие набуханию; в крепких грунтах к промывочной жидкости следует добавлять понизители твердости.

В соответствующих условиях вышеуказанные способы могут применяться и в различных сочетаниях.

Диаметр бурения под фильтровую колонну принимается по наружному диаметру предусмотренной проектом фильтрующей обсыпки. При применении фильтров без обсыпки диаметр бурения должен быть больше диаметра фильтра на 50-100 мм.

В процессе бурения скважин следует отбирать образцы и определять зерновой состав грунтов, уточнять литологический разрез в месте скважины, а при бурении без крепления выполнять электрокаротаж для уточнения интервалов установки фильтров.

В неустойчивых грунтах скважины при бурении должны закрепляться обсадными трубами. В телескопическом креплении скважин предусматриваются, как правило, следующие колонны обсадных труб: шахтовое направление, кондуктор, технические колонны. Нижняя часть каждой колонны оборудуется короткой утолщенной трубой (0,4-0,5 м) с коническим срезом (башмак).

При ударном бурении в неустойчивых грунтах крепление скважин должно производиться одновременно с разработкой грунтов, при этом башмак обсадной колонны должен опережать забой скважины не менее чем на 0,5 м.

При опускании в незакрепленную скважину колонны обсадных труб зазор между ними и грунтом в зависимости от геологического разреза, типоразмеров породоразрушающего инструмента, высоты незакрепленного участка скважины и способа цементирования затрубного пространства (при необходимости в нем) принимается:

при диаметре труб до 700 мм                                                                       80-100 мм

»           »           »     более 700 мм                                                                  100-150 »

Конечный диаметр бурения скважин для сквозных фильтров должен назначаться с учетом размещения в скважине прибора для определения координат ее забоя.

В скважинах, предназначенных для установки в них насосов с трансмиссионным валом, отклонение от вертикали не должно превышать 0,005 от глубины скважины.

Колонны обсадных труб для временного закрепления стенок скважины, не предусмотренные на период ее работы в водопонизительной системе, должны извлекаться. В колоннах обсадных труб, предусмотренных проектом для оставления в грунте на период эксплуатации скважины, должна извлекаться их свободная часть. При этом верхний обрез обсадной трубы, остающейся в скважине, должен находиться выше башмака предыдущей колонны не менее чем на 3 м при глубине скважины до 50 м и не менее чем на 5 м при большей глубине скважины; кольцевой зазор между оставшейся частью колонны и предыдущей колонной обсадных труб должен быть зацементирован (так же, как и все затрубное пространство остающейся трубы) или заделан сальником.

Цементирование затрубного пространства остающихся в грунте обсадных труб при вращательном бурении производится при помощи центрального става бурильных труб с цементировочной головкой или через заливочные трубки, опущенные в затрубное пространство.

Для цементирования применяется тампонажный цемент (ГОСТ 1581-78) плотностью от 3,05 до 3,2 г/см3.

Водоцементное отношение (В/Ц) цементных растворов принимается в пределах 0,4-0,5. Для ускорения схватывания цементного раствора применяются добавки специальных ускорителей в количестве 1-2 % от массы сухого цемента.

В случае агрессивности подземных вод по отношению к цементному камню для цементирования обсадных колонн применяются специальные химически стойкие цементы.

При значительных объемах работ приготовление цементного раствора и цементирование обсадных колонн производится с помощью цементосмесительных машин и цементировочных агрегатов, а при небольших объемах с помощью глиномешалок и насосов буровых установок.

4.45. Гидравлическое погружение в грунт обсадных и непосредственно фильтровых колонн применяется в песках, в том числе и гравелистых, и в супесях.

Эффективность подмыва в сильно поглощающих воду гравелистых грунтах увеличивается, если к воде, размывающей грунт, добавляется сжатый воздух.

Область применения подмыва расширяется, если оборудовать погружаемую колонну разрушающим грунт наконечником и сочетать подмыв с ударным и вращательным действием, подъемом, свободным спуском и вращением труб. В этом случае возможно проходить и более тяжелые грунты. Еще более эффективно сочетание подмыва с вибрационным действием.

Вибропогружение возможно сочетать с удалением грунта из полости погружаемой колонны с помощью эрлифта.

4.46. Обсадные трубы, на которых монтируется оголовок скважины, должны иметь превышение над поверхностью земли не менее чем на 500 мм.

Сквозные фильтры в своей нижней части оборудуются выпуском с задвижкой.

4.47. Выбор способа бурения, бурового оборудования и временного крепления указанных в п. 4.37 типов водопонизительных скважин производится с учетом вышеприведенных рекомендаций и в зависимости от местных гидрогеологических условий и требований проекта.

4.48. Бурение горизонтальных скважин на откосах котлованов целесообразно производить гидравлическим способом с одновременным задавливанием фильтровой колонны с помощью специальных станков (см. рис. 35).

Горизонтальные лучевые скважины выполняются задавливанием при помощи гидродомкратов (допускается с вращением) звеньев фильтровых или обсадных труб с одновременным удалением грунта из забойной части скважины. Грунт в виде шлама поступает в отверстия буровой головки, которой оборудуется первое звено труб.

Рис. 41. Схемы устройства горизонтальных скважин

а - вдавливание фильтра с удалением грунта перед забоем под действием гидростатического напора; б - то же, с применением обсадных труб; в - вдавливание фильтра под защитой обсадных труб с размывом грунта на забое и устройством песчано-гравийной обсыпки гидравлическим способом; г - вдавливание фильтра с толстостенной трубой при размыве грунта в забое

1 - фильтр; 2 - трубы для транспортировки размываемого грунта на забое скважины; 3 - обсадная труба; 4 - труба для гидроразмыва грунта; 5 - песчано-гравийная обсыпка; 6 - толстостенная труба

Помимо этого способа могут применяться вращательные, виброударные и другие виды бурения.

Звенья труб лучевых скважин соединяются между собой при помощи сварки, резьбы или захватов (щеколд). Длина звеньев труб может колебаться от 0,5 до 2,5 м, диаметр - от 50 до 300 мм.

Устройство горизонтальных скважин вдавливанием в грунт фильтров (рис. 41, а) применяется преимущественно в разнозернистых песчано-галечных грунтах крупностью 0,5 ≤ d60 ≤ 50 мм. При этом фильтровые трубы подбираются с учетом их прочности, которая должна быть достаточной для восприятия усилия от домкратов.

Устройство горизонтальных скважин с использованием обсадных трубис. 41, б) применяется в мелких песках, супесчаных и суглинистых грунтах. После обсадки скважины и установки в ней фильтров обсадные трубы извлекаются. Этот способ дает возможность в соответствии с тем или иным составом грунта использовать разнообразные фильтры: тонкостенные стальные, в том числе с антикоррозионным покрытием, пластмассовые, асбестоцементные, гончарные, песчано-гравийные, из пористых материалов и т.д. Одной из модификаций данного метода является устройство песчано-гравийного фильтра путем намыва песчано-гравийной массы в кольцевое пространство между обсадной и фильтровой трубами (рис. 41, в).

Для удаления грунта от забоя горизонтальной скважины при задавливании фильтровой колонны внутри нее устанавливается труба, по которой разжиженный грунт стекает в шахтный колодец, откуда он впоследствии удаляется.

Возможно задавливание в грунт толстостенной сплошной трубы, установленной внутри фильтровой колонны (рис. 41, г), при этом внутренняя полость скважины используется для транспортировки грунта.

Устройство скважин может быть выполнено подмывом - подачей в забой по специальной трубе воды под давлением.

Центральный ствол лучевого водозабора сооружается одним из обычных способов, применяемых при строительстве шахт и колодцев.

Количество лучевых гнезд в стенке колодца должно быть в 1,5-2 раза больше расчетного числа лучей на случай замены или устройства дополнительных горизонтальных скважин в целях увеличения эффекта водопонижения.

При резкой неоднородности слоев на участке закладки лучевого водозабора направление, число и длины отдельных лучей должны отвечать требованиям рационального решения поставленной задачи водопонижения. При этом возможно наклонное направление лучевых скважин, которые могут быть восходящими и нисходящими.

4.49. Скважины из подземных выработок бурятся специальными станками, например НКР-100. Они могут устраиваться так в скальных, так и в нескальных грунтах. Неглубокие самоизливающиеся скважины в нескальных грунтах могут выполняться забивкой или задавливанием фильтровой колонны в потолок, стенки или дно горной выработки (забивные фильтры).

4.50. Перед установкой фильтра в пробуренную скважину необходимо очистить ее от шлама, промыть водой и произвести контрольный замер глубины скважины. Фильтры должны быть проверены на отсутствие повреждений.

Расположение фильтров по глубине скважины должно отвечать требованиям проекта и геологическому разрезу, уточненному в процессе бурения водопонизительной скважины. При необходимости изготовления фильтров на месте они должны быть выполнены по проекту, разработанному проектной организацией.

4.51. Однослойная песчано-гравийная обсыпка, как правило, устраивается после установки фильтра в скважину.

При двухслойной обсыпке применяются кожуховые или корзинчатые фильтры, в конструкцию которых входит первый (внутренний) слой обсыпки. Второй (наружный) слон обсыпки устраивается после погружения кожухового или корзинчатого фильтра в скважину.

Кожуховые и корзинчатые фильтры могут быть применены при требовании однослойном обсыпки (см. табл. 9). В этом случае в зоне установки фильтра зазор между ним и стенкой скважины заполняется материалом, по гранулометрическому составу аналогичным примененному в кожуховом или корзинчатом фильтре (см. примеч. табл. 9).

При устройстве обсыпок после установки в скважине фильтра подача песчано-гравийного материала должна производиться равномерно и непрерывно. После очередного подъема трубы над ее нижним краем должен оставаться слой песчано-гравийного материала высотой не менее 0,5 м.

Устройство обсыпок может выполняться механическим или гидравлическим способами.

При устройстве песчано-гравийной обсыпки в скважинах, пробуренных способом обратной промывки с применением расширителей в фильтровой зоне, гравийную обсыпку следует устраивать гидравлическим способом (рис. 42). Объем гравийной засыпки при этом исчисляется по результатам кавернометрии (по данным каротажа) с введением коэффициента, учитывающего размыв ствола скважины при гидравлической засыпке и устанавливаемого по опытным данным.

4.52. После установки фильтров и устройства обсыпки скважину следует прокачать с помощью эрлифта до полного осветления откачиваемой воды. Промывку скважины можно считать законченной при содержании в откачиваемой воде твердых частиц грунта не более 0,005 % по массе.

Подача воды на поверхность скважинными насосами с погружным электродвигателем осуществляется по колонне водоподъемных труб, состоящей из звеньев длиной 5-10 м, соединенных при помощи муфт с конической резьбой или фланцев.

При оборудовании скважин насосами типа АТН с электродвигателем, установленным на поверхности, водоподъемная колонна монтируется из инвентарных труб, поставляемых заводом-изготовителем в комплекте с насосом.

Верхнее звено водоподъемной колонны присоединяется к опорной плите, устанавливаемой над устьем скважины на бетонном фундаменте.

Звенья трансмиссионных валов глубинных насосов перед монтажом должны проверяться на биение, величина которого в середине проверяемого звена не должна превышать 0,2 мм. Соосность напорных труб и вала после монтажа каждого звена контролируется шаблоном. Легкость вращения вала может быть проверена его поворотом от руки. В случае обнаружения «заедания» вала оно должно быть устранено.

Перед спуском в скважину погружного насоса следует проверить величину сопротивления изоляции обмотки электродвигателя, которая должна быть не менее 0,5 МОм, а после окончания монтажных работ установить отсутствие пробоя токоподводящего кабеля.

Монтаж и демонтаж оборудования скважинных насосов должны производиться в соответствии с инструкциями заводов-изготовителей.

Рис. 42. Схема устройства гидравлическим способом песчано-гравийной обсыпки скважины

1 - обсадные трубы; 2 - надфильтровые трубы; 3 - водоподъемные трубы; 4 - воздушная труба; 5 - фильтр; 6 - песчано-гравийная обсыпка; 7 - бункер для обсыпки

4.53. Для водопонизительных скважин всех видов необходимо выполнение ряда условий, обеспечивающих их устойчивую работу во времени. Это особенно важно для длительно работающих водопонизительных скважин. К таким условиям относятся:

а) применение способов бурения, исключающих кольматацию фильтров при бурении (вращательносасывающее, ударно-канатное), а в случаях когда в соответствии с проектом допущена прямая промывка глинистым раствором - выполнение эффективной разглинизации;

б) применение гравийных фильтров с обсыпкой (одно- или двухслойной), правильно подобранной по гранулометрическому составу для конкретного водовмещающего грунта;

в) применение гравийной обсыпки достаточной толщины (не менее 50 мм с каждой стороны); большая толщина обсыпки увеличивает дебит и устойчивость работы скважины,

г) в нескальных грунтах постепенный ввод в действие каждой скважины медленным увеличением интенсивности откачки до полного осветления откачиваемой воды;

д) выполнение антикоррозионных покрытий труб и фильтровых каркасов или выполнение их из нержавеющих материалов, что препятствует зарастанию фильтров;

е) при использовании вакуум-скважины разрежение в ее внутренней полости должно наращиваться постепенно и достигать расчетной величины через 1-2 сут.

Следует также учитывать, что бурение, погружение обсадных колонн, установка фильтров, опытные откачки и пуск в действие всех видов водопонизительных скважин являются, по существу, скрытыми работами, притом такого характера, что исправление допущенных ошибок в большинстве случаев либо чрезвычайно затруднительно, либо оказывается вообще невозможным и влечет за собой значительные затраты. Поэтому при устройстве водопонизительных скважин требуется особая тщательность исполнения работ и соответствующий надзор за ними. По каждой скважине должны своевременно составляться акты на скрытые работы. При этом особое внимание следует уделять выполнению вышеперечисленных условий, обеспечивающих устойчивую работу скважин во времени.

4.54. В процессе работы водопонизительных скважин, а в ряде случаев и перед вводом их в эксплуатацию, необходимо выполнение ряда мероприятий, заключающихся в осуществлении различных способов обработки скважины с целью предотвращения их зарастания и повышения или сохранения производительности.

Для обработки скважин применяются следующие способы: взрывной, реагентный, гидравлический, электрогидравлический, пневмоударный, ультразвуковой и механический.

4.55. Торпедирование (взрыв в полости скважины одной или нескольких нитей детонирующего шнура) следует производить для разглинизации скважин, выполняемых в водоносных слоях, представленных неустойчивыми породами, а также для увеличения или восстановления проницаемости водоносных трещиноватых скальных грунтов. Этот метод допустимо применять для скважин с диаметром фильтровой колонны не менее 146 мм.

Область применения торпед из детонирующего шнура (ТДШ) в зависимости от конструкции фильтра и геологических условий приведена в табл. 27.

Взрывы сосредоточенных зарядов следует применять для увеличения или восстановления проницаемости водоносных трещиноватых скальных грунтов.

4.56. Обработку реагентным способом скважин для увеличения или восстановления их производительности следует вести с применением реагентных ванн или закачки под давлением растворов в прифильтровую зону.

Реагентные ванны следует применять для очистки поверхности ствола скважины и поверхности забоя от глинистой корки, продуктов коррозии и других загрязнений.

Закачка под давлением растворов реагентов должна применяться для повышения проницаемости самих фильтров и грунтов в прифильтровой зоне, для чего раствор должен задавливаться в трещины и поры пород.

4.57. Гидравлическую обработку для удаления глинистого раствора из полости скважины следует выполнять до начала работ по восстановлению проницаемости водоносного слоя. Этот вид обработки должен выполняться прямой промывкой водой по затрубному пространству, обратной промывкой с откачкой эрлифтом, свабированием.

Таблица 27

Конструкция фильтра

Водоносные грунты

Максимальное число нитей ДШ в одной торпеде

Допустимое количество взрывов в одном интервале

Трубчатый с водоприемным покрытием из сетки, без обсыпки

Песок мелкий

1

1

То же, с песчано-гравийной обсыпкой

Пески мелкие и средние

1

1-2

Трубчатый с водоприемным проволочным покрытием, без обсыпки

Пески от гравелистых до мелких

2

1-2

То же, с песчано-гравийной обсыпкой

То же

2

1-2

Каркасно-стержневой с проволочным водоприемным покрытием, без обсыпки

»

1-2

1-2

То же, с песчано-гравийной обсыпкой

»

1-2

1-2

Трубчатый без покрытия

Гравийно-галечниковые и трещиноватые скальные грунты

2-3

1

Удаление глинистой корки может осуществляться размывом струей воды, подаваемой через гидравлические насадки.

4.58. Электрогидравлический, пневмоударный и ультразвуковой методы обработки скважин следует применять для восстановления проницаемости водоприемной поверхности фильтра и материала песчано-гравийной обсыпки (или породы прифильтровой зоны) долгодействующих скважин, подвергающихся зарастанию (кольматации) химическими осадками, осаждающимися из подземных вод.

4.59. Механическая обработка внутренней полости фильтра и надфильтровых труб должна производиться при помощи проволочных ершей, скребков и шарошек.

4.60. Кроме вышеуказанной специальной обработки скважин периодически (через 6-12 мес) следует производить чистки скважин от осаждающихся в них механических примесей, содержащихся в откачиваемых водах.

4.61. Как правило, эффективность того или иного способа увеличения производительности скважин определяют экспериментальным путем. Приступать к работам по борьбе со снижением дебитов необходимо сразу же после получения сведений о начале зарастания фильтров, но не позже, чем через год после начала работы скважин.

За состояние всех водопонизительных скважин, особенно из имеющих надземных устройств (самоизливающихся, сквозных фильтров, водопоглощающих), должно отвечать персонально какое-то должностное лицо (ИТР). Скважины должны быть ограждены от возможных повреждений механизмами и от попадания в них через устье посторонних предметов.

УСТРОЙСТВО ИГЛОФИЛЬТРОВЫХ СИСТЕМ

4.62. Иглофильтровый способ водопонижения заключается в использовании для забора воды из грунта часто расположенных скважин с трубчатыми водоприемниками малого диаметра - иглофильтров, соединенных общим всасывающим (в случае легких иглофильтров) или напорным (в случае эжекторных иглофильтров) коллектором с центральной (для группы иглофильтров) насосной установкой. Иглофильтры чаще всего погружаются гидравлическим способом. При этом образуется скважина, диаметр которой значительно больше диаметра иглофильтра. Зазор в скважине между грунтом и иглофильтром, как правило, следует заполнять песчано-гравийной обсыпкой. При гравитационном водопонижении в достаточно крупнозернистых грунтах, не требующих применения обсыпки (с коэффициентом фильтрации более 5 м/сут), допускается заполнение зазора в скважине оплывающим грунтом, если это не опасно для вблизи расположенных сооружений.

При наличии в толще грунта, прорезаемого иглофильтрами, трудноразмываемых слоев иглофильтры устанавливаются в предварительно пробуренные скважины. Скважины бурятся также для относимых к иглофильтрам вакуум-концентрических водоприемников (см. установки типа ЭВВУ).

Извлечение иглофильтров производится с подмывом для уменьшения сил трения по боковой поверхности иглы. Иглофильтры применяются в виде линейных (рис. 43) и кольцевых (рис. 44) систем, которые могут быть совершенными (доходящими до водоупора) и несовершенными (не доходящими до водоупора).

Рис. 43. Линейная система иглофильтров

1 - крепление траншеи; 2 - иглофильтры; 3 - соединительный шланг; 4 - всасывающий коллектор; 5 - гофрированный шланг; 6 - насосный агрегат ЛИУ; 7 - напорный трубопровод; 8 - сбросной трубопровод; 9 - пониженный уровень подземных вод

Рис. 44. Контурная система иглофильтров

1 - насосный агрегат; 2 - иглофильтры; 3 - напорный трубопровод; 4 - сбросной трубопровод; 5 - дренажная пригрузка; 6 - пониженный уровень подземных вод

Рис. 45. Схема ярусного водопонижения иглофильтрами

1 - конечное положение депрессионной поверхности подземных вод; 2 - иглофильтры верхнего яруса; 3 - иглофильтры нижнего яруса

Рис. 46. Схема понижения иглофильтрами в двухслойной среде

1 - иглофильтры; 2 - песчано-гравийная обсыпка; 3 - глиняный тампон; 4 - всасывающий коллектор; 5 - насосный агрегат; 6 - напорный трубопровод; 7 - сбросной трубопровод; 8 - пониженный уровень подземных вод

Рис. 47. Насосная установка ЛИУ-6Б

1 - центробежный насос; 2 - вакуум-насос; 3 - колпак; 4 - электродвигатель; 5 - опорная рама; 6 - вакуумметр; 7 - манометр; 8 - фрикционная муфта

Иглофильтры могут применяться для понижения уровня подземных вод в виде ступенчатой схемы с применением ярусных водопонизительных систем при расположении иглофильтров на двух или нескольких уровнях по высоте (рис. 45). Вначале вводится в действие самый верхний (ближайший к поверхности земли) ярус иглофильтров. Под его защитой отрывается первый (верхний) уступ котлована и монтируется второй (считая сверху вниз) ярус иглофильтров, после ввода в действие которого отрывается второй уступ котлована и т.д. Во многих случаях при вводе в действие каждого последующего яруса иглофильтров предыдущий ярус может быть выключен из работы и демонтирован. Иногда, например при больших расстояниях по горизонтали между рядами иглофильтров разных ярусов или при наличии малопроницаемых прослоек между двумя уровнями установки иглофильтров, приходится содержать в работе одновременно иглофильтры двух и более ярусов.

Рис. 48. Конструкция иглофильтров

а - с перфорированной трубой, покрытой сеткой; б - со спиральной проволочной обмоткой

1 - наконечник; 2 - шаровой клапан; 3 - внутренняя труба; 4 - наружная перфорированная труба; 5 - фильтровая сетка; 6 - стальной крепежный колпачок; 7 - муфта; 8 - переходная муфта; 9 - надфильтровая труба; 10 - муфта; 11 - спиральная проволочная обмотка

Применение иглофильтров может оказаться целесообразным и при необходимости водопонижения в слабопроницаемых грунтах, ниже которых залегает более водопроницаемый слой. В таких случаях иглофильтры следует заглублять в нижний слой (рис. 46) с обязательным выполнением обсыпки по всей высоте скважины.

4.63. Установлены следующие области эффективного использования иглофильтровых установок отечественного изготовления:

установки типа ЛИУ (рис. 47), включающие легкие иглофильтры (рис. 48) и насосы, сагрегированные с вакуум-насосом - гравитационное водопонижение в неслоистых грунтах с коэффициентами фильтрации от 50 до 2 м/сут при требуемой глубине понижения уровня подземных вод одной ступенью 4-5 м от оси насоса;

установки типа УВВ (рис. 49), включающие легкие иглофильтры и насосные установки, располагаемые на поверхности, для централизованной откачки воды и воздуха из иглофильтров - вакуумное водопонижение в неслоистых грунтах с коэффициентами фильтрации от 2 до 0,1 м/сут при требуемой глубине понижения уровня подземных вод одной ступенью до 6-7 м; при необходимости - гравитационное водопонижение в грунтах с коэффициентами фильтрации от 2 до 5 м/сут;

Рис. 49. Схема насосной установки УВВ-3

1 - электродвигатель; 2 - центробежный насос; 3, 4 - напорная и приемная камеры; 5 - напорный трубопровод; 6 - эжекторы; 7 - сбросная напорная линия; 8 - регулирующий клапан с поплавком; 9 - циркуляционный бак; 10 - сливной стояк; 11 - сбросной напорный трубопровод; 12 - линия свободного излива; 13 - иглофильтр; 14, 15 - воздушный и водяной переходные шланги; 16 - всасывающий коллектор

Рис. 50. Установка ЭИ 70 с эжекторными иглофильтрами

1 - иглофильтры; 2 - глиняный тампон; 3 - пробковые краны; 4 - распределительный напорный трубопровод; 5 - сбросной коллектор; 6 - центробежный насос; 7 - задвижка; 8 - циркуляционный бак; 9 - пониженный уровень подземных вод

установки типа ЭИ (рис. 50), включающие иглофильтры, оборудованные индивидуальными эжекторными водоподъемниками (рис. 51), и высоконапорные насосы для откачки из иглофильтров с помощью эжекторов воды и воздуха - вакуумное водопонижение в неслоистых грунтах с коэффициентом фильтрации от 2 до 0,1 м/сут на глубину до 10-12 м, а при должном обосновании - до 20 м; при необходимости - гравитационное водопонижение в неслоистых грунтах с коэффициентом фильтрации более 2 м/сут;

установки типа ЭВВУ, включающие вакуум-концентрические иглофильтры с индивидуальными эжекторными водоподъемниками (рис. 52) и высоконапорные насосы - вакуумное водопонижение в толще переслаивающихся водоносных и слабопроницаемых грунтов на глубину до 20 м.

Рис. 51. Эжекторный иглофильтр

а - фильтровое звено; б - общий вид; 1 - наконечник; 2 - шаровой клапан; 3 - седло шарового клапана; 4 - внутренняя труба фильтрового звена; 5 - перфорированная труба; 6 - фильтровая сетка; 7 - проволочная спираль; 8 - седло эжектора; 9 - насадка эжектора; 10 - надфильтровая труба; 11 - диффузор; 12 - водоподъемная труба; 13 - фильтровое звено

Рис. 52. Вакуумная концентрическая скважина

1 - надфильтровые трубы; 2 - эжектор с диффузором; 3 - водоприемное звено; 4 - фильтровая оболочка; 5 - глиняный тампон; 6 - соединительный муфты оболочки; 7 - направляющие фонари; 8 - вакуумметр; 9 - сальник

4.64. Гидравлическое погружение иглофильтров применяется в любых песках: от мелких до крупных и гравелистых.

При наличии гравелистых прослоек, сильно поглощающих воду, к трубе, по которой подается вода для размыва грунта, присоединяют шланг для подачи от компрессора сжатого воздуха.

Перед погружением иглофильтр устанавливают вертикально. При длине иглофильтра до 5 м его установку можно производить вручную, при длине более 5 м - с помощью крана. Для лучшей промывки затрубного пространства рекомендуется периодически несколько замедлять погружение иглофильтра, придерживая его на весу.

Контроль за установкой фильтра осуществляется наблюдением за выносимым из устья скважины грунтом и скоростью погружения иглофильтра.

При гидравлическом погружении иглофильтров и необходимости устройства обсыпки расход подмывной струи и скорость опускания иглофильтра подбирается так, чтобы диаметр каверны по всей высоте был не менее 150 мм. По окончании погружения иглофильтра разработанную размывом каверну вокруг иглофильтра, установленного на проектной глубине, следует промыть в течение нескольких минут. Затем расход воды сокращается до минимально возможного, при котором еще продолжается излив воды из устья, а в затрубный зазор равномерно засыпается песчано-гравийная смесь. Если таким способом выполнить обсыпку не удается, то возможно предварительно погрузить в грунт гидравлическим способом обсадную трубу диаметром не менее 150 мм. В эту трубу опускается собранный иглофильтр, кольцевое пространство между грубой и иглофильтром постепенно заполняется обсыпкой, а затем труба извлекается. Сверху вокруг иглофильтра на глубину 1 м должен быть устроен глиняный тампон.

Верхняя граница обсыпки вакуумной концентрической скважины должна располагаться не более, чем на 1 м выше отметки верхней кромки фильтра, а над обсыпкой до поверхности земли должен устраиваться глиняный тампон.

Для проверки годности установленных иглофильтров в них наливают воду и наблюдают за скоростью снижения столба воды. Иглофильтры, уровень воды в которых не понижается, следует извлечь, промыть и снова погрузить в грунт.

4.65. Длина иглофильтров установок ЛИУ и УВВ должна быть подобрана так, чтобы фильтровое звено было расположено на предусмотренной проектом отметке. При сборке должна быть обеспечена герметичность соединений звеньев труб. Перед погружением иглофильтра в грунт проверяется исправность соединений, наличие шарового клапана и целостность фильтровой сетки.

Установленные в грунт иглофильтры присоединяются к всасывающему коллектору с помощью инвентарных соединительных шлангов, имеющих на концах овальные фланцы. Резьбовые соединения уплотняются пенькой и суриком, фланцевые - резиновыми прокладками.

4.66. Установка эжекторных водоподъемников производится после погружения в грунт наружных труб иглофильтров. Трубы с эжекторным устройством на конце опускаются внутрь погруженной колонны с таким расчетом, чтобы опорное кольцо встало на седло, а верхний конец трубы выступал на 0,75-1 м над верхом наружной трубы.

После установки внутренней колонны труб зазор между ней и внешней трубой уплотняется сальником. На выступающий конец внутренней трубы надевается резиновый шланг, по которому вода отводится к сливному коллектору.

Перед монтажом водоподъемной части эжекторного иглофильтра должны быть проверены:

соосность насадки с диффузором;

гладкость внутренних поверхностей насадки и диффузора;

герметичность сварных швов и резьбовых соединений;

прямолинейность наружной и внутренней труб.

Циркуляционные баки (для эжекторных установок) и баки для заливки насосов устанавливаются в насосных станциях на деревянные или бетонные основания.

Объем циркуляционного бака должен быть не менее 4,5 м3, его конструкция и габариты назначаются из условия удобства транспортировки и монтажа. До установки баков в здание насосной станции следует провести их гидравлические испытания.

При установке на станции двух и более баков они должны быть соединены трубопроводами с задвижками для использования в случае необходимости воды из них для запуска любого насоса.

Всасывающий трубопровод от насоса к баку монтируется с уклоном не менее 0,005 в сторону бака.

Для заполнения водой циркуляционных баков перед запуском водопонизительной системы к насосной станции проводится водопровод от источника водоснабжения. Время наполнения системы и циркуляционных баков не должно превышать 1 ч.

Центробежный насос для подачи рабочей воды к эжекторным иглофильтрам следует устанавливать так, чтобы ось его рабочего колеса была ниже уровня воды в циркуляционном баке.

Вход всасывающего трубопровода в циркуляционный бак необходимо защищать сеткой с общей площадью отверстий, в 3-4 раза превышающей площадь сечения трубы.

В насосных станциях размещаются шкафы питания и электроосвещения, щитки сигнализации и станции управления насосными агрегатами.

4.67. Для контроля работы насосных агрегатов на напорных трубопроводах устанавливаются гидравлические манометры, а в установках ЛИУ и УВВ помимо этого на всасывающей стороне насосов устанавливаются вакуумметры.

4.68. Установки типа ЛИУ обеспечивают вакуум, который распространяется лишь в полостях коллектора и самого иглофильтра, поэтому верх фильтра должен быть обязательно заглублен ниже расчетного пониженного уровня подземных вод.

Насосные установки ЛИУ могут быть использованы для подключения к группе неглубоких водопонизительных скважин, объединенных общим всасывающим коллектором. Это может оказаться целесообразным, в частности, в горных выработках.

4.69. В установках типа УВВ-3 для создания в полостях всасывающего коллектора и иглофильтров устойчивого вакуума используются два водовоздушных эжектора, в основном производящих откачку воздуха, выделяющегося из водовоздушной смеси, поступающей из иглофильтров. При ограниченном поступлении воздуха к водоприемной части иглофильтров в их полости развивается вакуум порядка 5 м вод. ст. и более.

Откачка воды обеспечивается водо-водяным эжектором. Все три эжектора, входящие в одну кассету, питаются рабочей водой, поступающей к ним от центробежного насоса. При значительном содержании в водовоздушной смеси одного из компонентов (воды или воздуха) каждый из эжекторов способен частично принять на себя функции другого.

Установка обеспечивает подъем откачиваемой воды на высоту до 20 м.

4.70. Установки УВВ на линейно-протяженных объектах (каналах, траншеях, тоннелях мелкого заложения и т.п.) следует располагать с одной или с обеих сторон сооружения.

При защите котлованов установки УВВ размещаются по кольцевой схеме.

Коллекторы и насосные агрегаты должны располагаться на высоте не более 7-7,5 м над дном котлована при залегании водоупора на глубине до 9 м от поверхности земли и на высоте не более 6,5-7,0 м над дном котлована при более глубоком залегании водоупора.

Песчаная обсыпка иглофильтров при вакуумном водопонижении установками УВВ в безнапорных водоносных слоях с коэффициентом фильтрации от 2 до 0,5 м/сут устраивается высотой 2,5-3,5 м от забоя скважины, верхняя часть скважины при этом заполняется местным грунтом. В остальных случаях песчаную обсыпку иглофильтров не следует доводить на 1 м до поверхности земли, оставшуюся часть зазора заполняют местным грунтом.

4.71. Установки с эжекторными иглофильтрами (см. рис. 50) состоят из иглофильтров с эжекторными водоподъемниками, напорного, распределительного и сбросного трубопроводов, центробежного насоса и циркуляционного резервуара.

Эжекторный иглофильтр состоит из двух колонн труб: наружной - водоприемной, с подсоединенным к ней фильтровым звеном, и внутренней - водоподъемной, к нижнему концу которой присоединен эжектор, состоящий из насадки и диффузора (см. рис. 51).

По кольцевому зазору между наружной и внутренней трубами центробежным насосом нагнетается «рабочая вода». Проходя через эжектор, нагнетаемая вода создаст вакуум, благодаря которому увлекает за собой поступающие через фильтр подземные воды. Смесь рабочей и подземной воды выбрасывается наружу, поступает в циркуляционный резервуар, откуда вода поступает на питание центробежного насоса установки, а излишки воды отводятся к месту сброса.

Гидравлическим способом погружается только наружная труба эжекторного иглофильтра. При достижении ею проектного положения несколько минут производят промывку затрубного зазора, держа трубу на весу.

Зазор между грунтом и иглофильтром, образовавшийся в результате размыва, заполняется песчаной обсыпкой. В верхней части зазор тампонируется глиной для предотвращения прорыва воздуха в прифильтровую зону. При установке иглофильтров в предварительно пробуренные скважины обсыпка выполняется одновременно с извлечением обсадных труб.

После прекращения подачи воды в наружной трубе эжекторного иглофильтра монтируется колонна водоподъемных с труб с эжектором. В начале откачки за счет уменьшения давления в полости фильтра шаровой клапан плотно входит в свое гнездо, перекрывая отверстие наконечника фильтрового звена.

4.72. Эжекторные водопонизительные установки с вакуумными концентрическими скважинами ЭВВУ отличаются от обычных установок с эжекторными иглофильтрами только конструкцией водоприемников (иглофильтров), в которых устроена фильтровая оболочка, закрепленная коаксиально на наружной колонне труб и перекрывающая всю толщину, в которой понижается уровень подземных вод.

Фильтровая оболочка концентрических вакуумных водоприемников изготовляется из профилированной узкой стальной оцинкованной ленты. Скважность оболочек составляет 12-15 %.

Концентрические вакуумные водоподъемники устанавливаются в заранее пробуренные скважины. Вокруг фильтровых оболочек устраивается песчано-гравийная обсыпка, а в верхней части под обсыпкой устраивается глиняный тампон.

Наличие концентрического зазора между фильтровой оболочкой и наружной колонной труб обеспечивает распространение вакуума вокруг иглофильтра по всей его высоте, что позволяет осуществить отвод воды из всех водоносных прослойков прорезаемой иглофильтром водоносной толщи.

Максимальный дебит концентрической вакуумной скважины не должен превышать 4-5 м3, в противном случае эжектор не развивает вакуума.

4.73. Трубопроводы иглофильтровых установок должны укладываться на инвентарных опорах по спланированной поверхности:

напорный распределительный трубопровод установок типа ЭИ и ЭВВУ - с уклоном не менее 0,001 от насоса, а сбросной безнапорный трубопровод - с уклоном не менее 0,005 в сторону циркуляционного резервуара;

всасывающие коллекторы установок ЛИУ и УВВ - с уклоном не менее 0,005 от насосной установки.

Распределительные и сбросные трубопроводы эжекторных иглофильтровых установок должны быть выполнены со штуцерами.

Количество штуцеров должно превышать число установленных иглофильтров не менее чем на 10 %. Штуцеры должны иметь пробковые краны.

Звенья трубопроводов эжекторных водопонизительных установок соединяются на фланцах с резиновыми прокладками или при помощи сварки. Трубопроводы перед местом присоединения к насосу следует закреплять на опорах, чтобы при затяжке фланцев усилия не передавались на насос.

Трубопроводы монтируются на подкладках в непосредственной близости от ряда эжекторных иглофильтров. Расстояние между подкладками принимается 3-4 м.

Для распределительных трубопроводов применяются стальные трубы, рассчитанные на внутреннее гидравлическое давление не менее 1,6 МПа.

Трубопроводы после их монтажа должны быть продуты воздухом или промыты и испытаны водой под давлением до 1 МПа, которое не должно снижаться в течение 15 мин.

На сбросных (напорных или самотечных) трубопроводах следует устанавливать приборы для измерения расходов насосных агрегатов водопонизительных систем.

Контрольно-измерительные приборы должны подвергаться периодической проверке и регулированию.

ЭЛЕКТРООСУШЕНИЕ

4.74. Электроосмотический способ водопонижения - электроосушение - основан на использовании явления электроосмоса, представляющего собой движение воды в порах грунта в поле постоянного электрического тока от анода к катоду. Способ может быть применен в незасоленных грунтах с коэффициентом фильтрации менее 0,1 м/сут и удельным электрическим сопротивлением более 500 Ом·см при ширине котлована до 40 м.

Электроосушение заключается в создании вокруг массива грунта электроосмотической завесы, которая приводит заключенную в нем воду в капиллярно-натяженное состояние и позволяет вскрыть котлован «насухо». С этой целью по периметру будущего котлована устанавливаются два ряда электродов (рис. 53): с внешней стороны иглофильтры (катоды), из которых производят откачку воды, а с внутренней - металлические трубы (аноды).

Иглофильтры (катоды) устанавливают по периметру котлована на расстоянии 0,75-1,5 м друг от друга и на расстоянии 1,5 м от бровки котлована. Глубина погружения иглофильтров должна быть не менее чем на 3 м ниже проектного пониженного уровня подземных вод.

Металлические трубы (аноды) погружаются по периметру котлована с внутренней стороны контура иглофильтров на таком же расстоянии друг от друга, как и иглофильтры (катоды). Расстановка труб (анодов) и иглофильтров (катодов) производится в шахматном порядке.

Расстояние между рядами электродов (иглофильтров и труб) должно быть 0,8 м.

Глубина погружения труб (анодов) должна соответствовать глубине погружения иглофильтров. Трубы должны выступать на 0,2-0,4 м над поверхностью земли.

Рабочее напряжение электрической установки, исходя из правил безопасности производства работ, следует устанавливать в пределах 40-60 В.

Включение установки и регулирование величины тока производится с помощью реостата.

Время от начала включения электрического тока до начала проходки котлована практически составляет трое суток. Дальнейший период электроосушения соответствует сроку производства строительных работ в котловане. Перечень оборудования для электроосушения приведен в табл. 28.

Рис. 53. Схема электроосушения грунтов

1 - насосный агрегат; 2 - двигатель-генератор; 3 - иглофильтры-катоды; 4 - трубы-аноды; 5 - пониженный уровень подземных вод; 6 - всасывающий коллектор

Рабочие, обслуживающие установки электроосушения, должны быть снабжены резиновыми перчатками и резиновыми сапогами или галошами.

Таблица 28

Оборудование

Единица измерения

Количество

Легкая иглофильтровая установка УВВ-3

компл.

1

Трубы для анодов диаметром 38 мм, длиной 7 м

шт.

100

Арматурная сталь диаметром 10-12 мм

кг

100

Генератор постоянного тока (или выпрямитель) на 200 А при напряжении выхода до 60 В

шт.

1

Электрощит управления

»

1

Амперметр постоянного тока со шкалой до 1000 А

»

1

Вольтметр постоянного тока со шкалой до 100 В

»

I

4.75. При монтаже легкой иглофильтровой установки, применяемой для электроосушения, иглофильтры (катоды) необходимо соединить арматурной сталью диаметром 10-12 мм (на сварке) и подключить их к «минусу» источника постоянного электрического тока.

Вес трубы (аноды) также соединяются между собой стержнями диаметром 10-12 мм и подключаются к «плюсу» источника постоянного тока через электрический щит, оборудованный амперметром и вольтметром.

Срок службы анодов из труб, с учетом их коррозии при напряжении 40-60 В, предварительно принимается 6 месяцев и уточняется в процессе работ. Трубы-электроды (аноды), бывшие в употреблении, могут быть использованы вторично, если нижние их концы (сильно коррозированные) отрезать, а к верхним приварить отрезки труб соответствующей длины.

Монтаж электроустановки (двигатель - генератор - распределительный щит) производится в соответствии с действующими нормативными документами на монтаж и эксплуатацию электроустановок.

ЭКСПЛУАТАЦИЯ ВОДОПОНИЗИТЕЛЬНЫХ СИСТЕМ

4.76. До общего пуска, перед началом эксплуатации водопонизительных систем производится пробный пуск каждого агрегата в отдельности для проверки его работы, а в иглофильтровых установках - работы присоединенной к насосной установке группы иглофильтров и коммуникаций.

Пробный пуск установок, состоящих из большого числа водопонизительных скважин, следует производить по мере готовности групп первоочередных скважин с тем, чтобы в случае необходимости по результатам откачки внести коррективы в проект. При пробном пуске для наблюдений за понижением уровня подземных вод могут быть временно выделены скважины, предназначенные в дальнейшем для откачки из них воды.

При пробной откачке должны измеряться: расход откачиваемой воды, величина понижения уровня воды в контрольных скважинах и пьезометрах, а также должны фиксироваться показания вакуумметра и манометра на насосе, соответствующие моментам замера расхода и понижения уровня воды. При пробном пуске установок для электроосмотического водопонижения дополнительно должны измеряться напряжение и сила тока, пропускаемого через грунт между электродами.

При пробных откачках в течение первых суток, если проектом не обусловлен меньший срок, допускается некоторый вынос частиц грунта при условии, что содержание их в воде непрерывно уменьшается. Скважины, в которых будет происходить незатухающий вынос частиц, должны быть отремонтированы, заменены или отключены.

На пробный пуск водопонизительных устройств составляется акт, который следует прилагать к акту приемки водопонизительной системы.

4.77. Пуск и эксплуатация насосов и электроаппаратуры должны производиться в соответствии с инструкциями заводов-изготовителей.

В процессе эксплуатации насосной станции необходимо:

не допускать нагрева трущихся частей насосов электродвигателей выше температуры, указанной в действующих инструкциях по эксплуатации насосов и электрооборудования;

не допускать утечки воды в трубопроводах и эжекторных иглофильтрах. При утечке воды из системы необходимо немедленно установить причину и устранить неисправность;

поддерживать заданное давление в системе;

поддерживать установленный режим работы насосной станции и систематически следить за показаниями контрольно-измерительных приборов.

4.78. Насосные установки водопонизительных систем должны быть обеспечены резервными источниками энергопитания.

В зависимости от допустимой продолжительности остановки водопонизительных установок включение резервного источника питания следует предусматривать по ручной или автоматической схеме. Для автоматического включения резервного источника питания рекомендуется применять типовые станции включения резерва.

Резервирование электропитания осуществляется подводкой двух питающих кабелей (рабочего и резервного) с низкой стороны подстанции. Питание может производиться от одной подстанции, если она оборудована АВР (автоматическое включение резерва), имеет не менее двух силовых трансформаторов достаточной мощности, а с высокой стороны - не менее двух независимых вводов. Если все эти условия на одной подстанции не соблюдаются, то питание системы водопонижения должно производиться от двух подстанций с питанием от разных источников.

В отдельных случаях резервирование питания можно обеспечить установкой дизельных передвижных или стационарных электростанций необходимой мощности или других источников электроэнергии.

Данный вопрос в каждом конкретном случае решается на основе оценки всей обстановки в целом.

4.79. В насосной станции должны быть вывешены:

схема расположения водопонизительных скважин, иглофильтров и других устройств и трубопроводов;

схема электрооборудования насосной станции;

инструкция по эксплуатации насосов и электрооборудования;

правила внутреннего распорядка;

график планово-предупредительного ремонта оборудования;

инструкция по технике безопасности;

график выхода на работу обслуживающего персонала.

В период эксплуатации насосной станции следует вести журнал работы насосов (прил. 12).

4.80. Исправность отдельных иглофильтров можно проверить по звуку движущейся воды в гибком соединении, температуре гибкого соединения и надфильтровой трубы (летом температура должна быть ниже температуры воздуха, зимой - выше), интенсивности понижения уровня воды при ее наливе в иглофильтры.

Неисправные иглофильтры, а также иглофильтры, не погруженные до проектных отметок, должны быть заменены новыми или отключены. Если неисправные иглофильтры не извлекаются из грунта, то их нужно заглушить.

Герметичность всасывающей системы легких иглофильтровых установок и отсутствие утечек должны проверяться кратковременным нагнетанием воды в иглофильтр и коллектор. Если при этом необходимое давление воды создать не удается из-за больших утечек, то коллектор следует подразделить заглушками на короткие секции. Обнаруженные при испытании неисправности должны быть устранены.

Вакуумметр и манометр на насосе следует включать только на время измерения, после чего соответствующие краны должны быть закрыты. Необходимо наблюдать за правильным положением отверстий трехходового крана по имеющимся на нем рискам во избежание подсоса через него воздуха.

При ремонте насосного оборудования или устранения неисправностей должны включаться резервные насосы. Неисправный насос, не поддающийся ремонту на месте, должен быть заменен.

Проверять герметичность стыка между опорным кольцом водоподъемной колонны и седлом эжекторного иглофильтра следует через 20-30 мин после начала откачки. При этом, если в фильтре имелся наплыв грунта, образовавшийся при погружении, и опорное кольцо не доходило до седла, то после откачки и ослабления сальников водоподъемная колонна должна занять правильное положение. После этого сальники и гайки на хомуте следует затянуть.

Правильность монтажа и исправность фильтров рекомендуется проверять по осветлению воды после нескольких часов откачки. Рабочая вода, подаваемая от насоса к эжекторным иглофильтрам, должна быть чистой во избежание засорения сопла эжектора.

Нижний конец приемной трубы насоса следует устанавливать на расстоянии не менее 0,5 м от дна и боковых стенок циркуляционного резервуара.

4.81. Запускать электродвигатель погружного насоса рекомендуется не ранее, чем через 1,5 ч после погружения его в воду скважины.

Включение электродвигателя погружного насоса допускается только через станцию управления. Категорически запрещается включать электродвигатель непосредственно от электросети.

После понижения подземных вод до проектного уровня должен быть составлен акт готовности участка для ведения основных работ.

4.82. В случае применения электроосушения воздействие электрическим током на грунт производится одновременно с работой иглофильтровой установки и продолжается непрерывно как до достижения проектного понижения уровня подземных вод, так и в период производства земляных и строительных работ в котловане.

В процессе работы по электроосушению надлежит непрерывно вести наблюдение за работой электроустановки согласно действующим инструкциям, а также за исправностью электрической сети, соединяющей все электроды, и электроизмерительных приборов (амперметра, вольтметра). При этом ведется журнал, в котором записываются данные о напряжении, силе тока и расходе электроэнергии (прил. 13).

4.83. При производстве водопонизительных работ необходимо оперативно регулировать режим работы водопонизительных систем отключением насосных агрегатов по мере снижения расхода откачиваемой воды.

Отключение части насосов рекомендуется в случае постоянного или временного сокращения размеров притока подземных вод при более или менее длительном периоде сокращения работы водопонизительной системы с сокращенным дебитом.

Приток снижается на каждом этапе работ по мере развития депрессионной воронки, потом он может вновь возрасти, когда для последующего этапа понадобится увеличить контур водопонижения или снизить требуемый уровень подземных вод. Снижение притоков может происходить и при уменьшении питания, например в засушливое время года, при снижении уровней воды в реках и т.п.

Когда невозможно установленное оборудование исключать из эксплуатации, в частности при кратковременных колебаниях величины притока, регулирование работы насосов должно производиться с помощью задвижек. С этой целью следует предусмотреть автоматическое регулирование подачи (расхода) насосов. Для этого они могут быть оборудованы на поверхности задвижками с электрическим приводом, которые могут автоматически приводиться в действие в зависимости от неравномерности (пульсации) работы насоса, т.е. давления или скорости выбрасываемой насосом струи воды. При этом автоматика должна обеспечить максимально возможную для данной скважины равномерную подачу насоса.

4.84. При большом числе насосных агрегатов, требующих обслуживания (в частности в системах водопонизительных скважин, оборудованных насосами, при значительном удалении их друг от друга), следует оборудовать их системами автоматизации, сигнализации и дистанционного управления. Должно быть предусмотрено автоматическое включение и выключение насосов в зависимости от уровня воды в водосборниках, приямках, скважинах, оборудованных глубинными насосами, в горных выработках и других любых пунктах, откуда производится отбор воды насосами или где фиксируются уровни, имеющие значение для устойчивости бортов и днища котлована. Для этого в требуемых местах на нескольких уровнях устанавливаются датчики, включающие и выключающие рабочие и резервные насосы в зависимости от подъема или снижения уровня воды в соответствующем водосборнике, приямке и т.п. Наиболее высокий допустимый уровень в каждом пункте носит наименование «аварийного». При этом уровне воды включаются и резервные насосы.

Система автоматизации, кроме указанного выше, должна включать: защиту насосных установок от токов короткого замыкания и перегрузок, от внезапного отключения энергопитания (максимальная и минимальная защита); защиту от перегрева электродвигателей и подшипников насосов; защиту при прекращении подачи воды (на напорной стороне насоса) при нормальной работе электродвигателя.

Система автоматизации должна быть дополнена системой сигнализации (световой или звуковой). На диспетчерский пункт выводятся сигналы: нормальной работы каждого агрегата отдельно (насос и электродвигатель); аварийного отключения агрегата; наиболее важных уровней воды (особенно аварийных) в нескольких точках котлована.

Рекомендуется предусматривать местное и дистанционное (с диспетчерского пункта) включение и выключение насосных агрегатов.

4.85. Для утепления водопонизительной системы в зимнее время принимаются следующие меры:

а) насосы размещаются в будках, имеющих каркасно-засыпную конструкцию или выполненных из панелей с теплоизоляцией. Будки обогреваются постоянно, если в них все время находится обслуживающий персонал, и временно, если пребывание персонала связано с ремонтом или техобслуживанием;

б) для погружных насосов, у которых контрольно-измерительная и пусковая электрическая аппаратура вынесены в специальное отдельное помещение, будки заменяются коробами с утепленными стенками и крышкой, обшитыми водонепроницаемым материалом (толь, пергамин). Внутри короба размещается оголовок скважины, задвижка и обратный клапан, которые обматываются теплоизоляционным материалом (шлаковата и т.п.);

в) вся водопроводная арматура (задвижки, обратные клапаны, краны и т.п.), находящаяся вне будок, также размещается в коробах и обматывается теплоизоляционным материалом;

г) аналогичная теплоизоляция водопроводной арматуры, как указано в п. 4.85, в, производится во всех необогреваемых будках;

д) всасывающий коллектор иглофильтровых установок (ЛИУ, УВВ) вместе с надземной частью иглофильтров и соединительными рукавами размещается в коробе, имеющем такую же конструкцию, как указано в п. 4.85, б, и обматывается теплоизоляционным материалом. В зависимости от длительности и характера зимы может проводиться только одно из этих мероприятий, причем теплоизоляционный материал должен быть покрыт водонепроницаемым слоем (пергамин);

е) надземные части эжекторов вместе с кранами на штуцерах и трубами утепляют обмоткой теплоизоляционным и водонепроницаемым материалами;

ж) сбросные трубопроводы, проложенные на поверхности земли, утепляются, как указано в п. 4.85, е, в случае небольшого расхода и медленного движения воды в трубопроводе;

з) устраняются все подтекания в соединениях трубопроводов и водопроводной арматуры;

и) все трубопроводы оборудуются кранами для слива воды на случай остановки насосов; место слива устраивается таким образом, чтобы образование наледей вблизи трубопровода исключалось; трубопроводы не должны прокладываться непосредственно по земле;

к) перед наступлением зимы необходимо произвести ревизию оборудования и особенно системы электроснабжения, чтобы свести возможность отключения насосов к минимуму;

л) все зимние мероприятия должны проводиться до наступления отрицательных температур, и если заранее известно, что эксплуатация водопонизительной системы будет вестись в зимний период, то будки для насосов следует сразу выполнять утепленными.

В период эксплуатации установок необходимо тщательно следить за правильностью работы насосных установок, не допускать их длительных остановок. При необходимости кратковременной остановки воду из насоса, трубопроводов и бака следует слить. Кроме того, перед запуском установки необходимо убедиться в том, что в трубопроводе и надфильтровых трубках нет ледяных пробок.

Зимой поглощающую способность установленных иглофильтров проверяют только горячей водой, а после проверки воду из надфильтровой трубы в пределах промерзающего слоя грунта обязательно удаляют.

ДЕМОНТАЖ ОБОРУДОВАНИЯ И ЛИКВИДАЦИЯ ВОДОПОНИЗИТЕЛЬНЫХ СИСТЕМ

4.86. Демонтаж оборудования водопонизительных систем должен производиться поэтапно согласно графику производства работ. При этом следует учитывать необходимость повторного использования демонтируемого оборудования.

Демонтаж оборудования водопонизительных установок подразделяется на демонтаж механического оборудования и трубопроводов; электрооборудования и электросетей.

Демонтаж, консервация и перевозка труб, механического оборудования, электрооборудования и электроматериалов производится в соответствии с заводскими инструкциями, прилагаемыми к каждому виду оборудования.

Все узлы оборудования после демонтажа должны быть разобраны, детали очищены от грязи и промыты.

4.87. При демонтаже иглофильтровых установок извлечение игл рекомендуется производить с помощью крана, тали или других подъемных приспособлений при одновременном подмыве. После извлечения иглофильтра фильтровая сетка промывается сильной струей воды, проверяется исправность шарового клапана и целостность сетки, а также плотность всех соединений. Замеченные дефекты должны быть устранены. После длительной работы насос следует разобрать, осмотреть, а износившиеся детали заменить. Насос после сборки при отправке на склад должен быть густо смазан солидолом.

Демонтаж ярусных систем следует начинать с нижнего яруса.

4.88. При демонтаже погружного насоса разъединяются звенья водосливного трубопровода, снимаются опорная плита насоса, электропусковая станция и контрольные приборы.

Колонна водоподъемных труб и погружной насос извлекаются из скважины автокраном или другим грузоподъемным устройством. После извлечения погружной насос проверяется и готовится к следующему монтажу согласно заводской инструкции.

Извлекать обсадные трубы из скважины следует гидравлическим домкратом или полиспастами. После демонтажа оборудования скважины должны быть затампонированы.

При ликвидации водопонизительной системы должен быть составлен акт о результатах выполненной работы, в который включают основные данные по режиму подземных вод в момент ликвидации.

НАБЛЮДЕНИЯ, КОНТРОЛЬ КАЧЕСТВА, ДОКУМЕНТАЦИЯ ПРИ ПРОИЗВОДСТВЕ РАБОТ

4.89. В течение всего периода производства строительного водопонижения необходимо вести гидрогеологические, а при долговременном и глубоком водопонижении также гидрологические и геодезические наблюдения по наблюдательным скважинам, постам, реперам и маркам, предусмотренным в проекте. Кроме того, необходимо вести систематические наблюдения за состоянием откосов и дна котлована.

Наблюдения служат для контроля качества работ и при необходимости для внесения в проект корректировок по согласованию с проектной организацией и заказчиком.

4.90. Наблюдения за водоотливом с целью определения притока воды к котловану и водопонизительной системе состоят в измерении расхода всех водопонизительных средств.

Измерение расходов откачиваемой воды может производиться с помощью:

мерных резервуаров при небольших расходах (достаточная точность измерения обеспечивается при наполнении емкости не менее чем за 12-15 с и двукратном измерении расхода);

треугольных и трапециевидных водосливов, устанавливаемых на открытых водотоках (лотках, канавах и т.п.);

различных расходометров, устанавливаемых на напорных трубопроводах.

При гидромеханическом способе разработки грунтов о величине водоотлива можно судить по скорости повышения уровня воды в котловане во время отключения средств откачки.

Для того чтобы судить о работе насосов, одновременно с измерением расходов необходимо фиксировать показания манометров и вакуумметров (в период между измерениями вакуумметры и манометры должны быть отключены). Значительные и частые колебания показаний этих приборов свидетельствуют о неправильном режиме работы насосов. Все данные о работе насосов вносятся в журнал (см. прил. 13).

4.91. Контроль за положением поверхности подземных вод должен охватывать территорию, на которую распространяется влияние водопонижения. Он ведется путем измерения уровней воды в наблюдательных скважинах, котловане, ближайших водотоках и водоемах.

Попутно с измерениями уровней следует вести наблюдения за температурой и химическим составом подземных вод.

Все эти наблюдения необходимы для получения данных о развитии водопонижения и о влиянии на него различных факторов: атмосферных осадков, изменений уровней в водотоках и водоемах, потерь промышленных и бытовых вод, а также гидравлической взаимосвязи отдельных водоносных слоев между собой. В результате наблюдений устанавливают эффективность работы водопонизительной системы и получают данные для своевременной корректировки ее параметров.

Наблюдательные скважины должны устраиваться во всех водоносных слоях, из которых производится откачка подземных вод. Размещение наблюдательных скважин внутри контура водопонижения, на контуре и за его пределами определяется гидрогеологическими условиями с учетом расчетной схемы фильтрации.

Скважины внутри контура водопонижения располагаются в расчетных точках или створах так, чтобы оценить результаты действия водопонизительной системы в целом или ее отдельных участков.

Наблюдательные скважины на контуре водопонижения располагаются, как правило, в середине между водопонизительными скважинами.

Скважины за пределами водопонизительного контура целесообразно размещать по створам, соответствующим направлению фильтрационного потока следующим образом:

при полого залегающих водоносных слоях - по направлению потока и вкрест потока (природного), в направлении наиболее вероятных областей питания, в направлении соседних систем водопонижения (водоснабжения, водоотлива);

при крутопадающих водоносных слоях - по простиранию и вкрест простирания слоев, в направлении вероятных источников питания и соседних систем водопонижения (водоснабжения, водоотлива).

При протяженных водопонизительных системах (осушение траншей) лучи направляются перпендикулярно оси выработки.

Возможно использование для наблюдений отдельных наблюдательных скважин. Все же при значительных по объему водопонизительных работах следует предусматривать не менее двух лучей наблюдательных скважин.

Минимальное количество скважин на луче - две, из которых одна располагается на контуре, а вторая - вне его в выбранной расчетной точке. В однородных условиях при больших размерах депрессионной воронки количество скважин на луче в интересующем водоносном слое принимается от трех [одна на контуре, две других на расстояниях от него 0,15(R - A) и 0,6(R - A)] до пяти [одна на контуре и другие на расстоянии от него 0,1(R - A), 0,25(R - A), 0,5(R - A) и 0,9(R - A) или вблизи границы области питания (на берегу реки, озера и т.п.)].

Рис. 54. Наблюдательная скважина

1 - кондуктор; 2 - надфильтровая труба; 3 - фильтр; 4 - седло; 5 - шаровой клапан

Конструкция наблюдательной скважины, приведенная на рис. 54, предусматривает выполнение ее путем вращательного бурения, с глинистой промывкой и без крепления обсадными трубами. В связи с этим у башмака фильтровой колонны, которая опускается сразу по окончании бурения, устраивается шаровой клапан, открывающийся при нагнетании в скважину воды с целью ее разглинизации. В определенных условиях возможно непосредственное погружение фильтровой колонны указанной конструкции с помощью подмыва. Длина фильтрового звена наблюдательной скважины обычно не превышает 3 м.

Для наблюдений за уровнями воды на небольшой глубине могут быть использованы в качестве пьезометров обычные иглофильтры.

Все наблюдательные скважины должны быть снабжены крышками, а при необходимости и защитными ограждениями.

Частота измерений уровней подземных вод должна соответствовать динамике развития водопонижения. При начальном снижении уровня подземных вод, при вводе в действие дополнительных средств водопонижения и в других случаях неустановившегося режима фильтрации измерения производятся одни раз в смену или в сутки. При установившемся режиме измерения проводятся реже, например, один раз в неделю, а в дальних скважинах 1-2 раза в месяц.

Измерения температуры и химические анализы также выполняются с частотой (обычно устанавливаемой в процессе производства работ), соответствующей динамике их изменений.

Результаты измерений и отбора проб воды заносятся в журнал (прил. 14) и оформляются в виде графиков, карт и гидроизогипс и гидрогеологических разрезов на характерные моменты.

Измерения уровня воды в скважинах производятся либо электроуровнемерами, либо так называемыми «хлопушками» - на слух.

Для производства гидрогеологических наблюдений отдельный строительный участок, выполняющий водопонизительные работы, должен иметь в штате участкового гидрогеолога.

4.92. Наблюдения за состоянием откосов и дна котлована должны включать ежесменные осмотры откосов котлована и его дна. Эти наблюдения ведут визуально с верхней бровки котлована, с его откосов и дна. При наблюдениях сверху необходимо обратить внимание на появление закольных трещин, их длину по фронту откоса и скорость раскрытия. При осмотре откосов со стороны котлована (со дна, с берм, с лодки, понтона) главное внимание должно быть обращено на высоту слоя высачивания воды в откосе на установление участков сосредоточенной фильтрации, на обнаружение явлений суффозии (каверны, пещеры), появление конусов выноса грунта, сопровождающееся образованием оплывин и обрушений в откосах. Все особенности поведения откосов в процессе снижения уровня воды в котловане, в том числе и отсутствие каких-либо неблагоприятных явлений, следует ежесменно фиксировать в журналах наблюдений, а при необходимости фотографировать. Фотографии должны иметь привязку на плане котлована и сопровождаться на снимке каким-либо масштабным предметом (геодезическая рейка или другой предмет известной длины).

По результатам наблюдений необходимо принимать меры для обеспечения устойчивости откосов: уменьшение скорости понижения уровня воды в котловане, укладка дренажных пригрузок на участках суффозии, включение дополнительных водопонизительных установок и т.п.

На последнем этапе земляных работ следует вести наблюдения и за состоянием дна котлована. В случае появления ключей (грифонов) необходимо немедленно принять меры для обеспечения устойчивости дна путем пригрузки грифонов обратными фильтрами, устройства разгрузочных скважин, усиления работы водопонизительной системы по снятию напора на дно котлована и т.п.

4.93. При производстве водопонизительных работ вблизи сооружений следует вести инструментальные наблюдения за осадками грунтов и деформациями конструкций в пределах зоны влияния водопонизительной системы. При обнаружении деформаций, угрожающих нормальной эксплуатации сооружений, предохранительные меры принимаются по согласованию с проектной организацией.

ПРИЕМКА РАБОТ

4.94. Приемку водопонизительных работ следует выполнять дважды:

1) перед вводом в действие устройств водопонизительной системы, когда составляется акт о готовности водопонизительного устройства и пригодности его к работе в течение требуемого срока службы;

2) после окончания работ по строительному водопонижению, когда составляется акт о выполненных работах с приложением исполнительной документации, актов на скрытые работы и актов о годности к эксплуатации устройств, остающихся на эксплуатационный период, и данных по режиму подземных вод на момент сдачи работ.

4.95. Исполнительная документация по водопонижению должна включать:

для открытого водоотлива - расположение в плане и отметки водопонизительных и водоотводящих устройств, наблюдательных скважин, характеристики насосных установок;

для горизонтального дренажа - расположение дрен с указанием их типов, нумерация смотровых колодцев, продольные профили дрен, конструкция фильтров и характеристики насосных станций;

для иглофильтровой установки - способ погружения иглофильтров, отметки фильтровых звеньев, способ устройства обсыпки, отметка оси насосного агрегата, расположение наблюдательных скважин, данные пробной откачки;

для эжекторной установки (в том числе с вакуумными концентрическими скважинами) - способ устройства скважин, конструкции фильтра и скважины, способ устройства обсыпки, отметки расположения фильтровой части и рабочих органов эжекторов, расположение контрольно-измерительной аппаратуры, а также пьезометров и наблюдательных скважин с указанием уровня води в них, данные пробной откачки;

для электроосмотической установки - расположение и способ погружения электродов, отметки фильтровых звеньев, способ устройства обсыпки, отметка оси насосного агрегата, расположение наблюдательных скважин, соответствие монтажа электропроводки требованиям проекта и данные пробной откачки;

для открытых водопонизительных скважин - расположение и отметки скважин, способы их устройства, конструкция фильтров и способ устройства обсыпки, тип насосов и отметки расположения их всасывающих и сливных патрубков, расположение контрольных пьезометров и наблюдательных скважин с указанием уровня воды в них, данные пробной откачки.

4.96. Скрытые работы оформляются двусторонними актами с участием представителей заказчика и подрядчика, выполняющего водопонизительные работы. К актам прилагается исполнительная техническая документация (планы, профили, разрезы по скважинам, таблицы и др.). В актах должны фиксироваться:

а) при строительстве дренажей:

1) исполнительный продольный профиль по лотку труб - нивелировка (или по дну траншеи - для дренажей без труб);

2) тип, диаметр, толщина стенок и ГОСТ (ТУ) дренажных труб, количество и размеры отверстий на одну трубу (1 м трубы);

3) гранулометрический состав материала дренажной обсыпки и заполнителя дрен - анализы следует проводить через 50 м по трассе дренажа;

б) при устройстве иглофильтров:

легких и эжекторных

1) продольный профиль по линии установки игл с указанием отметок верха и низа фильтрового звена для каждой иглы;

2) фактический геологический разрез;

в) при устройстве водопонизительных скважин, оборудованных насосами, и сквозных фильтров:

1) вертикальный геологический разрез с указанием отметок границ слоев и прослоек;

2) результаты измерений кривизны скважины (сквозных фильтров), желательно в зенитном и азимутальном направлениях;

3) погружение обсадных труб с указанием отметок башмаков колонн;

4) установка фильтровых каркасов (с чертежами каркасов и указанием антикоррозионных покрытий, уплотняющих и центрирующих устройств);

5) извлечение обсадных труб;

6) устройство песчано-гравийной обсыпки (данные измерения гранулометрического состава, отметки верхней и нижней границ, объем);

7) прокачка скважины и опытная откачка;

8) установка выпуска (для сквозных фильтров) в подземной выработке;

9) постепенный ввод в строй водопонизительной скважины (сквозного фильтра);

г) при устройстве горизонтальных и наклонных самоизливающихся скважин:

1) геологический разрез скважины, угол наклона ее к горизонту;

2) установка фильтра (в том числе чертеж конструкции фильтра);

3) оборудование устья скважины;

д) при организации электроснабжения водопонизительных установок и устройстве электроосушения:

1) исполнительная схема всех электролиний;

2) расположение на площадке контуров заземления;

3) установка труб (анодов) с приложением продольных профилей, аналогичных составленным для иглофильтров;

е) при демонтаже водопонизительной системы - оформляется акт на скрытые работы по ликвидации скважин с указанием мест заложения скважин (фильтров), способов их ликвидации, объемов работ и т.п., а также акт на скрытые работы по устройству тампонажа.

Раздел 5. ЗАКРЕПЛЕНИЕ ГРУНТОВ

ОБЩИЕ ПОЛОЖЕНИЯ

5.1. Настоящий раздел Пособия к разд. 5 СНиП 3.02.01-83 распространяется на производство работ по закреплению грунтов в их естественном залегании в различных строительных целях инъекционными химическими способами - силикатизацией, смолизацией, цементацией, а также буросмесительным и термическим способами.

5.2. Как один из видов производства строительных работ закрепление грунтов в самом общем виде представляет собой целенаправленное искусственное преобразование строительных свойств грунтов посредством их химической или физико-химической, механической и термической обработки, с применением соответствующих технологий.

5.3. В зависимости от способа обработки грунтов, в результате которого улучшаются их свойства, закрепление грунтов подразделяется на следующие виды:

химическое - когда его основу составляют химические и физико-химические процессы, возникающие в грунтах в результате введения в них определенных химреагентов;

электрохимическое закрепление, основанное на вторичных химических и физико-химических явлениях электролиза, возникающих в грунтах под действием внешнего поля постоянного электрического тока;

термическое закрепление, когда улучшение свойств грунтов достигается в результате их обжига в скважинах раскаленными газами или электропрогревом;

термоконсолидация глинистых водонасыщенных грунтов, когда улучшение строительных свойств достигается самоуплотнением грунтов, обусловленным их нагревом в пределах 50-80 °С.

5.4. Химическое закрепление в зависимости от способа введения в грунты химреагентов имеет два направления:

инъекционное химическое закрепление, когда реагенты в виде растворов или газов вводятся в грунты без нарушения их естественного сложения нагнетанием под давлением;

буросмесительное закрепление грунтов, осуществляемое с нарушением их естественного сложения, механическим перемешиванием с цементами или другими химическими реагентами и добавками при бурении скважин большого диаметра.

К первому направлению относятся способы силикатизации, смолизации, цементации; второе представлено способом буросмесительного закрепления илов и других сопутствующих им грунтов.

В Пособии не рассматриваются электрохимическое закрепление и термоконсолидация глинистых грунтов, а также закрепление глинизацией, учитывая сугубо специальный характер и весьма ограниченное практическое применение этих видов закрепления.

5.5. Каждый из способов закрепления имеет свою область применения, строго ограниченную номенклатурой грунтов и определенными характеристиками, а именно: водопроницаемостью и химическими свойствами для всех грунтов, степенью влажности и емкостью поглощения для глинистых грунтов и др. Основные способы закрепления грунтов и примерные границы их практического применения по номенклатуре, влажности и водопроницаемости приведены в табл. 29.

Силикатизация и смолизация грунтов, в свою очередь, дифференцируются на ряд конкретных способов, которые различаются между собой химической технологией (рецептурой) и целенаправленно применяются для закрепления определенных разновидностей песчаных и просадочных грунтов сообразно их природным свойствам. Необходимые сведения об этих способах будут приведены ниже в пп. 5.27-5.44 Пособия.

5.6. Закреплением указанными выше способами достигается значительное повышение несущей способности, прочности и устойчивости всех видов грунтов, с одновременным обеспечением их водостойкости, что открывает большие возможности для практического применения этих способов при строительстве в слабых грунтах.

Таблица 29

Способ закрепления

Вид грунтов

Природная степень влажности

Коэффициент фильтрации, м/сут

Силикатизация

Просадочные лёссы, лёссовидные и некоторые виды покровных суглинков

Не более 0,7

Не менее 0,2

»

Песчаные

Независимо от влажности

0,5-80

Смолизация

»

То же

0,5-50

Цементация

Пустоты большого размера. Трещиноватые скальные, крупнообломочные и гравелистые песчаные

-

Для скальных 0,01

Для нескальных 50

Буросмесительное закрепление

Илы, а также сопутствующие им глины и суглинки мягкопластичной, текучепластичной, текучей консистенции, рыхлые и средней плотности пески

-

Независимо от водопроницаемости

Термическое закрепление

Просадочные лёссы и лёссовидные суглинки, непросадочные суглинки и глины

Не более 0,5

То же

Для всех без исключения фильтрующих грунтов закрепление позволяет уменьшать или практически полностью устранять их водопроницаемость, что расширяет область его практического применения в качестве противофильтрационных мероприятий, а также мероприятий против неустойчивости этих грунтов в водонасыщенном состоянии, при подземных строительных работах.

Наряду с увеличением прочности закрепление устраняет просадочность лёссов, лёссовидных суглинков, а также некоторых видов просадочных покровных суглинков, что во многих случаях разрешает важную проблему строительства на просадочных грунтах.

Достигаемые всеми способами закрепления преобразования строительных свойств грунтов практически необратимы и, следовательно, долговечны.

5.7. Благодаря возможности значительно и необратимо улучшать строительные свойства грунтов в естественном залегании, закрепление может широко применяться в строительстве для:

усиления оснований вновь строящихся и существующих зданий и сооружений;

устройства фундаментов и других заглубленных разного назначения конструкций из закрепленных грунтов;

увеличения несущей способности свай и других опор большого диаметра;

создания противофильтрационных завес в качестве мероприятий по гидроизоляции неглубоких подземных сооружений и конструкций.

Закрепление грунтов может также широко применяться в качестве следующих временно действующих мероприятий для:

укрепления откосов при вскрытии строительных котлованов и других земляных выработок;

устройства подпорных стен и других разного назначения заглубленных защитных конструкций, необходимых при щитовой проходке подземных выработок;

для устранения подвижек слабых, неустойчивых грунтов (в том числе плывунов), при устройстве тоннелей и других неглубоких подземных выработок.

5.8. Выбор конкретного способа закрепления грунтов, а также определение и назначение всех технологических и других параметров и технических условий закрепления осуществляется единым технорабочим проектом закрепления грунтов, который объединяет в себе, кроме того, элементы проектирования организации строительства и проектирования производства работ. Это делается в проекте сообразно характеру выполняемой строительной задачи, инженерно-геологическим условиям территории и требованиям к закрепленным грунтам.

Проектом могут устанавливаться и задаваться также другие специальные требования и указания по производству работ, контролю качества и приемке работ по закреплению грунтов в случаях уникальных сооружений или особо сложных инженерно-геологических условий, если на них не распространяются соответствующие действующие нормы и настоящее Пособие.

5.9. Применение всех способов закрепления естественных грунтов, кроме термического, возможно при температурах закрепляемых грунтов не ниже 0 °С и температурах инъецируемых химических и других вяжущих растворов не ниже 5 °С.

5.10. Для специальных видов работ в сложных инженерно-геологических условиях, к которым относится и закрепление грунтов, разработку проектов производства работ согласно действующим нормам допускается производить как проектным, так и производственным организациям.

На практике, в силу узкоспециального характера технологии закрепления грунтов, проектирование производства этого вида работ, как правило, осуществляется проектной организацией в едином проекте закрепления, совмещающем в себе все три указанных в п. 5.8 вида проектирования. Вместе с тем, в отдельных случаях проектирование производства работ по закреплению грунтов частично или полностью может осуществляться и производственными организациями.

5.11. При разработке вопросов проектирования производства работ по закреплению грунтов следует руководствоваться Инструкцией по разработке проектов организации строительства и проектов производства работ (СНиП 3.01.01-85), которая имеет общее значение для всех способов закрепления грунтов. Инструкция, являясь нормативным документом, устанавливает состав, содержание и порядок разработки и утверждения проектов организации и производства работ.

5.12. В прерогативу проектирования производства работ согласно СНиП 3.01.01-85, применительно к закреплению грунтов, входят следующие основные положения:

а) составление календарного плана производства работ по закреплению грунтов, в котором на основе объемов работ и технологии способов устанавливаются последовательный порядок и сроки выполнения отдельных видов работ, определяются потребности в трудовых и других ресурсах, а также устанавливаются сроки поставки отдельных видов оборудования и материалов;

б) разработка строительного генплана с нанесением на него расположения транспортных путей, сетей водоснабжения, канализации, электроснабжения, теплоснабжения, специальных технологических узлов и установок, складов для материалов и других временных построек и устройств, необходимых для производства работ. Генплан дополняется графиками поступления на объект материалов и специального оборудования, а также графиками потребностей в рабочих кадрах и в основных строительных машинах;

в) составление технологических карт или технологических схем с описанием последовательности и методов производства работ и стоимости трудозатрат и потребности в механизмах и материалах по этапам;

г) проектная проработка решений по технике безопасности, охране труда и охране окружающей среды, а также другие, общие для всех способов закрепления, положения.

5.13. Учитывая, что закрепление грунтов в технологическом отношении представляет собой работы исключительно скрытые, их производство должно сопровождаться мероприятиями по контролю качества закрепления и ведением исполнительной документации, отвечающими самым высоким требованиям к надежности.

Необходимое качество, согласно этим требованиям, обеспечивается указанными в пп. 5.14-5.17 разносторонними мероприятиями по контролю качества, осуществляемыми до, во время и после завершения работ по закреплению грунтов и распространяемыми на все способы.

5.14. Для проверки правильности заложенных в проект параметров закрепления на первоначальном этапе работ по закреплению, на определенном ограниченной величины участке, производится вскрытие закрепленного на этом участке массива скважинами и шурфами с обследованием его конфигурации и размеров, сплошности и однородности закрепления и с отбором закрепленных образцов для лабораторных исследований; на отобранных образцах определяют прочностные и деформационные характеристики и водостойкость закрепленных грунтов. По результатам вскрытия и обследования дается оценка соответствия качества закрепления проектным требованиям, а следовательно, и правильности заданных проектом параметров закрепления.

Ввиду отсутствия термина данное мероприятие по контролю качества закрепления предлагается называть контрольным закреплением.

Объем работ по контрольному закреплению устанавливается проектом в зависимости от объема закрепления, однородности грунтовых и других инженерно-геологических условий. К вскрытию закрепленного массива скважинами и шурфами следует приступать с определенной выдержкой во времени, по завершении набора прочности.

Если в результат контрольного закрепления обнаруживается недопустимое несоответствие качества закрепления проектным требованиям, то авторский надзор должен внести в проект закрепления соответствующие коррективы, после чего производятся повторные контрольные закрепления до устранения несоответствия.

5.15. Соответствие применяемых при закреплении грунтов исходных и переработанных (рабочих) материалов (реагентов, цемента, топлива) ГОСТам и проектным требованиям определяется лабораторными работами по определению соответствующих характеристик материалов.

5.16. Для контроля за выполнением заданных проектом параметров и технических условий (от чего особенно сильно зависит качество закрепления) производство работ должно сопровождаться обязательной, хорошо продуманной фиксацией соответствующих технологических данных в рабочих журналах и другой исполнительной документацией.

Рекомендуемые формы журналов производства работ для всех способов закрепления грунтов приведены в прил. 21 и 28.

Контроль качества закрепления грунтов в этом случае заключается в систематической проверке соответствия зафиксированных в исполнительной документации данных о производстве работ с проектными данными. При обнаружении несоответствий авторский надзор и производители работ должны оперативно принимать необходимые меры к обязательному выполнению проектных требований, а также меры по закреплению некачественно обработанных участков в закрепляемом массиве.

5.17. Для окончательной приемки работ контроль качества закрепления грунтов по отдельным фрагментам во время производства работ или по закрепляемому массиву в целом, после их завершения, должен производиться путем непосредственного вскрытия закрепляемого массива скважинами и шурфами с отбором образцов и проведением обследований по тем же позициям, что и при контрольном закреплении, согласно п. 5.14.

При больших объемах закрепительных работ непосредственный контроль качества закрепления бурением или шурфованием может сочетаться с обследованием качества закрепления геоэлектрическим методом. Применительно к закреплению грунтов силикатизацией этот метод изложен в прил. 22.

5.18. В число основных мероприятий в части организации работ по закреплению грунтов входят подготовительные работы, материально-техническое обеспечение, механизация, организация работы транспорта, оперативное планирование и организация труда.

Организация работ выполняется по единому проекту закрепления грунтов, который разрабатывается проектной организацией и включает в себя наряду с другими видами проектирования и вопросы организации строительного производства.

Мероприятия по организации работ в приведенном выше составе осуществляются производственной организацией, выполняющей работы по закреплению грунтов, руководствуясь СНиП 3.01.01-85 «Организация строительного производства» и требованиями проекта. Положения и требования СНиП 3.01.01-85 имеют общее значение для всех способов закрепления грунтов.

5.19. При производстве работ по закреплению грунтов всеми способами должны строго соблюдаться правила по технике безопасности при строительных и горных работах, а также при работах на паровых, компрессорных, гидравлических и электрических установках согласно СНиП III-4-80 «Техника безопасности в строительстве».

5.20. При закреплении грунтов способами с применением токсичных материалов или с выделением ядовитых отходов кроме соблюдения правил противопожарной и противовзрывной охраны и указанных в пункте 5.19 требований техники безопасности должны соблюдаться специальные требования по защите рабочего персонала от вредных влияний, а также по защите почвы, грунтовых вод, атмосферного воздуха, территории и помещений от загрязнений. Эти специальные требования касаются транспортировки, складирования материалов, промывки технологического оборудования, эвакуации технологических отходов, вентиляции рабочих помещений, а также обеспечения персонала средствами индивидуальной защиты.

К способам закрепления, обладающим более или менее значительной токсичностью, при которых необходимо соблюдение специальных требований техники безопасности и охраны окружающей среды, относятся некоторые модификации способов силикатизации и смолизации, а также термическое закрепление, при котором в атмосферу выделяются вредные газы. Требования эти специфичны для каждого из способов и будут полнее изложены ниже, в настоящем разделе Пособия.

5.21. Работы по закреплению грунтов выполняются строго по проекту. Изменения проекта или отклонения от него допускаются лишь с согласия проектной организации, разработавшей проект закрепления, и оформляются актом.

5.22. До начала работ по закреплению грунтов необходимо уточнить и строго учитывать при производстве работ расположение подземных коммуникаций (водопровод, канализация, кабельная сеть, газ и др.), а также расположение и состояние сооружений, находящихся вблизи области закрепления.

5.23. С целью накопления натурных данных об эффективности мероприятий по закреплению грунтов и закономерностях процесса затухания деформаций, за осадками фундаментов зданий и сооружений, возводимых на закрепленном основании или на фундаментах из закрепленных грунтов, желательно устанавливать инструментальное геодезическое наблюдение по маркам в период постройки и после сдачи сооружений в эксплуатацию, до прекращения деформаций.

5.24. Приемкой работ по закреплению грунтов должно быть проверено и установлено соответствие требованиям проекта конфигурации и размеров закрепленного массива или отдельных опор, характеристик прочностных и деформационных свойств закрепленных грунтов, сплошности и однородности закрепления и других показателей качества закрепления грунтов.

5.25. Приемка работ производится комиссией специалистов, укомплектованной представителями заинтересованных организаций и организаций - исполнителей работ.

Приемка осуществляется на основе сопоставления проектной и исполнительной документации по производству работ и данных по контролю качества закрепления, согласно пп. 5.14-5.17, а также визуальным осмотром закрепленных массивов в обнажениях шурфов и закрепленных грунтов в кернах из контрольных скважин.

Для приемки работ должны быть представлены технорабочий проект и следующая исполнительная и контрольная документация:

масштабные планы и профили закрепленных массивов (опор) с обозначениями фактических данных о местоположении в плане инъекторов, инъекционных, термических, буросмесительных, термометрических и контрольных скважин и шурфов, а также с обозначением данных о местоположении элементов (заходок) технологической обработки грунтов по глубине и о выполненных нормах этой обработки;

технические паспорта на использованные для закрепления грунтов материалы;

журналы производства работ по установленной форме;

результаты мероприятий по контролю качества закрепления грунтов.

При обнаружении несоответствия качества закрепления требованиям проекта комиссией назначаются, а строителями выполняются необходимые дополнительные работы по устранению этих несоответствий.

5.26. Кроме требований и положений, изложенных в пп. 5.9-5.25, по основным элементам производства закрепительных работ, имеющих общее значение для всех способов (по проектированию производства работ, контролю качества закрепления, организации производства работ, технике безопасности и охране окружающей среды и по правилам приемки работ), каждый конкретный способ закрепления по указанным выше и другим элементам производства работ может иметь свои собственные требования и положения, обусловленные спецификой этих способов.

О дополнительных специфических требованиях конкретных способов закрепления будет сказано ниже в настоящем разделе Пособия.

Общим правилом в отношении дополнительных требований является то, что во всех случаях они должны уточняться проектом в зависимости от конкретных условий производства работ.

ИНЪЕКЦИОННОЕ ХИМИЧЕСКОЕ ЗАКРЕПЛЕНИЕ

5.27. Химическое закрепление грунтов инъекцией в строительстве в настоящее время осуществляется способами силикатизации, смолизации и цементации согласно закрепляющим реагентам, на основе которых разработаны способы.

5.28. Как один из видов производства работ в строительстве инъекционное химзакрепление представляет собой искусственное, целенаправленное преобразование строительных свойств грунтов обработкой их в естественном залегании различными реагентами. Для силикатизации и смолизации эта обработка основана на реакциях взаимодействия химреагентов между собой или с химически активной частью грунтов; для цементации - на химическом процессе твердения цементных растворов в крупных пустотах, трещинах и порах грунтов. При этом практически во всех случаях обеспечивается необратимость и, следовательно, долговечность приобретенных грунтами свойств.

Нагнетание в грунты химреагентов и их подбор по рецептурам составляют соответственно физико-технологическую и химико-технологическую сущность способов закрепления.

5.29. Инъекционное химзакрепление распространяется на грунты, обладающие более или менее значительной водопроницаемостью, включая песчаные, крупнообломочные, трещиноватые скальные и полускальные грунты, а также просадочные лёссы, лёссовидные суглинки и некоторые виды покровных суглинков.

Закрепление вечномерзлых грунтов, указанных выше литологических видов, возможно лишь после их предварительного оттаивания. Это относится также и к обычным мерзлым грунтам в деятельном слое. Закрепление этими способами ограничено также определенными температурными условиями, приведенными в п. 5.9 Пособия для грунтов в естественном залегании, для инъецируемых растворов и для газов.

Не подлежат закреплению грунты, пропитанные нефтепродуктами, и водонасыщенные грунты при скоростях грунтовых вод, больших чем установленные для каждого способа величины. Возможность закрепления засоленных грунтов устанавливается специальными исследованиями в лабораториях и натурных условиях.

5.30. Изложенное в пп. 5.6 и 5.7 о получаемых при закреплении положительных изменениях строительных свойств грунтов и о возможностях практического применения способов их закрепления в полной мере распространяется и на инъекционное химическое закрепление.

По сравнению с другими способами оно имеет два преимущества: одно заключается в том, что осуществляется без нарушения естественной структуры и сложения грунтов, практически исключает их деформации при производстве работ; второе - что под существующими сооружениями оно не нарушает их нормальной эксплуатации.

Таблица 30

№ п.п.

Инъекционные способы и исходные химические реагенты

Реакция среды закрепляющих реагентов

Область применения

Экстремальные и средние значения прочности закрепления при одноосном сжатии, МПа

номенклатура и некоторые характеристики грунтов

коэффициент фильтрации грунтов, м/сут

1

Двухрастворная силикатизация на основе растворов силиката натрия и хлористого кальция

Щелочная

Пески гравелистые, крупные и средней крупности

5-80

2-8

5

2

Однорастворная двухкомпонентная силикатизация на основе растворов силиката натрия и кремнефтористо-водородной кислоты

»

Пески средней крупности, мелкие и пылеватые, в том числе карбонатные

0,5-20

1-5

3

3

Однорастворная однокомпонентная силикатизация просадочных грунтов на основе одного раствора силиката натрия

»

Просадочные лёссовые грунты, обладающие емкостью поглощения не менее 10 мг/экв на 100 г сухого грунта и степенью влажности не более 0,7*

Не менее 0,2*

0,5-3,5

2

4

Газовая силикатизация на основе силиката натрия и углекислого газа

»

То же, но степень влажности не более 0,75*

Пески средней крупности, мелкие и пылеватые, в том числе карбонатные

Не менее 0,2*

0,5-3,5

2

5

Однорастворная двухкомпонентная силикатизация на основе раствора силиката натрия и формамида с добавкой кремнефтористоводородной кислоты

»

То же

0,5-25

1-3

2

6

Однорастворная двухкомпонентная силикатизация на основе растворов силиката натрия и ортофосфорной кислоты

Кислая

Пески средней крупности, мелкие и пылеватые

0,5-10

0,2-0,5

0,35

7

Однорастворная двухкомпонентная силикатизация на основе растворов силиката натрия и алюмината натрия

Щелочная

Пески средней крупности, мелкие и пылеватые, в том числе карбонатные

0,5-10

0,2-0,3

0,25

8

Однорастворная двухкомпонентная смолизация на основе растворов карбамидных смол марок М, М-2, М-3 и МФ-17 и соляной кислоты

Кислая

Пески всех видов, кроме карбонатных

0,5-50

2-8

5

9

Однорастворная двухкомпонентная смолизация на основе растворов карбамидных смол марок М, М-2, М-3 и МФ-17 и щавелевой кислоты

»

Пески всех видов от гравелистых до пылеватых

0,5-50

2-8

5

10

Цементация

»

Пустоты, полости в грунтах всех видов. Крупнообломочные и некоторые гравелистые песчаные, трещиноватые скальные и полускальные грунты

Для скальных и полускальных > 0,01, для прочих > 50

-

* При других значениях характеристик возможность применения силикатизации устанавливается опытным путем.

Примечание. Экстремальные значения прочностей приведены над чертой; средние - под чертой.

5.31. Посредством способа цементации, кроме указанного в п. 5.30, возможно заполнение пустот и полостей больших размеров, образующихся по разным причинам (в том числе карстового происхождения) под фундаментами и в основании существующих сооружений. Этим предотвращается обрушение кровли пустот и обусловленные им недопустимые локальные просадки грунтов, неизбежные при этом повреждения в наземных конструкциях. С помощью цементации крупных пустот в сочетании с силикатизацией и смолизацией грунтов, окружающих эти пустоты, успешно решают такие задачи, как усиление оснований и фундаментов существующих и возводимых вновь зданий и сооружений на закарстованных территориях.

5.32. Для закрепления грунтов в практике строительства следует применять разработанные и опробованные опытом инъекционные химические способы согласно табл. 30. Каждый из способов имеет свою область применения, ограниченную величинами коэффициента фильтрации для песчаных грунтов и значениями коэффициента фильтрации, емкости поглощения в щелочной среде и степени влажности - для просадочных лёссовых грунтов.

5.33. Выбор способов закрепления для конкретных грунтов производится, руководствуясь указанной табл. 30 и данными о гранулометрическом составе, номенклатуре, коэффициенте фильтрации и других характеристиках естественных грунтов, а также проектными требованиями к прочностным и деформационным свойствам закрепленных грунтов.

5.34. Кроме указанных в пп. 5.8, 5.11 и 5.12 положений, имеющих общее значение для всех способов закрепления грунтов, проектом инъекционного химзакрепления устанавливаются и задаются следующие специальные требования, параметры и правила для производства работ по закреплению грунтов этими способами:

технология нагнетания закрепляющих реагентов в грунты посредством погружаемых инъекторов или через инъекционные скважины;

расположение инъекторов (инъекционных скважин) в контуре закрепляемого массива согласно его конфигурации, направление погружения инъекторов (бурения скважин), расстояние между ними и их глубины;

перечень и характеристики применяемых исходных химических и других материалов для приготовления инъецируемых рабочих реагентов (растворов, газов, смесей);

рецептуры (составы) инъецируемых в грунты закрепляющих реагентов и указания по их приготовлению;

способы погружения инъекторов и бурения инъекционных скважин, марки и характеристики применяемого при этом оборудования;

указания по технологии нагнетания, нормам, режиму и последовательности закачек закрепляющих реагентов;

требования и указания по контролю качества закрепления, объемам контрольных работ, а также критерий достаточности выполненных работ.

5.35. В дополнение к положениям, изложенным в пп. 5.10-5.12 о проектах производства работ, имеющих общее значение для всех способов, разработка такого проекта для инъекционного химзакрепления грунтов должна предусматривать:

состав и размещение вспомогательных сооружений на площадке;

обеспечение системами электроснабжения, водоснабжения, теплоснабжения, канализации;

транспортировку материалов;

расчет производительности и интенсивности работ и обеспечения их рабочими кадрами, материалами, механизмами;

составление календарного плана, увязанного с другими строительными работами.

5.36. Для контроля качества инъекционного химзакрепления грунтов под существующими сооружениями кроме общих мероприятий, приведенных в пп. 5.13-5.17, следует в качестве дополнительного и наиболее надежного для этих целей мероприятия применять инструментальные геодезические наблюдения за осадками марок, устанавливаемых снаружи и внутри зданий. Как правило, эти наблюдения должны производиться до, во время и после производства работ по закреплению и продолжаться до прекращения деформаций. Организацию и исполнение наблюдений осуществляют, руководствуясь ГОСТ 24846-81 «Грунты. Методы измерения деформаций оснований зданий и сооружений», Руководством по наблюдениям за деформациями оснований и фундаментов зданий и сооружений (М.: Стройиздат, 1975).

СИЛИКАТИЗАЦИЯ И СМОЛИЗАЦИЯ

5.37. Силикатизация и смолизация грунтов, как один из видов производства работ в строительстве, представляет собой химическую обработку грунтов различными реагентами нагнетанием их в закрепляемые грунтовые массивы под давлением. В результате достигается целенаправленное, необратимое и долговечное улучшение строительных свойств грунтов.

5.38. С химической точки зрения основу силикатизации и смолизации грунтов составляет явление конденсации неорганических и органических полимеров (крепителей) при их взаимодействии с коагулянтами (отвердителями) и заключается в отверждении полимеров в порах и трещинах грунтов, чем и обеспечиваются указанные выше положительные изменения их строительных свойств.

Рис. 55. Конструктивные схемы инъекционного закрепления грунтов

а - сплошное закрепление; б - армированное закрепление; в - комбинированное закрепление

Рис. 66. Схема организации работ по закреплению грунтов через инъекторы

1 - место складирования химреагентов; 2 - пневмоустановки (или насосы); 3 - верстак; 4 - емкость с водой; 5 - компрессор; 6 - емкость для приготовления рабочих растворов; 7 - насос; 8 - погруженные инъекторы; 9 - нагнетание закрепляющих растворов; 10 - закрепленный грунт; В - вода; PC - закрепляющие растворы или смеси

В качестве крепителей применяются водные растворы силиката натрия (неорганический полимер), а также растворы карбамидных и других синтетических смол (органические полимеры). В качестве отвердителей применяются различные неорганические и органические кислоты и соли с различными химическими добавками; в отдельных случаях отвердителем может быть химически активная часть самих грунтов.

Закрепление грунтов на основе растворов силиката натрия, независимо от применяемых отвердителей, называется силикатизацией, на основе карбамидных и других смол - смолизацией, на основе цементных растворов - цементацией.

Участвующие в процессе инъекционного химзакрепления грунтов химические вещества в растворах или газы называются закрепляющими реагентами.

Рис. 57. Схема организации работ по закреплению просадочных лессовых грунтов через инъекционные скважины

1 - силикаторазварка и растворный узел; 2 - растворовод; 3 - бурение скважин; 4 - закрепление грунтов; 5 - отрытие котлованов; 6 - установка колонн; 7 - колонна

Смесь растворов крепителей и отвердителей рабочих концентраций при однорастворном двухкомпонентном закреплении грунтов называется гелеобразующей смесью.

5.39. С технологической точки зрения закрепление силикатизацией и смолизацией заключается в нагнетании под давлением в поры естественных грунтов отверждающихся и закрепляющих грунты химических растворов (двухрастворный способ), или раствора и газа (двухкомпонентный способ), или одного раствора (однокомпонентный способ), или гелеобразующих смесей из двух компонентов (однорастворные двухкомпонентные способы). Нагнетание закрепляющих реагентов в грунты осуществляется насосами или сжатым воздухом из специальных емкостей через заглубляемые в грунты специальные перфорированные трубы (инъекторы) или через инъекционные скважины. Задаваемые проектом расстановка инъекторов или скважин в плане, углы наклона и нормы закачки химреагентов по глубине должны обеспечивать сплошность массива закрепленного грунта или его заданную конфигурацию и размеры согласно назначенной проектом конструктивной схеме закрепления (рис. 55). На рисунках 56 и 57 показаны принципиальные технологические схемы организации работ по силикатизации и смолизации грунтов в двух вариантах, с применением инъекторов и инъекционных скважин.

5.40. Для повышения эффективности (увеличения прочности и радиуса) закрепления грунтов однорастворными способами силикатизации и смолизации, за исключением однокомпонентной силикатизации просадочных лёссовых грунтов, во многих случаях бывает необходимо или целесообразно производить предварительную химическую обработку (активизацию) грунтов отвердителями.

Необходимость предварительной обработки грунтов отвердителем и нормы его закачки устанавливаются и задаются проектом по результатам специальных лабораторных исследований и опытных работ по закреплению грунтов в натурных условиях. Обычно норму закачки отвердителя для активизации принимают из расчета заполнения им половины объема пор грунта.

5.41. При закреплении грунтов силикатизацией и смолизацией под существующими сооружениями с ветхими трещиноватыми фундаментами (например, под архитектурными памятниками) в качестве вспомогательного мероприятия против вероятных утечек закрепляющих реагентов через полости и трещины в кладке проектом может предусматриваться предварительная уплотнительная цементация фундаментов на контакте подошвы с основанием, называемая вспомогательной цементацией.

Необходимые параметры и данные для вспомогательной цементации и соответствующие рекомендации по производству работ даются в проекте. Работы выполняются согласно правилам, изложенным в пп. 5.98-5.103.

5.42. Закрепление грунтов способами силикатизации и смолизации производится преимущественно посредством вертикально и наклонно погружаемых в грунты сверху вниз инъекторов или забуриваемых инъекционных скважин - с дневной поверхности, с отмостки, или изнутри здания.

Если в силу стесненных условий или по иным причинам закрепление грунтов по технологии с вертикальным заглублением инъекторов и скважин невозможно, то инъекционные работы при закреплении грунтов под существующими сооружениями следует производить по технологии с горизонтальным заглублением инъекторов и скважин из специально пройденных и оборудованных технологических выработок (колодцев, траншей и штолен) и с предварительным химическим закреплением их стенок для предупреждения возможных деформаций сооружений. Данные о конструкции и размерах технологических выработок, а также другие рекомендации по их устройству должны содержаться в проекте.

5.43. Кроме указанных в пп. 5.9 и 5.29 и в табл. 30 температурных ограничений по водопроницаемости и другим свойствам грунтов, применение силикатизации и смолизации в водоносных грунтах лимитировано также скоростью грунтовых вод до 5 м/сут.

5.44. При производстве работ по силикатизации и смолизации грунтов с применением токсичных материалов необходимо строго соблюдать общие требования по охране труда, технике безопасности и охране окружающей среды, изложенные в пп. 5.19, 5.20, а также специальные требования и положения согласно пп. 5.127-5.154.

ХИМИЧЕСКАЯ ТЕХНОЛОГИЯ СИЛИКАТИЗАЦИИ И СМОЛИЗАЦИИ И ПРИМЕНЯЕМЫЕ ХИМИЧЕСКИЕ МАТЕРИАЛЫ

5.45. При двухрастворной силикатизации в грунты в последовательном порядке нагнетают два водных раствора: раствор силиката натрия (крепитель) и раствор хлористого кальция (отвердитель).

Плотность раствора силиката натрия назначают в зависимости от коэффициента фильтрации грунтов согласно табл. 31.

Таблица 31

Коэффициент фильтрации, м/сут

Плотность раствора силиката натрия при температуре 18 °С, г/см3

2-10

1,35-1,38

10-20

1,38-1,41

20-80

1,41-1,44

Раствор хлористого кальция должен иметь плотность 1,26-1,28 г/см3, а величину рН не менее 5,5. Для безводного хлористого кальция указанным величинам плотности соответствуют 28-30 % значения концентрации.

5.46. При однорастворной силикатизации и смолизации в качестве основных химических материалов применяются водные растворы силиката натрия и карбамидных смол, а в качестве отвердителей или добавок - соляная, щавелевая и кремнефтористоводородная кислоты, углекислый газ, алюминат натрия, азотнокислый аммоний, сульфитно-спиртовая барда, ортофосфорная кислота, формамид, этилацетат, контакт Петрова и другие химреагенты.

Растворы-крепители, используемые при силикатизации и смолизации грунтов, должны удовлетворять следующим требованиям: величина модуля силиката натрия допускается в пределах от 2,7 до 3, его плотность - от 1,2 до 1,45 г/см2 при закреплении песчаных грунтов и от 1,1 до 1,2 г/см3 при закреплении просадочных грунтов; плотность карбамидной смолы - от 1,08 до 1,18 г/см3.

Таблица 32

№ способа по рецептуре

Компоненты гелеобразующей смеси

Объемные отношения отвердителя к крепителю

Время гелеобразования

Порядок приготовления смеси

крепитель

плотность, г/см3

отвердитель

плотность, г/см3

I

Силикат натрия

1,25-1,3

Кремнефтористоводородная кислота

1,1-1,08

0,12-0,2

При 20 °С - 10-20 мин, при 5 °С - 60 мин

Отвердитель добавляют к крепителю

II

То же

1,15

Алюминат натрия

1,05

0,2-0,25

60-180 мин

То же

III

»

1,19

Ортофосфорная кислота

1,025

3,4-6

60-600 мин

Крепитель добавляют к отвердителю

IV

Силикат натрия модуля 3,3-3,4*

1,28-1,30

50 %ый раствор формамида

1,073

0,25-0,50

15-180 мин

Отвердитель добавляют к крепителю

V

Силикат натрия модуля 3,3-3,4

1,28-1,30

Этилацетат, контакт Петрова**

1,073

0,02-0,04

0,04-0,06

0,5-1,2 ч

Крепитель смешивают с контактом Петрова и в полученную смесь добавляют этилацетат

* Раствор силиката повышенного модуля получают обработкой силиката обычного модуля 2,5-3 кремнефтористоводородной кислотой плотностью 1,1-1,08 в количестве 5-6 % по объему.

** Контакт Петрова предварительно разбавляют водой в соотношении 1:3.

Таблица 33

№ способа по рецептуре

Компоненты газовой силикатизации

Порядок закачки компонентов в грунты

крепитель

наименование

наименование

плотность, г/см3

норма закачки

отвердитель

норма закачки на 1 м3 грунта, кг

VI

для песков

Силикат натрия

1,19-1,3

0,8 объема пор

Углекислый газ в баллонах

4-6,5

Углекислый газ 2-2,5 кг, силикат натрия, углекислый газ 2-4 кг

VII

для просадочных лессовых грунтов

То же

1,10-1,17

0,8 объема пор

Углекислый газ в баллонах

5-7,5

Углекислый газ 2-3 кг, силикат натрия, углекислый газ 3-4,5 кг

Таблица 34

№ п.п.

Реагенты

ГОСТ

Физическое состояние

1

Силикат натрия растворимый

ГОСТ 13079-81

Глыба

2

Стекло натриевое жидкое

ГОСТ 13078-81

Жидкость

3

Хлористый кальций

ГОСТ 450-77

Комки

4

Кремнефтористоводородная кислота

ГОСТ 10678-76 с изм.

Жидкость

5

Ортофосфорная кислота

ГОСТ 6552-80

»

6

Углекислый газ

ГОСТ 8050-76 с изм.

Сжиженный газ

5.47. При однорастворной двухкомпонентной силикатизации песчаных грунтов в настоящее время применяют способы, приведенные в табл. 32.

5.48. Закрепление просадочных лессовых грунтов осуществляют однорастворным однокомпонентным способом силикатизации на основе одного раствора силиката натрия, имеющего характеристики согласно п. 5.46.

5.49. Для газовой силикатизации в настоящее время разработаны и применяются два отличающиеся рецептурой способа закрепления песчаных и просадочных лёссовых грунтов (табл. 33).

5.50. Химические материалы, применяемые для закрепления грунтов способами силикатизации, должны удовлетворять требованиям и техническим условиям действующих стандартов на силикат натрия (жидкое стекло), хлористый кальций, ортофосфорную, кремнефтористоводородную кислоты, алюминат натрия, формамид, этилацетат, контакт Петрова.

ГОСТы и ТУ на некоторые технические материалы, применяемые при химическом закреплении грунтов способами силикатизации, приведены в табл. 34.

5.51. Применяемый при силикатизации грунтов силикат натрия Na2OnSiO2 доставляется к месту работы либо в виде силикат-глыбы, либо в виде раствора плотностью 1,4-1,5 г/см3.

В зависимости от исходных материалов силикат натрия выпускается содовый и содово-сульфатный.

Силикатный модуль является главной характеристикой силиката натрия, определяющей его состав.

Под модулем подразумевается отношение числа грамм-молекул кремнезема (SiO2) к числу грамм-молекул окиси натрия (Na2O).

В процессе производства работ модуль употребляемых растворов силиката натрия (каждая партия) подлежит контрольным определениям (прил. 15).

Раствор силиката натрия должен отвечать требованиям ГОСТ 13078-81.

По физико-химическим показателям раствор силиката натрия должен отвечать нормам, указанным в табл. 35.

5.52. Применяемый при однорастворной силикатизации в качестве отвердителя (коагулянта) силиката натрия алюминат натрия должен удовлетворять следующим требованиям:

каустический модуль - 1,5-1,7 (отношение Na2O / Al2O3);

крупности дробления - 5-6 мм,

наличие нерастворимых взвесей - 1-2 %.

Коагулянт - кремнефтористоводородная кислота - является побочным продуктом производства суперфосфата и фосфорной кислоты и поставляется в виде раствора плотностью 1,1-1,2 г/см3.

Таблица 35

№ п.п.

Показатели

Нормы для видов силиката натрия

содового

содово-сульфатного

1

Внешний вид

Густая жидкость желтого или серого цвета без механических включений, видимых невооруженным глазом

Густая жидкость от желтого до коричневого цвета без механических включений, видимых невооруженным глазом

2

Содержание кремнезема, %

31-33

28,5-29,5

3

Содержание окиси железа и окиси алюминия, %, не более

0,25

0,4

4

Содержание окиси кальция, %, не более

0,2

0,25

5

Содержание серного ангидрида в пересчете на серу, %, не более

0,06

0,4

6

Содержание окиси натрия, %

10-12

10-11

7

Силикатный модуль

2,65-3,4

2,65-3,4

8

Плотность, г/см3

1,36-1,5

1,42-1,5

5.53. При однорастворной смолизации песчаных грунтов в настоящее время разработаны и могут применяться девять отличающихся рецептурой способов согласно табл. 36, в которой приведены данные для получения соответствующих гелеобразующих смесей.

5.54. Преимуществом смолизации перед однорастворной силикатизацией является возможность значительно более прочного закрепления грунтов. Так, временное сопротивление при сжатии закрепленных смолизацией некоторых видов песчаных грунтов может достигать 7-10 МПа. Недостатком смолизации является выделение карбамидными смолами токсичного формальдегида, поэтому при закреплении грунтов под существующими сооружениями, когда работы ведутся в закрытых помещениях, следует применять усиленную приточно-отточную вентиляцию.

5.55. Для глубинного закрепления грунтов смолизацией, не связанного с последующим вскрытием закрепленных массивов (например, при усилении оснований, устройстве фундаментов или других подземных конструкций), следует применять способы смолизации на основе карбамидных смол марок М, М-2, МФ-17 и УКС.

При смолизации грунтов с целью проходки подземных выработок допускается применять способы на основе смолы марки М-3, содержащей наименьшее количество свободного формальдегида (0,3-0,5 %).

5.56. В связи с изменением во времени физико-химических свойств смолы для каждой партии смол в процессе инъекционных работ требуется уточнять соотношение компонентов и гелеобразующей смеси, обеспечивающее заданный период времени гелеобразования.

5.57. Разведение смолы водой до рабочих концентраций производится в следующих приближенных соотношениях:

крепитель М-2 разбавляется водой в соотношении 1:0,8 до плотности раствора 1,09 г/см3, являющейся нижним пределом разбавления;

крепитель М-3 разбавляется водой в соотношении 1:0,5 до плотности раствора 1,12 г/см3;

крепитель МФ-17 разбавляется водой в соотношении 1:2 до плотности раствора 1,08 г/см3.

При разбавлении смолы растворами азотнокислого аммония или сульфитно-спиртовой барды раствор получается более стабильным.

5.58. Применяемые при смолизации в качестве крепителей растворы карбамидных смол по своим физическим и химическим характеристикам должны удовлетворять нормам согласно табл. 37, а щавелевая (кристаллогидрат) и соляная (жидкость) кислоты должны удовлетворять соответственно нормам ТУ II-1391-5 и ГОСТ 13282-76 с изм.

При приготовлении и применении гелеобразующих смесей необходимо соблюдать следующие правила:

а) измерение заданных объемов крепителя и отвердителя рабочих концентраций перед их смешиванием должно выполняться с необходимой точностью, которая устанавливается на основе экспериментальной зависимости времени гелеобразования от объемного соотношения компонентов (прил. 16) и указывается в проекте; при определении точности измерения погрешность в получении заданного периода гелеобразования не должна превосходить 10 %;

б) при смешивании компонентов смеси отвердитель следует постепенно добавлять к крепителю (а не наоборот) при непрерывном и тщательном перемешивании;

в) заданное время гелеобразования в процессе инъекции должно контролироваться отбором проб смеси и фиксации момента ее загустевания.

Таблица 36

№ способа по рецептуре

Компоненты гелеобразующей смеси

Объемное отношение отвердителя к крепителю

Время гелеобразования, мин

Порядок приготовления смеси

крепитель

плотность при 18 °С, г/см3

отвердитель

плотность, г/см3

VIII

Карбамидная смола марки М

1,08

5 %-ная соляная кислота

1,023

0,05-0,06

180-40

В смолу при тщательном перемешивании добавляют кислоту

IX

То же, марки М-2

1,09-1,1

5 %-ная щавелевая кислота

1,023

0,012-0,14

180-60

То же

X

То же

1,09-1,1

5 %-ная соляная кислота

1,023

0,07-0,08

150-50

»

XI

То же, марки МФ-17

1,05-1,09

То же

1,09-1,1

0,08-0,1

150-40

»

XII

То же, марки М-3

1,12-1,13

»

1,023

0,03-0,05

150-25

»

XIII

То же

1,178-1,18

Азотнокислый аммоний

1,1-1,2

1-2

150-30

Вначале смешивают крепитель с азотнокислым аммонием, а затем добавляют кислоту

5 %-ная соляная кислота

1,023

0,25-0,35

XIV

»

 

Сульфитно-спиртовая барда

1,15-1,16

1-2

180-30

К сульфитно-спиртовой барде приливают кислоту, а затем кислый раствор сульфитной барды смешивают с крепителем

5 %-ная соляная кислота

1,023

0,25-0,35

XV

»

1,178-1,18

Сульфитно-спиртовая барда

1,2-1,22

0,55-2,15

150-60

Сульфитно-спиртовую барду смешивают с азотнокислым аммонием, в полученную смесь добавляют кислоту и смешивают с крепителем

Азотнокислый аммоний

1,25-1,26

0,25-0,50

5 %-ная соляная кислота

1,023

0,20-0,35

XVI

»

1,15-1,16

Сульфитно-спиртовая барда

1,2-1,22

0,58-2

120-30

Приготовленную по рецептуре VI смесь при перемешивании добавляют к крепителю

Азотнокислый аммоний

-

0,24-0,67

5 %-ная соляная кислота

1,023

0,18-0,33

Таблица 37

Технические характеристики

Нормы для смол марок

М (МРТУ 05-1101-67)

М-2 (МРТУ 05-1101-67)

М-3 (ВТУ 1Г-151-70) Кусковского химзавода

МФ-17 (МРТУ 6-05-10-66)

1

Внешний вид

Сиропообразная жидкость, однотонная по цвету. Допускается появление мути в виде устойчивых кристаллов

Однородная вязкая жидкость белого или светло-коричневого цвета. Допускается появление мути

2

Плотность при 20 °С, г/см3

1,15-1,2

1,15-1,2

1,15-1,2

1,25-1,27

3

Вязкость при 20 °С по вискозиметру В3-1, с

4-10

4-10

4-35

40-100

4

Концентрация водородных ионов (рН)

7,2-9

7,2-9

7-9

7,5-8,5

5

Содержание свободного формальдегида, %, не более

Не определяется

2

0,5

3

6

Растворимость в воде

Растворяется, допускается легкий осадок на дне

Не определяется

В соотношении 1:1

При смешивании воды и смолы раствор не должен коагулировать

Примечание. Сроки хранения смол М, М-2, М-3 не более трех месяцев, МФ-17 - не более двух месяцев.

ПРАВИЛА ПРОИЗВОДСТВА РАБОТ И ПРИМЕНЯЕМЫЕ МЕХАНИЗМЫ И ОБОРУДОВАНИЕ ПРИ СИЛИКАТИЗАЦИИ И СМОЛИЗАЦИИ

5.59. Работы по силикатизации и смолизации грунтов должны выполняться специально обученной бригадой исполнителей при наличии предусмотренных проектом оборудования и материалов, и только после опробования в производственных условиях всего комплекта оборудования, установок и коммуникаций.

5.60. Продолжение работ после выполнения предусмотренного проектом на первоначальном этапе контрольного закрепления согласно пункту 5.14 допускается лишь при получении положительных результатов этого мероприятия. В противных случаях в проект вносятся необходимые коррективы, а контрольное закрепление повторяется.

5.61. Производство работ по силикатизации и смолизации грунтов последовательно включает следующие основные элементы:

подготовительные и вспомогательные работы, включая приготовление растворов;

работы по погружению в грунты инъекторов или бурение и оборудование инъекционных скважин;

нагнетание закрепляющих реагентов в грунты;

извлечение инъекторов и ликвидация инъекционных скважин;

работы по контролю качества закрепления.

Подготовительные и вспомогательные работы

5.62. До начала основных работ на площадке выполняются подготовительные и вспомогательные работы.

5.63. Разбивку мест размещения скважин и забивных инъекторов следует производить от основных осей сооружений с допустимыми отклонениями ±5 см.

В период подготовительных работ следует:

выполнить подготовку и планировку территории;

подвести электроэнергию, водопровод, а при необходимости и паропровод, обеспечить канализацию;

при необходимости закрепить аварийные конструкции во избежание обрушения;

при необходимости установить инструментальные наблюдения за осадками фундаментов;

выполнить другие мероприятия, обеспечивающие производство работ и контроль качества закрепления.

Состав и объем подготовительных работ уточняется проектом.

5.64. В последующий период вспомогательных работ следует:

разместить на площадке химические реагенты и материалы, обеспечив их правильное складирование и хранение;

смонтировать оборудование и подводящие коммуникации, подключив их к электросети, водопроводу и горячему водоснабжению, а в зимний период утеплив водо- и растворонесущие магистрали;

при объеме закрепления более 10 тыс. м3 грунта оборудовать стационарный узел приготовления растворов;

выполнить разметку мест погружения инъекторов или бурения инъекционных скважин, обеспечив их плановую и высотную привязку;

согласовать безопасность производства работ с электронадзором и лицами, ответственными за подземные коммуникации;

произвести приготовление закрепляющих растворов рабочих концентраций;

выполнить контрольные работы по закреплению грунтов согласно указаниям проекта.

5.65. Емкости для приготовления растворов при силикатизации и смолизации грунтов следует изготавливать с таким расчетом, чтобы их количество и объемы обеспечивали бесперебойную работу участка согласно графику. Емкости должны быть оборудованы устройствами для подогрева и перемешивания растворов.

При работе с кислотами внутренние поверхности емкостей должны быть гуммированы или защищены каким-либо другим способом от воздействия кислот. Возможно применение емкостей из пластика.

Для приготовления растворов могут быть использованы железнодорожные цистерны емкостью 40-60 м3, где перемешивание ведется с помощью сжатого воздуха.

5.66. Для контроля качества приготавливаемых химических растворов на площадке необходимо иметь следующие измерительные приборы:

термометры с градуировкой шкалы от 0 до 100 °С и ценой деления в 1 °С;

стеклянные мерные цилиндры для отбора проб раствора емкостью 250-500 мл;

ареометры для определения плотности растворов с диапазоном измерений от 1,01 до 1,5 г/см3 и ценой деления 0,001 г/см3.

5.67. Химические растворы рабочих концентраций приготавливаются разведением растворов исходных концентраций чистой водой до плотности, указанной в проекте или назначенной после контрольного закрепления. Разведение растворов осуществляется согласно формуле

Qик = (ρрк - ρв) Qрк / (ρик - ρв),                                                    (9)

где Qик - количество исходного раствора закрепляющего химреагента, л; Qрк - количество раствора рабочей концентрации, л; ρик - плотность исходного раствора, г/см3; ρрк - плотность раствора рабочей концентрации, г/см3; ρв - плотность воды, г/см3, принимаемая равной 1.

Количество воды, добавляемое к раствору исходной концентрации при приготовлении раствора рабочей концентрации, находится как разность объемов этих растворов.

Приготовленные растворы целесообразно до их нагнетания отстаивать в течение 1-3 ч, после чего перекачивать в рабочую емкость.

Конструкции инъекторов

5.68. Выбор инъекционного оборудования должен производиться с учетом удельных расходов, давлений и степени агрессивности химических растворов. Для инъекторов, погружаемых забивкой, должны применяться стальные цельнотянутые трубы с внутренним диаметром от 25 до 50 мм. Для нагнетания кислых растворов следует предусматривать применение кислотоупорных насосов.

5.69. Инъекторы представляют собой внедряемые тем или иным способом в грунты специальные устройства, посредством которых осуществляется нагнетание закрепляющих реагентов в грунты под давлением. Для всех способов инъекторы являются наиболее ответственным элементом оборудования, применяемого при инъекционном закреплении грунтов.

5.70. В настоящее время в практике инъекционного химзакрепления грунтов широко применяются инъекторы следующих трех типов конструкций:

забивные инъекторы, предназначенные для силикатизации и смолизации песчаных грунтов одного и того же сечения (рис. 58 и 59), для силикатизации просадочных лёссовых грунтов инъекторы переменного сечения (рис. 59);

инъекторы-тампоны, предназначенные для силикатизации просадочных лёссовых грунтов на большие глубины и для укрепительной цементации грунтов через инъекционные скважины (рис. 60 и 61);

инъекторы манжетно-тампонного типа (рис. 62 и 63), предназначенные для закрепления грунтов через скважины в особо сложных геологических и гидрогеологических условиях.

5.71. При закреплении грунтов по горизонтальной технологии с задавливанием инъекторов из технологических выработок (рис. 64) применяется несколько измененный вариант манжетно-тампонного инъектора, конструктивно приспособленный к задавливанию в грунты колонны труб.

5.72. Забивной инъектор для закрепления песчаных грунтов состоит из наголовника, колонны глухих звеньев труб, перфорированного звена, наконечника и соединительных частей.

Рис. 58. Конструкция забивного инъектора для силикатизации и смолизации песчаных грунтов

а - общий вид; б - перфорированные звенья с резиновыми клапанами; в - то же, с резиновыми кольцами; 1 - наконечник; 2 - перфорированное звено; 3 - соединительный ниппель; 4 - глухое звено; 5 - наголовник, 6 - ниппель наголовника; 7 - прижимная гайка; 8 - штуцер; 9 - хомутик; 10 - заглушка; 11 - шланг

Колонну глухих труб инъектора составляют из звеньев длиной 1-1,5 м, имеющих на концах внутреннюю метрическую резьбу на длине 35 мм. Звенья труб соединяют ниппелем. Перфорированное звено инъектора обычно имеет длину 0,5-1,5 м и отверстия диаметром 2-3 мм.

На рис. 58 показаны инъекторы двух видов:

а) инъектор первого вида изготовлен из цельнотянутой толстостенной трубы, по периметру которой выполнены отверстия диаметром 3 мм, расположенные четырьмя рядами в шахматном порядке из расчета 60-80 отверстий на 1 м длины. Отверстия защищены от засорения грунтом резиновыми клапанами, состоящими из резинового кольца толщиной 1-1,5 мм и металлической шайбы толщиной 1,5 мм;

б) инъектор второго вида, получивший наибольшее распространение, состоит из толстостенной трубы диаметром 32-42 мм, на боковой поверхности ее проточены круговые канавки, в которых просверлены отверстия диаметром 2-3 мм. Отверстия закрыты резиновыми кольцами, уложенными в канавки на глубину 2-3 мм (ширина канавки 8-10 мм).

Толщина стенок цельнотянутых труб не менее 8 мм.

Погружение и извлечение инъекторов, бурение и оборудование инъекционных скважин

5.73. При погружении инъекторов в грунты и бурении скважин следует принимать меры, предупреждающие отклонения инъекторов и скважин от проектного направления установкой кондукторов. Максимальные отклонения не должны превышать при глубине до 40 м - 1 %, а при большей глубине - 0,5 %.

5.74. При силикатизации и смолизации грунтов оснований существующих сооружений в стесненных условиях погружение инъекторов согласно п. 5.42 можно производить из специально пройденных технологических колодцев.

Рис. 59. Конструкция забивного инъектора переменного сечения для силикатизации просадочных лессовых грунтов

1 - наконечник; 2 - перфорированное звено; 3 - переходной ниппель; 4 - глухое звено; 5 - ниппель для соединения глухих звеньев

5.75. Погружение инъекторов в грунты для последующей инъекции закрепляющих реагентов может производиться забивкой, задавливанием и установкой в предварительно пробуренные инъекционные скважины.

Выбор способа погружения зависит от вида грунтов, естественно-исторических условий территории и глубины закрепления.

Способ погружения инъекторов в грунты назначается проектом.

5.76. Погружение инъекторов в грунты забивкой применяют при силикатизации и смолизации песчаных грунтов, а также при закреплении лёссовых грунтов на глубинах менее 15 м.

Способом задавливания обычно осуществляется внедрение инъекторов при химзакреплении грунтов с применением горизонтальной технологии из специальных технологических выработок (рис. 64).

Рис. 60. Инъектор - тампон гидравлический, одинарный для силикатизации просадочных лессовых грунтов в скважинах

1 - шайба; 2 - кольцо уплотнительное; 3 - гайка; 4 - штуцер; 5 - хомут; 6 - шланг для подачи закрепляющих растворов; 7 - резиновая прокладка; 8 - крышка; 9 - муфта опорная; 10 - манжета из вулканизированной резины; 11 - труба перфорированная; 12 - шайба из резины; 13 - головка клапана; 14 - корпус клапана

Погружение и установку инъекторов-тампонов в инъекционные скважины применяют при силикатизации просадочных лессовых грунтов на глубины более 15 м (рис. 65), а также при вспомогательной цементации.

Примечание. При закреплении просадочных грунтов на глубину более 15 м инъекторы могут забиваться в предварительно пробуренные скважины.

5.77. Для забивки инъекторов следует применять ударный инструмент или вибропогружатели, марки и характеристики которых приведены в прил. 18 и прил. 19 (табл. 1 и 2).

Забивка осуществляется по заходкам в последовательности, заданной проектом.

При затруднениях в забивке следует предварительно бурить лидирующие скважины.

При забивке инъекторов через железобетонные плиты фундаментов, стяжки и т.п. в них предварительно бурятся отверстия перфораторами, характеристики которых приведены в прил. 19 (табл. 2).

Рис. 61. Инъекторы - тампоны пневматические

а - одинарный; б - двойной; 1 - заглушка; 2 - гайка; 3 - шайба; 4 - муфта; 5 - штуцер; 6 - шланг для раствора; 7 - шланг для воздуха; 8 - хомут; 9 - хомут; 10 - прокладка; 11 - штуцер; 12 - крышка верхняя; 13 - кольцо уплотнительное; 14 - муфта опорная верхняя; 15 - манжета из вулканизированной резины; 16 - труба; 17 - перфорированная труба; 18 - муфта опорная нижняя

5.78. Перед забивкой инъекторов следует проверять соосность звеньев, надежность их соединения, а при закреплении водонасыщенных грунтов плотность прилегания резиновых колец в выточках перфорированной части. Применение искривленных звеньев не допускается.

В процессе забивки нельзя допускать расшатывания инъектора, так как это приводит к образованию затрубного пространства и выбиванию раствора на поверхность.

Для забивки инъекторов под наклоном следует применять шаблоны или специальные кондукторы, обеспечивающие заданный угол погружения.

5.79. При закреплении грунтов через предварительно пробуренные инъекционные скважины последние могут быть пройдены с использованием бурового оборудования, характеристики которого приведены в прил. 19 (табл. 2 и 5).

Инъекционные скважины должны быть строго ориентированы относительно вертикали, не иметь трещин и глубоких борозд на стенках. По окончании бурения скважины следует очистить ее от насыпного грунта до проектной глубины с помощью специального стакана типа грунтоноса и закрыть деревянной пробкой. Выдаваемый шнеками грунт должен убираться с таким расчетом, чтобы обеспечить использование его в последующем для тампонирования.

Отклонения скважин и инъекторов в плане и по глубине не должны превышать величин, указанных в п. 5.73.

5.80. Для предупреждения выбивания раствора при нагнетании скважины необходимо бурить на двойном расстоянии друг от друга в плане, т.е. через одну. После завершения инъекции по первой группе скважин производится бурение скважин и инъецирование растворов в скважины второй очереди.

Рис. 62. Схема манжетно-тампонного инъектора

1 - манжетный тампон с перфорированной частью 6; 2 - стенка скважины; 5 - колонна труб с отверстиями 3 и резиновыми кольцами 4; 7 - обойменный глиноцементный раствор

Рис. 63. Конструкции манжетных тампонов

а - четырехманжетный; б - двухманжетный щелевой; в - двухманжетный; 1 - ниппель на резьбе; 2, 3 - резиновые или кожаные манжеты; 4 - перфорированная часть; 5 - заглушка

Рис. 64. Схема гидравлического задавливания манжетно-тампонных инъекторов из технологических выработок при силикатизации и смолизации грунтов по горизонтальной технологии

а - вид сбоку; б - вид сверху; 1 - упорная плита; 2 - гидравлические цилиндры; 3 - стальная рама; 4 - подвижная каретка; 5 - инъекторные перфорированные трубы; 6 - резиновые кольца с проколами; 7 - крепление стенок выработки

Рис. 65. Технологическая схема силикатизации просадочных лессовых грунтов через скважины

1 - стенки скважины; 2 - шланг для подачи закрепляющего раствора; 3 - инъектор-тампон; 4 - грунтовый массив, закрепленный двумя заходками

5.81. Бурение инъекционных скважин для вспомогательной цементации контакта фундамента с основанием при силикатизации и смолизации грунтов под существующими сооружениями рекомендуется производить колонковыми станками, сплошным забоем с продувкой воздухом. В стесненных условиях допускается бурение пневмоударными станками.

Бурение ведется наклонными скважинами через обратную засыпку с установкой обсадной трубы, затем по фундаменту с небольшим заглублением в грунты основания.

Расстояние между скважинами 2-3 м. Проектом должна быть определена очередность, в соответствии с которой допускается одновременное бурение и инъекция скважины.

Нагнетание закрепляющих реагентов в грунты

5.82. Для нагнетания закрепляющих растворов в грунты следует применять пневматические баки, насосы, либо установки, смонтированные на базе дозировочных агрегатов (рис. 66-68). Последние позволяют осуществлять непрерывное приготовление и нагнетание раствора с регулировкой его плотности и расхода.

Применяемое оборудование должно обеспечивать поддержание требуемого режима нагнетания (плавное нарастание расхода раствора во времени с фиксацией давления). Режим нагнетания отрабатывается в процессе контрольных работ.

Рис. 66. Технологическая схема приготовления гелеобразующей смеси при однорастворной силикатизации и смолизации грунтов

1 - автоцистерна; 2 - емкость для отвердителя исходной концентрации; 3 - емкость для отвердителя рабочей концентрации; 4 - дозатор для отвердителя; 5 - емкости для гелеобразующей смеси; 6 - насосы для нагнетания закрепляющих растворов в грунты; 7 - дозатор для крепителя; 8 - емкость для крепителя рабочей концентрации; 9 - насосы для перекачки растворов; 10 - емкость для крепителя исходной концентрации; 11 - компрессор для перемешивания растворов сжатым воздухом; 12 - хранилище для крепителя

Рис. 67. Технологические схемы нагнетания закрепляющих растворов в грунты

а - с использованием пневмобака; б - насоса; в - дозировочного агрегата; 1 - пневмобак; 2 - насос; 3 - дозировочный агрегат; 4 - емкость с раствором; 5 - смеситель; 6 - распределитель; 7 - счетчики расхода; 8 - инъекторы

5.83. Оборудование для нагнетания растворов должно быть оснащено следующей, контрольно-измерительной аппаратурой:

обычными либо электроконтактными манометрами, рассчитанными на давление до 0,6-1 МПа с ценой деления шкалы 0,01 МПа;

счетчиками расхода с погрешностью измерения до ±2 % и ценой деления не более 0,005 м3;

секундомером или часами.

Рис. 68. Схема пневматической установки для нагнетания закрепляющих растворов в грунты

1 - патрубок с вентилем для подачи раствора к инъекторам; 2 - люк для осмотра и чистки емкости; 3 - патрубок с вентилем для подачи сжатого воздуха; 4 - вентиль, регулирующий давление; 5 - манометр; 6 - предохранительный клапан; 7 - контрольный вентиль; 8 - корпус емкости; 9 - шкала расхода; 10 - водомерное стекло; 11 - патрубок с вентилем для отбора проб растворов; 12 - салазки

Шланги для подачи раствора должны быть рассчитаны на рабочее давление 0,6-1 МПа и иметь условный проход не менее 20-25 мм.

5.84. Нагнетание рабочего раствора должно производиться по заходкам в объеме и в технологической последовательности, предусмотренной проектом. Количество раствора и его плотность, порядок нагнетания и величина заходок, а также диаметр скважин могут быть изменены проектной организацией по результатам контрольного закрепления.

5.85. Перед нагнетанием реагентов в грунты инъектор должен быть промыт водой или продут воздухом под давлением, не превышающим предельно допустимого давления, указанного в проекте. Количество подаваемой воды должно назначаться таким образом, чтобы обеспечить освобождение от раствора перфорированной части инъектора или действующей части скважины.

Порядок нагнетания растворов по глубине зависит от способа погружения, характера и степени однородности грунта по водопроницаемости. Очередность устанавливается проектом.

5.86. При двухрастворной силикатизации грунтов в сплошном массиве жидкое стекло и раствор хлористого кальция нагнетаются рядами с чередованием инъекторов через один ряд. Раствор хлористого кальция следует нагнетать как можно быстрее после нагнетания жидкого стекла. Перерывы между нагнетанием жидкого стекла и хлористого кальция не должны быть более указанных в табл. 38.

Таблица 38

№ п.п.

Скорость грунтовых вод, м/сут

Перерывы, ч

1

0

24

2

0,5

6

3

1,5

2

4

3

1

Примечание. При промежуточных значениях скорости грунтовых вод длительность перерывов определяется по интерполяции.

При двухрастворном способе силикатизации песчаных грунтов каждый раствор нагнетается отдельным насосом. Смешения растворов в баках, шлангах, насосах и инъекторах допускать нельзя. Оборудование, использованное для нагнетания жидкого стекла, может использоваться и для нагнетания раствора хлористого кальция (или наоборот) только после тщательной промывки его горячей водой.

5.87. При сплошном закреплении песков однорастворными способами силикатизации и смолизации растворы нагнетаются рядами инъекторов последовательно, т.е. в первый ряд, затем во второй и т.д. В рядах растворы нагнетаются через одни инъектор.

5.88. Давление при нагнетании растворов в грунты устанавливается проектом и корректируется по результатам контрольного закрепления.

При закреплении грунтов под существующими сооружениями оно не должно превосходить нагружающего давления по подошве фундаментов.

5.89. Закрепление песчаных грунтов однорастворными двухкомпонентными способами силикатизации и смолизации рекомендуется производить по технологической схеме организации инъекционных работ, согласно рис. 66, составленной для случая смолизации.

Химические реагенты по этой схеме хранятся в специально отведенных для этой цели складах. Раствор смолы рабочей концентрации готовится попеременно в одной из двух частей емкости 8. Смола подается со склада насосом, затем готовый раствор смолы самотеком поступает в один из дозаторов, оборудованных водомерными стеклами с тарированной шкалой. В этот же дозатор самотеком поступает кислота из мерной емкости 4 в заданном количестве. Приготовленный гелеобразующий раствор поступает к насосу и закачивается в инъектор.

По мере расходования гелеобразующего раствора из первой половины емкости во второй половине готовится новый объем раствора.

Рис. 69. Переносной распределитель, применяемый при нагнетании химических растворов в грунты

1 - краны для регулирования расхода; 2 - расходомер; 3 - манометры; 4 - сифоны, заполненные маслом; 5 - подставка; 6 - напорные шланги

Для приготовления рабочего раствора кислоты из цистерны концентрированная кислота самотеком переливается в емкость 2, заглубленную в землю и предварительно наполненную водой в расчетном количестве. Отсюда кислота перекачивается насосом в емкость, установленную на эстакаде. В этой емкости производят окончательную доводку плотности кислоты до заданной величины. Из емкости через систему кранов рабочий раствор кислоты самотеком поступает в дозатор, служащий для подачи заданного объема кислоты в смесь с крепителем.

5.90. Величина расхода при нагнетании закрепляющих растворов или смесей от одного инъектора или действующей части скважины назначается проектом и уточняется при контрольном закреплении. В процессе нагнетания величина расхода жидких реагентов контролируется по расходомерной шкале или счетчику-расходомеру.

5.91. При закреплении грунтов под вновь строящиеся здания для предупреждения выбивания раствора на поверхность над закрепляемым массивом должен быть оставлен защитный слой грунта толщиной не менее 1 м. Вместо защитного слоя из грунта можно устраивать бетонную плиту толщиной 10-15 см марки не менее 59. Для бурения скважин или забивки инъекторов в плите оставляются отверстия.

5.92. При нарушении нормального хода процесса нагнетания раствора в грунт нагнетание следует прекратить и возобновить только после устранения причин, вызвавших нарушения.

Нагнетание растворов допускается производить при температуре грунта в зоне закрепления не ниже 0 °С.

5.93. Для обеспечения качественной пропитки грунта при радиусах закрепления 0,7 м и более вязкость растворов силиката может быть снижена добавкой пластификатора или подогрева до температуры 40-60 °С.

5.94. При газовой силикатизации порядок нагнетания растворов устанавливается проектом и уточняется в процессе контрольного закрепления в следующей последовательности: углекислый газ, раствор силиката натрия и снова газ.

Количество углекислого газа, кг, при газовой силикатизации для предварительной активизации грунтов и отверждения раствора силиката натрия в общем случае рассчитывается соответственно по формулам:

Аг = Qгр nbρг,                                                                 (10)

Бг = Qгр ncρг,                                                                  (11)

где Qгр - объем закрепляемого грунта, м3; п - пористость грунта в долях единицы; ρг - плотность углекислого газа, кг/м3; b - коэффициент, равный 2,5; с - коэффициент, равный: для песчаных грунтов - 8, для просадочных - 4.

5.95. Для нагнетания углекислого газа в грунт применяются следующее оборудование и контрольно-измерительная аппаратура:

баллоны для газа;

углекислотные редукторы, оборудованные электрообогревательным элементом (рис. 70);

манометры высокого и низкого давления (цена деления не более 0,01 МПа);

весы для определения расхода газа с пределом взвешивания до 150 кг и с точностью не менее 0,1 кг,

понижающий трансформатор, обеспечивающий на низкой стороне напряжение 12 В;

напорные шланги с внутренним диаметром 12-19 мм, рассчитанные на давление до 1 МПа.

Нагнетание углекислого газа в грунт производятся плавно в режиме заданного проектом давления, определенного при контрольных работах по закреплению грунтов.

Рис. 70. Схема нагнетания углекислого газа в грунты при газовой силикатизации с использованием электрообогревательного элемента

1 - напольные весы; 2 - баллон с углекислым газом; 3 - редуктор; 4 - электрообогревательный элемент; 5 - патрубок; 6 - корпус; 7 - электроизоляционная набивка; 8 - спираль; 9 - клеммы; 10 - инъектор

5.96. Баллон с углекислым газом, оборудованный редуктором, устанавливается на весах. После взвешивания баллона газ через редуктор подается по шлангу к инъектору или инъектору-тампону. Во избежание промерзания редуктора последний прогревается в процессе работ электронагревательным элементом. По разнице массы баллона до и после нагнетания определяется расход газа.

Давление при нагнетании газа для активизации грунта не должно превышать 0,15-0,2 МПа, а при подаче газа для отверждения силикатного раствора находится в пределах 0,4-0,5 МПа.

Нарушение режима подачи газа и превышение предельных значений давлений может привести к разрывам грунта, а следовательно, к нарушению однородности закрепления.

Перерыв во времени между нагнетанием силиката и газа не должен превышать 30 мин.

Расстояние между инъекторами или скважинами, через которые одновременно производится нагнетание газа, должно быть не менее 6 радиусов закрепления.

5.97. При инъекционном закреплении грунтов всеми способами сбрасывание давления в нагнетательных системах при окончании нагнетания должно производиться постепенно и медленно. Резкое сбрасывание давления может вызывать пробковое засорение перфорированной части инъекторов, значительно осложняющее производство работ.

После окончания инъекционных работ инъекторы извлекаются из грунта при помощи гидравлических, реечных домкратов или других приспособлений грузоподъемностью 5-10 т.

Во избежание выбивания растворов через использованные скважины последние тампонируются грунтом, смешанным с цементом в соотношении 8:1.

В конце смены все оборудование, находящееся в соприкосновении с растворами, промывается горячей водой и продувается сжатым воздухом.

Вспомогательная цементация при силикатизации и смолизации

5.98. Цементация выполняется густыми растворами с В:Ц 1-0,8. Для улучшения свойств, а также в целях получения минимального водоотделения в раствор добавляются бентонит в количестве до 10 % от массы цемента. Марка цемента не ниже 300.

Рабочий раствор приготавливается в следующей последовательности: вода - бентонит - цемент. Время перемешивания бентонита с водой в зависимости от его качества 20-60 мин. Время перемешивания цемента - 5 мин.

Раствор должен отвечать следующим требованиям: плотность 1,48-1,52 г/см3, расплыв по конусу АзНИИ 16-20, водоотделение не более 2-3 %.

В течение смены должны отбираться образцы раствора для определения его характеристик, а также кубиковой прочности на 7-е и 28-е сутки.

5.99. Цементация производится через тампоны, разжимаемые в фундаментах.

В тех случаях, когда выполнение этой операции затруднительно: глубокое заложение фундаментов, их незначительная мощность (плита), плохое состояние кладки - допускается установка тампона в обсадной трубе. С этой целью проектом должна быть предусмотрена цементация затрубного пространства обсадной трубы. После выстойки скважина разбуривается вновь.

5.100. Цементация должна производиться до условного отказа, за который принимается установившийся в течение 5-10 мин расход 0,5 л/мин при установленном проектом максимальном давлении.

Однако учитывая, что в условиях цементации под существующими сооружениями всегда существует опасность вывода подземных коммуникаций из строя из-за случайных выходов в них растворов, объемы закачиваемого раствора в скважину на практике ограничиваются обычно нормой в 3-6 м3. С этой же целью удельный расход снижается до 50 л/мин.

Службы эксплуатации сооружения обязаны следить за возможными выходами цементных растворов в систему подземных коммуникаций и каналов и в случаях выходов своевременно извещать об этом исполнителей цементационных работ.

Рабочее давление уточняется в ходе производства работ и обычно не превышает 0,2-0,3 МПа.

5.101. Нагнетание растворов выполняется, как правило, без перерывов.

Остановки в процессе нагнетания допускаются в следующих необходимых случаях:

раствор обходит тампон и изливается из скважины;

раствор изливается из соседних скважин;

при выходе раствора через трещины на поверхность;

при выходе раствора в подземные коммуникации, каналы.

Во всех этих случаях тампон извлекается, скважине дается выстойка в течение 1 сут, после чего цементный камень разбуривается и нагнетание производится повторно.

5.102. После завершения работ на отдельных фрагментах обсадные трубы извлекаются и скважины ликвидируются глиноцементным или цементно-песчаным раствором. Ликвидация скважин производится через опущенную на забой и постепенно поднимаемую трубу.

5.103. После инъекции тампон промывается водой. Непременное условие промывки - слив промывных вод в емкости, из которых они перекачиваются в общую емкость или зумпф на растворном узле, откуда жидкость вывозится автоцистернами в установленное заказчиками место слива. Эти же требования распространяются на промывку всей цементационной системы. Для этого проектом предусматриваются технологические линии перекачки промывных вод.

В ходе работ по данным исполнительной документации назначаются контрольные, а при необходимости и дополнительные рабочие скважины.

Дополнительные, более подробные данные о технологии и производстве работ для вспомогательной цементации содержатся также в подразделе «Цементация» настоящего Пособия, где говорится о цементации пустот и трещин в грунтах.

КОНТРОЛЬ КАЧЕСТВА РАБОТ ПО СИЛИКАТИЗАЦИИ И СМОЛИЗАЦИИ

5.104. В условиях исключительной скрытости производства работ по химзакреплению грунтов силикатизацией и смолизацией и естественной неоднородности грунтовой среды существуют определенные, нередко значительные, трудности в обеспечении необходимого качества закрепления. Учитывая это, действующие нормы и правила предъявляют повышенные требования к контролю качества работ по закреплению грунтов.

5.105. Качество работ по силикатизации и смолизации грунтов, отвечающее соответствующим требованиям нормативных документов и проекта к их закреплению в части форм и размеров закрепленных массивов, их сплошности и однородности, прочностных, деформационных и других физико-механических свойств закрепленных грунтов, определяется:

правильностью выбора конкретного способа закрепления;

соответствием требованиям проекта качества исходных химических и других применяемых материалов и рабочих (переработанных) закрепляющих реагентов (растворов, гелеобразующих смесей, газов);

правильностью заложенных в проект расчетных параметров и технических условий на производство работ;

наконец, качеством исполнения проектных расчетных параметров и технических условий при производстве работ.

5.106. Для обеспечения необходимого качества закрепления грунтов производство работ должно сопровождаться комплексом соответствующих контрольных мероприятий с обязательным ведением исполнительной документации по этим мероприятиям.

5.107. Согласно СНиП 3.02.01-83 контроль качества закрепления грунтов способами силикатизации и смолизации достаточно надежно обеспечивается выполнением следующих контрольных мероприятий:

проверкой качества исходных химических материалов;

операционной проверкой качества рабочих закрепляющих реагентов при производстве работ;

опытной проверкой заложенных в проект расчетных параметров закрепления и технических условий на производство работ;

контролем исполнения при производстве работ заложенных в проект расчетных параметров закрепления и заданных им технических условий;

проверкой соответствия требованиям проекта характеристик физико-механических свойств закрепленных грунтов, а также однородности закрепления;

проверкой проектных форм и размеров закрепленных массивов, а также сплошности закрепления;

наконец, при усилении или устройстве оснований и фундаментов зданий и сооружений из закрепленных грунтов, инструментальными геодезическими наблюдениями за осадками фундаментов.

5.108. Мероприятия по контролю качества работ по закреплению грунтов должны быть заложены в проект.

5.109. Для проверки требований ГОСТов и проекта к качеству применяемых при силикатизации и смолизации грунтов исходных и рабочих реагентов (растворов гелеобразующих смесей, газов) на месте работ должны быть организованы систематические лабораторные определения соответствующих характеристик материалов.

5.110. Проверка качества исходных материалов осуществляется до начала инъекционных работ лабораторными определениями следующих характеристик:

для раствора силиката - плотности и модуля;

для карбамидных смол - плотности, вязкости и содержания свободного формальдегида.

Предназначенные к применению указанные и другие химреагенты и материалы должны, кроме того, удовлетворять требованиям соответствующих ГОСТов.

Лабораторные определения характеристик исходных химических материалов выполняются согласно прил. 15 (модуль силиката), а в остальных случаях по соответствующим ГОСТам.

Проверка качества исходных материалов должна производиться для каждой новой поступающей на стройплощадку партии материала.

5.111. Операционная проверка качества рабочих закрепляющих реагентов осуществляется путем измерений и определений соответствующих характеристик непосредственно в процессе инъекционных работ, перед их нагнетанием в грунты:

плотности и температуры растворов силиката и хлористого кальция при двухрастворной силикатизации песков и одного силиката при однорастворной однокомпонентной силикатизации просадочных лёссовых грунтов;

времени гелеобразования закрепляющих смесей при однорастворной двухкомпонентной силикатизации и смолизации.

Время гелеобразования контролируется непрерывно в процессе инъекционных работ отбором проб из каждой приготовленной для закачки порции закрепляющей смеси на заходку.

5.112. Проверка правильности заложенных в проект расчетных параметров закрепления и технических условий на производство работ при силикатизации и смолизации грунтов (радиуса, величины заходки по глубине, единичного объема химреагента на одну заходку, величины расхода и давления при нагнетании, данных для предварительной активизации грунтов, прочностных, деформационных и других характеристик закрепленных грунтов) осуществляется посредством контрольного закрепления непосредственно при производстве работ, на их начальной стадии и по ходу дальнейших работ.

5.113. Контрольное закрепление грунтов осуществляют на ограниченных участках объекта, строго соблюдая при этом все проектные параметры и технические условия, при тщательном выполнении мероприятий по контролю качества исходных материалов и рабочие закрепляющих химреагентов. После завершения на каждом контрольном участке инъекционных работ производят вскрытие закрепленных массивов контрольными шурфами и скважинами, с последующим обследованием, отбором проб и лабораторными определениями физико-механических характеристик закрепленных грунтов.

При выявлении несоответствия результатов контрольного закрепления с проектными требованиями в расчетные параметры и технические условия авторским надзором вносятся необходимые коррективы, после чего контрольные закрепления повторяются до устранения несоответствия.

Объем работ по контрольному закреплению устанавливается проектом в зависимости от объема закрепления, однородности грунтовых и других инженерно-геологических условий.

5.114. Для контроля за исполнением проектных расчетных параметров и технических условий, производство работ по химзакреплению грунтов должно сопровождаться обязательной фиксацией указанных в п. 5.111, 5.112 и других технологических данных в рабочем журнале и исполнительной документации. Рекомендуемые формы журналов производства работ для всех инъекционных способов химзакрепления грунтов приведены в прил. 21 (табл. 1-4).

Контроль качества исполнения проекта в этом случае заключается в систематической проверке соответствия зафиксированных в исполнительной документации технологических данных при производстве работ с соответствующими проектными данными, а также в периодической проверке достоверности ведения исполнительной документации, сопоставлении записей с действительностью.

При вскрытии каких-либо отступлений от проекта авторским надзор и производители работ должны оперативно принять необходимые меры к их устранению, а также меры по восстановлению некачественно обработанных участков в закрепляемом грунтовом массиве.

5.115. Контроль заданных проектом форм и размеров закрепленных грунтовых массивов, а также требований в отношении сплошности и однородности закрепления может осуществляться посредством следующих контрольных мероприятий, выполняемых по завершении всех инъекционных работ на объекте:

вскрытием области закрепления контрольными шурфами и скважинами и соответствующим обследованием качества закрепления грунтов;

прощупыванием и фиксацией контуров закрепленных массивов способами статического или динамического зондирования, руководствуясь соответствующими ГОСТами на испытания;

обследованием области закрепления геофизическими методами (радиометрическим, электрометрическим или сейсмоакустическим): описание техники контроля качества закрепления геоэлектрическим методом применительно к силикатизации приведено в прил. 22.

Применение для этих целей геофизических методов экономически целесообразно при больших объемах закрепления грунтов в комплексе с бурением и шурфованием.

При обнаружении несоответствии с требованиями проекта в части формы, размеров и сплошности закрепленных массивов, а также качества закрепленных грунтов, авторским надзором назначаются, а производителями работ выполняются дополнительные инъекционные работы, результаты которых проверяются повторно до устранения дефектов.

5.116. Пространственное расположение всех средств контроля качества закрепления в закрепляемом массиве осуществляется исходя из необходимости равномерного охвата области закрепления во всех трех измерениях.

5.117. Основная роль в оценке качества инъекционного химзакрепления грунтов принадлежит вскрытию и обследованию закрепленных массивов шурфами и скважинами с отбором проб и лабораторным определением физико-механических характеристик закрепленных грунтов, поэтому контроль качества закрепления с помощью этих мероприятий обязателен при любом назначении закрепления и при любом способе закрепления.

5.118. Характеристики физико-механических свойств закрепленных грунтов, необходимые для оценки и контроля качества закрепления выбираются в зависимости от назначения закрепления и применяемого способа.

При устройстве основания или фундаментов из закрепленных грунтов, независимо от применяемого способа, определяют весь комплекс прочностных и деформационных характеристик закрепленных грунтов, предусмотренный для расчета по предельным состояниям, а также водоустойчивость.

В отдельных случаях может быть назначено и другое сочетание характеристик, однако испытание закрепленных грунтов на прочность при одноосном сжатии и на водостойкость во всех случаях является обязательным.

Определение прочности при одноосном сжатии, одной из важнейших характеристик закрепленных грунтов, выполняется согласно прил. 17; другие характеристики закрепленных грунтов определяют согласно действующим нормам и пособиям (руководствам) на изыскания и проектирование оснований и фундаментов сооружений и соответствующим ГОСТам.

5.119. Количество и расположение контрольных скважин и шурфов, мест геофизических исследований, или мест зондирования, количество и качество отбираемых при бурении или шурфовании проб закрепленных грунтов, состав определяемых в лаборатории физико-механических характеристик закрепленных грунтов, а также другие необходимые дополнительные рекомендации по контролю качества закрепления грунтов назначаются проектом. При необходимости места расположения контрольных выработок могут устанавливаться также представителями авторского надзора непосредственно на месте работ.

Количество контрольных скважин ориентировочно должно составлять 3-5 % общего количества инъекционных скважин, а число шурфов назначается примерно из расчета один шурф на 2-3 тыс. м3 закрепленного грунта, но не менее двух шурфов на объект.

5.120. К вскрытию контрольных шурфов и бурению контрольных скважин следует приступить не менее чем через семь суток после окончания инъекционных работ.

Проходка шурфов должна производиться с обязательным креплением стенок, руководствуясь действующими нормами и пособием на изыскательские работы в строительстве.

При проходке шурфов производится отбор проб закрепленных грунтов и делается описание характера и особенностей закрепления с зарисовками и с визуальной оценкой качества закрепления.

5.121. Контрольное бурение осуществляется колонковыми способами, диаметр скважин должен быть не менее 84 мм. При бурении делается описание извлекаемых кернов из закрепленных грунтов с визуальной оценкой качества закрепления; образцы (керны) закрепленных грунтов для лабораторных исследований отбираются приблизительно через каждые 0,8-1 м по глубине.

5.122. При отборе, упаковке и хранении образцов закрепленных грунтов из шурфов и скважин следует руководствоваться ГОСТ 12071-84.

5.123. Шурфы после обследования и отбора закрепленных образцов засыпают вынутым грунтом при поливе водой и тщательном трамбовании. Отверстия, оставшиеся после бурения контрольных скважин, ликвидируются тампонированием цементным раствором.

5.124. При закреплении грунтов с целью усиления или устройства оснований и фундаментов сооружений качество закрепления, его результат и эффективность окончательно оцениваются по результатам инструментальных геодезических наблюдений за осадками фундаментов, которые выполняются руководствуясь ГОСТ 24846-81.

5.125. Приемка законченных работ по закреплению грунтов должна установить соответствие фактически полученных результатов закрепления с требованиями проекта. Учитывая скрытый характер работ, установление этого соответствия при приемке работ осуществляется на основании сопоставления проектной, исполнительной и контрольной документации.

5.126. При сдаче-приемке законченных работ кроме проекта должна быть предъявлена следующая исполнительная документация:

технические паспорта и документы с результатами проверки качества исходных химических материалов;

документы с результатами проверки качества рабочих реагентов;

журналы погружения инъекторов, бурения скважин и нагнетания реагентов;

планы, профили и сечения закрепленного грунтового массива с указанием действительного расположения инъекторов и инъекционных скважин и с нанесением исполнительных данных нагнетания химреагентов, а также с указанием расположения контрольных выработок;

акты вскрытия контрольных шурфов, журналы контрольного бурения и результаты определения физико-механических характеристик закрепленных грунтов;

журналы наблюдений за скоростью движения и уровнем грунтовых вод по пьезометрам;

ведомости или графики с результатами инструментальных наблюдений за осадками фундаментов сооружений.

Примечание. При условии непрерывного наблюдения за производством работ со стороны авторского надзора, состав предъявляемых при приемке работ материалов может быть ограничен рабочими журналами и актами освидетельствования скрытых работ согласно документации контрольных мероприятий.

На основании анализа содержащихся в перечисленных документах данных и результатов и сопоставления их с требованиями проекта составляются акт-заключение о качестве выполненных работ и их приемке.

В случае если при приемке работ будут выявлены те или иные несоответствия с требованиями проекта, проектная организация назначает необходимые дополнительные инъекционные работы. После выполнения дополнительных инъекционных работ при соответствующих мероприятиях по контролю качества производится повторная приемка работ.

ТЕХНИКА БЕЗОПАСНОСТИ И ОХРАНА ОКРУЖАЮЩЕЙ СРЕДЫ ПРИ СИЛИКАТИЗАЦИИ И СМОЛИЗАЦИИ

5.127. При закреплении грунтов способами силикатизации и смолизации должны неукоснительно соблюдаться общие требования по технике безопасности, охране труда и окружающей среды на строительных и других работах согласно п. 5.19, 5.20. Особенно строго при этом должны выполняться соответствующие этим способам специальные требования и правила, обусловленные применением химических материалов, в особенности наиболее токсичных химреагентов.

5.128. При организации и производстве работ необходимо строго выполнять мероприятия, исключающие загрязнение почвы, подземных вод и атмосферного воздуха. В частности, должны выполняться изложенные в предыдущем разделе требования: по транспортировке химреагентов, их складированию; приготовлению рабочих растворов; производству инъекционных работ; промывке технологического оборудования; эвакуации технологических отходов.

5.129. До начала производства работ рабочие и инженерно-технический персонал должны пройти курс обучения безопасным методам труда по программе, включающей:

общестроительные работы - 2 ч;

электрические устройства и электросети - 2 ч;

правила устройства, содержание и обслуживание воздушных компрессоров, сосудов и воздуховодов, работающих под давлением, - 4 ч;

техника безопасности в условиях действующих предприятий - 2 ч.

После проверки знаний техники безопасности каждому работнику выдается удостоверение.

5.130. Категорически запрещается допускать рабочих к работе по химическому закреплению грунтов без специального обучения безопасным методам труда, инструктажа на рабочем месте и медицинского освидетельствования.

Знание и соблюдение требований техники безопасности обязательны для всех исполнителей работ.

5.131. Все рабочие, занятые на работах по химическому закреплению грунтов, должны иметь спецодежду (хлопчатобумажные плотные костюмы или комбинезоны, а при работе с кислотами - суконные костюмы), резиновые перчатки и обувь, защитные очки, каски, в случае необходимости респираторы. Запрещается даже кратковременное пребывание без спецодежды и средств индивидуальной защиты в атмосфере, содержащей пыль, туман и пары химических продуктов.

5.132. Подходы и подъезды к складу химматериалов и растворным узлам должны быть свободными от материалов и оборудования. В зимнее время проходы и проезды должны быть своевременно очищены от снега и льда и посыпаны песком или шлаком.

В пестах интенсивного движения автотранспорта участок, где ведутся инъекционные работы, должен быть огражден и оборудован предупредительными табличками и световыми сигналами.

При работах в темное время суток растворный и инъекционные узлы, подходы, участок работы и трасса напорных магистралей обеспечиваются освещением.

5.133. Хранение химических реагентов и других материалов должно осуществляться в специально отведенных местах. Резервуары для хранения химических реагентов должны быть снабжены надежными крышками с запорами.

5.134. Организация рабочего места должна обеспечивать безопасность выполнения работ. Доступ посторонних лиц к месту работ категорически запрещается, о чем должны предупреждать таблички с соответствующей надписью.

Рабочее место должно быть обеспечено индивидуальными средствами защиты, а также полевой аптечкой для оказания первой помощи, с бинтами, растворами аммиака, йода, соды и борной кислоты. Аптечку следует установить в непосредственной близости от рабочего места.

В помещениях должны быть вывешены основные правила безопасности эксплуатации механизмов, содержащие сведения о предельно допустимых давлениях, системе сигнализации, о работе с химическими материалами.

Перед началом работ по химзакреплению грунтов в закрытых помещениях необходимо проверить состав воздуха, состояние вентиляционных устройств и освещение рабочего места.

5.135. Производство работ в стесненных закрытых помещениях должно производиться с применением принудительной вентиляции. Расчет вентиляции производится по нормам для горных выработок. Содержание углекислого газа в воздухе не должно превышать на рабочих местах 0,5 %. Для определения содержания углекислого газа при работе в закрытых помещениях рекомендуется использовать предохранительную (шахтную) лампу. Нормальное горение бензиновой лампы, поставленной в нижней части помещения, указывает на отсутствие опасной для людей концентрации углекислого газа.

5.136. Содержание свободного формальдегида в воздухе на рабочих местах при смолизации грунтов не должно превышать 0,5 мг/м3. Для контроля состояния воздуха на растворных и инъекционных узлах, а также в помещениях, где производятся работы, следует привлекать районные эпидемические станции.

5.137. Помещение растворного узла обеспечивается вытяжной вентиляцией, отапливается, имеет внутренние вводы канализации и воды, естественное освещение.

Растворный и инъекционные узлы должны иметь хорошую звуковую или телефонную связь с рабочими местами, для хранения спецодежды в помещении растворного узла оборудуют шкафы, устраиваемые на растворном узле «приямки» для растворов ограждаются и закрываются щитами.

5.138. Механическое оборудование и емкости устанавливаются на прочных фундаментах.

При монтаже электросилового оборудования необходимо, чтобы электрические рубильники были закрыты кожухами и запирались. Кожухи рубильников и все электромеханизмы должны быть надежно заземлены. Прокладка электропитающих линий по земле не допускается. Все работы, связанные с подключением и ремонтом электромеханизмов, должны выполняться ответственным лицом, имеющим индивидуальные средства защиты.

5.139. Электродвигатели и пусковая аппаратура на растворном и инъекционных узлах должны быть надежно защищены от попадания на них растворов. Пусковые кнопки необходимо располагать на отдельном щите в непосредственной близости от мастера и иметь надписи с указанием включаемого механизма. Кнопки отключения электродвигателей имеют красный цвет и надпись «Стоп».

5.140. Рабочие емкости для приготовления закрепляющих растворов и смесей должны герметически закрываться.

Применение нагнетательных шлангов разрешается только после их испытания при давлении, в 1,5 раза превышающем рабочее. Испытание оформляется актом и отмечается в паспорте.

Перед погружением инъектора в грунт или опусканием инъектора-тампона в скважину необходимо убедиться в их исправности. Нахождение рабочих непосредственно вблизи скважин во время нагнетания раствора не допускается.

5.141. Воздушные компрессоры должны быть оборудованы манометрами, предохранительными клапанами, маслоотделителями и воздушными фильтрами на всасывающем патрубке.

Воздухосборники и сосуды, работающие под давлением, должны быть зарегистрированы в соответствующих республиканских и ведомственных органах котлонадзора. На каждом сосуде после его регистрации должны быть нанесены краской на видном месте или на специальной табличке следующие данные:

регистрационный номер;

допускаемое давление;

дата (месяц, год) следующего технического осмотра и гидравлического испытания.

Разрешение на пуск в работу сосудов, подлежащих регистрации в органах котлонадзора выдается инспектором Госгортехнадзора после их технического освидетельствования.

Сосуды должны устанавливаться так, чтобы был обеспечен свободный доступ к ним для осмотра, очистки и ремонта. Установка сосудов должна исключать их опрокидывание.

Обслуживание сосудов и баллонов с газом может быть поручено лицам, достигшим 18-летнего возраста, прошедшим производственное обучение, аттестацию в квалификационной комиссии и инструктаж по безопасным методам труда.

5.142. Баллоны с углекислым газом должны быть снабжены стальными колпаками, исправным редукционным вентилем с предохранительным клапаном и заглушкой, навернутой на боковой штуцер вентиля. Они должны иметь в верхней сферической части клеймо с указанием марки завода-изготовителя, номера, года изготовления, массы баллона, рабочего и пробного давления в МПа, штамп ОТК, штамп инспектора о сроке следующего испытания.

5.143. Перевозка порошкообразных химреагентов должна быть обеспечена упаковкой, исключающей их потери во время транспортировки.

Жидкие химреагенты, поставляемые в железных бочках и в стеклянной таре, перевозятся в заводской упаковке. Другие жидкие химреагенты должны перевозиться в автоцистернах или в специально подготовленных герметически закрываемых емкостях.

Баллоны с углекислым газом транспортируются в вертикальном положении. При этом платформа, на которой устанавливаются баллоны, должна иметь устройства, предохраняющие их от падения.

5.144. Помещение склада должно отапливаться, иметь внутренние вводы водопровода и канализации, вытяжную принудительную вентиляцию, а также естественное и электрическое освещение.

Полы складских помещений должны иметь ровную гладкую и легко моющуюся поверхность, а также уклон для стока и отвода промывной воды.

Склад обеспечивается средствами индивидуальной защиты работающих, аптечкой для первой помощи и телефонной связью. Работники склада обеспечиваются спецодеждой в соответствии с установленными нормами.

5.145. Баллоны с углекислым газом надлежит хранить в помещениях с температурой не выше 25 °С, в вертикальном положении. При временном хранении на открытом воздухе они должны быть закрыты от непосредственного воздействия солнечных лучей.

Места хранения баллонов оборудуются ограждением, предохраняющим их от падения. Порожние баллоны должны храниться отдельно от баллонов, заполненных газом. Вентили баллонов должны быть закрыты предохранительными клапанами. Приемка, хранение и отпуск баллонов для использования без предохранительных клапанов запрещается.

Баллоны с углекислым газом запрещается держать вблизи паровых труб, радиаторов отопления, электропроводов и нагревательных приборов. Расстояние от таких источников тепла должно быть не менее одного метра, а от сильных источников - 5 м.

Для перемещения баллонов на стройплощадке следует применять ручные тачки.

5.146. Особого внимания требует хранение сильнодействующих ядовитых веществ (СДЯВ), к которым, в частности, относятся серная и соляная кислоты. Эти вещества должны храниться в отдельном складе с двумя входами, обеспечивающими сквозное проветривание.

Хранение таких материалов под открытым небом, навесом, в сырых помещениях и подвалах запрещается.

Помещение для хранения и разлива СДЯВ должно быть обеспечено кроме постоянно действующей вентиляции и естественного притока воздуха еще и аварийной принудительной вентиляцией.

Отпуск и хранение СДЯВ производится в заводской таре. Для транспортировки этих материалов на стройплощадке используются ручные тачки.

Трубопроводы, предназначенные для жидких СДЯВ, изготавливаются из стальных цельнотянутых труб, соединяемых сваркой с минимальным количеством фланцев.

Помещение склада для хранения СДЯВ должно быть обеспечено средствами пожаротушения в соответствии с установленными нормами.

5.147. При бурении скважин, проходке шурфов и отборе монолитов из зон закрепления необходимо выполнять требования техники безопасности на инженерно-геологических работах.

5.148. В процессе приготовления и нагнетания закрепляющих растворов нельзя допускать проливания их на землю. В случае утечек смоченный химическим раствором участок следует присыпать слоем грунта толщиной 5-10 см, рабочее место должно быть сухим и чистым. Во время перемешивания растворов при их приготовлении входное отверстие емкости необходимо закрыть.

5.149. При нагнетании химреагентов в грунты необходимо ежедневно в начале смены тарировать манометры на насосах и в случае неисправности их заменять. Запрещается ремонтировать насосы под давлением, а также затягивать сальники и фланцевые соединения.

Отсоединение шлангов от инъектора разрешается производить только после сброса давления в системе. Перегибать шланги под давлением категорически запрещается. Для их соединения необходимо применять только хомуты на болтах, использование стяжек из проволоки категорически запрещается.

5.150. Для подачи углекислого газа при газовой силикатизации вентиль баллона необходимо открывать плавным движением, не допуская ударов. Если вентиль не проворачивается рукой, для его открытия следует пользоваться специальным ключом. Если вентиль не открывается с помощью ключа, то такие баллоны подлежат возврату на базу с надписью «Полный, вентиль не работает».

Категорически запрещается самостоятельно исправлять вентиль баллона и резьбовые соединения, а также ремонтировать газопроводы и арматуру под давлением.

5.151. При нагнетании закрепляющих растворов с использованием пневмоустановок запрещается производить ремонт и устранять неисправности соединений отдельных элементов сосуда, находящегося под давлением.

Запрещаются работы с пневматическими установками при следующих обстоятельствах:

если давление в сосуде поднимается выше допустимого;

при неисправности предохранительного клапана;

при обнаружении в основных элементах сосуда трещин, выпучин, утоньшения стенок, разрыва прокладок, пропуска или потения в сварных швах, течи в заклепочных и болтовых соединениях;

при возникновении пожара, непосредственно угрожающего сосуду, находящемуся под давлением;

при неисправности манометра и невозможности измерения давления другим прибором.

5.152. При производстве работ в действующих цехах промышленных предприятий необходимо:

всем лицам, занятым на работах по закреплению грунтов, пройти дополнительный инструктаж в кабинете по технике безопасности этого предприятия;

иметь наряд-допуск на производство буровых и инъекционных работ на конкретном участке предприятия;

перед бурением скважин и забивкой инъекторов тщательно уточнить и учитывать расположение подземных коммуникаций и каналов.

5.153. Промывочные воды и технические отходы должны перекачиваться в специальные емкости, размещенные вне рабочей зоны. Емкости с отходами вывозятся и разгружаются в установленном месте.

5.154. В случае попадания химических растворов на слизистую оболочку глаз необходимо немедленно промыть их чистой водой, 2 %-ным раствором борной кислоты, после чего обязательно обратиться к врачу.

ЦЕМЕНТАЦИЯ

5.155. Цементация грунтов, как способ производства строительных работ, представляет собой заполнение пустот и трещин в грунтах цементным или цементно-глинистым раствором, превращающимся со временем в твердый цементный или цементно-глинистый камень. Инъекционные растворы вводятся в пустоты грунта через пробуренные скважины.

5.156. В результате заполнения пустот повышается несущая способность основания, предотвращающая возможные обрушения кровли пустот и недопустимые осадки сооружения, вызванные обрушениями. В основаниях, где пустоты имеют карстовое происхождение, их заполнение вызывает ослабление интенсивности карстовых процессов, если эти процессы имеют место в современный период.

5.157. Применение цементации возможно и целесообразно в скальных и полускальных основаниях сооружений при наличии пустот большого размера, обрушение кровли которых ведет к значительным деформациям грунта и заполнение которых требует больших количеств инъекционных материалов.

Как правило, крупные пустоты в скальных и полускальных основаниях сооружений встречаются:

в закарстованных грунтах, где образование пустот вызвано растворением карбонатных горных пород (известняков, доломитов), гипса, каменной соли;

в пузырчатых лавах молодого возраста.

Размер пустот, подлежащих заполнительной цементации, определяется проектом.

5.158. Применение цементации возможно для повышения несущей способности крупнообломочных и крупнопористых нескальных грунтов. Ввиду недостаточного опыта цементации этих грунтов производство работ в этих грунтах допускается только на основе положительных результатов опытных работ, выполненных в натурных условиях.

5.159. Крупные пустоты, подлежащие цементации, встречаются также в нескольких грунтах оснований под подошвой фундаментов сооружений и в самих фундаментах, рекомендации по производству вспомогательной цементации в этих случаях рассмотрены в п. 5.98-5.103 настоящего пособия.

5.160. Цементация неприменима в водоносных грунтах, в которых действительная скорость движения воды в пустотах превышает 2400 м/сут.

В этих случаях требуется предварительное проведение мероприятий по снижению скорости движения грунтовых вод устройством временных преград, откачкой или отводом водного потока.

5.161. Производство цементационных работ выполняется по проекту, в котором кроме общих требований, изложенных в п. 5.34, должны быть указаны следующие специальные данные и рекомендации для цементации грунтов:

ожидаемый объем пустот, подлежащих заполнению, с вероятными допусками (ввиду невозможности точного определения объема пустот в проекте);

способ проходки скважин и тип бурового инструмента при бурении в зоне цементации и в нецементируемых грунтах, залегающих над зоной цементации;

длина цементируемых интервалов скважин, последовательность обработки скважин;

конструкция верхней части скважин;

места добычи, способы разработки и транспортировки местных инъекционных материалов, потребность в количестве материалов;

способы нагнетания растворов, порядок изменения состава растворов.

5.162. Для цементации следует применять следующие инъекционные растворы: цементный (Ц); цементно-песчано-глинистый (ЦПГ); цементно-песчаный (ЦП); цементно-глинистый (ЦГ).

5.163. Цементные растворы с водоцементным отношением (В:Ц) от 1 до 0,4 следует применять в случаях:

заполнения пустот, содержащих несвязный заполнитель в текучем состоянии, разрываемый и уплотняемый при внедрении цементного раствора;

завершающего уплотнения пустот после введения в грунт инъекционного раствора на глинистой основе, обладающего повышенной усадкой;

вспомогательного закрепления трещиноватых скальных пород, окружающих пустоты.

Цементные растворы следует использовать также для вспомогательной цементации основания фундаментов, рассмотренной в п. 5.98-5.103 настоящего Пособия.

5.164. Во всех случаях, не указанных в п. 5.161, для цементации следует применять экономичные трехкомпонентные цементно-песчано-глинистые или двухкомпонентные цементно-песчаные или цементно-глинистые растворы.

Применение трехкомпонентных растворов предпочтительнее вследствие того, что:

цементно-песчаные растворы, обладая повышенной расслаиваемостью, могут образовывать неравномерное заполнение пустот;

цементно-глинистые растворы, обладая повышенной усадочностью, могут вызвать со временем образование остаточных полостей.

5.165. Выбор оптимального типа и состава инъекционного раствора для цементации следует предварительно производить по физико-механическим характеристикам используемых материалов с обязательным подтверждением этого выбора лабораторными исследованиями свойств раствора, обеспечивающих заданные требования к результатам цементации при минимальной стоимости раствора.

5.166. Для приготовления инъекционных растворов, как правило, должен применяться обыкновенный портландцемент, обеспечивающий наибольшую плотность цементного камня. Допускается также применение сульфатостойкого и тампонажного цементов.

Допустимость применения других видов цемента: шлакопортландцемента, пуццоланового портландцемента и глиноземистого цемента - должна быть подтверждена исследованиями характера твердения и плотности цементного камня, приготовленного на указанных цементах в условиях цементируемой среды.

5.167. Цемент, используемый для инъекционных растворов, должен удовлетворять требованиям соответствующих ГОСТов.

Соответствие цемента требованиям ГОСТа должно определяться для каждой партии цемента, поступающей на строительную площадку, независимо от заводских паспортных данных.

5.168. В качестве глинистых материалов для составления инъекционных растворов могут использоваться различные виды глинистых материалов: тяжелые и легкие глины, тяжелые и легкие суглинки, тяжелые супеси, не содержащие в своем составе зерен крупнее 2 мм.

Оптимальными для инъекции следует считать глинистые материалы, представляющие легкие пылеватые глины и пылеватые суглинки, удовлетворяющие следующим требованиям:

преобладающей фракцией являются частицы размером 0,05-0,005 мм;

содержание частиц размером менее 0,005 мм не более 20 %.

5.169. В качестве удешевляющего заменителя части цемента и глины в инъекционном растворе следует использовать золу-унос, являющуюся отходом тепловых электростанций при сухом золоудалении. Размер добавки золы-уноса в растворе определяется на основе лабораторных исследований.

5.170. При отсутствии специальных указаний в проекте крупность песка, используемого для инъекционных растворов, не должна превышать 2 мм.

При заполнении отдельных особо крупных пустот допускается применение в цементно-песчано-глинистых растворах крупнозернистого песка и гравия при условии обеспечения требуемого водоотделения инъекционного раствора.

5.171. Цементно-песчаные, цементно-глинистые и цементно-песчано-глинистые инъекционные растворы должны обладать следующими характеристиками:

подвижность раствора по конусу АзННИ 10-18 мм;

водоотделение в течение двух часов - 0-4 %;

прочность на сжатие после твердения в водной среде в течение 28 сут 0,5-2 МПа (5-20 кгс/см2).

5.172. По имеющемуся опыту экономичные цементно-песчано-глинистые инъекционные растворы содержат в 1 м3: цемента 100-250 кг, песка 900-1500 кг, глинистого материала 300-400 кг, воды 400-700 л.

Плотность растворов, как правило, находится в пределах 1,6-1,85 кг/л.

5.173. В тех случаях, когда из-за особых свойств местных глинистых материалов и песка подбор инъекционного раствора с оптимальными параметрами затруднителен, следует вводить в растворы химические и поверхностно-активные добавки, влияющие на свойства глинистых материалов и цемента в растворах.

В зависимости от свойств основных материалов в качестве добавок рекомендуется применять: соду каустическую, соду кальцинированную, тринатрийфосфат, гексаметафосфат натрия, силикат натрия, бентонит.

5.174. Для цементации грунтов следует использовать буровое, растворосмесительное и насосное оборудование, перечисленное в прил. 20 (табл. 1-5).

5.175. Инъекционные скважины должны размещаться согласно проекту, предусматривающему, как правило, расположение скважин по углам квадратной или ромбической сетки, перекрывающей площадь основания сооружения, содержащего пустоты.

5.176. Намеченные проектом инъекционные скважины следует бурить и инъецировать в порядке, определяемом способом последовательного сближения скважин - очередями.

Площадь основания, соответствующая одной скважине I очереди следует назначать в пределах 36-144 м2; с каждой новой очередью скважин площадь, приходящуюся на одну скважину, следует сократить в 2 раза. При цементации скважин, расположенных в один ряд расстояние между скважинами I очереди обычно выбирается в пределах 6-12 м; при каждой новой очереди расстояние между скважинами сокращается в 2 раза.

5.177. Способ бурения скважин следует выбирать в зависимости от категории грунтов по буримости, глубины скважин, наклона скважин, характера трещиноватости грунтов и их устойчивости в стенках скважины; выбор способа бурения должен быть подтвержден технико-экономическим расчетом или опытом бурения в аналогичных грунтах.

5.178. В тех случаях, когда толща цементируемых скальных или полускальных грунтов покрыта толщей нескальных грунтов, бурение скважин в нескальных грунтах следует, как правило, производить с обсадкой скважины трубами.

5.179. Бурение скважины и ее инъецирование следует производить одной зоной в пределах мощности цементируемых грунтов, установленной проектом, за исключением случаев, указанных ниже.

Разделение скважин на зоны и поочередное нагнетание раствора в каждую из зон (зональную цементацию) следует производить:

при наличии нескольких горизонтов распространения пустот в грунтах;

при наличии разного характера пустот (по размерам, форме, составу заполнителя) на различных уровнях толщи цементируемых грунтов;

при наличии мелких пустот, рассеянных в грунте;

при цементации трещиноватых скальных пород, окружающих пустоты.

5.180. После бурения скважина в пределах цементируемой части скальных или полускальных пород должна быть очищена от шлама и завалов и промыта вплоть до появления осветленной воды у устья скважины.

В случае поглощения промывочной воды нагнетание воды в скважину производится в течение 10 мин при полной подаче насоса (100-300 л/мин).

5.181. Для подачи раствора пробуренные скважины должны оборудоваться:

обсадной трубой, если цементируемые скальные грунты покрыты толщей несвязных грунтов;

кондуктором, заделанным в скальный грунт, если покровные отложения отсутствуют.

5.182. Подача раствора в полости большого размера без давления (у устья скважины) производится через внутреннюю нагнетательную трубу (или буровой став), опущенную через обсадные трубы или кондуктор до забоя скважины.

Подача раствора под давлением в грунт, содержащий или сохранивший (после заполнения крупных пустот) мелкие пустоты, производится через нагнетательную трубу после закрытия устья скважины или установки тампона в обсадной трубе или кондукторе.

5.183. Начатое нагнетание инъекционного раствора в пустоты грунта должно продолжаться непрерывно (за исключением профилактических перерывов) до заполнения цементируемых пустот раствором и появления «отказа» в поглощении раствора.

За отказ следует принимать снижение расхода инъекционного раствора до 5-10 л/мин при избыточном давлении раствора у устья скважины, назначаемом проектом.

Как правило, избыточное давление у устья скважины при отказе принимается в размере 0,1-0,5 МПа (1-5 кгс/см2).

Профилактические перерывы для проверки и промывки оборудования следует назначать через каждые 4-8 ч нагнетания раствора.

5.184. Если нагнетание раствора производилось без избыточного давления (у устья скважины), в случае появления давления следует произвести кратковременную промывку инъекционной системы водой, с целью предотвращения получения «ложного отказа» (закупорки системы), после чего нагнетание раствора возобновляется.

5.185. В случае длительного нагнетания раствора без избыточного давления (у устья скважины), наблюдаемого при обработке скважин, расположенных по внешнему контуру области грунта, содержащей цементируемые пустоты, допускается прекращать нагнетание раствора до наступления отказа после введения 10-20 м3 раствора.

5.186. После достижения отказа путем промывки системы и повторного нагнетания раствора следует убедиться в том, что отказ не является ложным. После этого полость скважины заливается густым цементно-песчаным раствором.

5.187. В период нагнетания раствора должны производиться наблюдения за возможными выходами нагнетаемого раствора на поверхность.

Если заделка выхода раствора снаружи или уменьшение интенсивности подачи раствора являются безуспешными, нагнетание раствора следует прекратить и возобновить его через рядом расположенную или дублирующую скважину.

5.188. Первичная техническая документация при бурении скважин для цементации заключается в ведении бурового журнала, в котором фиксируются по каждой скважине или зоне (при зональной цементации):

номер, место расположения и диаметр (конструкция) скважины;

пройденные грунты по глубинам;

встреченные пустоты по глубинам с указанием их размера (по высоте провала инструмента) и характера заполнителя пустот;

конечная глубина скважины (или глубина низа пробуренной зоны);

другие особенности пробуренных грунтов или подземных вод согласно указаниям проекта.

5.189. Первичная техническая документация при проведении нагнетания раствора состоит из журнала инъекции, в котором фиксируются по каждой скважине или зоне (при зональной цементации):

номер скважины, ее глубина и диаметр, глубина низа обсадных труб или кондуктора, глубина установки тампона;

текущие данные, записываемые по мере инъекции;

время измерения, состав нагнетаемого раствора, количество введенного раствора, давление, отклонения от нормального хода инъекции;

общее количество израсходованных материалов.

5.190. По данным первичной документации работ должны составляться отчетные документы о проделанной работе, включающие:

технический отчет, составляемый по каждой скважине (или зоне скважины в случае зональной цементации) и включающий основные показатели результатов выполненной инъекции;

исполнительные профили (разрезы) по участку инъекционных работ с указанием результатов инъекции в графическом исполнении.

5.191. Операционный контроль, выполняемый в процессе производства инъекционных работ, должен включать.

входной контроль качества исходных материалов, поступающих для цементации;

контроль свойств приготовленного инъекционного раствора, проводимый не реже двух раз в рабочую смену, если приготовление раствора не автоматизировано;

контроль за соблюдением методов производства буровых и инъекционных работ, предусмотренных проектом и настоящим Пособием.

5.192. Методы контроля результатов выполненных инъекционных работ должны быть установлены проектом в зависимости от природных особенностей цементируемых грунтов и их пустот и назначения цементации, определяемого характером и конструкцией сооружения, в основании которого проводится цементация.

Как правило, контроль результатов работ следует проводить бурением контрольных скважин и оценкой размеров остаточных незаполненных пустот по провалам бурового инструмента. Число контрольных скважин следует назначать в пределах 5-10 % числа основных цементационных скважин.

5.193. При отсутствии специальных указаний в проекте работы по заполнительной цементации пустот следует признать достаточными, если размер остаточных пустот, по результатам контрольного бурения, не превышает 0,2 м для 95 % случаев обнаружения пустот, при этом пустоты, имеющие размеры свыше 0,2 м, должны быть заполнены раствором через контрольные и дополнительно пробуренные скважины.

5.194. При цементации грунтов, обладающих средней и высокой скоростью растворения (гипса, каменной соли) или при наличии в окружении пустот легко размываемых нескальных грунтов, подверженных суффозионно-карстовым процессам, в качестве способа оценки достаточности выполненных цементационных работ следует предусматривать определение удельного водопоглощения грунтов по контрольным скважинам после цементации.

Допускаемая величина удельного водопоглощения устанавливается проектом.

5.195. При приемке законченных инъекционных работ исполнитель работ обязан представить приемочной комиссии:

технический отчет о выполненных работах с приложением первичной (буровых журналов и журналов инъекции) и отчетной (технические отчеты и исполнительные чертежи) документации;

акты обследования грунтов при бурении и испытании контрольных скважин;

заключение проектной организации о достаточности выполненных работ.

БУРОСМЕСИТЕЛЬНОЕ ЗАКРЕПЛЕНИЕ ИЛОВ

5.196. Буросмесительный способ закрепления илов заключается в механическом перемешивании и последующем химическом взаимодействии цемента с илом, в результате чего обеспечивается существенное необратимое улучшение строительных свойств закрепляемого грунта в естественном залегании.

Процесс перемешивания вяжущего с грунтом, являющийся основным элементом технологии, осуществляется вращательным бурением без извлечения ила на поверхность при дозированном нагнетании цементного раствора через буровые трубы к специальному рабочему органу (буросмесителю), обеспечивающему надежное перемешивание ила с непрерывно поступающим в грунт раствором.

С помощью буросмесительной технологии в толще слабого водонасыщенного глинистого грунта (на суше и под водой) изготавливаются цилиндрические илоцементные сваи (опоры) диаметром до 1000 мм и конструкции из них.

5.197. Илоцементные сваи могут располагаться в виде полей, кустов и рядов. При низкой закрепляемости ила и значительных нагрузках допускается касание и сплочение илоцементных свай в стенки, массивы или ячеистые конструкции.

5.198. Буросмесительный способ следует применять для закрепления оснований на суше и под водой, а также для устройства фундаментов заложением илоцементных свай под вновь строящимися зданиями и сооружениями, подкрановыми путями и различного вида дорогами, грузовыми площадками кратковременного и длительного складирования грузов, включая тыловые зоны причалов, контейнерные терминалы и т.п., при проходке подземных выработок, устройстве подпорных и защитных стенок.

5.199. Применение буросмесительного способа недопустимо:

а) при расположении свай в зоне сезонного замораживания-оттаивания или в неоттаявших грунтах;

б) при угле наклона вектора внешних нагрузок относительно оси одиночной сваи более 6°;

в) при динамических нагрузках, не погашаемых распределительным слоем;

г) для устройства комбинированных оснований, включающих другие типы свай, шпунт и т.п.;

д) в почвенно-растительных слоях, торфах или грунтах с содержанием органических примесей более 6 %.

5.200. Для буросмесительного закрепления илов следует применять портландцемент, портландцемент с минеральными добавками и шлакопортландцемент (ГОСТ 10178-76 с изм.) марки не ниже 400, а при наличии сульфатной агрессии сульфатостойкий портландцемент, сульфатостойкий портландцемент с минеральными добавками, сульфатостойкий шлакопортландцемент и пуццолановый портландцемент (ГОСТ 22266-76 с изм.) также марки не ниже 400.

5.201. Вид, марка и количество цемента, вводимое в грунт и определяемое как отношение массы цемента к массе ила естественной влажности, устанавливаются в зависимости от конкретных условий (агрессивность среды, требуемая прочность закрепления) путем лабораторных исследований и технико-экономических расчетов, при этом необходимо учитывать назначение сооружения, нагрузки и условия его работы.

В первом приближении может быть рекомендовано для устойчивого закрепления грунта введение от 160 до 250 кг портландцемента марки 400-500 на 1 м3 закрепляемого ила, а при сульфатной агрессии - введение сульфатостойкого цемента при повышенной дозировке (200-270 кг на 1 м3 закрепляемого грунта).

5.202. Цемент вводится в грунт в виде водного цементного раствора, консистенцию которого определяет водоцементное отношение (В:Ц), представляющее собой отношение массы воды к массе цемента.

Водоцементное отношение раствора вяжущего устанавливается в процессе опытных работ в зависимости от конкретных условий перевозки (если таковая предусматривается проектом организации работ) и закачки в грунт (тип и производительность насоса, сечение и длина раствороводов и т.д.). Закрепляющий раствор по своей консистенции и устойчивости против расслоения должен обеспечивать нормальную работу насоса и раствороводов.

5.203. Наименьшее время начала расслоения или схватывания цементного раствора должно превышать суммарную продолжительность цикла его приготовления и нагнетания в грунт не менее чем на 15 %. Как правило, цементные растворы, применяемые при буросмесительном способе закрепления илов, имеют водоцементное отношение, равное 0,5-0,6.

5.204. Во избежание засорения технологических линий цементный раствор должен быть освобожден от включений размером более 3 мм.

5.205. Вода для приготовления цементного раствора должна удовлетворять требованиям ГОСТ 23732-79. Недопустимо, в частности, применение воды с вредными примесями (нефтепродукты, жиры, сахар, масла, растворимые соли) в количествах, отрицательно влияющих на процессы твердения илоцементной смеси.

5.206. Для определения закрепляемости грунтов и проверки их коррозионной стойкости в закрепленном состоянии при бурении скважин производится отбор проб грунта нарушенного сложения с сохранением естественной влажности в пределах напластований, пересекаемых сваями. Пробы грунта отбирают из каждой грунтовой разности, но не реже, чем через 1 м проходки. Масса каждой пробы грунта должна быть достаточной для изготовления необходимого числа образцов илоцемента (как правило, не менее 5 кг). Изготовление лабораторных образцов илоцемента должно производиться, по возможности, сразу же после отбора проб грунта и, во всяком случае, не позднее, чем через 1 мес после отбора при условии сохранения первоначальной естественной влажности грунта.

5.207. Закрепляемость грунта характеризуется прочностью образцов илоцемента (грунтоцемента - для нижней части висячих свай) влажного хранения на сжатие при одноосном раздавливании (Rсж) в возрасте 28 сут.

Для предварительной оценки закрепляемости грунтов допускается испытывать образцы илоцемента (грунтоцемента) в возрасте 7 и 14 сут. Образцы илоцемента рекомендуется изготавливать цилиндрической формы диаметром не менее 40 мм при отношении высоты к диаметру 1,5. В качестве расчетного значения прочности принимается среднее арифметическое результатов одновременного испытания не менее 5 одинаковых образцов при исключении из рассмотрения наименьшего и наибольшего результатов.

5.208. Коррозионную стойкость илоцемента следует определять в соответствии с положением Руководства по определению скорости коррозии цементного камня, раствора и бетона в жидких агрессивных средах (М.: Стройиздат, 1975), а также СНиП II-28-73*.

5.209. Допускается при экспериментальном и технико-экономическом обосновании применение различных модифицирующих добавок, обеспечивающих улучшение характеристик илоцемента (повышение прочности, морозостойкости, коррозионной стойкости и т.д.) и добавок, стабилизирующих или пластифицирующих нагнетаемый в ил раствор цемента.

5.210. Проект производства работ по закреплению основания или устройству фундамента буросмесительным способом должен содержать:

а) перечень состава подготовительных работ, включающий указания по проведению горизонтальной и вертикальной планировки строительной площадки, отсыпке и укатке перекрывающего илы слоя из качественного грунта или укладке инвентарных дорожных покрытий для обеспечения перемещения буросмесительной техники, устройству системы поверхностного водоотвода, разбивке осей свайных рядов и закреплению их на местности;

б) плановое и высотное расположение илоцементных свай (полей, кустов и рядов из свай) или закрепленных ими массивом с указанием размеров, отметок, расчетных схем и нагрузок;

в) инженерно-геологические условия и характеристики грунтов в естественном и закрепленном состоянии;

г) технологические карты, содержащие указания по организации и технологии проведения работ, в том числе рекомендации по проходке перекрывающего илы слоя, по конструктивному решению оголовков и сопряжения нижних концов илоцементных свай с несущим слоем, ведомости потребных материалов, основного и вспомогательного оборудования, календарный график производства работ;

д) чертежи нестандартного оборудования;

е) указания по контролю качеств закрепления.

5.211. Изменения в проект устройства основания или фундамента из илоцементных свай может внести проектная организация по согласованию с разработчиками способа и заказчиком.

5.212. В зависимости от конкретных условий строительства буросмесительный способ закрепления илов может осуществляться:

буровой установкой с работающим в непосредственной близости от него подвижным растворонасосным узлом (прил. 25, рис. 1);

полностью автономным агрегатом, на транспортной базе которого смонтировано буровое, растворосмесительное и растворонасосное оборудование (прил. 25, рис. 2);

буровой установкой, снабжаемой готовым раствором с расположенного вблизи центрального растворного узла (прил. 25, рис. 3); для доставки раствора могут применяться автобетоновозы, авторастворовозы и автобетоносмесители, технические характеристики которых приведены в прил. 23 (табл. 4).

5.213. Независимо от принятого варианта производства работ последний должен удовлетворять условию

tn + tm + tu tnc,                                                              (12)

где tn - продолжительность приготовления цементного раствора, ч; tm - продолжительность транспортировки раствора (при приготовлении раствора на месте tm = 0), ч; tu - продолжительность буросмесительного процесса, ч; tnc - время начала схватывания цемента, ч.

5.214. Буросмесительное закрепление илов ведется по зонам захватками, с применением поточной технологии одним или несколькими комплектами машин. Примерный маршрут передвижения механизмов при производстве работ показан в прил. 24.

5.215. Для производства работ по закреплению илов буросмесительным способом применяются станки вращательного бурения (прил. 23, табл. 1).

При выборе буровой установки следует пользоваться следующими рекомендациями:

а) привод установки должен обеспечивать (при отсутствии труднопроходимых перекрывающих или слоев) вращающий момент не менее 2,5 кН·м при изготовлении свай (опор) диаметром до 0,7 м и глубине заложения до 10,0 м; не менее 5,0 кН·м - при диаметре свай до 1,0 м и глубине заложения до 10,0 м и не менее 7,0 кН·м при диаметре сван свыше 1,0 м и глубине заложения более 10,0 м;

б) установка должна обеспечивать регулируемую частоту вращения буросмесителя в пределах 30-150 об/мин, при этом предпочтительнее станки с бесступенчатым регулированием частоты вращения в процессе бурения;

в) максимальный принудительный (желательно фиксированный) ход подачи буросмесителя должен соответствовать длине изготавливаемой сваи, что соответствует наиболее оптимальному технологическому варианту, при котором обеспечивается изготовление илоцементной сваи (опоры) непрерывным движением буросмесителя;

г) допустимо применение буровых установок с ходом подачи, меньшим длины сваи, при этом должна обеспечиваться оперативная стыковка расстыковка буровых труб, достаточная механическая прочность буровых соединений на осевые усилия и вращающие моменты любого знака, а также их герметичность при давлении раствора до 2 МПа;

д) шаг подачи буросмесителя регулируемый (желательно фиксированный) и в целях обеспечения высокого качества перемешивания не должен превышать 20 мм/об;

е) конструкция установки должна обеспечивать возможность применения буросмесителя большого (до 1 м) диаметра, в том числе при холостом вращении над поверхностью земли;

ж) предпочтительнее установки колонкового бурения, система промывки забоя которых используется для нагнетания цементного раствора.

5.216. Для приготовления водоцементного раствора допускается использование любых выпускаемых промышленностью растворосмесителей при условии обеспечения ими однородности закрепляющего раствора (прил. 23, табл. 2). Предпочтительнее использовать высокооборотные турбинные растворосмесители (типа РМ-750), обеспечивающие более высокую степень гидратации цементных зерен.

5.217. Для нагнетания в грунт водоцементного раствора могут применяться строительные диафрагменные растворонасосы, буровые (грязевые) плунжерные, развивающие давление не менее 0,5-0,7 МПа (прил. 23, табл. 3).

Регулировка производительности диафрагменных растворонасосов типа СО-50 осуществляется либо введением в напорную систему перепускного трехходового вентиля, либо регулированием частоты вращения вала привода растворонасоса, например заменой электрического привода на гидродвигатель. В этой связи более целесообразно использование насосов с регулируемой производительностью (типа НБЗ 120/40).

5.218. Изготовление илоцементных свай (опор) рекомендуется производить буросмесителем конструкции НИИОСП-ЛИВТ с периферийным выпуском цементного раствора в грунт через сверления в лопастях. Такая подача вяжущего обеспечивает его повышенную концентрацию, более высокую прочность и коррозионную стойкость илоцемента в наиболее ответственных периферийных зонах поперечного сечения сваи. Очертание лопастей буросмесителя в поперечном сечении таково, что обеспечивает отказ от левого вращения при выглублении и тем самым более высокое качество перемешивания цементного раствора с грунтом. Схематический чертеж буросмесителя НИИОСП-ЛИВТ приведен на рис. 71, в. При наличии плотных перекрывающих илы слоев могут быть рекомендованы буросмесители конструкции ВНИИстройдормаш с винтовыми перемешивающими лопатками (рис. 71, а) и поворотными перемешивающими лопатками (рис. 71, б).

5.219. В качестве напорного трубопровода для подачи раствора вяжущего от растворонасоса к сальнику-вертлюгу буровой установки рекомендуется применять напорные резиновые шланги (ТУ 38.105557-73, ГОСТ 6286-73 с изм.) без промежуточных соединений. При невозможности соблюдения этого требования следует применять соединения шлангов, обеспечивающие минимальное гидравлическое сопротивление. Минимальный внутренний диаметр шлангов 38-40 мм.

5.220. Производство работ по закреплению илов буросмесительным способом состоит из двух основных операций:

приготовления закрепляющего водоцементного раствора;

собственно закрепления путем нагнетания цементного раствора в грунт и перемешивания его с последним с помощью буросмесителя.

5.221. В зависимости от инженерно-геологических условий, закрепляемости илов, их температуры и глубины закрепления проектом может быть предусмотрен один из трех технологических вариантов: нагнетание цементного раствора при погружении буросмесителя, при его извлечении или в процессе всего технологического цикла перемешивания ила, т. как при погружении, так и при извлечении рабочего органа.

Рис. 71. Схемы буросмесителей

а - с винтовыми перемешивающими лопатками и плоским забурником; б - с поворотными перемешивающими лопатками и плоским забурником; в - с периферийным выпуском раствора вяжущего; г - разрез А; 1 - корпус; 2 - режущая лопасть; 3 - нож; 4 - перемешивающая лопатка; 5 - соединительная муфта; 6 - буровая штанга; 7 - плоский забурник; 8 - радиальный канал; 9 - выходное отверстие; 10 - клапан; 11 - соединительный палец; 12 - заглушка

5.222. Технологический вариант нагнетания цементного раствора «сверху вниз» рекомендуется:

при производстве работ без промежуточных стыковок бурильных труб;

при относительно небольшой глубине закрепления (до 10 м);

при низкой активности ила (начало схватывания илоцементной массы более двух часов).

5.223. Нагнетание цементного раствора «снизу вверх» рекомендуется:

при значительной глубине закрепления (более 10 м) и большом числе стыковок бурильных труб;

при высокой активности ила (начало схватывания илоцементной массы менее двух часов).

5.224. Нагнетание цементного раствора в процессе всего технологического цикла можно рекомендовать:

при наличии труднопроходимых линз и прослоек грунта;

для уменьшения вероятности засорения грунтом выходных отверстий буросмесителя;

при работе с растворонасосом низкой производительности.

5.225. При пересечении стволом илоцементной сваи грунтов разной закрепляемости прочность закрепления выравнивается увеличением дозировки вяжущего в пределах слоев с меньшей закрепляемостью и перекрытием на соседние слои не менее чем на 0,3 м. Дозировка вяжущего для слоев разной закрепляемости уточняется экспериментальным путем.

5.226. Для более равномерного распределения цемента в грунте рекомендуется дополнительное перемешивание илоцементной массы без нагнетания раствора вяжущего путем погружения-извлечения буросмесителя (с вращением) либо сразу на всю глубину закрепления, либо последовательными захватками.

5.227. Оптимальное соотношение цемента с грунтом, состав закрепляющего раствора, частота вращения и линейная скорость перемещения буросмесителя, технологический вариант нагнетания закрепляющего раствора, производительность растворонасоса, количество дополнительных (перемешивающих) проходок буросмесителя назначаются проектом по результатам опытных работ.

5.228. Расчетная производительность растворонасоса в зависимости от скорости осевого перемещения буросмесителя, диаметра сваи, дозировки вяжущего и водоцементного отношения определяется по номограмме (прил. 26), либо рассчитывается по формуле

П = 60 (πd2/4) VMц (m + 1 / ρц),                                              (13)

Рис. 72. Схемы устройства оголовков илоцементных свай в виде:

а - капителей; б - балок; в - плиты

где П - производительность насоса, м3/ч; d - диаметр сваи, м; V - скорость осевого перемещения буросмесителя, м/мин; Мц - дозировка цемента в тоннах на 1 м3 закрепляемого грунта; т - водоцементное отношение; ρц - плотность частиц цемента (ρц = 3,1 т/м3).

5.229. Перевод дозировки цемента в процентах от массы грунта естественной влажности (n) к дозировке относительно геометрического объема закрепляемого массива производится по формуле

Мц = 0,01 nρг,                                                              (14)

где ρг - плотность грунта естественной влажности.

5.230. Распределение избытка илоцемента, объем которого ориентировочно составляет 50-80 % объема нагнетаемого в грунт цементного раствора, в виде капителей-уширений (рис. 72, а), балок ис. 72, б) или сплошных плит (72, в) производится в соответствии с проектом. Форма оголовка уточняется в зависимости от способа проходки перекрывающего ил слоя, инженерно-геологических условий и т.п.

5.231. При укреплении основания с различными расчетными нагрузками Р1 и Р2 (рис. 73) границы зон закрепляемого основания с большими нагрузками смещаются в пределы зон меньших нагрузок на расстояние, равное длине илоцементной сваи Lсв.

Рис. 73. Относительное расположение границ зон действующих нагрузок и свайных полей с различной несущей способностью

а - поперечный разрез; б - план; 1 - внешняя граница грузовой площадки; 2 - распределительный слой; 3 - ось внешнего ряда свай; 4 и 5 - границы зон расчетных нагрузок

5.232. Обеспечение качества закрепления илов буросмесительным способом достигается контролем:

соответствия вида и марки цемента предусмотренным в проекте;

точности соблюдения проектного состава закрепляющего paствора;

режима работы растворонасоса;

параметров работы буросмесителя (частоты вращения и скорости линейного перемещения);

качества илоцементной массы и несущей способности свай.

5.233. Для предварительного контроля качества перемешивания вяжущего с илом тотчас после изготовления сваи, но не позднее начала схватывания илоцементной массы, на всю глубину закрепления через каждый метр производят отбор проб илоцементной смеси грунтоносами типа ОВГУ конструкции Гидропроекта.

5.234. Смесь без трамбовки укладывают в формы. Через определенный интервал времени, устанавливаемый опытным путем, образцы извлекают из форм, дальнейший порядок испытания изложен в п. 5.207.

5.235. Контроль качества материала проводят также путем испытания кернов на одноосное сжатие, выбуренных из тела сваи не ранее, чем через 28 сут после ее изготовления.

5.236. Испытание илоцементных свай осевой сжимающей нагрузкой производится в соответствии с действующими нормативными документами (ГОСТ 5686-78 с изм. и СНиП II-17-77).

5.237. Количество и расположение свай, намеченных для испытаний, назначается проектной организацией, но не менее двух на каждые сто свай.

5.238. Контроль качества производства работ обеспечивается также обязательным ведением журнала, в котором указывается:

дата, время начала и окончания работы на скважине;

диаметр буросмесителя и глубина закрепления (длина илоцементной сваи);

расход цемента (кг3 на сваю);

водоцементное отношение по массе;

линейная скорость погружения и подъема буросмесителя (м/мин);

частота вращения буросмесителя при погружении и подъеме (об/мин);

кратность перемешивания;

производительность растворонасоса при погружении и подъеме буросмесителя (л/мин);

порядок нагнетания раствора цемента (при погружении или подъеме).

5.239. Для безопасного производства работ по буросмесительному закреплению илов кроме соблюдения правил техники безопасности, изложенных в пп. 5.19 и 5.20, должны выполняться также некоторые дополнительные требования:

а) запрещается выполнять работы при скорости ветра 10-12 м/с (6 баллов);

б) недопустимо удерживать руками во время работы буровой установки напорный шланг от закручивания или раскачивания, который должен фиксироваться специальными креплениями;

в) категорически запрещается брать через горловину растворомешалок пробы закрепляющего раствора; пуск растворонасоса при закрытых задвижках; продавливать растворонасосом пробки, образовавшиеся в напорном шланге;

г) тотчас по окончании работ на данной точке илоцементная свая (опора) в течение двух недель должна быть надежно укрыта для обеспечения прохода машин по участку и безопасности людей.

5.240. Приемка работ по закреплению грунтов буросмесительным способом проводится в соответствии с требованиями, наложенными в пп. 5.24-5.26 Пособия.

В числе материалов, представляемых приемочной комиссии, кроме указанных в п. 5.26 Пособия должны быть:

акты испытаний илоцементных свай (пп. 5.236, 5.237);

результаты испытания кернов, выбуренных из тела свай (п. 5.235).

ТЕРМИЧЕСКОЕ ЗАКРЕПЛЕНИЕ

5.241. Сущность метода глубинного обжига заключается в целенаправленном воздействии на грунтовый массив теплового потока, параметры которого обеспечивают образование упрочненных оснований, массивов и конструкций с наперед заданными свойствами и сохранение этих свойств во времени на заданный эксплуатационный период.

5.242. Метод глубинного обжига грунтов применяется для ликвидации просадочных и пучинистых свойств грунтовых оснований и массивов, укрепления откосов выемок и насыпей, устройства из упрочненных грунтов фундаментов, подпорных стенок и обделок подземных выработок.

5.243. Глубинный обжиг грунтов производится через загерметизированные или открытые нагревательные скважины. Массивы и конструкции из упрочненных грунтов образуются соответствующим размещением нагревательных скважин и смыканием закрепленные объемов грунта друг с другом.

5.244. Обжиг просадочных грунтов II типа необходимо производить на всю глубину просадочной толщи, а остальных - на глубину, определяемую расчетом на прочность и деформативность.

5.245. Фронт термообработки грунта определяется длиной факела горения топлива.

Если мощность укрепляемой толщи грунта превышает длину факела горения топлива, обжиг грунтов осуществляется по заходкам.

5.246. Метод глубинного обжига следует применять преимущественно в лёссовых и глинистых грунтах с содержанием глинистых частиц не менее 7 % и степени влажности не более 0,8. Целесообразность применения метода в иных геотехнических условиях обосновывается анализом экономической эффективности.

5.247. Внешний контур закрепленного грунта ограничивается изотермой минимальной температуры обжига, назначаемой в зависимости от его цели по табл. 39. Продолжительность обжига грунтов при минимальной температуре должна быть не менее двух часов.

Таблица 39

Цель глубинного обжига грунтов

Минимальная температура обжига, °С

Укрепление откосов, ликвидация просадочных свойств грунтов

300-400

Борьба с морозным пучением грунтов

500-600

Устройство термогрунтовых конструкций

800-900

5.248. Выбору способа глубинного обжига должен предшествовать анализ данных инженерно-геологических изысканий, характеристик строящихся или реконструируемых зданий и сооружений, методов их возведения или реконструкции, условий эксплуатации, с учетом цели обжига грунтов, возможных вариантов применяемого оборудования, вида топлива или источников энергии, контрольно-измерительной аппаратуры, а также опыта работ по термической обработке грунтов в данном регионе.

5.249. Для способов глубинного обжига грунтов с применением газа и электроэнергии в предпроектный период необходимо иметь технические условия на проектирование временных газопроводов и линий электропередач, с согласованием в установленном порядке с соответствующими организациями мест и способов подключения, трассировкой сетей, потребляемой мощности, состава проектов и исполнительной документации.

5.250. При розжиге топливной смеси в скважине материал нагревательного элемента элетрозапальника должен обладать высоким омическим сопротивлением и стойкостью в окислительной среде при температуре до 1500 °С. Таким материалом может быть карбидкремниевый стержень. Для электрических нагревателей используются железохромоаммониевые сплавы сопротивления Х23Ю5, X23Ю5T, Х30Ю5Т.

5.251. В качестве источников тепла могут использоваться все виды топлива и электроэнергия.

5.252. В проект производства работ (ППР) необходимо включать: расчет технологических параметров; проект временного газопровода; проект на временную линию электросети; технико-экономическое обоснование; технологические карты; график производства работ; методику контроля качества термической обработки грунтов; мероприятия по технике безопасности.

5.253. При производстве работ в действующих цехах или эксплуатируемых зданиях и сооружениях в проекте технологии обжига грунтов должны предусматриваться мероприятия, учитывающие стесненность, увязку работ по обжигу грунтов с технологическим процессом производства и условиями эксплуатации, технику безопасности при работе в закрытых помещениях. Эти мероприятия должны быть согласованы с заказчиком.

5.254. На весь комплекс процессов принятого к производству способа глубинного обжига должны быть разработаны технологические карты или технологические схемы.

5.255. В проекте производства работ указываются основные технологические параметры: длина факела горения топливных смесей, радиус термического закрепления, продолжительность закрепления, расход топливно-энергетических ресурсов.

Длина факела горения принимается при использовании газообразного топлива 10-12 м; жидкого - 6-8 м. При использовании электроэнергии длина заходки определяется размерами электронагревателя.

5.256. Радиус рабочей зоны обжига rp должен быть не менее расчетного из условий прочности и деформативности определяется по формуле

,                                                             (15)

где r0 - радиус нагревательной скважины, м; H - высота ствола скважины или заходки, м; aр - опытный коэффициент средней скорости обжига грунтов, м3/ч, величина которого зависит от температуры на внешнем контуре:

Температура на внешнем контуре термогрунтового массива Т, °С

400

600

800

Коэффициент средней скорости обжига ар, м3

0,006-0,208

0,052-0,138

0,0215-0,0754

τ - продолжительность обжига, вычисляемая из эмпирической зависимости, ч

τ = 34461 (rр2,326 + 0,7345 · 10-2W1,275) / Qт,                                       (16)

Рис. 74. Схема термического закрепления грунтов с применением многоспайной термопары и винтообразного отсекателя рабочего объема скважины

1 - нагревательная скважина; 2 - отсекатель; 3 - форсунка; 4 - удлинитель форсунки; 5 - факел горения смесей; 6 - термопары; 7 - запальник

Рис. 75. Схема термического закрепления грунтов с применением термопары передвижного действия и отсекателя рабочего объема скважины с раздвижными ножами

1 - нагревательная скважина; 2 - отсекатель; 3 - форсунка; 4 - удлинитель форсунки; 5 - факел горения смесей; 6 - термопара

где Qт - тепловая мощность скважины, которая составляет 10-20 МДж/ч на метр глубины скважины; 34461 - эмпирический коэффициент, МДж/м; 0,7345 · 10-2 - эмпирический коэффициент, м; W - весовая влажность грунтов, %.

5.257. Для бурения скважин на открытых площадках следует применять буровое оборудование, указанное в прил. 27 (табл. 1).

5.258. Бурение скважин в труднодоступных местах, стесненных условиях, подвальных и полуподвальных помещениях целесообразно осуществлять с помощью станков, приведенных в прил. 27 (табл. 2).

5.259. Для подачи воздуха в скважины следует применять воздуходувное оборудование, технические характеристики и экономические показатели которых даны в прил. 27 (табл. 3).

5.260. Для производства работ по глубинному обжигу грунтов применяются (рис. 74, 75):

устройства для генерации тепла (форсунки, горелки, электрические нагреватели);

затворы, экраны и отсекатели, обеспечивающие герметизацию и экранирование отдельных участков нагревательных скважин и обработку их по заходкам;

разводящие сети и трубопроводы, емкости для топлива, трансформаторные и другие установки;

контрольно-измерительная аппаратура, включающая комплекты термопар и измерительных приборов, манометры, датчики температуры, сигнальные реле, а также оптические пирометры и устройства для визуального наблюдения за процессами внутри нагревательных скважин.

5.261. Процесс производства по глубинному обжигу грунтов включает три основных периода: подготовительный, основной, заключительный.

5.262. В подготовительном периоде осуществляется инженерное освоение участка, разбивка и бурение нагревательных и вспомогательных скважин, монтаж оборудования, инженерных сетей и коммуникаций и подключение их к внешним источникам энергии, монтаж затворов, экранов и отсекателей, опробование всей системы, монтаж средств контроля и оповещения.

5.263. Разбивку осей под нагревательные скважины следует производить от основных осей зданий и сооружений. Отклонение не должно превышать ±5 см.

5.264. Бурение нагревательных скважин должно производиться по захваткам. При этом бурение скважин на последующих захватках следует выполнять в процессе обжига грунта на предыдущих захватках.

5.265. Для бурения скважин могут применяться буровые установки, указанные в прил. 27 (табл. 1), или другие установки, обеспечивающие необходимый диаметр скважин. Проходка скважин производится одним или несколькими диаметрами.

5.266. Испытание дебитов скважин должно производиться нагретыми газами с применением принятого к производству способа обжига грунта, оборудования и режима технологической обработки. Управление газопропускной способностью нагревательных скважин осуществляется уплотнением или рыхлением стенок, устройством в них различных полостей, герметизацией слабопроницаемых слоев грунта и его предварительной продувкой, устройством вспомогательных скважин и полостей вокруг нагревательных скважин, применением экранов и отсекателей.

5.267. Перед монтажом оборудования из стволов скважин должны быть удалены остатки грунта, проверено соответствие размеров скважин проектным. Приемка скважин для обжига должна быть отмечена в журнале работ по форме прил. 28.

5.268. Последовательность монтажа оборудования, сетей и коммуникаций, затворов, экранов и отсекателей, средств контроля и оповещения должна быть предусмотрена в проекте производства работ или в технологических схемах (прил. 29, рис. 1-3).

Для герметизации устья скважин применяются винтовые затворы, диаметр которых больше диаметра скважин на 3-4 см. Завинчиваются они в грунт буровыми установками.

5.269. В основном периоде термической обработки грунта осуществляется вывод нагревательных скважин на проектный режим и поддержание его до образования обожженного массива требуемых форм и размеров.

5.270. Вывод нагревательных скважин на проектный режим при сжигании топливных смесей после зажигания факела начинается с прогревания дна скважин до температуры воспламенения горючих смесей и последующего увеличения температуры до максимальной, назначаемой проектом из условий исключения спекания грунта. Затем регулируют параметры факела - его длину, температурное поле, расстояние от форсунки или ее удлинителя - изменением давления в скважине, концентрации горючей смеси и скорости ее истечения, положения удлинителя форсунки.

5.271. Величина давления, расход топливно-энергетических ресурсов контролируются по показаниям манометров, установленных на затворе и подающих трубопроводах, расходомеров на газопроводах и уровнемерах, смонтированных на топливных емкостях.

5.272. При достижении заданных форм и размеров обожженного объема грунта обязательно составление акта на скрытые работы в присутствии представителя технического надзора заказчика.

5.273. После обжига первой заходки и составления акта на скрытые работы ствол нагревательной скважины на высоту заходки должен быть затампонирован предусмотренным в проекте материалом.

5.274. При ведении журнала работ на его титульном листе указываются фамилии должностных лиц, ответственных за производство работ, состав бригад и даты получения исполнителями разрешений на допуск к таким работам.

В журнале должны отмечаться все отклонения от проектного режима, время и продолжительность отключения форсунок и горелок, факты прорыва нагретых газов и принятые меры. При работе скважин в проектном режиме запись в журнале работ производится один раз за смену, после ее окончания, старшим оператором. Одновременно в журнале должна быть произведена запись о приеме-сдаче дежурства оператором с соответствующими замечаниями.

5.275. Заключительный период включает демонтаж затворов, экранов и отсекателей, оборудования, аппаратуры и разводящих сетей и трубопроводов, передислоцирование их на другие захватки или объекты, сдачу работ представителю заказчика, заполнение стволов скважин.

5.276. Контроль качества глубинного обжига грунтов должен проводиться на всех этапах работ. Его основная цель - обеспечение проектных форм, размеров и прочности термогрунтовых образований в заданные сроки. Основными задачами контроля являются:

соблюдение предусмотренных проектом технологических параметров обжига: давления и температур газов в скважинах, температур грунта в контрольных точках массива, расхода топливно-энергетических ресурсов;

соблюдение режима обработки грунта: выводы нагревательных скважин на проектный режим, соотношения температур внутри скважины и грунта в ее стенках во времени;

проверка герметичности нагревательных скважин, исключение утечки нагретых газов в атмосферу через трещины вокруг герметизирующих скважин устройств своевременной их заделкой;

корректировка проектных решений при несоответствии реальных геологических условий принятым в части напластования грунтов и их свойств, применяемых для обжига оборудования, устройств и контрольной аппаратуры.

5.277. Все отклонения от проектных должны вноситься в журналы работ и включаться затем в исполнительную документацию.

5.278. Проверка прочности закрепленного грунта должна производиться испытанием образцов, отобранных из обожженного массива в соответствующих его точках, контрольным бурением, а иногда, вскрытием термогрунтовых свай и массивов шурфами.

5.279. Форма и размеры термогрунтовых свай и массивов определяются по показаниям термопар и длительности обжига в режиме минимальной температуры, а также по контрольному бурению в радиальном направлении от нагревательной скважины. Образование закрепленного массива следует считать оконченным, если установленные в расчетном контуре термопары зафиксировали достижение расчетной температуры, но не менее 300 °С.

5.280. Испытания штампом должны предусматриваться проектом на термогрунтовых образованиях, размещенных в пределах строящегося объекта, в заданном проектом количестве.

5.281. Выполненные скрытые работы по глубинному обжигу грунтов оформляются актом приемки для передачи работ заказчику с обязательной фиксацией в журнале производства работ.

5.282. Контроль температурного режима внутри нагревательной скважины должен обеспечивать измерение температуры по глубине каждой заходки не менее чем в трех точках с помощью односпайных передвижных или многоспайных комплектов термопар, соединенных с самопишущими приборами.

Для нагревательных скважин глубиной до 8 м допускается применение визуального способа контроля через контрольный глазок с использованием оптических пирометров или без них. При этом температура грунта в стенках скважин должна оцениваться по шкале цветов. Для большинства лёссовых и глинистых грунтов она имеет вид, приведенный в табл. 40.

Таблица 40

Температура грунта, °C

Изменение цвета грунта

550-600

Начало свечения грунта - темно-красный цвет

600-900

От темно-красного до красного

900-1000

От красного до светло-красного

1000-1200

От светло-красного до светло-желтого

5.283. Для скважин, оборудованных комплектами термопар, должна предусматриваться звуковая или световая сигнализация, оповещающая о предельных значениях температур.

5.284. Контроль температурного поля вокруг скважин должен обеспечиваться системой термопар (многоспайных или односпайных передвижных), размещаемых в шпурах на всю глубину обжигаемого массива грунта через 1-2 м, но не менее одного спая на каждый разнородный горизонт на расчетной границе каждого массива.

5.285. Для эффективности оперативного контроля число операторов должно назначаться из расчета двух человек на 15-30 одновременно обжигаемых скважин.

5.286. Исполнительная документация в составе журналов производства работ и актов на скрытые работы термического закрепления грунтов является основанием для учета и списания топливно-энергетических ресурсов на производство работ.

5.287. Приемка выполненных работ производится проверкой соответствия контуров обожженного грунта, его прочностных и деформационных свойств проектным. Работы по обжигу сдаются представителю технадзора перед заполнением стволов скважин по захваткам с оформлением актов на скрытые работы, а затем и по всему объекту в целом.

5.288. Приемка работ по глубинному обжигу грунтов в целом по объекту должна производиться на основании:

проекта производства работ;

актов на скрытые работы, составленных на каждую скважину и отражающих фактические размеры и форму термогрунтовых образований и данные о материалах, использованных для заполнения стволов;

актов геодезической разбивки осей фундаментов, подпорных стен из обожженного грунта;

исполнительных схем устройства термогрунтовых массивов;

журналов производства работ по обжигу грунта. Особое внимание обращается на такие показатели, как температура, давление в скважинах, расход горючего и сжатого воздуха, продолжительность обработки каждой скважины; кроме того, контролируется запись оплавления внутренних поверхностей скважин и принятых мерах;

актов лабораторных испытаний образцов обожженного в массивах грунта (если это предусмотрено проектом);

акта испытания термогрунтовых массивов и образований пробными нагрузками (если это предусмотрено проектом).

5.289. Производство работ по устройству надфундаментных и других конструкций зданий и сооружений, возводимых на обожженных грунтах, без предварительной сдачи работ представителю технического надзора заказчика запрещается.

5.290. Глубинный обжиг грунтов осуществляется при высоких температурах и давлениях, являющихся факторами повышенной опасности и требующих строгого соблюдения техники безопасности и противопожарной техники. Основными задачами соблюдения техники безопасности являются:

обеспечение безопасных условий труда;

создание противопожарной защиты участка работ;

исключение доступа в рабочую зону посторонних.

5.291. К производству работ по глубинному обжигу грунтов допускаются лица с медицинским обследованием, не моложе 18 лет прошедшие специальное обучение и получившие удостоверение на право работ, общий инструктаж и вводный или повторный инструктаж на рабочем месте.

5.292. Удостоверение на право работ по глубинному обжигу грунтов действительно в течение одного года, по истечении которого оно должно быть продлено или заменено с соответствующей проверкой правил техники безопасности.

5.293. Место производства работ должно быть ограждено и освещено. Размещение источников энергии: баков с жидким топливом, компрессорных установок, газопроводов, трансформаторов, а также разводящих трубопроводов и шлангов - должно исключать возможность взрыва и загорания. Эти меры должны быть предусмотрены в проекте производства работ.

5.294. До начала работ должны быть проверены исправность механизмов, оборудования, приборов контроля давления и температуры, герметичность всех соединений, запорных вентилей и нагревательных скважин.

5.295. Розжиг форсунок в начале работ и при повторном зажигании является наиболее ответственной операцией. Он должен производиться только в средствах индивидуальной защиты: брезентовых костюмах, масках электросварщика с жаропрочными стеклами, резиновых перчатках и сапогах с применением резиновых ковриков - при использовании электрозапальников.

В холодное время года операторы должны быть обеспечены теплой одеждой и обувью.

5.296. Во время работы операторам запрещается: подавать в скважины топливо и сжатый воздух при давлениях, превышающих проектные; смотреть в контрольный глазок без защитных очков. Их основная обязанность - это постоянный контроль за устойчивой работой электронагревателей, форсунок, положением факела, величинами давления и температуры в стволе нагревательных скважин, расходом топлива и воздуха, герметичностью скважин и всей системы. В случае каких-либо неисправностей оператор должен немедленно отключить от форсунки подачу топлива, а после этого - воздух. Операторам категорически запрещается отлучаться одновременно и оставлять установки без присмотра. Обслуживание установок для глубинного обжига грунтов должно производиться из расчета не менее двух человек, один из которых назначается старшим.

5.297. Продолжение работ после устранения неисправностей разрешает только старший оператор. О всех неисправностях, их причинах и мерах по устранению, результатах контрольной проверки старшин оператор делает записи в журнале работ.

5.298. При работе в закрытых помещениях, в узких и глубоких вспомогательных выработках и котлованах должна быть обеспечена надежная вентиляция. После вынужденной остановки форсунок, перед их последующим включением ствол нагревательной скважины также должен быть провентилирован.

5.299. При производстве работ по закреплению грунтов оснований на действующих предприятиях без остановки производства помимо тщательной вентиляции помещений необходимо производить контроль воздушной среды на содержание газа СО, а в случае применения природного газа и на СН4, особенно тщательно в подвальных и полуподвальных помещениях, расположенных в радиусе 20-25 м от зоны обжига. В случае обнаружения в помещениях угарного газа в дозах, превышающих допустимые нормы, необходимо срочно принять меры по эвакуации людей и осуществить более тщательную вентиляцию помещений.

5.300. Участок работ по глубинному обжигу грунтов должен быть обеспечен средствами пожаротушения, первого медицинского обслуживания, телефонной связью. В темное время суток вся территория участка работ должна быть хорошо освещена.

5.301. Питающая электросеть должна размещаться так, чтобы исключался случайный обрыв ее людьми и механизмами, места соединений электрокабелей и проводов должны быть изолированы патрубками из резиновых шлангов и изоляционной ленты. Рубильники на распределительных щитках должны быть размещены в кожухах, а возможность их включения не ответственными за это лицами должна быть полностью исключена. Вся электроаппаратура и распределительный щит должны располагаться в закрытом помещении вблизи места работ.

5.302. Производственная инструкция по технике безопасности при глубинном обжиге грунтов разрабатывается строительной организацией, утверждается ее главным инженером и должна находиться непосредственно на месте работ.

Инструкция должна включать документы, согласовывающие применение принятого оборудования и технологии с районными инспекциями Госкотлонадзора и Госхимзащиты.

Раздел 6. ИСКУССТВЕННОЕ ЗАМОРАЖИВАНИЕ ГРУНТОВ

ОБЩИЕ ПОЛОЖЕНИЯ

6.1. Искусственное замораживание грунтов следует предусматривать в сложных гидрогеологических условиях преимущественно как способ временного укрепления водонасыщенных грунтов путем образования прочного и водонепроницаемого ледогрунтового ограждения с замкнутым контуром при строительстве подземных сооружений и устройстве фундаментов глубокого заложения.

Сущность способа искусственного замораживания заключается в образовании ограждения (кругового, прямоугольного или иного очертания) из замороженного грунта, препятствующего прониканию грунтовой воды или водонасыщенных неустойчивых грунтов в выработку при производстве горных или строительных работ. Это искусственное ограждение воспринимает давление окружающего грунта, а также гидростатическое давление грунтовых вод.

6.2. По контуру выработки через толщу водоносных грунтов бурят скважины с заглублением в водоупорный слой на 2-3 м. В скважины опускают замораживающие трубы (колонки). Нижний конец их, имеющий форму конуса, герметически заваривают. В колонку опускают трубы меньшего диаметра (называемые питающими трубами) с открытым нижним концом, не доходящим до дна замораживающих колонок на 40-50 см.

При отсутствии естественного водоупорного слоя его создают искусственным путем - замораживанием слабых водонасыщенных грунтов внутри контура выработки с помощью колонок локального замораживания.

6.3. Искусственное замораживание грунтов производят холодоносителем (рассолом) циркулирующим в рассолопроводах и замораживающих колонках.

Вид, концентрация и температура холодоносителя должны быть определены проектом в зависимости от засоленности, скорости и температуры грунтовых вод. Как правило, в качестве холодоносителя следует использовать раствор хлористого кальция, обладающего способностью оставаться жидким при отрицательных температурах. На замораживающей станции рассол охлаждают и затем насосом нагнетают в распределитель. Отсюда холодный рассол равномерно расходится по питающим трубам замораживающих колонок. Достигнув дна колонки, рассол под давлением, создаваемым насосом, поднимается вверх по кольцевому пространству между питающей трубой и замораживающей колонкой, омывая внутренние стенки замораживающих колонок. При этом происходит теплообмен: рассол отнимает тепло у грунта, окружающего колонку, понижает его температуру и постепенно замораживает грунт. Затем рассол поступает в коллектор, а из него - на замораживающую станцию, где происходит его охлаждение, и цикл повторяется.

6.4. С течением времени вокруг каждой колонки образуется массив замороженного грунта цилиндрической формы. При дальнейшем замораживании объем замороженных цилиндров увеличивается, и они смерзаются между собой в сплошной массив вокруг выработки. Чтобы массив не размораживался, холодильная станция работает в течение всего периода, необходимого для окончания всех строительно-монтажных работ под его защитой.

6.5. Время, необходимое для образования замороженного массива, зависит от гидрогеологических условий, числа замораживающих колонок, мощности холодильной установки, температуры циркулирующего рассола, требуемой проектной толщи массива из замороженного грунта, скорости движения подземных вод и других факторов. Таким образом, технологическая сущность способа замораживания грунтов заключается в искусственном изменении некоторых физических свойств грунтов (прочности, устойчивости, водонепроницаемости и др.).

ОБОРУДОВАНИЕ, МАТЕРИАЛЫ, ПРОИЗВОДСТВО РАБОТ. БУРЕНИЕ СКВАЖИН

6.6. Бурение скважин должно производиться в строгом соответствии с проектом.

Разбивку осей скважин под замораживающие колонки следует производить от основных осей сооружения. Допустимое отклонение от проекта ±5 см.

Для бурения скважины под замораживающие колонки могут применяться установки ударного и вращательного способов бурения. При вращательном способе бурения с глинистым раствором скважина должна быть ниже глубины замораживания на величину отстоя шлама, но не менее 1 м.

В процессе бурения скважин под замораживающие колонки необходимо принимать меры для предупреждения отклонений скважины от проектного направления установкой кондукторов и соблюдением режима бурения. Максимальные отклонения скважин, а, устанавливаются проектом, но не должны превышать:

для вертикальных скважин глубиной до 50 м - 1 % их глубины H;

при глубине свыше 50 м по формуле a = 0,5 + 0,002H;

для наклонных - 2 %.

Замер кривизны производится через каждые 30 м. При глубине скважин до 50 м для измерения кривизны можно пользоваться теодолитом с эксцентренной трубой, а глубже - инклинометрами ВНИМИ-И-447Д и ВДГ*.

* Николаенко В. Г., Соловьев В. Н. Маркшейдерские работы при сооружении вертикальных стволов. - М.: Недра, 1977.

В случае отклонения скважины от проектного направления свыше допустимого надлежит исправить кривизну с применением кривых переводников или пробурить скважину вновь. Как исключение допускаются к приемке скважины, пробуренные с отклонением от проектного направления, если фактическое положение смежных, также отклонившихся скважин, обеспечит своевременное смыкание и проектную толщину ледогрунтовой стенки.

В проекте может быть предусмотрено бурение дополнительных замораживающих скважин в количестве не более 10 % их общего числа при глубине замораживания до 100 м и не более 20 % при глубине замораживания свыше 100 м, для наклонных - соответственно 20 и 25 %.

Для бурения скважин вращательным способом преимущественно пользуются станками ЗИФ-650А, ТУНБ-150 и др. Эти станки удобны для бурения скважин под любым углом к горизонту.

Для бурения вертикальных замораживающих скважин вращательным способом с промывкой скважин глинистым раствором применяют станки УРБ-ЗАМ, СБУ-150-ЗИВ, ЗИФ-650А, ЗИФ-300М и др.

При бурении вертикальных скважин большое распространение получил станок вращательного бурения со сплошным и кольцевым забоем и промывкой глинистым раствором марки УРБ-ЗАМ (установка разведочного бурения). Технические характеристики станков вращательного бурения приведены в прил. 30 (табл. 1).

Установка УРБ-ЗАМ представляет собой компактный агрегат, основные механизмы которого смонтированы на грузовой автомашине марки МАЗ-200.

6.7. Ударный способ применяют для бурения вертикальных скважин. Грунты в забое скважины при ударном способе бурения разрушаются ударами долота, присоединяемого к бурильным трубам и канатам.

Для бурения замораживающих скважин ударным способом применяют преимущественно станки типа УКС-22М, УКС-30М и др. Техническая характеристика ударно-канатных станков приведена в прил. 30 (табл. 2).

6.8. При бурении замораживающих скважин вид и параметры промывочной жидкости определяются проектом производства работ в зависимости от характеристики пересекаемых пород.

Одним из основных условий для успешного ведения буровых работ является высокое качество глинистого раствора, который должен:

выносить на поверхность разбуренные частицы грунта;

удерживать разбуренные частицы грунта во взвешенном состоянии, препятствуя осаждению их и как следствие прихватку инструмента (бурового снаряда);

глинизировать стенки скважины для поддержания их устойчивости, особенно при прохождении слабых грунтов;

оказывать гидростатическое давление на стенки скважины для предохранения их от обвала;

удерживать гидростатическое давление воды в породах;

охлаждать режущий инструмент;

задерживать выпадение частиц грунта в скважине при остановке циркуляции.

6.9. Глинистый раствор при температуре плюс 15 °С должен иметь следующие свойства:

удельный вес - 1,15-1,25 г/см3 по ареометру;

вязкость - 20-25 с по стандартному полевому вискозиметру типа СПВ-5;

коллоидальность - 95-97 % по градуированному стеклянному цилиндру емкостью 100 см3;

содержание песка не выше 4-5 % по отстойнику Лысенко.

6.10. Для приготовления глинистого раствора используют глиномешалки горизонтальные вместимостью 1-4 м3 и вертикальные вместимостью 0,3-0,7 м3. Частота вращения глиномешалки не должна превышать 35-40 об/мин.

Таблица 41

Удельный вес глинистого раствора, г/см3

Содержание глины в растворе, %

Потребное количество на 1 м3 раствора

глины в воздушно-сухом состоянии

воды, л

1,14

20

230

910

1,17

25

290

880

1,2

30

360

840

1,24

35

430

810

1,29

40

520

770

Соотношение глины и воды на 1 м глинистого раствора указано в табл. 41.

При бурении скважин очень часто используют естественные промывочные жидкости, которые образуются в процессе бурения. При этом возможны два случая: когда перед бурением приготавливают некоторое количество (20-30 м3) промывочной жидкости, которая в процессе бурения обогащается разбуренной породой и дальнейшее бурение осуществляется на естественном растворе, и когда в верхней части геологического разреза залегают глины.

В последнем случае бурение начинается на воде, а промывочная жидкость образуется в процессе бурения.

Применение бурения на естественных промывочных жидкостях обусловливается наличием в геологическом разрезе значительных пластов глин, суглинков, глинистых мергелей, глинистых сланцев и других им подобных пород.

Важным требованием при бурении с естественными промывочными жидкостями является обеспечение хорошего контроля за их качеством и осуществление при необходимости регулировки свойств промывочной жидкости добавлением в нее воды и обработкой химреагентами.

Кроме того, в процессе и после окончания бурения необходимо следить за состоянием каждой скважины.

Если стенки скважины устойчивы, не обрушаются и спуск труб замораживающей колонки на проектную глубину проходит нормально, без остановок (что возможно при качественной глинистой корке), то состав жидкости является приемлемым.

В противном случае необходимо срочно принимать меры по улучшению качества промывочной жидкости обработкой ее химреагентами или заменой на искусственную жидкость из хороших глин.

6.11. Скважины разбивают по контуру выработки (окружности или прямоугольнику). Для создания правильного направления при бурении скважин в устье каждой скважины устанавливают и надежно закрепляют в грунте направляющие трубы-кондукторы. Все работы должны производиться под наблюдением геодезиста (маркшейдера).

6.12. Скорость восходящего потока глинистого раствора принимают в пределах 0,3-0,5 м/с и более в зависимости от увеличения скорости бурения. Количество глинистого раствора, требуемого при бурении скважин, определяется проектом.

6.13. При бурении скважин следует руководствоваться Производственной инструкцией по безопасным методам работ для рабочих, обслуживающих буровые установки при бурении замораживающих и технических скважин (М.: Изд-во Шахтспецстроя, 1976).

Производство работ по бурению скважин должно осуществляться в соответствии с геолого-техническим нарядом, а его отработка выполняется на первых 3-5 скважинах.

ЗАМОРАЖИВАЮЩИЕ КОЛОНКИ И ИХ МОНТАЖ

6.14. По окончании бурения скважины следует немедленно погружать замораживающую колонку. В скважинах, пробуренных с обсадными трубами, извлечение последних необходимо производить после опускания замораживающих колонок.

Тип труб и конструкция замораживающих колонок должны быть определены проектом.

6.15. После маркшейдерского определения глубины скважины и подтверждения того, что искривление скважины не превышает допустимой величины, приступают к монтажу и опусканию колонок в скважины.

Каждую трубу замораживающей колонки перед спуском в скважину необходимо проверить, нет ли в ней каких-либо дефектов, а также очистить внутреннюю поверхность от грязи.

Каждое соединение труб обязательно подвергается опрессовке.

6.16. Порядок опускания и монтажа замораживающих колонок следующий - в скважину опускают первое звено труб, имеющее на нижнем конце башмак, на верхнем конце трубы под муфтой закрепляют хомут, который после опускания первого звена опирается на кондуктор. К первому звену с помощью муфты, навинчиваемой на резьбовой смазке Р-2, присоединяют следующее звено.

6.17. Трубы следует соединять на полную длину резьбы, с тем чтобы их торцы соприкасались. Затем к свободному концу трубы присоединяют переходную муфту, а к ней ручной пресс и колонку наполняют водой. Давление воды должно быть доведено до 2,5 МПа (25 ат) и не должно падать в течение 5 мин. В зимний период для испытаний колонки применяют 10 %ый водный раствор хлористого кальция.

6.18. После опрессовки тщательно осматривают соединения. Если осмотр показал полную водонепроницаемость соединения, то пресс отключают и проверенное звено опускают в скважину.

Указанный процесс монтажа и испытания производится при опускании каждого следующего звена труб.

6.19. Контрольный осмотр соединений труб выполняет сменный инженер (или механик), который дает разрешение бригаде монтажников опускать очередное звено труб.

Результаты опрессовки соединений труб заносят в специальный журнал и паспорт данной колонки.

6.20. Несмотря на предварительную опрессовку соединений, во время спуска колонки в скважину могут произойти частичные ее нарушения. Поэтому после опускания колонки производят еще одно испытание на водонепроницаемость соединений.

С этой целью после сборки колонку заливают водой на полную ее глубину (в зимнее время - 10 %-ным раствором хлористого кальция). Уровень жидкости в колонке замеряет маркшейдер, чтобы жидкость не испарилась, колонку плотно закрывают деревянной пробкой и обмазывают глиной. Замер колебаний уровня жидкости в колонке производят ежедневно в течение трех суток. Все замеры фиксируют в специальном журнале и паспорте. Если уровень жидкости в колонке в течение трех суток снизился более чем на 3 мм на каждые 50 м глубины, то колонку извлекают из скважины и опускают ее после вторичной опрессовки.

6.21. Гидрологические и термометрические скважины бурят тем же способом, что и скважины для замораживания. Гидрологическую скважину используют для контроля за процессом смыкания отдельных ледогрунтовых цилиндров в замкнутое ограждение.

В процессе промерзания водоносных грунтов объем льда увеличивается на 9 %, вода, находящаяся в грунтах замкнутого пространства, начинает вытесняться, вследствие чего уровень воды в гидрологической скважине поднимается, что свидетельствует о смыкании ледогрунтового ограждения.

Конструкция гидрологической скважины определяется проектом.

В термометрическую скважину опускают трубу с конусом и соединение последующего звена испытывают на водонепроницаемость аналогично замораживающей колонке.

На буровые работы и работы по опусканию и испытанию замораживающих колонок составляются паспорта скважин и замораживающих колонок (см. прил. 31).

ХОЛОДИЛЬНЫЕ УСТАНОВКИ И ИХ МОНТАЖ

6.22. Для искусственного замораживания грунтов применяют холодильные установки с использованием в качестве хладагента преимущественно аммиак. При соответствующем технико-экономическом обосновании допускается использовать фреон и жидкий азот.

Холодильная установка должна быть снабжена контрольно-измерительными приборами, в том числе мановакуумметрами, термометрами, дистанционными указателями уровня хладагента и холодоносителя, предохранительными клапанами.

При монтаже трубопроводов нагнетательные линии должны иметь уклон 1-2 % в сторону конденсатора, а всасывающие линии - уклон 0,5 % в сторону испарителей.

6.23. В процессе монтажа холодильной установки должно быть проведено индивидуальное гидравлическое или пневматическое испытание устанавливаемых аппаратов с освидетельствованием и регистрацией их в соответствии с правилами устройства и безопасной эксплуатации сосудов, работающих под давлением.

6.24. Совокупность холодильной машины и вспомогательного оборудования и устройств, предназначенных для искусственного замораживания грунтов, представляет собой холодильную установку.

В холодильной промышленности применяют аммиачные, фреоновые и другие установки в зависимости от используемого хладагента.

Для искусственного замораживания грунтов при сооружении фундаментов, коллекторов и др. подземных сооружений пользуются преимущественно аммиачными холодильными установками, так как необходимая температура охлаждения рассола часто не превышает минус 20-25 °С. В особых случаях применяют низкотемпературное замораживание до температуры минус 40-45 °С.

6.25. Холодильная машина состоит из компрессора, испарителя, конденсатора и регулирующего вентиля.

Схема работы холодильной установки представлена на рис. 70.

По трубе «а» из конденсатора течет жидкий аммиак, имеющий высокое давление (обычно 0,8-1,2 МПа) и температуру 20-30 °С после прохода через узкое отверстие регулирующего вентиля давление аммиака снижается до 0,15-0,2 МПа и он попадает в испаритель, где за счет теплопритока от рассола кипит при низкой температуре (-20 - -25 °С), а рассол охлаждается.

Пары аммиака отсасываются по трубе «в» компрессором, сжимаются им до давления 0,8-1,2 МПа и температуры 100-130 °С и по трубе «г» выталкиваются в конденсатор, где за счет охлаждения водой превращаются в жидкость и по трубе «а» снова поступают к регулирующему вентилю и процесс повторяется.

Рис. 76. Схема работы замораживающей станции

1 - рассольный насос; 2 - испаритель; 3 - грязеуловитель; 4 - компрессор; 5 - маслоотделитель; 6 - регулирующий вентиль; 7 - манометрическая станция; 8 - конденсатор; 9 - циркуляционный насос; 10 - замораживающая колонка; 11 - питающая труба; 12 - коллектор; 13 - распределитель; 14 - рассолопровод

Охлажденный рассол забирается насосом и направляется по магистральному рассолопроводу в распределитель, а из него по питающей трубе в замораживающую колонку, после отнятия тепла от грунта он возвращается в коллектор и далее в испаритель для повторного охлаждения.

6.26. Аммиачная холодильная установка имеет три самостоятельных цикла: аммиачный, рассольный и водяной.

Водяной цикл служит для конденсации паров аммиака и охлаждения цилиндров компрессора. В целях экономии воды применяется оборотная схема водоснабжения с охлаждением воды в градирнях, за работой которых необходимо организовать тщательный контроль.

Рассол может быть охлажден до минус 25 °С одноступенчатыми компрессорами, а до минус 40 °С - двухступенчатыми.

6.27. Паспортная холодопроизводительность машин определяется в стандартных килокалориях (подразумевается холодопроизводительность при стандартных условиях: температуре кипения хладагента t0 = -15 °C, температуре конденсации tк = 30 °C и перед регулирующим вентилем tи = 25 °C).

Под рабочей холодопроизводительностью машины понимают ее холодопроизводительность при температурах, отличных от стандартных.

Для определения выработанного компрессорами холода механик может воспользоваться характеристиками, помещенными в инструкции завода-изготовителя.

6.28. Широкое распространение для замораживания грунтов получили компрессоры одноступенчатого сжатия, реже двухступенчатого сжатия. Характеристики компрессоров приведены в прил. 30 (табл. 3 и 4).

Выбор компрессоров и аппаратов к ним производится в соответствии с проектом.

6.29. Холодильная установка должна быть оснащена следующими контрольно-измерительными приборами:

манометр на нагнетательной стороне компрессора, конденсаторе и ресивере, мановакуумметр на всасывающей стороне компрессора, испарителе, промежуточном сосуде и маслосборнике;

термометрами, установленными на нагнетательной и всасывающей стороне компрессоров, испарителях, перед регулирующими вентилями, а также на линии подачи воды в конденсатор и линии ее отвода;

водомерами на линии подачи свежей воды в конденсаторы;

дистанционными указателями уровня жидкого хладагента в испарителях и промежуточных сосудах;

дистанционными указателями уровня рассола в системе со звуковым и световым сигналами, включающимися при падении уровней, ниже установленной отметки;

расходомерами рассола.

6.30. Контрольно-измерительные приборы устанавливают в следующих местах:

на замораживающей станции для контроля работы и регулирования режима холодильных агрегатов и насосов;

в форшахте на рассольной сети для контроля за правильной и равномерной циркуляцией рассола;

в зоне замораживаемых грунтов для контроля за процессом образования ледогрунтового ограждения.

6.31. В каждом компрессоре устанавливают масляный манометр со шкалой от 0 до 6 кгс/см2.

Аммиачные манометры должны иметь шкалу «Вакуум до 760 мм рт. ст. 0-25 кгс/см2», мановакуумметры «Вакуум до 750 мм рт. ст. 0-12 кгс/см2», а также шкалу температур, ртутные термометры со шкалой показаний от 30 до 165 °С на нагнетательной стороне компрессора и конденсаторе;

спиртовые термометры со шкалой показаний от 30 до минус 60 °С устанавливают на всасывающей стороне компрессора, на испарителе и регулирующей станции при двухступенчатом цикле.

6.32. В форшахте на рассольной сети устанавливают следующие контрольно-измерительные приборы:

манометры по одному на нагнетательной линии у рассольного насоса, на рассолопроводах и коллекторах;

термометры на рассолопроводе и коллекторе, распределителе и на замораживающих колонках из расчета не менее одного термометра на пять колонок с учетом их перестановки;

дифференциальные манометры для замеров количества циркулирующего рассола или рассоломеры.

6.33. В зоне замораживаемых грунтов устанавливают следующие контрольно-измерительные приборы:

измерители уровня грунтовых вод в гидрологических скважинах;

термодатчики в каждой термометрической скважине в соответствии с проектом.

Толщину и сплошность ледогрунтового ограждения определяют ультразвуковыми приборами.

Форшахту связывают с замораживающей станцией, электрической и звуковой сигнализацией.

6.34. На замораживающей станции в электрораспределительном устройстве на распределительном щите устанавливают электрические и контрольно-измерительные приборы в соответствии с проектом.

Все установленные электрические приборы должны быть щитового исполнения и подвергаться проверке и регулированию.

6.35. Монтаж оборудования и приборов в замораживающей станции производится в строгом соответствии с проектом, заводскими инструкциями и Правилами устройства и безопасной эксплуатации аммиачных холодильных установок (М.: ВНИКТИхолодпром, 1981).

6.36. Перед вводом в эксплуатацию аппараты (сосуды), подлежащие регистрации в местных органах Госгортехнадзора, должны быть предъявлены инженеру контролеру Госгортехнадзора для освидетельствования.

Аппараты (сосуды), не подлежащие регистрации в органах Госгортехнадзора, должны быть освидетельствованы администрацией предприятия в соответствии с Правилами устройства безопасной эксплуатации сосудов, работающих под давлением.

6.37. К началу монтажа оборудования должны быть закончены все строительные работы по зданию замораживающей станции, фундаментам под машины и аппараты; устроены форшахты для рассолопроводов, каналы для водопроводов, канализации и электрокабелей. О правильности разбивки осей фундаментов, качестве бетона и соответствии фундаментов проектным размерам составляют акт.

Перед укладкой бетона при устройстве бетонных и железобетонных фундаментов для компрессоров и аппаратов проверяют надежность закрепления закладных частей, металлического каркаса, опорных плит опалубки колодцев, анкерных болтов. Возле закладных частей, служащих для ответственных частей компрессора (подшипников и др.), бетон уплотняют с особой тщательностью.

Кладку фундамента (бетонную, каменную) не доводят до проектной отметки на 30-50 мм, что необходимо для подливки рамы или станины машины после их выверки.

Анкерные болты заливают бетоном марки не ниже 150 с применением мелкого гравия. Перед бетонированием колодцы для анкерных болтов тщательно очищают от остатков опалубки, мусора и промывают.

Подливку рамы (станины) компрессора производят бетоном марки не ниже 140. При толщине подливки менее 40 мм применяют бетон с мелким заполнителем или цементно-песчаный раствор той же марки. Верхнюю поверхность фундамента перед подливкой насекают, очищают и промывают. Перед началом монтажа компрессора проверяют по чертежу правильность расположения отверстия для фундаментных болтов и глубину заложения анкерных плит.

Каждый смонтированный компрессор, бывший ранее в работе, перед опробованием подвергают ревизии на месте. Новые компрессоры, полученные непосредственно с завода, только разбирают и осматривают без полной ревизии.

6.38. По окончании сборки для проверки, регулировки и наладки работы деталей производят холостую обкатку компрессора без нагрузки с открытыми крышками и без нагнетательных клапанов в течение 10-15 ч. После холостой обкатки, устранения обнаруженных дефектов и приработки деталей компрессоры проверяют под нагрузкой воздушным давлением 0,5-0,6 МПа (5-6 ат) в течение 3 ч. При этом производят продувку всей аммиачной системы, включая конденсатор и испаритель, и проверяют ее герметичность.

6.39. При монтаже конденсаторов все фланцевые соединения собирают на клингеритовых или паронитовых прокладках, смазанных графитовой мастикой.

6.40. Конденсатор по окончании монтажа испытывают на плотность:

в аммиачной части - сжатым до 1,8 МПа (18 ат) воздухом в течение 18 ч, при этом допускается падение давления в течение первых 6 ч испытания до 0,12 МПа (1,2 ат);

в водяной части - гидравлическим испытанием водой с постоянным давлением 0,6 МПа (6 ат) в течение 15 мин.

При испытании утечку воздуха проверяют обмыливанием соединений и швов.

Выявленные недостатки устраняют после снижения давления до атмосферного.

6.41. Кожухотрубный горизонтальный конденсатор устанавливают строго горизонтально.

6.42. Секции и бак испарителя перед монтажом предварительно осматривают.

Секции испарителя испытывают гидравлическим давлением 2,5 МПа (25 ат) и сжатым воздухом до 1,2 МПа (12 ат), бак испарителя - наполнением водой.

Бак испарителя устанавливают на деревянном или бетонном основании.

Секции испарителя соединяют коллекторами посредством фланцев с уплотнением соединений клингеритовыми или паронитовыми прокладками. Секции к баку крепят полосовым железом на болтах.

6.43. Кожухотрубные испарители в аммиачной части испытывают сжатым воздухом при давлении 1,2 МПа (12 ат).

При этом давление не должно падать в течение первых 6 ч более чем на 10 %.

Перед испытанием необходимо сжатым воздухом удалить загрязнения.

6.44. Маслоотделитель, промежуточный сосуд, ресивер, маслосборник перед монтажом осматривают и испытывают по заводской инструкции.

6.45. Аммиачный нагнетательный трубопровод в местах прохода через сгораемые стены и перекрытия изолируют несгораемой изоляцией.

Для аммиачных трубопроводов применяют только стальные бесшовные трубы (ГОСТ 8731-74 с изм.).

Трубопроводы с арматурой и аппаратурой соединяют:

с помощью резьбового штуцера труб диаметром до 6-10 мм;

с помощью специальных аммиачных фланцев труб диаметром свыше 10 мм;

соединением труб сваркой встык.

Фасонные части, вентили и сварные стыки располагают не ближе 200 мм от стен.

Запорные вентили устанавливают так, чтобы аммиак входил под клапан.

6.46. Для предупреждения повышения давления аммиака сверх допустимого (более 1,5 МПа) в кожухотрубных конденсаторах и испарителях, промежуточных сосудах и ресиверах предусматривают выпуск аммиака в атмосферу через предохранительные клапаны по выкидной трубе выше конька крыши станции на 2-3 м.

6.47. Аммиачные трубопроводы после монтажа продувают воздухом для удаления песка, окалины и других загрязнений.

6.48. Испарители, отделители жидкого аммиака, промежуточные сосуды, а также трубопровод холодильного агента с низкими температурами и рассольные трубопроводы теплоизолируют.

Таблица 42

Трубопровод

Назначение

Цвет окраски

Аммиачный

Всасывающий

Синий

»

Жидкостный

Желтый

»

Нагнетательный

Красный

Рассольный

Нагнетательный

Зеленый

»

Обратный сливной

Коричневый

Водопроводный

Нагнетательный

Голубой

»

Обратный сливной

Фиолетовый

Теплоизоляцию аппаратов и трубопроводов выполняют в соответствии с проектом после генерального испытания замораживающей станции.

После просушки трубопроводы окрашивают в условные цвета (табл. 42).

6.49. Трубопроводы жидкого и газообразного аммиака при нижней разводке прокладывают под полом в каналах и изолируют шлаком, антисептированными опилками или другими теплоизоляционными материалами.

6.50. Над испарителями, расположенными вне здания замораживающей станции, устраивают навес.

РАССОЛЬНАЯ СЕТЬ И ЕЕ МОНТАЖ

6.51. Рассольная сеть должна быть выполнена из прямого и обратного рассолопроводов, распределителя и коллектора с обеспечением равномерного питания замораживающих колонок, как правило, по незамкнутому контуру.

Тип труб и их размеры определяются проектом.

Распределители и коллектор должны быть размещены в специальной форшахте, расположение и размеры которой определяются проектом. Замораживающие колонки соединяются с коллектором и распределителем с помощью гибких шлангов (рис. 77).

6.52. При длине рассолопроводов, превышающей 100 м, устанавливают компенсаторы. Во всех высоких точках рассольной сети устанавливают воздухоспускные вентили.

6.53. При заполнении рассольной сети рассолом из замораживающих колонок и трубопроводов должна быть удалена вода, оставшаяся после гидравлического испытания. Рассол необходимо пропускать через сетку с отверстиями 0,5-1 мм.

6.54. На рассолопроводе устанавливают задвижки, с помощью которых осуществляют необходимые переключения движения рассола. Трассу рассолопроводов от станции до места потребления холода выбирают наиболее короткую с наименьшим количеством поворотов.

Рис. 77. Расположение рассольных коммуникаций в форшахте

1 - питающая труба; 2 - головка замораживающей колонки; 3 - соединительная труба; 4 - кран; 5 - коллектор; 6 - распределитель; 7 - подвески; 8 - толь; 9 - шлак

6.55. Для уменьшения потерь холода форшахту хорошо теплоизолируют. Изоляционным материалом служат сухие опилки, которыми заполняют пространство между верхняками крепления. Закрепляют стенки форшахты деревом или бетоном.

В случае устройства форшахты на поверхности также необходима теплоизоляция труб и боковых стенок.

6.56. Система трубопроводов, располагаемых в форшахте, состоит из замораживающих колонок, распределителя, коллектора, подводящих и отводящих рассолопроводов.

6.57. Замораживающая колонка (рис. 78) состоит из наружной трубы, питающей трубы башмака конусной формы, а в верхней части крышки (головки), к которой присоединены подводящая и отводящая трубки.

Качество труб, плотность их соединения, тщательность монтажа рассольной сети определяют успешность замораживания грунтов. Утечка рассола в замораживаемый грунт является следствием неплотности в соединениях труб. При наличии рассола в грунте участок не может быть заморожен - образуется «окно», через которое может произойти прорыв плывуна в проходимую выработку. Непосредственное соприкосновение ледогрунтового ограждения с рассолом вызывает оттаивание его.

Рис. 78. Замораживающая колонка

1 - башмак замораживающей трубы; 2 - питающая труба; 3 - замораживающая труба; 4 - крышка (оголовник); 5 - соединительная подводящая труба; 6 - соединительная отводящая труба; 7 - рассоломер; 8 - запорный кран; 9 - коллектор; 10 - термометр; 11 - распределитель

6.58. Распределитель служит для распределения рассола по колонкам и связан с ними гибкими шлангами с питающими трубами.

Давление рассола в распределителе колеблется в пределах 0,2-0,45 МПа и увеличивается с глубиной колонок.

6.59. Коллектор служит для сбора рассола, идущего из замораживающих колонок. Отводящие трубы служат для отвода рассола от замораживающих колонок в коллектор.

Применение гибких шлангов для подвода и отвода рассола к колонкам предотвращает разрывы труб и выпуск рассола в случае осадок или вспучивания поверхности земли в галерее (форшахте).

6.60. В тупиковых концах коллектора и распределителя устанавливают краны, через которые выпускают воздух, скапливающийся в трубах.

6.61. Распределитель и коллектор прикрепляют к деревянным стойкам форшахты или подвешивают к потолочным перекладинам форшахты на железных хомутах.

6.62. Подводящие и отводящие трубы присоединяют одним концом к головке замораживающей колонки, а другим - к распределителю и коллектору.

Для этого в последних должны быть вварены патрубки-штуцеры, диаметр которых соответствует диаметру подводящих и отводящих труб.

6.63. Число штуцеров с пробковыми кранами должно быть больше числа запроектированных колонок на 10-15 % на случай присоединения к системе дополнительных колонок. Штуцеры располагают равномерно по всей длине распределителя и коллектора на равных расстояниях один от другого.

6.64. Гибкие подводящие и отводящие трубы присоединяют к штуцерам хомутами или проволочными скрутками.

6.65. Перед спуском питающие трубы испытывают воздухом для проверки их качества (возможны засорения и повреждения сварных швов).

6.66. Все соединения труб не должны пропускать воздух и рассол. При соединении труб сваркой места соединений их должны иметь внутри совершенно гладкую поверхность (сварочный шов не должен уменьшать сечение трубы), в противном случае увеличивается сопротивление движению рассола.

6.67. Трубы разных диаметров соединяют специальными переходными муфтами.

6.68. После окончания монтажа все рассолопроводы тщательно промывают водой, нагнетаемой в сеть насосом. Вслед за промывкой производят опрессовку всей рассольной сети водой под давлением 1-1,5 МПа. При обнаружении неплотностей их необходимо устранить.

6.69. После устранения утечек испытание следует повторить и при положительных результатах составить акт.

6.70. При ведении работ необходимо осуществлять тщательный маркшейдерский контроль глубины и монтажа замораживающих колонок.

6.71. В качестве холодоносителя применяют водный раствор технического хлористого кальция (ГОСТ 450-77 с изм.).

Раствор хлористого кальция (CaCl2) имеет желтоватый цвет, соленый на вкус, запах хлора, испаряется раствор плохо, в сильных концентрациях разъедает кожу и ткани.

6.72. Температура замерзания рассола зависит от концентрации хлористого кальция в растворе. Наинизшую температуру замерзания рассол имеет при ρ = 1,286 г/см3, t3 = -55 °С.

6.73. При замораживании грунтов применяют рассол, имеющий концентрацию 27-3Be (по Боме) или ρ = 1,28, при которой температура его замерзания составляет минус 50 °С. Концентрацию рассола определяют ареометром, деления на котором показывают градусы Боме. При повышении концентрации выше 30 °Ве температура замерзания рассола повышается.

6.74. Систему наполняют рассолом после всех испытаний.

ИСПЫТАНИЕ ХОЛОДИЛЬНЫХ УСТАНОВОК И РАССОЛЬНОЙ СЕТИ

6.75. При испытании холодильной установки необходимо руководствоваться Правилами устройства и безопасной эксплуатации аммиачных холодильных установок (М.: ВНИКТИхолодпром, 1981).

6.76. Все аппараты и трубопроводы аммиачной системы после монтажа подвергают генеральному испытанию на плотность при давлении воздуха 1,8 МПа (18 ат) - сторону нагнетания (от нагнетательного запорного вентиля на компрессоре через маслоотделитель, конденсатор, ресивер и жидкостной трубопровод до регулирующей станции); 1,2 МПа (12 ат) - сторону всасывания (испаритель и трубопроводы - всасывающие и за регулирующим вентилем).

Одновременно предохранительные клапаны аппаратов (сосудов) должны быть отрегулированы до начала открывания при избыточном давлении на нагнетательной стороне 1,8 МПа (18 ат), на всасывающей стороне 1,2 МПа (12 ат).

6.77. Испытания системы после монтажа производят до теплоизоляции трубопроводов и аппаратов.

6.78. В аппараты воздух нагнетают аммиачным компрессором в несколько приемов с интервалом 0,4-0,6 МПа (4-6 ат) во избежание перегрева компрессора. Воздух нагнетают следующим образом: открывают запорный нагнетательный вентиль на компрессоре, открывают пробку на всасывающем коллекторе при закрытом всасывающем вентиле и включают компрессор, доводят давление по всей системе до 1,2 МПа (12 ат), закрывают запорный вентиль на регулирующей станции и разъединяют нагнетательную и всасывающую линии и продолжают нагнетать воздух в маслоотделитель, конденсатор, ресивер, доводя давление до 1,8 МПа (18 ат). Систему оставляют под давлением в течение 15 ч и фиксируют давление через каждый час.

6.79. Систему считают выдержавшей испытания на герметичность, если после истечения первых 6 ч давление в системе снизится не более чем на 10 %, а в течение остального времени останется постоянным. При удовлетворительных результатах генерального испытания составляют акт и систему подготавливают к заполнению аммиаком.

6.80. Перед заполнением системы аммиаком ее необходимо отсосать на вакуум.

6.81. Количество жидкого аммиака, необходимое для заполнения системы, определяют проектом или по следующим нормам в процентах от емкости аппарата*:

Испарители:

кожухотрубные........................................... 80

вертикальнотрубные.................................. 80

панельные................................................... 50

Конденсаторы:

кожухотрубные........................................... Полный объем ресиверной части обечайки

испарительные........................................... Полный объем сборников жидкого аммиака

Ресиверы:

линейные..................................................... 50

дренажные.................................................. -

Промежуточные сосуды (вертикальные)...... 30

Маслоотделители барботажного типа.......... 30

Трубопроводы жидкого аммиака.................. 100

* Правила устройства и безопасной эксплуатации аммиачных холодильных установок. - М.: ВНИКТИхолодпром, 1981.

Для пересчета объема аммиака в количество по массе средний удельный вес аммиака принимают равным 0,65 кг/л.

Расход аммиака на восполнение потерь при эксплуатации станции принимают от 2,5 до 10 % в месяц.

6.82. Аммиак для заполнения системы доставляют на замораживающую станцию в специальных баллонах. Он должен отвечать требованиям ГОСТ 6221-82Е с изм.

При зарядке системы баллоны с аммиаком присоединяют к регулирующей станции с помощью трубки диаметром 6 мм с накидными гайками, причем баллоны устанавливают в наклонном положении головками вниз. Количество фактически заряженного аммиака определяют взвешиванием баллонов в процессе зарядки.

При зарядке дополнительно проверяют плотность соединений трубопроводов и арматуры на утечку аммиака специальным химическим индикатором - полоской бумаги, пропитанной раствором фенолфталеина. При утечке аммиака белые полоски бумаги краснеют.

6.83. После перехода жидкого аммиака из первых баллонов в систему, компрессор пускают в работу, чтобы понизить давление в испарителе и обеспечить дальнейшее наполнение системы. Конденсатор при зарядке системы аммиаком охлаждают водой, как при обычной работе холодильной установки.

Запрещается подогревать баллоны для ускорения выхода аммиака. При зарядке системы следует соблюдать меры предосторожности и иметь наготове аммиачные противогазы.

После наполнения системы аммиаком приблизительно на 90 % его расчетного количества производят пробную работу замораживающей станции для проверки достаточности наполнения, при этом рассольная система должна быть заполнена рассолом.

6.84. После соединения всех рассольных труб и установки на них предусмотренных проектом приборов и кранов, промывки водой производят гидравлическое испытание рассольной сети давлением, в 1,5 раза превышающим рабочее давление и не меньшим 0,6 МПа (6 ат).

Сеть считают пригодной для эксплуатации, если в течение 15 мин давление опрессовки не изменяется и при осмотре сети не обнаружено течи в трубах и их соединениях.

6.85. Количество кристаллического хлористого кальция для приготовления рассола заданной концентрации определяется проектом или по формуле

q = Vqe,                                                              (17)

где V - емкость (объем) рассольной системы, подлежащей заполнению, м3; qе - количество по массе соли на 1 м3 воды, необходимое для получения раствора заданной концентрации.

6.86. Акт генерального испытания установки и сдачи ее в эксплуатацию составляют при наличии следующей документации:

исполнительных схем аммиачной, рассольной и водяной систем холодильной установки и погоризонтных планов расположения замораживающих скважин, выполненных через каждые 30 м по глубине;

журнала бурения скважин;

паспортов замораживающих колонок;

протокола сушки всех высоковольтных электродвигателей с замером сопротивлений изоляции обмоток ротора и статора;

протокола испытания на пробой трансформаторного масла в маслонаполнительной высоковольтной аппаратуре;

протокола проверки и испытания защиты высоковольтного электродвигателя и сопротивления изоляции кабельной проводки компрессорной установки;

протокола осмотра и замера переходного сопротивления заземления электродвигателей и распределительного устройства;

шнуровых книг на все сосуды, установленные на холодильной установке, с регистрацией в них результатов испытаний местной инспекцией Госгортехнадзора (в шнуровой книге должны быть заводские паспорта и чертежи на сосуды);

технического акта на опрессовку сжатым воздухом холодильной установки;

технического акта на испытание рассольной сети и промывку замораживающих колонок;

графика планово-предупредительного ремонта холодильной установки;

инструкции по технике безопасности при эксплуатации всех агрегатов (вывешивается в здании замораживающей станции);

списка лиц, допущенных к эксплуатации холодильной и высоковольтных установок, сдавших техминимум по ПТЭ и ПТБ;

журналов и книг для учета работы холодильной установки;

разрешения пожарной инспекции на эксплуатацию холодильной установки.

ЭКСПЛУАТАЦИЯ ЗАМОРАЖИВАЮЩЕЙ СТАНЦИИ

6.87. Режим работы замораживающей станции должен обеспечивать постепенное понижение температуры холодоносителя до достижения заданной проектом температуры, во избежание порыва труб.

При эксплуатации замораживающих колонок должен быть установлен контроль питания их рассолом. Температура выходящего из колонки рассола при установившемся режиме не должна отличаться более чем на 2-3 °С от температуры рассола, измеренной в распределителе (при глубине замораживания до 100 м), к концу процесса замораживания она может отличаться на 1 °С.

Работа замораживающей станции и подача рассола в замораживающие колонки должна быть непрерывной в течение всего периода активного замораживания грунта.

Работа замораживающей станции после образования ледогрунтового ограждения должна обеспечивать его сохранение по специальному режиму (пассивному), установленному проектом.

6.88. При эксплуатации замораживающей станции и рассольной сети необходимо поддерживать холодильное и прочее оборудование в хорошем состоянии, следить за экономным расходованием электроэнергии, воды, смазочных материалов, своевременно проводить профилактический ремонт.

6.89. Температуру всасываемых паров аммиака, определяемую по показаниям термометра, установленного перед запорным всасывающим вентилем компрессора, поддерживают на 5-10 °С выше температуры испарения аммиака.

Температуру нагнетаемого аммиака при выходе из компрессора следует поддерживать в соответствии с инструкциями заводов-изготовителей, но не выше 150 °С, во избежание возгорания смазочного масла.

6.90. В процессе эксплуатации замораживающей станции не допускают превышения давления конденсации аммиака сверх 1,4 МПа (14 ат), своевременно (по графику) спускают масло из маслоотделителя, конденсатора, испарителя, промежуточного сосуда и ресивера, а также выпускают воздух из воздухоотделителей, поддерживают перепад температур охлаждающей воды, выходящей из конденсатора и конденсации аммиака в пределах 4-6 °С, наблюдают за правильной подачей воды и работой градирни. При хорошей работе градирни расход свежей воды не превышает 10 %.

Перепад температур испарения аммиака и рассола в испарителе не должен превышать 5 °С.

При эксплуатации замораживающей станции поддерживают установленный проектом режим работы ее и систематически следят за показаниями контрольно-измерительных приборов.

6.91. Не реже одного раза в месяц вскрывают и прочищают всасывающий и нагнетательный масляные фильтры.

В течение первого месяца после монтажа и включения компрессора в эксплуатацию фильтры вскрывают и очищают через каждые 5-6 дней.

6.92. Заправку масла в компрессор следует производить в строгом соответствии с заводской инструкцией.

6.93. При внезапном прекращении циркуляции рассола компрессоры останавливают. Пуск, остановку и эксплуатацию холодильных машин, градирен и насосов производят в соответствии с инструкциями завода-изготовителя, которые должны быть вывешены в здании замораживающей станции.

6.94. Планово-предупредительный ремонт холодильного и другого оборудования выполняют по графику, утвержденному главным инженером стройуправления.

6.95. Замораживающие колонки включают в работу для замораживания грунтов в строгом соответствии с проектом.

При обслуживании рассольной сети и замораживающих колонок следят за тем, чтобы не происходило утечки рассола, при появлении желтых пятен надлежит немедленно устранить причину. Скрытые утечки рассола обнаруживают по снижению уровня рассола в испарителях или расширительном баке по показаниям дистанционного указателя уровня или визуально.

6.96. Первоначально в течение суток рассол пускают в сеть с температурой не более минус 5 °С с доведением до рабочей температуры минус 20-25 °С в течение последующих пяти суток.

6.97. При обслуживании рассольной сети следят за бесперебойной циркуляцией рассола во всех подключенных колонках. Для этого не реже одного раза в сутки очищают от инея участок соединительного шланга длиной 10-15 см на каждой колонке и следят за скоростью нарастания инея.

6.98. Воздух из коллектора и распределителя выпускают через воздушные краны ежедневно, не допуская образования воздушных мешков в шлангах, соединяющих колонки с коллектором и распределителем. Температуру обратного рассола в колонках измеряют термометрами, установленными в гильзах, вваренных в колонки ниже обратного патрубка.

6.99. При эксплуатации следят за тем, чтобы не было обрыва питающей трубы в колонке, вследствие чего образуется короткий ток рассола и «окно» в ледогрунтовом ограждении. Признаком обрыва служит очень малая разность температур прямого и обратного рассола (< 1 °С). В этом случае колонку вскрывают и восстанавливают питающую трубу.

6.100. На замораживающей станции вывешивают аммиачную и рассольную схему, инструкцию по эксплуатации холодильных машин и электрооборудования, правила внутреннего распорядка и техники безопасности, график планово-предупредительного ремонта оборудования.

6.101. В течение всего периода эксплуатации замораживающей станции ведут специальный журнал ее работы.

Показатели работы замораживающей станции записываются через каждые 2 ч.

6.102. Температуру рассола, циркулирующего в каждой колонке, в прямом и обратном рассолопроводах фиксируют в журнале работы замораживающих колонок (прил. 32). Замер температур рассола производится не реже одного раза в смену.

6.103. Температуры грунтов в контрольных скважинах замеряют термодатчиками (тип и схема расстановки определяется проектом) один раз в сутки и записывают в журнал (прил. 33).

Данные наблюдений за уровнем грунтовых вод записывают в журнал (прил. 34).

6.104. Проектные размеры и сплошность ледогрунтового ограждения должны устанавливаться по следующим данным:

наличию отрицательных температур на разных глубинах во всех термометрических скважинах, расположенных в пределах ледогрунтового ограждения, а также с помощью ультразвукового прибора УКЛЦ конструкции ВНИИОМШС;

подъему уровня воды в гидрологических наблюдательных скважинах в замкнутом контуре;

стабильности температуры рассола.

После достижения проектных размеров и температуры ледогрунтового ограждения составляют акт готовности участка для ведения основных работ.

6.105. В начале замораживания температура грунта вокруг колонки понижается быстро, затем вследствие увеличения термического сопротивления замороженных грунтов скорость понижения температуры замедляется.

6.106. По данным практики по замораживанию грунтов скорость замораживания (по радиусу) в песчаных грунтах в среднем составляет 0,025 м/сут, в глинистых - 0,01-0,015 м/сут.

Установлено, что скорость нарастания ледогрунтового ограждения прямо пропорциональна теплопроводности, понижению температуры замораживания.

6.107. При отсутствии гидрологической скважины возможны случаи, когда грунтовая вода, заключенная между ледогрунтовым ограждением и двумя водонепроницаемыми глинистыми прослойками, не находит свободного выхода и в результате развивающегося внутреннего давления может нарушиться уже образовавшееся ледогрунтовое ограждение.

В таких случаях в контуре выработки необходимо бурить специальную разгрузочную скважину с заглублением в водоносный слой не менее 1-1,5 м для свободного выхода воды, заключенной в нем.

КОНТРОЛЬ КАЧЕСТВА И ПРИЕМКА РАБОТ

6.108. Искусственное замораживание грунтов включает сложный комплекс работ, требующих тщательного выполнения и контроля.

Контроль работ обеспечивает высокое качество замораживания грунтов и предотвращает возможность аварий.

6.109. Приемка работ по замораживанию грунта осуществляется в три этапа.

На первом этапе производят приемку следующих работ: бурения замораживающих скважин, монтажа замораживающих колонок, замораживающей станции и рассольной сети; кроме того, определяют результаты измерения отклонений скважин, производят пробный пуск замораживающей установки.

На втором этапе устанавливают готовность объекта для ведения основных строительных и горных работ. Этот этап включает опробование при нормальной работе системы замораживающей станции, установление образования ледогрунтового ограждения или массива проектной толщины и температуры грунта (период активного замораживания грунта).

Приемка ледогрунтового ограждения включает проверку соответствия размеров и температур ледогрунтового ограждения проектным на основании журналов работ, измерений уровня грунтовых вод в гидрологических наблюдательных скважинах и температур грунта в термометрических скважинах (см. прил. 33 и 34), ультразвукового контроля.

Одновременно должен быть уточнен режим работы замораживающей станции и рассольной сети для поддержания проектных размеров и температур ледогрунтового ограждения (ЛГО) на срок окончания всех работ, производимых под его защитой.

На третьем этапе производят приемку окончания работ по замораживанию грунтов и демонтажу оборудования. В этот этап входят окончание работ по возведению сооружения под защитой ЛГО, искусственное оттаивание грунтов (если оно предусмотрено проектом), демонтаж холодильного оборудования и рассольной сети, извлечение замораживающих колонок и тампонаж скважин.

Приемку работ оформляют актом. К акту прилагают исполнительную документацию, а также перечень недоделок с указанием сроков их устранения.

6.110. Промежуточной приемкой на первом этапе устанавливают:

правильность расположения замораживающих колонок, их глубины и направления и необходимость бурения дополнительных скважин;

готовность всей замораживающей системы (станции и сети) к пуску, т.е. возможность приступить к процессу замораживания грунтов с составлением акта о пуске в эксплуатацию замораживающей системы.

Промежуточную приемку производят осмотром выполненных работ на месте, проверкой исполнительной технической документации в соответствии с паспортами скважин и замораживающих колонок, и технической документацией, необходимой для сдачи холодильной установки (замораживающей станции) и рассольной сети.

6.111. При приемке замораживающих установок генподрядчик должен предъявить акт, подтверждающий выполнение всех подготовительных работ.

6.112. Строительная организация, осуществляющая замораживание грунтов, в процессе работы составляет исполнительные графики работы замораживающего оборудования, распространения зоны замораживания грунтов и количества включенных в работу колонок.

После окончания строительных работ составляют акт на прекращение работ по замораживанию и дается разрешение на производство демонтажных работ. Демонтаж скважин (извлечение замораживающих колонок и обсадных труб) оформляют актом с указанием мест заложения скважин, способов их ликвидации, объема работ и т.д., а также актом на скрытые работы по проведению тампонажа.

Все технические акты подписывают ответственные представители строительной организации и генерального подрядчика по строительству.

РАЗРАБОТКА ГРУНТА

6.113. Производство строительно-монтажных работ в пределах ледогрунтового ограждения разрешается при тщательном контроле за его состоянием и корректировке работы замораживающей станции с целью сохранения размеров ограждения и его температуры.

Все строительно-монтажные работы надлежит производить в строгом соответствии с проектом.

Выемку грунта из открытого котлована при положительных температурах воздуха необходимо производить с защитой ледогрунтовых стенок от действия атмосферных осадков и солнечных лучей.

6.114. Глинистые грунты плохо поддаются промораживанию - они остаются мягкими и пластичными, поэтому выемочные работы в них следует выполнять с большой осторожностью, так как в результате смещения глинистых грунтов замораживающие трубы подвергаются напряжению изгиба и соединительные стыки труб становятся неплотными. Через неплотности рассол будет вытекать из труб и размораживать ледогрунтовое ограждение.

6.115. Грунт, заключенный в пределах ледогрунтового ограждения, обычно находится в талом состоянии. Выемку песков производят лопатами, гравелистые породы, мел и мергель отбивают кайлами, отбойными молотками и пневмоломами, глины и суглинки - пневматическими лопатами.

6.116. Мерзлые грунты, обладающие большой влагоемкостью до замерзания (глина, суглинок, мергель, торф, лесс, растительные грунты) разрабатываются труднее, чем грунты с малой водоудерживающей способностью (песок, гравий, галька и др.), их разрабатывают отбойным молотком.

Работы по выемке грунта выполняют следующим образом: сначала вынимают грунт из незамороженного ядра, а затем производят отбойку замороженных грунтов отбойными молотками и пневмоломами по всему сечению выработки.

6.117. При разработке грунтов взрывным способом необходимо соблюдать меры предосторожности, не допуская деформации ледогрунтового ограждения и повреждения замораживающих колонок, особенно когда последние находятся близко к габариту выработки из-за отклонения их.

Буровзрывные работы следует выполнять строго в соответствии с проектом и соблюдением правил безопасности.

6.118. При разработке котлованов с использованием искусственно замороженных грунтов в качестве ограждающих несущих конструкций временное крепление котлованов (металлическое или деревянное) не применяют. В этом случае обнаженные замороженные стены котлована должны быть теплоизолированы с помощью специальных матов.

6.119. При строительстве подземных сооружений способом замораживания выработка отделена от внешних подземных вод непроницаемым ледогрунтовым ограждением, поэтому никакие специальные водоотливные средства не применяются. Вода, остающаяся в незамороженном ядре, собирается в небольшом зумпфе, откуда ее удаляют в бадью.

По мере продвигания забоя выработки зумпф углубляют и забой осушается.

Поступление в забой значительного количества воды указывает на наличие «окна» в ледогрунтовом ограждении. Если приток воды появляется в слабых грунтах (песок, ил, глина, мергель, мел и др.), организация водоотлива недопустима, так как движущаяся вода разрушит ледогрунтовое ограждение, что может привести к серьезным осложнениям. В таком случае необходимо прекратить работы, выработку залить водой из водопровода до нормального гидростатического уровня, а затем произвести дополнительное замораживание грунтов. Способ замораживания «окна» определяется специальным проектом.

6.120. Правильное использование способа искусственного замораживания грунтов при строительстве подземных сооружений в любых условиях дает положительные результаты.

Однако в ряде случаев несоблюдение или неправильный учет ряда факторов, влияющих на процесс замораживания (отсутствие уточненных геологических и гидрогеологических данных участка строительства, несоблюдение технических указаний при проектировании и производстве работ, отступление от проекта, неудовлетворительный контроль за всем комплексом работ по замораживанию и др.) приводит к осложнениям.

ОТТАИВАНИЕ ГРУНТОВ И ПОГАШЕНИЕ СКВАЖИН

6.121. Способ оттаивания замороженного грунта, порядок выполнения работ и контроля за размерами и температурами ледогрунтового ограждения в процессе оттаивания должен быть определен проектом.

6.122. Оттаивание замороженных грунтов может происходить естественным путем или производиться искусственно.

6.123. Искусственное оттаивание замороженных грунтов осуществляют нагретым рассолом, циркулирующим в замораживающих колонках.

Во избежание повреждений колонок рассол нагревают постепенно на 2-3 °С в сутки и доводят до 50-70 °С. Рассол подогревают паром, циркулирующим в секциях труб, опущенных в бак с рассолом.

6.124. Контроль за оттаиванием грунтов можно осуществлять через одну из колонок, не включенных в рассольную сеть, а также через температурно-контрольные скважины.

6.125. Холодильную установку до конца оттаивания грунтов демонтировать не следует.

6.126. Извлечение замораживающих колонок следует производить после окончания оттаивания и всех работ, выполнение которых было намечено произвести под защитой ледогрунтового ограждения.

Скважины по мере извлечения из них замораживающих колонок или трубы замораживающих колонок в случае невозможности их извлечения должны быть затампонированы.

6.127. Число подлежащих извлечению колонок и способ их извлечения устанавливаются проектом в зависимости от застроенности площадки и доступа к колонкам, степени ожидаемых осадок поверхности и сохранности наземных и подземных сооружений при извлечении колонок.

6.128. Извлечение замораживающих колонок из скважин после оттаивания грунтов должно производиться после демонтажа рассольной сети и удаления из колонок рассола.

6.129. Извлечение замораживающих колонок из скважин, до естественного оттаивания грунта выполняют искусственным оттаиванием слоя грунта толщиной 3-5 см вокруг трубы, для чего через колонки прокачивают подогретый рассол.

СОДЕРЖАНИЕ

Предисловие. 1

Раздел 1. Общая часть. 2

Раздел 2. Естественные основания. 3

Раздел 3. Уплотнение грунтов. 7

Общие положения. 7

Требования к материалам.. 12

Требования к проекту производства работ. 13

Применяемые механизмы и их техническая характеристика. 16

Опытное уплотнение. 23

Правила производства работ. 33

Раздел 4. Строительное водопонижение. 53

Общие положения. 53

Проект производства водопонизительных работ. 56

Материалы.. 56

Основное оборудование. 62

Водоотлив из котлованов и траншеи. 67

Устройство дренажей. 69

Устройство и эксплуатация водопонизительных скважин. 71

Устройство иглофильтровых систем.. 82

Электроосушение. 91

Эксплуатация водопонизительных систем.. 92

Демонтаж оборудования и ликвидация водопонизительных систем.. 95

Наблюдения, контроль качества, документация при производстве работ. 96

Приемка работ. 99

Раздел 5. Закрепление грунтов. 100

Общие положения. 100

Инъекционное химическое закрепление. 105

Силикатизация и смолизация. 107

Химическая технология силикатизации и смолизации и применяемые химические материалы.. 110

Правила производства работ и применяемые механизмы и оборудование при силикатизации и смолизации. 114

Контроль качества работ по силикатизации и смолизации. 128

Техника безопасности и охрана окружающей среды при силикатизации и смолизации. 131

Цементация. 135

Буросмесительное закрепление илов. 139

Термическое закрепление. 146

Раздел 6. Искусственное замораживание грунтов. 152

Общие положения. 152

Оборудование, материалы, производство работ. Бурение скважин. 153

Замораживающие колонки и их монтаж.. 155

Холодильные установки и их монтаж.. 156

Рассольная сеть и ее монтаж.. 160

Испытание холодильных установок и рассольной сети. 162

Эксплуатация замораживающей станции. 164

Контроль качества и приемка работ. 166

Разработка грунта. 167

Оттаивание грунтов и погашение скважин. 168

 

 




ГОСТЫ, СТРОИТЕЛЬНЫЕ и ТЕХНИЧЕСКИЕ НОРМАТИВЫ.
Некоммерческая онлайн система, содержащая все Российские Госты, национальные Стандарты и нормативы.
В Системе содержится более 150000 файлов нормативно-технической документации, действующей на территории РФ.
Система предназначена для широкого круга инженерно-технических специалистов.

Рейтинг@Mail.ru Яндекс цитирования

Copyright © www.gostrf.com, 2008 - 2026