| |
ТИПОВЫЕ ТЕХНОЛОГИЧЕСКИЕ КАРТЫ
НА ПРОИЗВОДСТВО
ОТДЕЛЬНЫХ ВИДОВ РАБОТ
РАЗДЕЛ 01
ТИПОВАЯ
ТЕХНОЛОГИЧЕСКАЯ КАРТА
НА ЗЕМЛЯНЫЕ И БУРОВЗРЫВНЫЕ РАБОТЫ
1.01.01.43
КОМПЛЕКСНО-МЕХАНИЗИРОВАННЫЙ ПРОЦЕСС
УСТРОЙСТВА КОТЛОВАНА ПОД ПРОМЫШЛЕННОЕ ЗДАНИЕ
В ГРУНТАХ III ГРУППЫ
МОСКВА - 1989
|
РАЗРАБОТАНА
|
ОДОБРЕНА
|
|
ВНИПИИСТРОМСЫРЬЕ
|
Отделом организации и технологии строительного производства Госстроя СССР
|
|
Главный инженер института Р.
А. Родин
Главный инженер проекта В.
Н. Буман
|
Письмо от 14.09.1988 г. № 23-532
Введена в действие с 1.01.1989 г.
|
1.1. Типовая
технологическая карта рекомендуется для использования при устройстве котлована под фундаменты
промышленного цеха глубиной до 5 м. Объем работ до 5000 м3.
1.2. Типовая технологическая
карта может быть использована для грунтов I-III групп.
1.3. В данной
технологической карте приведен пример разработки котлована с параметрами:
длина 84 м; ширина 91,5 м; глубина 5 м;
заложение откосов 1:0,75.
Объем растительного слоя грунта - 5100 м3.
Объем разработки грунта III группы -
39540 м3.
1.4. Разработка котлована производится
в средней зоне СССР при положительных температурах воздуха.
1.5. При привязке технологической карты к конкретному котловану под фундаменты промышленного цеха необходимо
скорректировать объемы работ, группы грунтов, график производства работ и
калькуляции затрат труда, средства механизации с учетом наличия парка
землеройных механизмов.
2.1. Настоящий
комплексно-механизированный технологический процесс состоит из подготовительных
и основных операций.
2.2. К подготовительным
операциям относится: геодезическая разбивка контура котлована с установкой разбивочных знаков и реперов; осуществление
мероприятий по ограждению котлована от
поступления поверхностных вод; устройство
освещения котлована и временных землевозных дорог.
2.3. К основным операциям относится:
разработка грунта растительного слоя;
разработка грунта в котловане.
2.4. Состав вариантов
комплексов машин, применяемых для выполнения основных
операций, приведен в табл. 1.
Таблица
1.
|
Технологические операции
|
Варианты комплексов машин
|
|
1
|
2
|
3
|
4
|
|
Разработка
грунта растительного слоя
|
Бульдозер
ДЗ-110А
Экскаватор Э0-4121Б обратная лопата
Автомобиль-самосвал
КамАЗ-5511
Автогрейдер
ДЗ-31-1
|
Бульдозер
ДЗ-110А
Экскаватор Э0-4321А обратная лопата
Автомобиль-самосвал
КамАЗ-5511
Автогрейдер
ДЗ-31-1
|
Бульдозер
ДЗ-110А
Экскаватор Э0-4111В обратная лопата
Автомобиль-самосвал
КамАЗ-5511
Автогрейдер
ДЗ-31-1
|
Бульдозер
ДЗ-110А
Экскаватор Э0-5111Е обратная лопата
Автомобиль-самосвал
КамАЗ-5511
Автогрейдер
ДЗ-31-1
|
|
Разработка
грунта в котловане
|
Экскаватор
Э0-4121Б
обратная лопата (с зачистным устройством)
Автомобиль-самосвал КамАЗ-5511
Бульдозер ДЗ-110А
Автогрейдер ДЗ-31-1
Пневмокаток ДУ-16В
|
Экскаватор
Э0-4321А обратная лопата (с зачистным устройством)
Автомобиль-самосвал КамАЗ-5511
Бульдозер ДЗ-110А
Автогрейдер ДЗ-31-1
Пневмокаток ДУ-16В
|
Экскаватор
Э0-4111В обратная лопата (с зачистным устройством)
Автомобиль-самосвал КамАЗ-5511
Бульдозер ДЗ-110А
Автогрейдер ДЗ-31-1
Пневмокаток ДУ-16В
|
Экскаватор
Э0-5111Е обратная лопата (с зачистным устройством)
Автомобиль-самосвал КамАЗ-5511
Бульдозер ДЗ-110А
Автогрейдер ДЗ-31-1
Пневмокаток ДУ-16В
|
Ведущими машинами в комплексе машин являются:
в варианте 1 - экскаватор Э0-4121Б, оборудованный обратной
лопатой. Вместимость ковша 1,0 м3
в варианте 2 - экскаватор Э0-4321А, оборудованный обратной лопатой. Вместимость ковша 0,65 м3
в варианте 3 - экскаватор Э0-4111В, оборудованный обратной лопатой. Вместимость ковша 0,65 м3
в варианте 4 - экскаватор Э0-5111Е, оборудованный обратной лопатой. Вместимость ковша 1,0 м3
2.5. Технология производства
работ для варианта 1.
Разработка
растительного слоя грунта производится бульдозером ДЗ-110А с перемещением грунта I группы на
расстояние до 30 м в промежуточные валы
с последующей погрузкой грунта в автомобили-самосвалы КамАЗ-5511 экскаватором Э0-4121Б, оборудованным
обратной лопатой с ковшом вместимостью 1,0 м3.
Транспортируется растительный слой грунта в резерв на расстояние 1 км.
Разработка грунта III группы в котловане осуществляется
экскаватором Э0-4121Б, оборудованным обратной лопатой с ковшом вместимостью 1,0 м3. Грунт
грузится на автомобили-самосвалы КамАЗ-5511 и транспортируется на 2 км в отвал.
Экскаватор должен быть оборудован зачистным устройством конструкции НИИпромстроя (г. Уфа). Применение зачистного
устройства исключает ручные работы при зачистке недобора.
Временные землевозные дороги устраиваются из доменного шлака или из другого местного
строительного материала с разравниванием его
бульдозером ДЗ-110А слоем 0,3 м и уплотнением пневмокатком ДУ-16В и постоянно поддерживаются
в исправном состоянии с помощью автогрейдера ДЗ-31-1.
2.6. Разработка грунта в котловане выполняется (при работе в одну смену) для варианта 1 следующим составом:
машинисты экскаватора 6 разряда - 2
машинист бульдозера 6 разряда -
1
машинист пневмокатка 6 разряда - 1
машинист автогрейдера 6 разряда -
1
водители автомобилей-самосвалов III класса - 4
2.7. Контроль качества
выполняемых работ производится в соответствии с табл. 2.
Таблица
2
|
Наименование
операций, подлежащих контролю
|
Контроль качества выполнения операций
|
|
производителем работ
|
мастером
|
Состав
|
Способы
|
Время
|
Привлекаемые службы
|
|
Разбивка
контура котлована
|
-
|
Точность
выноса
|
Теодолитом, стальной рулеткой
|
До
начала разработки
|
Геодезическая
|
|
|
Разработка
котлована
|
Геометрические
размеры в плане, оси проходок экскаватора, высотные отметки, крутизна откосов
|
Нивелиром, стальной
рулеткой
|
В процессе
разработки котлована
|
Геодезическая
|
В соответствии с принятыми вариантами комплексов машин (табл. 1) и
на основании калькуляций затрат труда в табл. 3 приведены
сравнительные технико-экономические показатели
эффективности вариантов.
Таблица
3
|
Наименование работ
|
Варианты комплексов механизации работ
|
|
1
|
2
|
3
|
4 (аналог)
|
|
Объем работ, м3
|
39540
|
39540
|
39540
|
39540
|
|
Общая трудоемкость, чел.дн.
|
674,66
|
767,68
|
838,94
|
700,51
|
|
То же, на 1000 м3
грунта, чел.-ч
|
139,9
|
159,20
|
173,98
|
145,27
|
|
Затраты
машинного времени на весь объем работ, маш.-смен
|
674,66
|
767,68
|
838,94
|
575,45
|
|
Продолжительность
процесса при двухсменной работе, день
|
39
|
47
|
59
|
34
|
|
Выработка на 1 маш.-ч, м3
|
7,14
|
6,28
|
5,74
|
8,38
|
|
Стоимость затрат труда на
весь объем работ, руб.-коп.
|
4629-29
|
5258-91
|
5750-25
|
4880-23
|
|
То же, на 1000 м3, руб.-коп.
|
117-08
|
133-09
|
145-43
|
123-43
|
|
Приведенные затраты на весь
объем работ, руб.-коп.
|
38722-08
|
41410-80
|
42715-62
|
37140-48
|
|
То же, на 1000 м3, руб.-коп.
|
979-31
|
1047-31
|
1080-31
|
939-31
|
|
Эффективность в сравнении с аналогом
на 1000 м3 грунта, руб.
|
-40
|
-108
|
-141
|
-
|
|
Прямые затраты на 1000 м3
грунта, руб.-коп.
|
897-61
|
943-20
|
982-61
|
868-65
|
4.1. Потребность в машинах, оборудовании,
инструментах и приспособлениях
Таблица 4
|
Наименование машин, оборудования,
инструментов и приспособлений
|
Тип
|
Марка
ГОСТ
|
Количество
машин для вариантов механизации, шт.
|
Техническая характеристика
|
|
1
|
2
|
3
|
4
|
|
Экскаватор универсальный
|
Одноковшовый гидравлический, на гусеничном ходу
|
Э0-4121Б
ГОСТ 22894-77
|
2
|
-
|
-
|
-
|
Оборудован обратной лопатой.
Вместимость
ковша 1,0 м3
|
|
Экскаватор универсальный
|
Одноковшовый гидравлический, на пневмоколесном ходу
|
Э0-4321А
ГОСТ
22894-77
|
-
|
2
|
-
|
-
|
Оборудован обратной лопатой.
Вместимость ковша 0,65 м3
|
|
Экскаватор
универсальный
|
Одноковшовый канатный, на гусеничном ходу
|
Э0-4111В
ГОСТ 17343-83
|
-
|
-
|
2
|
-
|
Оборудован обратной лопатой. Вместимость
ковша 0,65 м3
|
|
Экскаватор универсальный
|
Одноковшовый канатный, на гусеничном ходу
|
Э0-5111Е
ГОСТ 17343-83
|
-
|
-
|
-
|
2
|
Оборудован обратной лопатой. Вместимость ковша 1,0
м3
|
|
Бульдозер с неповоротным
отвалом, управление гидравлическое
|
На тракторе класса 10 т
|
ДЗ-110А
|
1
|
1
|
1
|
1
|
Трактор Т.130.1.Г-1. Длина отвала 3220 мм
|
|
Автогрейдер среднего типа
|
Самоходный
|
ДЗ-31-1
ГОСТ 9420-79
|
1
|
1
|
1
|
1
|
Мощность двигателя 96 кВт.
Длина отвала 3700 мм
|
|
Каток
|
Пневмоколесный полуприцепной
|
ДУ-16В
|
1
|
1
|
1
|
1
|
Тягач МоАЗ-546А. Масса 25,9
т. Ширина уплотняемой полосы 2620 мм.
|
|
Автомобиль-самосвал
|
Трехосный
|
КамАЗ-5511
|
4
|
4
|
4
|
4
|
Грузоподъемность 10 т
|
|
Теодолит
|
|
Т-15
ГОСТ 10529-86
|
1
|
1
|
1
|
1
|
|
|
Нивелир
|
|
Н-10
ГОСТ
10528-76
|
1
|
1
|
1
|
1
|
|
|
Рейка нивелирная
|
|
РН-10
ГОСТ 11158-83
|
2
|
2
|
2
|
2
|
|
|
Вешка геодезическая
|
Стандартная
|
|
3
|
3
|
3
|
3
|
|
|
Рулетка
измерительная металлическая
|
Стандартная
|
РС-20
ГОСТ 7502-80
|
1
|
1
|
1
|
1
|
|
4.2. Потребность в
эксплуатационных материалах
Таблица
5
|
Наименование
механизмов и эксплуатационных материалов
|
Норма
на час работы машины, кг
|
Количество
на принятый объем работ по вариантам, кг
|
|
1
|
2
|
3
|
4
|
|
Экскаватор Э0-4121Б
|
|
|
|
|
|
|
Дизельное топливо
|
5,50
|
6622
|
-
|
-
|
-
|
|
Бензин
|
0,16
|
193
|
-
|
-
|
-
|
|
Моторное масло
|
0,27
|
325
|
-
|
-
|
-
|
|
Трансмиссионное масло
|
0,03
|
36
|
-
|
-
|
-
|
|
Консистентная смазка
|
0,16
|
193
|
-
|
-
|
-
|
|
Экскаватор Э0-4321А
|
|
|
|
|
|
|
Дизельное топливо
|
3,50
|
-
|
4802
|
-
|
-
|
|
Бензин
|
0,10
|
-
|
137
|
-
|
-
|
|
Моторное масло
|
0,17
|
-
|
233
|
-
|
-
|
|
Трансмиссионное масло
|
0,02
|
-
|
27
|
-
|
-
|
|
Консистентная смазка
|
0,10
|
-
|
137
|
-
|
-
|
|
Экскаватор Э0-4111В
|
|
|
|
|
|
|
Дизельное топливо
|
5,70
|
-
|
-
|
8556
|
-
|
|
Бензин
|
0,17
|
-
|
-
|
255
|
-
|
|
Моторное масло
|
0,28
|
-
|
-
|
420
|
-
|
|
Трансмиссионное масло
|
0,03
|
-
|
-
|
45
|
-
|
|
Консистентная смазка
|
0,17
|
-
|
-
|
255
|
-
|
|
Экскаватор Э0-5111Е
|
|
|
|
|
|
|
Дизельное топливо
|
6,2
|
-
|
-
|
-
|
6361
|
|
Бензин
|
0,18
|
-
|
-
|
-
|
185
|
|
Моторное масло
|
0,30
|
-
|
-
|
-
|
308
|
|
Трансмиссионное масло
|
0,04
|
-
|
-
|
-
|
41
|
|
Консистентная смазка
|
0,18
|
-
|
-
|
-
|
185
|
|
Бульдозер ДЗ-110А
|
|
|
|
|
|
|
Дизельное топливо
|
7,70
|
2980
|
2980
|
2980
|
2980
|
|
Бензин
|
0,23
|
89
|
89
|
89
|
89
|
|
Моторное масло
|
0,37
|
143
|
143
|
143
|
143
|
|
Трансмиссионное масло
|
0,10
|
39
|
39
|
39
|
39
|
|
Консистентная смазка
|
0,08
|
31
|
31
|
31
|
31
|
|
Автогрейдер ДЗ-31-1
|
|
|
|
|
|
|
Дизельное топливо
|
5,20
|
3380
|
3848
|
4207
|
2865
|
|
Бензин
|
0,16
|
104
|
118
|
129
|
88
|
|
Моторное масло
|
0,25
|
163
|
185
|
202
|
138
|
|
Трансмиссионное масло
|
0,07
|
46
|
52
|
57
|
39
|
|
Консистентная смазка
|
0,06
|
39
|
44
|
49
|
33
|
|
Каток ДУ-16В
|
|
|
|
|
|
|
Дизельное топливо
|
10,10
|
68
|
68
|
68
|
68
|
|
Бензин
|
0,30
|
2
|
2
|
2
|
2
|
|
Моторное масло
|
0,48
|
3
|
3
|
3
|
3
|
|
Трансмиссионное масло
|
0,13
|
0,9
|
0,9
|
0,9
|
0,9
|
|
Консистентная
смазка
|
0,14
|
0,95
|
0,95
|
0,95
|
0,95
|
|
Автомобили-самосвалы
|
|
|
|
|
|
|
КамАЗ-5511
|
|
|
|
|
|
|
Дизельное топливо
|
5,40
|
8537
|
8537
|
8537
|
8537
|
|
Дизельное масло
|
0,25
|
395
|
395
|
395
|
395
|
|
Трансмиссионное масло
|
0,04
|
63
|
63
|
63
|
63
|
|
Консистентная смазка
|
0,02
|
32
|
32
|
32
|
32
|
При выполнении работ по разработке котлована необходимо
руководствоваться требованиями СНиП-III-4-80 «Техника безопасности в строительстве» п.п. 9.1-9.22; ГОСТ
12.3.002-75 «Процессы производственные»;
ГОСТ 12.2.012-75
«Приспособления по обеспечению безопасного производства работ»;
ГОСТ 12.1.004-85 «Пожарная
безопасность»;
ГОСТ
12.1.013-78 «Строительство. Электробезопасность» и
ГОСТ
23407-78 «Ограждения инвентарные строительных площадок и участков производства строительно-монтажных работ».
|

|
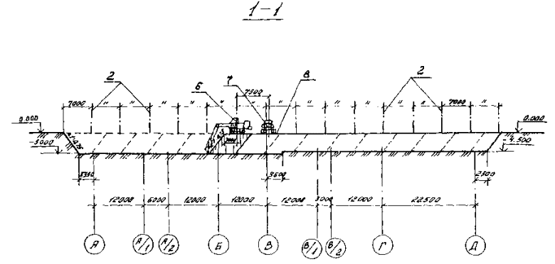
1 - контур фундамента;
2
- ось рабочей проходки экскаватора;
3
- начало работы экскаватора;
4
- конец работы экскаватора;
5
- рабочие стоячки экскаватора;
6
- экскаватор Э0-4121Б, оборудованный обратной лопатой;
7
- автомобиль-самосвал КрАЗ-256Б;
8
- временная землевозная дорога
|

ОБЪЕМЫ РАБОТ
|
Наименование
|
Количество, м3
|
|
Разработка
растительного слоя грунта I группы
|
5100
|
|
Разработка
грунта III группы
|
39540
|
ГРАФИК ПРОИЗВОДСТВА РАБОТ. ВАРИАНТ 1


|
Наименование работ
|
Обоснование (ЕНиР и др.)
|
Единица измерения
|
Объем работ
|
Норма времени на единицу измерения,
чел.-ч
маш.-ч
|
Затраты труда на весь объем работ,
чел.-дн.
маш.-смен
|
Время пребывания машины на объекте, маш.-смен
|
Расценка на единицу измерения, руб.-коп.
|
Стоимость затрат на весь объем работ, руб.-коп.
|
Стоимость затрат с учетом пребывания машины на объекте, руб.-коп.
|
|
Планировка
бульдозером площадки механизированным способом
|
ЕНиР
§Е2-1-35, т. 1, п. 4а
|
1000 м2
|
10,22
|
0,2
0,2
|
0,27
0,27
|
0,27
|
0-21,2
|
2-17
|
2-17
|
|
Разработка бульдозером растительного слоя грунта I группы с перемещением на расстояние
30 м
|
ЕНиР §Е2-1-22, т. 2, п. 5а, г
|
100 м3
|
51
|
0,95
0,95
|
5,90
5,90
|
5,90
|
1-00,7
|
51-36
|
51-36
|
|
Разработка растительного
слоя грунта I
группы экскаватором Э0-4121Б, оборудованным обратной лопатой, с погрузкой в автомобили-самосвалы
|
ЕНиР
§Е2-1-11, т. 5, п. 5а
|
100 м3
|
51
|
1,9
1,9
|
11,81
11,81
|
11,81
|
2-01
|
102-51
|
102-51
|
|
Транспортирование грунта
автомобилями-самосвалами КамАЗ-5511 на расстояние 1 км
|
ЕНВ*
|
100 т
|
61,2
|
1,9
1,9
|
14,18
14,18
|
23,62
|
1-50
|
91-80
|
152-95
|
|
Работа бульдозера на отвале
в грунте I
группы
|
ЕНиР §Е2-1-28, т. 1, п. 3а
|
100 м3
|
51
|
0,46
0,46
|
2,86
2,86
|
11,81
|
0-48,8
|
24-89
|
102-68
|
|
Разработка грунта III группы экскаватором Э0-4121Б, оборудованным обратной
лопатой, с погрузкой на автомобили-самосвалы
|
ЕНиР
§Е2-1-11, т. 5, п. 5в
|
100 м3
|
395,4
|
2,8
2,8
|
135,02
135,02
|
135,02
|
2-97
|
1174-34
|
1174-34
|
|
Транспортирование грунта
автомобилями-самосвалами КамАЗ-5511 на расстояние 1 км
|
ЕНВ*
|
100 т
|
771,03
|
1,9
1,9
|
178,65
178,65
|
270,04
|
1-50
|
1156-55
|
1748-57
|
|
Работа бульдозера на отвале
в грунте III
группы
|
ЕНиР
§Е2-1-28, т.
1, п. 3в
|
100 м3
|
395,4
|
0,77
0,77
|
37,13
37,13
|
67,52
|
0-81,6
|
322-65
|
586-80
|
|
Разравнивание бульдозером грунта II группы (шлак) слоем 0,2 м
|
ЕНиР
§Е2-1-28, т.
1, п. 3б
|
100 м3
|
14,6
|
0,58
0,58
|
1,03
1,03
|
1,03
|
0-61,5
|
8-98
|
8-98
|
|
Уплотнение грунта (шлак) слоем 0,2 м полуприцепным катком ДУ-16В
|
ЕНиР
§Е2-1-29, т.
4, п. 3б
|
100 м3
|
14,6
|
0,46
0,46
|
0,82
0,82
|
0,82
|
0-48,8
|
7-12
|
7-12
|
|
Ремонт и содержание дорог
автогрейдером ДЗ-31-1 при транспортировании грунта
|
ЕНиР
§Е17-20, п.
15
|
1 км
|
591,3
|
1,10
1,10
|
79,32
79,32
|
79,32
|
1-17
|
691-81
|
691-81
|
|
ИТОГО:
|
|
|
|
|
466,99
466,99
|
607,16
|
|
3634-18
|
4629-29
|
ЕНВ* - Здесь и далее «Единые нормы
времени на перевозку грузов
автомобильным транспортом и сдельные расценки
для оплаты труда водителей».


|
Наименование работ
|
Обоснование (ЕНиР и др.)
|
Единица измерения
|
Объем работ
|
Норма времени на единицу измерения,
чел.-ч
маш.-ч
|
Затраты труда на весь объем работ,
чел.-дн.
маш.-смен
|
Время пребывания машины на объекте, маш.-смен
|
Расценка на единицу измерения, руб.-коп.
|
Стоимость затрат на весь объем работ, руб.-коп.
|
Стоимость затрат с учетом пребывания машины на объекте, руб.-коп.
|
|
Планировка площадки
механизированным способом бульдозером
|
ЕНиР
§Е2-1-35, т. 1, п. 4а
|
1000 м2
|
10,22
|
0,2
0,2
|
0,27
0,27
|
0,27
|
0-21,2
|
2-17
|
2-17
|
|
Разработка бульдозером растительного слоя грунта I группы с перемещением на расстояние
30 м
|
ЕНиР §Е2-1-22, т. 2, п. 5а, г
|
100 м3
|
51
|
0,95
0,95
|
5,90
5,90
|
5,90
|
1-00,7
|
51-36
|
51-36
|
|
Разработка растительного
слоя грунта I
группы экскаватором Э0-4321А, оборудованным обратной лопатой, с погрузкой на
автомобили-самосвалы
|
ЕНиР
§Е2-1-11, т. 5, п. 4а
|
100 м3
|
51
|
2,1
2,1
|
13,06
13,06
|
13,06
|
2-23
|
113-73
|
113-73
|
|
Транспортирование грунта
автомобилями-самосвалами КамАЗ-5511 на расстояние 1 км
|
ЕНВ*
|
100 т
|
61,2
|
1,9
1,9
|
14,18
14,18
|
26,12
|
1-50
|
91-80
|
169-15
|
|
Работа бульдозера на отвале
в грунте I
группы
|
ЕНиР §Е2-1-28, т. 1, п. 3а
|
100 м3
|
51
|
0,46
0,46
|
2,86
2,86
|
13,06
|
0-48,8
|
24-89
|
110-20
|
|
Разработка грунта III группы экскаватором Э0-4321А, оборудованным обратной
лопатой, с погрузкой на автомобили-самосвалы
|
ЕНиР
§Е2-1-11, т. 5, п. 4в
|
100 м3
|
395,4
|
3,2
3,2
|
154,30
154,30
|
154,30
|
3-39
|
1340-41
|
1340-41
|
|
Транспортирование грунта
автомобилями-самосвалами КамАЗ-5511 на расстояние 1 км
|
ЕНВ*
|
100 т
|
771,03
|
1,9
1,9
|
178,65
178,65
|
308,60
|
1-50
|
1156-55
|
1998-37
|
|
Работа бульдозера на отвале
в грунте III
группы
|
ЕНиР
§Е2-1-28, т.
1, п. 3в
|
100 м3
|
395,4
|
0,77
0,77
|
37,13
37,13
|
77,16
|
0-81,6
|
322-65
|
670-59
|
|
Разравнивание бульдозером грунта II группы (шлак) слоем 0,2 м
|
ЕНиР
§Е2-1-28, т.
1, п. 3б
|
100 м3
|
14,6
|
0,58
0,58
|
1,03
1,03
|
1,03
|
0-61,5
|
8-98
|
8-98
|
|
Уплотнение грунта (шлак) слоем 0,2 м полуприцепным катком ДУ-16В
|
ЕНиР
§Е2-1-29, т.
4, п. 1б
|
100 м3
|
14,6
|
0,46
0,46
|
0,82
0,82
|
0,82
|
0-48,8
|
7-12
|
7-12
|
|
Ремонт и содержание дорог
автогрейдером ДЗ-31-1 при транспортировании грунта
|
ЕНиР
§Е17-20, п.
15
|
1 км
|
672,5
|
1,10
1,10
|
90,22
90,22
|
90,22
|
1-17
|
786-83
|
786-83
|
|
ИТОГО:
|
|
|
|
|
498,42
498,42
|
690,54
|
|
3906-49
|
5258-41
|


|
Наименование работ
|
Обоснование (ЕНиР и др.)
|
Единица измерения
|
Объем работ
|
Норма времени на единицу измерения,
чел.-ч
маш.-ч
|
Затраты труда на весь объем работ,
чел.-дн.
маш.-смен
|
Время пребывания машины на объекте, маш.-смен
|
Расценка на единицу измерения, руб.-коп.
|
Стоимость затрат на весь объем работ, руб.-коп.
|
Стоимость затрат с учетом пребывания машины на объекте, руб.-коп.
|
|
Планировка
площадки механизированным способом бульдозером ДЗ-110А
|
ЕНиР
§Е2-1-35, т. 1, п. 4а
|
1000 м2
|
10,22
|
0,2
0,2
|
0,27
0,27
|
0,27
|
0-21,2
|
2-17
|
2-17
|
|
Разработка растительного
слоя грунта I
группы бульдозером ДЗ-110А с перемещением на
расстояние 30 м
|
ЕНиР §Е2-1-22, т. 2, п. 5а, г
|
100 м3
|
51
|
0,95
0,95
|
5,90
5,90
|
5,90
|
1-00,7
|
51-36
|
51-36
|
|
Разработка растительного
слоя грунта I группы экскаватором Э0-4111В,
оборудованным обратной лопатой, с погрузкой на автомобили-самосвалы
|
ЕНиР
§Е2-1-11, т. 3, п. 5а
|
100 м3
|
51
|
2,3
2,3
|
14,30
14,30
|
14,30
|
2-44
|
124-44
|
124-44
|
|
Транспортирование грунта автомобилями-самосвалами
КамАЗ-5511 на расстояние 1 км
|
ЕНВ*
|
100 т
|
61,2
|
1,9
1,9
|
14,18
14,18
|
28,60
|
1-50
|
91-80
|
185-21
|
|
Работа бульдозера на отвале
в грунте I
группы
|
ЕНиР §Е2-1-28, т. 1, п. 3а
|
100 м3
|
51
|
0,46
0,46
|
2,86
2,86
|
14,30
|
0-48,8
|
24-89
|
124-33
|
|
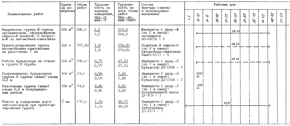
Разработка грунта III группы экскаватором Э0-4111В, оборудованным обратной лопатой, с погрузкой на
автомобили-самосвалы
|
ЕНиР
§Е2-1-11, т. 3, п. 5в
|
100 м3
|
395,4
|
3,5
3,5
|
168,76
168,76
|
168,76
|
3-71
|
1466-93
|
1466-93
|
|
Транспортирование грунта
автомобилями-самосвалами КамАЗ-5511 на расстояние 1 км
|
ЕНВ*
|
100 т
|
771,03
|
1,9
1,9
|
178,65
178,65
|
337,52
|
1-50
|
1156-55
|
2185-71
|
|
Работа бульдозера на отвале
в грунте III
группы
|
ЕНиР
§Е2-1-28, т.
1, п. 3в
|
100 м3
|
395,4
|
0,77
0,77
|
37,13
37,13
|
84,38
|
0-81,6
|
322-65
|
733-35
|
|
Разравнивание бульдозером грунта II группы (шлак) слоем 0,2 м
|
ЕНиР
§Е2-1-28, т.
1, п. 3б
|
100 м3
|
14,6
|
0,58
0,58
|
1,03
1,03
|
1,03
|
0-61,5
|
8-98
|
8-98
|
|
Уплотнение полуприцепным катком грунта (шлак) слоем 0,2 м
|
ЕНиР
§Е2-1-29, т.
4, п. 1б
|
100 м3
|
14,6
|
0,46
0,46
|
0,82
0,82
|
0,82
|
0-48,8
|
7-12
|
7-12
|
|
Ремонт и содержание дорог
автогрейдером ДЗ-31-1 при транспортировании грунта
|
ЕНиР
§Е17-20, п.
15
|
1 км
|
735,6
|
1,10
1,10
|
98,68
98,68
|
98,68
|
1-17
|
860-65
|
860-65
|
|
ИТОГО:
|
|
|
|
|
522,58
522,58
|
754,56
|
|
4117-54
|
5750-25
|


|
Наименование работ
|
Обоснование (ЕНиР и др.)
|
Единица измерения
|
Объем работ
|
Норма времени на единицу измерения,
чел.-ч
маш.-ч
|
Затраты труда на весь объем работ,
чел.-дн.
маш.-смен
|
Время пребывания машины на объекте, маш.-смен
|
Расценка на единицу измерения, руб.-коп.
|
Стоимость затрат на весь объем работ, руб.-коп.
|
Стоимость затрат с учетом пребывания машины на объекте, руб.-коп.
|
|
Планировка
площадки механизированным способом
|
ЕНиР
§Е2-1-35, т. 1, п. 4а
|
1000 м2
|
10,22
|
0,2
0,2
|
0,27
0,27
|
0,27
|
0-21,2
|
2-17
|
2-17
|
|
Разработка бульдозером растительного слоя грунта I группы с перемещением на расстояние
30 м
|
ЕНиР §Е2-1-22, т. 2, п. 5а, г
|
100 м3
|
51
|
0,95
0,95
|
5,90
5,90
|
5,90
|
1-00,7
|
51-36
|
51-36
|
|
Разработка растительного слоя
грунта I
группы экскаватором Э0-5111Е,
оборудованным обратной лопатой, с погрузкой на автомобили-самосвалы
|
ЕНиР
§Е2-1-11, т. 4, п. 4а
|
100 м3
|
51
|
3,0
1,5
|
18,66
9,33
|
9,33
|
2-96
|
150-96
|
150-96
|
|
Транспортирование грунта автомобилями-самосвалами
КамАЗ-5511 на расстояние 1 км
|
ЕНВ*
|
100 т
|
61,2
|
1,9
1,9
|
14,18
14,18
|
18,66
|
1-50
|
91-80
|
120-82
|
|
Работа бульдозера на отвале
в грунте I
группы
|
ЕНиР §Е2-1-28, т. 1, п. 3а
|
100 м3
|
51
|
0,46
0,46
|
2,86
2,86
|
9,32
|
0-48,8
|
24-89
|
81-04
|
|
Разработка грунта III группы экскаватором Э0-5111Е, оборудованным обратной лопатой, с погрузкой на
автомобили-самосвалы
|
ЕНиР
§Е2-1-11, т. 4, п. 4в
|
100 м3
|
395,4
|
4,8
2,4
|
231,46
115,73
|
115,73
|
4-73
|
1870-24
|
1870-24
|
|
Транспортирование грунта
автомобилями-самосвалами КамАЗ-5511 на расстояние 1 км
|
ЕНВ*
|
100 т
|
771,93
|
1,9
1,9
|
178,65
178,65
|
231-46
|
1-50
|
1156-55
|
1498-65
|
|
Работа бульдозера на отвале
в грунте III
группы
|
ЕНиР
§Е2-1-28, т.
1, п. 3в
|
100 м3
|
395,4
|
0,77
0,77
|
37,13
37,13
|
57,86
|
0-81,6
|
322-65
|
502-84
|
|
Разравнивание бульдозером грунта II группы (шлак) слоем 0,2 м
|
ЕНиР
§Е2-1-28, т.
1, п. 3б
|
100 м3
|
14,6
|
0,58
0,58
|
1,03
1,03
|
1,03
|
0-61,5
|
8-98
|
8-98
|
|
Уплотнение полуприцепным катком грунта (шлак) слоем 0,2 м
|
ЕНиР
§Е2-1-29, т.
4, п. 1б
|
100 м3
|
14,6
|
0,46
0,46
|
0,82
0,82
|
0,82
|
0-48,8
|
7-12
|
7-12
|
|
Ремонт и содержание дорог
автогрейдером ДЗ-31-1 при транспортировании грунта
|
ЕНиР
§Е17-20, п.
15
|
1 км
|
500,9
|
1,10
1,10
|
67,20
67,20
|
67,2
|
1-17
|
586-05
|
586-05
|
|
ИТОГО:
|
|
|
|
|
558,16
433,1
|
517,56
|
|
4272-77
|
4880-23
|
|
|