Крупнейшая бесплатная информационно-справочная система онлайн доступа к полному собранию технических нормативно-правовых актов РФ. Огромная база технических нормативов (более 150 тысяч документов) и полное собрание национальных стандартов, аутентичное официальной базе Госстандарта. GOSTRF.com - это более 1 Терабайта бесплатной технической информации для всех пользователей интернета. Все электронные копии представленных здесь документов могут распространяться без каких-либо ограничений. Поощряется распространение информации с этого сайта на любых других ресурсах. Каждый человек имеет право на неограниченный доступ к этим документам! Каждый человек имеет право на знание требований, изложенных в данных нормативно-правовых актах!

  


 

Библиотека справочной литературы
ООО «Центр безопасности труда»

МАСЛА НЕФТЯНЫЕ И ОГНЕСТОЙКИЕ
ТУРБИННЫЕ МЕТОД КОЛИЧЕСТВЕННОГО
ОПРЕДЕЛЕНИЯ АНТИКОРРОЗИОННЫХ
СВОЙСТВ

РД 153-34.1-43.204-2001

Срок действия с 01-01-2002

до 01-01-2012

РАЗРАБОТАНО Акционерным обществом открытого типа "Всероссийский теплотехнический научно-исследовательский институт" (АООТ "ВТИ")

Исполнители Т.Н. Куликовская, Н.М. Первушина, М.Е. Постникова

УТВЕРЖДЕНО Департаментом научно-технической политики и развития РАО "ЕЭС России" 29.06.2001

Первый заместитель начальника А.П. Ливийский

Срок первой проверки РД - 2007 г.

Периодичность проверки - один раз в 5 лет.

Документ прошел метрологическую экспертизу.

(Аттестат аккредитации МС АООТ "ВТИ" № 01.00038-97 от 15.12.97 г.)

ВЗАМЕН РД 34.43.204-94

Настоящий руководящий документ распространяется на нефтяные и огнестойкие турбинные масла, работающие в маслосистемах турбоагрегатов тепловых электростанций, и устанавливает метод количественного определения антикоррозионных свойств масел.

Положения настоящего руководящего документа подлежат применению всеми предприятиями и объединениями предприятий, в том числе союзами, ассоциациями, концернами, акционерными обществами, межотраслевыми, региональными и другими объединениями, имеющими в своем составе (структуре) тепловые электростанции, независимо от форм собственности и подчинения.

Настоящий документ предназначен для применения в химслужбах АО-энерго и химлабораториях тепловых электростанций.

1 АППАРАТУРА, РЕАКТИВЫ, МАТЕРИАЛЫ

Реакционный сосуд для определения антикоррозионных свойств турбинных масел (рисунок 1) с пришлифованным воздушным холодильником. Реакционные сосуды и холодильники к ним (далее по тексту приборы) должны быть изготовлены из молибденового стекла.

1 - реакционный сосуд; 2 - воздушный холодильник.

Рисунок 1 - Прибор для определения антикоррозионных свойств турбинных масел

Пластинки стали марки Ст3 по ГОСТ 380 размером (70±0,2×12±0,1×2±0,1) мм.

Термостат жидкостной типа ЛПСМ с электрообогревом, обеспечивающий нагрев до 150 °С и автоматическое поддержание температуры на заданном уровне с погрешностью ±0,5 °С. Высота термостата должна обеспечивать возможность погружения в теплоноситель реакционного сосуда на 2/3 его высоты *.

_____________

* Возможно использование другого оборудования аналогичного назначения с характеристиками не хуже указанных в перечне.

Термометры ртутные стеклянные лабораторные с пределами измерений от 50 °С до 150 °С типа ТЛ-4 № 4 или ТЛ-5 № 3 по ГОСТ 13646.

Термометры электроконтактные с диапазоном измерений температур контактирования (0÷50) °С по ГОСТ 9871.

Расходомерное устройство (реометры) с градуировкой, обеспечивающей расход кислорода в количестве 30 см3/мин на каждый прибор с погрешностью не более 10% *.

_____________

* Возможно использование другого оборудования аналогичного назначения с характеристиками не хуже указанных в перечне.

Весы аналитические 2-го класса точности с пределом взвешивания до 200 г с точностью до 0,0002 г.

Весы технические с пределом взвешивания 500 г *.

_____________

* Возможно использование другого оборудования аналогичного назначения с характеристиками не хуже указанных в перечне.

Механический шлифовальный станок любой конструкции с частотой вращения вала 1500-1700 мин-1.

Кислород газообразный технический по ГОСТ 5583.

Бензин-растворитель экстракционный по ТУ 38.401-67-108.

Спирт этиловый ректификованный технический по ГОСТ 18300.

Толуол ч.д.а. или х.ч. по ГОСТ 14710 или смесь спирто-толуольная в соотношении 2:3.

Кислота серная ч.д.а. или х.ч. по ГОСТ 4204.

Кислота соляная ч.д.а. или х.ч. по ГОСТ 3118.

Метиловый оранжевый (индикатор) по ГОСТ 10816, 1%-ный водный раствор.

Вода дистиллированная по ГОСТ 6709.

Смесь хромовая для мытья посуды.

Жидкость для термостата: кремнеорганическая жидкость ПФМС-4 по ГОСТ 15866, ПМС-60 по ГОСТ 13032 или нефтяные масла с температурой вспышки в открытом тигле выше 250 °С с добавлением 1% стабилизирующей присадки.

Бумага фильтровальная лабораторная по ГОСТ 12026.

Шкурки шлифовальные на тканевой основе по ГОСТ 5009 или шкурки шлифовальные на бумажной основе по ГОСТ 6456 с зернистостью порошка 40÷50 мкм.

2 ПОДГОТОВКА К ИСПЫТАНИЮ

2.1 Каждый новый прибор перед испытанием должен быть вымыт хромовой смесью, а затем водой до нейтральной реакции по метилоранжу. Вслед за этим приборы подвергают "тренировке", для чего в сухие, чистые сосуды наливают по 30 г турбинного масла с кислотным числом не менее 0,07 мг КОН/г, опускают стальные пластинки и помещают в термостат с температурой 95 °С, подсоединяют резиновые трубки, подающие кислород, воздушные холодильники и выдерживают в бане 24 ч (можно с перерывами) при расходе кислорода 30 см3/мин. Через 30 мин после начала опыта в каждый прибор добавляют по 3 см3 дистиллированной воды, осторожно приподнимая холодильник. Погружение реакционных сосудов в термостат осуществляют с тем расчетом, чтобы после добавления воды и с учетом пропускания кислорода через реакционную смесь уровень жидкости в них был ниже уровня жидкости в термостате на 50-70 мм.

По окончании "тренировки" приборы вынимают из термостата и моют по пп.2.2-2.8 настоящей методики. По этой же методике приборы моют после каждого определения коррозии.

2.2 Приборы освобождают от остатков масла и воды, после чего обезжиривают. Для обезжиривания могут быть использованы либо растворители (бензин, спирто-толуольная смесь и т.п.), либо горячий водный раствор тринатрийфосфата или другого моющего средства.

2.3 Затем приборы промывают проточной водой, отмывая от остатков моющего раствора.

2.4 В случае образования масляного шлама на стенках приборов их обрабатывают горячей спирто-толуольной смесью 3:2.

2.5 Для удаления окислов железа, образовавшихся в результате коррозии стальных пластинок, приборы обрабатывают соляной кислотой (концентрация ~20%) до полного исчезновения следов ржавчины со стенок сосудов (определяется визуально). После этого приборы ополаскивают водой и моют хромовой смесью.

2.6 Для окончательной отмывки приборы промывают проточной, а затем дистиллированной водой до нейтральной реакции по метилоранжу.

2.7 Если после нескольких промывок водой кислая реакция по метилоранжу сохраняется, то реакционные сосуды заливают доверху дистиллированной водой и кипятят в течение 40 мин в емкости с водой (водяная баня). Операцию повторяют до нейтральной реакции, каждый раз меняя воду в сосудах. В качестве водяной бани может быть использована любая емкость высотой не менее 2/3 высоты реакционных сосудов, обеспечивающая возможность ее нагрева на электроплитке.

2.8 Холодильники ополаскивают этиловым спиртом. После этого их моют хромовой смесью и ополаскивают дистиллированной водой до нейтральной реакции по метилоранжу.

2.9 Стальные пластинки обрабатывают шлифовальной шкуркой со всех сторон (включая торцевые) до получения зеркального состояния поверхности (шероховатость Ra от 1,25 до 0,65 мкм по ГОСТ 2789). После шлифовки пластин на их поверхности не должно быть никаких язв, царапин или других видимых повреждений (очистка до зеркального блеска). Затем их последовательно промывают бензином, спиртом и сушат между листами фильтровальной бумаги. Не допускается прикосновения руками к поверхности подготовленных к испытаниям пластин. Для работы с подготовленными пластинами используют х/б перчатки, возможно использование фильтровальной бумаги. Чистые, сухие пластинки взвешивают на аналитических весах, определяя их массу с погрешностью не более 0,0002 г. Пластинки могут быть использованы для повторных анализов, пока толщина их не уменьшится до 1,5 мм.

3 ПРОВЕДЕНИЕ ИСПЫТАНИЙ

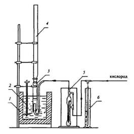
Общая схема установки для проведения испытания антикоррозионных свойств масел приведена на рисунке 2.

1 - термостат; 2 - механическая мешалка; 3 - прибор для испытания антикоррозионных свойств масел; 4 - холодильник, 5 - реометр; 6 - водяной регулятор давления.

Рисунок 2 - Схема установки для проведения испытания

Испытания антикоррозионных свойств одной пробы масла проводят в трех параллельно установленных приборах. В каждый чистый сухой реакционный сосуд берут навеску испытуемого масла (30±0,1) г. Затем в масло опускают отшлифованную вымытую стальную пластинку, взвешенную на аналитических весах с погрешностью до 0,0002 г, подсоединяют воздушный холодильник. Перед началом опыта верхний конец холодильника закрывают небольшим тампоном из ваты во избежание попадания загрязнений. Сосуд помещают в термостат, нагретый до 95 °С, и подсоединяют резиновую трубку, подающую кислород (расход кислорода 30 см3/мин). С этого момента отсчитывается время испытаний. Через 30 мин после начала испытания в реакционный сосуд добавляют дистиллированную воду в количестве 3 см3, приподнимая для этого воздушный холодильник. Приборы выдерживают при 95 °С при непрерывном пропускании кислорода в течение 30 ч, включая первые 30 мин, в течение которых испытания проводили в отсутствии воды.

4 ОБРАБОТКА РЕЗУЛЬТАТОВ

4.1 По окончании испытаний сосуды вынимают из термостата, холодильники отсоединяют. Стальные пластины вынимают из приборов, удаляя с них остатки масла фильтровальной бумагой. При слабой коррозии масло остается прозрачным, следы коррозии на пластине незначительны и распределены неравномерно по ее поверхности. В случае сильной коррозии масло становится темным и мутным, содержит осадок, пластина покрыта коррозионными отложениями по всей поверхности.

4.2 Продукты коррозии счищают со всех поверхностей пластин, включая торцевые, с помощью мягкой канцелярской резинки (ластика). Затем очищенные пластины промывают бензином, спиртом и сушат между листами фильтровальной бумаги. Подготовленные таким образом пластины взвешивают, определяя их массу с погрешностью не более 0,0002 г. Операцию повторяют до тех пор, пока результаты двух последовательных взвешиваний пластин будут иметь расхождение не более 0,0004 г.

4.3 Степень коррозии стали (Хк) в граммах на квадратный метр металла (для принятого времени испытания 30 ч) рассчитывают по формуле

                                                                                          (1)

где т1 - масса пластинки до испытаний, г;

т2 - масса пластинки после испытаний, г;

S - общая площадь поверхности пластинки, см2;

10000 - коэффициент пересчета.

За результат испытаний принимают среднее арифметическое трех параллельных определений. Полученное значение степени коррозии округляют до второй цифры после запятой.

5 ОФОРМЛЕНИЕ РЕЗУЛЬТАТОВ ИСПЫТАНИЙ

5.1 Исходные данные, промежуточные и конечные результаты испытаний заносят в журнал регистрации данного вида анализа, в котором указывают:

а) наименование и адрес организации, представившей пробу на анализ;

б) наименование испытываемого продукта (вещества), количество проб;

в) место отбора пробы, дата отбора;

г) обозначение нормативного документа, по которому проводят испытания, особые условия испытаний;

д) исходные данные, промежуточные и конечные результаты;

Номер образца

Вес образца до опыта

Вес образца после опыта

Общая площадь поверхности пластин

Степень коррозии образцов

г

г

см2

г/м2

 

 

 

 

 

 

 

 

 

 

е) особенности, проявившиеся в ходе анализа; отклонения от процедуры анализа;

ж) должность, фамилия и подпись лица, проводившего испытания;

и) дата проведения анализа.

5.2 Антикоррозионные свойства масла оцениваются по степени коррозии стальных пластин. Для степени коррозии установлена следующая градация:

до 2 г/м2 - отсутствие;

от 2 до 6 г/м2 - следы;

от 6 до 10 г/м2 - незначительная коррозия;

от 10 до 16 г/м2 - существенная коррозия;

более 16 г/м2 - сильная коррозия.

5.3 По результатам испытаний составляют "Протокол испытаний", в котором указывают сведения, перечисленные в п. 5.1, а также конечные результаты анализа каждого образца. Протокол подписывают руководитель лаборатории и лицо, выполнившее анализ.

6 ТОЧНОСТЬ МЕТОДА

Результаты испытаний, полученные параллельно на одном и том же оборудовании, признаются достоверными (с 95% доверительной вероятностью), если расхождения между ними для степени коррозии более 10 г/м2 не превышают 15% от средней величины.

Приложение А (справочное)

ПЕРЕЧЕНЬ НОРМАТИВНЫХ ДОКУМЕНТОВ, НА КОТОРЫЕ ИМЕЮТСЯ ССЫЛКИ В РД 153-34.1-43.204-2001

Обозначение НД

Наименование НД

Номер пункта, подпункта, перечисления, приложения

ГОСТ 380-94

Сталь углеродистая обыкновенного качества. Марки

1

ГОСТ 2789-73

Шероховатость поверхности. Параметры и характеристики

2

ГОСТ 3118-77

Кислота соляная. Технические условия

1

ГОСТ 4204-77

Кислота серная. Технические условия

1

ГОСТ 5009-82

Шкурка шлифовальная тканевая. Технические условия

1

ГОСТ 5583-78

Кислород газообразный технический и медицинский. Технические условия

1

ГОСТ 6456-82

Шкурка шлифовальная бумажная. Технические условия

1

ГОСТ 6709-72

Вода дистиллированная. Технические условия

1

ГОСТ 9871-75 Е

Термометры электроконтактные

1

ГОСТ 12026-76

Бумага фильтровальная лабораторная. Технические условия

1

ГОСТ 14710-78

Толуол нефтяной. Технические условия

1

ГОСТ 18300-87

Спирт этиловый ректификованный технический. Технические условия

1

ГОСТ 13646-68 Е

Термометры ртутные стеклянные лабораторные

1

ТУ 6-09-5171-84 Е

Метиловый оранжевый индикатор (парадиметиламиноазобензолсульфокислый натрий), чистый для анализа

1

ТУ 38.401-67.108-92

Бензин-растворитель экстракционный

1

Содержание

 

 




ГОСТЫ, СТРОИТЕЛЬНЫЕ и ТЕХНИЧЕСКИЕ НОРМАТИВЫ.
Некоммерческая онлайн система, содержащая все Российские Госты, национальные Стандарты и нормативы.
В Системе содержится более 150000 файлов нормативно-технической документации, действующей на территории РФ.
Система предназначена для широкого круга инженерно-технических специалистов.

Рейтинг@Mail.ru Яндекс цитирования

Copyright © www.gostrf.com, 2008 - 2026