Крупнейшая бесплатная информационно-справочная система онлайн доступа к полному собранию технических нормативно-правовых актов РФ. Огромная база технических нормативов (более 150 тысяч документов) и полное собрание национальных стандартов, аутентичное официальной базе Госстандарта. GOSTRF.com - это более 1 Терабайта бесплатной технической информации для всех пользователей интернета. Все электронные копии представленных здесь документов могут распространяться без каких-либо ограничений. Поощряется распространение информации с этого сайта на любых других ресурсах. Каждый человек имеет право на неограниченный доступ к этим документам! Каждый человек имеет право на знание требований, изложенных в данных нормативно-правовых актах!

  


 

ГОСУДАРСТВЕННЫЙ СТАНДАРТ СОЮЗА ССР

КОКС КАМЕННОУГОЛЬНЫЙ

МЕТОД ОПРЕДЕЛЕНИЯ РЕАКЦИОННОЙ СПОСОБНОСТИ

ГОСТ 10089-89
(СТ СЭВ 6161-88)

ГОСУДАРСТВЕННЫЙ КОМИТЕТ СССР ПО СТАНДАРТАМ
Москва

ГОСУДАРСТВЕННЫЙ СТАНДАРТ СОЮЗА ССР

КОКС КАМЕННОУГОЛЬНЫЙ

Метод определения реакционной способности

Coal coke. Method for measurement of reactivity

ГОСТ
10089-89

(CT СЭВ6161-88)

Срок действия с 01.07.90

до 01.01.99

Несоблюдение стандарта преследуется по закону

Настоящий стандарт распространяется на высокотемпературный каменноугольный кокс и устанавливает газообъемный метод определения реакционной способности по отношению к диоксиду углерода.

Метод основан на газификации кокса диоксидом углерода при температуре 1000°С.

Оценку реакционной способности производят по константе скорости реакции.

1. МЕТОД ОТБОРА ПРОБ

1.1. Отбор и подготовка пробы кокса - по ГОСТ 23083 и ГОСТ 2669.

1.2. Лабораторную пробу кокса размером кусков 0 - 13 мм и массой 1 кг сокращают до 250 г и высушивают до постоянной массы. Пробу измельчают до размера частиц менее 3 мм, рассеивают на ситах с отверстиями диаметром 3 и 1 мм и хранят в эксикаторе над осушающим веществом. Для проведения анализа используют пробу с размером частиц 1 - 3 мм. Массовую долю общей влаги определяют по ГОСТ 27589, зольность - по ГОСТ 27564.

2. АППАРАТУРА И РЕАКТИВЫ

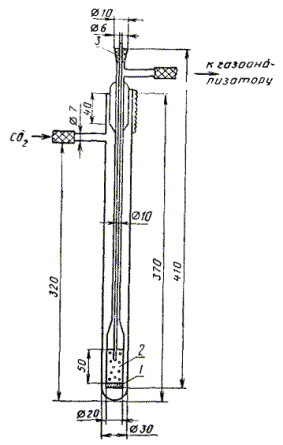
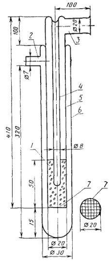
Трубка реакционная кварцевая (черт. 1 и 2).

1 - пластинка из дробленого кварца; 2 - проба кокса; 3 - чехол для термопары

Черт. 1

1 - проба кокса; 2 - штуцер чехла; 3 - штуцер реакционной трубки; 4 - чехол термопары; 5 - реакционная трубка; 6 - чехол реакционной трубки; 7 - пластинка из дробленого кварца

Черт. 2

Черт. 3

Печь электрическая трубчатая длиной 400 мм, внутренним диаметром 45 мм, обеспечивающая устойчивую температуру нагрева в реакционной зоне (1000 ± 5) °С.

Терморегулятор автоматический для поддержания температуры анализа.

Термопары платинородий-платина типа ТПП-11 по ГОСТ ЗС44.

Трубка хлоркалышевая типа ТХ-И-2-250 по ГОСТ 25336 для сушки диоксида углерода.

Шкаф сушильный, обеспечивающий устойчивую температуру нагрева (200 ± 5) °С.

Термометр для измерения температуры диоксида углерода от 0 до 50 °С с ценой деления Г.

Ротаметр типа РМ по ГОСТ 13015.

Манометр.

Моностат жидкостный для поддержания постоянного давления в системе (черт. 3).

Газоанализатор автоматический или ручного типа.

Склянка 4 по ГОСТ 25336 для газа при отсутствии автоматического газоанализатора.

Баллон стальной по ГОСТ 949 с редукционным вентилем для СО2.

Углерода диоксид сжиженный по ГОСТ 8050, 99% -ной чистоты.

Весы лабораторные общего назначения 2-го класса точности с наибольшим пределом взвешивания 200 г по ГОСТ 24104. Допускается применение других весов с аналогичными метрологическими характеристиками.

Кальций хлористый по ТУ 6-09-4711-81 или ангидрон.

Натрий хлористый по ГОСТ 4233, насыщенный раствор и водный раствор хлористого кальция, с массовой концентрацией 0,1 г/см3, смешанные в соотношении 1:1, или другая жидкость, не поглощающая СО2 (воду применять нельзя).

Калия гидроокись по ГОСТ 24363, водный раствор с массовой долей 30%.

3. ПОДГОТОВКА К АНАЛИЗУ

Установку собирают по схеме, приведенной на черт. 4. Длина пути продуктов реакции от реакционной трубки до газоанализатора должна быть по возможности минимальной.

Предварительно подготовленную сухую пробу кокса массой 7 - 10 г помещают в реакционную трубку. Кварцевый чехол термопары устанавливают так, чтобы спай термопары находился в центре реакционной зоны.

Соединяют реакционную трубку с системой приборов и проверяют на герметичность. Обнаруженные в системе не плотности устраняют.

1 - баллон с диоксидом углерода; 2 - термометр для измерения температуры диоксида углерода; 3 - поглотительная склянка с хлоридом кальция или ангидраном; 4 - ротаметр; 5 - манометр; 6 - печь электрическая трубчатая; 7 - термопара; 8 - реакционная кварцевая трубка; 9 - стеклянная емкость для газа, заполненная в соответствии с п. 4.3; 10 - моностат, заполненный водой; 11 - термопара для измерения температуры в печи

Черт. 4

С помощью моностата устанавливают давление в системе, равное 101,325 КПа (760 мм Hg).

Через систему приборов пропускают диоксид углерода со скоростью 2 - 3 см3/с до 100 %-ного содержания СОг.

Включают обогрев печи и автоматический терморегулятор.

4. ПРОВЕДЕНИЕ АНАЛИЗА

В нагретую до заданной температуры печь устанавливают реакционную трубку так, чтобы проба кокса находилась в зоне постоянной температуры. В кварцевый чехол помещают контрольную термопару.

Пробу кокса нагревают до (1000 ± 5) °С.

Устанавливают скорость подачи диоксида углерода 3 см3/с. Момент, когда при этой скорости по показаниям контрольной термопары установится температура (1000 ± 5) °С, считают началом анализа. Время достижения указанной температуры не должно превышать 10 мин с момента установления реакционной трубки в печи.

Испытание проводят в течение 15 мин при указанных параметрах.

При использовании ручного газоанализатора продукты реакции собирают в стеклянную емкость, анализ газа повторяют 2 - 3 раза.

По окончании анализа прекращают нагрев печи и подачу диоксида углерода, извлекают из печи реакционную трубку и после охлаждения выгружают остаток пробы кокса.

Примечание. При более глубоком исследовании свойств кокса допускается использовать указанный метод для контроля реакционной способности при температурах 900, 950, 1000 и 1050 °С.

5. ОБРАБОТКА РЕЗУЛЬТАТОВ

5.1. Реакционную способность кокса (К) в см3/г·с вычисляют по формуле

                                                              (1)

где V - скорость подачи диоксида углерода, см3/с;

Т - температура испытания по показаниям контрольной термопары, К;

m - масса углерода в навеске кокса, г, вычисляемая по формуле

                                              (2)

где т1 - масса навески кокса, г;

Ad - зольность испытуемой пробы сухого кокса, %;

Cdaf - содержание углерода в пересчете на сухое беззольное состояние, % (при отсутствии данных Cdaf принимают равным 98 %);

T1 - температура диоксида углерода, подаваемого в реакционную трубку, К;

R - степень преобразования газа-реагента (см. приложение 1), вычисляемая по формуле

                                                           (3)

где ,

СО и СО2 - содержание оксида и диоксида углерода в продуктах реакции за время анализа, %.

Пример расчета приведен в приложении 2.

5.2. Расхождение между результатами двух определений не должно превышать значений, указанных в таблице.

Диапазон значений К, см3/г·с

Расхождение между результатами

в одной лаборатории

в равных лабораториях

До 0,40

0,02 % (абс.)

0,05 % (абс.)

Св. 0,40

5 % (отн.)

10 % (отн.)

5.3. Если расхождения между результатами двух определений превышают значения, указанные в таблице, проводят третье определение и за окончательный результат принимают среднее арифметическое двух наиболее близких результатов в пределах допускаемых расхождений.

Если результат третьего определения находится в пределах допускаемых расхождений по отношению к результатам каждого из двух предыдущих определений, то за окончательный результат принимают среднее арифметическое результатов трех определений.

5.4. Константу скорости реакции рассчитывают с точностью до третьего десятичного знака и результаты округляют до второго десятичного знака по СТ СЭВ 543-77.

ПРИЛОЖЕНИЕ 1

Обязательное

СТЕПЕНЬ ПРЕОБРАЗОВАНИЯ ГАЗА-РЕАГЕНТА В ЗАВИСИМОСТИ ОТ СОДЕРЖАНИЯ СО В ПРОДУКТАХ РЕАКЦИИ

 

СО, %

R

СО, %

R

со, %

R

10,0

0,056

6

0,113

2

0,184

2

0,057

8

0,115

4

0,186

4

0,058

19,0

0,116

6

0,188

6

0,060

2

0,118

8

0,190

8

0,061

4

0,119

28,0

0,192

11,0

0,062

6

0,120

2

0,194

2

0,063

8

0,122

4

0,195

4

0,064

20,0

0,123

6

0,197

6

0,065

2

0,125

8

0,199

8

0,066

4

0,127

29,0

0,200

12,0

0,068

6

0,128

2

0,202

2

0,069

8

0,130

4

0,204

4

0,070

21,0

0,131

6

0,206

6

0,072

2

0,133

8

0,208

8

0,073

4

0,134

30,0

0,210

13,0

0,074

6

0,136

2

0,212

2

0,076

8

0,137

4

0,214

4

0,077

22,0

0,139

6

0,216

6

0,079

2

0,141

8

0,218

8

0,080

4

0,142

31,0

0,220

14,0

0,081

6

0,143

2

0,222

2

0,083

8

0,145

4

0,224

4

0,084

23,0

0,147

6

0,226

6

0,085

2

0,149

8

0,228

8

0,087

4

0,150

32,0

0,230

15,0

0,088

6

0,152

2

0,232

2

0,090

8

0,154

4

0,235

4

0,091

24,0

0,155

6

0,237

6

0,092

2

0,157

8

0,239

8

0,093

4

0,159

33,0

0,241

16,0

0,095

6

0,161

2

0,243

2

0,096

8

0,162

4

0,245

4

0,098

25,0

0,164

6

0,247

6

0,099

2

0,166

8

0,250

8

0,100

4

0,168

34,0

0,252

17,0

0,101

6

0,170

2

0,254

2

0,103

8

0,172

4

0,256

4

0,104

26,0

0,174

6

0,258

6

0,105

2

0,175

8

0,261

8

0,107

4

0,177

35,0

0,263

18,0

0,108

6

0,179

2

0,265

2

0,110

8

0,181

4

0,267

4

0,112

27,0

0,182

6

0,270

8

0,272

46,0

0,408

2

0,600

36,0

0,274

2

0,411

4

0,604

2

0,277

4

0,414

6

0,608

4

0,279

6

0,417

8

0,613

6

0,281

8

0,421

57,0

0,617

8

0,284

47,0

0,424

2

0,621

37,0

0,286

2

0,427

4

0,626

2

0,288

4

0,431

6

0,631

4

0,290

6

0,434

8

0,636

6

0,293

8

0,437

58,0

0,641

8

0,295

48,0

0,440

2

0,646

38,0

0,298

2

0,443

4

0,650

2

0,300

4

0,450

6

0,655

4

0,303

6

0,454

8

0,660

6

0,305

8

0,457

59,0

0,665

8

0,308

49,0

0,461

2

0,670

39,0

0,310

2

0,464

4

0,675

2

0,312

4

0,467

6

0,631

4

0,314

6

0,471

8

0,686

6

0,317

8

0,475

60,0

0,690

8

0,320

50,0

0,478

2

0,696

40,0

0,322

2

0,481

4

0,702

2

0,325

4

0,485

6

0,707

4

0,328

6

0,489

8

0,712

6

0,330

8

0,492

61,0

0,717

8

0,333

51,0

0,495

2

0,722

41,0

0,335

2

0,498

4

0,727

2

0,338

4

0,502

6

0,733

4

0,341

6

0,506

8

0,738

6

0,344

8

0,510

62,0

0,743

8

0,347

52,0

0,513

2

0,749

42,0

0,350

2

0,517

4

0,755

2

0,353

4

0,520

6

0,760

4

0,355

6

0,524

8

0,765

6

0,358

8

0,528

63,0

0,770

8

0,360

53,0

0,533

2

0,776

43,0

0,363

2

0,537

4

0,782

2

0,366

4

0,541

6

0,788

4

0,369

6

0,545

8

0,794

6

0,372

8

0,550

64,0

0,800

8

0,375

54,0

0,554

2

0,806

44,0

0,377

2

0,558

4

0,812

2

0,380

4

0,562

6

0,818

4

0,384

6

0,565

8

0,824

6

0,387

8

0,570

65,0

0,830

8

0,390

55,0

0,574

2

0,837

45,0

0,393

2

0,578

4

0,844

2

0,396

4

0,583

6

0,851

4

0,399

6

0,586

8

0,853

6

0,402

8

0,591

66,0

0,864

8

0,405

56,0

0,595

2

0,871

4

0,878

71,0

1,051

6

1,261

6

0,885

2

1,058

8

1,273

8

0,892

4

1,064

76,0

1,281

67,0

0,898

6

1,072

2

1,294

2

0,905

8

1,081

4

1,307

4

0,912

72,0

1,092

6

1,316

6

0,920

2

1,103

8

1,328

8

0,927

4

1,111

77,0

1,342

68,0

0,935

6

1,118

2

1,350

2

0,942

8

1,125

4

1,363

4

0,949

73,0

1,137

6

1,372

6

0,956

2

1,144

8

1,385

8

0,963

4

1,155

78,0

1,398

69,0

0,970

6

1,163

2

1,413

2

0,978

8

1,170

4

1,422

4

0,987

74,0

1,182

6

1,436

6

0,996

2

1,193

8

1,450

8

1,005

4

1,205

79,0

1,459

70,0

1,015

6

1,213

2

1,473

2

1,017

8

1,221

4

1,488

4

1,023

75,0

1,233

6

1,503

6

1,030

2

1,240

8

1,512

8

1,036

4

1,253

80,0

1,528

 

ПРИЛОЖЕНИЕ 2

Справочное

ПРИМЕР РАСЧЕТА РЕАКЦИОННОЙ СПОСОБНОСТИ КОКСА

Зольность кокса (Ad) - 9,5 %.

Масса навески кокса - 10 г.

Массовая доля углерода на сухое беззольное состояние - 98 %.

Массовое содержание углерода (m1) в навеске кокса

 г.

Скорость подачи реагента СО2 при температуре 20 °С - 3 см3/с.

Температура реакции 1000 °С.

Концентрация оксида углерода в продуктах реакции - 29 %, диоксида углерода - 71 %.

Степень преобразования газа-реагента находят по таблице приложения 1 - R = 0,200.

Следовательно, константа скорости реакции при 1000 °С равна

 см3/см.

ИНФОРМАЦИОННЫЕ ДАННЫЕ

1. РАЗРАБОТАН И ВНЕСЕН Министерством черной металлургия СССР

ИСПОЛНИТЕЛИ

Л.М. Харькина, канд. техн. наук (руководитель темы); О.А. Нестеренко; Л.П. Семисалов, канд. техн. наук

2. УТВЕРЖДЕН И ВВЕДЕН В ДЕЙСТВИЕ Постановлением Государственного комитета СССР по стандартам от 10.03.89 № 439

3. ВЗАМЕН ГОСТ 10089-73

4. Стандарт соответствует СТ СЭВ 6161-88

5. ССЫЛОЧНЫЕ НОРМАТИВНО-ТЕХНИЧЕСКИЕ ДОКУМЕНТЫ

Обозначение НТД, на который дана ссылка

Номер пункта, раздела

ГОСТ 949-73

2

ГССТ 2669-81

1.1

ГОСТ 3044-84

2

ГОСТ 4233-77

2

ГОСТ 8050-85

2

ГОСТ 13045-81

2

ГОСТ 23083-78

1.1

ГОСТ 24104-80

2

ГОСТ 24363-80

2

ГОСТ 25336-82

2

ГОСТ 27564-87

1.2

ГОСТ 27589-88

1.2

ТУ 6-09-4711-81

2

СТ СЭВ 543-77

5.4

СОДЕРЖАНИЕ

 

 




ГОСТЫ, СТРОИТЕЛЬНЫЕ и ТЕХНИЧЕСКИЕ НОРМАТИВЫ.
Некоммерческая онлайн система, содержащая все Российские Госты, национальные Стандарты и нормативы.
В Системе содержится более 150000 файлов нормативно-технической документации, действующей на территории РФ.
Система предназначена для широкого круга инженерно-технических специалистов.

Рейтинг@Mail.ru Яндекс цитирования

Copyright © www.gostrf.com, 2008 - 2026