Крупнейшая бесплатная информационно-справочная система онлайн доступа к полному собранию технических нормативно-правовых актов РФ. Огромная база технических нормативов (более 150 тысяч документов) и полное собрание национальных стандартов, аутентичное официальной базе Госстандарта. GOSTRF.com - это более 1 Терабайта бесплатной технической информации для всех пользователей интернета. Все электронные копии представленных здесь документов могут распространяться без каких-либо ограничений. Поощряется распространение информации с этого сайта на любых других ресурсах. Каждый человек имеет право на неограниченный доступ к этим документам! Каждый человек имеет право на знание требований, изложенных в данных нормативно-правовых актах!

  


 

ГОСУДАРСТВЕННЫЙ СТАНДАРТ СОЮЗА ССР

ГАЗЫ НЕФТЕПЕРЕРАБОТКИ

МЕТОД ОПРЕДЕЛЕНИЯ
СЕРОВОДОРОДА

ГОСТ 11382-76

ИПК ИЗДАТЕЛЬСТВО СТАНДАРТОВ

Москва

ГОСУДАРСТВЕННЫЙ СТАНДАРТ СОЮЗА ССР

Газы нефтепереработки

МЕТОД ОПРЕДЕЛЕНИЯ СЕРОВОДОРОДА

Refinery Gases. Method of iest for sulphurated hydragen content

ГОСТ
11382-76

Дата введения 01.01.77

Настоящий стандарт распространяется на газы, получаемые в процессе переработки нефти, и устанавливает метод определения объемной доли сероводорода от 0,001 до 15,0 %.

Применение метода в диапазоне 0,001 - 0,010 % предусмотрено для контроля товарной продукции, в диапазоне 0,01 - 15,00 % - для внутризаводского контроля.

Сущность метода заключается в химическом взаимодействии сероводорода с уксуснокислым свинцом, нанесенным на силикагель. Образующийся в результате реакции сернистый свинец дает черное окрашивание слоя силикагеля, высота которого зависит от объемной доли сероводорода в анализируемом газе.

(Измененная редакция, Изм. № 3).

1. АППАРАТУРА, РЕАКТИВЫ И МАТЕРИАЛЫ

1.1. При определении объемной доли сероводорода в газах применяют:

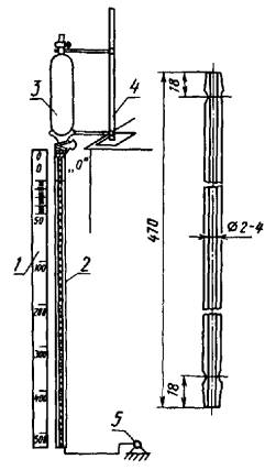
аппарат для определения сероводорода при объемной доле его в газе менее 0,1 % (черт. 1), состоящий из металлической линейки по ГОСТ 427 или линейных измерителей аналогичного типа с той же ценой деления длиной 500 мм, газовой пипетки по ГОСТ 18954 вместимостью 500 см2, лабораторного штатива, реакционной капиллярной трубки с внутренним диаметром 2 - 4 мм и вакуумного насоса любого типа, обеспечивающего вакуумирование до остаточного давления 0,5 кПа;

аппарат для определения сероводорода при объемной доле его в газе от 0,1 % и более (черт. 2), состоящий из металлической линейки по ГОСТ 427 или линейных измерителей аналогичного типа с той же ценой деления, реакционной трубки с внутренним диаметром 6 - 8 мм, верхнего и нижнего двухходовых кранов по ГОСТ 7995, медицинского шприца типа «Рекорд», вместимостью 20 см3, осушителя, реометра с диапазоном измерений от 0 до 100 см3/мин по ГОСТ 9932, трехходового крана по ГОСТ 7995 и винтового зажима, которые крепятся на панели размером 75´30´3 мм.

Допускается проведение анализов на приборе (черт. 1) с использованием при этом реакционной капиллярной трубки с внутренним диаметром 6 - 8 мм и газовой пипетки вместимостью 50 см3.

Схема аппарата для определения сероводорода при объемной доле его в газе менее 0,1 %

1 - металлическая линейка; 2 - реакционная капиллярная трубка; 3 - газовая пипетка; 4 - лабораторный штатив; 5 -вакуумный насос

Черт. 1

шкаф сушильный, обеспечивающий температуру до 150 °С с погрешностью не более 2 °С;

компрессор или общая магистраль для нагнетания воздуха;

весы технические с диапазоном определения массы от 0 до 500 г с погрешностью не более 0,1 г;

Схема аппарата для определения сероводорода при объемной доле его в газе более 0,1 %

1 - металлическая линейка; 2 - реакционная капиллярная трубка; 3 - нижний двухходовой кран; 4 - верхний двухходовой кран; 5 - медицинский шприц; 6 - осушитель; 7 - реометр; 8 - трехходовой кран; 9 - винтовой зажим

Черт. 2

пробоотборник по ГОСТ 14921 любого типа; набор сит «физприбор» с отверстиями сит размером 0,25; 0,50 мм или набор сит с отверстиями размером 0,20; 0,50 мм;

сетку проволочную по ГОСТ 6613 или стеклянную вату;

аппарат Киппа;

газометр по ГОСТ 25336;

посуду фарфоровую по ГОСТ 9147, ступка № 5 или № 6, чашка № 5 или № 6;

воронку делительную по ГОСТ 25336, вместимостью 1000 см3;

пипетки газовые по ГОСТ 18954, вместимостью 500 и 1000 см3;

эксикатор по ГОСТ 25336;

банки стеклянные с притертой пробкой, вместимостью 500 см3;

силикагель по ГОСТ 3956, марки КСКГ или марки АСКГ для определения сероводорода при объемной доле его в газе менее 0,1 %;

силикагель № 3 или № 2,5 для определения сероводорода при объемной доле его в газе от 0,1 % и более;

свинец уксуснокислый по ГОСТ 1027, раствор с массовой долей 1 %;

барий хлористый по ГОСТ 4108, раствор с массовой долей 1 %;

соляную кислоту по ГОСТ 3118, х.ч.;

железо сернистое или натрий сернистый (сульфид натрия) по ГОСТ 2053;

воду дистиллированную по ГОСТ 6709;

спирт этиловый ректификованный технический по ГОСТ 18300;

кальций хлористый технический по ГОСТ 450;

смазку ЦИАТИМ-221 по ГОСТ 9433 или смазку вакуумную;

шприцы стеклянные любого типа вместимостью 1, 2, 10, 20, 100 см3;

редуктор типа РДВ;

аттестованные газовые смеси сероводорода с воздухом с объемной долей сероводорода 0,01; 0,1; 1,0 и 10,0 %.

(Измененная редакция, Изм. № 1, 2, 3, 4).

2. ПОДГОТОВКА К АНАЛИЗУ

2.1. Приготовление сорбентов

2.1.1. Силикагель марки № 3 или марки КСКГ дробят в фарфоровой ступке и отбирают фракции размером 0,25 - 0,50 мм.

Отобранную фракцию промывают в делительной воронке дистиллированной водой с температурой 60 - 80 °С до отрицательной реакции на ионы (SO4`` `` ) Отсутствие ионов (SO4`` `` ) в промывной воде проверяют по хлористому барию. Отмытый силикагель сушат в сушильном шкафу при (120 ± 2) °С до получения постоянной массы и взвешивают с погрешностью не более 0,1 г.

Высушенный силикагель хранят в эксикаторе или используют силикагель марки АСКГ.

2.1.2. В фарфоровую чашку помещают 100 г силикагеля, подготовленного по п. 2.1.1, равномерно смачивают его 100 см3 1 %-ного раствора уксуснокислого свинца.

Полученный сорбент (силикагель) содержит 99 г воды.

Силикагель помещают в сушильный шкаф при (120 ± 2) °С. При этом силикагель марки КСКГ или марки АСКГ выдерживают в сушильном шкафу, периодически перемешивая, в течение 1,5 ч, силикагель № 3 - в течение 2 ч.

По истечении указанного времени силикагель помещают в эксикатор для охлаждения его до комнатной температуры и взвешивают с погрешностью не более 0,1 г.

После высушивания силикагеля масса его для марки КСКГ и АСКГ должна составлять (165 ± 2) г, для марки № 3 должна быть (135 ± 2) г, что соответствует примерно 65 и 35 % остаточной влажности. Обработанный силикагель хранят в стеклянных банках с притертой пробкой.

2.1.1; 2.1.2. (Измененная редакция, Изм. № 2).

2.2. Отбор пробы

2.2.1. Пробу анализируемого газа отбирают в герметичный пробоотборник, который предварительно продувают десятикратным объемом газа. В пробоотборнике должно быть избыточное давление газа; 0,2 - 0,3 МПа (2 - 3 кгс/см2).

2.2.2. Для определения сероводорода при объемной доле его в газе менее 0,1 % из пробоотборника берут пробы газа для анализа в вакуумированную калиброванную пипетку, которую полностью заполняют. Пипетку вакуумируют в течение 15 мин до остаточного давления 0,5 кПа (4 мм рт. ст.).

2.1.1, 2.1.2, 2.2.1, 2.2.2. (Измененная редакция, Изм. № 1).

2.2.3. Для определения сероводорода при объемной доле его более 0,1 % от пробы газа отбирают шприцем для анализа 20 см3 газа. На отвод шприца вместо иглы надевают резиновую трубку длиной не более 80 мм, зажатую на середине зажимом.

Газовую пипетку и шприц через каждые пять определений промывают спиртом и просушивают.

2.3. Подготовка аппарата

2.3.1. Подготовка аппарата для определения сероводорода при объемной доле его в газе менее 0,1 % (см. черт. 1).

Капиллярную реакционную трубку заполняют силикагелем марки КСКГ или марки АСКГ, подготовленным по п. 2.1.2, до метки «0».

Чтобы силикагель не высыпался, в конец трубки вставляют металлическую сетку, скрученную в виде цилиндра, или пробку из стеклянной ваты высотой 5 мм. Силикагель засыпают в трубку небольшими порциями при равномерном постукивании по всей длине трубки. Выше метки «0» на высоту 5 мм трубку заполняют силикагелем марки КСКГ или марки АСКГ, подготовленным по п. 2.1.1. Металлическую линейку закрепляют на уровне метки «0» реакционной трубки.

Газовую пипетку устанавливают в лабораторный штатив и при помощи вакуумной резиновой трубки нижний отвод пипетки соединяют встык с верхним концом реакционной трубки, нижний конец которой соединяют через трехходовой кран с вакуумным насосом.

(Измененная редакция, Изм. № 1, 2).

2.3.2. Подготовка аппарата для определения сероводорода при объемной доле его в газе более 0,1 % (черт. 2).

Реакционную капиллярную трубку заполняют силикагелем марки № 3 по п. 2.3.1. Заполненную реакционную трубку и медицинский шприц для отбора анализируемого газа закрепляют на панели при помощи разъемных колец так, чтобы они легко снимались.

Затем реакционную трубку соединяют с верхним и нижним двухходовыми кранами и через соединительную стеклянную трубку с осушителем, заполненным прокаленным хлористым кальцием.

Реометр заполняют подкрашенной водой до нулевого деления шкалы, соединяют его с осушителем и через соединительную стеклянную трубку с трехходовым краном.

Металлическую линейку укрепляют на панели так, чтобы нулевое деление на линейке совпало с меткой «0» на реакционной трубке.

Шприц соединяют резиновой трубкой со шлицем. Соединения на шлифах и краны смазывают смазкой ЦИАТИМ-221.

Перед проведением анализа в приборе устанавливают скорость потока воздуха, равную 50 см3/мин, по шкале реометра. Для этого воздух пропускают через трехходовой кран (положение а), реометр, осушитель, открытый двухходовой кран и реакционную капиллярную трубку в атмосферу (верхний двухходовой кран на шлице закрыт).

Скорость потока воздуха регулируют винтовым зажимом или редуктором.

Затем с помощью мыльной пены проверяют, прибор на герметичность.

После установления скорости потока воздуха трехходовой кран переводят в положение б, нижний двухходовой кран закрывают.

(Измененная редакция, Изм. № 2, 4).

2.4. Приготовление исходной и градуировочной смесей

2.4.1. Сероводород получают в аппарате Киппа при взаимодействии сернистого железа или сернистого натрия с соляной кислотой. Полученный сероводород отбирают в подсоединенную к аппарату Киппа газовую пипетку вместимостью 500 см3. После заполнения сероводородом закрывают оба крана пипетки и на один из отводов надевают резиновую трубку с заглушкой. Расстояние между отводом пипетки и заглушкой должно составлять около 5 мм.

Допускается применять технический сероводород с объемной долей основного вещества не менее 98 %.

(Измененная редакция, Изм. № 3).

2.4.2. Берут восемь газовых пипеток вместимостью 500 см3 и одну пипетку вместимостью 1000 см3. Краны смазывают смазкой ЦИАТИМ-221 и проверяют их на герметичность. На один из отводов каждой пипетки ставят заглушку, как указано в п. 2.4.1, а другой отвод подсоединяют к вакуумному насосу и вакуумируют в течение 15 мин до остаточного давления 0,5 кПа (4 мм рт. ст.), после этого кран закрывают.

(Измененная редакция, Изм. № 1, 4).

2.4.3. Из пипетки, содержащей сероводород, полученный по п. 2.4.1, отбирают шприцем, прокалывая иглой резиновую трубку, 1 см3 сероводорода и таким же способом вводят его в пипетку вместимостью 1000 см3, подготовленную по п. 2.4.1. При этом следует давить на поршень шприца, не допуская резких рывков. Затем пипетку заполняют воздухом, постепенно открывая свободный от заглушки кран, и после выравнивания давления с атмосферным быстро закрывают его.

Полученная смесь является исходной для приготовления градуировочных смесей.

Допускается приготовление исходной смеси в шприцах вместимостью 100 см3 и более, соответственно изменив объем исходной смеси в п. 2.4.4.1.

(Измененная редакция, Изм. № 4).

2.4.4. Приготовление градуировочных смесей сероводорода с воздухом при объемной доле его в градуировочной смеси менее 0,1 %.

2.4.4.1. В газовые пипетки вместимостью 500 см3, подготовленные по п. 2.4.2, вводят шприцем по п. 2.4.3, последовательно по 5, 8, 15, 25, 35, 50, 60 см3 исходной смеси (V1). Затем каждую пипетку заполняют воздухом по п. 2.4.3.

2.4.4.2. Объемную долю сероводорода (X1) в процентах в исходной смеси определяют по ГОСТ 22387.2 или ГОСТ 22985 со следующими изменениями. Пипетку с исходной смесью подсоединяют к входной трубке первой поглотительной склянки, а выходную трубку второй поглотительной склянки подсоединяют к газометру, заполненному водой. Оставшийся объем исходной смеси в пипетке рассчитывают по разности известного объема пипетки и суммарного объема исходной смеси, израсходованной для приготовления градуировочных смесей по п. 2.4.4.1.

(Измененная редакция, Изм. № 1, 4).

2.4.4.3. Объемную долю сероводорода в градуировочных смесях (X) в процентах вычисляют по формуле

где V1 - объем исходной смеси, израсходованной для приготовления градуировочных смесей, см3;

Х1 - объемная доля сероводорода в исходной смеси, определенная по п. 2.4.4.2, %;

V2 - объем калиброванной пипетки, см3.

2.4.4.4. Градуировочные смеси, приготовленные по п. 2.4.4.1, поочередно анализируют по п. 3.1.

По полученным данным строят график, на котором по оси ординат откладывают высоту окрашенного слоя сорбента (мм), а по оси абсцисс соответствующее содержание объемной доли сероводорода в анализируемой смеси в процентах.

В связи с тем, что применяемые для градуировки газовые пипетки имеют неодинаковые объемы, то при построении градуировочного графика получаемые высоты окрашенного слоя сорбента (п. 3.1) следует пересчитывать на постоянный объем (V = 500 см3).

Пример построения градуировочного графика приведен на черт. 3. Этот график построен для смесей с содержанием объемной доли сероводорода 0,001 - 0,01 %, для этого использовалась исходная смесь с содержанием объемной доли сероводорода 0,1 % и реакционная трубка диаметром 2 мм.

Градуировочный график для определения сероводорода при объемной доле его в газе менее 0,1 %

Черт. 3

При построении графика для смесей с содержанием объемной доли сероводорода 0,01 - 0,1 % применяют реакционную трубку диаметром 4 мм и готовят исходную смесь с содержанием объемной доли сероводорода 0,5 %. При построении графика для смесей с объемной долей сероводорода 0,1 - 15,0 % применяют реакционную трубку диаметром 6 мм и готовят исходную смесь с объемной долей сероводорода 2,5 %.

(Измененная редакция, Изм. № 1).

2.4.5. Приготовление смесей сероводорода с воздухом при объемной доле его в смеси более 0,1 %

2.4.5.1. В газовые пипетки вместимостью 500 см3, подготовленные по п. 2.4.2, вводят с помощью шприца сероводород, полученный по п. 2.4.1 последовательно по 10, 15, 25, 30, 42, 55, 65, 75 см3. Затем каждую пипетку заполняют воздухом аналогично п. 2.4.3.

Градуировочный график для определения сероводорода при объемной доле его в газе более 0,1 %

Черт. 4

2.4.5.2. От градуировочных смесей, полученных по п. 2.4.5.1, отбирают шприцем по 20 см3 смеси и поочередно анализируют по п. 3.2. Анализ каждой смеси проводят не менее трех раз.

2.4.5.3. Объемную долю сероводорода в каждой градуировочной смеси определяют по п. 2.4.4.2. Объем градуировочной смеси в пипетке рассчитывают по разности известного объема (V) пипетки и суммарного объема смеси, взятой на анализ по п. 3.2.

2.4.5.4. По полученным данным строят график в соответствии с п. 2.4.4.4.

Пример построения градуировочного графика приведен на черт. 4.

2.4.6. Для построения градуировочных графиков рекомендуется использовать аттестованные газовые смеси сероводорода с воздухом с объемной долей сероводорода 0,01; 0,1; 1,0 и 10,0 %.

(Введен дополнительно, Изм. № 4).

3. ПРОВЕДЕНИЕ АНАЛИЗА

3.1. Определение сероводорода при объемной доле в газе менее 0,1 %.

Газовую пипетку с анализируемой пробой газа, отобранной по п. 2.2.2, устанавливают в приборе по п. 2.3.1. Включают вакуумный насос, постепенно открывая нижний кран газовой пипетки, просасывают газ через реакционную трубку в течение 3 мин. Затем открывают верхний кран газовой пипетки и пропускают через нее в реакционную трубку воздух в течение 2 мин. После этого вакуумный насос соединяют с атмосферой и отключают его. Высоту окрашенного слоя силикагеля измеряют линейкой с погрешностью не более 1 мм и пересчитывают на объем газовой пипетки 500 см3, по градуировочному графику находят содержание объемной доли сероводорода в процентах, соответствующее найденной высоте в миллиметрах.

3.2. Определение сероводорода при объемной доле его в газе более 0,1 %

Медицинский шприц с анализируемой пробой газа (20 см3), отобранной по п. 2.2.3, соединяют при помощи резиновой трубки с нижним двухходовым краном, открывают зажим и сам нижний двухходовой кран.

При этом проба газа должна равномерно вводиться в реакционную трубку. После введения пробы через реакционную трубку пропускают воздух со скоростью, отрегулированной по п. 2.3.2. Для этого быстро открывают нижний двухходовой кран и постепенно переводят трехходовой кран в положение а. После 5-минутного пропускания воздуха через реакционную трубку, его направляют через кран (положение б) в атмосферу.

Затем измеряют линейкой высоту окрашенного слоя сорбента с погрешностью до 1 мм.

По градуировочному графику находят содержание объемной доли сероводорода в процентах, соответствующее найденной высоте в миллиметрах.

(Измененная редакция, Изм. № 3).

3.3. Окрашенную часть сорбента удаляют из реакционных трубок, которые затем дополняют новой порцией сорбента (силикагеля), подготовленного по п. 2.1.2.

Окрашенный сорбент (силикагель) не регенерируется.

3.4. Определяют отношение массы анализируемого газа к массе воздуха (d) по составу газа (отношение средней молекулярной массы газа к молекулярной массе воздуха) или по ГОСТ 17310.

(Измененная редакция, Изм. № 2).

4. ОБРАБОТКА РЕЗУЛЬТАТОВ

4.1. Содержание объемной доли сероводорода в анализируемом газе в процентах определяют по градуировочному графику, построенному для данной реакционной капиллярной трубки по п. 2.4.4.4 и 2.4.5.4. При замене реакционной капиллярной трубки требуется проверка калибровочных графиков.

4.2. Допускаемые расхождения между параллельными определениями объемной доли сероводорода от среднего арифметического сравниваемых результатов не должны превышать значений величин, указанных в таблице.

Таблица 1

Объемная доля сероводорода, %

Допускаемые расхождения между параллельными определениями, %

До 0,1

15

Св. 0,1 до 1,0

10

Св. 1,0

5

4.3. Массовую долю сероводорода (Х2) в процентах вычисляют по формуле

где Х3 - объемная доля сероводорода, %;

1,1724- постоянный коэффициент;

d - отношение массы анализируемого газа к массе воздуха.

5. ТОЧНОСТЬ МЕТОДА

5.1. Сходимость метода

Два результата определений, полученные одним исполнителем, признаются достоверными (с 95 %-ной доверительной вероятностью), если расхождение между ними не превышает значений, указанных в табл. 2.

5.2. Воспроизводимость метода

Два результата определений, полученные в двух разных лабораториях, признаются достоверными (с 95 %-ной доверительной вероятностью), если расхождение между ними не превышает значений, указанных в табл. 2.

Таблица 2

Объемная доля сероводорода, %

Сходимость метода, объемная доля, %

Воспроизводимость метода, объемная доля, %

0,0010

0,0003

0,0004

0,0020

0,0005

0,0006

0,0030

0,0007

0,0008

0,0040

0,0008

0,0009

0,0060

0,0010

0,0013

0,0080

0,0013

0,0017

0,0100

0,0015

0,0020

(Введен дополнительно, Изм. № 3).

ИНФОРМАЦИОННЫЕ ДАННЫЕ

1. РАЗРАБОТАН И ВНЕСЕН Министерством нефтеперерабатывающей и нефтехимической промышленности СССР

РАЗРАБОТЧИКИ

Н.В. Захарова, А.Ф. Фаткуллина (руководители темы), Г.С. Ахметзянова

2. УТВЕРЖДЕН И ВВЕДЕН В ДЕЙСТВИЕ Постановлением Государственного комитета СССР по стандартам от 07.05.76 № 1108

3. ВЗАМЕН ГОСТ 11382-65

4. Срок проверки - 1996 г.

Периодичность проверки - 5 лет.

5. ССЫЛОЧНЫЕ НОРМАТИВНО-ТЕХНИЧЕСКИЕ ДОКУМЕНТЫ

Обозначение НТД, на который дана ссылка

Номер пункта

ГОСТ 427-75

1.1

ГОСТ 450-77

1.1

ГОСТ 1027-67

1.1

ГОСТ 2053-77

1.1

ГОСТ 3118-77

1.1

ГОСТ 3956-76

1.1

ГОСТ 4108-72

1.1

ГОСТ 6613-86

1.1

ГОСТ 6709-72

1.1

ГОСТ 7995-80

1.1

ГОСТ 9147-80

1.1

ГОСТ 9433-80

1.1

ГОСТ 9932-75

1.1

ГОСТ 14921-78

1.1

ГОСТ 17310-86

3.4

ГОСТ 18300-87

1.1

ГОСТ 18954-73

1.1

ГОСТ 22387.2-83

2.4.4.2

ГОСТ 22985-90

2.4.4.2

ГОСТ 25336-82

1.1

6. Ограничение срока действия снято Постановлением Госстандарта от 04.11.92 № 1484

7. ПЕРЕИЗДАНИЕ (июль 1997 г.) с Изменениями № 1, 2, 3, 4, утвержденными в августе 1981 г., июне 1987 г., сентябре 1989 г. и ноябре 1992 г. (11-81, 11-87, 1-90, 2-93)

СОДЕРЖАНИЕ

 

 




ГОСТЫ, СТРОИТЕЛЬНЫЕ и ТЕХНИЧЕСКИЕ НОРМАТИВЫ.
Некоммерческая онлайн система, содержащая все Российские Госты, национальные Стандарты и нормативы.
В Системе содержится более 150000 файлов нормативно-технической документации, действующей на территории РФ.
Система предназначена для широкого круга инженерно-технических специалистов.

Рейтинг@Mail.ru Яндекс цитирования

Copyright © www.gostrf.com, 2008 - 2026