Крупнейшая бесплатная информационно-справочная система онлайн доступа к полному собранию технических нормативно-правовых актов РФ. Огромная база технических нормативов (более 150 тысяч документов) и полное собрание национальных стандартов, аутентичное официальной базе Госстандарта. GOSTRF.com - это более 1 Терабайта бесплатной технической информации для всех пользователей интернета. Все электронные копии представленных здесь документов могут распространяться без каких-либо ограничений. Поощряется распространение информации с этого сайта на любых других ресурсах. Каждый человек имеет право на неограниченный доступ к этим документам! Каждый человек имеет право на знание требований, изложенных в данных нормативно-правовых актах!

  


 

МЕЖГОСУДАРСТВЕННЫЙ СТАНДАРТ

СЕРЬГИ ОДНОПАЗОВЫЕ

Конструкция

Single-slot shackles. Design

ГОСТ

12477-67

Дата введения 01.07.67

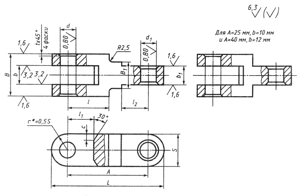
1. Конструкция и размеры однопазовых серег должны соответствовать чертежу и таблице.

*Размер для справок.

Размеры, мм

Обозначения серег

Применяемость

А

b

Н11

b1

d* Н7 или Н11

b1

Е8

или Н11

В

b11

B1

S

l

l1

L2

с

L

Масса, кг

7018-0531

 

25

10

10

8

8

20

-

16

16

12

-

2,5

41

0,043

7018-0532

 

32

14

18

10

48

0,058

7018-0533

 

40

56

0,072

7018-0534

 

12

12

10

10

25

-

20

25

16

-

3,0

60

0,111

7018-0535

 

50

16

16

70

0,136

7018-0536

 

60

80

0,161

7018-0537

 

16

16

12

12

32

20

25

28

20

20

4,0

85

0,254

7018-0538

 

80

105

0,333

7018-0539

 

100

125

0,412

7018-0540

 

80

20

20

16

16

40

25

32

36

25

25

5,0

112

0,541

7018-0541

 

100

132

0,669

7018-0542

 

125

157

0,826

7018-0543

 

100

25

25

20

20

50

30

40

45

30

32

6,0

140

1,365

7018-0544

 

125

165

1,600

7018-0545

 

160

200

1,910

* В случае применения штифтов типа 1 по ГОСТ 3128 - поле допуска отверстия d-K7. Соответственно в условном обозначении указывать поле допуска К7.

Пример условного обозначения однопазовой серьги размерами A=25 мм, b=10 мм, с полями допусков диаметров d и d1 - Н11:

Серьга 7018-0531 ГОСТ 12477-67

То же, с полями допусков диаметров d-H7 и d1 - Е8:

Серьга 7018-0531 H7 Е8 ГОСТ 12477-67

(Измененная редакция, Изм. 1, 2).

2. Материал - сталь марки 45 по ГОСТ 1050. Допускается замена на стали других марок с механическими свойствами не ниже, чем у стали марки 45.

3. Твердость 36,5...41,5 HRCэ.

4. Неуказанные предельные отклонения размеров: h14, ±

(Измененная редакция, Изм. № 2).

5. (Исключен, Изм. № 1).

6. Покрытие - Хим. Окс. прм (обозначение покрытия - по ГОСТ 9.306).

7. Маркировать партию деталей одного типоразмера на таре или упаковке с указанием условного обозначения.

6, 7. (Измененная редакция, Изм. 2).

8. Пример применения однопазовых серег указан в приложении.

(Введен дополнительно, Изм. № 2).

ПРИЛОЖЕНИЕ
Справочное
ПРИМЕР ПРИМЕНЕНИЯ ОДНОПАЗОВЫХ СЕРЕГ

ИНФОРМАЦИОННЫЕ ДАННЫЕ

1. РАЗРАБОТАН И ВНЕСЕН Министерством тяжелого, энергетического и транспортного машиностроения СССР

Министерством станкостроительной и инструментальной промышленности СССР

РАЗРАБОТЧИКИ

В.В. Андреев; В.Н. Дзегиленок, канд. техн. наук; В.А. Петрова; К.И. Сокольский; А.З. Старосельский (руководитель темы); А.В. Хренова; Т.А. Шестакова

2. УТВЕРЖДЕН И ВВЕДЕН В ДЕЙСТВИЕ Постановлением Комитета стандартов, мер и измерительных приборов при Совете Министров СССР от 03.01.67 № 53

3. ВЗАМЕН МН 5425-64

4. ССЫЛОЧНЫЕ НОРМАТИВНО-ТЕХНИЧЕСКИЕ ДОКУМЕНТЫ

Обозначение НТД, на который дана ссылка

Номер пункта

ГОСТ 9.306-85

ГОСТ 1050-88

ГОСТ 3128-70

6

2

1

5. Постановлением Госстандарта СССР от 17.03.88 № 569 снято ограничение срока действия

6. ПЕРЕИЗДАНИЕ (октябрь 1999 г.) с Изменениями № 1, 2, утвержденными в июне 1980 г., марте 1988 г. (ИУС 9-80, 6-88)

 




ГОСТЫ, СТРОИТЕЛЬНЫЕ и ТЕХНИЧЕСКИЕ НОРМАТИВЫ.
Некоммерческая онлайн система, содержащая все Российские Госты, национальные Стандарты и нормативы.
В Системе содержится более 150000 файлов нормативно-технической документации, действующей на территории РФ.
Система предназначена для широкого круга инженерно-технических специалистов.

Рейтинг@Mail.ru Яндекс цитирования

Copyright © www.gostrf.com, 2008 - 2026