Крупнейшая бесплатная информационно-справочная система онлайн доступа к полному собранию технических нормативно-правовых актов РФ. Огромная база технических нормативов (более 150 тысяч документов) и полное собрание национальных стандартов, аутентичное официальной базе Госстандарта. GOSTRF.com - это более 1 Терабайта бесплатной технической информации для всех пользователей интернета. Все электронные копии представленных здесь документов могут распространяться без каких-либо ограничений. Поощряется распространение информации с этого сайта на любых других ресурсах. Каждый человек имеет право на неограниченный доступ к этим документам! Каждый человек имеет право на знание требований, изложенных в данных нормативно-правовых актах!

  


 

МЕЖГОСУДАРСТВЕННЫЙ СТАНДАРТ

ПОВЕРХНОСТИ ОПОРНЫЕ ПОД КРЕПЕЖНЫЕ ДЕТАЛИ

ГОСТ
12876-67

Взамен
MH 5016-63

Размеры

Bearing surface under fasteners. Dimensions

Утвержден Комитетом стандартов, мер и измерительных приборов при Совете Министров СССР 28 апреля 1967 г. Дата введения установлена

01.01.69

Ограничение срока действия снято Постановлением Госстандарта СССР от 14 апреля 1983 г. № 1790

Издание 2006 г. с Изменением № 4, утвержденным в апреле 1983 г. (ИУС 7-83).

1. Настоящий стандарт распространяется на опорные поверхности под крепежные детали с диаметром стержня от 1 до 48 мм, изготовляемые по государственным стандартам.

Стандарт полностью соответствует СТ СЭВ 213-82.

2. Размеры опорных поверхностей под шестигранные головки болтов и винтов, под шестигранные гайки с нормальным размером под ключ и под шайбы должны соответствовать указанным на черт. 1 и в табл. 1.

Черт. 1

Таблица 1

мм

Диаметр резьбы крепежной детали

D (пред. откл. по Н15)

D1

1,6

5

8

2

6

8

2,5

7,5

10

3

8

10

4

10

14

5

11

16

6

13,5

18

8

18

24

10

22

28

12

26

30

14

30

34

16

33

38

18

36

42

20

40

45

22

43

48

24

48

52

27

52

60

30

61

65

33

67

75

36

71

80

39

75

85

42

80

90

45

90

95

48

95

100

1, 2. (Измененная редакция, Изм. № 4).

2а. Размеры опорных поверхностей под шестигранные головки болтов и винтов и шестигранные гайки с уменьшенным размером под ключ и под уменьшенные шайбы должны соответствовать указанным на черт. 2 и в табл. 2.

Черт. 2

Таблица 2

мм

Диаметр резьбы крепежной детали

D (пред. откл. по Н15)

D1

1,6

5

8

2

6

8

2,5

7

10

3

8

10

4

10

14

5

12

16

6

13,5

18

8

18

20

10

20

24

12

24

28

14

26

30

16

30

34

18

32

38

20

36

42

22

40

45

24

42

48

27

48

52

30

55

60

33

60

65

36

65

70

39

71

75

42

75

80

45

85

90

48

90

100

2б. Размеры опорных поверхностей под увеличенные шайбы должны соответствовать указанным на черт. 3 и в табл. 3.

Черт. 3

Таблица 3

мм

Диаметр резьбы крепежной детали

D (пред. откл. по Н15)

D1

1,6

6

8

2

7

10

2,5

10

12

3

12

14

4

14

16

5

18

20

6

20

24

8

26

30

10

34

38

12

40

45

14

45

48

16

52

55

18

60

65

20

65

70

22

70

75

24

75

80

27

85

90

30

95

100

33

100

105

36

105

110

39

115

120

42

125

130

45

135

140

48

150

155

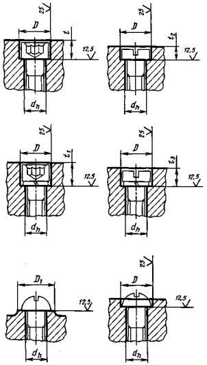
2в. Размеры опорных поверхностей под цилиндрические и полукруглые головки винтов со шлицем и под цилиндрические головки винтов с шестигранным углублением под ключ должны соответствовать указанным на черт. 4 и в табл. 4.

Черт. 4

Таблица 4

мм

Диаметр резьбы крепежной детали

D (пред. откл. по Н14)

D1

t (пред. откл. по Н14)

t1 (пред. откл. по Н14)

t2 (пред. откл. по Н14)

t3 (пред. откл. по Н14)

1

2,2

-

-

-

0,8

-

1,2

2,5

-

-

-

0,9

-

1,4

2,8

-

-

-

1,0

-

1,6

3,3

-

-

-

1,2

-

1,8

3,8

-

-

-

1,5

-

2,0

4,3

-

-

-

1,6

2,2

2,5

5,0

-

-

-

2,0

2,7

3

6,0

-

3,4

4,3

2,4

3,3

3,5

6,5

-

4,0

-

2,9

3,8

4

8,0

12

4,6

5,5

3,2

4,5

5

10

15

5,7

7

4,0

5,5

6

11

18

6,8

8,5

4,7

6,5

8

15

20

9

11

6

8

10

18

24

11

13,5

7

9,5

12

20

26

13

16

8

11

14

24

30

15

18,5

9

12,5

16

26

34

17,5

21

10,5

14

18

30

36

19,5

23

11,5

15

20

34

40

21,5

25,5

12,5

16,5

22

36

-

23,5

27,5

13,5

17,5

24

40

-

25,5

30,5

14,5

19,5

27

45

-

28,5

33,5

-

-

30

48

-

32

38

-

-

33

53

-

35

41

-

-

36

57

-

38

44

-

-

39

60

-

41

49

-

-

42

65

-

44

52

-

-

45

71

-

47

55

-

-

48

75

-

50

59

-

-

Примечание. Размеры t1 и t3 даны для винтов с нормальными или легкими пружинными шайбами по ГОСТ 6402-70.

2г. Размеры опорных поверхностей под потайные и полупотайные головки винтов и шурупов и под шайбы стопорные с зубьями для винтов с потайной и полупотайной головкой должны соответствовать указанным на черт. 5 и в табл. 5.

Черт. 5

Таблица 5

мм

Диаметр резьбы крепежной детали

D1 (пред. откл. по Н13)

D2 (пред. откл. по Н12)

D3 (пред. откл. по Н14)

t (пред. откл. +0,1)

1,0

2,4

2,0

-

0,2

1,2

2,8

2,5

-

0,2

1,4

3,2

2,8

-

0,2

1,6

3,7

3,3

-

0,2

2,0

4,6

4,3

-

0,2

2,5

5,7

5

-

0,3

3,0

6,6

6

7

0,3

3,5

7,6

7

-

0,3

4,0

8,6

8

9

0,3

5

10,4

10

11,5

0,3

6

12,4

11,5

14,5

0,4

8

16,4

15

18,5

0,7

10

20,4

19

22

0,7

12

24,4

23

26

1,0

14

28,4

26

-

1,0

16

32,4

30

-

1,2

18

36,4

34

-

1,2

20

40,4

37

-

1,7

2д. Размеры опорных поверхностей под заклепки с потайной и полупотайной головкой должны соответствовать указанным на черт. 6 и в табл. 6.

Черт. 6

Таблица 6

мм

Диаметр стержня заклепки

D (пред. откл. по Н14)

α (пред. откл. -2°)

D1 (пред. откл. по Н14)

α1 (пред. откл. -2°)

1

1,7

90°

-

-

1,2

2,1

-

-

1,4

2,5

-

-

1,6

2,7

6

-

2

3,6

 

120°

2,5

4,2

7

3

4,8

8

3,5

5,6

9,5

4

6,4

10,5

5

8,2

13

6

9,7

11

90°

8

13,3

15

10

16,4

75°

17

75°

12

19,4

20

14

23

24

16

23

60°

24

60°

17

26

27

20

29

30

22

32

33

24

35

36

27

36

45°

37

45°

30

40

41

36

48

49

2а, 2б, 2в, 2г, 2д. (Введены дополнительно, Изм, № 4).

3. Обработка опорных поверхностей по черт. 1 - 3 производится в технически обоснованных случаях.

Размер t устанавливается конструктором. При глубине t, превышающей 1/3 высоты головки болта (гайки), размеры D следует брать по ГОСТ 13682-80.

4. Между опорной и цилиндрической поверхностями допускается радиус закругления не более 0,3 мм.

У опорных поверхностей под шестигранные головки болтов без шайб и под цилиндрические и полукруглые головки винтов без шайб между опорной плоскостью и сквозным отверстием должна быть фаска 0,5×45° для крепежных деталей диаметром резьбы от 12 до 20 мм и 1×45° - для деталей диаметром резьбы свыше 20 мм.

3,4. (Измененная редакция, Изм. № 4).

5. (Исключен, Изм. № 4).

6. Диаметры сквозных отверстий dh - по ГОСТ 11284-75. Для опорных поверхностей под цилиндрические головки винтов сквозные отверстия по 3-му ряду ГОСТ 11284-75 не рекомендуются.

(Измененная редакция, Изм. № 4).

7. (Исключен, Изм. № 4).

8. Для опорных поверхностей по черт. 4 при проектировании соединения допускается увеличивать размеры t, t1, t2, t3. В случае применения 1-го ряда сквозных отверстий по ГОСТ 11284-75 для уменьшения зазора между головкой винта и цилиндрической поверхностью диаметром D допускается уменьшать диаметр D.

(Измененная редакция, Изм. № 4).

9. (Исключен, Изм. № 4).

 




ГОСТЫ, СТРОИТЕЛЬНЫЕ и ТЕХНИЧЕСКИЕ НОРМАТИВЫ.
Некоммерческая онлайн система, содержащая все Российские Госты, национальные Стандарты и нормативы.
В Системе содержится более 150000 файлов нормативно-технической документации, действующей на территории РФ.
Система предназначена для широкого круга инженерно-технических специалистов.

Рейтинг@Mail.ru Яндекс цитирования

Copyright © www.gostrf.com, 2008 - 2026