Крупнейшая бесплатная информационно-справочная система онлайн доступа к полному собранию технических нормативно-правовых актов РФ. Огромная база технических нормативов (более 150 тысяч документов) и полное собрание национальных стандартов, аутентичное официальной базе Госстандарта. GOSTRF.com - это более 1 Терабайта бесплатной технической информации для всех пользователей интернета. Все электронные копии представленных здесь документов могут распространяться без каких-либо ограничений. Поощряется распространение информации с этого сайта на любых других ресурсах. Каждый человек имеет право на неограниченный доступ к этим документам! Каждый человек имеет право на знание требований, изложенных в данных нормативно-правовых актах!

  


 

ЕДИНЫЕ НОРМЫ И РАСЦЕНКИ НА СТРОИТЕЛЬНЫЕ,
МОНТАЖНЫЕ И РЕМОНТНО-СТРОИТЕЛЬНЫЕ РАБОТЫ

Сборник Е19
УСТРОЙСТВО ПОЛОВ

Содержание

ВВОДНАЯ ЧАСТЬ

Глава 1. ПОЛЫ ДОЩАТЫЕ, ПАРКЕТНЫЕ И ИЗ ДРЕВЕСНЫХ ПЛИТ

§Е19-1. Укладка лаг

§Е19-2. Устройство дощатых настилов

§Е19-3. Устройство чистых дощатых полов по уложенным лагам

§Е19-4. Устройство чистых полов из готовых деревянных щитов по уложенным лагам

§Е19-5. Сплошная острожка чистых дощатых полов строгальной машиной

§Е19-6. Подготовка паркетных планок

§Е19-7. Устройство паркетных полов из отдельных планок и паркетных досок

§Е19-8. Устройство паркетных полов из щитов

§Е19-9. Отделка поверхности паркетных полов

§Е19-10. Устройство полов из древесных плит

Глава 2. ПОЛЫ ИЗ ЛИНОЛЕУМА, РЕЛИНА И СИНТЕТИЧЕСКИХ СМОЛ

§Е19-11. Покрытие полов линолеумом на мастике

§Е19-12. Покрытие полов релином

§Е19-13. Покрытие полов линолеумом насухо

§Е19-14. Заготовка ковров линолеума по размеру помещений

§Е19-15. Покрытие полов синтетическими ворсовыми коврами линолеума

§Е19-16. Покрытие полов коврами поливинилхлоридного линолеума на войлочной основе, заготовленных по размеру помещений

§Е19-17. Покрытие полов синтетическими плитками

Глава 3. ПОЛЫ ПЛИТОЧНЫЕ

§Е19-18. Обработка керамических, цементных и мозаичных плиток

§Е19-19. Устройство полов из керамических, цементных,  мозаичных и мраморно-цементных плиток

§Е19-20. Устройство полов из ковровой мозаики

§Е19-21. Устройство полов из плиток природного камня

§Е19-22. Отделка полов из природного камня

§Е19-23. Устройство полов из чугунных плиток

§Е19-24. Устройство полов из стальных перфорированных плиток

§Е19-25. Устройство полов из шлакоситалловых плиток

§Е19-26. Устройство полов из шлакобетонных плиток

§Е19-27. Устройство полов из плиток белокаменного литья

§Е19-28. Устройство полов из боя керамических плиток на лестничных площадках

Глава 4. ПОЛЫ МОЗАИЧНЫЕ, БЕТОННЫЕ, ЦЕМЕНТНЫЕ, АСФАЛЬТОБЕТОННЫЕ

§Е19-29. Устройство мозаичных (терраццевых) полов

§Е19-30. Отделка мозаичных (терраццевых) полов

§Е19-31. Устройство бетонных полов

§Е19-32. Устройство цементных полов

§Е19-33. Устройство асфальтобетонных полов

Глава 5. ПОЛЫ ПОЛИМЕРНЫЕ

§Е19-34. Устройство однослойных пластичных полимерцементных полов

§Е19-35. Устройство поливинилацетатных полов

Глава 6. РАЗНЫЕ РАБОТЫ

§Е19-36. Устройство песчаного подстилающего слоя

§Е19-37. Устройство шлакового подстилающего слоя

§Е19-38. Устройство бетонного подстилающего слоя

§Е19-39. Устройство щебеночного подстилающего слоя

§Е19-40. Подготовка поверхности основания под наливные поливинилацетатные полы

§Е19-41. Подготовка бетонного основания

§Е19-42. Устройство стяжек из древесных плит

§Е19-43. Устройство цементной стяжки вручную

§Е19-44. Устройство цементной стяжки с нанесением раствора растворонасосом

§Е19-45. Устройство стяжек из легких бетонов

§Е19-46. Установка деревянных плинтусов и галтелей

§Е19-47. Установка поливинилхлоридных плинтусов

§Е19-48. Устройство цементных плинтусов

§Е19-49. Устройство плинтусов из плиток

§Е19-50. Устройство плинтусов из терраццевого раствора

§Е19-51. Установка вентиляционных решеток

§Е19-52. Приготовление мастики для наливных бесшовных полов

§Е19-53. Приготовление терраццевого раствора в бетоносмесителе

РАЗРАБОТАНЫ Нормативно-исследовательской станцией Главсевзапстроя Министерства строительства в северных и западных районах СССР с использованием нормативных материалов других министерств и ведомств под методическим руководством и при участии Центрального бюро нормативов по труду в строительстве (ЦБНТС) при Всесоюзном научно-исследовательском и проектном институте труда в строительстве Госстроя СССР.

УТВЕРЖДЕНЫ постановлением Государственного строительного комитета СССР, Государственного комитета СССР по труду и социальным вопросам и Секретариата Всесоюзного Центрального Совета Профессиональных Союзов от 5 декабря 1986 года № 43/512/29-50 для обязательного применения на строительных, монтажных и ремонтно-строительных работах

Технология производства работ, предусмотренная в Сборнике, согласована с Центральным научно-исследовательским институтом организации, механизации и технической помощи строительству Госстроя СССР (ЦНИИ ОМТП).

ВВОДНАЯ ЧАСТЬ

1. Нормами времени и расценками настоящего Сборника учтены работы по устройству полов в жилых, производственных, общественных зданиях.

2. Нормами и расценками Сборника учтены и отдельно не оплачиваются вспомогательные и подготовительные работы: разметка, очистка основания полов от мусора и пыли, а также подготовительно-заключительные операции, приведенные в общей части ЕНиР.

Варка битумных мастик и асфальтобетона нормами данного Сборника не учтена, эти работы нормируются и оплачиваются дополнительно по сборнику Е11 "Изоляционные работы".

3. При обмере работ по устройству полов площадь, занимаемая плинтусами и галтелями, не исключается.

4. При устройстве полов с уклоном, заданным по проекту, Н. вр. и Расц. умножать на 1,1 (ВЧ-1).

5. При устройстве полов с криволинейными очертаниями в плане радиусом до 2 м Н. вр. и Расц. умножать на 1,2 (ВЧ-2).

6. Нормами, за исключением особо оговоренных случаев, предусмотрено перемещение материалов на расстояние до 20 м.

Подноску материалов и изделий рабочими, выполняющими основную работу, на расстояния большие, чем это предусмотрено нормами, следует нормировать и оплачивать дополнительно по сборнику Е1 "Внутрипостроечные транспортные работы".

7. Нормами предусмотрено выполнение работ по устройству полов в соответствии с действующими техническими условиями, СНиП III-В.14-72. Рабочие должны знать и выполнять все требования, предусмотренные настоящим Сборником, вытекающие из указанных глав СНиП и обеспечивающие требуемое качество работ.

8. Тарификация работ в Сборнике произведена в соответствии с ЕТКС работ и профессий рабочих, вып. 3, разд. "Строительные, монтажные и ремонтно-строительные работы", утвержденным 17 июля 1985 г.

Расценки в Сборнике подсчитаны по часовым тарифным ставкам, установленным для рабочих, занятых в строительстве, без учета повышения тарифных ставок на тяжелые работы и работы с вредными условиями труда.

9. Нормами предусмотрено выполнение работ с соблюдением правил техники безопасности в соответствии со СНиП III-4-80 "Техника безопасности в строительстве".

Рабочие должны знать и соблюдать указанные в СНиП правила техники безопасности при выполнении работ.

Глава 1. ПОЛЫ ДОЩАТЫЕ, ПАРКЕТНЫЕ И ИЗ ДРЕВЕСНЫХ ПЛИТ

Техническая часть

1. Нормами и расценками настоящей главы, за исключением особо оговоренных случаев, учтено выполнение работ из готовых предварительно обработанных и в необходимых случаях антисептированных материалов, деталей и изделий.

2. Копание ям для установки деревянных элементов (стульев, столбов, стоек и т.п.) нормируется по Сборнику Е2 "Земляные работы", вып. 1 "Механизированные и ручные земляные работы".

3. При применении норм §Е19-6 и §Е19-7 число планок, приходящихся на 1 м2 паркетного пола, следует принимать по нижеследующей таблице.

Ширина планок, мм

Длина планок, мм

400

350

300

250

200

150

90

85

80

75

70

65

60

55

50

45

40

35

30

28

29

31

33

36

39

42

45

50

56

63

71

83

32

34

36

38

41

44

48

52

57

63

72

82

95

37

39

42

45

48

51

56

61

67

74

84

95

111

44

47

50

54

57

62

67

73

80

89

100

114

133

56

59

63

67

72

77

84

91

100

111

125

143

167

74

78

83

89

95

103

111

121

133

148

167

190

222

4. Нормами предусмотрено выполнение работ по укладке лаг, устройству дощатых полов из сосны, ели и пихты. При выполнении работ с применением дуба, бука, ясеня и граба Н. вр. и Расц. §Е19-1, §Е19-2, §Е19-3 умножать на 1,2 (ТЧ-1), лиственницы и березы - на 1,1 (ТЧ-2).

5. Нормами и расценками настоящей главы предусмотрено устройство полов в помещениях площадью свыше 10 м2, при устройстве полов в помещениях площадью до 10 м2 Н. вр. и Расц. соответствующих параграфов умножать на 1,2 (ТЧ-3).

§Е19-1. Укладка лаг

Состав работы

1. Изготовление и антисептирование подкладок из брусков или досок и прокладок из изоляционных материалов. 2. Нарезка лаг из брусков или из досок по размерам. 3. Наращивание лаг (в необходимых случаях) с изготовлением сопряжения в полдерева. 4. Укладка прокладок и подкладок. 5. Укладка лаг по отметке с выверкой по уровню. 6. Временное крепление лаг досками. 7. Разметка и выделка сопряжений лаг с опорами (добавляется при укладке лаг из досок).

Состав звена

Плотник 4 разр. - 1

     "          2   "     - 1

Нормы времени и расценки на 1 м2 пола

Вид лаг

Расстояние между осями лаг, см

 

30

40

50

60

70-80

Из брусков

0,39

-------

0-27,9

0,33

-------

0-23,6

0,28

-------

0-20

0,25

-------

0-17,9

0,22

-------

0-15,7

1

Из досок

-

0,43

--------

0-30,7

0,38

--------

0-27,2

0,35

-------

0-25

0,32

-------

0-22,9

2

 

а

б

в

г

д

§Е19-2. Устройство дощатых настилов

Состав работы

1. Укладка настила из досок по готовым опорам. 2. Прибивка досок гвоздями.

Нормы времени и расценки на 100 м2 пола

Состав звена

Вид настила

Плотник 3 разр. – 1
"         2   "     - 1

Подсобный рабочий 1 разр. - 1

Прямой

16,5

-------

10-61

1

 

Диагональный

18

-------

11-58

2

Примечания: 1. При устройстве настила с применением старых досок (с их сортировкой) Н. вр. и Расц. для площади настила, выполненного из старых досок, умножать на 1,4 (ПР-1). Объем работ по настилу, выполненному из старых досок, оформляется актом, утвержденным производителем работ.

2. При применении досок шириной св. 120 мм добавлять на раскалывание досок Н. вр. 3,5 чел.-ч, Расц. 2-25 (ПР-2).

§Е19-3. Устройство чистых дощатых полов по уложенным лагам

Состав работ

При настилке полов в четверть или в шпунт

1. Раскладка и пригонка досок к месту по уложенным лагам. 2. Приторцовка досок в стыках. 3. Сплачивание и прибивка всех досок гвоздями с втапливанием шляпок гвоздей.

При перепиливании досок

1. Разметка, маркировка и перепиливание досок по размерам помещения.

При острожке провесов

1. Дополнительное втапливание шляпок гвоздей. 2. Устранение провесов острожкой. 3. Отметание стружек.

Нормы времени и расценки на 100 м2 пола

Наименование работ

Состав звена плотников

Вид пола

 

без фриза

с фризом

Настилка полов (без острожки провесов)

4 разр. – 1
2    "     - 1

40,5

-------

28-96

60

-------

42-90

1

Перепиливание досок

2 разр.

8,2

--------

5-25

2

Устранение провесов острожкой

строгальной машиной производительностью до 40 м2

4 разр.

1,8

-------

1-42

3

 

электрорубанком

То же

3,6

--------

2-84

4

 

ручным рубанком

3 разр.

6,3

--------

4-41

5

 

 

а

б

Примечания: 1. Н. вр. и Расц. строк № 1 и 2 предусмотрено устройство полов из досок шириной до 100 мм. При ширине досок св. 100 мм Н. вр. и Расц. умножать на 0,75 (ПР-1).

2. Н. вр. и Расц. строк № 1 и 2 предусмотрено устройство полов из досок толщиной 29 мм. При устройстве полов из досок толщиной 37 мм Н. вр. и Расц. умножать на 1,1 (ПР-2).

3. При настилке полов с прибивкой только пятой доски Н. вр. и Расц. строки № 1 умножать на 0,7 (ПР-3).

§Е19-4. Устройство чистых полов из готовых деревянных щитов по уложенным лагам

Состав работы

1. Раскладка щитов. 2. Перепиливание щитов при необходимости. 3. Настилка щитовых полов вчетверть или в шпунт из готовых щитов. 4. Пригонка и приторцовка щитов по месту. 5. Прибивка щитов гвоздями с втапливанием шляпок гвоздей.

Состав звена

Плотник 4 разр. - 1

     "          2   "     - 1

Нормы времени и расценки на 1 м2 пола

Площадь щита, м2, до

Вид пола

 

без фриза

с фризом

0,5

0,52

----------

0-37,2

0,74

---------

0-52,9

1

2

0,34

--------

0-24,3

0,47

--------

0-33,6

2

 

а

б

§Е19-5. Сплошная острожка чистых дощатых полов строгальной машиной

Состав работы

1. Дополнительное втапливание при необходимости шляпок гвоздей. 2. Смачивание поверхности полов водой. 3. Острожка строгальной машиной производительностью до 40 м2/ч поверхности полов. 4. Острожка полов у стен вручную.

Норма времени и расценка на 100 м2 пола

Состав рабочих

Н. вр.

Расц.

Плотник 4 разр.

4,6

3-63

§Е19-6. Подготовка паркетных планок

Паркетчик 2 разр.

Нормы времени и расценки на 100 м2 пола

Наименование работы

Число планок на 1 м2 пола, до

Н. вр.

Расц.

Сортировка планок и подбор по размеру и цвету с увязкой в пачки

36

5,1

3-26

1

 

45

5,5

3-52

2

 

56

6,3

4-03

3

 

67

7,4

4-74

4

 

80

9

5-76

5

 

91

10,5

6-72

6

 

111

12,5

8-00

7

 

125

14,5

9-28

8

 

135

16

10-24

9

 

148

18

11-52

10

 

170

21

13-44

11

 

195

24,5

15-68

12

 

225

28,5

18-24

13

Примечание. При сортировке планок без увязки в пачки Н. вр. и Расц. умножать на 0,8 (ПР-1).

§Е19-7. Устройство паркетных полов из отдельных планок и паркетных досок

ПРИ НАСТИЛКЕ ИЗ ОТДЕЛЬНЫХ ПЛАНОК

Состав работы

1. Грунтование основания. 2. Нанесение и разравнивание мастики по огрунтованной поверхности. 3. Настилка пола из отдельных планок. 4. Пригонка и прирезка планок в местах примыканий.

Состав звена

Паркетчик 4 разр. - 1

       "           3   "     - 1

Таблица 1

Нормы времени и расценки на 1 м2 пола

Количество планок на 1 м2 пола, до

Без фриза

С фризом

 

Н. вр.

Расц.

Н. вр.

Расц.

36

0,35

0-26,1

0,51

0-38

1

45

0,42

0-31,3

0,56

0-41,7

2

56

0,49

0-36,5

0,64

0-47,7

3

67

0,58

0-43,2

0,72

0-53,6

4

80

0,66

0-49,2

0,77

0-57,4

5

91

0,78

0-58,1

0,85

0-63,3

6

111

0,87

0-64,8

0,97

0-72,3

7

135

1

0-74,5

1,1

0-82

8

148

1,1

0-82

1,2

0-89,4

9

170

1,2

0-89,4

1,3

0-96,9

10

195

1,4

1-04

1,6

1-19

11

225

1,5

1-12

1,7

1-27

12

 

а

б

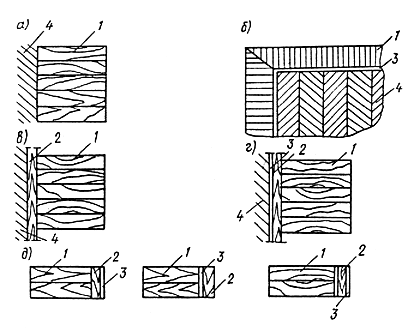
Примечания: 1. При устройстве полов с фризом с линейками и жилками (рис. 1б, г, д) добавлять на каждый продольный элемент линейки и жилки на 1 м2 пола Н. вр. 0,03 чел.-ч, Расц. 0-02,2 (ПР-1).

2. Н. вр. и Расц. предусмотрена настилка полов как на горячей, так и на холодной мастиках.

3. Установку плинтусов нормировать по §Е19-46.

а - без окантовки; б - с окантовкой в одну жилку; в - с линейкой из одного продольного ряда планок; г - с линейкой из одного продольного ряда планок и жилок; д - с жилками по линейке с отобранными четвертями

1 - планка фризовая; 2 - линейка; 3 - жилка из дуба; 4 - рядовой настил.

ПРИ НАСТИЛКЕ ПОЛОВ С УСТУПАМИ

Состав работы

1. Проверка основания. 2. Настилка строительной бумаги на основание. 3. Укладка паркетной планки на гвоздях на проступях и подступенках с отделкой примыканий у стен, прирезкой планки по размерам. 4. Прибивка дубовой рейки по краю проступи.

Таблица 2

Норма времени и расценка на 1 м2 пола

Состав рабочих

Количество планокна 1 м2

Н. вр.

Расц.

Паркетчик 4 разр.

50

1,3

1-03

ПРИ НАСТИЛКЕ ИЗ ПАРКЕТНЫХ ДОСОК

Состав работ

При настилке по лагам

1. Выравнивание песчаного основания при необходимости. 2. Нарезка изоляционных прокладок. 3. Разметка и нарезка лаг. 4. Укладка лаг на прокладки с выверкой. 5. Настилка паркетных досок по уложенным лагам с прибивкой гвоздями. 6. Заделка порогов и мест примыканий к стенам при необходимости.

При настилке на мастике

1. Грунтование основания. 2. Разбивка осей помещения. 3. Укладка паркетных досок насухо с последующим снятием. 4. Нанесение и разравнивание мастики. 5. Настилка паркетных досок с подгонкой стыков. 6. Заделка порогов и мест примыканий к стенам при необходимости.

Состав звена

Паркетчик 4 разр. - 1

       "           3   "     - 1

Таблица 3

Нормы времени и расценки на 1 м2 пола (без фриза)

Способ укладки

Н. вр.

Расц.

По лагам

0,52

0-38,7

1

На мастике

0,57

0-42,5

2

Примечание. Н. вр. и Расц. предусмотрена площадь паркетной доски до 0,5 м2.

§Е19-8. Устройство паркетных полов из щитов

ПРИ УСТРОЙСТВЕ ОБРЕШЕТКИ ПОД ЩИТОВОЙ ПАРКЕТ

Состав работы

1. Заготовка подкладок. 2. Укладка обрешетки по готовому основанию с пригонкой и креплением всех элементов. 3. Выверка обрешетки.

Таблица 1

Норма времени и расценка на 1 м2 пола

Состав рабочих

Н. вр.

Расц.

Паркетчики 3 разр.

0,41

0-28,7

ПРИ НАСТИЛКЕ ПОЛОВ ИЗ ЩИТОВ ПО ОБРЕШЕТКЕ ИЛИ ЛАГАМ

Состав работы

1. Подбор щитов при необходимости. 2. Настилка паркетных полов и добора. 3. Пригонка и заделка стыковых соединений. 4. Крепление щитов гвоздями. 5. Устранение провесов острожкой.

Состав звена

Паркетчик 5 разр. - 1

       "           3   "     - 1

Таблица 2

Нормы времени и расценки на 1 м2 пола

Размер щитов, м

Рядовой настил с добором

Н. вр.

Расц.

0,4´0,4

1

0-80,5

1

0,475´0,475

0,87

0-70

2

0,6´0,6

0,71

0-57,2

3

0,8´0,8

0,67

0-53,9

4

0,6´1,2

0,63

0-50,7

5

1,4´1,4

0,52

0-41,9

6

Примечания: 1.  При настилке  фриза принимать на 1 м2 пола Н. вр. 1,4 чел.-ч, Расц. 1-13.

2. На разметку и перепиливание щитов добора дисковой пилой принимать на 1 м перепила Н. вр. 0,1 чел.-ч паркетчика 4 разр., Расц. 0-07,9.

ПРИ НАСТИЛКЕ ПОЛОВ ИЗ ПАРКЕТНЫХ ЩИТОВ НА МАСТИКЕ

Состав работы

1. Раскладка готовых щитов насухо с последующим снятием. 2. Грунтование основания. 3. Нанесение и разравнивание мастики. 4. Настилка щитов паркета. 5. Пригонка и прирезка щитов в местах примыканий.

Таблица 3

Нормы времени и расценки на 1 м2 пола

Состав звена паркетчиков

Размер щитов, м

5 разр. – 1
3    "     - 1

0,25´0,25

0,37

--------

0-29,8

1

 

0,3´0,3

0,28

-------

0-22,5

2

 

0,4´0,4

0,23

-------

0-18,5

3

§Е19-9. Отделка поверхности паркетных полов

Нормы времени и расценки на 100 м2 пола

Наименование работ

Состав рабочих

Очистка полов мокрыми опилками

Подсобный рабочий

1 разр.

4,1

------

2-42

1

Острожка полов электрорубанком со смачиванием и отметанием стружки

Паркетчик 4 разр.

19,5

-------

15-41

2

Пристрожка вручную мест примыканий после механизированной острожки

Паркетчик 3 разр.

30

-------

21-00

3

Циклевка полов

машиной производительностью до 40 м2

Паркетчик 4 разр.

5,5

-------

4-35

4

 

вручную

Паркетчик 3 разр.

19,5

-------

13-65

5

Шлифование полов паркетно-шлифовальной машиной производительностью 40-60 м2

Паркетчик 4 разр.

7

------

5-53

6

Покрытие пола мастикой и натирка

натирочной машиной производительностью 100 м2

Паркетчик 3 разр.

2,2

------

1-54

7

 

щетками

Паркетчик 2 разр.

13

------

8-32

8

Покрытие пола лаком

шлифование отдельных мест наждачной бумагой

Маляр строительный
3 разр.

2

------

1-40

9

 

уборка отходов с очисткой пыли пылесосом и ветошью

Маляр строительный
2 разр.

3,2

------

2-05

10

 

покрытие пола лаком за 1 раз с добавлением в лак отвердителя и подноской материалов на расстояние до 50 м

Маляр строительный
4 разр.

4,4

------

3-48

11

 

обработка отдельных мест лакирования предыдущего слоя наждачной бумагой при необходимости

Маляр строительный
3 разр.

1,9

------

1-33

12

Примечание. Производственная необходимость выполнения работ вручную и их объем оформляются актом, утверждаемым производителем работ.

§Е19-10. Устройство полов из древесных плит

Состав работ

При настилке древесноволокнистых плит

1. Увлажнение плит водой. 2. Раскладка, разметка и обрезка плит. 3. Грунтование основания. 4. Нанесение и разравнивание битумной мастики. 5. Наклеивание плит. 6. Очистка швов после наклеивания.

Добавлять при настилке в два слоя:

7. Раскладка, разметка, обрезка плит второго слоя. 8. Подогрев мастики при необходимости. 9. Нанесение и разравнивание битумной мастики на плиты первого слоя. 10. Наклеивание второго слоя плит. 11. Раскладка гнета по стыкам плит второго слоя.

При настилке древесностружечных плит по лагам

1. Разметка и обрезка плит дисковой пилой. 2. Настилка плит с подгонкой и прирезкой по месту. 3. Прибивка плит гвоздями к лагам с втапливанием шляпок гвоздей. 4. Устранение провесов острожкой ручным рубанком.

Состав звена

Плотник 4 разр. - 1

       "         2   "     - 1

Нормы времени и расценки на 100 м2 пола

Наименование плит

Н. вр.

Расц.

Древесноволокнистые при укладке

в один слой

41,5

29-67

1

 

в два слоя

68

48-62

2

Древесностружечные

18,5

13-23

3

Глава 2. ПОЛЫ ИЗ ЛИНОЛЕУМА, РЕЛИНА И СИНТЕТИЧЕСКИХ СМОЛ

Техническая часть

1. Нормами настоящей главы предусмотрено наклеивание линолеума, релина и синтетических плиток на готовых быстротвердеющих мастиках, на основе водостойких вяжущих, наносимых на основание в холодном или подогретом состоянии.

2. Нормами и расценками настоящей главы предусмотрено устройство покрытий полов в помещениях площадью св. 10 м2.

При устройстве полов в помещениях площадью до 10 м2 Н. вр. и Расц. умножать на 1,2 (ТЧ-1).

§Е19-11. Покрытие полов линолеумом на мастике

Состав работы

1. Грунтование основания. 2. Распаковка и раскатывание рулонов с разметкой и нарезкой линолеума на полотнища. 3. Прирезка полотнищ к выступающим частям помещения. 4. Снятие полотнищ и нанесение мастики на основание. 5. Укладка и приклеивание линолеума с укатыванием. 6. Зачистка, прирезка и приклеивание полотнищ в стыках.

Состав звена

Облицовщик синтетическими материалами 4 разр. - 1

           "                            "                      "          3   "     - 1

Нормы времени и расценки на 1 м2 пола

Ширина линолеума, м, до

Н. вр.

Расц.

1,5

0,23

0-17,1

1

2

0,19

0-14,2

2

§Е19-12. Покрытие полов релином

Состав работы

1. Грунтование основания. 2. Раскатывание рулонов с разметкой и нарезкой релина на полотнища. 3. Прирезка полотнищ к выступающим частям помещения. 4. Нанесение мастики на основании и на полотнища. 5. Приклеивание релина с укатыванием. 6. Прирезка и приклеивание полотнищ в стыках.

Норма времени и расценка на 1 м2 пола

Состав звена облицовщиков синтетическими материалами

Н. вр.

Расц.

4 разр. – 1
3    "     - 1

0,25

0-18,6

§Е19-13. Покрытие полов линолеумом насухо

ПРИ УКЛАДКЕ КОВРОВ ЛИНОЛЕУМА, СВАРЕННЫХ РАЗМЕРОМ НА КОМНАТУ

Состав работы

1. Выемка сердечника из свернутого в рулон ковра и раскатывание ковра с прирезкой к выступающим частям стен и перегородок. 2. Установка плинтусов с креплением их к стенам или перегородкам.

Таблица 1

Норма времени и расценка на 1 м2 пола

Состав звена облицовщиков синтетическими материалами

Н. вр.

Расц.

4 разр. – 1
3    "     - 1

0,15

0-11,2

ПРИ УКЛАДКЕ ЛИНОЛЕУМА СО СВАРКОЙ СТЫКОВ

Таблица 2

Наименование профессии рабочих

Вид работы

укладка линолеума

сварка стыков

Облицовщик синтетическими материалами

4 разр. – 2
2    "     - 1

4 разр.

Таблица 3

Нормы времени и расценки на измерители, указанные в таблице

Наименование работ

Состав работ

Измеритель

Н. вр.

Расц.

Укладка линолеума

1. Раскатывание рулонов. 2. Разметка и нарезка линолеума. 3. Прирезка кромок шва.

1 м2 пола

0,13

0-09,6

1

Сварка стыков электроприборами

1. Покрытие стыка целлофановой пленкой. 2. Сварка. 3. Очистка шва.

"Пчелка"

100 м шва

4,7

3-71

2

АСЛ-220 "Пилад"

"

8,5

6-72

3

Примечание. При укладке линолеума со сваркой стыков крепление его производится при помощи плинтусов. Установку плинтусов или галтелей нормировать по §Е19-46 и §Е19-47.

§Е19-14. Заготовка ковров линолеума по размеру помещений

Характеристика условий производства работ

Заготовка и сварка линолеума в ковры по размеру помещений производится централизованно в заготовительной мастерской (цехе), оборудованной механизмами, приспособлениями, инвентарем. Температура воздуха в мастерской (цехе) должна быть не ниже +18° С.

Мастерская (цех) оборудуется стеллажами для вылеживания линолеума до полного исчезновения в нем волнистости. Рулоны линолеума раскатывают на всю длину и выдерживают в раскатанном положении в течение трех суток.

Раскрой линолеума производится по картам раскроя на столе или на стеллажах. При раскрое следует обеспечить соответствие размеров ковра помещению. Отклонения не должны превышать +10 мм. Заготовленные ковры маркируются. Ковры до отправки их на стройку вылеживаются на площадках.

Состав работ

При заготовке

1. Раскатка рулона. 2. Раскрой линолеума по размеру помещений. 3. Подача раскроенных листов на стеллажи для вылеживания.

При сварке листов линолеума в ковры

1. Скатывание полотнищ линолеума и подача их на сварочный стол. 2. Раскатывание полотнищ на сварочном столе. 3. Прирезка кромок. 4. Укладка целлофановой пленки. 5. Сварка. 6. Очистка шва. 7. Маркировка и относка готовой продукции с укладкой в штабель.

Состав звена

Облицовщик синтетическими материалами 4 разр. - 1

           "                            "                      "          2   "     - 1

Нормы времени и расценки на измерители, указанные в таблице

Наименование работ

Измеритель

Н. вр.

Расц.

Заготовка

100 м2 ковра линолеума

1,8

1-29

1

Сварка аппаратом производительностью до 60 м/ч

с прирезкой кромок механизированным способом

100 м шва

14

10-01

2

 

с прирезкой кромок вручную

То же

16,5

11-80

3

§Е19-15. Покрытие полов синтетическими ворсовыми коврами линолеума

Состав работы

1. Грунтование основания. 2. Распаковка и раскатывание рулонов с разметкой и нарезкой ковров линолеума на полотнища. 3. Укладка ковров линолеума насухо. 4. Пригонка полотнищ к выступающим частям помещения с прирезкой по месту. 5. Скатывание полотнищ ковров линолеума. 6. Нанесение и разравнивание мастики. 7. Наклеивание ковров линолеума с укатыванием. 8. Прирезка кромок смежных полотнищ. 9. Приклеивание кромок полотнищ.

Норма времени и расценка на 1 м2 пола

Состав звена облицовщиков синтетическими материалами

Н. вр.

Расц.

5 разр. – 1
3    "     - 1

0,31

0-25

§Е19-16. Покрытие полов коврами поливинилхлоридного линолеума на войлочной основе, заготовленных по размеру помещений

Состав работы

1. Раскатывание рулонов с настилкой. 2. Разметка и прирезка линолеума в местах примыкания к выступающим частям помещения.

Добавлять при устройстве стыков в дверных проемах:

3. Прирезка швов в дверных проемах и покрытие их планкой.

Нормы времени и расценки на 10 м2 пола

Наименование работ

Состав звена облицовщиков синтетическими материалами

Н. вр.

Расц.

Настилка линолеума

4 разр. – 2
2    "     - 1

1,2

0-88,8

1

Прирезка швов линолеума встык в дверных проемах

4 разр.

0,16

0-12,6

2

Примечания: 1. Сварку швов нормировать по §Е19-13.

2. Установку плинтусов или галтелей нормировать по §§Е19-46 и Е19-47.

§Е19-17. Покрытие полов синтетическими плитками

Состав работы

1. Грунтование основания. 2. Сортировка плиток по размерам и оттенкам. 3. Раскладка плиток насухо по рисунку. 4. Подогрев плиток на электрической плите. 5. Нанесение и разравнивание мастики на основании. 6. Укладка плиток с проверкой и выравниванием, с прирезкой плиток по месту. 7. Очистка загрязненных мест покрытия.

Состав звена

Облицовщик синтетическими материалами

4 разр. - 1

3   "     - 1

Нормы времени и расценки на 1 м2 пола

Плитки

Размер плиток, мм

При укладке

 

в 1-2 цвета

в 3 цвета

Синтетические

125´125

0,62

--------

0-46,2

0,7

-------

0-52,2

1

 

150´150

0,51

-------

0-38

0,59

--------

0-44

2

 

200´200

0,41

-------

0-30,5

0,49

-------

0-36,5

3

 

300´300
350
´350

0,37

-------

0-27,6

0,41

-------

0-30,5

4

 

400´400

0,3

--------

0-22,4

0,35

--------

0-26,1

5

 

500´500
520
´520

0,26

--------

0-19,4

0,3

--------

0-22,4

6

 

500´700

0,24

--------

0-17,9

0,26

--------

0-19,4

7

Резиновые шестигранные

Размер стороны 195 мм

0,3

--------

0-22,4

-

8

 

 

а

б

Примечание. При устройстве покрытия полов сложного рисунка в составе звена облицовщика 4 разр. заменить на облицовщика 5 разр., Расц. умножать на 1,08 (ПР-1).

Глава 3. ПОЛЫ ПЛИТОЧНЫЕ

Техническая часть

1. Нормами и расценками настоящей главы, за исключением особо оговоренных случаев, предусмотрено выполнение работ из готовых предварительно обработанных материалов, деталей и изделий.

2. Установку плинтусов из керамических плиток нормировать по §Е19-49, табл. 1.

§Е19-18. Обработка керамических, цементных и мозаичных плиток

Облицовщик-плиточник 3 разр.

Нормы времени и расценки на измерители, указанные в таблице

Наименование работ

Измеритель

Способ обработки

 

механизированный

ручной

Перерубка с оправкой кромок

плиток

100 плиток

0,31

-------

0-21,7

1,1

--------

0-77

1

 

вкладышей

100 вкладышей

0,16

-------

0-11,2

0,56

---------

0-39,2

2

Подточка кромок перерубленных плиток

100 плиток

0,38

-------

0-26,6

1,3

-------

0-91

3

Сверление отверстий в плитках

100 отверстий

7,6

-------

5-32

26,5

-------

18-55

4

 

 

а

б

§Е19-19. Устройство полов из керамических, цементных,  мозаичных и мраморно-цементных плиток

Указания по применению норм

Нормами предусмотрена укладка керамических плиток на слой цементно-песчаного раствора или на мастику; цементных и мозаичных плиток - на слой цементно-песчаного раствора. Толщина прослойки из раствора 10-15 мм, из горячих битумных и дегтевых мастик - 2-3 мм.

При настилке керамических плиток способом вибровтапливания нормами предусмотрено замачивание плиток в воде или в водных растворах поверхностно-активных веществ (ПАВ) в течение 15-20 минут.

ПРИ ПОШТУЧНОЙ УКЛАДКЕ КЕРАМИЧЕСКИХ, ЦЕМЕНТНЫХ И МОЗАИЧНЫХ ПЛИТОК

Состав работы

1. Смачивание основания водой. 2. Сортировка плиток по размеру и цвету. 3. Грунтование основания (при укладке плиток на мастику). 4. Установка маяков. 5. Подгонка и перерубка плиток с подточкой кромок при необходимости. 6. Устройство прослойки из готового раствора (или с затворением готовой сухой смеси) или нанесение мастики (при прослойке из мастики). 7. Смачивание плиток водой или водным раствором ПАВ и укладка их по заданному рисунку в один или два цвета. 8. Заполнение швов. 9. Очистка и протирка покрытия.

Состав звена

Облицовщик-плиточник

4 разр. - 1

3   "     - 1

Таблица 1

Нормы времени и расценки на 1 м2 пола

Площадь пола, м2

Размеры плиток, мм

 

100´100

150´150

200´200

330´330

400´400

500´500

До 2

1,2

-------

0-89,4

0,78

-------

0-58,1

0,67

-------

0-49,9

-

-

-

1

До 10

1

-------

0-74,5

0,68

-------

0-50,7

0,59

-------

0-44

0,5

-------

0-37,3

0,48

-------

0-35,8

0,45

-------

0-33,5

2

Св. 10

0,95

-------

0-70,8

0,64

-------

0-47,7

0,56

------

0-41,7

0,45

--------

0-33,5

0,42

-------

0-31,3

0,4

-------

0-29,8

3

 

а

б

в

г

д

е

Примечания: 1. Н. вр. и Расц. табл. 1 учтены перерубка, оправка, подточка кромок до 10 % всего количества плиток. На перерубку, оправку и подточку плиток сверх 10 % Н. вр. и Расц. принимать по §Е19-18.

2. Н. вр. и Расц. табл. 1 предусмотрена укладка плиток толщиной до 20 мм.

ПРИ НАСТИЛКЕ КЕРАМИЧЕСКИХ ПЛИТОК ПАКЕТНЫМ СПОСОБОМ

Состав работы

1. Смачивание основания водой. 2. Сортировка плиток по размеру и цвету. 3. Установка маяков. 4. Устройство прослойки из готового раствора (или с затворением готовой сухой смеси). 5. Перерубка плиток с подточкой кромок при необходимости. 6. Смачивание плиток водой или водным раствором ПАВ. 7. Укладка плиток в шаблон по заданному рисунку в один или два цвета. 8. Настилка плиток. 9. Заполнение швов. 10. Очистка и протирка покрытия.

Таблица 2

Нормы времени и расценки на 1 м2 пола

Состав звена облицовщиков-плиточников

Размер плиток, мм

100´100

150´150

5 разр. – 1
3    "     - 1

0,52

--------

0-41,9

0,44

--------

0-35,4

 

а

б

ПРИ НАСТИЛКЕ КЕРАМИЧЕСКИХ ПЛИТОК СПОСОБОМ ВИБРОВТАПЛИВАНИЯ

Состав работы

1. Смачивание основания водой. 2. Сортировка плиток по размеру и цвету. 3. Замачивание плиток в воде или в водном растворе ПАВ. 4. Перерубка плиток с подточкой кромок при необходимости. 5. Установка маяков. 6. Устройство прослойки из готового раствора. 7. Укладка плиток по заданному рисунку в один или два цвета. 8. Втапливание плиток в раствор при помощи вибрационной машины производительностью 80-100 м2/ч. 9. Очистка и протирка покрытия.

Таблица 3

Норма времени и расценка на 1 м2 пола

Состав звена облицовщиков-плиточников

Размер плиток, мм

Н. вр.

Расц.

4 разр. – 1
3    "     - 1

100´100

0,33

0-24,6

Примечания: 1. При настилке полов плитками в три цвета (не считая цвета вкладышей) или с составлением рисунка из трех плиток и более Н. вр. и Расц. умножать на 1,2 (ПР-1).

2. Н. вр. и Расц. табл. 2 и 3 предусмотрено устройство полов в помещениях площадью св. 20 м2.

ПРИ НАСТИЛКЕ МОЗАИЧНЫХ ПЛИТОК С УШИРЕННЫМИ ШВАМИ

Состав работы

1. Смачивание основания водой. 2. Сортировка плиток по оттенкам и смачивание их водой. 3. Установка маяков и направляющих реек с выверкой. 4. Устройство прослойки из готового раствора толщиной 20-30 мм. 5. Укладка плиток на раствор. 6. Очистка швов от наплывов раствора. 7. Приготовление мраморно-цементной смеси вручную малыми дозами. 8. Заполнение швов мраморно-цементной смесью с разравниванием и очисткой швов и плиток.

Таблица 4

Норма времени и расценка на 1 м2 пола

Состав звена облицовщиков-мозаичников

Н. вр.

Расц.

4 разр. – 1
3    "     - 1
2    "     - 1

1,2

0-85,2

Примечание. Н. вр. и Расц. табл. 4 предусмотрен размер плиток 500´500´30 (35) мм и ширина швов между ними 60 мм.

ПРИ НАСТИЛКЕ МРАМОРНО-ЦЕМЕНТНЫХ ПЛИТОК

Состав работы

1. Смачивание основания. 2. Сортировка плиток по оттенкам и смачивание их водой. 3. Установка маяков. 4. Устройство прослойки из готового раствора толщиной 30-50 мм. 5. Подгонка кромок плиток при необходимости. 6. Укладка плиток. 7. Заполнение швов  раствором с протиркой уложенного покрытия.

Таблица 5

Норма времени и расценка на 1 м2 пола

Состав звена облицовщиков-мозаичников

Н. вр.

Расц.

4 разр. – 1
3    "     - 1

0,64

0-47,7

Примечания: 1. Н. вр. и Расц. табл. 5 предусмотрено устройство полов из плиток размером 400´400´25 (30) мм.

Н. вр. и Расц. предусмотрено устройство полов в помещениях площадью св. 10 м2, при устройстве полов в помещениях площадью до 10 м2 Н. вр. и Расц. табл. 5 умножать на 1,2 (ПР-1).

§Е19-20. Устройство полов из ковровой мозаики

Указания по применению норм

Нормами предусмотрена укладка карт ковровой мозаики на слой цементного раствора бумагой вверх, при этом для свободного выхода воздуха из-под плиток в бумаге делают небольшие надрывы. Отдельные листы укладываются с зазором между плитками. Бумага с мозаичных покрытий удаляется не ранее 1-2 дней после укладки карт. Для удаления бумаги поверхность пола предварительно смачивается водой.

Состав работы

1. Подбор карт ковровой мозаики. 2. Смачивание поверхности основания водой. 3. Установка маяков. 4. Устройство прослойки из готового раствора или с затворением готовой сухой смеси. 5. Укладка карт ковровой мозаики на раствор. 6. Очистка карт от бумаги со смачиванием водой. 7. Заливка швов цементным молоком. 8. Протирка поверхности опилками с очисткой затвердевшего раствора.

Нормы времени и расценки на 1 м2 покрытия пола или фриза

Площадь пола, м

Вид покрытия

Состав звена облицовщиков-мозаичников

До 5

Полы и лестничные площадки (без фриза)

4 разр. – 1
2    "     - 1

0,78

-------

0-55,8

1

Св. 5

То же

То же

0,59

-------

0-42,2

2

До 5

Фризы

5 разр. – 1
2    "     - 1

0,99

--------

0-76,7

3

Св. 5

То же

То же

0,77

--------

0-59,7

4

Примечание. При настилке полов с прокладкой стеклянных или металлических жилок на прокладку жилок добавлять Н. вр. и Расц., указанные в гр. "в" и "г" §Е19-29.

§Е19-21. Устройство полов из плиток природного камня

Состав работы

1. Смачивание основания водой. 2. Подборка плиток по номерам. 3. Установка маяков. 4. Раскладка плиток насухо с подбором рисунка. 5. Подгонка кромок плиток. 6. Устройство прослойки из готового раствора толщиной 20-30 мм. 7. Укладка плиток. 8. Проверка уложенного ряда плиток правилом. 9. Выравнивание плиток с разделкой швов между уложенными плитками.

Состав звена

Камнетес

4 разр. - 1

3    "     - 1

Нормы времени и расценки на 1 м2 пола

Число плиток в 1 м2, до

При площади пола, м2

 

до 10

св. 10

Вид покрытия

полы

мраморные плитки на лестничных площадках и фризы

полы

мраморные плитки на лестничных площадках и фризы

мраморные

гранитные

мраморные

гранитные

2

0,67

-------

0-49,9

-

0,72

--------

0-53,6

0,56

-------

0-41,7

-

0,6

-------

0-44,7

1

3

0,9

-------

0-67,1

1,1

------

0-82

0,98

--------

0-73

0,75

-------

0-55,9

0,94

-------

0-70

0,82

--------

0-61,1

2

4

1,1

------

0-82

1,6

-------

1-19

1,2

--------

0-89,4

0,94

-------

0-70

1,4

-------

1-04

1

--------

0-74,5

3

10

1,5

------

1-12

2,5

-------

1-86

1,6

-------

1-19

1,2

--------

0-89,4

2,1

-------

1-56

1,4

-------

1-04

4

20

1,7

-------

1-27

-

1,8

--------

1-34

1,3

------

0-96,9

-

1,6

-------

1-19

5

30

2,1

-------

1-56

-

2,2

--------

1-64

1,6

-------

1-19

-

1,9

------

1-42

6

 

а

б

в

г

д

е

Примечания: 1. При устройстве полов фонтанов Н. вр. и Расц. граф "а" и "г" умножать на 1,35 (ПР-1), гр. "б" и "д" - на 1,7 (ПР-2).

2. Н. вр. и Расц. не учтены и оплачиваются дополнительно подбор, маркировка, перерубка плиток и сверление в них отверстий.

§Е19-22. Отделка полов из природного камня

ПРИ ПРОМЫВКЕ ПОЛОВ

Таблица 1

Нормы времени и расценки на 100 м2 пола

Способ промывки

Состав рабочих

С помощью щеток и резиновых губок

Подсобный рабочий 1 разр.

13

-------

7-67

1

Машиной производительностью до 800 м2

Камнетес 2 разр.

0,14

---------

0-09

2

ПРИ ШЛИФОВАНИИ МРАМОРНЫХ ПОЛОВ

Состав работы

1. Смачивание поверхности водой. 2. Грубое шлифование с применением водных растворов ПАВ. 3. Тонкое шлифование с применением водных растворов ПАВ. 4. Очистка от грязи и промывка пола. 5. Смена шлифовальных камней.

Таблица 2

Норма времени и расценка на 1 м2 пола

Состав рабочих

Н. вр.

Расц.

Облицовщик-полировщик 4 разр.

0,57

0-45

Примечание. Н. вр. и Расц. предусмотрено выполнение работ шлифовальной машиной производительностью до 12 м2 /ч.

§Е19-23. Устройство полов из чугунных плиток

Состав работ

При настилке на растворе

1. Укладка и разравнивание по готовому основанию цементного раствора, слоем 40-45 мм. 2. Посадка плиток на растворе с пригонкой. 3. Удаление излишков раствора и протирка покрытия опилками или ветошью.

При настилке на песчаном слое

1. Разравнивание и уплотнение (с поливкой водой) песчаной подготовки слоем 80-100 мм с выверкой ровности. 2. Укладка плиток. 3. Первое трамбование плиток. 4. Второе трамбование плиток. 5. Закрепление крайних плиток на жестком бетоне.

Нормы времени и расценки на 100 м2 пола

Наименование работ

Состав звена мостовщиков

Размер плиток, мм

Н. вр.

--------

Расц.

сторона квадрата

толщина

Укладка плиток на растворе

5 разр. – 1
2    "     - 1

300

25-30

42

-------

32-55

1

 

5 разр. – 1
2    "     - 2

400

 

32

-------

23-36

2

 

То же

500

35-40

64

------

46-72

3

Укладка плиток на растворе

5 разр. – 1
2    "     - 2

600

35-40

51

-------

37-23

4

 

То же

700

 

40

--------

29-20

5

Укладка плиток на песчаном слое

5 разр. – 1
2    "     - 1

250

35-40

98

-------

75-95

6

 

5 разр. – 1
2    "     - 2

450

 

79

-------

57-67

7

 

5 разр. – 1
2    "     - 3

 

20-30

37

------

26-18

8

 

5 разр. – 1
2    "     - 5

1000

40-50

55

------

37-68

9

 

5 разр. – 1
2    "     - 6

 

60-70

75

-------

50-90

10

Примечание. При укладке плиток при помощи крана Н. вр. и Расц. умножать на 0,7 (ПР-1). Работу машиниста оплачивать дополнительно.

§Е19-24. Устройство полов из стальных перфорированных плиток

Состав работы

1. Установка маячных труб с выверкой их по уровню. 2. Смачивание поверхности бетонной подготовки водой. 3. Укладка и разравнивание прослойки из бетонной смеси. 4. Уплотнение прослойки виброрейкой и сглаживание. 5. Натягивание причального шнура и укладка маячного ряда плиток. 6. Укладка плиток рядового покрытия и выравнивание их по правилу. 7. Удаление маячных труб и штырей с отноской в сторону. 8. Снятие излишков бетона скребком с плиток и очистка поверхности плиток.

Норма времени и расценка на 100 м2 пола

Состав звена облицовщиков-плиточников

Размер плиток, мм

Н. вр.

Расц.

4 разр. – 1
3    "     - 1
2    "     - 1

300300

76

53-96

Примечание. Н. вр. и Расц. предусмотрено устройство полов в помещениях с площадью пола св. 20 м2.

§Е19-25. Устройство полов из шлакоситалловых плиток

Состав работы

1. Смачивание основания водой. 2. Сортировка плиток по размерам с подточкой кромок. 3. Установка маяков. 4. Устройство прослойки толщиной 15-20 мм из готового раствора. 5. Укладка плиток с промазкой тыльной стороны плиток раствором. 6. Заполнение швов раствором с протиркой уложенного покрытия.

Нормы времени и расценки на 1 м2 пола

Площадь пола, м2

Состав звена облицовщиков-плиточников

Размеры плиток, мм

 

250´250

500´500

600´600

До 10

4 разр. – 1
3    "     - 1

0,78

--------

0-58,1

0,63

--------

0-46,9

0,52

-------

0-38,7

1

До 20

То же

0,69

-------

0-51,4

0,55

-------

0-41

0,46

-------

0-34,3

2

Св. 20

"

0,65

-------

0-48,4

0,52

-------

0-38,7

0,44

-------

0-32,8

3

 

 

а

б

в

§Е19-26. Устройство полов из шлакобетонных плиток

Состав работы

1. Проверка по уровню места укладки плиток. 2. Устройство постели из песка слоем 40-50 мм с уплотнением вручную. 3. Подгонка плиток с перерубкой в необходимых случаях. 4. Укладка плиток на песчаное основание с проверкой правильности укладки.

Норма времени и расценка на 100 м2 пола

Состав звена облицовщиков-плиточников

Размер плиток, мм

Н. вр.

Расц.

3 разр. – 1
2    "     - 1

600´600´40

40,5

27-14

§Е19-27. Устройство полов из плиток белокаменного литья

Указания по применению норм

Нормами предусмотрено устройство полов из шестигранных плиток белокаменного литья с размером сторон 300 и 350 мм, толщиной 30 мм по бетонному основанию на готовом цементном растворе при ширине швов не св. 3 мм.

Состав работы

1. Смачивание основания водой. 2. Установка маячных плиток с выверкой правилом. 3. Расстилание раствора. 4. Укладка плиток на раствор с выверкой и подгонкой к выступающим частям помещения.

Норма времени и расценка на 1 м2 пола

Состав звена облицовщиков-плиточников

Н. вр.

Расц.

4 разр. – 1
3    "     - 1

1,1

0-82

Примечание. Н. вр. и Расц. предусмотрена перерубка, оправка и подточка кромок в количестве до 15 % уложенных плиток. За каждый последующий процент перерубленных плиток добавлять к Н. вр. 0,03 чел.-ч и Расц. 0-02,2 (ПР-1). Объем перерубленных плиток не должен превышать 25 %.

§Е19-28. Устройство полов из боя керамических плиток на лестничных площадках

Состав работы

1. Смачивание основания водой. 2. Сортировка боя плиток. 3. Установка маяков. 4. Устройство прослойки из готового раствора. 5. Настилка покрытия из боя плиток. 6. Настилка фриза. 7. Заполнение швов. 8. Очистка и протирка пола.

Нормы времени и расценки на измерители, указанные в таблице

Наименование работ

Состав звена облицовщиков-плиточников

Измеритель

Н. вр.

Расц.

Настилка полов из боя плиток

4 разр. – 1
3    "     - 1

1 м2 ола

1

0-74,5

1

Настилка фризов из целых плиток

4 разр.

1 м фриза

0,08

0-06,3

2

Примечание. Настилка фризов предусмотрена из целых плиток размерами 100´100 или 150´150 мм в один ряд.

Глава 4. ПОЛЫ МОЗАИЧНЫЕ, БЕТОННЫЕ, ЦЕМЕНТНЫЕ, АСФАЛЬТОБЕТОННЫЕ

Техническая часть

1. Нормами и расценками §§Е19-31, Е19-32, Е19-33 предусмотрено выполнение работ из материалов, доставленных непосредственно к рабочему месту.

2. При устройстве полов в помещениях площадью до 10 м2 Н. вр. и Расц. §§Е19-29, Е19-30 умножать на 1,2 (ТЧ-1).

§Е19-29. Устройство мозаичных (терраццевых) полов

Указания по применению норм

Нормами предусмотрено уплотнение раствора виброрейками или площадочными вибраторами, а в местах, недоступных для вибратора, а также при малом объеме работ, ручными трамбовками.

Состав работ

При устройстве полов с прослойкой из цементно-песчаного раствора

1. Смачивание основания водой. 2. Приготовление цементного молока или ПВАД и грунтование им основания. 3. Укладка, разравнивание и уплотнение готового раствора. 4. Установка маячных реек или рамок (для устройства мозаичного покрытия). 5. Укладка готового мозаичного раствора по рейке и уровню с разравниванием и уплотнением. 6. Снятие реек или рамок. 7. Заполнение швов готовым мозаичным раствором.

При устройстве полов без прослойки

1. Установка маячных реек или рамок. 2. Приготовление цементного молока или ПВАД и грунтование им стяжки. 3. Укладка готового мозаичного раствора с разравниванием и уплотнением. 4. Снятие реек или рамок. 5. Заполнение швов готовым мозаичным раствором.

При устройстве полов с втрамбовыванием крошки добавлять:

рассыпание крошки по поверхности пола и втрамбовывание крошки в слой раствора.

При устройстве полов с жилками добавлять:

разметка рисунка с прокладкой жилок, рихтование латунных и медных жилок при необходимости.

При устройстве полов с применением мраморных брекчий добавлять:

сортировка брекчий по цвету и размеру, укладка мраморных брекчий.

Состав звена

Облицовщик-мозаичник 4 разр. - 1

           "                      "         2   "     - 1

Нормы времени и расценки на 1 м2 пола и на 1 м жилок

Вид полов

Полы

Жилки

 

с устройством прослойки

без устройства прослойки

стеклянные

латунные или медные

Сплошные (бесшовные)

0,93

--------

0-66,5

0,58

-------

0-41,5

0,04

-------

0-02,9

0,07

-------

0-05

1

С прямолинейным рисунком до 3 м жилок на 1 м2 пола или с рисунком в шашку

1,1

------

0-78,7

0,67

-------

0-47,9

0,09

-------

0-06,4

0,13

------

0-09,3

2

С прямолинейным рисунком более 3 м жилок на 1 м2 пола или с криволинейным рисунком

1,4

------

1-00

0,83

------

0-59,3

0,18

--------

0-12,9

0,19

-------

0-13,6

3

 

а

б

в

г

Примечания: 1. При устройстве полов с трамбованием крошки Н. вр. и Расц. гр. "а" и "б" умножать на 1,2 (ПР-1).

2. Н. вр. и Расц. предусмотрено устройство полов из одного или двух различных по цвету или декоративному заполнению растворов. При устройстве полов из растворов трех и более цветов Н. вр. и Расц. гр. "а" и "б" строк 2 и 3 умножать на 1,2 (ПР-2).

3. При устройстве полов с применением мраморных брекчий Н. вр. и Расц. гр. "а" и "б" умножать на 1,2 (ПР-3).

4. В сплошных полах (строка 1) укладка жилок (строка 1, гр. "в" и "г") предусмотрена только при устройстве фриза.

5. Приготовление терраццевого раствора нормировать и оплачивать дополнительно по §Е19-53.

§Е19-30. Отделка мозаичных (терраццевых) полов

Состав работ

При шлифовании

1. Грубое шлифование поверхности пола со смачиванием и посыпкой песком. 2. Шлифование поверхности пола со смачиванием и посыпкой песком. 3. Шпатлевание поверхности цементным раствором. 4. Снятие шпатлевки. 5. Очистка и промывка покрытия. 6. Смена шлифовальных камней.

При полировании

1. Смачивание поверхности водой. 2. Частичное шпатлевание. 3. Снятие шпатлевки мелкозернистыми абразивами и смывание шлама. 4. Полирование.

ПРИ ШЛИФОВАНИИ И ПОЛИРОВАНИИ ПОКРЫТИЙ

Таблица 1

Нормы времени и расценки на 1 м2 пола и на 1 м плинтусов или галтелей

Вид поверхности

Способ отделки

Производительность шлифовальных машин и агрегатов, м2

Состав рабочих

Шлифование

Полирование порошком

 

Полы

Механизированный

4-6

Облицовщик-мозаичник
4 разр.

0,32

-------

0-25,3

0,56

--------

1

 

 

7,5

То же

0,27

-------

0-21,3

0-44,2

2

 

 

до 20

"

0,23

-------

0-18,2

0,56

-------

0-44,2

3

 

 

55-60

"

0,04

-------

0-03,2

-

4

 

Ручной

-

Облицовщик-мозаичник
3 разр.

1,7

------

1-19

2,6

--------

1-82

5

Плинтусы или галтели

Механизированный (машиной ИЭ-8201А)

То же, 6 разр.

0,44

--------

0-46,6

-

6

 

Ручной

То же, 5 разр.

0,58

--------

0-52,8

1,4

-------

1-27

7

 

а

б

Примечания: 1. При шлифовании мозаичных полов с жилками Н. вр. и Расц. умножать на 1,1 (ПР-1).

2. Производственная необходимость выполнения работ вручную и их объем оформляются актом, утверждаемым производителем работ.

ПРИ ОТДЕЛКЕ МЕСТ ПРИМЫКАНИЙ ПОЛОВ К СТЕНАМ И КОЛОННАМ

Таблица 2

Нормы времени и расценки на 1 м примыкания

Вид отделки

Способ отделки, марка машины

Состав рабочих облицовщиков-мозаичников

Шлифование

Механизированный

И-54

4 разр.

0,14

--------

0-11,1

1

Шлифование и полирование

 

ИЭ-8201А

То же

0,36

-------

0-28,4

2

Шлифование

Ручной

3 разр.

0,27

--------

0-18,9

3

Полирование порошком

 

То же

0,46

-------

0-32,2

4

Примечание. Н. вр. и Расц. предусмотрено шлифование и полирование мест примыканий с шириной полосы до 120 мм.

§Е19-31. Устройство бетонных полов

БЕЗ ПРИМЕНЕНИЯ ВАКУУМАГРЕГАТА

Состав работы

1. Смачивание основания водой. 2. Установка маячных реек. 3. Укладка готовой бетонной смеси с разравниванием. 4. Уплотнение бетонной смеси поверхностным вибратором или виброрейкой. 5. Сглаживание и тщательное выравнивание бетонной поверхности рейкой. 6. Снятие маячных реек и заделка оставшихся борозд. 7. Заглаживание поверхности металлическими гладилками. 8. Затирка поверхности покрытия машиной.

Таблица 1

Нормы времени и расценки на 100 м2 пола

Наименование работ

Состав звена бетонщиков

Н. вр.

Расц.

Устройство полов

4 разр. – 1
2    "     - 1

9,6

6-86

1

В том числе затирка поверхности покрытия машиной

4 разр. - 1

3,3

2-61

2

Примечания: 1. Н. вр. и Расц. табл. 1 предусмотрена толщина покрытия 20-30 мм.

2. Н. вр. и Расц. табл. 1 предусмотрено устройство полов в помещениях площадью св. 20 м2. При устройстве полов в помещениях площадью до 20 м2 Н. вр. и Расц. умножать на 1,25 (ПР-1).

С  ПРИМЕНЕНИЕМ ВАКУУМАГРЕГАТА

Состав работы

1. Смачивание основания водой. 2. Установка маячных реек. 3. Прием и укладка готовой бетонной смеси с разравниванием. 4. Уплотнение бетонной смеси площадочным вибратором или виброрейкой. 5. Выравнивание бетонной поверхности. 6. Укладка фильтрующих полотен и отсасывающего мата. 7. Вакуумирование. 8. Снятие, очистка и промывка фильтрующих полотен и отсасывающего мата. 9. Снятие, очистка маячных реек и заделка оставшихся борозд. 10. Заглаживание дисковыми машинами. 11. Затирка лопастными машинами.

Таблица 2

Нормы времени и расценки на 100 м2 пола

Состав звена

Толщина слоя, мм

 

100

до 150

до 200

до 250

Машинист вакуумной установки 5 разр.

9,5

------

8-65

10,5

-------

9-56

11

------

10-01

12

------

10-92

1

Бетонщики
4 разр. – 1
3    "     - 1
2    "     - 1

29,5

-----

20-95

32,5

-------

23-08

35

-------

24-85

38

--------

26-98

2

 

а

б

в

г

§Е19-32. Устройство цементных полов

ПРИ УКЛАДКЕ РАСТВОРА ВРУЧНУЮ

Состав работы

1. Смачивание поверхности бетонного основания водой. 2. Установка маячных реек по готовому подстилающему слою. 3. Укладка, разравнивание и уплотнение цементно-песчаного раствора. 4. Снятие маячных реек и заделка борозд. 5. Заглаживание поверхности покрытия металлическими гладилками.

Таблица 1

Нормы времени и расценки на 100 м2 пола

Состав звена бетонщиков

Толщина слоя, мм

Площадь пола, м2

Н. вр.

Расц.

4 разр. - 1

20

До 10

15

10-65

1

3    "     - 1

 

Св. 10

12

8-52

2

2    "     - 1

30-40

До 10

18

12-78

3

 

 

Св. 10

14

9-94

4

ПРИ НАНЕСЕНИИ РАСТВОРА РАСТВОРОНАСОСОМ

Состав работы

1. Смачивание поверхности бетонного основания водой. 2. Установка маяков. 3. Нанесение на бетонное основание раствора с помощью растворонасоса. 4. Разравнивание и уплотнение раствора. 5. Снятие маячных реек и заделка борозд. 6. Заглаживание поверхности покрытия. 7. Переноска шлангов в процессе работы. 8. Устранение пробок в шлангах и промывка их.

Таблица 2

Нормы времени и расценки на 100 м2 пола

Состав звена бетонщиков

Площадь пола, м2

Производительность растворонасоса, м3/ч, до

 

4

6

4 разр. – 1
3    "     - 1

До 10

16

-------

11-36

13

-------

9-23

1

2    "     - 1

До 40

11,5

-------

8-17

9,3

------

6-60

2

 

Св. 40

9,3

-------

6-60

7,5

-------

5-33

3

 

 

а

б

Примечание. Н. вр. и Расц. табл. 2 предусмотрена толщина полов до 40 мм.

ПРИ НАНЕСЕНИИ МЕТАЛЛОЦЕМЕНТНОГО ПОКРЫТИЯ

Состав работы

1. Смачивание основания водой. 2. Установка маячных реек. 3. Укладка металлоцементной смеси. 4. Разравнивание и уплотнение металлоцементной смеси слоем 15-20 мм. 5. Заглаживание поверхности покрытия. 6. Снятие маячных реек. 7. Заделка борозд металлоцементной смесью.

Таблица 3

Норма времени и расценка на 100 м2 пола

Состав звена бетонщиков

Н. вр.

Расц.

4 разр. – 1
3    "     - 1

35

26-08

§Е19-33. Устройство асфальтобетонных полов

Состав работы

1. Установка маячных реек. 2. Укладка асфальтобетонной смеси. 3. Разравнивание смеси. 4. Уплотнение смеси. 5. Снятие маячных реек и заделка борозд. 6. Посыпка поверхности песком и затирка райбовкой.

Состав звена

Асфальтобетонщик 4 разр. - 1

               "                  2  "     -  1

Нормы времени и расценки на 100 м2 пола

Способ уплотнения

Толщина покрытия, мм

25

40

50

Ручными катками и вальками

14

-------

10-01

18

------

12-87

22

------

15-73

 

а

б

в

Примечание. При грунтовании бетонного основания горячим битумом или дегтем для асфальтобетонщиков 3 разр. добавлять на 100 м2 пола Н. вр. 3 чел.-ч, Расц. 2-10 (ПР-1).

Глава 5. ПОЛЫ ПОЛИМЕРНЫЕ

§Е19-34. Устройство однослойных пластичных полимерцементных полов

Указания по применению норм

Нормой предусмотрено устройство покрытий из полимерцементных пластичных смесей, укладываемых ручным способом. Приготовление полимерцементной смеси нормой не учтено и нормируется дополнительно.

Состав работы

1. Грунтование основания водным раствором эмульсии ПВА кистью. 2. Установка маяков. 3. Нанесение и разравнивание полимерцементной смеси. 4. Снятие маяков. 5. Заполнение борозд смесью с разравниванием. 6. Шлифование поверхности шлифовальной машиной. 7. Очистка пола со смачиванием водой.

Норма времени и расценка на 1 м2 пола

Состав звена облицовщиков-мозаичников

Н. вр.

Расц.

4 разр. – 1
3    "     - 1

0,31

0-23,1

Примечание. При устройстве полов в помещениях площадью до 10 м2 Н. вр. и Расц. умножать на 1,2 (ПР-1).

§Е19-35. Устройство поливинилацетатных полов

Характеристика условий производства работ

Нормами предусмотрено устройство наливных мастичных покрытий полов при температуре воздуха на уровне пола не ниже +10° С. Для предохранения от загрязнения мастикой стены защищают бумагой на высоту 50-70 см. Перед нанесением мастики основание обеспыливается.

Выравнивающий слой покрытия наносится мастикой подвижностью 120-140 сек, а лицевой слой - 100-120 сек. Мастика наносится удочкой-форсункой (при отсутствии последней можно применять удочку-распылитель от шпатлевочного агрегата С-562) или пистолетом-распылителем, диаметр сопла форсунки 4 мм при подвижности мастики 120-140 сек и 6 мм - при 100-120 сек.

Мастика наносится полосами шириной 1,5 м от стены, противоположной входу в помещение. Последующий слой мастики наносится только после затвердения предыдущего. Толщина наносимого слоя 1-1,5 мм каждый систематически проверяется металлической линейкой.

При перерыве в работе слой мастичного покрытия (лицевой или выравнивающий) сводится "на нет" и затем стыкуется "внахлестку" (15-20 см) с наносимым последующим слоем такого же состава.

После окончания работы и при перерывах тара, инструмент, механизмы, шланги, приспособления, краны, вентили и пробки промываются водой.

Состав работы

1. Укладка бумаги в местах примыкания пола к стенам (при механизированном нанесении мастики). 2. Устройство выравнивающего слоя. 3. Нанесение лицевого слоя мастики.

Нормы времени и расценки на 100 м2 пола

Способ нанесения мастики

Состав звена облицовщиков синтетическими материалами

Н. вр.

Расц.

Удочкой-форсункой

4 разр. – 1
3    "     - 1
2    "     - 1

7,8

5-54

1

Вручную

То же

18

12-78

2

Глава 6. РАЗНЫЕ РАБОТЫ

Техническая часть

1. Нормами и расценками §§Е19-36, Е19-38, Е19-39, Е19-43, Е19-45 предусмотрено устройство полов в помещениях площадью пола св. 20 м2. При устройстве полов в помещениях площадью пола до 20 м2 Н. вр. и Расц. умножать на 1,25 (ТЧ-1).

2. Нормами и расценками §§Е19-36-Е19-39, Е19-43, Е19-45 предусмотрено выполнение работ из материалов, доставленных непосредственно к рабочему месту.

3. Нормами и расценками §Е19-46, Е19-51 предусмотрено выполнение работ по установке плинтусов, галтелей и рамок для вентиляционных решеток из сосны, ели и пихты. При применении твердых пород дерева Н. вр. и Расц. умножать на 1,2 (ТЧ-2), при применении лиственницы и березы - на 1,1 (ТЧ-3).

4. Нормами и расценками §§Е19-36, Е19-37, Е19-43, Е19-45 предусмотрена толщина подстилающих слоев и стяжек в соответствии со СНиП.

5. Нормами и расценками §Е19-42 предусмотрено устройство сборных стяжек из древесностружечных плит размерами в соответствии с ГОСТ 10632-77*.

§Е19-36. Устройство песчаного подстилающего слоя

Состав работы

1. Прием песка из транспортных приборов. 2. Установка маячных колышков или реек. 3. Укладка песка. 4. Разравнивание поверхности слоя, снятие маяков.

Норма времени и расценка на 100 м2 подстилающего слоя

Состав звена

Н. вр.

Расц.

Бетонщик 3 разр.

10,5

7-35

§Е19-37. Устройство шлакового подстилающего слоя

Состав работы

1. Установка маячных колышков или реек. 2. Укладка и разравнивание шлака. 3. Выравнивание слоя шлака рейкой. 4. Уплотнение шлака ручными трамбовками. 5. Снятие маяков.

Норма времени и расценка на 100 м2 подстилающего слоя

Состав рабочих

Н. вр.

Расц.

Бетонщик 3 разр.

4,7

3-29

§Е19-38. Устройство бетонного подстилающего слоя

Состав работы

1. Установка маячных колышков и реек. 2. Укладка бетонной смеси с разравниванием. 3. Уплотнение бетонной смеси поверхностным вибратором, виброрейкой или трамбованием. 4. Выравнивание поверхности бетона рейкой. 5. Снятие маячных колышков и реек с заделкой оставшихся борозд.

Нормы времени и расценки на 100 м2 подстилающего слоя

Способ уплотнения

Состав звена бетонщиков

Толщина слоя, мм, до

 

100

150

200

250

Поверхностным вибратором или виброрейкой

3 разр. – 1
2    "     - 1

7,5

------

5-03

9,6

-------

6-43

11,5

------

7-71

13,5

-------

9-05

1

Вручную

То же

11,5

------

7-71

14,5

-------

9-72

17,5

------

11-73

-

2

 

 

а

б

в

г

§Е19-39. Устройство щебеночного подстилающего слоя

Нормами предусмотрено устройство подстилающего слоя без заливки раствором.

Состав работы

1. Установка маячных реек. 2. Укладка и разравнивание щебня. 3. Трамбование щебня. 4. Проверка толщины утрамбованного слоя.

Нормы времени и расценки на 100 м2 подстилающего слоя

Состав звена бетонщиков

Толщина слоя, мм, до

Н. вр.

Расц.

3 разр. - 1

100

15

10-05

1

2    "     - 1

150

21

14-07

2

§Е19-40. Подготовка поверхности основания под наливные поливинилацетатные полы

Состав работы

1. Грунтование стяжки водным раствором эмульсии ПВА. 2. Заделка неровностей, трещин, выбоин вручную готовой поливинилацетатной шпатлевкой. 3. Шлифование и грунтование заделанных мест при необходимости. 4. Шлифование основания. 5. Очистка поверхности после шлифования.

Нормы времени и расценки на 100 м2 основания пола

Способ выполнения работ

Состав звена облицовщиков синтетическими материалами

При нанесении грунтовки и шпатлевки

 

за 1 раз

за 2 раза

Грунтование пистолетом-распылителем, шпатлевание удочкой-форсункой, шлифование шлифовальной машиной

4 разр. – 2
3    "     - 1
2    "     - 1

11,5

-------

8-40

20,5

-------

14-97

1

Грунтование пистолетом-распылителем, шпатлевание удочкой-форсункой, другие операции - вручную

То же

17

-------

12-41

29

------

21-17

2

Грунтование пистолетом-распылителем, другие операции - вручную

4 разр. – 1
3    "     - 1
2    "     - 1

19,5

------

13-85

33

------

23-43

3

Вручную

4 разр. – 1
3    "     - 1
2    "     - 1

20,5

-------

14-56

34,5

-------

24-50

4

В том числе:

 

 

 

 

Грунтование стяжки водным раствором эмульсии

пистолетом- распылителем

3 разр.

1,5

------

1-05

2,5

-----

1-75

5

 

вручную

То же

2,3

------

1-61

3,9

------

2-73

6

Заделка неровностей, трещин и выбоин поливинилацетатной шпатлевкой вручную

"

0,3

------

0-21

7

Шлифование заделанных мест

шлифовальной машиной

"

0,14

---------

0-09,8

8

 

вручную

"

0,42

-------

0-29,4

9

Грунтование заделанных мест

пистолетом- распылителем

"

0,11

-------

0-07,7

10

 

вручную

"

0,17

--------

0-11,9

11

Шпатлевание поверхности основания

удочкой-форсункой

4 разр.

2,8

------

2-21

5,4

------

4-27

12

 

вручную

3 разр.

5,9

-------

4-13

10

------

7-00

13

Шлифование основания

шлифовальной машиной

4 разр.

3,2

------

2-53

5,2

------

4-11

14

 

вручную

То же

8,4

-----

6-64

13,5

------

10-67

15

 

 

 

а

 

б

§Е19-41. Подготовка бетонного основания

Состав работ

При очистке основания сжатым воздухом с помощью компрессора

1. Подноска резиновых шлангов на расстояние до 30 м и подсоединение к компрессору. 2. Продувание бетонного основания от пыли и строительного мусора сжатым воздухом от компрессора.

При очистке основания с помощью электрощетки и пылесоса

1. Подметание поверхности основания со смачиванием водой, отвозкой мусора из рабочей зоны. 2. Очистка основания электрощеткой Д-378 и придание ему шероховатости. 3. Обеспыливание основания пылесосом ПП-1. 4. Нанесение отметок чистого пола на стены с помощью гибкого уровня и разметочного шнура.

При промывке основания водой

1. Подноска на расстояние до 30 м и присоединение резиновых шлангов к водопроводу. 2. Тщательная промывка бетонного основания водой из шлангов.

Нормы времени и расценки на 100 м2 подготовленной поверхности

Наименование работ

Состав рабочих

Н. вр.

Расц.

Очистка основания сжатым воздухом с помощью компрессора

Бетонщик 2 разр.

6,7

4-29

1

Очистка основания с помощью электрощетки Д-378 и пылесоса ПП-1

Бетонщики
3 разр. – 1
2    "     - 1

5,7

3-82

2

Промывка основания водой из резиновых шлангов

Подсобный рабочий - 1 разр.

9,1

5-37

3

§Е19-42. Устройство стяжек из древесных плит

ПРИ УСТРОЙСТВЕ ИЗ ДРЕВЕСНОВОЛОКНИСТЫХ ПЛИТ

Состав работ

На мастике в один слой

1. Грунтование основания. 2. Разметка и нарезка плит. 3. Нанесение горячей битумной мастики. 4. Укладка древесноволокнистых плит. 5. Очистка швов от мастики.

Насухо в два слоя

1. Разметка и нарезка плит. 2. Укладка древесноволокнистых плит.

Таблица 1

Нормы времени и расценки на 100 м2 стяжки

Способ настилки

Плиты площадью, м2, до

Состав звена паркетчиков

Н. вр.

Расц.

На мастике

5

3 разр.

10,5

7-35

1

Насухо

2

То же

6,2

4-34

2

ПРИ УСТРОЙСТВЕ ИЗ ДРЕВЕСНОСТРУЖЕЧНЫХ ПЛИТ

Состав работы

1. Грунтование основания. 2. Укладка плит насухо с подгонкой по месту. 3. Разметка и обрезка плит дисковой пилой. 4. Острожка кромок плит вручную при необходимости. 5. Нанесение горячей битумной мастики. 6. Укладка плит. 7. Устранение провесов уложенных плит острожкой.

Таблица 2

Нормы времени и расценки на 100 м2 стяжки

Наименование работ

Состав звена паркетчиков

Н. вр.

Расц.

Настилка плит

3 разр.

18,5

12-95

1

Острожка провесов уложенных плит

ручным рубанком

То же

5

3-50

2

 

электрорубанком

4 разр.

3,1

2-45

3

Примечание. При устройстве стяжек в помещениях площадью до 10 м2 Н. вр. и Расц. умножать на 1,2 (ПР-1).

§Е19-43. Устройство цементной стяжки вручную

Состав работы

1. Смачивание основания водой. 2. Прием раствора на перекрытие из бункера (при устройстве стяжки по шлаковому основанию). 3. Установка маячных реек по уровню. 4. Укладка, разравнивание и уплотнение раствора виброрейкой. 5. Снятие маячных реек и заделка борозд. 6. Заглаживание поверхности вручную.

Нормы времени и расценки на 100 м2 стяжки

Наименование работ

Состав звена бетонщиков

Н. вр.

Расц.

Устройство стяжки по основанию

бетонному

3 разр. – 2
2    "     - 1

23

15-64

1

 

шлаковому

 

18,5

12-58

2

Затирка поверхности стяжки затирочной машиной производительностью до 50 м2

4 разр.

4,8

3-79

3

§Е19-44. Устройство цементной стяжки с нанесением раствора растворонасосом

Указания по применению норм

Нормами предусмотрено устройство цементной стяжки на междуэтажных перекрытиях под паркетные полы из цементного раствора толщиной 35-40 мм по шлаковой или песчаной прослойке при механизированной подаче и нанесении раствора растворонасосом производительностью 6 м3/ч.

Состав работы

1. Подноска шлангов для подачи раствора растворонасосом. 2. Выравнивание шлаковой или песчаной прослойки. 3. Установка маячных реек по уровню. 4. Прием раствора из автосамосвала в бункер. 5. Нанесение раствора с помощью растворонасоса и его разравнивание. 6. Заглаживание поверхности цементной стяжки. 7. Снятие маячных реек и заделка борозд. 8. Очистка от раствора и промывка шлангов водой, их переноска. 9. Окончательное выравнивание поверхности стяжки со срезкой неровностей.

Нормы времени и расценки на 100 м2 стяжки

Наименование работ

Состав звена

Н. вр.

Расц.

Устройство цементной стяжки при площади пола, м2

до 10

Бетонщики
3 разр. – 3
2    "     - 1

12,5

8-56

1

 

до 20

То же

9,6

6-58

2

 

св. 20

"

8,5

5-82

3

Примечания: 1. На подачу раствора растворонасосом с очисткой шлангов от раствора, промывкой водой и устранением пробок для машиниста растворонасоса 3 разр. принимать на 1 м3 раствора Н. вр. 0,29 чел.-ч, Расц. 0-20,3.

2. Затирку поверхности стяжки нормировать по §Е19-43.

§Е19-45. Устройство стяжек из легких бетонов

Состав работы

1. Смачивание основания водой. 2. Установка маячных реек. 3. Прием и укладка смеси. 4. Уплотнение смеси с разравниванием. 5. Выравнивание поверхности уложенной смеси. 6. Снятие маячных реек и заделка борозд.

Нормы времени и расценки на 100 м2 стяжки

Состав звена бетонщиков

Стяжка

Н. вр.

Расц.

3 разр. - 1

Из керамзитобетона

14

9-38

1

2    "     - 1

Из шунгизитобетона

18,5

12-40

2

§Е19-46. Установка деревянных плинтусов и галтелей

Состав работ

При установке простых плинтусов или галтелей

1. Пригонка готовых плинтусов или галтелей. 2. Установка плинтусов или галтелей с креплением плинтусов к стенам, галтелей - к полу.

При установке щелевых плинтусов добавлять:

3. Пригонка готовых прокладок и накладных реек. 4. Установка их с креплением.

При креплении плинтусов к стенам добавлять:

5. Пробивка или сверление гнезд электродрелью в стенах. 6. Изготовление пробок. 7. Постановка пробок.

Нормы времени и расценки на 100 м плинтуса или галтелей

Наименование работ

Состав звена плотников

Н. вр.

Расц.

Установка плинтусов

простых

3 разр.

8,9

6-23

1

 

щелевых

То же

15

10-50

2

Установка галтелей

3 разр.

7,3

5-11

3

Сверление или пробивка гнезд с изготовлением и постановкой пробок

3 разр. – 1
2    "     - 1

4,6

3-08

4

Примечание. При выполнении работ в помещениях площадью св. 20 м2 Н. вр. и Расц. умножать на 0,9 (ПР-1).

§Е19-47. Установка поливинилхлоридных плинтусов

Состав работы

1. Подготовка поверхности мест установки плинтусов. 2. Подбор, разметка и нарезка плинтусов по размеру. 3. Заготовка угловых плинтусов. 4. Подогрев готовой мастики при необходимости. 5. Нанесение мастики на стену и на тыльную сторону плинтусов. 6. Установка плинтусов на мастике.

Норма времени и расценка на 100 м плинтусов

Состав звена облицовщиков синтетическими материалами

Н. вр.

Расц.

4 разр. – 1
2    "     - 1

8,7

6-22

§Е19-48. Устройство цементных плинтусов

Состав работы

1. Смачивание основания. 2. Приготовление цементно-песчаного раствора для плинтусов (или перелопачивание готового раствора с добавлением цемента и воды). 3. Вытягивание плинтусов при помощи шаблона с подчисткой кромок.

Бетонщик 4 разр.

Нормы времени и расценки на 100 м плинтусов

Площадь пола, м2

Н. вр.

Расц.

До 5

13

10-27

1

До 10

10

7-90

2

До 40

9,1

7-19

3

Св. 40

7,2

5-69

4

§Е19-49. Устройство плинтусов из плиток

ПРИ УСТРОЙСТВЕ ИЗ КЕРАМИЧЕСКИХ ПЛИТОК

Состав работы

1. Сортировка плиток. 2. Перерубка плиток и подточка кромок. 3. Установка плиток на растворе. 4. Заполнение швов раствором. 5. Промывка и протирка поверхности уложенных плиток.

Облицовщик-плиточник - 4 разр.

Таблица 1

Нормы времени и расценки на 100 м плинтусов

Площадь пола, м2

Н. вр.

Расц.

До 5

25

19-75

1

Св. 5

22,5

17-78

2

Примечание. Н. вр. и Расц. учтены перерубка, оправка и подточка кромок до 10 % всего количества установленных плиток. На перерубку, оправку и подточку плиток сверх 10 % Н. вр. и Расц. принимать по §Е19-18.

ПРИ УСТРОЙСТВЕ ИЗ МРАМОРНЫХ ПЛИТОК

Состав работы

1. Перерубка плиток. 2. Примерка плиток по месту установки. 3. Разметка плиток с подправкой скарпелью или рашпилем. 4. Установка креплений с пробивкой отверстий. 5. Приготовление раствора. 6. Установка плиток с подливкой раствора под них.

Камнетес 5 разр.

Таблица 2

Нормы времени и расценки на 1 м плинтуса

Длина плиток, мм

до 600

до 800

до 900

св. 900

1,4

--------

1-27

1

------

0-91

0,83

--------

0-75,5

0,69

--------

0-62,8

а

б

в

г

§Е19-50. Устройство плинтусов из терраццевого раствора

Облицовщик-мозаичник 4 разр.

Норма времени и расценка на 1 м плинтуса

Состав работы

Н. вр.

Расц.

1. Приготовление раствора. 2. Смачивание основания. 3. Устройство плинтусов. 4. Подчистка кромок.

0,43

0-34

Примечание. При устройстве плинтусов в помещениях площадью до 10 м2 Н. вр. и Расц. умножать на 1,2 (ПР-1).

§Е19-51. Установка вентиляционных решеток

Состав работы

1. Сверление отверстий. 2. Изготовление и установка рамок из готовых реек. 3. Зачистка четвертей. 4. Установка решеток в рамки и закрепление шурупами.

Норма времени и расценка на 1 решетку

Состав рабочих

Н. вр.

Расц.

Плотник 3 разр.

0,2

0-14

Примечание. При установке вентиляционных решеток в паркетных полах Н. вр. и Расц. умножать на 1,2 (ПР-1).

§Е19-52. Приготовление мастики для наливных бесшовных полов

Состав работы

1. Просеивание цемента через сито вручную. 2. Дозировка составляющих с помощью весов и мерок. 3. Приготовление мастик в растворосмесителе с процеживанием через вибросито. 4. Очистка растворосмесителя от остатков мастики.

Норма времени и расценка на 100 кг мастики

Состав рабочих

Н. вр.

Расц.

Облицовщик синтетическими материалами 3 разр.

2,1

1-47

Примечание. Н. вр. и Расц. предусмотрено приготовление мастики в растворосмесителях производительностью 2 м3/ч.

§Е19-53. Приготовление терраццевого раствора в бетоносмесителе

Состав работы

1. Заполнение бетоносмесителя водой. 2. Загрузка бетоносмесителя мраморной крошкой и другими составляющими вручную с дозировкой их. 3. Смешивание компонентов. 4. Выгрузка терраццевого раствора.

Норма времени и расценка на 1 м3 раствора

Состав звена

Н. вр.

Расц.

Машинист бетоносмесителя передвижного 3 разр. –1
Бетонщик 2 разр. - 1

2,6

1-74

Примечание. Н.вр. и Расц. предусмотрен бетоносмеситель вместимостью 100 л.

 

 




ГОСТЫ, СТРОИТЕЛЬНЫЕ и ТЕХНИЧЕСКИЕ НОРМАТИВЫ.
Некоммерческая онлайн система, содержащая все Российские Госты, национальные Стандарты и нормативы.
В Системе содержится более 150000 файлов нормативно-технической документации, действующей на территории РФ.
Система предназначена для широкого круга инженерно-технических специалистов.

Рейтинг@Mail.ru Яндекс цитирования

Copyright © www.gostrf.com, 2008 - 2026