Крупнейшая бесплатная информационно-справочная система онлайн доступа к полному собранию технических нормативно-правовых актов РФ. Огромная база технических нормативов (более 150 тысяч документов) и полное собрание национальных стандартов, аутентичное официальной базе Госстандарта. GOSTRF.com - это более 1 Терабайта бесплатной технической информации для всех пользователей интернета. Все электронные копии представленных здесь документов могут распространяться без каких-либо ограничений. Поощряется распространение информации с этого сайта на любых других ресурсах. Каждый человек имеет право на неограниченный доступ к этим документам! Каждый человек имеет право на знание требований, изложенных в данных нормативно-правовых актах!

  


 

МИНСТРОЙ РОССИИ

МИНСОЦЗАЩИТЫ РОССИИ

АО ЦНИИЭП им. Б. С. Мезенцева

РЕКОМЕНДАЦИИ

ПО ПРОЕКТИРОВАНИЮ ОКРУЖАЮЩЕЙ СРЕДЫ, ЗДАНИЙ И СООРУЖЕНИЙ С УЧЕТОМ ПОТРЕБНОСТЕЙ ИНВАЛИДОВ И ДРУГИХ МАЛОМОБИЛЬНЫХ ГРУПП НАСЕЛЕНИЯ

Выпуск 1

Общие положения

МОСКВА 1996

Рекомендации по проектированию окружающей среды, зданий и сооружений с учетом потребностей инвалидов и других маломобильных групп населения: Вып. 1. Общие положения/Минстрой России, Минсоцзащиты России, АО ЦНИИЭП им. Б. С. Мезенцева.

СОДЕРЖАТ рекомендации по проектированию элементов окружающей среды, зданий и сооружений с учетом потребностей инвалидов, - функциональные зоны, средства информации и ориентации, входы в здания и помещения, пандусы, лестницы, а также параметры различных зон. и пространств.

ПРЕДНАЗНАЧЕНЫ для инженерно-технических работников проектных и строительных организаций, органов социальной защиты.

РАЗРАБОТАНЫ АО ЦНИИЭП им. Б. С. Мезенцева (кандидаты архитектуры Н. Б. Мезенцева, Е. М. Лось, арх. Н. А. Клементьев) при участии МГСУ (д-р архитектуры, проф. В. К. Степанов).

ПОДГОТОВЛЕНЫ К ИЗДАНИЮ редакционной коллегией Госстроя России (В. А. Цветков, В. Н. Устюхин, Н. Н. Якимова), Минсоцзащиты России (А. И Кузнецова), Координационным комитетом (Ю. В. Колосов).

ПРЕДИСЛОВИЕ

· Рекомендации предназначены для проектирования окружающей среды, зданий и сооружений, учитывающих специфические особенности людей, относящихся к маломобильной группе населения: инвалидов и престарелых.

· Положения настоящего документа имеют рекомендательный характер, но становятся обязательными при включении требований по обеспечению доступности инвалидам зданий, помещений и сооружений в архитектурно-планировочное задание и задание на проектирование.

· Рекомендации применимы к объектам массового строительства и, в первую очередь, к объектам жилищного, гражданского и производственного назначения, приближенным к жилью, а также могут использоваться в качестве основы для составления заданий на проектирование крупных уникальных объектов.

· Данный выпуск является первым в серии Рекомендаций по проектированию окружающей среды, зданий и сооружений с учетом потребностей инвалидов. Его требования распространяются на все последующие Рекомендации, посвященные градостроительным проблемам, отдельным видам жилых, общественных и производственных зданий и сооружений.

Во втором выпуске «Градостроительные требования» приводятся методы расчета потребностей в специализированных зданиях для инвалидов (дома-интернаты, дома престарелых и т.д.), а также учета потребностей инвалидов при проектировании зданий общего пользования, требования к проектированию элементов окружающей среды и путей сообщения.

Третий выпуск посвящен проектированию различных типов жилых зданий с учетом потребностей инвалидов. Далее следует целая серия выпусков, относящихся к общественным зданиям и сооружениям. В них, в первую очередь, рассматриваются объекты массового строительства, потенциально наиболее посещаемые инвалидами, затем формулируются требования к крупным общественным зданиям, являющимся, как правило, объектами индивидуального проектирования. Кроме того, в серию включены выпуски, относящиеся к промышленным предприятиям, к реконструкции существующих зданий и сооружений с учетом потребностей инвалидов, а также к мероприятиям по обеспечению эвакуации инвалидов из зданий и сооружений в экстремальных условиях.

· Перечень Рекомендаций, приведенный в настоящем выпуске, является открытым для дальнейших разработок. Намечается серия научно-исследовательских работ по проблемам психологически благоприятной среды для инвалидов, новым видам строительных изделий, материалов и оборудования.

· Рекомендации разработаны на основе передового отечественного и зарубежного опыта с использованием результатов многолетних научных исследований АО ЦНИИЭП им. Б.С. Мезенцева, Института общественных зданий Минстроя России и Государственного строительного университета. Ряд положений Рекомендаций проверен экспериментально.

· В Рекомендациях изложены требования, которые относятся к архитектурно-строительному разделу проекта новых и реконструкции существующих жилых и общественных зданий и сооружений. Рекомендации данной серии, как правило, не распространяются на требования к расчету и устройству специального санитарно-технического оборудования, электротехнических устройств, транспортных средств передвижения, а также на требования к рабочим местам.

· В отдельных положениях Рекомендаций учтены лишь габариты для размещения специального оборудования, расположения электротехнических устройств.

· Рекомендации рассчитаны на проектирование зданий и сооружений с учетом потребностей следующих категорий инвалидов:

· с поражением опорно-двигательного аппарата;

· с дефектами зрения;

· с дефектами слуха.

· Основная часть положений Рекомендаций относится к инвалидам с поражением опорно-двигательного аппарата.

· Специфические особенности инвалидов этой категории в наибольшей степени влияют на особенности проектирования зданий с учетом маломобильных групп населения. Среди них следует выделить две подгруппы: инвалиды, использующие при передвижении различные приспособления для ходьбы и кресла-коляски. Инвалиды с поражением опорно-двигательного аппарата по своим антропометрическим и эргонометрическим признакам существенно отличаются от здоровых людей. Они испытывают затруднения в передвижении, движении по сложному маршруту и в затесненном пространстве, в преодолении различных препятствий в виде лестниц, порогов и т. п., в пользовании балконами, лоджиями, обычной мебелью и оборудованием.

· Не менее важен при проектировании зданий учет требований инвалидов с дефектом зрения. При этом можно выделить две основные группы: полностью слепые люди и люди с остаточным зрением. Слепые, у которых не нарушено антропометрическое строение организма, пользуются тростью, увеличивающей габариты обычных людей. Кроме того, эти инвалиды испытывают затруднения в передвижении и ориентации. Для них особое значение приобретает при проектировании система дополнительных ориентиров: контрастных сочетаний цвета и фактуры материалов, звуковых сигналов, специальных направляющих и предупреждающих устройств, рельефных и силуэтных таблиц и указателей и т. п.

· Инвалиды с дефектами слуха по своим антропометрическим характеристикам близки к здоровым людям и не требуют внесения корректив в основные параметры элементов среды, зданий и сооружений, приведенных в Рекомендациях. Однако эти люди затрудняются в ориентации и поэтому в зданиях и сооружениях необходимо учитывать целый ряд требований к устройству дополнительной визуальной и световой информации, а также электроакустических приспособлений.

· Выполнение требований Рекомендаций дает возможность использовать здания и сооружения лицам с легкими формами дефектов психики, инвалидам с нарушением функций внутренних органов, а также престарелым и ослабленным людям.

· Учет потребностей инвалидов с дефектами психики, нуждающихся в пребывании в специализированных учреждениях, в Рекомендациях не рассматривается.

· При подготовке Рекомендаций использованы «Рекомендации по проектированию различных типов жилища для престарелых и инвалидов» (изд. 1991 г.) и «Рекомендации по проектированию элементов путей сообщения, удобных для передвижения инвалидов» (изд. 1992 г.).

· В конце выпуска приведен словарь специальных терминов и определений.

ОБЩИЙ ПЕРЕЧЕНЬ РЕКОМЕНДАЦИЙ ПО ПРОЕКТИРОВАНИЮ ОКРУЖАЮЩЕЙ СРЕДЫ, ЗДАНИЙ И СООРУЖЕНИЙ С УЧЕТОМ ПОТРЕБНОСТЕЙ ИНВАЛИДОВ И ДРУГИХ МАЛОМОБИЛЬНЫХ ГРУПП НАСЕЛЕНИЯ

Номер выпуска

Наименование выпуска

1

Общие положения

2

Градостроительные требования

3

Жилые здания и комплексы

4

Общественные здания и сооружения. Учреждения бытового обслуживания населения и общественного питания

5

Общественные здания и сооружения. Учреждения торговли

6

Общественные здания и сооружения. Специализированные детские дошкольные учреждения

7

Общественные здания и сооружения. Учреждения учебно-воспитательные: общеобразовательные школы и профессиональные учебные заведения

8

Общественные здания и сооружения. Высшие учебные заведения

9

Общественные здания и сооружения. Стационарные коррекционные учреждения для детей-инвалидов: дома-интернаты, школы-интернаты

10

Общественные здания и сооружения. Учреждения лечебно-профилактические: поликлиники, аптеки

11

Общественные здания и сооружения. Учреждения санаторно-курортного лечения и отдыха

12

Общественные здания и сооружения. Спортивные сооружения

13

Общественные здания и сооружения. Физкультурно-оздоровительные сооружения

14

Общественные здания и сооружения. Кинотеатры, клубы, библиотеки, музеи

15

Общественные здания и сооружения. Театры, театры-студии, цирки, спортивно-зрелищные залы, стадионы

16

Общественные здания и сооружения. Учреждения управления и информации, проектные и научно-исследовательские организации

17

Общественные здания и сооружения. Учреждения кредитно-финансовые

18

Общественные здания и сооружения. Культовые здания и сооружения различных конфессий

19

Общественные здания и сооружения. Здания и сооружения транспортного назначения

20

Промышленные предприятия, здания и сооружения для труда инвалидов различных категорий

21

Реконструкция и модернизация зданий и сооружений

22

Мероприятия по обеспечению эвакуации инвалидов в экстремальных условиях

ПАРАМЕТРЫ ЗОН И ПРОСТРАНСТВ

ОСНОВНЫЕ ФУНКЦИОНАЛЬНЫЕ ЗОНЫ ДЛЯ ИНВАЛИДОВ НА КРЕСЛАХ-КОЛЯСКАХ

· Одним из определяющих элементов при проектировании зданий и сооружений с учетом особенностей инвалидов являются габариты человека, передвигающегося при-помощи кресла-коляски.

А - зона для размещения кресла-коляски с инвалидом, Б - габариты кресла-коляски, В - эргонометрические параметры инвалида в кресле-коляске.

Меньшими числами обозначены размеры моделей, предназначенных для использования внутри помещений, большими - для использования как на улице, так и внутри помещений.

· Для определения габаритов основных функциональных зон, коридоров, площадок лестничных маршей, ширины тамбура и т. д. необходима учитывать размеры зон разворота кресла-коляски.

¾ исходное положение кресла-коляски; - - - положение кресла-коляски при разворотах; ® направление поворота; ¾ · ¾ границы зоны для разворота; А - зона разворота кресла-коляски на 90°; Б - зона разворота кресла-коляски на 180°; В - зона разворота кресла-коляски на 360°

· При проектировании и размещении мебели и оборудования с учетом потребностей инвалидов необходимо руководствоваться эргонометрическими параметрами, доступными для людей, пользующихся креслами-колясками.

А - вид спереди; Б - вид сбоку; В - вид сверху; 1 - при неподвижном положении; 2 - при наклоне: ¾ для женщин; - - - для мужчин

ГАБАРИТЫ И ЭРГОНОМЕТРИЧЕСКИЕ ПАРАМЕТРЫ ДЛЯ ИНВАЛИДОВ, ИСПОЛЬЗУЮЩИХ ДОПОЛНИТЕЛЬНЫЕ ОПОРЫ

· Инвалид, использующий дополнительные опоры, в положении «стоя» и «сидя», занимает площадь, увеличенную по сравнению с габаритами здорового человека.

А - вид сбоку; Б - вид сверху, 1 - при размещении инвалида в ряду зрительских мест; 2 - при размещении инвалида в проходе у стола и инвалида, сидящего за столом; 3 - при проходе инвалида мимо сидящего человека

· Для определения площади функциональных зон в различных помещениях рекомендуется учитывать габариты человека, использующего дополнительные опоры.

А - вид сбоку; Б - вид сверху; 1 - при ванной; 2 - у кровати, 3 - у умывальника; 4 - у шкафа

ИСХОДНЫЕ ГАБАРИТЫ ЛЮДЕЙ С ДЕФЕКТАМИ ЗРЕНИЯ

· Инвалиды с дефектами зрения могут передвигаться с помощью собаки-поводыря или трости. В первом случае, человек занимает зону габаритом 0,8×1,3 м. Во втором случае, трость выходит за габариты тела идущего человека на 0,2 м по бокам и 0,8 м впереди.

ГАБАРИТЫ И ЭРГОНОМЕТРИЧЕСКИЕ ПАРАМЕТРЫ ДЛЯ ЛЮДЕЙ С ДЕФЕКТАМИ ЗРЕНИЯ

· Слепые и слабовидящие ориентируются в зданиях на ощупь при передвижении вдоль стен (А), мебели и оборудования (В), а также при помощи поручней и ограждающих бортиков (В). При проектировании следует руководствоваться исходными габаритами людей с дефектами зрения, приведенными на рисунке.

ЭРГОНОМЕТРИЧЕСКИЕ ПАРАМЕТРЫ ДЛЯ ПРЕСТАРЕЛЫХ

· При проектировании зданий для маломобильного населения следует учитывать антропометрию и эргонометрические параметры людей преклонного возраста.

А - вид спереди; Б - вид сбоку, В - вид сверху. 1 - общие габариты человека в положении «стоя»; 2 - зона досягаемости; 3 - зона оптимальной видимости, 4 - общие габариты в положении «сидя»; оптимальное рабочее пространство, зона удобного размещения оборудования. В скобках даны размеры для мужчин

ЭРГОНОМЕТРИЧЕСКИЕ ПАРАМЕТРЫ ПРИ ДВИЖЕНИИ ИНВАЛИДОВ С НАРУШЕНИЕМ ОПОРНО-ДВИГАТЕЛЬНОГО АППАРАТА

· При проектировании ширина зон прохода при движении кресел-колясок в одном направлении должна быть не менее 1,2 м, при встречном движении - не менее 1,8 м. В случае движения в одном направлении инвалида на коляске и человека с грузом или детской коляской ширину прохода следует принимать 1,5 м. При местном сужении прохода возможно уменьшение его ширины до 0,85 м.

А - при одностороннем движении; Б - при двустороннем (встречном) движении; 3 - при двустороннем движении кресел-колясок; Г - ширина местного сужение прохода

ПАРАМЕТРЫ ЗОН ДЛЯ ДВИЖЕНИЯ ИНВАЛИДОВ С НАРУШЕНИЕМ ОПОРНО-ДВИГАТЕЛЬНОГО АППАРАТА

· Ширина зон прохода человека, использующего при передвижении различные вспомогательные средства (палки, костыли, «ходилки» и т. п.), колеблется от 0,7 до 0,95 м в зависимости от вида опорных приспособлений.

А - без дополнительных опор; Б - с одной палкой; В - с двумя палками; Г - с двумя «локтевыми» костылями; Д - с двумя костылями; Е - с опорными приспособлениями

ВХОДЫ В ЗДАНИЯ И ПОМЕЩЕНИЯ

· Все здания и сооружения, которыми могут пользоваться инвалиды, должны иметь не менее одного доступного для них входа, который при необходимости, должен быть оборудован пандусом или другим устройством, обеспечивающим возможность подъема инвалида на уровень входа в здание (лифтового холла или первого этажа).

А - вид сверху; 1 - предупредительная тактильная полоса; Б - вид сбоку

ГАБАРИТЫ ЗОН ДЛЯ ПОДЪЕЗДА КРЕСЛА-КОЛЯСКИ К ВХОДАМ В ЗДАНИЯ И ПОМЕЩЕНИЯ

· В зависимости от конкретной ситуации при решении входа в здание и размещении входной двери при проектировании рекомендуется ориентироваться на различные варианты устройства площадки для маневрирования коляски, представленные на рисунке. Габариты данных площадок зависят не только от вида входных дверей и направления их открывания, но и от направления основных подъездов к дверям.

А - при открывании двери внутрь; Б - при открывании двери наружу на себя; В - при открывании двери наружу от себя

ОБОРУДОВАНИЕ ПЛОЩАДОК ПЕРЕД ВХОДАМИ И УСТРОЙСТВО ТАМБУРОВ

· Площадки перед входами в здание должны иметь твердое покрытие и оборудоваться подогревом, если требуется по климатическим условиям. Площадки перед входами в здания и сооружения, а также пандусы, лестницы и подъемные устройства для инвалидов должны быть защищены от атмосферных осадков.

· Минимальная площадь тамбуров при входах в здания и сооружения должна устанавливаться в соответствии с возможностью беспрепятственного проезда и поворота инвалида на кресле-коляске. Габариты тамбура зависят от расположения дверей и направления их открывания.

А - при открывании дверей во внутрь тамбура; Б - при открывании одной из дверей наружу; В - при открывании дверей наружу и повороте кресла-коляски на 90°; Г - при открывании двустворчатых дверей наружу

ВИДЫ ВХОДНЫХ ДВЕРЕЙ

· Входные двери в здания и помещения, которыми могут пользоваться инвалиды, должны иметь ширину в свету не менее 0,85 м. Применение дверей на качающихся петлях и дверей - «вертушек» не допускается. Рекомендуется оборудовать двери специальными приспособлениями для фиксации полотна в положении «закрыто» и «открыто».

· Двери рекомендуются створчатые или раздвижные с автоматическим открыванием. При проектировании стеклянных автоматически открывающихся дверей необходимо предусматривать их яркую маркировку на высоте 1,5 м от уровня пола.

· Двери в здания и помещения на путях движения инвалидов не должны иметь порогов, а при необходимости их устройства, высота порога не должна превышать 0,025 м.

А - ширина дверного просвета при различных видах дверей: 1 - одностворчатая дверь, 2 - полуторастворчатая дверь; 3 - двустворчатая дверь; 4 - раздвижная дверь; 5 - складная дверь, Б - решения дверей без порогов (фрагменты)

ОБОРУДОВАНИЕ ВХОДНЫХ ДВЕРЕЙ ДЛЯ ИНВАЛИДОВ С ПОРАЖЕНИЕМ ОПОРНО-ДВИГАТЕЛЬНОГО АППАРАТА

· В полотнах входных дверей в здания следует предусматривать смотровые панели из противоударного стекла, нижняя часть которых должна располагаться не выше 0,9 м от уровня пола. В качестве остекления дверей следует применять закаленное или армированное стекло. Нижняя часть дверных полотен на высоту 0,3 м должна быть защищена противоударной полосой.

· Ручки дверей должны иметь поверхность, удобную для схватывания рукой, и позволять легко открывать дверь движением кисти руки или предплечья. Максимальное усилие для открывания и закрывания двери должно быть не более 2,5 кг.

А - однопольная дверь; Б - двупольная остекленная дверь с маркировочными полосами; В - рекомендуемое расположение дверных ручек; Г - рекомендуемые зоны расположения кодового замка (1), номерного знака (2), кнопки звонка (3)

УСТРОЙСТВО ВХОДНЫХ ДВЕРЕЙ С УЧЕТОМ ПОТРЕБНОСТЕЙ ИНВАЛИДОВ С ДЕФЕКТАМИ ЗРЕНИЯ

· Для инвалидов с дефектами зрения двери должны быть оборудованы таким образом, чтобы облегчить ориентацию и обеспечить безопасность пользования ими. Следует предусматривать систему визуальной, тактильной и звуковой информации, обозначающей расположение, направление открывания двери, назначение помещения, расположенного за дверью.

· При использовании дверей с застекленными полотнами необходимо на стене на высоте 1,6 м от уровня пола предусмотреть горизонтальную непрозрачную предупредительную полосу шириной 0,15 м.

· Входные и выходные полотна дверей рекомендуется выделять разными цветами. Справа от входной двери на высоте 1 - 1,1 м следует укрепить пластинку с рельефным изображением номера корпуса или блока помещений (цифры арабские).

А - изменение фактуры и цвета полосы ориентации перед дверным проемом; Б - изменение фактуры и цвета поручня перед дверным проемом; В - установка «звуковых маяков»; Г - указание направления открывания двери; Д - выделение контрастной цветовой и фактурной полосой дверного проема; Е - закрытие щелей эластичным материалом

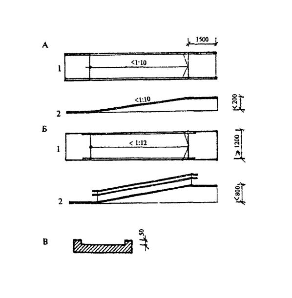
ПАНДУСЫ

ОБЩИЕ ПАРАМЕТРЫ

· Высота подъема каждого марша пандуса не должна превышать 0,8 м. Уклон пандуса должен быть не более 1:12, а при подъеме на высоту до 0,2 м - не более 1:10, поперечный уклон не должен превышать 1:50.

· По внешним (не примыкающим к стенам) краям пандуса и площадок следует устраивать бортики высотой не менее 0,05 м.

А - на высоту до 0,2 м; Б - на высоту до 0,8 м; В - поперечный профиль пандуса; 1 - план, 2 – разрез

· В начале и в конце каждого подъема пандуса следует устраивать горизонтальные площадки шириной не менее ширины пандуса и длиной не менее 1,5 м. При изменении направления пандуса ширина горизонтальной площадки должна обеспечивать возможность поворота кресла-коляски. Ширина пандуса должна соответствовать основным параметрам проходов.

Г - при подъеме на высоту более 0,8 м; Д - при подъеме на высоту до 1,5 м

УСТРОЙСТВО ПОРУЧНЕЙ И ОГРАЖДЕНИЙ

· По обеим сторонам пандуса рекомендуется предусматривать ограждения высотой не менее 0,9 м с поручнями. Поручни должны быть двойными на высоте 0,7 и 0,9 м, а для детей дошкольного возраста на высоте 0,5 м иметь продолжение длиной не менее 0,3 м над горизонтальными площадками. Оптимальные профили поручней: круглое сечение радиусом 0,03 - 0,05 м или прямоугольное сечение толщиной не более 0,04 м. Расстояние между поручнем и стеной следует принимать не менее 0,045 м.

А - рекомендуемые профили поручней; Б - вариант завершения поручня; В - ограждение, устанавливаемое, когда не предусмотрен бортик по краю пандуса

ЛЕСТНИЦЫ

ОСОБЕННОСТИ УСТРОЙСТВА ЛЕСТНИЦ С УЧЕТОМ ПОТРЕБНОСТЕЙ ИНВАЛИДОВ С ПОРАЖЕНИЕМ ОПОРНО-ДВИГАТЕЛЬНОГО АППАРАТА

· Ступени лестниц на путях движения инвалидов рекомендуется делать глухими, ровными и с нескользкой поверхностью. Ребро ступени должно иметь закругление радиусом не более 0,05 м. По боковым краям лестничного марша, не примыкающим к стенам, ступени должны иметь бортики высотой не менее 0,02 м.

· Ширина проступей должна быть для наружных лестниц не менее 0,4, для внутренних лестниц - не менее 0,3 м; высота подъемов ступеней наружных лестниц - не более 0,12, внутренних - не более 0,15 м.

· Лестничные марши оборудуются поручнями с двух сторон. Поручни располагаются от поверхности проступи на высоте 0,9 м, а для детей - на высоте 0,7 м. Поручни следует продолжить над площадками на длину не менее 0,3 м. Конструкция поручней аналогична конструкции поручней для пандусов.

А - рекомендуемое решение ступеней лестниц; Б - решение поручня лестничного марша; В - пример устройства ограждающего бортика по боковым краям лестничного марша

ОСОБЕННОСТИ УСТРОЙСТВА ЛЕСТНИЦ С УЧЕТОМ ПОТРЕБНОСТЕЙ ИНВАЛИДОВ С ДЕФЕКТАМИ ЗРЕНИЯ

· Для слепых и слабовидящих лестничные марши вверху и внизу, а также участки поручней, соответствующие первой и последней ступеням марша, должны обозначаться участками поверхности с выраженным рифлением (тактильная полоса) и контрастной окраской. Желательна также контрастная окраска ступеней (светлые проступи и темные подступенки). Возможно использование подсветки ступеней. Лестницы должны иметь не менее трех ступеней.

· Количество ступеней в лестничных маршах на пути следования инвалидов по зрению должно быть одинаково. В местах поворота лестничных поручней на каждом этаже рекомендуется устанавливать пластины с указанием номера этажа, выполненные рельефными арабскими цифрами или знаками по Брайлю.

· Под маршем лестницы в зоне, имеющей высоту менее 2,10 м, следует устанавливать предупредительный барьер.

А - устройство полос ориентации: 1 - контрастная окраска; 2 - тактильная предупредительная полоса; Б - устройство предупредительного барьера под лестничным маршем: 1 - зона, нуждающаяся в предупредительном ограждении

КОРИДОРЫ И ПРОХОДЫ

ПАРАМЕТРЫ КОРИДОРОВ

· Ширина коридоров и проходов должна быть достаточной для свободного движения инвалидов, пользующихся креслами-колясками (1,8 м при встречном движении и 1,2 м при движении в одном направлении). Ширина внутриквартирных коридоров в жилых домах принимается не менее 0,9 м. Ни одно препятствие в коридорах не должно перекрывать минимально необходимую ширину прохода.

· При повороте коридора на 90° должна соблюдаться минимально необходимая зона для поворота кресла-коляски, приведенная на рисунке. В тупиковых коридорах необходимо обеспечить возможность разворота кресла-коляски на 180°.

А- внутриквартирный коридор; Б - коридор при одностороннем движении кресел-колясок; В - коридор при двустороннем движении кресел-колясок; Г - коридоры с поворотом и тупиковый

· При назначении ширины коридоров и проходов необходимо учитывать не только ширину свободной зоны для движения инвалидов, но и направление открывания дверей.

А - коридор с поворотом на 90° и с размещением дверей по пути следования; Б - проход без дверей при движении в двух направлениях; В - коридор с открыванием дверей из помещений с двух сторон; Г - коридор с открыванием дверей из помещений с одной стороны

УСТАНОВКА ДОПОЛНИТЕЛЬНОГО ОБОРУДОВАНИЯ

· Открытые участки стен коридоров должны оборудоваться сплошными поручнями на высоте 0,9 м - для взрослых, 0,7 м - для подростков, 0,5 м - для детей младшего возраста. Кроме того, для ориентации инвалидов с дефектами зрения рекомендуется предусматривать цветовые и фактурные полосы.

· Высота прохода до низа выступающего оборудования (конструкций) должна быть не менее 2,1 м. Выступающие за плоскость стен элементы (телефонные кабины, информационные указатели), подвешенные на высоте от 0,7 до 2,1 м, не должны выступать в коридорах и проходах более чем на 0,1 м, а при размещении на отдельно стоящей опоре - более чем на 0,3 м.

А - размещение поручней и информационных полос вдоль стен: 1 - направляющий поручень; 2 - цветовая полоса; Б - размещение элементов, монтируемых на потолке и стене; В - размещение элементов, монтируемых на отдельной опоре

· Если элементы выступают за плоскость стен более чем на 0,1 м, то пространство под ними должно быть выделено бортиком высотой не менее 0,1 м. Если нижний край выступающих предметов находится на высоте 0,7 м и ниже, то размер выступа не лимитируется. В любом случае выступающие предметы и элементы оборудования не должны сокращать минимально необходимую ширину коридора (прохода).

А - размещение элементов, монтируемых на высоте более 0,7 м; 1 - размер выступа не лимитируется; 2 - ширина свободного прохода; 3 - предупредительное ограждение (бортик); Б - размещение элементов, монтируемых на высоте менее 0,7 м; 1 - размер выступа не лимитируется; 2 - зона движения трости

ЛИФТЫ И ПОДЪЕМНИКИ

УСТРОЙСТВО ЛИФТОВ И ПОДЪЕМНИКОВ В СООРУЖЕНИЯХ. ОБЩИЕ ПОЛОЖЕНИЯ

· В местах перепадов уровней (обычно менее одного этажа), там, где невозможно устройство пандусов, следует предусматривать установку специальных подъемников, приспособленных для самостоятельного пользования инвалидами на креслах-колясках. Подъемник в виде платформы, перемещаемой вертикально или вдоль лестничного марша, должен иметь ширину не менее 0,9 м, глубину - не менее 1,2 м.

· Перед дверьми лифтов и въездами на платформу подъемника необходимо предусматривать свободные зоны, достаточные для маневрирования на кресле-коляске.

А - подъемник, перемещаемый вертикально; Б - подъемник, перемещаемый вдоль лестничного марша; 1 - платформа подъемника; 2 - свободная зона; 3 - ширина лестницы, не используемой постоянно; 4 - ширина активно используемой лестницы

УСТРОЙСТВО ЛИФТОВ И ПОДЪЕМНИКОВ В ОБЩЕСТВЕННЫХ ЗДАНИЯХ И СООРУЖЕНИЯХ. ОБЩИЕ ПОЛОЖЕНИЯ

· Во всех зданиях, помещения которых расположены выше первого этажа и предназначены для пользования инвалидами на креслах-колясках, следует предусматривать лифты, кабины которых должны иметь размеры в плане, не менее: ширину - 1,1 м, глубину - 1,5 м, ширину дверного проема - 0,85 м.

· Лифты должны иметь автономное управление из кабин и со всех этажей. Кнопки управления следует делать крупными, с рельефными цифрами и располагать на высоте, доступной для инвалида в кресле-коляске.

· Величина перепадов уровней между полом кабины и площадкой лифтового холла не должна превышать 0,025 м.

· Желательно оборудовать кабину лифта магнитофонным устройством, обеспечивающим звуковое объявление о номере и помещениях, располагаемых на этаже.

1 - больничный лифт; 2 - пассажирский лифт; 3 - свободная зона; 4 - зона оптимальной доступности; 5 -поручни; 6 - откидное сиденье: 7 - зеркало, 8 - вариант решения панели управления

УСТРОЙСТВО ЛИФТОВ И ПОДЪЕМНИКОВ В ЖИЛЫХ ЗДАНИЯХ

· При размещении жилых ячеек и квартир для инвалидов на креслах-колясках выше первого этажа в жилых зданиях следует предусматривать специально оборудованные лифты (дверной проем лифта - не менее 0,85 м). Ширина площадки перед лифтом при автоматически закрывающейся двери должна быть больше с обеих сторон на 25 см дверного проема, при навесной двери - 70 см со стороны дверной ручки, но в целом не менее 2,1 м.

А - лифт с кабиной для кресла-коляски; Б - лифт, рассчитанный на перевозку каталки (носилок) с двусторонним открыванием дверей; В - лифт, грузоподъемностью 630 кг и габаритами 1100×2100 мм

ВАРИАНТЫ ПОДЪЕМНИКОВ, ИСПОЛЬЗУЕМЫХ ДЛЯ ИНВАЛИДОВ В ОБЩЕСТВЕННЫХ ЗДАНИЯХ

· Для преодоления перепадов уровней в зданиях могут применяться подъемники различной конструкции.

· При разнице отметок до 1,8 м обычно используются открытые платформы.

А - откидная платформа: 1 - боковое ограждение (со стороны механизма передвижения); 2 - панель управления; 3 - откидное сиденье; 4 - платформа; 5 - откидная платформа в сложенном положении;

Б - стационарная платформа: 1 - откидное ограждение; 2 - панель управления, 3 - откидное сиденье, 4-тактильная полоса предупреждения

· При подъеме на один и более этажей могут использоваться специальные фуникулеры как с открытыми, так и с закрытыми кабинами.

А - перемещение подъемника параллельно лестнице; Б - перемещение подъемника совместно с лестницей; В - перемещение подъемника с поворотом; 1 - панель управления; 2 - откидное сиденье; 3 - тактильная полоса предупреждения

САНИТАРНО-ГИГИЕНИЧЕСКИЕ ПОМЕЩЕНИЯ

ОСОБЕННОСТИ ПРОЕКТИРОВАНИЯ САНУЗЛОВ ДЛЯ ИНВАЛИДОВ НА КРЕСЛАХ-КОЛЯСКАХ

· В туалетах следует предусматривать не менее одной кабины для инвалидов, использующих при передвижении кресла-коляски, с минимальными размерами в плане 1,65×1,80 м. Для обеспечения возможности пересадки из кресла на унитаз в кабине предусматривается свободная площадь для размещения кресла-коляски рядом с унитазом.

А - минимальная кабина санузла: 1 - вид спереди, 2 - вид сбоку; 3 - вид в плане; Б - вариант решения санузла при размещении кабины в торце общего помещения туалета: 1 - схема планировки; 2 - размещение в общем ряду кабин

ОСОБЕННОСТИ ПРОЕКТИРОВАНИЯ САНУЗЛОВ ДЛЯ ИНВАЛИДОВ, ИСПОЛЬЗУЮЩИХ ОПОРНЫЕ ПРИСПОСОБЛЕНИЯ

· Для инвалидов, использующих при передвижении костыли или другие приспособления, одну из рядовых кабин общественного туалета следует оборудовать поручнями, расположенными по боковым сторонам, а также крючками для одежды, костылей и других принадлежностей.

· Входы в уборную для инвалидов по зрению следует снабжать рельефными и цветовыми опознавательными знаками, однотипными для всего объекта. Не следует размещать смежно мужскую и женскую уборные.

А - кабина санузла (вид сбоку и вид сверху); Б - размещение в общем ряду кабин

ОСОБЕННОСТИ ПРОЕКТИРОВАНИЯ МУЖСКИХ ОБЩЕСТВЕННЫХ ТУАЛЕТОВ

· В мужском общественном туалете не менее одного из писсуаров следует располагать на высоте от пола не более 0,4 м и оборудовать его вертикальными опорными поручнями с двух сторон.

А - вид сбоку; Б - вид спереди и в плане

ОСОБЕННОСТИ ПРОЕКТИРОВАНИЯ УМЫВАЛЬНЫХ ПРИ ТУАЛЕТАХ

· В умывальной при общественном туалете не менее одной из раковин следует устанавливать на высоте не более 0,8 м от уровня пола и на расстоянии от боковой стены не менее 0,2 м, нижний край зеркала, прибора для сушки рук или вешалки для полотенца - на высоте не более 0,9 м от уровня пола.

1 - зона подъезда кресла-коляски; 2 - стандартная высота подвески раковины; 3 - раковина для инвалидов на креслах-колясках и детей; 4 - рекомендуемая конструкция вентиля

ОСОБЕННОСТИ ПРОЕКТИРОВАНИЯ ДУШЕВЫХ

· Душевая кабина, предназначенная для пользования инвалидами, должна иметь размеры в плане не менее 0,8×0,9 м и быть оборудованной опорными поручнями, стационарным или откидным сиденьем. Перед душевой кабиной следует предусматривать пространство, достаточное для подъезда к ней инвалида на кресле-коляске.

1 - зона подъезда на кресле-коляске; 2 - откидное или стационарное сиденье; 3 - душевая сетка с гибким шлангом на передвижном кронштейне; 4 - горизонтальный поручень; 5 - вертикальный поручень 6 - занавес или раздвижная дверь; 7 - зона оптимальной доступности для размещения кранов и вентилей

ОСОБЕННОСТИ ПРОЕКТИРОВАНИЯ ВАННЫХ КОМНАТ

· В ванных комнатах должно быть предусмотрено свободное пространство, достаточное для маневрирования на кресле-коляске. Ванна оборудуется съемным сиденьем и настенными поручнями.

1 - зона маневрирования кресла-коляски; 2 -съемное сиденье; 3 - душевая сетка с гибким шлангом на передвижном кронштейне; 4 - горизонтальный поручень; 5 - вертикальный поручень

ФУНКЦИОНАЛЬНЫЕ ЗОНЫ

РАЗМЕЩЕНИЕ ТЕЛЕФОНА С УЧЕТОМ ЕГО ИСПОЛЬЗОВАНИЯ ИНВАЛИДОМ НА КРЕСЛЕ-КОЛЯСКЕ

· Кабина телефона должна иметь габариты 1,4×1,2 м с зоной для подъезда кресла-коляски.

· Не менее одного из таксофонов, размещаемых в доступных для инвалидов местах общего пользования, следует устанавливать на высоте от 0,85 до 1,1 м от уровня покрытия пола.

А - планировка зоны с подъездом к кабине телефона; Б - вид спереди; В - вариант планировки зоны с открытым телефоном-автоматом; 1 - открытый телефон-автомат; 2 - телефонная будка; 3 - зона для подъезда кресла-коляски; 4 - список телефонов экстренного вызова и другая информация; 5 - полка или место для размещения телефонных справочников; 6 - откидное сиденье

ЗОНА ОТДЫХА ДЛЯ ИНВАЛИДОВ В ОБЩЕСТВЕННЫХ ЗДАНИЯХ

· Для инвалидов на колясках и маломобильных групп населения следует предусмотреть зону отдыха на 2 - 3 места в двух вариантах - или в виде отдельной площадки «кармана» с зоной для проезда и разворота на коляске, или при местах отдыха в креслах.

А- отдельная зона за столом; Б - зона, расположенная рядом с местами для отдыха в креслах

ПАРАМЕТРЫ ФУНКЦИОНАЛЬНЫХ ЗОН, НЕОБХОДИМЫХ ДЛЯ РАЗМЕЩЕНИЯ ИНВАЛИДОВ НА КРЕСЛАХ-КОЛЯСКАХ В СТОЛОВЫХ, БУФЕТАХ

· Около раздаточной ширина прохода должна быть не менее 1,20 м. Зона буфета, где предусмотрены места для инвалидов, должна иметь удобный подход к раздаточной. Расстояние между столиками - не менее 0,9 м, ширина прохода 1,8 м, свободная зона между столиком и стеной - не менее 1,2 м. При расположении мест для инвалидов у стены рекомендуется установка опорного поручня на высоте 0,9 м и крючков для костылей.

А - разрез по стойке кафетерия; Б - зона для инвалидов за столиком; В - варианты расположения столов

· В буфетах, барах часть барной стойки следует располагать на доступной для инвалида высоте. Возможно повышение уровня пола на отдельном участке при стойке, доступном для инвалидов на кресле-коляске.

А - разрез по барной стойке; Б - место для инвалида у барной стойки; В - места для инвалидов за столиками у стены

СРЕДСТВА ИНФОРМАЦИИ И ОРИЕНТАЦИИ ИНВАЛИДОВ

ОСОБЕННОСТИ ПРОЕКТИРОВАНИЯ С УЧЕТОМ ПОТРЕБНОСТЕЙ ИНВАЛИДОВ, ПЕРЕДВИГАЮЩИХСЯ НА КРЕСЛАХ-КОЛЯСКАХ

· Расположение визуальной информации должно быть удобно для использования инвалидами на креслах-колясках. Визуальную информацию следует располагать на контрастном фоне, на высоте не менее 0,9 м и не более 1,7 м от уровня пола или поверхности пешеходного пути. Высота расположения зоны оптимальной видимости учитывается и при назначении высоты установки окон.

А - размещение информационных стендов для инвалидов на креслах-колясках; Б - размещение окон с учетом потребностей инвалидов на креслах-колясках

ОСОБЕННОСТИ ПРОЕКТИРОВАНИЯ С УМЕТОМ ПОТРЕБНОСТЕЙ ИНВАЛИДОВ С ДЕФЕКТАМИ ЗРЕНИЯ

· Объемно-планировочная структура здания должна обеспечивать освещенные, прямолинейные пути загрузки и эвакуации для людей с недостатками зрения. На путях следования инвалидов колонны, столбы и другие точечные в плане препятствия, по возможности, избегают, а при необходимости их устройства предусматривают хорошо различимую маркировку или ограждение опасных мест.

· Перед дверью лифта на всех этажах рекомендуется рельефное покрытие пола шириной 0,9 м. Желательно оборудовать кабину лифта звуковоспроизводящим устройством, обеспечивающем информацию о номере и главных помещениях этажа. Кнопку первого этажа рекомендуется делать отличной по цвету и размеру от остальных кнопок.

· В помещениях зданий, которые используются инвалидами с дефектами зрения, рекомендуется совмещенное освещение (искусственное и естественное). Коэффициент естественного освещения (КЕО) должен быть не ниже 2,5 %.

· Матовая окраска поверхностей помещений и оборудования рекомендуется с соблюдением коэффициентов отражения: потолок - 70 %, стены - 60 % (верхняя зона) и 50 % (нижняя зона), оборудование - 35 %, пол - 25-30 %.

· При устройстве искусственного освещения рекомендуется комбинированная система общего и местного освещения, обеспечивающая освещенность от 500 до 1500 лк в зависимости от характера деятельности. При этом уровень освещенности от системы общего освещения должен составлять 500 лк. В системе комбинированного освещения рекомендуется использовать лампы накаливания как источники наиболее щадящего и расширяющего зону зрительного комфорта светового режима. Недопустимо смешение спектров источников искусственного освещения, т. е. одновременное освещение помещений люминесцентными и лампами накаливания.

· Светильники местного точечного освещения должны иметь: небольшие размеры, возможность изменения высоты и направления светового потока, жесткое крепление к основанию.

· В коридорах и помещениях, используемых инвалидами с дефектами зрения, рекомендуется предусматривать аварийное освещение (с уровнем освещенности не менее 0,5 лк на полу).

· В помещениях гардеробных с самообслуживанием рекомендуется в шкафах предусматривать индивидуальные светильники, автоматически включающиеся при открывании двери. На торцевой стене каждого крайнего шкафа рекомендуется на высоте 1,55 - 1,6 м от уровня пола устанавливать рельефную табличку-указатель с номером ряда и номерами шкафов в ряду.

· В зданиях и помещениях рекомендуется предусматривать щадящий звуковой режим (не более 40 дБ) и шумозащитные меры: использование шумопоглощающей облицовки стен и потолков, звукоизолирующих конструкций. Перфорация на облицовочных плитах должна составлять не менее 20 % поверхности плит, диаметр отверстий 3 - 5 мм. При отсутствии поверхностей для установки звукопоглощающих плит рекомендуется применение штучных звукопоглотителей в виде экранов, подвесных элементов и т. д. Штучные звукопоглотители выполняются из перфорированных листов с внутренним заполнением объемов звукопоглощающими материалами и располагаются вблизи источников шума.

· Предупреждающую информацию о приближении к препятствиям для инвалидов с дефектами зрения рекомендуется обеспечивать изменением цвета и фактуры поверхности пола.

А - движение прямо; Б – «Внимание, поворот!»; В – «Внимание, пересечение потоков!»; Г - «Внимание, лестница!»

ОСОБЕННОСТИ ПРОЕКТИРОВАНИЯ С УЧЕТОМ ПОТРЕБНОСТЕЙ ИНВАЛИДОВ С ДЕФЕКТАМИ СЛУХА

· Проектирование с учетом потребностей глухих и слабослышащих состоит не в создании особых условий и изменении параметров зон и пространств в зданиях и сооружениях, а в учете их потребностей на ранней стадии проектирования в отношении акустики помещений и в получении необходимой информации.

· При расчете времени реверберации необходимо учитывать, что при малом времени реверберации речь может быть неразличима для слабослышащих. Если время реверберации слишком продолжительно (в зальных помещениях), фоновой шум и эхо не только мешают восприятию речи, но и неблагоприятно сказываются на людях с нарушением слуха.

· Для облегчения ориентации инвалидов с дефектами слуха рекомендуется предусматривать звукопоглощающие поверхности, такие как перфорированный или слоистый акустический потолок, ковровые покрытия и т. д.

· Среди общественных телефонов рекомендуется устанавливать ясно обозначенный аппарат с индуктивным устройством для слабослышащих.

· В зонах информационных служб, торговых киосков, стоек кафе и т. д. освещение должно обеспечивать возможность чтения по губам. В этих зонах не рекомендуется устанавливать стеклянные экраны, так как они могут давать отражения и отблески, мешающие зрительному восприятию.

· В зданиях, рассчитанных на постоянное посещение или пребывание в них глухих и слабослышащих людей, рекомендуется предусматривать дополнительные системы звукоусиления.

· Здания и сооружения рекомендуется оснащать последовательной и полной (от входа до отдельных помещений) визуальной информацией, чтобы инвалиды с дефектами слуха и речи могли ориентироваться без дополнительного общения, в котором они затруднены. Каждая комната и помещение должны быть четко обозначены, знаки должны быть крупными и хорошо освещенными.

· В зданиях и сооружениях, где предусмотрена звуковая информация, необходимо дублирование информации надписями на дисплеях и табло. Системы пожарной сигнализации должны содержать световую сигнализацию наряду со звуковой.

А - примеры знаков визуальной информации; Б - высота знаков в зависимости от расстояния, с которого они должны восприниматься; 3 -зоны расположения знаков

ТЕРМИНЫ И ОПРЕДЕЛЕНИЯ

Антропометрические параметры - система измерений человеческого тела и его частей.

Дверной просвет - фактическая ширина дверного проема при открытом на 90° дверном полотне (или полностью открытой раздвижной двери).

Инвалид - человек с нарушенным здоровьем в результате врожденных дефектов, стойкого расстройства функций организма или увечья, приведших к существенным затруднениям в жизни, полной или частичной потере трудоспособности.

Маломобильные группы населения - лица старшей возрастной группы, 60 лет и старше, инвалиды трудоспособного возраста 16 - 60 лет, дети-инвалиды до 16 лет, дети до 8 - 10 лет, пешеходы с детскими колясками, временно нетрудоспособные.

Пандус - наклонная плоскость для вертикального сообщения как внутри, так и вне здания.

Престарелые - люди старшей возрастной группы.

Тактильный - рельефный, ощущаемый.

Параметры зон и пространств - числовые значения величин (длина, ширина, высота), характеризующих размеры между какими-либо границами в плане или пространстве, например длина и ширина зоны, занимаемой инвалидом, радиус разворота кресла-коляски, высота зоны досягаемости и т. д.

Функциональные зоны - пространство между какими-нибудь границами, характеризующееся определенными признаками, связанными с какой-либо деятельностью, например зона у телефона-автомата, зона у стола, зона у кафетерийной стойки и т. д.

Шрифт Брайля - рельефно-точечный шрифт для письма и чтения слепых.

Эргономические параметры - параметры человека в условиях движения, какой-либо деятельности.

СПИСОК ЛИТЕРАТУРЫ.

1. Архитектурная среда обитания инвалидов и престарелых. - М.: Стройиздат, 1989.

2. Калмет Х. Ю. Жилая среда для инвалидов. - М.: Стройиздат, 1990.

3. Обеспечение возможности передвижения инвалидов и престарелых в больших городах. Серия: «Проблемы больших городов». Обзорная информация. Вып. 26. - М.: Гос. плановый комитет РСФСР, Мос. гор. ЦНТИ и пропаганды.

4. Степанов В. К., Шарапенко В. К. Среда обитания для людей с недостатками зрения. - М.: ЦНТИ, 1982.

5. Рекомендации по проектированию различных типов жилища для престарелых и инвалидов. - Иваново, 1991.

6. Типовая инструкция по обеспечению передвижения инвалидов, пользующихся креслами-колясками, в проектах общественных зданий, планировки и застройки населенных мест. - М.: Госкомархитектуры, 1988.

7. European Manual for an Accessible Built Environment. – CCPT, 1990.

8. Barrier-Free Design. The Law. U. 1. - NY, 1989.

9. Geboden Toegang. Druk Libertas Drukwerk Service, Utrecht. – The Netherlands, 1990.

СОДЕРЖАНИЕ

Предисловие. 1

Общий перечень рекомендаций по проектированию окружающей среды, зданий и сооружений с учетом потребностей инвалидов и других маломобильных групп населения. 3

Параметры зон и пространств. 3

Основные функциональные зоны для инвалидов на креслах-колясках. 3

Габариты и эргонометрические параметры для инвалидов, использующих дополнительные опоры.. 5

Исходные габариты людей с дефектами зрения. 6

Габариты и эргонометрические параметры для людей с дефектами зрения. 6

Эргонометрические параметры для престарелых. 7

Эргонометрические параметры при движении инвалидов с нарушением опорно-двигательного аппарата. 7

Параметры зон для движения инвалидов с нарушением опорно-двигательного аппарата. 8

Входы в здания и помещения. 8

Габариты зон для подъезда кресла-коляски к входам в здания и помещения. 9

Оборудование площадок перед входами и устройство тамбуров. 9

Виды входных дверей. 10

Оборудование входных дверей для инвалидов с поражением опорно-двигательного аппарата. 10

Устройство входных дверей с учетом потребностей инвалидов с дефектами зрения. 11

Пандусы.. 11

Общие параметры.. 11

Устройство поручней и ограждений. 12

Лестницы.. 13

Особенности устройства лестниц с учетом потребностей инвалидов с поражением опорно-двигательного аппарата. 13

Особенности устройства лестниц с учетом потребностей инвалидов с дефектами зрения. 13

Коридоры и проходы.. 14

Параметры коридоров. 14

Установка дополнительного оборудования. 15

Лифты и подъемники. 16

Устройство лифтов и подъемников в сооружениях. Общие положения. 16

Устройство лифтов и подъемников в общественных зданиях и сооружениях. Общие положения. 17

Устройство лифтов и подъемников в жилых зданиях. 17

Варианты подъемников, используемых для инвалидов в общественных зданиях. 18

Санитарно-гигиенические помещения. 19

Особенности проектирования санузлов для инвалидов на креслах-колясках. 19

Особенности проектирования санузлов для инвалидов, использующих опорные приспособления. 19

Особенности проектирования мужских общественных туалетов. 20

Особенности проектирования умывальных при туалетах. 20

Особенности проектирования душевых. 21

Особенности проектирования ванных комнат. 21

Функциональные зоны.. 22

Размещение телефона с учетом его использования инвалидом на кресле-коляске. 22

Зона отдыха для инвалидов в общественных зданиях. 22

Параметры функциональных зон, необходимых для размещения инвалидов на креслах-колясках в столовых, буфетах. 23

Средства информации и ориентации инвалидов. 24

Особенности проектирования с учетом потребностей инвалидов, передвигающихся на креслах-колясках. 24

Особенности проектирования с уметом потребностей инвалидов с дефектами зрения. 24

Особенности проектирования с учетом потребностей инвалидов с дефектами слуха. 26

Термины и определения. 26

Список литературы. 27

 




ГОСТЫ, СТРОИТЕЛЬНЫЕ и ТЕХНИЧЕСКИЕ НОРМАТИВЫ.
Некоммерческая онлайн система, содержащая все Российские Госты, национальные Стандарты и нормативы.
В Системе содержится более 150000 файлов нормативно-технической документации, действующей на территории РФ.
Система предназначена для широкого круга инженерно-технических специалистов.

Рейтинг@Mail.ru Яндекс цитирования

Copyright © www.gostrf.com, 2008 - 2026