Крупнейшая бесплатная информационно-справочная система онлайн доступа к полному собранию технических нормативно-правовых актов РФ. Огромная база технических нормативов (более 150 тысяч документов) и полное собрание национальных стандартов, аутентичное официальной базе Госстандарта. GOSTRF.com - это более 1 Терабайта бесплатной технической информации для всех пользователей интернета. Все электронные копии представленных здесь документов могут распространяться без каких-либо ограничений. Поощряется распространение информации с этого сайта на любых других ресурсах. Каждый человек имеет право на неограниченный доступ к этим документам! Каждый человек имеет право на знание требований, изложенных в данных нормативно-правовых актах!

  


 

МЕЖГОСУДАРСТВЕННЫЙ СТАНДАРТ

ДРЕВЕСИНА
Резонансный метод определения модулей упругости и сдвига и декремента
колебаний

ГОСТ
16483.31-74*

Wood. Resonance method for determination of modulus of elasticity and
shear and decrement vibrations

Взамен
ГОСТ 15890-70

Постановлением Государственного комитета стандартов Совета Министров СССР от 26.03.74 № 689 дата введения установлена

01.07.75

Ограничение срока действия снято по протоколу № 5-94 Межгосударственного Совета по стандартизации, метрология н сертификации (ИУС П-12-94)

Настоящий стандарт распространяется на древесину и устанавливает резонансный метод определения модуля упругости вдоль волокон древесины, модулей сдвига в радиальной и тангентальной плоскостях при продольной нагрузке и логарифмического декремента колебаний - показателя рассеяния энергии.

Сущность метода заключается в возбуждении у образца со свободными концами продольных колебаний основной гармоники и изгибных колебаний второго обертона. По частотам резонансных колебаний определяют модуль упругости и модуля сдвига, а по ширине резонансных пиков - логарифмический декремент колебаний.

Стандарт полностью соответствует СТ СЭВ 1143-78.

(Измененная редакция, Изм. № 1).

1. АППАРАТУРА И МАТЕРИАЛЫ

1.1. Для проведения испытаний применяют:

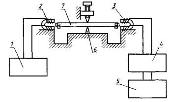
резонансную установку (см. черт. 1) или подобную ей с погрешность измерения частоты колебаний не более 0,1 Гц, обеспечивающую закрепление образца с помощью игл, возбуждение и измерение колебаний с использованием электромагнитных преобразователей;

линейку измерительную металлическую по ГОСТ 427-75 с ценой деления 1 мм;

штангенциркуль по ГОСТ 166-89 с погрешностью измерения не более 0,1 мм;

весы с погрешностью взвешивания не более 0,1 г;

аппаратуру и материалы для определения влажности древесины по ГОСТ 16483.7-71.

Схема резонансной установки

1 - генератор сигналов; 2 - электромагнитный возбудитель колебаний; 3 - электромагнитный датчик колебаний; 4 - электронный милливольтметр по ГОСТ 22261-94; 5 - частотомер по ГОСТ 7590-93; 6 - опорное устройство; 7- образец с ферромагнитными пластинками
Черт. 1

(Измененная редакция, Изм. № 2).

2. ПОДГОТОВКА К ИСПЫТАНИЯМ

2.1. Образцы изготовляют в форме прямоугольного бруска размерами 20´20´300 мм. Точность изготовления, влажность и количество образцов должны соответствовать требованиям ГОСТ 16483.0-89.

(Измененная редакция, Изм. № 1, 2).

3. ПРОВЕДЕНИЕ ИСПЫТАНИЙ

3.1. Ширину образца b в радиальном и высоту h в тангентальном направлениях измеряют на середине длины образца с погрешностью не более 0,1 мм. Длину образца l измеряют с погрешностью не более 1 мм.

3.2. Образец взвешивают с погрешностью не более 0,1 г.

3.3. На каждой боковой поверхности образца в точке пересечения диагоналей высверливают отверстие глубиной 7 - 8 мм и диаметром 0,8 мм под иглы опорного устройства.

3.4. На каждый образец прикрепляют по шесть ферромагнитных пластинок или пластинок из другого подобного материала: по одной на торцы при возбуждении продольных колебаний и по две на радиальную и тангентальную поверхности при возбуждении изгибных колебаний.

Пластинки на торцах должны быть расположены в их центральной части, а на боковых поверхностях - на концах образца, так чтобы край пластинки совпадал с ребром торца. Рекомендуемые размеры пластинок 5´5 мм.

Масса одновременно прикрепляемых пластинок не должна превышать 1 г.

3.5. Образец с пластинками взвешивают с погрешностью не более 0,1 г и закрепляют на опорном устройстве с помощью вертикальных игл диаметром 1 мм, длиной около 10 мм.

3.6. Для возбуждения продольных колебаний возбудитель и датчик подводят к торцам образца (см. черт. 2, а). Расстояние между образцом и возбудителем или датчиком не должно быть более 1 мм. Не допускается соприкосновение возбудителя или датчика с образцом.

Схема расположения возбудителя и датчика при продольных и изгибных колебаниях

1 - образец; 2 - возбудитель колебаний; 3 - датчик колебаний; 4 - опорное устройство
Черт. 2

3.7. Напряжение на возбудитель подают с генератора сигналов. Изменяя частоту сигналов от 6 до 12 кГц, по максимальному отклонению стрелки милливольтметра определяют резонанс продольных колебаний основной гармоники. Частоты продольных резонансных колебаний и колебаний, амплитуда которых равна половине резонансной, измеряют с погрешностью не более 1 Гц.

3.8. Для возбуждения изгибных колебаний возбудитель и датчик устанавливают на опорном устройстве под образцом (см. черт. 2, б).

Расстояние между образцом и возбудителем или датчиком не должно быть более 2 мм. Не допускается соприкосновение возбудителя или датчика с образцом.

3.9. Определение резонанса изгибных колебаний второго обертона производят, как указано в п. 3.7, изменяя частоту сигналов от 1,5 до 3,5 кГц. Частоты изгибных резонансных колебаний и колебаний, амплитуда которых равна половине резонансной, измеряют с погрешностью не более 0,1 Гц.

3.10. Для возбуждения изгибных колебаний в другой плоскости меняют положение образца на опорном устройстве с соблюдением требований п. 3.8 и выполняют измерения, как указано в п. 3.9.

3.11. После испытания определяют влажность образцов с погрешностью не более 1 % по ГОСТ 16483.7-71.

Пробу для определения влажности выпиливают из средней части образца по всему поперечному сечению. Для определения средней влажности испытанных образцов допускается отбирать каждый второй образец.

4. ОБРАБОТКА РЕЗУЛЬТАТОВ

4.1. Модуль упругости (EW) образцов с влажностью W в момент испытания вычисляют с точностью до 25 МПа по формуле

где b, h, l - соответственно ширина, высота и длина образца, м (см);

m - масса образца без пластинок, кг;

fпр - резонансная частота продольных колебаний основной гармоники образца, Гц;

β - поправка на массу прикрепленных пластинок, равная отношению массы образца с пластинками к массе образца без пластинок и рассчитываемая с погрешностью не более 0,5·10-2.

4.2. Модуль упругости образцов с влажностью, отличающейся от 12 % более чем на 1 %, в пределах от 8 до 20 %, пересчитывают к влажности 12 % с точностью до 25 МПа по формуле

где 1·10-2 - поправочный коэффициент на влажность для всех пород древесины;

W - влажность образцов в момент испытания, %.

Модуль упругости образцов с влажностью, равной или больше предела насыщения клеточных стенок, пересчитывают к влажности 12 % с точностью до 25 МПа по формуле

где  - пересчетный коэффициент при влажности 30 %, равный:

1,25 - для хвойных пород; 1,12 - для кольцесосудистых пород; 1,30 - для бука; 1,23 - для березы и других рассеяннососудистых пород.

4.3. При необходимости модуль упругости образцов пересчитывают к влажности 15 % с точностью до 25 МПа по формулам:

для образцов с влажностью меньше предела гигроскопичности

где 1·10-2 - поправочный коэффициент на влажность для всех пород древесины;

для образцов с влажностью, равной или больше предела насыщения клеточных стенок

где  - пересчетный коэффициент при влажности 30 %, равный:

1,21 - для хвойных пород; 1,09 - для кольцесосудистых пород; 1,26 - для бука; 1,19 - для березы и других рассеяннососудистых пород.

4.4. Модуль сдвига (GW) образцов с влажностью W в момент испытания вычисляют для Gra и Gta с точностью до 25 МПа по формуле

где fизг - резонансная частота изгибных колебаний второго обертона в радиальной плоскости для Gra и в тангентальной плоскости для Gta, Гц;

4.5. Модуль сдвига образцов с влажностью, отличающейся от 12 % более чем на 1 %, в пределах от 8 до 20 %, пересчитывают к влажности 12 % с точностью до 25 МПа по формуле

где 3·10-2 - поправочный коэффициент на влажность для всех пород древесины.

Модули сдвига образцов с влажностью, равной или больше предела насыщения клеточных стенок, пересчитывают к влажности 12 % с точностью до 25 МПа, по формуле

где  - пересчетный коэффициент при влажности 30 %, равный 2,18 для всех пород древесины.

4.6. При необходимости модуль сдвига образцов пересчитывают к влажности 15 % с точностью до 25 МПа по формулам:

для образцов с влажностью меньше предела гигроскопичности

где 3·10-2- поправочный коэффициент на влажность для всех пород древесины;

для образцов с влажностью, равной или больше предела насыщения клеточных стенок

где  - пересчетный коэффициент при влажности 30 %, равный 1,82 для всех пород древесины.

4.7. Логарифмические декременты продольных или изгибных колебаний (δ) вычисляют с точностью до 0,5·10-4 Нп по формулам:

где f'пр; f''пр и f'изг; f''изг - соответственно частоты продольных и изгибных колебаний с амплитудой, равной половине резонансной, Гц.

4.8. Результаты измерений и расчетов заносят в протокол испытаний, форма которого приведена в приложении.

Разд. 4. (Измененная редакция, Изм. № 2).

ПРИЛОЖЕНИЕ
Рекомендуемое

ПРОТОКОЛ
определения модулей упругости и сдвига в декремента колебаний

Порода______________________________________

Температура воздуха Θ, °C_____________________

Степень насыщенности влагой воздуха φ, %______

 

№ пп.

Марка образца

Размеры образца, мм

Масса образца, m, г

Частота колебаний, Гц

продольных основной гармоники

изгибных второго обертона в плоскостях

Длина l

Ширина b

Высота h

без пластинок

С пластинками

fпр

f'пр

f''пр

радиальной

тангентальной

fизг

f'изг

f''изг

fизг

f'изг

f''изг

1

2

3

4

5

6

7

8

9

10

11

12

13

14

15

16

 

 

 

 

 

 

 

 

 

 

 

 

 

 

 

 

Продолжение таблицы

Влажность W, %

Поправка на массу пластинок, β

Модуль упругости EW, 108 Па

Модуль сдвига, МПа

Декремент колебаний, 5·10-4 Нп

Gta

Gra

продольных

изгибных в плоскостях

радиальной

тангентальной

17

18

19

20

21

22

23

24

 

 

 

 

 

 

 

 

 

«_____»_________________19_____

Подпись_________________________

ПРИЛОЖЕНИЕ (Измененная редакция, Изм. № 2).

 




ГОСТЫ, СТРОИТЕЛЬНЫЕ и ТЕХНИЧЕСКИЕ НОРМАТИВЫ.
Некоммерческая онлайн система, содержащая все Российские Госты, национальные Стандарты и нормативы.
В Системе содержится более 150000 файлов нормативно-технической документации, действующей на территории РФ.
Система предназначена для широкого круга инженерно-технических специалистов.

Рейтинг@Mail.ru Яндекс цитирования

Copyright © www.gostrf.com, 2008 - 2026