Крупнейшая бесплатная информационно-справочная система онлайн доступа к полному собранию технических нормативно-правовых актов РФ. Огромная база технических нормативов (более 150 тысяч документов) и полное собрание национальных стандартов, аутентичное официальной базе Госстандарта. GOSTRF.com - это более 1 Терабайта бесплатной технической информации для всех пользователей интернета. Все электронные копии представленных здесь документов могут распространяться без каких-либо ограничений. Поощряется распространение информации с этого сайта на любых других ресурсах. Каждый человек имеет право на неограниченный доступ к этим документам! Каждый человек имеет право на знание требований, изложенных в данных нормативно-правовых актах!

  


 

ГОСТ 16892-71

МЕЖГОСУДАРСТВЕННЫЙ СТАНДАРТ

КОНДУКТОРЫ СКАЛЬЧАТЫЕ ПОРТАЛЬНЫЕ С ПНЕВМАТИЧЕСКИМ ЗАЖИМОМ

КОНСТРУКЦИЯ

ИПК ИЗДАТЕЛЬСТВО СТАНДАРТОВ

Москва

ИНФОРМАЦИОННЫЕ ДАННЫЕ

1. РАЗРАБОТАН И ВНЕСЕН Министерством станкостроительной и инструментальной промышленности СССР

РАЗРАБОТЧИКИ

А.З. Старосельский (руководитель темы), В.В. Андреев, В.Г. Карасева, В.Д. Поляков, Л.В. Смирнов, Т.А. Шестакова

2. УТВЕРЖДЕН И ВВЕДЕН В ДЕЙСТВИЕ Постановлением Государственного комитета стандартов Совета Министров СССР от 13.04.71 № 729

3. ВЗАМЕН МН 3228-62, МН 3229-62

4. ССЫЛОЧНЫЕ НОРМАТИВНО-ТЕХНИЧЕСКИЕ ДОКУМЕНТЫ

Обозначение НТД, на который дана ссылка

Номер пункта

ГОСТ 16893-71

2

ГОСТ 16896-71

2

ГОСТ 16897-71

2

ГОСТ 16898-71

2

ГОСТ 16899-71

2

ГОСТ 16900-71

2

ГОСТ 16901-71

2

ГОСТ 18460-91

2

5. Ограничение срока действия снято Постановлением Госстандарта СССР от 21.02.89 № 279

6. ПЕРЕИЗДАНИЕ (август 1999 г.) с Изменениями № 1, 2, утвержденными в июне 1980 г., феврале 1989 г. (ИУС 8-80, 5-89)

МЕЖГОСУДАРСТВЕННЫЙ СТАНДАРТ

КОНДУКТОРЫ СКАЛЬЧАТЫЕ ПОРТАЛЬНЫЕ С ПНЕВМАТИЧЕСКИМ ЗАЖИМОМ

Конструкция

Portal rack-and-pinion-operated jigs with air-actuated clamp. Design

ГОСТ
16892-71

Дата введения 01.07.72

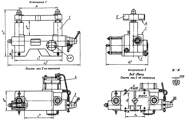
1. Настоящий стандарт распространяется на скальчатые портальные кондукторы с пневматическим зажимом, предназначенные для закрепления деталей при механической обработке отверстий на сверлильных станках.

2. Конструкция и основные размеры кондукторов должны соответствовать указанным на чертеже и в таблице.

* Размеры для справок.

1 - корпус; 2 - плита по ГОСТ 16893; 3 - пневмораспределитель по ГОСТ 18467; 4 - цилиндр пневматический


Размеры, мм

Обозначения кондуктора

Плиты по ГОСТ 16893-71

Применяемость

Исполнение

А (пред. откл. ± 0,01)

А1

А2

В

L

H

d (поле допуска H7)

B1

L1

L2

H1

D

Усиление зажима, H

Масса, кг ≈

Пред. откл. ± 0,02

min

max

min

max

7300-0251

7030-1212

 

1

320

-

-

160

240

120

180

-

345

390

598

382

442

125

5000

65

7300-0252

7030-1222

 

2

160

125

12

160

8500

105

7300-0253

7030-1213

 

1

400

-

-

220

320

200

-

415

470

678

422

502

7300-0254

7030-1223

 

2

210

180

16

7300-0255

7030-1214

 

1

500

-

-

300

420

160

280

-

530

570

778

462

582

150

7300-0256

7030-1224

 

2

280

250

20


Примечания:

1. Кондукторы исполнения 1 комплектуются плитами типа А, исполнения 1; исполнения 2 - плитами типа Б, исполнения 1. Комплектование другими плитами оговаривается при заказе.

2. Дополнительная комплектация кондукторов принадлежностями по ГОСТ 16896 - ГОСТ 16901 оговаривается при заказе.

Пример условного обозначения кондуктора исполнения 1, размером А - 320 мм:

Кондуктор 7300-0251 ГОСТ 16892-71

3. Допуски параллельности поверхности Г относительно поверхности Е - 0,02 мм на длине 100 мм, поверхности Б относительно поверхности Е - 0,02 мм на длине 100 мм на любой высоте расположения плиты.

(Измененная редакция, Изм. № 2).

4. Технические требования к пневматическому зажиму кондуктора устанавливаются по ГОСТ 18460.

5. Движение плиты должно быть плавным без толчков и заеданий.

6. Маркировать: обозначения кондуктора и настоящего стандарта.

(Измененная редакция, Изм. № 2).

7, 8. (Исключены, Изм. 2).

 




ГОСТЫ, СТРОИТЕЛЬНЫЕ и ТЕХНИЧЕСКИЕ НОРМАТИВЫ.
Некоммерческая онлайн система, содержащая все Российские Госты, национальные Стандарты и нормативы.
В Системе содержится более 150000 файлов нормативно-технической документации, действующей на территории РФ.
Система предназначена для широкого круга инженерно-технических специалистов.

Рейтинг@Mail.ru Яндекс цитирования

Copyright © www.gostrf.com, 2008 - 2026