
ГОСУДАРСТВЕННЫЙ
СТАНДАРТ СОЮЗА ССР
МАШИНЫ
ЭЛЕКТРИЧЕСКИЕ ВРАЩАЮЩИЕСЯ.
Классификация
степеней защиты,
обеспечиваемых оболочками вращающихся
электрических машин
ГОСТ 17494-87
(МЭК 34-5-81)
(СТ СЭВ 247-85)
Государственный
комитет СССР по стандартам
Москва
Содержание
ГОСУДАРСТВЕННЫЙ СТАНДАРТ СОЮЗА ССР
|
МАШИНЫ ЭЛЕКТРИЧЕСКИЕ
ВРАЩАЮЩИЕСЯ.
Классификация степеней защиты,
обеспечиваемых оболочками вращающихся
электрических машин
Rotating
electrical machines. Classification
of degrees of protection provided by enclosures
for rotating machines
|
ГОСТ
17494-87
(МЭК 34-5-81)
(CT СЭВ
247-85)
|
Срок действия с 01.07 88 г.
до 01.01.98
Настоящий стандарт
классифицирует степени защиты, обеспечиваемые оболочками электрических
вращающихся машин без ограничения мощности, частоты вращения и напряжения.
Стандарт устанавливает степени защиты персонала от
прикосновения к токоведущим или движущимся частям, находящимся внутри машины,
степени защиты от проникновения твердых инородных тел и воды внутрь машины, а
также обозначения и методы испытаний степеней защиты.
Стандарт устанавливает
требования, которым должны удовлетворять защитные оболочки.
Стандарт распространяется
только на оболочки, которые во всех других отношениях соответствуют их
назначению, материалы и конструкция которых в нормальных условиях эксплуатации
обеспечивают неизменность какой-либо степени защиты, предписанной настоящим
стандартом.
Стандарт не устанавливает
степени защиты машин от механических повреждений или от таких воздействий как
влажность (возникающая, например, в результате конденсации), коррозионные пары,
плесневые грибы и т.п., а также не указывает способов защиты машин,
предназначенных для использования во взрывоопасной среде.
Внешние по отношению к
оболочке ограждения, которые должны обеспечивать только безопасность персонала,
не считаются частью оболочки и поэтому не рассматриваются в настоящем
стандарте.
Степень защиты обозначают
латинскими буквами IP и характеристическими цифрами, означающими соответствие
машин условиям, изложенным в табл. 1-2.
1.1. Если требуется
обозначить степень защиты одной характеристической цифрой, то опущенную цифру
следует заменить буквой X. Например: IPX5 или IP2X.
1.2. Дополнительная
информация может быть дана при помощи буквы (S, M, W).
1.2.1. Для специальных
применений (например, для машин с открытой цепью охлаждения, устанавливаемых на
палубе кораблей, с закрытыми во время стоянки воздухозаборными отверстиями) за
цифрами может следовать буква, указывающая, проводится ли испытание на
защищенность от вредных воздействий проникающей воды на невращающейся машине
(буква S) или на вращающейся машине (буква М).
В этом случае степень защиты
машины следует указывать для каждого состояния, например IP55S/IP20M.
Отсутствие букв S и М означает,
что требуемая степень защиты будет обеспечена при всех нормальных условиях
эксплуатации.
1.2.2. Для машин,
предназначенных для использования при определенных погодных условиях и с
дополнительно принятыми мерами защиты, может быть использована буква W
(помещается сразу после букв IP).
1.3. Пример обозначения

2.1. Первая
характеристическая цифра означает степень защиты, обеспечиваемую оболочкой, от
проникновения инородных твердых тел - это относится к защите персонала от
прикосновения к токоведущим и движущимся частям и к защите машины.
В табл. 1,
графа 3 дано подробное описание предметов, которые «не должны проникать» в
оболочку для соответствующей степени защиты, обозначенной первой
характеристической цифрой.
Термин «не должен проникать»
означает, что часть тела, инструмент или проволока, которую держит человек, не
проникнут в машину, а если и проникнут, то между ними и токоведущими или опасными
движущимися частями (гладкие вращающиеся валы и подобные им части не считаются
опасными) остается безопасное расстояние.
В графе 3 также указывается
минимальный размер твердых инородных тел, которые не должны проникать в машину.
Таблица 1
Степени защиты,
обозначенные первой характеристической цифрой
|
Первая
характеристическая цифра
|
Степень
защиты
|
Условия
испытания
|
|
Краткое
описание (см. примечание 1)
|
Определение
|
|
1
|
2
|
3
|
4
|
|
0
|
Незащищенная
машина
|
Нет
специальной защиты
|
Испытание
не проводится (см. п. 2.8)
|
|
1 (см.
примечание 2)
|
Машина,
защищенная от твердых тел диаметром более 50 мм
|
Должно
быть исключено случайное прикосновение (или приближение) к токоведущим (или
движущимся) частям внутри оболочки частью тела, например, рукой, но не
предусмотрена защита от умышленного прикосновения.
Должно
быть исключено проникновение твердых тел диаметром более 50 мм
|
|
|
2 (см.
примечание 2)
|
Машина,
защищенная от твердых тел диаметром более 12 мм
|
Должно
быть исключено приближение (или прикосновение) пальцами или предметами длиной
не более 80 мм к токоведущим (или движущимся) частям внутри оболочки.
Должно быть
исключено проникновение твердых тел диаметром более 12 мм
|
См. табл.
4
|
|
3 (см.
примечание 3)
|
Машина,
защищенная от твердых тел диаметром более 2,5 мм
|
Должно быть исключено приближение
(или прикосновение) к токоведущим (или движущимся) частям внутри оболочки
инструментом или проволокой диаметром более 2,5 мм.
Должно
быть исключено проникновение твердых тел диаметром более 2,5 мм
|
|
|
4 (см.
примечание 2)
|
Машина,
защищенная от твердых тел диаметром более 1 мм
|
Должно
быть исключено приближение (или прикосновение) к токоведущим (или движущимся)
частям внутри оболочки проволокой или полоской толщиной более 1 мм.
Должно
быть исключено проникновение твердых тел диаметром более 1 мм
|
См. табл.
4
|
|
5 (см.
примечание 3)
|
Машина,
защищенная от пыли
|
Проникновение
пыли полностью не устраняется. Однако пыль не может проникать в качестве,
достаточном для нарушения работы машины
|
|
Примечания:
1. Краткое
описание, указанное в графе 2, не следует использовать для определения степени
защиты.
2. Машины,
имеющие степень защиты, определяемую первой характеристической цифрой 1 - 4,
должны быть защищены от проникновения твердых предметов правильной и
неправильной формы, размеры которых в трех взаимно перпендикулярных
направлениях превышают значения, приведенные в графе 3.
3. Степень
защиты от пыли, устанавливаемая настоящим стандартом, носит общий характер.
Если указано происхождение пыли (размеры частиц, их природа, например,
волокнистые частицы), то условия испытаний определяются по соглашению между
изготовителем и потребителем.
2.2. Оболочка с указанной
степенью защиты будет также удовлетворять всем более низким степеням защиты,
приведенным в табл. 1.
Испытания, устанавливающие соответствие этим более низким степеням защиты, не
проводят, за исключением сомнительных случаев.
2.3. Вторая
характеристическая цифра означает обеспечиваемую оболочкой степень защиты от
вредных воздействий проникающей воды.
В графе 3 табл. 2
дано подробное описание типа защиты, обеспечиваемой оболочкой для каждой
степени защиты, обозначенной второй характеристической цифрой.
Машина является защищенной
от климатических воздействий, если благодаря конструктивным мерам проникновение
дождя, снега и частиц, находящихся в воздухе, уменьшается до такой степени, что
это не мешает нормальной работе машины. Эта степень защиты обозначается буквой
W (помешается между буквами IP и характеристическими цифрами).
Таблица 2
Степени
защиты, обозначенные второй характеристической цифрой
|
Вторая
характеристическая цифра
|
Степень
защиты
|
Условия
испытания
|
|
Краткое
описание
|
Определение
|
|
1
|
2
|
3
|
4
|
|
0
|
Незащищенная
машина
|
Нет
специальной защиты
|
Испытание
не проводится
|
|
1
|
Машина,
защищенная от капающей воды
|
Вертикально
падающие капли не должны оказывать вредного действия
|
|
|
2
|
Машина,
защищенная от падающих под углом до 15° капель воды
|
Вертикально
падающие капли не должны оказывать вредного действия, если машина находится
под любым углом до 15° от нормального положения
|
|
|
3
|
Машина,
защищенная от дождя
|
Капли
дождя, падающие под углом до 60° к вертикали, не должны оказывать вредного
действия
|
См. табл.
5,
|
|
4
|
Машина,
защищенная от разбрызгиваемой воды
|
Вода,
разбрызгиваемая па машину с любого направления, не должна оказывать вредного
действия
|
|
|
5
|
Машина,
защищенная от водяных струй
|
Струя
воды, направленная из шланга с наконечником на машину с любого направления,
не должна оказывать вредного действия
|
|
|
6
|
Машина,
защищенная от воздействия морских волн
|
Внутрь
машины, подвергающейся воздействиям морских волн или мощных водяных струй, не
должна проникать вода в количестве, оказывающем вредное действие
|
|
|
7
|
Машина,
защищенная от проникновения воды при кратковременном погружении
|
Внутрь
машины, погруженной в воду на определенную глубину и на непродолжительное
время, не должна проникать вода в количестве, влияющем на ее
работоспособность
|
См. табл.
5
|
|
8
|
Машина,
защищенная от проникновения воды при продолжительном погружении
|
Машина
пригодна для продолжительного погружения в воду при условиях, определяемых
изготовителем.
Примечание. Это означает, что машина имеет
герметизирующие уплотнения.
Однако для
некоторых типов машин это может означать, что вода проникает, но в
количестве, не влияющем на ее работоспособность
|
|
Примечание. Краткое описание, указанное в графе
2, не следует использовать для определения типа защиты.
2.4. Оболочка с указанной
степенью защиты будет также удовлетворять всем более низким степеням защиты,
приведенным в табл. 2.
Испытания, устанавливающие соответствие этим более низким степеням защиты, не
проводят, за исключением сомнительных случаев.
2.5. Степени защиты
электрических машин должны соответствовать указанным в табл. 3.
Таблица 3
|
Степень
защиты, характеризуемая первой цифрой
|
Степень защиты,
характеризуемая второй цифрой
|
|
0
|
1
|
2
|
3
|
4
|
5
|
6
|
7
|
8
|
|
0
|
IP00
|
IP01
|
-
|
-
|
-
|
-
|
-
|
-
|
-
|
|
1
|
IP10
|
IP11
|
IP12*
|
IP13
|
-
|
-
|
-
|
-
|
-
|
|
2
|
IP20
|
IP21*
|
IP22*
|
IP23*
|
-
|
-
|
-
|
-
|
-
|
|
3
|
-
|
-
|
-
|
-
|
-
|
-
|
-
|
-
|
-
|
|
4
|
-
|
-
|
IP42
|
IP43
|
IP44*
|
-
|
-
|
-
|
-
|
|
5
|
-
|
-
|
-
|
|
IP54*
|
IP55*
|
IP56
|
-
|
-
|
___________________________
*
Рекомендованы МЭК 34-5-81.
Примечание. Исходя из специфических особенностей
отдельных видов электрических машин, допускаются другие степени защиты.
2.6. Если электрическая
машина имеет коробку выводов или контактных колец, то степень защиты коробки
должна соответствовать степени защиты электрической машины, но не должна быть
менее IP20 для коробки выводов и IP23 - для коробки контактных колец, если
степень защиты электрической машины менее IP20.
2.7. У машины со степенью
защиты IP43 или IP44, имеющей продуваемый воздухом ротор, степень защиты для
прохода воздуха через ротор не должна быть менее IP23. При этом конструкция
машины с продуваемым ротором должна обеспечивать соответственно степень защиты
IP43 или IP44 внутренней части машины (зоны расположения обмоток статора и
ротора) от тракта, по которому проходит воздух, охлаждающий ротор.
Со стороны выхода воздуха
(промежутки между наружными ребрами станины или трубы) должна быть обеспечена
защита от соприкосновения испытательного пальца с вращающимися вентилятором и
от попадания крупных твердых посторонних тел (диаметром более 50 мм).
2.8. Внешние вентиляторы
Защиту персонала от
прикосновения к лопастям или крыльчатке вентиляторов, находящихся вне оболочки,
следует осуществлять при помощи устройств, удовлетворяющих следующим
требованиям.
|
Степень
защиты машины
|
Испытание
защитного устройства вентилятора
|
|
IP0X и
IP1X
|
Испытание
при помощи шара диаметром 50 мм
|
|
IP2X до
IP5X
|
Испытание
при помощи испытательного пальца
|
Гладкие вращающиеся валы и
подобные им части не считаются опасными.
Примечание. В некоторых случаях (машины для
сельского хозяйства или бытовой техники) могут потребоваться более тщательные
меры предосторожности от случайного или умышленного прикосновения.
2.9. Если оболочка имеет
отверстия для слива конденсата, то степень их защиты должна быть IP4X в машинах
со степенью защиты IP5X; допускается степень защиты отверстий IP2X в машинах со
степенью защиты IP3X или IP4X
(Измененная редакция. Изм.
№ 1)
3.1. Характеристические
буквы и цифры рекомендуется наносить на паспортную табличку или, если это
невозможно, на оболочку.
Если части машин имеют
неодинаковые степени защиты, то следует сначала указывать обозначение самой
низкой степени защиты, а затем остальные степени защиты с указанием той части
машины, к которой они относятся, например: IP22, коробка выводов - IP44.
3.2. Степень защиты наружных
вентиляторов, устанавливаемых на валу или приводимых во вращение от вала
машины, и степень защиты отверстий для слива конденсата допускается не
указывать, если они удовлетворяют требованиям пп. 2.8 и 2.9.
3.3. Если способ монтажа
машины на месте эксплуатации влияет на степень защиты, то необходимые меры
защиты должны быть указаны изготовителем на паспортной табличке или в
инструкции по монтажу и эксплуатации.
Испытания, указанные в
настоящем стандарте, являются типовыми.
Эти испытания следует
проводить на серийных изделиях или на их макетах. Если это невозможно, то
проверка и испытание осуществляются по соглашению между изготовителем и
потребителем. Если нет другого указания, то образцы машин для каждого испытания
должны быть новыми и чистыми, все части смонтированы так, как указано
изготовителем.
В некоторых случаях для
первых характеристических цифр 1, 2 и вторых характеристических цифр 1 - 4
достаточно визуального осмотра, чтобы убедиться, что предусмотренная степень
защиты обеспечивается. В этом случае проводить испытания необязательно. Однако
в сомнительных случаях испытания следует проводить в соответствии с пп. 4.6 - 4.7.
4.1. Достаточное расстояние
Термин «достаточное
расстояние» означает следующее.
4.1.1. Низковольтные машины
(номинальное напряжение не выше 1000 В переменного тока и 1500 В постоянного
тока).
Испытательное устройство
(шар, испытательный палец, проволока и т. д.) не касается токоведущих или
движущихся частей машины, кроме не представляющих опасности, например, гладких
вращающихся валов.
4.1.2. Высоковольтные машины
(номинальное напряжение выше 1000 В переменного тока и 1500 В постоянного
тока).
При помещении испытательного
устройства в наиболее благоприятном (ых) месте (ах) машина должна удовлетворять
требованиям испытания на электрическую прочность, предусмотренным для этой
машины.
Испытание на электрическую
прочность может быть заменено измерением воздушного зазора, который должен быть
таким, чтобы при наиболее неблагоприятной форме электрического поля его
электрическая прочность была бы гарантированной.
4.2. При испытании защиты
внешних вентиляторов (п. 2.8)
ротор медленно вращают рукой.
4.3. Если оболочка имеет
отверстия для слива конденсата, то необходимо учесть следующее:
отверстия для слива
конденсата, которые нормально открыты при работе, должны быть открыты и при
испытании;
отверстия для слива
конденсата, которые нормально закрыты при работе, должны быть закрыты и при
испытании.
4.4. Проверка степени защиты
зоны расположения обмотки статора и ротора у электрической машины со степенями
защиты IP43 и IP44, имеющей продуваемый ротор, должна проводиться
как экспериментально, так и по рабочим чертежам. При проверке степени защиты от
соприкосновения и попадания тел все детали, ограничивающие доступ к внутреннему
тракту (жалюзи, кожух вентилятора и вентилятор), должны быть сняты.
4.5. Испытания на степень
защиты от проникновения воды проводят в следующих режимах:
в отключенном состоянии,
если степень защиты относится только к неподвижному состоянию машины (буква S);
во включенном состоянии,
если степень защиты относится к вращающемуся состоянию машины (буква М);
как в отключенном, так и во
включенном состояниях, если степень защиты относится и к неподвижному и
вращающемуся состоянию машины (отсутствие букв S и М в обозначении).
4.6. Испытание на соответствие
первой характеристической цифре
Условия испытания и критерии
для первой характеристической цифры даны в табл. 4.
Таблица 4
Условия
испытаний на соответствие первой характеристической цифре
|
Первая
характеристическая цифра
|
Условия
испытаний и критерии
|
|
0
|
Испытание
не требуется
|
|
1
|
Испытание
проводится при помощи твердого шара диаметром 50+0,05 мм,
прикладываемого к отверстию (или отверстиям) в оболочке с силой (50±5) Н.
|
|
|
Защита
считается удовлетворительной, если шар не проходит ни через одно из отверстий
и сохраняется достаточное расстояние до токоведущих или движущихся частей
внутри машины
|
|
2
|
Испытание
при помощи испытательного пальца
|
|
|
Испытание
проводится при помощи металлического испытательного пальца (черт. 1). Обе части этого пальца
могут быть согнуты под углом 90° относительно его оси, но только в одном и том же направлении.
Палец прикладывают без чрезмерного усилия (не более 10 Н) ко всем отверстиям
оболочки и, если он проникает внутрь, поворачивают во всех возможных
направлениях.
|
|
|
Защита считается
удовлетворительной, если между испытательным пальцем и токоведущими или
движущимися частями внутри машины сохраняется достаточное расстояние. В то же
время допустимо прикосновение к гладким вращающимся валам и подобным им
безопасным частям. При этом испытании внутренние движущиеся части (при
нормальной работе) могут медленно вращаться.
|
|
|
При
испытаниях низковольтных машин источник питания низкого напряжения (не менее
40 В), через соответствующим образом подобранную лампу может быть подключен между
испытательным пальцем и токоведущими частями внутри оболочки. Проводящие
части, покрытые только лаком или краской, защищенные оксидированием или
другим подобным способом, должны быть покрыты металлической фольгой,
электрически соединенной с частями, которые обычно находятся под напряжением
при эксплуатации.
|
|
|
Защита
считается удовлетворительной, если лампа не загорается.
|
|
|
Для
высоковольтных машин достаточное расстояние проверяется испытанием на электрическую
прочность или измерением величины зазора в соответствии с п. 4.1.2.
|
|
|
Испытание
при помощи шара
|
|
|
Испытание
проводится при помощи твердого шара диаметром 12,0+005 мм, прикладываемого
к отверстиям в оболочке с силой (30±3) Н.
|
|
|
Защита
считается удовлетворительной, если шар не проходит ни через одно из отверстий
и сохраняется достаточное расстояние до токоведущих или движущихся частей
внутри машины
|
|
3
|
Испытание
следует проводить при помощи прямой твердой стальной проволоки или стержня
диаметром 2,5+0,05 мм, прикладываемых с силой (3±0,3) Н. Конец
проволоки или стержня не должен иметь заусенец и должен быть отрезан под
прямым углом.
|
|
|
Защита
считается удовлетворительной, если проволока или стержень не могут проникнуть
внутрь оболочки
|
|
4
|
Испытание
проводится при помощи твердой стальной проволок» диаметром 1+0,05
мм, прикладываемой с силой (1±0,l) H. Конец проволоки не должен иметь
заусенец и должен быть отрезан под прямым углом.
|
|
|
Защита
считается удовлетворительной, если проволока не может проникнуть внутрь
оболочки
|
|
5
|
Испытание
на пыленепроницаемость
|
|
|
Испытание
проводится при помощи устройства, принципиальная схема которого представлена
на черт. 2.
|
|
|
Порошок
талька, используемый при испытании, поддерживается во взвешенном состоянии в
соответствующим образом закрытой испытательной камере. Используемый порошок должен
быть предварительно просеян через сито с квадратными ячейками, сделанное из
проволоки номинальным диаметром 50 мкм и размерами ячейки 75´75 мкм.
На 1 м3 объема испытательной камеры необходимо 2 кг порошка
талька.
|
|
|
Порошок
не должен использоваться более чем для 20 испытаний. Электрические машины
имеют оболочку, где обычный рабочий цикл: машины вызывает уменьшение давления
внутри оболочки относительно давления окружающего воздуха, например в
результате термических циклов (категория 1). При этом испытании машина
находится внутри испытательной камеры и давление внутри машины
устанавливается и поддерживается ниже атмосферного при помощи вакуумного
насоса.
|
|
|
Если
оболочка имеет одно отверстие для слива конденсата, то-насос присоединяют
через специально предусмотренное для этого испытания отверстие, за
исключением случаев, когда оно должно быть закрыто при работе (см. п. 4.3).
|
|
|
Целью
испытания является пропуск через оболочки, если это позволяет установленное
разрежение, 80-кратного объема воздуха оболочки со скоростью не выше 60
объемов в час. В любом случае разрежение внутри оболочки не должно превышать
20 мбар по манометру, показанному на рис. 2. Если скорость перекачки
составляет 40 - 60 объемов в час, то испытание прекращают через 2 ч. Если при
максимальном разрежении в 20 мбар скорость перекачки меньше 40 объемов в час,
то испытание продолжают до пропускания 80-кратного объема воздуха или до
истечения 8 ч.
|
|
|
Если в
камере невозможно испытать машину в сборе, то должен быть применен один из
способов, указанных ниже:
|
|
|
1)
испытание частей машины, снабженных индивидуальной оболочкой (коробки
выводов, кожухи контактных колец и т. д.);
|
|
|
2)
испытание частей машин, определяющих степень защиты (таких как заслонки,
вентиляционные отверстия, соединения, уплотнения валов и т. д.) с уязвимыми
частями машины, такими как выводные зажимы, контактные кольца и т. д.,
смонтированные в один узел на время испытаний;
|
|
|
3)
испытание меньших машин, имеющих такие же конструктивные детали в
соответствующем масштабе;
|
|
|
4)
испытание в условиях, определенных соглашением между изготовителем и
потребителем.
|
|
|
При
втором и третьем способах объем воздуха, проходящего через машину при
испытании, должен быть равен объему воздуха, предназначенному для машины в
сборе.
|
|
|
Защита
считается удовлетворительной, если испытания показали, что порошок талька не
накопился в таком количестве и в таком месте, что, как и при любой обычной
пыли (например, непроводящая, негорючая, невзрывоопасная или химическая
коррозионная пыль), может помешать нормальной работе машины.
|
|
|
Испытание
при помощи проволоки
|
|
|
Если
машина имеет отверстие для слива конденсата, то испытание следует проводить
так же, как для первой характеристической цифры 4, т. е. при помощи проволоки
диаметром 1 мм.
|
(Измененная редакция. Изм.
№ 1)
4.7. Испытания на соответствие
второй характеристической цифре
4.7.1. Условия испытаний
Условия испытаний на соответствие
второй характеристической цифре указаны в табл.
5. При
испытании следует использовать пресную воду.
Во время испытаний влага,
содержащаяся внутри оболочки, может частично конденсироваться. Конденсат,
который при этом образуется, не следует принимать за просачивающуюся воду.
Для испытаний поверхностная
площадь машины должна быть определена с точностью до 10%.
Следует принять
соответствующие меры безопасности при испытании машины под напряжением.
Таблица 5
Условия
испытаний на соответствие второй характеристической цифре
|
Вторая
характеристическая цифра
|
Условия
испытаний
|
|
0
|
Испытание
не проводится
|
|
1
|
Испытание
проводится при помощи устройства, принцип работы которого указан на черт. 3.
|
|
|
Поток
воды должен равномерно стекать со всей поверхности устройства и имитировать
дождь с интенсивностью 3 - 5 мм/мин (при применении устройства, указанного на
черт. 3,
что соответствует уменьшению уровня воды на 3 - 5 мм/мин). Испытуемую машину
в нормальном рабочем положении помещают под капельное устройство, площадь
основания которого должна быть больше площади горизонтальной проекции
испытуемой машины. За исключением машин, предназначенных для установки на
стене или потолке, при испытании площадь подставки, на которую ставят машину,
должна быть меньше площади основания испытуемой оболочки. Машина, обычно
устанавливаемая на стене или потолке, крепится в нормальном рабочем положении
к деревянной плите, площадь которой равна площади основания машины.
|
|
|
Продолжительность
испытания - 10 мин.
|
|
2
|
Капельное
устройство такое же, какое указано для второй характеристической цифры 1, и
отрегулировано на такую же интенсивность стока воды. Машину испытывают в
течение 2,5 мин в каждом из четырех положений под углом 15° к вертикали в
двух взаимно перпендикулярных плоскостях.
|
|
|
Общая
продолжительность испытания - 10 мин.
|
|
3
|
Испытание
следует проводить при помощи устройства, указанного на черт.
4, при условии, что размеры и форма испытуемой машины допускают применение
качающейся трубки, образующей полуокружность радиусом не более 1 м. Если это
условие не соблюдается, то для обливания применяют устройство, указанное на черт.
5.
|
|
|
Условия
использования устройства, указанного на черт.
4.
|
|
|
Давление
воды должно быть приблизительно 80 кРа (0,8 бар).
|
|
|
Интенсивность
водяного потока должна быть не менее 10 л/мин.
|
|
|
Трубка
должна иметь отверстия для разбрызгивания воды, расположенные по дуге 60° по
обе стороны от вертикали и должна поддерживаться в вертикальном положении. Испытуемая
машина монтируется приблизительно в центре круга на поворотном столе с
вертикальной осью. Стол вращают с такой скоростью, чтобы за время испытания
были смочены все части машины. Минимальная продолжительность испытания - 10
мин.
|
|
|
Условия
использования устройства, указанного на черт.
5.
|
|
|
Разбрызгивающее
устройство должно быть снабжено подвижным экраном с противовесом. Давление
воды регулируют так, чтобы расход воды составлял (10±0,5) л/мин (давление
приблизительно 80 - 100 кПа (0,8 - 1,0 бар).
|
|
|
Продолжительность
испытания - 1 мин на каждый квадратный метр расчетной поверхности машины (за исключением
монтажных поверхностей), но не менее 5 мин
|
|
4
|
Условия
выбора устройства, указанного на черт.
4 или 5,
такие же, как установленные для второй характеристической цифры 3.
|
|
|
Использование
устройства, указанного на черт.
4. Качающаяся трубка должна иметь отверстия на всей своей длине (дуга
приблизительно 180°). Продолжительность испытания, скорость вращения
поворотного стола и давление воды должны быть такими же, как для степени
защиты 3.
|
|
|
Подставка
для испытуемой машины должна быть решетчатой для лучшего стока воды: оболочка
должна обрызгиваться водой со всех сторон при помощи качающейся со скоростью 60°/с
трубки (до предела перемещения в каждом направлении).
|
|
|
Использование
устройства, указанного на черт.
5
|
|
|
Подвижный
экран с противовесом снимают с разбрызгивающего устройства и машину
обрызгивают со всех возможных направлений.
|
|
|
Расход
воды, время обрызгивания единицы площади такие же, как для степени защиты 3
|
|
5
|
Испытание
проводят обливанием машины со всех возможных направлений струей воды из
шланга со стандартным испытательным наконечником, указанным на черт. 6.
При испытании необходимо соблюдать следующие условия: внутренний диаметр
наконечника - 6,3 мм; расход воды - 12,5±0,625 л/мин; давление воды на выходе
из наконечника (приблизительно) - 30 кПа (0,3 бар) (см. примечание 1); продолжительность испытания каждого
квадратного метра поверхности машины - 1 мин; минимальная продолжительность
испытания - 3 мин; расстояние от наконечника до поверхности машины
(приблизительно) - 3 м (см. примечание
2).
|
|
|
(Это
расстояние может быть уменьшено, для обеспечения смачивания оболочки
вертикальной струей воды)
|
|
6
|
Испытание
проводят обливанием машины струей воды со всех возможных направлений из
шланга со стандартным испытательным наконечником, указанным на черт. 6.
При испытании необходимо соблюдать следующие условия: внутренний диаметр
наконечника - 12,5 мм; расход воды - 100±5 л/мин; давление воды на выходе из
наконечника (приблизительно) - 100 кПа (1 бар) (см. примечание 1); продолжительность испытания каждого
квадратного метра поверхности машины - 1 мин; минимальная продолжительность
испытания - 3 мин; расстояние от наконечника до поверхности машины
(приблизительно) - 3 м (см. примечание
2)
|
|
7
|
Испытание
проводят полным погружением машины в воду с соблюдением следующих требований:
|
|
|
слой воды
над самой верхней точкой машины должен быть не менее 0,15 м;
|
|
|
нижняя
часть машины должна быть погружена в воду не менее чем на 1 м;
|
|
|
минимальная
продолжительность испытаний - 30 мин;
|
|
|
температура
воды не должна отличаться от температуры машины более чем на 5°С.
|
|
|
По
согласованию между изготовителем и потребителем это испытание может быть
заменено следующим: внутри машины создается внутреннее давление около 0,1
бар. Продолжительность испытания - 1 мин.
|
|
|
Результаты
испытания считаются удовлетворительными, если во время испытания не
обнаружена утечка воздуха. Место утечки можно определить либо кратковременным
погружением машины в воду (вода только покрывает машину), либо при помощи водного
раствора мыла
|
|
8
|
Условия
испытания - по соглашению между изготовителем и потребителем, но не должны
быть менее жесткими по сравнению с установленными для степени защиты 7
|
Примечания:
1. Измерение давления воды на выходе из наконечника можно
заменить измерением высоты, на которую свободно поднимается струя воды из
наконечника:
|
Высота, м
|
Давление, бар
|
|
2,5
|
0,3
|
|
8.0
|
1.0
|
2. Расстояние от наконечника до испытуемой машины, исходя из
практических соображений, установлено равным 3 м для степеней защиты 5, 6. В
зависимости от конкретных условий это расстояние может быть уменьшено.
4.7.2. Критерии испытания
После испытания, проведенного
в соответствии с табл.
5, следует
проверить, не проникла ли вода в машину и подвергнуть ее следующим проверкам и
испытаниям.
4.7.2.1. Количество воды,
попавшей в машину, не должно мешать ее нормальной работе; обмотки и токоведущие
части, которые должны быть сухими во время работы, не увлажнены, исключена
возможность накапливания воды, которая могла бы попасть на эти части.
Допускается смачивание
лопастей вентилятора, находящегося внутри оболочки, а также инфильтрация воды
по линии вала, если предусмотрены меры для ее удаления.
4.7.2.2. Если испытание проводилось
на невращающейся машине, то она должна работать в режиме холостого хода при
номинальном напряжении в течение 15 мин. Затем машина должна быть подвергнута
испытанию на электрическую прочность напряжением, составляющим 50%
испытательного напряжения для новой машины (но не менее 125% номинального
напряжения);
4.7.2.3. Если испытание проводилось
на вращающейся машине, то она подвергается испытанию только на электрическую
прочность в соответствии с п. 4.7.2.2.
4.7.2.4. Результаты
испытания по п.
4.7.2.2. и 4.7.2.3
считаются удовлетворительными, если при этих проверках не будут установлены
отклонения от требований ГОСТ
183-74.
Для степени защиты W
испытания и критерии должны быть предметом соглашения между изготовителем и
потребителем.
Стандартный
испытательный палец*

_____________
*Оба
соединения испытательного пальца можно согнуть под углом 90°, но только в одном
направлении
Допуски:
на углы ±5';
на линейные
размеры: до 25 мм – 0
-0,05 мм; св. 25 мм - ±0,2 мм.
1 - ограничительный
щиток; 2 - изоляционный материал: 3 - цилиндрическая поверхность; 4 -
сферическая поверхность
Черт. 1
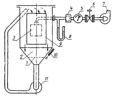
Устройство для
проверки защиты от пыли

1 - проволочная сетка; 2
- порошок талька; 3 - испытуемая машина; 4 - фильтр для очистки от пыли; S -
измеритель расхода воздуха; 6 - вентиль; 7 - вакуумный насос; S - манометр; 9 -
стеклянное окно; 10 - вибратор; 11 - циркуляционный насос
Черт. 2
Устройство для
проверки защиты от капель воды

Примечание. Площадь подставки
должна быть меньше площади основания машины.
1 - слой песка; 2 - слой
гравия; 3 - металлическая сетка и промокательная бумага; 4 - подставка.
Черт. 3
Устройство с
качающейся трубкой для проверки защиты от дождевания и разбрызгивания воды

1 - испытуемая машина; 2
- отверстия диаметром 0.4 мм; 3 - противовес
Черт. 4
Ручное
устройство для проверки защиты от дождевания и разбрызгиваемой воды

_________________
*121 отверстие диаметром 0,5
мм: 1 отверстие в центре; 2 внутренних окружности с 12 отверстиями через 30°; 4
внешних окружности с 24 отверстиями через 15°; подвижной экран - из алюминия,
разбрызгиватель - из латуни.
1 - испытуемая машина; 2
- разбрызгиватель; 3 - подвижной экран; 4 - шланг; 5 - манометр; 6 - кран; 7 -
противовес
Черт. 5
Стандартный
наконечник для обливания машины из шланга

D - внутренний выходной
диаметр наконечника
Черт. 6
1. Разработан и внесен
Министерством электротехнической промышленности СССР
2. Постановлением
Государственного комитета СССР по стандартам от 28.08.87 № 3411 введен в
действие государственный стандарт СССР ГОСТ 17494-87, в качестве которого
непосредственно применен международный стандарт МЭК 34-5-81 с 01.07.88
3. Срок первой проверки 1992
г., периодичность проверки 5 лет
4. Стандарт полностью
соответствует СТ СЭВ 247-85
5. Взамен ГОСТ 17494-72
6. Ссылочные
нормативно-технические документы
|
Обозначение
НТД. на который дана ссылка
|
Номер
пункта
|
|
ГОСТ
183-74
|
4,7.2.4
|