Крупнейшая бесплатная информационно-справочная система онлайн доступа к полному собранию технических нормативно-правовых актов РФ. Огромная база технических нормативов (более 150 тысяч документов) и полное собрание национальных стандартов, аутентичное официальной базе Госстандарта. GOSTRF.com - это более 1 Терабайта бесплатной технической информации для всех пользователей интернета. Все электронные копии представленных здесь документов могут распространяться без каких-либо ограничений. Поощряется распространение информации с этого сайта на любых других ресурсах. Каждый человек имеет право на неограниченный доступ к этим документам! Каждый человек имеет право на знание требований, изложенных в данных нормативно-правовых актах!

  


 

ГОСУДАРСТВЕННЫЙ СТАНДАРТ СОЮЗА ССР

ГАЗЫ ГОРЮЧИЕ ПРИРОДНЫЕ

МЕТОДЫ ОПРЕДЕЛЕНИЯ СОДЕРЖАНИЯ ВОДЯНЫХ ПАРОВ
И ТОЧКИ РОСЫ ВЛАГИ

ГОСТ 20060-83

(СТ СЭВ 3764-82)

ГОСУДАРСТВЕННЫЙ КОМИТЕТ СССР ПО СТАНДАРТАМ

Москва

ГОСУДАРСТВЕННЫЙ СТАНДАРТ СОЮЗА ССР

ГАЗЫ ПРИРОДНЫЕ ГОРЮЧИЕ

Методы определения содержания водяных паров и
точки росы влаги

Natural combustible gases.
Methods for determining water vapour content and
dew-point of moisture

ГОСТ
20060-83

(СТ СЭВ 3764-82)

Взамен
ГОСТ 20060-74

Постановлением Государственного комитета СССР по стандартам от 14 июля 1983 г. № 3256 срок действия установлен

с 01.07.84
до 01.07.89

Несоблюдение стандарта преследуется по закону

Настоящий стандарт распространяется на природные углеводородные газы, поступающие с промысловых установок подготовки газа и газоперерабатывающих заводов в газопроводы, газы, транспортируемые по магистральным газопроводам и поставляемые потребителям, и устанавливает три метода определения количества водяных паров и точки росы влаги: конденсационный, электролитический и абсорбционный.

Стандарт не распространяется на природные газы, поступающие с установок, где в качестве абсорбента используется метанол и другие растворимые спирты для конденсационного и электролитического методов.

(Новая редакция, Изм. № 1).

1. КОНДЕНСАЦИОННЫЙ МЕТОД

1.1. Сущность метода

Метод заключается в измерении температуры равновесия между образованием и испарением росы на поверхности металлического зеркала, контактирующей с анализируемым газом. Метод применяется для определения температуры точки росы влаги в газах, не содержащих капельной жидкости и точка росы углеводородов которых не превышает точки росы влаги более чем на 5 °С.

1.2. Отбор проб

Пробы отбирают по ГОСТ 18917-82, непосредственно присоединяя прибор к источнику анализируемого газа.

В пробоотборных линиях не должно быть конденсации паров и их десорбции со стенок пробоотборных линий. Для этого температура на пробоотборной линии должна быть не менее чем на 3 °С выше предполагаемой температуры точки росы газа. Перед анализом пробоотборную линию и линию прибора продувают осушенным газом. При необходимости пробоотборную линию теплоизолируют или нагревают.

1.3. Аппаратура, материалы и реактивы

1.3.1. Гигрометр конденсационный, позволяющий измерять температуру точки росы при фактических давлениях газа в пункте измерения и удовлетворяющий следующим требованиям:

пределы измерения температуры точки росы должны быть от минус 40 до плюс 20 °С;

возможность эксплуатации и транспортирования прибора при температуре окружающей среды от плюс 40 до минус 40 °С;

взрывобезопасное исполнение;

охлаждение зеркала от плюс 30 до минус 50 °С не более 15 мин;

нагрев зеркала от минус 50 до плюс 30 °С не более 15 мин;

точность измерения температуры зеркала ±0,5 °С.

Примечание. Для измерения температуры точки росы выше 0 °С допускается применять гигрометры, работающие при давлении, близком к атмосферному.

(Измененная редакция, Изм. № 1).

1.3.2. Манометр образцовый с пределом измерения 10 МПа классом точности не ниже 0,6.

1.3.3. Термометр с диапазоном измерения от плюс 20 до минус 60 °С и ценой деления шкалы 0,5 °С.

1.3.4. Барометр мембранный или ртутный чашечный типа СРА.

(Измененная редакция, Изм. № 1).

1.3.5. Хладоагент - диоксид углерода сжиженный по ГОСТ 8050-85 или азот сжатый, или сжиженные пропан или пропан-бутановая смесь.

Применяют также охлаждение зеркала при помощи термоэлектрического эффекта (эффекта Пельтье).

(Новая редакция, Изм. № 1).

1.3.6. Растворитель - дихлорэтан по ГОСТ 1942-74 или спирт этиловый ректификованный технический по ГОСТ 18300-87.

(Измененная редакция, Изм. № 1).

1.3.7. Сита молекулярные (цеолиты) 4 А или силикагель.

1.3.8. Кальций хлористый гранулированный безводный или магний хлорнокислый (ангидрон).

(Измененная редакция, Изм. № 1).

1.3.9. Патрон осушительный.

1.3.10. Вата стеклянная.

1.4. Подготовка к испытанию

1.4.1. Гигрометры для стационарных измерений устанавливают в отапливаемом помещении. Переносные гигрометры допускается устанавливать вне помещения.

1.4.2. Газовые линии гигрометра и пробоотборной системы проверяют на герметичность измерением падения давления в замкнутой системе.

1.4.3. Поверхность измерительного зеркала гигрометра тщательно промывают растворителем.

1.4.4. Пробоотборную линию не менее 10 мин продувают испытуемым газом.

1.4.5. Газовые линии гигрометра для их сушки не менее 10 мин продувают предварительно осушенным испытуемым газом. Осушку газа проводят перед прибором, на байпасной линии, через патрон, заполненный безводным хлорнокислым магнием или безводным хлористым кальцием. Перед заполнением осушителем патрон промывают растворителем и сушат. На дно патрона и поверх осушителя помещают металлические сетки и слой ваты 10 - 15 мм.

1.4.6. На линии охлаждающего газа устанавливают емкость с активированными нагревом до температуры 300 °С молекулярными ситами или силикагелем.

1.4.7. Включение и подготовку прибора к работе проводят в соответствии с требованиями инструкции по эксплуатации.

1.4.8. Для регулирования скорости охлаждения и испарения рекомендуется перед испытанием проводить ориентировочные измерения.

1.5. Проведение измерения

1.5.1. В измерительную камеру гигрометра направляют поток испытуемого газа со скоростью 1 - 3 дм3/мин, измеренной при атмосферном давлении при полностью открытом впускном вентиле гигрометра. Скорость регулируют выпускным вентилем так, чтобы давление в измерительной камере соответствовало давлению в контролируемой системе.

1.5.2. Впускают хладагент и снижают температуру зеркала со скоростью, не превышающей 2 °С в мин. По мере приближения к предполагаемой температуре точки росы скорость охлаждения снижают до 0,5 °С в мин. Наблюдая за поверхностью зеркала, определяют температуру начала конденсации воды визуально или автоматически, в зависимости от конструкции прибора.

1.5.3. Отключают охлаждение и при нагреве зеркала определяют температуру испарения росы с поверхности зеркала.

1.5.4. Измерение температур начала конденсации и испарения росы повторяют не менее трех раз. Одновременно определяют давление газа в измерительной камере.

1.6. Обработка результатов

1.6.1. На основании трех измерений вычисляют средние значения температур конденсации и испарения. Если расхождения полученных значений не превышают 3 °С, вычисляют точку росы влаги. В противном случае определение точки росы данным методом не проводят.

1.6.2. Точку росы (td) в градусах Цельсия вычисляют по формуле

,                                                                    (1)

где t1 - среднее значение температуры конденсации, °C;

t2 - среднее значение температуры испарения, °С.

1.6.3. Концентрацию водяных паров в газе (W) при температуре 20 °C и давлении 101,325 кПа в г/м3 вычисляют по формуле

,                                                         (2)

где А - коэффициент зависимости содержания воды от давления водяного пара при измеренной температуре точки росы влаги;

101,325 - нормальное атмосферное давление, кПа;

P - абсолютное давление испытуемого газа в измерительной камере, кПа;

В - коэффициент зависимости содержания воды от температуры точки росы влаги и состава газа.

Коэффициенты А и В определяют по табл. 1 обязательного приложения. Промежуточные значения коэффициентов находят интерполяцией.

2. ЭЛЕКТРОЛИТИЧЕСКИЙ МЕТОД

2.1. Сущность метода

Метод заключается в извлечении водяных паров из потока испытуемого газа частично гидратированной пятиокисью фосфора, одновременном электролитическом разложении извлеченной воды и измерении величины тока электролиза.

Метод применяется для измерения содержания водяных паров и определения точки росы газов, объемная доля влаги в которых не более 0,2 % и парциальная доля метанола в парах воды не превышает 10 %.

2.2. Отбор проб

Отбор и подготовка проб - по п. 1.2.

2.3. Аппаратура, материалы и реактивы

2.3.1. Анализатор электролитический лабораторного или промышленного типа, удовлетворяющий следующим требованиям:

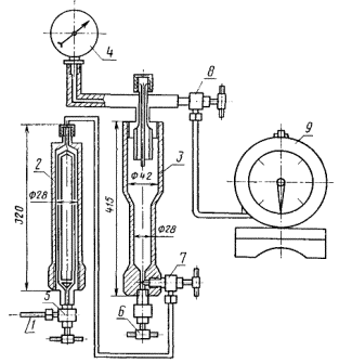
Черт. 1

датчик анализатора должен быть изготовлен во взрывобезопасном исполнении;

шкала показывающего или регистрирующего прибора должна быть градуирована в единицах содержания водяных паров;

питание анализатора должно быть батарейное или от сети переменного тока напряжением 220 B с частотой 50 Гц;

анализатор должен осуществлять измерения газов, находящихся под давлением, быть оснащенным регулятором расхода газа с диапазоном до 100 см3/мин, расходомером и фильтром для задерживания пыли.

2.3.2. Расходомер пленочный вместимостью 15 - 50 см3 с ценой деления 1 см3.

2.3.3. Секундомер по ГОСТ 5072-79.

2.3.4. Термометр ртутный от 0 до 50 °С с ценой деления 0,1 °С по ГОСТ 215-73.

2.3.5. Патрон осушительный (черт. 1).

2.3.6. Вата стеклянная.

2.3.7. Сита молекулярные 4 А.

2.3.8. Ацетон по ГОСТ 2768-84.

(Измененная редакция, Изм. № 1).

2.3.9. Кислота ортофосфорная по ГОСТ 6552-80 или пятиокись фосфора.

2.3.10. (Исключен, Изм. №1).

2.3.11. Кальций хлористый гранулированный безводный

(Измененная редакция, Изм. № 1).

2.3.12. Трубки из нержавеющей стали 3,0 ´ 0,5 по ГОСТ 14162-79.

2.3.13. Сетка металлическая проволочная по ГОСТ 2715-75.

2.4. Подготовка к испытанию

2.4.1. Анализатор, установленный в помещении, должен быть защищенным от сквозняка, установленный на открытом воздухе - теплоизолированным. Температура окружающего анализатор воздуха должна быть не ниже минус 1 °С.

2.4.2. Испытуемый газ высокого давления от места отбора к анализатору подводят трубкой из нержавеющей стали. На линии отбора устанавливают байпасную линию, в которую включают патрон с осушителем.

2.4.3. Патрон с осушителем перед установкой в линию перед прибором промывают ацетоном, заполняют молекулярным ситом, предварительно высушенным при температуре 250 - 300 °С в течение 7 - 8 ч. На входе и выходе емкости помещают металлические сетки и слои стеклянной ваты толщиной не менее 30 мм.

2.4.4. Пробоотборные линии и системы анализатора проверяют на герметичность по мыльной пленке.

2.4.5. Газовую линию от места отбора пробы до анализатора непрерывно продувают испытуемым газом при скорости потока около 30 дм3/мин.

2.4.6. Анализатор продувают испытуемым газом, пропущенным через осушитель при скорости потока 50 см3/мин до установления постоянного показания измерительного или регистрирующего прибора. Скорость потока контролируют пленочным расходомером.

2.5. Проведение испытания

2.5.1. Отключают байпасную линию с осушенным газом и в анализатор подают испытуемый газ, регулируя его скорость от 20 до 100 см3/мин. Расход газа контролируют пленочным расходомером.

2.5.2. Измеряют температуру испытуемого газа на выходе из анализатора, а также температуру и давление газа в месте его отбора.

2.5.3. После достижения постоянства показаний прибора измеряют содержание водяных паров.

2.5.4. При включенном анализаторе переключают поток газа на байпасную линию с осушителем и продувают анализатор, как указано в п. 2.4.6.

2.5.5. Для проверки надежности проведенных измерений периодически проверяют полноту поглощения воды из газа по показаниям контрольного датчика, установленного вслед за рабочим, и сравнивают значение тока электролиза, измеряемого дополнительным миллиамперметром класса точности не ниже 0,2, подключенным в разрыв цепи питания рабочего датчика.

2.6. Обработка результатов

2.6.1. Содержание водяных паров в газе (W) определяют по показаниям анализатора.

При отклонении значения расхода газа при испытании от значения, принятого при калибровке, результаты измерений корректируют с учетом фактического расхода газа, приведенного к нормальным условиям.

2.6.2. Температуру точки росы по содержанию водяных паров определяют по табл. 2 обязательного приложения.

Промежуточные значения содержания водяных паров и давления, не указанные в таблице 2, находят интерполяцией.

2.6.3. Погрешность измерений при содержании водяных паров до 0,05 г/м3 не должна превышать 10 %, при содержании свыше 0,05 г/м3 - 5 %.

3. АБСОРБЦИОННЫЙ МЕТОД

3.1. Сущность метода

Метод заключается в поглощении водяных паров безводным диэтиленгликолем и последующем определении связанной диэтиленгликолем воды титрованием раствором Карла Фишера или методом газовой хроматографии.

Метод применяется для определения водяных паров при их содержании в газе более 100 мг/м3. При титровании раствором Карла Фишера содержание сернистых соединений не должно превышать 30 мг/м3.

(Измененная редакция, Изм. № 1).

3.2. Отбор проб

Отбор и подготовка проб - по п. 1.2.

3.3. Аппаратура, материалы и реактивы

3.3.1. Аппаратура, абсорбционная, состоящая из следующих частей:

абсорбционный сосуд из нержавеющей стали на давление до 10 МПа (допускается применять калориметрическую бомбу со стеклянным абсорбционным сосудом);

(Измененная редакция, Изм. № 1).

фильтр - патрон для давления до 10 МПа, заполненный стеклянной ватой;

запорные вентили для давления до 10 МПа;

манометры для измерения давления газа с диапазонами измерения до 2, 6, 10 и 15 МПа с рекомендуемым классом точности 0,6.

3.3.2. Счетчик газовый барабанный типа ГСБ-400.

3.3.3. Счетчик газовый камерный с диапазоном измерений от 2 до 3 м3/ч или 6 м3/ч.

3.3.4. Барометр мембранный или ртутный чашечный типа СРА.

(Измененная редакция, Изм. № 1).

3.3.5. Секундомер по ГОСТ 5072-79.

3.3.6. Стеклянный U-образный манометр.

3.3.7. Термометр стеклянный по ГОСТ 215-73.

3.3.8. Хроматограф газовый, оснащенный детектором по теплопроводности, обогреваемым испарителем пробы, записывающим устройством и термостатом колонок, позволяющим работать в изотермических условиях и обеспечивающим поддержание температуры с погрешностью ±2 °С.

3.3.9. Дозатор, позволяющий вводить пробу в объеме от 2 до 5 мкл.

3.3.10. Колонка разделительная из нержавеющей стали, стекла или политетрафторэтилена.

3.3.11. Интегратор электронный или измерительная линейка с точностью 0,5 мм и измерительная лупа с ценой деления шкалы 0,1 мм по ГОСТ 6309-80, или планиметр.

3.3.12. Диэтиленгликоль с объемной долей воды не более 0,15 % (поглотительный раствор).

3.3.13. Газы-носители с чистотой не менее 99,9 % (по объему): гелий, водород по ГОСТ 3022-80 или аргон по ГОСТ 10157-79.

3.3.14 Адсорбент типа хромосорб, порапак, секахром и другие.

3.3.15. Вода дистиллированная по ГОСТ 6709-72.

3.3.16. Сита молекулярные 5 А и 4 А.

3.3.17. Раствор воды в диэтиленгликоле эталонный, готовят следующим образом: в диэтиленгликоль с объемной долей воды менее 0,25 % загружают предварительно активированные при 600 °С в течение 2 ч молекулярные сита и выдерживают смесь в течение 7 дней, часто встряхивая.

Полноту высушивания контролируют хроматографически в тех же условиях, в которых проводят определение, причем высушивание считают достаточным, если высота пика воды при предельной чувствительности детектора и объеме пробы не превышает 3 мм.

В высушенный диэтиленгликоль прибавляют известное количество дистиллированной воды, взвешивая с погрешностью не более 0,0002 г. Эталонный раствор хранят в плотно закрытых стеклянных бутылях.

3.3.18. Реактив Карла Фишера - готовый препарат № 1 и 2 (яд). Приготовление раствора Карла Фишера и установка титра - по ГОСТ 14870-77.

3.3.19. Спирт этиловый ректификованный по ГОСТ 18300-87.

(Введен дополнительно, Изм. №1).

3.4. Подготовка к испытанию

3.4.1. Перед сборкой все части абсорбционной аппаратуры высокого давления очищают от загрязнений, тщательно промывают и сушат.

Собранную аппаратуру (черт. 2) проверяют на герметичность по мыльной пленке.

3.4.2. Используемую стеклянную посуду промывают чистым этиловым спиртом и ацетоном, высушивают в сушильном шкафу и сохраняют в эксикаторе над осушителем.

3.4.3. При применении калориметрической бомбы стеклянный абсорбционный сосуд перед анализом ополаскивают чистым этиловым спиртом, высушивают в токе сухого воздуха и хранят закрытым.

3.4.4. Пробоотборную линию в течение 10 мин продувают испытуемым газом, сбрасывая его в атмосферу.

3.4.5. В абсорбционный сосуд через верхнее отверстие вводят 100 г диэтиленгликоля.

3.4.6. Пробоотборную линию присоединяют к аппаратуре и, медленно открывая входной вентиль, плавно повышают давление в абсорбционном сосуде до рабочего давления при закрытом выходном вентиле.

3.4.7. После достижения рабочего давления записывают показания газового счетчика, открывая выходной вентиль так, чтобы расход газа низкого давления составлял не более 2 дм3/мин.

3.4.8. Количество пропускаемого газа должно быть таким, чтобы привес воды в диэтиленгликоле был не меньше 0,25 %.

1 - вход газа; 2 - фильтр-патрон; 3 - абсорбционный сосуд; 4 - манометр; 5, 6, 7, 8 - запорные вентили; 9 - газовый счетчик

Черт. 2

3.4.9. По окончании опыта закрывают входной вентиль и оставшийся в аппаратуре газ пропускают до прекращения работы газового счетчика. Записывают показания счетчика, барометрическое давление, среднюю температуру газа в газовом счетчике, температуру газа и рабочее давление.

3.4.10. Поглотительный раствор выдерживают в абсорбционном сосуде в течение 10 - 15 мин и сливают в сухую колбу с притертой пробкой, изолировав от атмосферы.

3.5. Проведение испытания

3.5.1. Определение содержания воды в диэтиленгликоле после абсорбции газа проводят методом титрования раствором Карла Фишера или хроматографическим методом.

3.5.2. Определение содержания волы в диэтиленгликоле методом Карла Фишера проводят по СТ СЭВ 1489-79, причем определяют и содержание воды в исходном диэтиленгликоле до абсорбции.

3.5.3. Определение содержания воды в диэтиленгликоле хроматографическим методом

3.5.3.1. Разделительную колонку заполняют адсорбентом и в течение 24 ч стабилизируют продувкой газом - носителем при температуре 150 °С.

3.5.3.2. В зависимости от содержания воды в диэтиленгликоле и чувствительности детектора вводят от 2 до 5 мкл пробы в испаритель и хроматографируют в следующих условиях:

длина колонки, м                                     1 - 2

внутренний диаметр колонки, мм          3 - 4

температура колонки, °С                         110

температура испарителя, °С                   110

температура детектора, °С                      200

температура детектора, °С                      от 3 до 5

расход газа-носителя, дм3                   устанавливают в зависимости от его чувствительности и используемого газа-носителя.

3.5.3.3. В условиях, аналогичных п. 3.5.3.2, хроматографируют пробу исходного диэтиленгликоля до абсорбции и эталонного раствора воды в диэтиленгликоле.

3.5.3.4. После проведения около 20 анализов проводят регенерацию адсорбента путем продувки газом-носителем при температуре колонки 200 °С.

3.6. Обработка результатов

3.6.1. Массовую долю воды (W) в исходном диэтиленгликоле и диэтиленгликоле после абсорбции, определенную методом Карла Фишера, в процентах вычисляют по формуле

,                                                                  (3)

где Т - титр реактива Карла Фишера, мг/см3;

V - объем реактива Карла Фишера, израсходованный на титрование соответствующего диэтиленгликоля, см3;

m - масса соответствующего диэтиленгликоля, взятая для титрования, г.

3.6.2. Массовую долю воды (W) в исходном диэтиленгликоле и диэтиленгликоле после абсорбции, определенную хроматографическим методом, в процентах вычисляют по формуле

,                                                                 (4)

где S - площадь пика воды в соответствующем диэтиленгликоле, измеренная электронным интегратором или планиметром или рассчитанная как произведение высоты пика и его ширины, измеренной на половине высоты, мм2;

W1 - массовая доля воды в эталонном растворе диэтиленгликоля, %;

S1 - площадь пика воды в эталонном растворе диэтиленгликоля, измеренная электронным интегратором или планиметром или рассчитанная как произведение высоты пика и его ширины, измеренной на половине высоты, мм2.

3.6.3. Массовая доля воды (W2), абсорбированной из газа, в процентах вычисляют по формуле

,                                                              (5)

где W - массовая доля воды в диэтиленгликоле после абсорбции, %;

W0 - массовая доля воды в исходном диэтиленгликоле, %.

3.6.4. Среднюю концентрацию воды (W3) в диэтиленгликоле во время абсорбции в процентах вычисляют по формуле

.                                                            (6)

3.6.5. Концентрацию водяных паров, уходящих с газом (W4) после абсорбции диэтиленгликоля, определяют на основании среднего содержания воды (W3) в диэтиленгликоле и температуры газа во время абсорбции по табл. 3 обязательного приложения. Промежуточные значения, не указанные в табл. 3, вычисляют путем интерполяции.

3.6.6. Массовую концентрацию водяных паров в исследуемом газе (W5) в граммах на кубический метр на условия 0 или 20 °С и давление 101,325 МПа вычисляют по формуле

,                                            (7)

где W4 - концентрация водяных паров, уходящих с газом после абсорбции диэтиленгликолем, г/м3;

V1 - объем испытуемого газа, замеренный газовым счетчиком, дм3;

Р - абсолютное давление в абсорбционной аппаратуре, кПа;

W2 - массовая доля воды, абсорбированной из газа, %;

m1 - масса диэтиленгликоля, взятая на абсорбцию в абсорбционную аппаратуру, г;

V2 - объем испытуемого в дм3 газа, замеренный газовым счетчиком и пересчитанный на условия 0 или 20 °С и 101,325 кПа по следующим формулам:

,

,

где V1 - объем испытуемого газа, замеренный газовым счетчиком, дм3;

Рб - барометрическое давление, кПа;

Рг - давление газа в газовом счетчике, кПа;

Pw - давление насыщенного водяного пара при температуре t, кПа (при применении камерного (сухого) счетчика Pw = 0);

t - температура газа в газовом счетчике, °С.

(Измененная редакция, Изм. № 1).

3.6.7. За результат испытания принимают среднее арифметическое результатов двух параллельных определений, допускаемые расхождения которых не должны превышать ±10 % относительных при содержании водяных паров от 0,025 до 0,2 г/м3 (20 °С, 101,325 кПа) и ±0,02 г/м3 при содержании водяных паров более 0,2 г/м3.

ПРИЛОЖЕНИЕ

Обязательное

ТАБЛИЦЫ ДЛЯ РАСЧЕТА КОНЦЕНТРАЦИИ ВОДЯНЫХ ПАРОВ И ТОЧКИ РОСЫ ВЛАГИ

Таблица 1

Значения коэффициентов А и В для природных газов средней плотности 0,7 кг/м3

Температура точки росы, °С

А

В

Температура точки росы, °С

А

В

-40

0,1451

0,00347

+2

5,400

0,04610

-38

0,1780

0,00402

+4

6,225

0,05150

-36

0,2189

0,00465

+6

7,150

0,05710

-34

0,2670

0,00538

+8

8,200

0,06300

-32

0,3235

0,00623

+10

9,390

0,06960

-30

0,3910

0,00710

+12

10,72

0,07670

-28

0,4715

0,00806

+14

12,39

0,08550

-26

0,5660

0,00921

+16

13,94

0,09300

-24

0,6775

0,01043

+18

15,75

0,1020

-22

0,8090

0,01168

+20

17,87

0,1120

-20

0,9600

0,01310

+22

20,15

0,1227

-18

1,1440

0,01510

+24

22,80

0,1343

-16

1,350

0,01705

+26

25,50

0,1463

-14

1,590

0,01927

+28

28,70

0,1595

-12

1,868

0,02155

+30

32,30

0,1710

-10

2,188

0,02290

+32

36,10

0,1895

-8

2,550

0,02710

+34

40,50

0,2070

-6

2,990

0,03035

+36

45,20

0,2240

-4

3,480

0,03380

+38

50,80

0,2425

-2

4,030

0,03770

+40

56,25

0,2630

0

4,670

0,04180

 

 

 


Таблица 2

Определение температуры точки росы влаги

Давление, кПа

Температура точки росы влаги, °С, для концентрации водяных паров в г/м3 при давлении 101,325 кПа и температуре соответственно 20 и 0 °С

0,0075

0,0112

0,0150

0,0187

0,0225

0,030

0,0375

0,0449

0,0599

0,0749

0,112

0,150

0,187

0,225

0,300

0,375

0,449

0,399

0,749

0,0080

0,0121

0,0161

0,0201

0,0241

0,0322

0,0402

0,0482

0,0643

0,0804

0,161

0,161

0,201

0,241

0,322

0,402

0,482

0,643

0,804

98

-

-

-

-

 

 

-

-

-

-

-

-40,0

-38,0

-36,0

-33,0

-30,5

-28,5

-25,0

-23,0

490

-

-

-

-

-

-

-39,0

-37,0

-34,0

-31,5

-27,0

-24,0

-21,5

-19,0

-15,5

-13,0

-10,5

-7,0

-4,0

981

-

-

-

-39,5

-38,0

-35,5

-33,0

-30,5

-27,5

-25,0

-20,0

-16,5

-13,5

-12,0

-7,0

-4,0

-2,0

+1,5

+5,0

1471

-

-

-39,0

-36,5

-34,5

-31,0

-29,0

-27,0

-23,5

-21,0

-15,5

-12,0

-9,0

-6,5

-2,5

+0,5

+3,5

+7,5

+11,0

1961

-

-40,0

-36,5

-34,0

-32,0

-28,5

-26,5

-24,0

-20,5

-18,0

-12,5

-8,5

-5,5

-3,5

+1,0

+4,5

+7,0

+11,0

+15,0

2452

-

-38,0

-35,0

-32,0

-30,0

-27,0

-24,0

-22,0

-18,0

-15,0

-10,0

-6,0

-3,0

-0,5

+4,0

+7,5

+10,0

+14,5

+18,5

2942

-

-37,0

-33,5

-31,0

-28,5

-25,5

-22,5

-20,5

-16,5

-13,5

-8,0

-4,0

-1,0

+1,5

+6,0

+9,5

+12,0

+17,0

+21,0

3432

-

-36,0

-32,5

-30,0

-27,5

-24,0

-21,0

-19,0

-15,5

-12,0

-6,5

-2,5

+1,0

+3,5

+8,0

+11,5

+14,0

+19,0

+23,0

3923

-40,0

-35,0

-31,5

-29,0

-26,5

-23,0

-20,0

-18,0

-14,5

-11,0

-5,0

-1,0

+2,5

+5,0

+9,5

+13,5

+16,0

+21,0

+25,0

4413

-39,0

-34,0

-30,5

-28,0

-25,5

-22,0

-19,0

-17,0

-13,5

-10,0

-4,0

+0,5

+4,0

+6,5

+11,0

+15,0

+18,0

+23,0

+27,0

4903

-38,5

-33,5

-30,0

-27,0

-24,5

-21,0

-18,0

-16,0

-12,5

-9,0

-3,0

+1,5

+5,0

+8,0

+12,5

+16,5

+19,5

+24,5

+28,5

5394

-38,0

-33,0

-29,5

-26,5

-24,0

-20,0

-17,0

-15,0

-11,5

-8,0

-2,0

+2,5

+6,0

+9,0

+13,5

+17,5

+20,5

+25,5

+30,0

5884

-37,5

-32,5

-29,0

-26,0

-23,5

-19,5

-16,5

-14,0

-10,5

-7,0

-1,0

+3,5

+7,0

+1,0

+14,5

+18,5

+21,5

+26,5

+31,0

6374

-37,0

-32,0

-28,5

-25,5

-23,0

-19,0

-16,0

-13,5

-9,5

-6,0

-0

+4,5

+8,0

+11,0

+15,5

+19,5

+22,5

+27,5

+32,0

6865

-36,5

-31,5

-28,0

-25,0

-22,5

-18,5

-15,6

-13,0

-9,0

-5,5

+0,5

+5,0

+9,0

+12,0

+16,5

+20,5

+23,5

+28,5

+33,0

7355

-36,0

-31,0

-27,5

-24,5

-22,0

-18,0

-15,0

-12,5

-8,5

-5,0

+1,0

+5,5

+9,5

+12,5

+17,5

+21,5

+24,5

+29,5

+34,0

7845

-36,0

-31,0

-27,0

-24,0

-21,5

-17,5

-14,5

-12,0

-8,0

-4,5

+1,5

+6,0

+10,0

+13,0

+18,0

+22,0

+25,5

+30,5

+35,0


Таблица 3

Концентрация водяных паров, уходящих с газом

Среднее содержание воды в диэтиленгликоле, W3, %

Содержание водяных паров W4, г/м3, уходящих с газом при температуре °С

10

15

20

25

30

0,10

0,03

0,04

0,05

0,07

0,10

0,15

0,05

0,07

0,09

0,12

0,18

0,20

0,07

0,10

0,13

0,18

0,26

0,25

0,10

0,14

0,18

0,24

0,35

0,30

0,12

0,17

0,22

0,29

0,41

0,35

0,14

0,20

0,27

0,36

0,51

0,40

0,16

0,23

0,30

0,40

0,57

0,45

0,18

0,26

0,34

0,45

0,64

0,50

0,20

0,29

0,39

0,51

0,72

0,55

0,22

0,32

0,43

0,56

0,80

0,60

0,24

0,35

0,48

0,62

0,87

0,65

0,27

0,38

0,52

0,67

0,95

0,70

0,29

0,41

0,56

0,73

1,03

0,75

0,31

0,44

0,60

0,78

1,10

0,80

0,33

0,47

0,64

0,84

1,18

0,85

0,35

0,50

0,69

0,89

1,26

0,90

0,37

0,53

0,73

0,95

1,33

0,95

0,39

0,56

0,77

1,00

1,40

1,00

0,42

0,59

0,82

1,06

1,47

1,10

0,46

0,65

0,91

1,18

1,64

1,20

0,51

0,71

0,99

1,28

1,78

1,30

0,55

0,76

1,07

1,38

1,92

1,40

0,59

0,81

1,14

1,48

2,06

1,50

0,63

0,85

1,21

1,58

2,20

1,60

0,66

0,89

1,28

1,67

2,35

1,70

0,70

0,94

1,36

1,77

2,49

1,80

0,73

0,98

1,43

1,86

2,63

1,90

0,77

1,03

1,50

1,95

2,76

2,00

0,80

1,07

1,57

2,04

2,90

2,10

0,83

1,11

1,64

2,13

3,03

2,20

0,86

1,15

1,71

2,22

3,16

2,30

0,89

1,19

1,78

2,31

3,29

2,40

0,92

1,24

1,85

2,39

3,42

2,50

0,95

1,28

1,93

2,48

3,54

СОДЕРЖАНИЕ

 

 




ГОСТЫ, СТРОИТЕЛЬНЫЕ и ТЕХНИЧЕСКИЕ НОРМАТИВЫ.
Некоммерческая онлайн система, содержащая все Российские Госты, национальные Стандарты и нормативы.
В Системе содержится более 150000 файлов нормативно-технической документации, действующей на территории РФ.
Система предназначена для широкого круга инженерно-технических специалистов.

Рейтинг@Mail.ru Яндекс цитирования

Copyright © www.gostrf.com, 2008 - 2026