Крупнейшая бесплатная информационно-справочная система онлайн доступа к полному собранию технических нормативно-правовых актов РФ. Огромная база технических нормативов (более 150 тысяч документов) и полное собрание национальных стандартов, аутентичное официальной базе Госстандарта. GOSTRF.com - это более 1 Терабайта бесплатной технической информации для всех пользователей интернета. Все электронные копии представленных здесь документов могут распространяться без каких-либо ограничений. Поощряется распространение информации с этого сайта на любых других ресурсах. Каждый человек имеет право на неограниченный доступ к этим документам! Каждый человек имеет право на знание требований, изложенных в данных нормативно-правовых актах!

  


 

ГОСУДАРСТВЕННЫЙ СТАНДАРТ СОЮЗА ССР

МАТЕРИАЛЫ ЛАКОКРАСОЧНЫЕ

МЕТОДЫ ИСПЫТАНИЯ ПОКРЫТИЙ НА ИСТИРАНИЕ

ГОСТ 20811-75

ГОСУДАРСТВЕННЫЙ КОМИТЕТ СССР ПО СТАНДАРТАМ
МОСКВА

ГОСУДАРСТВЕННЫЙ СТАНДАРТ СОЮЗА ССР

МАТЕРИАЛЫ ЛАКОКРАСОЧНЫЕ

Методы испытания покрытий на истирание

Paintwork materials.
Methods of coating abrasion test

ГОСТ
20811-75*

Взамен
ОСТ 10086-39
в части М.И. 23

Постановлением Государственного комитета стандартов Совета Министров СССР от 11 мая 1975 г. № 1214 срок введения установлен

с 01.07.76

Проверен в 1985 г. Постановлением Госстандарта от 03.02.86 № 262 срок действия продлен

до 01.07.91

Несоблюдение стандарта преследуется по закону

Настоящий стандарт распространяется на лакокрасочные материалы и покрытия и устанавливает следующие методы испытания покрытий на абразивное истирание (износ):

метод А - определение прочности покрытия к истиранию падающим кварцевым песком;

метод Б - определение прочности покрытия к истиранию при трении шлифовальной шкуркой.

1. МЕТОД А

1.1. Сущность метода

Сущность метода заключается в определении массы кварцевого песка, необходимого для разрушения покрытия до подложки при падении на него струи песка.

Прочность покрытия к истиранию определяется количеством песка в килограммах, отнесенного к единице толщины покрытия в микрометрах. Метод применяется для покрытий толщиной не более 60 мкм.

1.2. Аппаратура и материалы

1.2.1. Устройство типа ИПП-1 для определения прочности покрытия к истиранию падающим песком по ТУ 6-10-1950-84 (черт. 1).

Допускается в соответствии с нормативно-технической документацией на испытуемый материал применять аппарат с направляющей трубкой длиной 500 мм, внутренним диаметром 5 мм и расстоянием от нижнего среза трубки до образца 60 мм.

(Измененная редакция, Изм. № 3).

Схема устройства

1 - штатив; 2 - направляющая трубка; 3 - воронка; 4 - площадка с креплением для образца и отверстием с вставленным матовым стеклом; 5 - резервуар для падающего песка; 6 - источник света мощностью не более 25 Вт (может быть расположен над площадкой 4)

Черт. 1

Черт. 1 (Измененная редакция, Изм. № 3).

1.2.2. Песок кварцевый природный по ГОСТ 6139-78.

Допускается применение кварцевого песка из других районов, соответствующего требованиям ГОСТ 6139-78.

1.2.3. Стекло для фотографических пластинок 9´12/1.2 - по ГОСТ 683-85.

Допускается применять пластинки из другого материала в соответствии с требованиями нормативно-технической документации на испытуемый материал.

1.2.4. Средство измерения толщины покрытий с погрешностью не более 5 %.

1.2.3, 1.2.4 (Измененная редакция, Изм. № 2, 3).

1.2.5. Весы лабораторные с наибольшим пределом взвешивания 5 кг и пределами допускаемой погрешности ±0,003 г.

(Введен дополнительно, Изм. № 3).

1.3. Подготовка к испытанию

1.3.1. Образцы лакокрасочных покрытий получают в соответствии с требованиями нормативно-технической документации на испытуемый материал.

При отсутствии этих указаний лакокрасочное покрытие получают по ГОСТ 8832-76 толщиной 25 - 40 мкм.

Покрытие должно быть равномерно по толщине и без подтеков.

(Измененная редакция, Изм. № 1).

1.3.2. Испытанию подвергают лакокрасочное покрытие после высыхания и времени выдержки перед испытанием, указанных в нормативно-технической документации на испытуемый материал.

Перед испытанием определяют толщину покрытия.

1.4. Проведение испытания

1.4.1. Испытание проводят при (20 ± 2) °С и относительной влажности воздуха (65 ± 5) %.

1.4.2. Проверяют вертикальное положение направляющей трубки с помощью отвеса или другого устройства.

Образец помещают на матовое стекло площадки покрытием кверху и плотно прикрепляют так, чтобы образец не сдвигался во время испытания. Включают источник света. В воронку насыпают не менее 2 кг песка, предварительно взвешенного с точностью до второго десятичного знака.

Из воронки песок высыпается в направляющую трубку и струей падает на образец. С образца песок ссыпается в резервуар. Если истирание покрытия до подложки не произошло, испытание продолжают. При этом песок, собранный в резервуаре, возвращают в воронку, подставляя вместо заполненного резервуара пустой. Истирание прекращают, как только обнаружится повреждение покрытия до подложки. В этот момент струю песка в направляющей трубке перекрывают заслонкой.

Песок, собранный в резервуаре, взвешивают с точностью до второго десятичного знака и записывают суммарное количество песка, израсходованное на истирание от начала испытания.

При проведении испытания на устройстве с направляющей трубкой длиной 500 мм в воронку насыпают 1 кг песка.

Проводят не менее трех испытаний, при этом каждое испытание на новом месте покрытия.

(Измененная редакция, Изм. № 3).

1.4.3. Песок после 30-кратного использования должен заменяться или промываться водой, высушиваться и просеиваться в соответствии с требованиями ГОСТ 6139-78.

1.5. Обработка результатов

Прочность покрытия к истиранию (X) в кг/мкм вычисляют по формуле

,

где m - масса песка, израсходованная на истирание, кг;

h - толщина покрытия, мкм.

За результат испытания принимают среднее арифметическое результатов не менее трех определений. Отклонение значений единичных измерений от среднего арифметического не должно превышать 10 %. Результат округляют до второго десятичного знака.

(Измененная редакция, Изм. № 3).

2. МЕТОД Б

2.1. Сущность метода

Сущность метода заключается в определении потери массы лакокрасочного покрытия в граммах в результате истирания поверхности покрытия движущейся лентой шлифовальной шкурки при заданной нагрузке на образец. Метод применяется для покрытий толщиной не менее 40 мкм.

(Новая редакция, Изм. № 3).

2.2. Аппаратура и материалы

2.2.1. Устройство для определения прочности покрытия к истиранию шлифовальной шкуркой типа УИЛ-2 по ТУ 6-23-10-89 (черт. 2):

скорость движения ленты шлифовальной шкурки, м/мин              1,55;

скорость перемещения столика, м/мин                                             0,15;

нагрузка на образец, кгс                                                                      0,5 - 2.

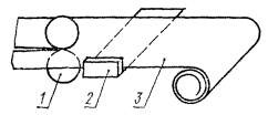
Схема устройства

1 - столик; 2 - образец; 3 - лентопротяжный ролик; 4 - сменные грузы; 5 - головка с лентопротяжным механизмом; 6 - лента шлифовальной шкурки; 7 - кассета; 8 - устройство для установления длины хода столика; 9 - шкала

Черт. 2

Работа устройства заключается в том, что истирание образца под заданной нагрузкой проводится движущейся шлифовальной лентой при одновременном перемещении столика с образцом в противоположном направлении.

(Измененная редакция, Изм. № 3).

2.2.2. Шкурка шлифовальная на бумажной основе марки (ГОСТ 6456-82), рулонная, с абразивом - электрокорунд нормальный, марки 14А, зернистостью М-40. Допускается применять ленту абразивную типа ЛНБ (ГОСТ 12439-79), изготовленную из указанной шлифовальной шкурки.

2.2.3. Стекло для фотографических пластинок 6,5´9/1.2 по ГОСТ 683-85.

Пластинки металлические из листовой стали по ГОСТ 16523-89 или ГОСТ 9045-80 и черной жести по ГОСТ 13345-85, размером 70´100 мм толщиной не более 1 мм. Пластинки не должны быть изогнутыми.

Допускаются пластинки из другого материала и другого размера в соответствии с требованиями нормативно-технической документации на испытуемый материал.

(Измененная редакция, Изм. № 1, 2, 3).

2.2.4. Контрольная пластинка из цинкового листа марки Ц0 (ГОСТ 598-90) размером 70´100 мм, толщиной 1 мм, с числом твердости по Брюнеллю НВ2,5/15,6/60 в пределах 20 - 35 для определения истирающей способности шлифовальной шкурки (прилагается к устройству).

(Новая редакция, Изм. № 3).

2.2.5. Весы лабораторные с наибольшим пределом взвешивания 200 г и пределами допускаемой погрешности ±0,0002 г.

2.2.6. Средство измерения толщины покрытия с погрешностью не более 5 %.

2.2.7. Кисть мягкая волосяная.

2.2.5 - 2.2.7. (Введены дополнительно, Изм. № 3).

2.3. Подготовка к испытанию

2.3.1. Образцы лакокрасочных покрытий получают по п. 1.3.1, но при этом толщина покрытия должна быть такой, чтобы покрытие при испытании не истиралось до подложки (не менее 40 мкм).

2.3.2. Условия выдержки покрытия перед испытанием - по п. 1.3.2.

2.3.3. (Исключен, Изм. № 3).

Допускается получать свободную пленку с пластинки из фторопласта-4 или другим методом в соответствии с требованиями нормативно-технической документации на испытуемый материал.

2.3.4. Часть рулона шлифовальной шкурки длиной примерно 15 м разрезают на специальном приспособлении (см. рекомендуемое приложение 1) на ленты шириной (15 ± 0,2) мм. При необходимости рулон предварительно разрезают по ширине на 2 - 3 части с допускаемым отклонением от первоначально выбранной ширины ±1 мм.

2.3.5. Столик устройства с помощью уровня устанавливают в горизонтальное положение.

(Измененная редакция, Изм. № 3).

2.3.6. Устанавливают по шкале длину площадки истирания покрытия не менее 50 мм, кратную 5 мм. Площадь истирания должна находиться на расстоянии от краев образца по длине 5 - 15 мм, по ширине не менее 5 мм.

2.3.7. Устанавливают груз для создания заданной нагрузки на образец.

2.3.8. Ленту шлифовальной шкурки, подготовленную по п. 2.3.4, наматывают на втулку кассеты, а затем свободный конец ленты заправляют в лентопротяжный механизм, надевая на рабочий ролик абразивом наружу.

2.3.9. Перед испытанием покрытий должна определяться истирающая способность шлифовальной шкурки каждого нового рулона.

2.4. Проведение испытания

2.4.1. Испытание проводят при (20 ± 2) °С и относительной влажности воздуха (65 ± 5) %.

2.4.2. Испытание образца проводят истиранием одной и той же площади покрытия три раза (три рабочих хода стола) при массе груза 1 кг, каждый раз на новом участке шлифовальной шкурки.

Допускается проводить испытание при массе груза, кратной 0,25 кг, если это указано в нормативно-технической документации на испытуемый материал.

(Новая редакция, Изм. № 3).

2.4.3. Определение потери массы покрытия в результате истирания.

Образец взвешивают с точностью до четвертого десятичного знака.

На столик устройства помещают образец покрытием вверх таким образом, чтобы трение поверхности покрытия проводилось на заданной площади истирания в соответствии с п. 2.3.6.

Закрепляют образец. Головку рабочим роликом опускают на поверхность образца («рабочее положение»).

Включают устройство на «рабочий ход».

Происходит истирание покрытия, автоматически прекращающееся по достижении установленной длины площади истирания.

Затем проводят «подъем» головки и переключение устройства на «обратный ход»; при этом столик с образцом возвращается в исходное положение.

После трех рабочих ходов столика образец вынимают, тщательно очищают кисточкой и взвешивают с точностью до четвертого десятичного знака. Покрытие не должно истираться до подложки. Образец, истертый до подложки, в расчет не принимается. Проводят не менее трех параллельных испытаний. Каждое испытание на новой площади покрытия.

(Измененная редакция, Изм. № 3).

2.4.4. (Исключен, Изм. № 3).

2.4.5. Определение истирающей способности шлифовальной шкурки

Испытания по определению истирающей способности шлифовальной шкурки проводят по п. 2.4.2, 2.4.3, при этом вместо испытуемого образца лакокрасочного покрытия применяют контрольную цинковую пластинку, устанавливая площадь истирания длиной 70 мм. Истирание проводят вдоль проката пластинки. При этом проводят испытания не менее трех лент, нарезанных с разных частей рулона (начало, середина, конец); на каждой ленте не менее трех параллельных испытаний. Параллельные испытания можно проводить на одной и той же площади истирания контрольной пластинки. Если контрольная пластинка не подвергалась истиранию, то ее предварительно притирают шлифовальной шкуркой по режиму испытания (п. 2.4.2). Контрольные пластинки перед притиркой не взвешивают.

Шкурка должна обеспечивать потерю массы контрольной цинковой пластинки, равную (0,0130 ± 0,0005) г. Для шкурки, не отвечающей данному требованию, определяют поправочный коэффициент (K), характеризующий ее истирающую способность (см. обязательное приложение 2).

(Измененная редакция, Изм. № 3).

2.5. Обработка результатов

2.5.1. (Исключен, Изм. № 3).

2.5.2. Прочность покрытия к истиранию (потеря массы) М в граммах вычисляют по формуле

М = K · (m1 - m2),

где K - поправочный коэффициент шлифовальной шкурки;

m1 - масса образца до истирания, г;

m2 - масса образца после истирания, г.

За результат испытания принимают среднее арифметическое результатов не менее трех параллельных определений. Отклонение значений единичных измерений от среднего арифметического не должно превышать 10 %.

(Новая редакция, Изм. № 3).

ПРИЛОЖЕНИЕ 1

Рекомендуемое

СХЕМА ПРИСПОСОБЛЕНИЯ ДЛЯ НАРЕЗАНИЯ ШЛИФОВАЛЬНОЙ ЛЕНТЫ

1 - нож дисковый; 2 - упор стола; 3 - шкурка шлифовальная

Конструкция приспособления должна обеспечивать возможность нарезания из рулонной шлифовальной шкурки ленты шириной (15 ± 0,2) мм.

Нарезание осуществляется двумя дисковыми ножами 1 с прижимными резиновыми роликами, вращающимися во встречном направлении друг к другу посредством двух шестерен и вала с рукояткой. Приспособление снабжено столиком для направленной подачи шкурки, имеющим боковой упор 2, к которому прикрепляется сменная стеклянная вставка, находящаяся в пазу плоскости столика.

ПРИЛОЖЕНИЕ 2
Обязательное

ОПРЕДЕЛЕНИЕ ПОПРАВОЧНОГО КОЭФФИЦИЕНТА ШЛИФОВАЛЬНОЙ ШКУРКИ

Поправочный коэффициент (K) вычисляют по формуле

,

где miк -     потеря массы контрольной цинковой пластинки, истертой шлифовальной шкуркой, г.

За потерю массы контрольной цинковой пластинки принимают среднее значение не менее чем из девяти параллельных определений, при этом каждое определение потери массы вычисляют по формуле

miк = m1к - m2к,

где m1к - масса контрольной цинковой пластинки до истирания, г;

m2к - масса контрольной цинковой пластинки после истирания, г.

Поправочный коэффициент вычисляют с точностью до 0,01.

Приложение 2. (Измененная редакция, Изм. № 3).

СОДЕРЖАНИЕ

 

 




ГОСТЫ, СТРОИТЕЛЬНЫЕ и ТЕХНИЧЕСКИЕ НОРМАТИВЫ.
Некоммерческая онлайн система, содержащая все Российские Госты, национальные Стандарты и нормативы.
В Системе содержится более 150000 файлов нормативно-технической документации, действующей на территории РФ.
Система предназначена для широкого круга инженерно-технических специалистов.

Рейтинг@Mail.ru Яндекс цитирования

Copyright © www.gostrf.com, 2008 - 2026