| |
МЕЖГОСУДАРСТВЕННЫЙ
СТАНДАРТ
|
СТОЙКИ УСТАНОВОЧНЫЕ
КРЕПЕЖНЫЕ КРУГЛЫЕ С ЛЫСКАМИ И РЕЗЬБОВЫМИ ОТВЕРСТИЯМИ
Конструкция и размеры
|
ГОСТ 20866-81
|
|
Adjusting
fixturing ring supports with flats and threaded holes. Design and dimensions
|
Взамен
ГОСТ 20866-75
|
Постановлением
Государственного комитета СССР по стандартам от 15 апреля 1981
г. № 1983 дата введения установлена
с 01.07.82
Ограничение срока действия
снято Постановлением Госстандарта от 10.09.92 № 1166
1. Настоящий стандарт
распространяется на круглые крепежные установочные стойки с лысками и
резьбовыми отверстиями, предназначенные для монтажа радиоэлектронной
аппаратуры, и устанавливает их конструкцию и размеры.
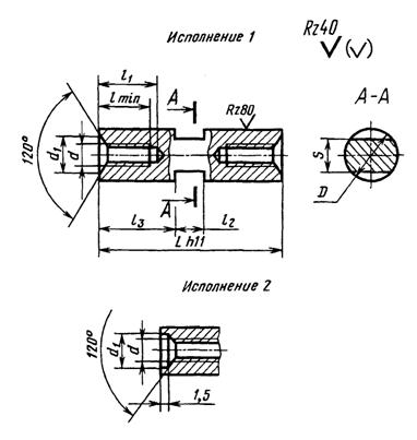
2. Конструкция и размеры
крепежных установочных стоек должны соответствовать указанным на чертеже и в
табл. 1 - 3.

Таблица 1
мм
|
Номинальный диаметр резьбы, d
|
2
|
2,5
|
3
|
4
|
5
|
6
|
8
|
|
Шаг резьбы, Р
|
0,40
|
0,45
|
0,50
|
0,70
|
0,80
|
1,00
|
1,25
|
|
Размер под ключ, S
|
Номинальный
|
4,0
|
5,0
|
5,5
|
7,0
|
8,0
|
10,0
|
13,0
|
|
Пред. откл.
|
-0,16
|
-0,20
|
-0,24
|
|
D
|
5
|
6
|
7
|
8
|
9
|
11
|
15
|
|
d1
|
2,2
|
2,7
|
3,2
|
4,3
|
5,3
|
6,4
|
8,4
|
|
l
|
4
|
5
|
6
|
7
|
8
|
9
|
12
|
|
l1
|
5
|
6
|
9
|
10
|
12
|
13
|
16
|
|
l2
|
5
|
6
|
8
|
10
|
12
|
Таблица 2
мм
|
L
|
Длина l3
и применяемость при номинальном диаметре резьбы d
|
|
2
|
2,5
|
3
|
4
|
5
|
6
|
8
|
|
6
|
0,5
|
|
0,6
|
|
|
|
|
|
|
|
|
|
|
|
7
|
1,0
|
|
1,0
|
|
|
|
|
|
|
|
|
|
|
|
8
|
1,5
|
|
1,5
|
|
|
|
|
|
|
|
|
|
|
|
9
|
2,0
|
|
2,0
|
|
|
|
|
|
|
|
|
|
|
|
10
|
2,5
|
|
2,5
|
|
2,5
|
|
2,0
|
|
|
|
|
|
|
|
11
|
3,0
|
|
3,0
|
|
3,0
|
|
2,5
|
|
|
|
|
|
|
|
12
|
3,5
|
|
3,5
|
|
3,5
|
|
3,0
|
|
|
|
|
|
|
|
13
|
4,0
|
|
4,0
|
|
4,0
|
|
3,5
|
|
|
|
|
|
|
|
14
|
4,5
|
|
4,5
|
|
4,5
|
|
4,0
|
|
|
|
|
|
|
|
15
|
5,0
|
|
5,0
|
|
5,0
|
|
4,5
|
|
|
|
|
|
|
|
16
|
5,5
|
|
5,5
|
|
5,5
|
|
5,0
|
|
|
|
|
|
|
|
17
|
6,0
|
|
6,0
|
|
6,0
|
|
5,5
|
|
|
|
|
|
|
|
18
|
6,5
|
|
6,5
|
|
6,5
|
|
6,0
|
|
|
|
|
|
|
|
19
|
7,0
|
|
7,0
|
|
7,0
|
|
6,5
|
|
|
|
|
|
|
|
20
|
7,5
|
|
7,5
|
|
7,5
|
|
7,0
|
|
|
|
|
|
|
|
22
|
8,5
|
|
8,5
|
|
8,5
|
|
8,0
|
|
|
|
|
|
|
|
24
|
9,5
|
|
9,5
|
|
9,5
|
|
9,0
|
|
|
|
|
|
|
|
26
|
10,5
|
|
10,5
|
|
10,5
|
|
10,0
|
|
|
|
|
|
|
|
28
|
11,5
|
|
11,5
|
|
11,5
|
|
11,0
|
|
|
|
|
|
|
|
30
|
12,5
|
|
12,5
|
|
12,5
|
|
12,0
|
|
11,0
|
|
|
|
|
|
32
|
|
|
13,5
|
|
13,5
|
|
13,0
|
|
12,0
|
|
|
|
|
|
34
|
|
|
14,5
|
|
14,5
|
|
14,0
|
|
13,0
|
|
|
|
|
|
36
|
|
|
15,5
|
|
15,5
|
|
15,0
|
|
14,0
|
|
|
|
|
|
38
|
|
|
16,5
|
|
16,5
|
|
16,0
|
|
15,0
|
|
|
|
|
|
40
|
|
|
17,5
|
|
17,5
|
|
17,0
|
|
16,0
|
|
15,0
|
|
|
|
42
|
|
|
|
|
18,5
|
|
18,0
|
|
17,0
|
|
16,0
|
|
|
|
45
|
|
|
|
|
20,0
|
|
19,5
|
|
18,5
|
|
17,5
|
|
|
|
48
|
|
|
|
|
21,5
|
|
21,0
|
|
20,5
|
|
19,0
|
|
|
|
50
|
|
|
|
|
22,5
|
|
22,0
|
|
21,5
|
|
20,0
|
|
|
|
53
|
|
|
|
|
24,0
|
|
23,5
|
|
22,5
|
|
21,5
|
|
|
|
55
|
|
|
|
|
25,0
|
|
24,5
|
|
23,5
|
|
22,5
|
|
|
|
58
|
|
|
|
|
26,5
|
|
26,0
|
|
25,0
|
|
24,0
|
|
|
|
60
|
|
|
|
|
27,5
|
|
27,0
|
|
26,0
|
|
25,0
|
|
|
|
65
|
|
|
|
|
|
|
29,5
|
|
28,5
|
|
27,5
|
|
|
|
70
|
|
|
|
|
|
|
32,0
|
|
31,0
|
|
30,0
|
|
29,0
|
|
75
|
|
|
|
|
|
|
34,5
|
|
33,5
|
|
32,5
|
|
31,5
|
|
80
|
|
|
|
|
|
|
37,0
|
|
36,0
|
|
35,0
|
|
34,0
|
|
85
|
|
|
|
|
|
|
39,5
|
|
38,5
|
|
37,5
|
|
36,5
|
|
90
|
|
|
|
|
|
|
42,0
|
|
41,0
|
|
40,0
|
|
39,0
|
|
95
|
|
|
|
|
|
|
44,5
|
|
43,5
|
|
42,5
|
|
41,5
|
|
100
|
|
|
|
|
|
|
47,0
|
|
46,0
|
|
45,0
|
|
44,0
|
|
110
|
|
|
|
|
|
|
52,0
|
|
51,0
|
|
50,0
|
|
49,0
|
|
120
|
|
|
|
|
|
|
|
|
56,0
|
|
55,0
|
|
54,0
|
|
130
|
|
|
|
|
|
|
|
|
61,0
|
|
60,0
|
|
59,0
|
|
140
|
|
|
|
|
|
|
|
|
|
|
65,0
|
|
64,0
|
|
150
|
|
|
|
|
|
|
|
|
|
|
|
|
69,0
|
Примечания:
1. Стойки, для которых значение l3 расположено над ломаной линией, следует
изготавливать со сквозным отверстием (L = l1).
2. Знак ограничения применяемости по типоразмерам
проставляют в графе рядом со значением l3.
Таблица 3
|
|
Масса 1000 шт., кг, стальных стоек при номинальном
диаметре резьбы d, мм
|
|
2
|
2,5
|
3
|
4
|
5
|
6
|
8
|
|
6
|
0,506
|
0,630
|
|
|
|
|
|
|
7
|
0,520
|
0,735
|
|
|
|
|
|
|
8
|
0,595
|
0,840
|
|
|
|
|
|
|
9
|
0,669
|
0,945
|
|
|
|
|
|
|
10
|
0,744
|
1,051
|
1,412
|
1,697
|
|
|
|
|
11
|
0,818
|
1,156
|
1,553
|
1,879
|
|
|
|
|
12
|
0,937
|
1,263
|
1,696
|
2,041
|
|
|
|
|
13
|
0,967
|
1,372
|
1,843
|
2,215
|
|
|
|
|
14
|
1,043
|
1,470
|
1,983
|
2,390
|
|
|
|
|
15
|
1,130
|
1,570
|
2,120
|
2,550
|
|
|
|
|
16
|
1,230
|
1,605
|
2,257
|
2,730
|
|
|
|
|
17
|
1,320
|
1,793
|
2,396
|
2,900
|
|
|
|
|
18
|
1,400
|
1,890
|
2,544
|
3,060
|
|
|
|
|
19
|
1,490
|
2,110
|
2,720
|
3,220
|
|
|
|
|
20
|
1,580
|
2,240
|
2,830
|
3,370
|
|
|
|
|
22
|
1,770
|
2,490
|
3,240
|
3,720
|
|
|
|
|
24
|
1,930
|
2,740
|
3,580
|
4,140
|
|
|
|
|
26
|
2,110
|
3,000
|
3,920
|
4,430
|
|
|
|
|
28
|
2,280
|
3,033
|
4,270
|
4,750
|
|
|
|
|
30
|
2,460
|
3,510
|
4,620
|
5,100
|
5,800
|
|
|
|
32
|
|
3,770
|
5,070
|
5,750
|
6,400
|
|
|
|
34
|
|
4,020
|
5,220
|
6,200
|
6,900
|
|
|
|
36
|
|
4,270
|
5,670
|
6,700
|
7,660
|
|
|
|
38
|
|
4,530
|
6,020
|
7,100
|
8,100
|
|
|
|
40
|
|
4,790
|
6,370
|
7,600
|
8,650
|
12,400
|
|
|
42
|
|
|
6,710
|
8,040
|
9,210
|
13,280
|
|
|
45
|
|
|
7,220
|
8,700
|
10,050
|
14,600
|
|
|
48
|
|
|
7,780
|
9,360
|
10,940
|
15,820
|
|
|
50
|
|
|
8,120
|
9,800
|
11,500
|
16,700
|
|
|
53
|
|
|
8,580
|
10,560
|
12,340
|
17,920
|
|
|
55
|
|
|
8,920
|
11,000
|
12,900
|
18,800
|
|
|
58
|
|
|
9,480
|
11,660
|
13,740
|
20,120
|
|
|
60
|
|
|
9,820
|
12,100
|
14,300
|
21,000
|
|
|
65
|
|
|
|
13,200
|
15,700
|
23,100
|
|
|
70
|
|
|
|
14,300
|
17,200
|
25,200
|
44,800
|
|
75
|
|
|
|
15,500
|
18,600
|
27,400
|
48,800
|
|
80
|
|
|
|
16,000
|
20,000
|
29,500
|
52,900
|
|
85
|
|
|
|
17,700
|
21,500
|
31,700
|
56,900
|
|
90
|
|
|
|
18,800
|
22,900
|
33,800
|
60,800
|
|
95
|
|
|
|
19,900
|
24,300
|
36,000
|
64,900
|
|
100
|
|
|
|
21,000
|
25,800
|
38,200
|
68,800
|
|
110
|
|
|
|
22,100
|
28,600
|
42,300
|
76,800
|
|
120
|
|
|
|
|
31,500
|
46,600
|
84,800
|
|
130
|
|
|
|
|
34,300
|
51,200
|
92,800
|
|
140
|
|
|
|
|
|
55,300
|
100,800
|
|
150
|
|
|
|
|
|
|
108,800
|
Примечание. Для определения массы стоек
из других материалов значения масс, указанные в таблице, следует умножать на
коэффициент: 0,356 - для алюминиевого слава; 1,08 - для латуни.
Пример условного обозначения
стойки исполнения 1 повышенной степени точности с диаметром резьбы d = 4 мм,
длиной L = 30 мм,
изготовленной из сплава марки В95Т1, покрытие окисное (05):
Стойка М4×30-В95Т1.05 ГОСТ 20866-81
То же, нормальной степени
точности:
Стойка Н М4×30-В95Т1.05 ГОСТ 20866-81
То же, исполнения 2
нормальной степени точности:
Стойка 2Н М4×30-В95Т1.05 ГОСТ 20866-81
То же, повышенной степени
точности:
Стойка 2М4×30-В95Т1.05 ГОСТ 20866-81
Примечание. Исполнение 1 и повышенную
степень точности в обозначении не указывают.
3. Марка материала и вид
покрытия стоек должны соответствовать указанным в табл. 4.
Таблица 4
|
Марка материала
|
Применяемость
|
Класс прочности или условное обозначение группы по
ГОСТ
1759.0-87, ГОСТ
1759.1-82, ГОСТ
1759.2-82, ГОСТ 1759.3-83, ГОСТ
1759.4-87, ГОСТ 1759.5-87
|
Покрытие
|
Обозначение материала и покрытия
|
|
Вид
|
Шаг резьбы Р, мм
|
Обозначение
|
|
по ГОСТ
9.306-85
|
условное
|
|
Сталь 35
ГОСТ
1050-88
|
|
5.6
|
Цинковое с хроматированием
|
До 0,45
|
Ц3-6.хр
|
01
|
56.013
|
|
0,5-0,75
|
Ц6-9.хр
|
56.016
|
|
0,8 и более
|
Ц9.хр
|
56.019
|
|
Кадмиевое с хроматированием
|
До 0,45
|
Кд3-6.хр
|
02
|
56.023
|
|
0,5-0,75
|
Кд6-9.хр
|
56.026
|
|
0,8 и более
|
Кд9.хр
|
56.029
|
|
Сталь А12
ГОСТ
1414-75
Сталь 10, 20
ГОСТ
1050-88
|
5.8
|
Цинковое с хроматированием
|
До 0,45
|
Ц3-6.хр
|
01
|
58.013
|
|
0,5-0,75
|
Ц6-9.хр
|
58.016
|
|
0,8 и более
|
Ц9.хр
|
58.019
|
|
Кадмиевое с хроматированием
|
До 0,45
|
Кд3-6.хр
Кд6-9.хр
|
02
|
58.023
|
|
0,5-0,75
|
58.026
|
|
0,8 и более
|
58.029
|
|
Сталь 12Х18Н9Т Сталь 14Х17Н2 ГОСТ
5632-72
|
21
|
Пассивное
|
0,4 и более
|
Хим. Пас.
|
11
|
21.11
|
|
Латунь ЛС59-1, Л63 ГОСТ
15527-2004
|
32
|
32.11
|
|
Сплав Д1, Д16 ГОСТ 4784-97
|
35
|
Окисное
|
0,4 и более
|
Ан. Окc.
|
05
|
35.05
|
|
Сплав В95Т1 ГОСТ
21488-97
|
В95Т1.05
|
|
Сплав ВТ5-1 ОСТ 190173-75
|
ВТ5.05
|
(Измененная редакция, Изм. № 1).
4. Технические требования
по ГОСТ 20868-81.
|
|