Крупнейшая бесплатная информационно-справочная система онлайн доступа к полному собранию технических нормативно-правовых актов РФ. Огромная база технических нормативов (более 150 тысяч документов) и полное собрание национальных стандартов, аутентичное официальной базе Госстандарта. GOSTRF.com - это более 1 Терабайта бесплатной технической информации для всех пользователей интернета. Все электронные копии представленных здесь документов могут распространяться без каких-либо ограничений. Поощряется распространение информации с этого сайта на любых других ресурсах. Каждый человек имеет право на неограниченный доступ к этим документам! Каждый человек имеет право на знание требований, изложенных в данных нормативно-правовых актах!

  


 

ГОСТ 26128-84

МЕЖГОСУДАРСТВЕННЫЙ СТАНДАРТ

ПЛЕНКИ ПОЛИМЕРНЫЕ

МЕТОДЫ ОПРЕДЕЛЕНИЯ СОПРОТИВЛЕНИЯ РАЗДИРУ

ИПК ИЗДАТЕЛЬСТВО СТАНДАРТОВ

Москва

МЕЖГОСУДАРСТВЕННЫЙ СТАНДАРТ

ПЛЕНКИ ПОЛИМЕРНЫЕ

Методы определения сопротивления раздиру

Polymer films. Methods of tear resistance
determination

ГОСТ
26128-84

Дата введения 01.01.85

Настоящий стандарт распространяется на полимерные пленки и пленочные материалы толщиной до 1 мм и устанавливает два метода определения сопротивления раздиру (А и Б).

Методы заключаются в растяжении испытуемого образца с концентратором напряжения с постоянной скоростью деформирования и определения сопротивления раздиру как отношение нагрузки к первоначальной толщине образца.

Метод А предусматривает испытание образца, концентратор напряжения которого создается надрезом.

Метод Б предусматривает испытание образца, концентратор напряжения которого создается его формой.

Метод А предназначен для испытания пленок с относительным удлинением при разрыве более 100 %, метод Б - для остальных видов полимерных пленок.

Настоящий стандарт не распространяется на пленки, изготовленные из армированных материалов, или имеющие неровную поверхность.

(Измененная редакция, Изм. № 1).

1. ОТБОР ОБРАЗЦОВ

1.1. Для определения сопротивления раздиру применяют следующие образцы:

для метода А - образец с надрезом типа I;

для метода Б - образец с концентратором напряжения под углом 90° типа II.

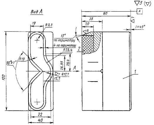
Форма и размеры образцов указаны на черт. 1. Предельные отклонения по длине и ширине образца и длине надреза ± 1 мм.

Черт. 1

(Измененная редакция, Изм. № 1).

1.2. Тип образцов, методы их отбора и испытания должны быть указаны в нормативно-технической документации на конкретную продукцию.

1.3. Для вырезания образцов используют бритвенное лезвие или другое режущее приспособление. Рекомендуемое режущее приспособление для образца типа II приведено в приложении.

Образцы вырезают так, чтобы края вершины надреза были ровными, гладкими, без зазубрин и других видимых дефектов. Для проверки качества краев надреза рекомендуется пользоваться лупой с кратностью увеличения не менее 8.

(Измененная редакция, Изм. № 1).

1.4. Количество образцов для испытания и направление их вырезания должны быть указаны в нормативно-технической документации на конкретную продукцию, но не менее пяти в каждом выбранном направлении.

1.5. Образцы кондиционируют по ГОСТ 12423 не менее 16 ч при температуре (23 ± 2) °С, относительной влажности (50 ± 5) %, если в нормативно-технической документации на конкретную продукцию нет других указаний.

2. АППАРАТУРА

2.1. Испытание проводят на разрывной или универсальной испытательной машине, которая должна обеспечивать: непрерывное измерение нагрузки с погрешностью не более 1 % от измеряемой величины, фиксацию максимального значения нагрузки, захваты машины - надежное без выскальзывания закрепление образцов. Рекомендуется применять машину, снабженную прибором для автоматической записи нагрузки.

2.2. Приборы для измерения толщины образцов выбирают в зависимости от толщины пленки по ГОСТ 17035.

3. ПРОВЕДЕНИЕ ИСПЫТАНИЯ

3.1. Перед испытанием измеряют толщину образцов.

Для образца типа I толщину измеряют в трех равноотстоящих точках между вершиной надреза и концом зоны испытания образца и вычисляют среднее значение. Для образца типа II толщину измеряют в одной точке зоны концентратора напряжения.

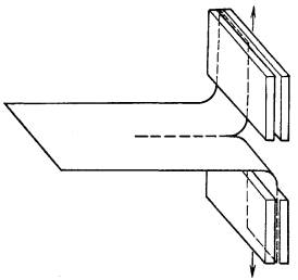
3.2. Устанавливают расстояние между зажимами 75 мм для образца типа I и 50 мм для образца типа II и закрепляют образцы. Для образцов типа I наибольшая ось должна совпадать с центрами зажимов (черт. ), для образцов типа II линия раздира должна быть перпендикулярна линии центра зажимов.

(Измененная редакция, Изм. № 1).

3.3. Испытание проводят при температуре (23 ± 2) °С и относительной влажности (50 ± 5) %, если в нормативно-технической документации на конкретную продукцию нет других указаний.

Способ фиксации образца типа I

Черт. 1а

3.4. Испытание проводят при скорости раздвижения зажимов (200 ± 20) мм/мин для образцов типа I и (50 ± 5) мм/мин для образцов типа II.

3.5. Зона испытания образца типа I не менее 50 мм от вершины надреза. Нагрузку раздира в этом случае определяют через каждые 5 мм зоны испытания образца или 10 мм перемещения подвижного захвата разрывной машины и вычисляют среднее арифметическое десяти показаний. При длине зоны испытания менее 50 мм допускается проводить испытания на образцах шириной 80 мм.

Образцы типа II испытывают до полного разрыва.

(Измененная редакция, Изм. № 1).

3.6. Результаты испытания образцов, раздир которых произошел не по линии надреза, не учитывают, и испытание повторяют на новых образцах. Если при повторном испытании раздир снова происходит не по линии надреза, то результаты испытаний считают окончательными, а в протоколе испытания делают отметку о направлении раздира.

4. ОБРАБОТКА РЕЗУЛЬТАТОВ

4.1. Сопротивление раздиру (sразд) в Н/мм вычисляют по формуле

где F - нагрузка раздира образца, Н;

d - первоначальная толщина образца, мм.

4.2. Диаграмма «нагрузка-деформация», вычерчиваемая самописцем разрывной машины (не маятникового типа), имеет различную форму в зависимости от природы испытуемого материала.

Пренебрегают нагрузками раздира на первых 20 мм и последних 5 мм длины неразрезанной части образца и определяют приблизительную среднюю нагрузку при раздире на остальных 50 мм длины неразрезанной части образца. Если эта часть кривой, представляет волнистое плато, проводят среднюю линию, параллельную оси абсцисс, через волнистую кривую (черт. 2).

Нагрузку, соответствующую этой линии, записывают как нагрузку раздира образца.

Черт. 2

Черт. 3

(Измененная редакция, Изм. № 1).

4.3. Для образцов, результаты испытаний которых не дают волнообразного графика (черт. 3), за нагрузку раздира принимают максимальную нагрузку за весь период испытания.

4.4. За окончательный результат испытания принимают среднее арифметическое сопротивление раздиру испытанных образцов. Результат округляют с точностью до второго десятичного знака.

Стандартное отклонение вычисляют по ГОСТ 14359 с точностью, предусмотренной для вычисления среднего арифметического значения.

4.5. Результаты испытаний записывают в протокол, который должен содержать следующие данные:

наименование предприятия-изготовителя, номер и дату изготовления партии;

наименование и марку испытуемого материала;

число образцов, взятых для испытания;

толщину испытуемых образцов;

метод испытания А или Б;

тип и марку испытательной машины и скорость испытания;

направление вырезания образца;

условия кондиционирования, температуру и влажность воздуха в помещении, где проводилось испытание;

отдельное значение определяемого показателя каждого образца и среднее арифметическое значение;

стандартное отклонение (если предусмотрено в нормативно-технической документации на конкретную продукцию);

дату испытания и обозначение настоящего стандарта.

4.4, 4.5. (Измененная редакция, Изм. № 1).

ПРИЛОЖЕНИЕ

Справочное

Приспособление для вырезания образцов типа II (черт. 2) состоит из корпуса 1 и резиновой вставки 2.

Вырезание образцов производят данным приспособлением при помощи гидравлического или ручного пресса.

Черт. 2*

ПРИЛОЖЕНИЕ. (Измененная редакция, Изм. № 1).

* Чертеж 1. (Исключен, Изм. № 1).

ИНФОРМАЦИОННЫЕ ДАННЫЕ

1. РАЗРАБОТАН И ВНЕСЕН Министерством химической промышленности СССР

2. УТВЕРЖДЕН И ВВЕДЕН В ДЕЙСТВИЕ Постановлением Государственного комитета СССР по стандартам от 26.03.84 № 979

3. ВВЕДЕН ВПЕРВЫЕ

4. Стандарт полностью соответствует международному стандарту ИСО 6383-1-83 в части метода А

5. ССЫЛОЧНЫЕ НОРМАТИВНО-ТЕХНИЧЕСКИЕ ДОКУМЕНТЫ

Обозначение НТД, на который дана ссылка

Номер пункта

ГОСТ 12423-66

1.5

ГОСТ 14359-69

4.4

ГОСТ 17035-86

2.2

6. Ограничение срока действия снято по протоколу № 7-95 Межгосударственного совета по стандартизации, метрологии и сертификации (ИУС 11-95)

7. ИЗДАНИЕ (август 2003 г.) с Изменением № 1, утвержденным в июне 1989 г. (ИУС 8-89)

СОДЕРЖАНИЕ

 

 




ГОСТЫ, СТРОИТЕЛЬНЫЕ и ТЕХНИЧЕСКИЕ НОРМАТИВЫ.
Некоммерческая онлайн система, содержащая все Российские Госты, национальные Стандарты и нормативы.
В Системе содержится более 150000 файлов нормативно-технической документации, действующей на территории РФ.
Система предназначена для широкого круга инженерно-технических специалистов.

Рейтинг@Mail.ru Яндекс цитирования

Copyright © www.gostrf.com, 2008 - 2026