Крупнейшая бесплатная информационно-справочная система онлайн доступа к полному собранию технических нормативно-правовых актов РФ. Огромная база технических нормативов (более 150 тысяч документов) и полное собрание национальных стандартов, аутентичное официальной базе Госстандарта. GOSTRF.com - это более 1 Терабайта бесплатной технической информации для всех пользователей интернета. Все электронные копии представленных здесь документов могут распространяться без каких-либо ограничений. Поощряется распространение информации с этого сайта на любых других ресурсах. Каждый человек имеет право на неограниченный доступ к этим документам! Каждый человек имеет право на знание требований, изложенных в данных нормативно-правовых актах!

  


 

 

ГОСУДАРСТВЕННЫЙ СТАНДАРТ СОЮЗА ССР

СИСТЕМА ПРОЕКТНОЙ ДОКУМЕНТАЦИИ ДЛЯ СТРОИТЕЛЬСТВА

ИНТЕРЬЕРЫ

 

РАБОЧИЕ ЧЕРТЕЖИ

 

ГОСТ 21.507-81

(СТ СЭВ 4410-83)

 

ГОСУДАРСТВЕННЫЙ СТРОИТЕЛЬНЫЙ КОМИТЕТ СССР

Москва

 

ГОСУДАРСТВЕННЫЙ СТАНДАРТ СОЮЗА ССР

Система проектной документации для строительства

ИНТЕРЬЕРЫ

Рабочие чертежи

System of design documents for construction.
Interiors. Working drawings

ГОСТ
21.507-81*

(СТ СЭВ 4410-83)

Постановлением Государственного комитета СССР по делам строительства от 2 апреля 1981 г. № 48 срок введения установлен

с 01.01.82

Несоблюдение стандарта преследуется по закону

 

1. Настоящий стандарт устанавливает состав и правила оформления рабочих чертежей архитектурных решений интерьеров производственных и вспомогательных здании всех отраслей промышленности и народного хозяйства.

Стандарт полностью соответствует СТ СЭВ 4410-83.

(Измененная редакция, Изм. № 1).

2. Необходимость разработки рабочих чертежей архитектурных решений интерьеров устанавливается заданием на проектирование.

3. Рабочие чертежи архитектурных решений интерьеров выполняют в соответствии с требованиями настоящего стандарта и других стандартов системы проектной документации для строительства.

4. В состав рабочих чертежей архитектурных решений интерьеров включают:

рабочие чертежи, предназначенные для выполнения отделочных работ внутри здания (основной комплект рабочих чертежей марки АИ);

чертежи элементов интерьеров, не вошедших в состав рабочих чертежей других марок;

ведомость потребности в материалах;

образцы колеров (при отсутствии номеров цвета по картотеке цветовых эталонов в стандартах или ТУ).

5. В состав основного комплекта рабочих чертежей марки АИ, как правило, включают:

общие данные по рабочим чертежам;

планы этажей здания;

виды и развертки внутренних поверхностей стен;

планы полов и потолков;

фрагменты планов, видов и разверток;

шаблоны;

схемы технологических и санитарно-технических коммуникаций с опознавательной и сигнально-предупреждающей окраской;

ведомость отделки помещений;

спецификацию.

Состав основного комплекта может быть уточнен в зависимости от особенностей интерьеров.

6. Общие данные по рабочим чертежам выполняют по ГОСТ 21.102-79.

В состав общих данных по рабочим чертежам в дополнение к данным, предусмотренным ГОСТ 21.102-79, включают ведомость отделочных и лакокрасочных материалов и, при необходимости, указания по отделочным работам.

7. Ведомость отделочных и лакокрасочных материалов составляют по форме, приведенной на черт. 1. В графах ведомости указывают:

а) в графе «№ цвета по проекту» - порядовый номер цвета, принятый в рабочих чертежах марки АИ;

б) в графе «Наименование и обозначение материала» - наименование отделочного или лакокрасочного материала, его марку или тип по стандарту или ТУ и обозначение стандарта или ТУ;

в) в графе «Наименование и номера эталонов цвета» - принятое по стандарту или ТУ наименование цвета отделочного или лакокрасочного материала и его номер по картотеке цветовых эталонов. При отсутствии номера цвета по картотеке цветовых эталонов в стандартах или ТУ номер цвета в графе не проставляют;

г) в графе «Кол.» - количество отделочных или лакокрасочных материалов каждого цвета;

д) в графе «Примечание» - дополнительные данные, например, единицы измерения, если они приняты не в штуках; ссылка на альбом образцов колеров.

Ведомость отделочных и лакокрасочных материалов

Черт. 1

Запись отделочных и лакокрасочных материалов в ведомости производят по разделам, соответствующим различным видам материалов. Наименование разделов записывают в графу «Наименование и обозначение материала» в виде заголовков и подчеркивают.

Пример заполнения ведомости отделочных и лакокрасочных материалов приведен на черт. 2.

Ведомость отделочных и лакокрасочных материалов

Черт. 2

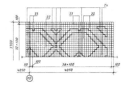
8. Планы этажей выполняют в масштабах, предусмотренных ГОСТ 21.501-80. Виды и развертки внутренних поверхностен стен выполняют в масштабах 1:50 - 1:500 по ГОСТ 2.302-68.

9. На планах этажей (черт. 3), видах (черт. 5) и развертках внутренних поверхностей стен и их фрагментах указывают (черт. 4):

координационные оси здания, расстояния между ними и крайними осями;

подъемно-транспортное оборудование;

мебель;

элементы монументально-декоративного оформления;

марки (позиции) элементов интерьера, не учтенных в основных комплектах рабочих чертежей других марок;

границы участков пола (на планах этажей при отсутствии плана полов) и стен (на видах и развертках внутренних поверхностей стен), различных по материалу, цвету и рисунку;

номер цвета поверхности элементов интерьера по проекту;

ссылки на фрагменты.

На планах этажей, кроме того, указывают обозначения и ограждения проходов и проездов, расположение мебели, внутреннего озеленения, а также наименования или номера помещений и технологических участков по ГОСТ 21.501-80.

(Измененная редакция, Изм. № 1).

10. Планы полов и потолков выполняют в масштабах 1:20 - 1:100 по ГОСТ 2.302-68.

 

Черт. 3

 

Черт. 4

 

Черт. 5

11. На планах полов и их фрагментах (черт. 6) указывают:

координационные оси здания;

рисунок покрытия пола или ссылки на соответствующие фрагменты плана полов;

номер цвета покрытия пола.

Допускается рисунок пола выявлять сплошной толстой линией, ограничивающей контуры элементов рисунка, или штриховкой элементов сплошной тонкой линией.

 

Черт. 6

(Измененная редакция, Изм. № 1).

12. На планах потолков (черт. 7) указывают:

координационные оси здания;

размещение и марки светильников, решеток вентиляционных устройств и других элементов потолков, не учтенных в основных комплектах рабочих чертежей других марок.

13. Масштабы фрагментов планов, видов, разверток и разрезов принимают по ГОСТ 2.302-68 с учетом сложности чертежа.

14. Шаблоны выполняют, как правило, в масштабе 1:1.

15. Номер цвета поверхности элемента интерьера на планах и их фрагментах, видах и развертках указывают арабскими цифрами на полке линии-выноски (черт. 8а и б).

Допускается от одной полки проводить две и более линии-выноски (черт. 9).

Номер преобладающего цвета поверхностей элементов допускается не наносить на чертежах, а оговаривать его в общих указаниях.

Отделку поверхностей штукатуркой, окраской, оклейкой обоями и другими материалами, которые практически не влияют на толщину конструкций, не изображают.

Отделку поверхностей облицовкой из материалов, влияющих на толщину конструкций, например: камнем, деревом, металлическими и керамическими материалами, изображают на планах и в разрезах, выполненных в масштабе М1:50 и мельче, одной сплошной тонкой линией независимо от количества слоев. Выносные надписи к многослойной отделке наносят по ГОСТ 21.105-79.

Высоту облицовки допускается указывать в плане в круглых скобках (черт. 9а). Если облицовка начинается не от уровня пола, то, кроме того, допускается перед скобками указывать расстояние от уровня пола до низа облицовки (черт. 9б).

(Измененная редакция, Изм. № 1).

16. Ведомость отделки помещений выполняют по форме 1 ГОСТ 21.501-80 с учетом следующего:

в графах «Вид отделки» дополнительно указывают номер цвета по проекту в соответствии с ведомостью отделочных и лакокрасочных материалов или, при наличии чертежа, на котором указаны номера цвета, приводят ссылку на этот чертеж. Например: «Окраска - цвет № 2»; «Плитка керамическая - цвет № 17» или «См. черт. 5».

В ведомости отделки помещений, при необходимости, приводят дополнительные графы, в которых указывают рекомендуемые цвета окраски технологического оборудования.

В примечании под таблицей делают запись: «Номера цвета и соответствующий материал отделки см. ведомость отделочных и лакокрасочных материалов в общих данных по рабочим чертежам».

 

Черт. 7

 

 

17. Спецификацию к рабочим чертежам основного комплекта марки АИ выполняют по форме 1 или 2 ГОСТ 21.104-79.

В спецификацию включают элементы интерьера, не учтенные в спецификациях к рабочим чертежам основных комплектов других марок.

18. Ведомость потребности в материалах выполняют по ГОСТ 21.109-80.

В ведомость включают материалы, потребные для выполнения отделочных работ и изготовления элементов интерьера и не учтенные в ведомостях потребности в материалах, выполненных по рабочим чертежам основных комплектов других марок.

19. Образцы колеров (цвета), принятых в рабочих чертежах основного комплекта марки АИ, выполняют на листах размерами 52´148 мм. На оборотной стороне каждого образца указывают наименование и номер цвета по проекту.

Листы с образцами колеров брошюруют в порядке возрастания номеров в виде альбома.

20. Альбом образцов колеров должен иметь титульный лист, который является первым листом альбома. На титульном листе (черт. 10) указывают:

наименование министерства или ведомства, в систему которого входит организация, разработавшая образцы колеров, и наименование этой организации;

наименование предприятия, в состав которого входит здание;

наименование здания;

наименование и обозначение альбома;

год выпуска альбома.

На обратной стороне титульного листа (черт. 11) помещают фамилии, подписи начальника отдела (сектора) и исполнителей, а также дату подписания документа.

 

Черт. 10

Черт. 11

 

 

 

 




ГОСТЫ, СТРОИТЕЛЬНЫЕ и ТЕХНИЧЕСКИЕ НОРМАТИВЫ.
Некоммерческая онлайн система, содержащая все Российские Госты, национальные Стандарты и нормативы.
В Системе содержится более 150000 файлов нормативно-технической документации, действующей на территории РФ.
Система предназначена для широкого круга инженерно-технических специалистов.

Рейтинг@Mail.ru Яндекс цитирования

Copyright © www.gostrf.com, 2008 - 2026