Крупнейшая бесплатная информационно-справочная система онлайн доступа к полному собранию технических нормативно-правовых актов РФ. Огромная база технических нормативов (более 150 тысяч документов) и полное собрание национальных стандартов, аутентичное официальной базе Госстандарта. GOSTRF.com - это более 1 Терабайта бесплатной технической информации для всех пользователей интернета. Все электронные копии представленных здесь документов могут распространяться без каких-либо ограничений. Поощряется распространение информации с этого сайта на любых других ресурсах. Каждый человек имеет право на неограниченный доступ к этим документам! Каждый человек имеет право на знание требований, изложенных в данных нормативно-правовых актах!

  


 

ГОСУДАРСТВЕННЫЙ СТАНДАРТ СОЮЗА ССР

ЗДАНИЯ И СООРУЖЕНИЯ

МЕТОДЫ ОПРЕДЕЛЕНИЯ СОПРОТИВЛЕНИЯ ВОЗДУХОПРОНИЦАНИЮ ОГРАЖДАЮЩИХ КОНСТРУКЦИЙ

ГОСТ 25891-83

ГОСУДАРСТВЕННЫЙ КОМИТЕТ СССР ПО ДЕЛАМ СТРОИТЕЛЬСТВА

Москва

СОДЕРЖАНИЕ

разработан

Научно-исследовательским институтом строительной физики (НИИСФ) Госстроя СССР

Научно-исследовательским институтом строительных конструкций (НИИСК) Госстроя СССР

Центральным научно-исследовательским и проектным институтом типового и экспериментального проектирования жилища (ЦНИИЭП-жилища) Госгражданстроя

ИСПОЛНИТЕЛИ

Ф.В. Ушков, д-р техн. наук; М.Д. Артемов, канд. техн. наук (руководитель темы); В.П. Хоменко, канд. техн. наук; В.С. Беляев, канд. техн. наук; И.С. Лифанов; А.А. Захарова

ВНЕСЕН Научно-исследовательским институтом строительной физики (НИИСФ) Госстроя СССР

Директор В.А. Дроздов

УТВЕРЖДЕН И ВВЕДЕН В ДЕЙСТВИЕ Постановлением Государственного Комитета СССР по делам строительства от 15 июня 1983 г. № 118

ГОСУДАРСТВЕННЫЙ СТАНДАРТ СОЮЗА ССР

ЗДАНИЯ И СООРУЖЕНИЯ

Методы определения сопротивления воздухопроницанию ограждающих конструкций

Buildings and structures. Methods of determination of airtightness of enclosing structures

ГОСТ

25891-83

Постановлением Государственного комитета по делам строительства от 15 июня 1983 г. № 118 срок введения установлен

с 01.01.84

Настоящий стандарт распространяется на ограждающие конструкции зданий и сооружений: стены, перегородки, перекрытия, покрытия, окна, витрины, фонари, двери и устанавливает методы определения сопротивления их воздухопроницанию при лабораторных испытаниях и в условиях эксплуатации.

Сущность метода заключается в том, что через образец конструкции или фрагмент, расположенный в рабочем положении, пропускают поток воздуха и после установления стационарного режима измеряют расход фильтрующегося через образец воздуха и перепад давления на его противоположных поверхностях. Величину сопротивления воздухопроницанию ограждающих конструкций или их стыков вычисляют по результатам измерений.

1. ОТБОР ОБРАЗЦОВ

1.1. Образцами для испытания в лабораторных условиях являются: изделия заводского изготовления - окна, витрины, фонари, двери, ворота; фрагменты стен, перегородок.

1.2. Образцами для испытаний в условиях эксплуатации зданий и сооружений, являются: фрагменты стен, перегородок, перекрытий, покрытий окон, витрин, фонарей, дверей, ворот.

1.3. Порядок отбора образцов, подлежащих испытанию, их количество устанавливаются стандартами или техническими условиями на конкретные ограждающие конструкции. Если этими документами не установлено количество образцов, то количество однотипных образцов, подлежащих испытанию, должно быть не менее трех.

1.4. Размеры образца не должны быть более 3000 мм и менее 1000 мм.

1.5. Материал испытуемого образца должен иметь нормируемую влажность.

1.6. При испытании в условиях эксплуатации зданий и сооружений фрагменты стен, перегородок, перекрытий, покрытий, дверей, ворот, фонарей, окон, витрин при непрерывном остеклении по высоте и ширине фасада должны выбираться таким образом, чтобы количество погонных метров стыковых соединений различных элементов ограждений, приходящееся на 1 м фрагмента, было близко 1; среднему по всему ограждению здания.

2. АППАРАТУРА И ОБОРУДОВАНИЕ

2.1. Установки для определения сопротивления воздухопроницанию состоят из:

камеры с пятью жесткими герметичными стенками, трансформируемым проемом для плотной установки образца, опорными штангами и передвижными домкратами для его крепления (черт. 1);

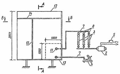
Схема установки для определения сопротивления воздухопроницанию ограждающих конструкций в лабораторных условиях

1 - камера; 2 - воздушный насос; 3 - измеритель расхода воздуха; 4 - микроманометр; 5 - регулятор расхода воздуха; 6 - образец (окна, стены, перегородки); 7 - резиновые шланги; 8 - воздушные запорные краны; 9 - плоская пористая резина; 10 - мастика; 11 - штуцер; 12 - днище; 13 - горизонтальная и вертикальная неподвижные стенки; 14 - горизонтальная подвижная стенка; 15 - вертикальная складывающаяся стенка; 16 - опорные штанги; 17 - передвижные домкраты

Черт. 1

камеры с оболочкой из воздухонепроницаемого материала (черт. 2).

Схема установки для определения сопротивления воздухопроницанию ограждающих конструкций в условиях эксплуатации зданий и сооружений

1 - камера; 2 - воздушный насос; 3 - измеритель расхода воздуха (ротаметры); 4 - микроманометр; 5 - регулятор расхода воздуха; 6 - образец (окна, стены, перегородки, перекрытия, покрытия); 7 - резиновые шланги; 8 - воздушные запорные краны; 9 - пористая резина; 10 - мастика; 11 - штуцер; 12 - оболочка из воздухонепроницаемого материала; 13 - полиэтиленовая пленка; 14 - швеллер; 15 - шуруп; 16 - виниловая трубка

Черт. 2

Материал по контуру к образцу крепят при помощи рамки из раздвижных алюминиевых швеллеров размером 30 ´ 20 ´ 2 мм и 40 ´ 20 ´ 2 мм по ГОСТ 13623-80. Между полками швеллеров располагают резиновую пористую прокладку диаметром 50 мм по ГОСТ 19177-81. Рамку к деревянным или бетонным поверхностям крепят шурупами А5 ´ 70 по ГОСТ 1146-80 с шагом 250 мм, а к металлическим — винтами 5 ´ 45-021 по ГОСТ 17474-80 с шагом 250 мм;

воздушного насоса с регулируемой интенсивностью расхода воздуха от 0 до 200 м/ч для создания или поддержания заданного избыточного или пониженного давления воздуха в камере (например, пылесос по ГОСТ 16999-79 или ГОСТ 10280-75). Воздушный насос соединяют с измерителем расхода при помощи резиновых шлангов;

микроманометра по ГОСТ 11161-71 для измерения избыточного или пониженного давления в камере от 0 до 200 даПа (от 0 до 200 мм вод. ст.). Погрешность при измерении перепада давлений воздуха ± 1 %. Микроманометр соединен с камерой при помощи резиновых шлангов;

измеритель расхода воздуха — один или несколько ротаметров РМ по ГОСТ 13045-81 с пределами измерения от 0 до 200 м3/ч. Интервалы температур воздуха при измерении от минус 30 °С до плюс 50 °С, относительная влажность воздуха 30-80 %, погрешность при измерении расхода воздуха ± 2,5 %. Допускается применять с качестве измерителя расхода воздуха патрубок с термоанемометром по ГОСТ 8.361-79;

барометра по ГОСТ 23696-79 для измерения атмосферного давления воздуха;

термометра по ГОСТ 112-78 для измерения температуры воздуха;

стальной рулетки по ГОСТ 7502-80 для измерения габаритов образца.

2.2. В комплекте установки допускается применять и другие средства измерений, обеспечивающие соблюдение требований, указанных в п. 2.1.

2.3. Спецификация изделий и элементов установки для определения сопротивления воздухопроницанию конструкций приведена в справочном приложении 3.

3. ПОДГОТОВКА К ИСПЫТАНИЮ

3.1. Подготовка образца

3.1.1. Определяют целостность образца и соответствие его проектным данным, работоспособность приборов открывания (для окон, дверей и ворот). Образцы, имеющие заводской брак, к испытанию не допускают.

3.1.2. Определяют размеры образца при помощи стальной рулетки по ГОСТ 7502-80: для окон, витрин, фонарей, дверей, ворот - по проему в свету при размещении их в стене или по наружному обмеру коробок при испытании изделия; для фрагментов стен, перегородок, перекрытий и покрытий - по наружному обмеру камеры; для стыков ограждающих конструкций - по длине стыка в пределах камеры.

3.1.3. Торцовые поверхности деревянных образцов во избежание подсоса воздуха перед испытанием в лабораторных условиях должны быть покрашены за 2 раза масляной краской; бетонных и кирпичных образцов - должны быть покрыты за 2 раза мастикой. Фрагменты стен, перегородок, перекрытий, покрытий, включая и их стыки, во избежании подсоса воздуха перед испытанием в условиях эксплуатации зданий и сооружений должны быть покрыты мастикой или пластичной глиной по периметру от оболочки на ширину, равную двум толщинам фрагмента, но не менее 500 мм. При невозможности промазки мастикой в условиях эксплуатации зданий допускается испытывать фрагменты дважды: когда фрагмент с внешней стороны закрыт пленкой размером по внешнему габариту камеры и когда фрагмент с внешней стороны не имеет пленки. В этом случае за результат принимают разность расходов воздуха.

3.2. Подготовка установки

3.2.1. Производят герметичное крепление оболочки по контуру образца при помощи пористой резины н мастики (черт. 1), при помощи рамки из раздвижных металлических швеллеров н резиновой уплотняющей прокладки (черт. 2). Устанавливают и подсоединяют измеритель расхода воздуха 3 и микроманометр 4. Подсоединяют воздушный насос 2 и регулятор расхода воздуха 5.

3.2.2. Проверяют герметичность всех соединений установки путем пробного нагнетания воздуха в камеру и нанесения мыльного раствора на проверяемую поверхность. При необходимости производят дополнительное уплотнение сопряжений по контуру оболочки соединительных фланцев и других мест герметиком.

3.3. Поверка технического состояния приборов

3.3.1. Виды поверок и их периодичность - по ГОСТ 8.002-71.

3.3.2. Поверку технического состояния ротаметров производят по ГОСТ 8.122-74.

3.3.3. Поверку технического состояния микроманометров производят 110 ГОСТ 8.302-78.

3.3.4. Поверку технического состояния термометров производят по ГОСТ 8.317-78.

4. ПРОВЕДЕНИЕ ИСПЫТАНИЙ

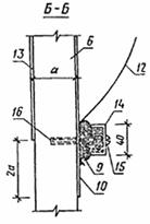
Испытания ограждающих конструкций производят дважды: при подключении воздушного насоса по схеме нагнетания и разрежения. При испытании по схеме разрежения между пленкой и образцом должен быть помещен каркас из алюминиевых трубок диаметром 15-20 мм (черт. 3) или использовано другое решение,. препятствующее прилеганию пленки к испытываемому образцу.

Конструкция алюминиевого сборно-разборного каркаса

1 - алюминиевые трубки диаметром 15-20 мм и длиной 500 мм; 2-5 - соединительные элементы из алюминиевых прутков диаметром 12-14 мм, сварены аргонодуговой сваркой

Крепление каркаса к образцам аналогично указанному на черт. 2.

Черт. 3

За результат определения сопротивления воздухопроницанию принимают наименьшее значение из двух измерений по схеме нагнетания и разрежения.

4.1. Испытания в лабораторных условиях (черт. 1)

4.1.1. При помощи воздушного насоса 2 и регулятора расхода воздуха 5 создают разности давлений по обе стороны образца, равные следующим значениям 0,5; 1; 2; 3; 4; 5; 7; 10; 15; 20; 25 даПа (1 даПа @ 1 мм вод. ст.).

4.1.2. Верхний предел значения разности давлений должен соответствовать области применения конструкций, т. е. Возможно ближе соответствовать фактической разности, создаваемой тепловым напором и напором ветра. Во всех случаях верхний предел значения разности давлений не должен быть менее 3 даПа (3 мм вод. ст.), а число этих значений - не менее 4.

4.1.3. После стабилизации каждого значения разности давлений одновременно измеряют расход воздуха Qo в м3/ч, разность давлений по обе стороны образца Dр в даПа (мм вод. ст.), температуру воздуха t в °С и атмосферное давление р в даПа (мм рт. ст.). Стабильность разности давлений при измерениях достигается регулятором расхода воздуха или воздушными запорно-регулировочными кранами.

4.2. Испытания в условиях эксплуатации зданий и сооружений (черт. 2)

4.2.1. Испытания ограждающих конструкций в условиях эксплуатации зданий и сооружений производят в соответствии с п. 4.1.

4.2.2. При необходимости раздельного определения сквозной и продольной воздухопроницаемости образца испытание его производят при помощи двух смонтированных с обеих сторон образца установок. В одной камере создают повышенное давление, а в другой - разрежение и определяют общую воздухопроницаемость образца со стороны камеры разрежения. Затем в обеих камерах создают разрежение равного значения и определяют продольную воздухопроницаемость образца. Сквозную воздухопроницаемость образца определяют как разность между общей и продольной воздухопроницаемостью.

4.2.3. Воздухопроницаемость отдельных элементов образца (например, воздухопроницаемость оконных откосов и окна) следует определять при изоляции соответствующего элемента путем повторного испытания образца.

5. ОБРАБОТКА РЕЗУЛЬТАТОВ ИСПЫТАНИЯ

5.1. Истинный часовой объемный расход воздуха Q в м3/ч для каждого значения разности давлений определяют по формуле

Q = k Qo.                                                                                                       (1)

где k - поправочный коэффициент на истинные атмосферные условия проведения испытаний, определяемый по формуле

,                                                                                                      (2)

где Рo и P - атмосферные давления при градуировке ротаметра и при испытании, даПа (мм рт. ст.);

То и Т- температура воздуха при градуировке ротаметра и при испытании, °К;

Qo - численное значение замеренного расхода воздуха, м3/ч.

Истинный объемный расход воздуха Q переводят в весовой расход q в кг/ч по формуле

.                                                                                                     (3)

5.2. По величине весового расхода воздуха q через испытуемый образец площадью F в м2 при заданном перепаде давлений воздуха Dр в даПа (мм вод. ст.) определяют воздухопроницаемость образца G в кг/м2×ч по формуле

.                                                                                                           (4)

5.3. Строят рабочий график зависимости воздухопроницаемости образца от разности давлений в логарифмических координатах (черт. 4).

5.4. Определяют показатель режима фильтрации воздуха через ограждающую конструкцию п из графика в логарифмических координатах GDр как тангенс угла наклона прямой, построенной по результатам эксперимента, к оси абсцисс (см. пример на черт. 4).

5.5. Воздухопроницаемость образца G в кг/м2×ч для промежуточных значений разности давлений Dр допускается определять по формуле

G = iоDpn,                                                                                                      (5)

где (iо - коэффициент воздухопроницаемости ограждающих конструкций в кг/м2×ч даПа (кг/м2×ч×мм вод. ст.) при Dр = 1 даПа (мм вод. ст.), т. е. воздухопроницаемость ограждающих конструкций G при Dр = 1 даПа (мм вод. ст.), определяют аппроксимированием экспериментальных данных при помощи графика на черт. 4.

Пример зависимости воздухопроницаемости открывающегося окна серии 1.436-6 от разности давлений, построенной в логарифмических координатах

Черт. 4

5.6. Допускается производить обработку результатов испытаний по экспериментальным точкам методом наименьших квадратов.

5.7. Сопротивление воздухопроницанию ограждающих конструкций Rи в м2×ч×даПа/кг (м2×ч×мм×вод. ст./кг) определяют по формуле

.                                                                                                          (6)

Полученное значение, должно быть не менее приведенного в обязательном приложении 1.

5.8. Результаты испытаний заносят в таблицу, форма которой приведена в рекомендуемом приложении 2.

5.9. Относительная погрешность определения сопротивления воздухопроницанию ограждающих конструкций по данной методике не превышает 10 %.

6. ТРЕБОВАНИЯ БЕЗОПАСНОСТИ

6.1. При работе с воздушным электрическим насосом в металлическом корпусе должны соблюдаться требования безопасности в соответствии с правилами эксплуатации электроустановок.

ПРИЛОЖЕНИЕ 1
Обязательное

СОПРОТИВЛЕНИЕ ВОЗДУХОПРОНИЦАНИЮ НЕКОТОРЫХ ОГРАЖДАЮЩИХ КОНСТРУКЦИЙ Rи в м2×ч×даПа/кг (м2×ч×мм×вод. ст./кг)

Окна, витрины, фонари и двери

1.

Окна глухие всех типов

1

2.

Окна открывающиеся с одинарным или двойным остеклением в алюминиевых или стальных спаренных переплетах с одинарным уплотненным притвором

0,29

3.

Окна открывающиеся с одинарным или двойным остеклением в деревянных спаренных переплетах с одинарным уплотненным притвором

0,26

4.

Окна открывающиеся с двойным остекленном в деревянных раздельных переплетах с одинарным уплотненным притвором

0,29

5.

То же, с двойным уплотненным притвором

0,38

6.

Окна открывающиеся с двойным остеклением в алюминиевых или стальных раздельных переплетах с одинарным уплотненным притвором

0,32

7.

То же, с двойным уплотненным притвором

0,42

8.

Окна открывающиеся с тройным остеклением в деревянных одинарном и спаренном переплетах с одинарным уплотненным притвором

0,3

9.

То же, с двойным уплотненным притвором

0,44

10.

То же, с тройным уплотненным притвором

0,56

11.

Окна открывающиеся с тройным остеклением в алюминиевых или стальных одинарном и спаренном переплетах с одинарным уплотненным притвором

0,33

12.

То же, с двойным уплотненным притвором

0,48

13.

То же, с тройным уплотненным притвором

0,62

14.

Витражи алюминиевые с двойным остеклением стеклопакетами

1,4

15.

Витрины алюминиевые с двойным остеклением стеклопакетами

1

16.

Зенитные фонари с уплотненным сопряжением элементов

0,5

17.

Светоаэрационные П-образные фонари (в закрытом положении)

0,025

18.

Двери алюминиевые остекленные

1,3

Стены, перегородки, перекрытия и покрытия

19.

Стены кирпичные или из легкобетонных камней толщиной 250 мм и более с расшивкой швов

5

20.

Степы кирпичные или из легкобетонных камней толщиной 250 мм и более с расшивкой швов на наружной поверхности и штукатурным слоем на внутренней поверхности

40

21.

То же, со штукатурным слоем на наружной и внутренней поверхностях

70

22.

Стены панельные из легких бетонов толщиной 200 мм и более

40

23.

То же, из ячеистых автоклавных бетонов

40

24.

Перегородки кирпичные или из легкобетонных камней толщиной 120 мм с расшивкой швов

4

25.

Перегородки кирпичные или из легкобетонных камней толщиной 120 мм со штукатурным слоем с двух сторон

70

26.

Перегородки панельные толщиной 60 мм и более 1

20

27.

Стыки всех типов между легкобетонными и железобетонными панелями стен, м×ч×даПа/кг (м×ч×мм вод. ст./кг)

10

28.

Стыки всех типов между металлическими панелями стен с эффективным утеплителем, м×ч×даПа/кг (м×ч×мм вод. ст./кг)

5

29.

Стыки между железобетонными панелями перекрытий и плитами безрулонных покрытий, м×ч×даПа/кг (м×ч×мм вод. ст./кг)

10

ПРИЛОЖЕНИЕ 2
Рекомендуемое


Пример записи результатов испытаний сопротивления воздухопроницанию ограждающих конструкций

Эскиз и краткая характеристика образца

Площадь образца F, м3

Разность давлений Dр, даПа (мм вод. ст.)

Расход воздуха Q, м3

Температура воздуха tв, °С

Воздухопроницае­мость образца G, кг/м3×ч

Показатель режима фильтрации n

Сопротивление воздухопроницанию образца Rи, м2×ч×даПа/кг (м2×ч×мм вод. ст./кг) при Dр = 1 даПа (мм вод.ст.)

 

0,5

4,4

 

2,47

 

 

Окно открывающееся из спаренных тонкостенных стальных труб со стеклопакетами.

 

1

7,1

18

4

0,67

0,256

 

2

11,0

 

6,18

 

 

2,16

3

14,2

18

8

0,67

0,256

2,16

3

14,2

18

8

0,67

0,256

2,16

3

14,2

18

8

0,67

0,256

Уплотнение притворов с помощью резиновых профилей.

 

 

 

 

 

 

 

 

7

25,4

 

14,25

 

 

 

10

32

 

18

 

 

Серия 1.436-6

 

 

 

 

 

 

 

ПРИЛОЖЕНИЕ 3
Справочное.

СПЕЦИФИКАЦИЯ изделий и элементов установки для определения сопротивления воздухопроницанию конструкций

Наименование изделий к элементов установки

Номер чертежа

Позиция

Количество на установку

1. Регулятор расхода воздуха (регулятор напряжения)

1,2

5

1 шт.

2. Пылесосы промышленные электрические П-250 по ГОСТ 16999-79 или бытовые по ГОСТ 10280-75

1,2

2

3 шт.

3. Ротаметры РМ-2,5; РМ-10; РМ-16; РМ-63; РМ-250 по ГОСТ 13045-81

1,2

3

3 шт.

4. Оболочка из оцинкованной стали по ГОСТ 14918-80

1

12

1 шт.

5. Пленка полиэтиленовая по ГОСТ 10354-82

2

12, 13

60 м

6. Микроманометр ММН по ГОСТ 11161-71

1,2

4

1 шт.

7. Воздушные запорные краны

1,2

8

6 шт.

8. Термометр ртутный лабораторный ТМ-1 по ГОСТ 112-78

 

 

1 шт.

9. Барометр по ГОСТ 23696-79

 

 

1 шт.

10. Алюминиевый швеллер размером 30 ´ 20 ´ 2 мм по ГОСТ 13623-80, длиной:

 

 

 

1000 мм

2

14

4 шт.

1500 мм

2

14

4 шт.

3000 мм

2

14

4 шт.

11. Алюминиевый швеллер размером 40 ´ 20 ´ 2 мм по ГОСТ 13623-80, длиной:

 

 

 

1000 мм

2

14

4 шт.

1500 мм

2

14

4 шт.

3000 мм

2

14

4 шт.

12. Прокладка резиновая пористая диаметром 50 мм по ГОСТ 19177-81

1,2

9

44 м

13. Герметик 51-УТ37 по ТУ 51-38-14-179-67

1,2

10

5 кг

14. Шурупы А5´70 по ГОСТ 1146-80

12

15

176 шт.

15. Виниловая трубка диаметром 4 мм и длиной 50 мм

12

16

176 шт.

16. Самонарезающий винт 5´45-021 по ГОСТ 17474-80

2

15

176 шт.

17. Штуцер

1,2

11

2 шт.

18. Резиновые шланги диаметром 6-8 мм

1,2

7

3 м

19. Резиновые шланги диаметром 40 мм

1,2

7

3 м

20. Алюминиевый каркас

3

1, 2, 3, 4, 5

1 шт.

 

 




ГОСТЫ, СТРОИТЕЛЬНЫЕ и ТЕХНИЧЕСКИЕ НОРМАТИВЫ.
Некоммерческая онлайн система, содержащая все Российские Госты, национальные Стандарты и нормативы.
В Системе содержится более 150000 файлов нормативно-технической документации, действующей на территории РФ.
Система предназначена для широкого круга инженерно-технических специалистов.

Рейтинг@Mail.ru Яндекс цитирования

Copyright © www.gostrf.com, 2008 - 2026