Крупнейшая бесплатная информационно-справочная система онлайн доступа к полному собранию технических нормативно-правовых актов РФ. Огромная база технических нормативов (более 150 тысяч документов) и полное собрание национальных стандартов, аутентичное официальной базе Госстандарта. GOSTRF.com - это более 1 Терабайта бесплатной технической информации для всех пользователей интернета. Все электронные копии представленных здесь документов могут распространяться без каких-либо ограничений. Поощряется распространение информации с этого сайта на любых других ресурсах. Каждый человек имеет право на неограниченный доступ к этим документам! Каждый человек имеет право на знание требований, изложенных в данных нормативно-правовых актах!

  


 

ГОСУДАРСТВЕННЫЙ СТАНДАРТ СОЮЗА ССР

ЗДАНИЯ И СООРУЖЕНИЯ

МЕТОДЫ ОПРЕДЕЛЕНИЯ СОПРОТИВЛЕНИЯ
ТЕПЛОПЕРЕДАЧЕ ОГРАЖДАЮЩИХ КОНСТРУКЦИЙ

ГОСТ 26254-84

ИЗДАТЕЛЬСТВО СТАНДАРТОВ

Москва

ГОСУДАРСТВЕННЫЙ СТАНДАРТ СОЮЗА ССР

ЗДАНИЯ И СООРУЖЕНИЯ

Методы определения сопротивления теплопередаче
ограждающих конструкций

Buildings and structures.

Methods for determination of thermal resistance
of enclosing structures

ГОСТ
26254-84

Дата введения 1985-01-01

Настоящий стандарт распространяется на ограждающие конструкции жилых, общественных, производственных и сельскохозяйственных зданий и сооружений: наружные стены, покрытия, чердачные перекрытия, перекрытия над проездами, холодными подпольями и подвалами, ворота и двери в наружных стенах, другие ограждающие конструкции, разделяющие помещения с различными температурно-влажностными условиями, и устанавливает методы определения сопротивления их теплопередаче в лабораторных и натурных (эксплуатационных) зимних условиях.

Стандарт не распространяется на светопрозрачные ограждающие конструкции.

Определение сопротивления теплопередаче ограждающих конструкций позволяет количественно оценить теплотехнические качества ограждающих конструкций зданий и сооружений и их соответствие нормативным требованиям, установить реальные потери тепла через наружные ограждающие конструкции, проверить расчетные и конструктивные решения.

1. Общие положения

1.1. Сопротивление теплопередаче Ro, характеризующее способность ограждающей конструкции оказывать сопротивление проходящему через нее тепловому потоку, определяют для участков ограждающих конструкций, имеющих равномерную температуру поверхностей.

1.2. Приведенное сопротивление теплопередаче  определяют для ограждающих конструкций, имеющих неоднородные участки (стыки, теплопроводные включения, притворы и т.д.) и соответствующую им неравномерность температуры поверхности.

1.3. Методы определения сопротивления теплопередаче, основанные на создании в ограждающей конструкции условий стационарного теплообмена и измерении температуры внутреннего и наружного воздуха, температуры поверхностей ограждающей конструкции, а также плотности теплового потока, проходящего через нее, по которым вычисляют соответствующие искомые величины по формулам (1) и (2) настоящего стандарта.

1.4. Сопротивление теплопередаче ограждающей конструкции определяют при испытаниях в лабораторных условиях в климатических камерах, в которых по обе стороны испытываемого фрагмента создают температурно-влажностный режим, близкий к расчетным зимним условиям эксплуатации, или в натурных условиях эксплуатации зданий и сооружений в зимний период.

2. Метод отбора образцов

2.1. Сопротивление теплопередаче в лабораторных условиях определяют на образцах, которыми являются целые элементы ограждающих конструкций заводского изготовления или их фрагменты.

2.2. Длина и ширина испытываемого фрагмента ограждающей конструкции должны не менее чем в четыре раза превышать его толщину и быть не менее 1500 ´ 1000 мм.

2.3. Порядок отбора образцов для испытаний и их число устанавливают в стандартах или технических условиях на конкретные ограждающие конструкции. При отсутствии в этих документах указаний о числе испытываемых образцов отбирают для испытаний не менее двух однотипных образцов.

2.4. При испытаниях в климатических камерах стыки, примыкания и другие виды соединения элементов ограждающих конструкций или их фрагментов между собой должны быть выполнены в соответствии с проектным решением.

2.5. Сопротивление теплопередаче в натурных условиях определяют на образцах, которыми являются ограждающие конструкции эксплуатируемых или полностью подготовленных к сдаче в эксплуатацию зданий и сооружений, или специально построенных павильонов.

2.6. При натурных испытаниях наружных стен выбирают стены в угловой комнате на первом этаже, ориентированные на север, северо-восток, северо-запад и дополнительно в соответствии с решаемыми задачами на другие стороны горизонта, наиболее неблагоприятные для данной местности (преимущественные ветры, косые дожди и т.д.), и на другом этаже.

2.7. Для испытаний выбирают не менее двух однотипных ограждающих конструкций, с внутренней стороны которых в помещениях поддерживают одинаковые температурно-влажностные условия.

3. Аппаратура и оборудование

3.1. Для определения сопротивления теплопередаче ограждающих конструкций в лабораторных условиях применяют теплоизолированную климатическую камеру, состоящую из теплого и холодного отсеков, разделенных испытываемой конструкцией.

Для комплектации климатической камеры используют следующую аппаратуру и оборудование:

компрессоры холодопроизводительностью не менее 3,5 кВт или компрессорно-конденсаторные агрегаты холодильных машин по ОСТ 26-03-2039, устанавливаемые вне камеры, и охлаждающие батареи холодильных установок, устанавливаемые внутри холодного отсека для охлаждения в нем воздуха;

маслонаполненные электрорадиаторы по ГОСТ 16617, терморадиаторы, электротепловентиляторы по ГОСТ 17083 или электроконвекторы по ГОСТ 16617 и электроувлажнители воздуха для нагрева и увлажнения воздуха в теплом отсеке камеры;

регуляторы температуры по ГОСТ 9987, автоматические приборы следящего уравновешивания по ГОСТ 7164 или сигнализаторы температуры по ГОСТ 23125 для автоматического поддержания заданной температуры и влажности воздуха в отсеках камеры.

Допускается использовать климатическую камеру, состоящую из холодного отсека, в проем которого монтируют испытываемый фрагмент, и приставного теплого отсека, а также другое оборудование, при условии обеспечения их в холодном и теплом отсеках камеры стационарного режима, соответствующего расчетным зимним условиям эксплуатации ограждающей конструкции.

3.2. Для определения сопротивления теплопередаче в натурных условиях эксплуатации зданий используют тот температурный перепад, который установился на ограждающей конструкции вследствие разности температур наружного и внутреннего воздуха. Для поддержания постоянной температуры воздуха внутри помещения используют оборудование и средства регулирования, указанные в п. 3.1.

3.3. Для измерения плотности тепловых потоков, проходящих через ограждающую конструкцию, используют приборы по ГОСТ 25380.

3.4. Для измерения температур в качестве первичных преобразователей применяют термоэлектрические преобразователи по ГОСТ 3044 с проводами из сплавов хромель, копель и алюмель по ГОСТ 1790 (термопары), медные термопреобразователи сопротивления по ГОСТ 6651 и терморезисторы (термометры, сопротивления).

В качестве вторичных измерительных приборов, работающих с термоэлектрическими термометрами и преобразователями тепловых потоков, применяют потенциометры постоянного тока по ГОСТ 9245, милливольтметры по ГОСТ 8711 или по ГОСТ 9736. Термометры сопротивления подключают к измерительным мостам постоянного тока по ГОСТ 7165.

Для оперативного измерения температурного поля поверхностей ограждающей конструкции используют термощупы, терморадиометры, тепловизоры (см. приложение 1).

Температуру воздуха контролируют с помощью стеклянных термометров расширения по ГОСТ 112 (нижний предел минус 70 °С) и ГОСТ 27544.

Допускается применение других первичных преобразователей температур и приборов, поверенных в установленном порядке.

3.5. Для непрерывной регистрации характера изменения температуры воздуха внутри помещения используют термографы по ГОСТ 6416.

3.6. Для измерения разности давления воздуха по обе стороны испытываемой конструкции применяют микроманометр ММН по ГОСТ 11161.

3.7. Для измерения относительной влажности воздуха используют аспирационные психрометры, а для регистрации характера изменения влажности используют гигрографы по действующей нормативно-технической документации.

3.8. Для определения влажности материалов ограждающих конструкций применяют стаканчики типа СВ или СН по ГОСТ 25336, сушильный электрошкаф по ОСТ 16.0.801.397, лабораторные образцовые весы с наибольшим пределом взвешивания 200 г по ГОСТ 24104, эксикаторы по ГОСТ 25336.

3.9. Скорость ветра в натурных условиях определяют ручным анемометром по ГОСТ 6376 или ГОСТ 7193.

3.10. Для проверки работы оборудования климатической камеры, измерительной аппаратуры и условий теплообмена в теплом и холодном отсеках камеры используют контрольный фрагмент с известным термическим сопротивлением в пределах 1 - 2 (м2×°С)/Вт, габаритные размеры которого должны соответствовать размерам и конфигурации проема, в который устанавливают испытываемую конструкцию. Конструктивное решение и материал контрольного фрагмента должны обеспечивать неизменность во времени его теплотехнических свойств. Климатическую камеру проверяют не реже одного раза в год.

3.11. Перечень приборов и оборудования для определения сопротивления теплопередаче ограждающих конструкций в лабораторных и натурных условиях приведен в приложении 1.

4. Подготовка к испытаниям

4.1. Подготовку к экспериментальному определению сопротивления теплопередаче ограждающей конструкции начинают с составления программы испытаний и схемы размещения первичных преобразователей температур и тепловых потоков. В программе испытаний определяют вид испытания (лабораторные, павильонные, натурные), объекты, район, ориентировочные сроки, объем испытаний, виды ограждающих конструкций, контролируемые сечения и др. данные, необходимые для решения поставленной задачи.

4.2. Схему размещения первичных преобразователей температур и тепловых потоков составляют на основе проектного решения конструкции или по предварительно установленному температурному полю поверхности испытываемой ограждающей конструкции. Для этого при испытаниях в климатических камерах или павильонах полностью смонтированную ограждающую конструкцию подвергают временному тепловому воздействию при помощи оборудования, указанного в п. 3.1, после чего, не дожидаясь установления стационарного режима, с целью выявления теплопроводных включений и термически однородных зон, их конфигурации и размеров, снимают температурное поле с помощью тепловизора, терморадиометра и термощупа. Контуры основных температурных зон по результатам термографирования наносят на поверхность ограждающей конструкции.

При натурных испытаниях сразу приступают к измерению температур поверхностей и устанавливают термически однородные зоны и места расположения теплопроводных включений.

4.3. Тепловизор устанавливают таким образом, чтобы в поле зрения попала по возможности вся конструкция. Полученные на мониторе термограммы фиксируют с помощью фотоаппарата или видеомагнитофона. Допускается получение изображения всей площади испытываемого фрагмента ограждающей конструкции последовательным термографированием участков.

4.4. При измерении температур термощупом внутреннюю и наружную поверхности ограждающей конструкции разбивают на квадраты со сторонами не более 500 мм. Зоны с теплопроводными включениями разбивают на более мелкие квадраты в соответствии с конструктивными особенностями. Температуру поверхности измеряют в вершинах этих квадратов и непосредственно против теплопроводных включений. Значения температур наносят на эскиз ограждающей конструкции. Точки с равными температурами соединяют изотермами, определяют конфигурацию и размеры изотермических зон. Для выявления термически однородных участков допускается ограничиться измерением температур внутренней поверхности ограждающей конструкции в случае невозможности измерения температур с наружной стороны.

4.5. Первичные преобразователи температур и тепловых потоков располагают в соответствии со схемой. Пример схемы размещения термопар по сечению и на поверхности ограждающей конструкции и подключения их к измерительной аппаратуре приведен в приложении 2.

При необходимости схему размещения первичных датчиков уточняют по результатам термографирования поверхности испытываемой ограждающей конструкции.

4.6. Для определения сопротивления теплопередаче части ограждающей конструкции, равномерной по температуре поверхности, Ro, преобразователи температур и тепловых потоков устанавливают не менее чем в двух характерных сечениях с одинаковым проектным решением.

4.7. Для определения  термодатчики располагают в центре термически однородных зон фрагментов ограждающей конструкции (панелей, плит, блоков, монолитных и кирпичных частей зданий, дверей) и дополнительно в местах с теплопроводными включениями, в углах, в стыках.

4.8. Для измерения термического сопротивления отдельных слоев ограждающей конструкции чувствительные элементы термодатчиков монтируют в сечениях по п. 4.6 в толще фрагмента ограждающей конструкции при его изготовлении с шагом 50 - 70 мм и для многослойных конструкций дополнительно на границах слоев.

4.9. При наличии в ограждающих конструкциях вентилируемых прослоек чувствительные элементы термодатчиков устанавливают с шагом не менее 500 мм на поверхностях и в центре прослойки.

Преобразователи тепловых потоков закрепляют на внутренней и наружной поверхностях испытываемого ограждения не менее чем по два на каждой поверхности.

4.10. Для измерения температур внутреннего воздуха чувствительные элементы термодатчиков устанавливают по вертикали в центре помещения на расстоянии 100, 250, 750 и 1500 мм от пола и 100 и 250 мм от потолка. Для помещений высотой более 5000 мм термодатчики по вертикали устанавливают дополнительно с шагом 1000 мм.

Для измерения температур внутреннего и наружного воздуха вблизи ограждающей конструкции термодатчики устанавливают на расстоянии 100 мм от внутренней поверхности каждой характерной зоны и на расстоянии 100 мм от наружной поверхности не менее чем двух характерных зон.

4.11. Чувствительные элементы термодатчиков плотно прикрепляют к поверхности испытываемой конструкции.

При использовании термопар допускается закреплять их на поверхности ограждающей конструкции с помощью клеящих составов: гипса или пластилина, толщина которых должна быть не более 2 мм. Степень черноты используемых клеящих материалов должна быть близка к степени черноты поверхности ограждающей конструкции.

При этом термометрический провод от места закрепления чувствительного элемента отводят по поверхности ограждающей конструкции в направлении изотерм или минимального градиента температур на длину не менее 50 диаметров провода. Сопротивление электрической изоляции между цепью термопреобразователя и наружной металлической арматурой должно быть не менее 20 МОм при температуре (25 ± 10) °С и относительной влажности воздуха от 30 до 80 %.

Свободные концы термопар помещают в термостат с температурой 0 °С. Допускается использовать в качестве термостата сосуд Дьюара. При этом в нем должны быть одновременно пар, вода и лед дистиллированной воды.

Термопары подключают к вторичному измерительному прибору через промежуточный многоточечный переключатель.

4.12. Для измерения плотности теплового потока, проходящего через ограждающую конструкцию, на ее внутренней поверхности устанавливают по одному преобразователю теплового потока в каждой характерной зоне. Преобразователи теплового потока на поверхности ограждающей конструкции закрепляют в соответствии с ГОСТ 25380.

4.13. Для измерения разности давления воздуха концы шлангов от микроманометра располагают по обе стороны испытываемой конструкции на уровне 1000 мм от пола.

4.14. Гигрографы, гигрометры, аспирационные психрометры и термографы, предназначенные для контроля и регулирования температуры и относительной влажности воздуха, устанавливают в центре помещения или отсека климатической камеры, на высоте 1500 мм от пола.

4.15. При испытаниях в климатической камере после проверки готовности оборудования и измерительных средств теплый и холодный отсеки с помощью герметичных дверей изолируют от наружного воздуха. На регулирующей аппаратуре устанавливают заданные температуру и влажность воздуха в каждом отсеке и включают холодильное, нагревательное и воздухоувлажняющее оборудование камеры.

5. Проведение испытаний

5.1. При проведении испытаний в лабораторных условиях температуру и относительную влажность воздуха в отсеках климатической камеры поддерживают автоматически с точностью ± 1 °С и ± 5 %.

5.2. Температуры и плотности тепловых потоков измеряют после достижения в испытываемой ограждающей конструкции стационарного или близкого к нему режима, наступление которого определяют по контрольным измерениям температур на поверхности и внутри испытываемой конструкции.

После установления в отсеках климатической камеры заданной температуры воздуха измерения производят для ограждающих конструкций с тепловой инерцией до 1,5 не менее чем через 1,5 сут., с тепловой инерцией от 1,5 до 4 - через 4 сут., а тепловой инерцией от 4 до 7 - через 7 сут., и с тепловой инерцией свыше 7 - через 7,5 сут.

Значения тепловой инерции ограждающих конструкций определяют по строительным нормам и правилам, утвержденным Госстроем СССР.

Число замеров при стационарном режиме должно быть не менее 10 при общей продолжительности измерений не менее 1 сут.

5.3. Испытания в натурных условиях проводят в периоды, когда разность среднесуточных температур наружного и внутреннего воздуха и соответствующий тепловой поток обеспечивают получение результата с погрешностью не более 15 % (см. приложение 3).

Продолжительность измерений в натурных условиях определяют по результатам предварительной обработки данных измерений в ходе испытаний, при которой учитывают стабильность температуры наружного воздуха в период испытаний и в предшествующие дни и тепловую инерцию ограждающей конструкции. Продолжительность измерений в натурных условиях эксплуатации должна составлять не менее 15 сут.

5.4. Плотность теплового потока, проходящего через ограждающую конструкцию, измеряют по ГОСТ 25380.

5.5. Контрольную запись температуры и влажности внутреннего воздуха при помощи термографа и гигрографа ведут непрерывно.

5.6. При отсутствии системы автоматизированного сбора опытных данных температуры и плотности тепловых потоков измеряют круглосуточно через каждые 3 ч (0; 3; 6; 9; 12; 15; 18; 21 ч). Влажность воздуха в помещении или отсеке климатической камеры измеряют через каждые 6 ч (0; 6; 12; 18 ч).

Результаты измерений заносят в журнал наблюдений по форме, приведенной в приложении 4.

5.7. Для установления соответствия экспериментальных значений сопротивления теплопередаче нормируемым требованиям определяют состояние ограждающей конструкции (толщины и влажность материалов слоев, воздухопроницаемость стыков) и условия испытаний (разность давлений внутреннего и наружного воздуха, скорость ветра).

Влажность материалов испытываемых ограждающих конструкций определяют по окончании теплотехнических испытаний. Пробы берут шлямбуром из стен на высоте 1,0 - 1,5 м от уровня пола, из покрытий - в термически однородных зонах. Мягкие утеплители вырезают ножом или извлекают металлическим крючком. Пробы собирают в бюксы и взвешивают на аналитических весах в день их взятия. Высушивание проб до постоянной массы, взвешивание их и расчет влажности материалов выполняют в соответствии с ГОСТ 24816.

Допускается определение влажности материалов без разрушения ограждающих конструкций диэлькометрическим методом, путем закладки емкостных преобразователей в толщу ограждения при его изготовлении или путем использования влагомеров по ТУ 25-05.2792.

Для бетонных ограждающих конструкций эти измерения осуществляют в соответствии с ГОСТ 21718.

Воздухопроницаемость ограждающей конструкции в лабораторных и натурных условиях определяют до начала или по окончании теплотехнических испытаний в соответствии с ГОСТ 25891.

Разность давлений внутреннего и наружного воздуха измеряют во время испытаний в лабораторных условиях один раз в сутки, а в натурных условиях через 3 ч и результаты заносят в отдельный журнал.

Скорость и направление ветра измеряют на территории испытываемого здания 4 раза в сутки (0, 6, 12, 18 ч) на расстоянии от 1,5 до 2 высот здания и на расстоянии одной высоты для зданий в 9 и более этажей.

Допускается принимать скорость и направление ветра по данным ближайшей метеостанции.

6. Обработка результатов

6.1. Сопротивление теплопередаче Ro для термически однородной зоны ограждающей конструкции вычисляют по формуле

,                                     (1)

где Rв и Rн - сопротивления теплопередаче соответственно внутренней и наружной поверхностей ограждающей конструкции, м2×°С/Вт;

Rк - термическое сопротивление однородной зоны ограждающей конструкции, м2×°С/Вт;

tв и tн - средние за расчетный период измерений значения температур соответственно внутреннего и наружного воздуха, °С;

tв и tн - средние за расчетный период измерений значения температур соответственно внутренней и наружной поверхностей ограждающей конструкции, °С;

qф - средняя за расчетный период измерения фактическая плотность теплового потока, Вт/м2, определяемая по формулам (5) или (6).

6.2. Приведенное сопротивление теплопередаче  ограждающей конструкции, имеющей неравномерность температур поверхностей вычисляют по формуле

,                                                              (2)

где F - площадь испытываемой ограждающей конструкции, м2;

Fi - площадь характерной изотермической зоны, определяемой планиметрированием, м2;

Roi - сопротивление теплопередаче характерной зоны м2×°С/Вт, определяемое по формуле (3) или (4).

6.3. Сопротивление теплопередаче характерной зоны определяют по формуле

,                                (3)

где Rвi и Rнi - сопротивления теплопередаче соответственно внутренней и наружной поверхностей характерной зоны, м2×°С/Вт;

Rкi - термическое сопротивление характерной зоны, м2×°С/Вт;

tвi и tнi - средние за расчетный период температуры соответственно внутреннего и наружного воздуха на расстоянии 100 мм от поверхностей характерной зоны, °С;

tвi и tнi - средние за расчетный период температуры соответственно внутренней и наружной поверхностей характерной зоны, °С;

qфi - средняя за расчетный период фактическая плотность теплового потока, проходящего через характерную зону, Вт/м2, определяемая по формулам (5) или (6).

Допускается сопротивление теплопередаче характерных зон Roi, вычислять по формуле

,                                                        (4)

где

;

aкi и aлi - коэффициенты соответственно конвективного и лучистого теплообмена внутренней поверхности характерной зоны, Вт/(м2×°С), определяемые по черт. 1 и 2 приложения 7.

6.4. При обработке результатов испытаний в лабораторных условиях в климатических камерах с автоматическим регулированием температурно-влажностных режимов для расчета сопротивления теплопередаче для каждого сечения берут значения температур и плотности тепловых потоков средние за весь период испытаний.

При обработке результатов натурных испытаний строят графики изменения во времени характерных температур и плотности тепловых потоков, по которым выбирают периоды с наиболее установившимся режимом с отклонением среднесуточной температуры наружного воздуха от среднего значения за этот период в пределах ± 1,5 °С и вычисляют средние значения сопротивления теплопередаче для каждого периода.

Общая продолжительность этих расчетных периодов должна составлять не менее 1 сут для ограждающих конструкций с тепловой инерцией до 1,5 и не менее 3 сут для конструкций с большей тепловой инерцией.

6.5. При отличии температур свободных концов термопар от 0 °С необходимо вводить поправку в показания измеренной э. д. с. в соответствии с ГОСТ 3044.

6.6. Среднюю за период измерений фактическую плотность теплового потока определяют по формулам:

для сплошных ограждающих конструкций

;                     (5)

для ограждающих конструкций с замкнутой воздушной прослойкой, прилегающей к внутреннему тонкому слою, на котором установлен преобразователь теплового потока.

,                                                 (6)

где tв, tн, tв, tн - то же, что в формуле (1);

q - средняя за расчетный период измеренная плотность теплового потока, Вт/м2;

RT - термическое сопротивление преобразователя теплового потока, определяемого по его паспортным данным, м2×°С/Вт;

RC - термическое сопротивление слоя, прикрепляющего преобразователь теплового потока, м2×°С/Вт; определяемое расчетом;

Rв - сопротивление теплопередаче внутренней поверхности ограждающей конструкции, м2×°С/Вт, определяемое расчетным путем по средним значениям tв, tв, и q. Допускается в первом приближении принимать его равным нормируемым значениям 0,115 м2×°С/Вт;

R1 - термическое сопротивление слоя ограждающей конструкции между внутренней поверхностью и воздушной прослойкой, м2×°С/Вт, определяемое расчетом;

tТ.в - температура поверхности преобразователя теплового потока, обращенная внутрь помещения, °С, измеренная при испытаниях;

Rв.п - термическое сопротивление замкнутой воздушной прослойки, м2×°С/Вт, определяемое по приложению 5.

Для вентилируемой прослойки Rв.п определяют по формуле

,                                                           (7)

где a = 5,5 + 5,7 v;

v - скорость движения воздуха в прослойке, определяемая по опытным данным или расчетом, м/с;

aл - коэффициент лучистого теплообмена, определяемый расчетным путем, Вт/(м2×°С).

6.7. Термическое сопротивление отдельных слоев ограждающей конструкции определяют по формуле

,                                                                         (8)

где Dt - разность температур на границах слоя, °С;

qф - то же, что в формулах (5) и (6).

С целью сопоставления фактических значений теплопроводности материалов, использованных в конструкции, с проектными значениями, теплопроводность материала слоя l определяют по формуле

,                                                                      (9)

где d - толщина слоя, м.

6.8. Доверительный интервал определения значений сопротивления теплопередаче Rо.и вычисляют по формуле

;                                                            (10)

где  - среднее сопротивление теплопередаче, определенное при испытаниях ограждающей конструкции по формуле (1), (2), м2×°С/Вт;

 - суммарная абсолютная погрешность результата испытания, вычисленная по приложению 3, м2×°С/Вт.

6.9. Относительная погрешность определения сопротивления теплопередаче ограждающей конструкции по данному методу не должна превышать 15 %.

6.10. Полученные в результате испытаний значения сопротивления теплопередаче Ro и  должны быть не менее значений, указанных в стандартах, технических условиях на ограждающие конструкции или проектных значений.

Коэффициент теплотехнической однородности ограждающей конструкции , учитывающий влияние стыков, обрамляющих ребер и других теплопроводных включений, должен быть не ниже значений, приведенных в приложении 6.

6.11. Для установления соответствия опытных значений температур внутренней поверхности нормируемым значениям, полученные в результате испытаний температуры внутренней поверхности ограждения пересчитывают по приложению 7 на расчетные температуры наружного и внутреннего воздуха tн и tв, принимаемые для конкретного вида здания и климатического района в соответствии с ГОСТ 12.1.005 и проектом.

7. Требования безопасности

7.1. При работе с оборудованием климатических камер и при проведении испытаний в зимних условиях эксплуатации зданий должны соблюдаться требования безопасности в соответствии с Правилами технической эксплуатации электроустановок потребителей и Правилами технической безопасности при эксплуатации электроустановок потребителей, утвержденными Госэнергонадзором и общие требования электробезопасности в строительстве по ГОСТ 12.1.013.

7.2. Монтаж датчиков на наружной поверхности ограждающей конструкции на этажах выше первого должен проводиться с лоджий, балконов или монтажных средств с соблюдением требований безопасности при работе на высоте.

Приложение 1

Рекомендуемое

Перечень приборов и оборудования для определения сопротивления теплопередаче ограждающих конструкций

Термопары хромель-алюмель или хромель-копель с диаметром электродов 0,3 мм и длиной до 25000 мм и ПХВ изоляцией по ГОСТ 3044 и ГОСТ 1790.

Измерители теплового потока ИТП-11 или ИТП-7 по ТУ А10Т2.825.013 ТУ.

Термощуп-термометр ЭТП-М по ТУ-7-23-78.

Преобразователи тепловых потоков (тепломеры) по ГОСТ 7076.

Тепловизионная или терморадиационная система.

Аспирационный психрометр.

Метеорологический недельный термограф М-16И по ГОСТ 6416.

Метеорологический недельный гигрограф М21Н или М32Н.

Лабораторный термометр типа 4-1 (от минус 30 до плюс 20 °С) по ГОСТ 27544.

Метеорологический низкоградусный термометр ТМ-9 по ГОСТ 112.

Метеорологический термометр ТМ-8 по ГОСТ 112.

Ручной чашечный анемометр МЕ-13 или АРИ-49 по ГОСТ 6376 или ГОСТ 7193.

Сосуд Дъюара.

Микроманометр ММН по ГОСТ 11161.

Весы лабораторные по ГОСТ 24104.

Стаканчики типа СВ или СН по ГОСТ 25336.

Шлямбур диаметром 15 мм с победитовым наконечником.

Сушильный электрошкаф по ОСТ 16.0.801.397.

Кувалда массой до 4 кг.

Секундомер С-1-2-А.

Стальная рулетка 10000 мм РЗ-10.

Эксикатор по ГОСТ 25336.

Компас.

Приборы для автоматической записи показаний термопар

Электронный потенциометр ЭПП-09МЗ на 24 точки или КСП-4 на 12 точек, градуировка на термопары ХК или в мВ.

Электронный уравновешивающий ленточный самописец на 12 точек, градуировка в мВ, предел измерения от минус 5 до плюс 5 мВ.

Электронный потенциометр на 12 точек, градуировка в мВ, пределы измерения от 0 до плюс 10 мВ.

Приборы для ручной записи показаний термодатчиков

Переносной потенциометр ПП-63, КП-59, Р-306, Р-305 или цифровой микровольтметр В-7-21.

Щитовые переключатели 20 - точечные типа ПНТ.

Примечание. Допускается использовать другие приборы, оборудование и измерительные средства, отвечающие требованиям и поверенные в установленном порядке. Количество их определяют в соответствии с программой и схемой испытаний.

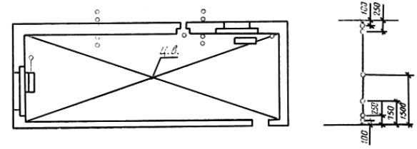
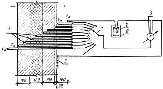
Приложение 2

Справочное

Схема размещения термопар на испытываемой ограждающей конструкции и подключения их к измерительной аппаратуре

План помещения               Центральная вертикаль (ц. в.)

Развертка стены

1 - наружный угол; 2 - стык наружных панелей; 3 - стык наружной и внутренней панелей

Сечение стены и подключение датчиков

1 - рабочие спаи термопар; 2 - холодный спай термопар; 3 - преобразователь теплового потока; 4 - многоточечный переключатель; 5 - измерительный прибор; 6 - термостат (сосуд Дьюара)

Приложение 3

Рекомендуемое

Пример определения диапазона температур наружного воздуха и погрешности вычисления сопротивления теплопередаче ограждающей конструкции

1. Определяют сопротивление теплопередаче наружных стен жилого дома в зимних условиях эксплуатации здания.

Согласно проекту сопротивление теплопередаче наружной стены по основному полю равно Rо.п = 1 м2×°С/Вт. Среднее экспериментальное значение сопротивления теплопередаче Rо.э вычисляют по результатам измерений по формуле

,                                              (1)

где  - средняя температура соответственно внутреннего и наружного воздуха в периоды испытаний, °С;

 - средняя плотность теплового потока, проходящего через ограждение, Вт/м2.

Плотность теплового потока измеряют прибором ИТП-11 в соответствии с ГОСТ 25380 с установкой предела измерения 50 Вт/м2. Температуру воздуха измеряют ртутными термометрами с ценой деления 0,2 °С.

2. В соответствии с теорией погрешностей в данном случае абсолютную суммарную погрешность измерений DRS определяют по формуле

,                                                    (2)

где Dq - абсолютная погрешность измерения плотности теплового потока, Вт/м2;

D(Dtизм) - абсолютная погрешность измерения разности температур, °С.

Основную относительную погрешность прибора ИТП-11 eq в процентах вычисляют по формуле

,                                                         (3)

где qпр - значение предела измерения, Вт/м2;

qизм - значение измеренной плотности теплового потока, Вт/м2.

Основную абсолютную погрешность измерения прибором ИТП-11 Dq вычисляют по формуле

,                                                 (4)

Основную абсолютную погрешность измерения ртутными термометрами принимают равной половине цены деления шкалы

D(Dt) = 0,5 × 0,2 = 0,1 °С.

Так как отношение D(Dtизм) к Dt пренебрежимо мало, то в дальнейшем его не учитывают.

Экспериментальное значение сопротивления теплопередаче , подлежащей испытанию конструкции, принимают приблизительно равным его проектному значению Rо.п. Подставляя формулу (4) в формулу (2), получают

.                                                (5)

Анализ формулы (5) показывает, что чем больше отношение, тем больше погрешность измерения. При измерении плотности теплового потока прибором ИТП-11 с установкой предела измерения qпр = 50 Вт/м2 и соблюдением относительной погрешности измерений e £ 5 % текущее значение измеряемой плотности теплового потока по формуле (3) будет равно

 Вт/м2.

Абсолютная погрешность измерений по формуле (5) по основному полю стены с Rо.п = 1 м2×°С/Вт составит:

максимальная

 м2×°С/Вт;

минимальная

 м2×°С/Вт.

При использовании прибора ИТП-11 при испытаниях необходимо обеспечить условия, при которых измеряемая плотность теплового потока находилась бы в диапазоне 33 - 50 Вт/м2.

Определяют диапазон разностей температур, обеспечивающих этот диапазон плотностей теплового потока.

Из формулы (1) настоящего приложения получают

.

Учитывая, что, получают значения:

Dtmin = 33 × 1 = 33 °C;

Dtmax = 50 × 1 = 50 °С.

Диапазон наружных температур, при которых необходимо проводить испытания наружной стены жилого здания при соблюдении минимального диапазона суммарной абсолютной погрешности измерений составит:

tн = (tв - Dtmax) = (18 - 50) = -32 °С;

tн = (tв - Dtmin) = (18 - 33) = -15 °С.

Сроки испытаний ограждающих конструкций в зимних условиях эксплуатации зданий назначают в соответствии с прогнозом погоды на период стояния наружных температур от минус 15 до минус 32 °С. В этих условиях будет использована верхняя часть шкалы первого диапазона прибора ИТП-11 (от 33 до 50 Вт/м2) и измерения плотности теплового потока будут выполнены с минимальной погрешностью.

Если в результате проведенных испытаний получено, что  = 1,04 м2×°С/Вт, то доверительный интервал с учетом вычисленной выше суммарной абсолютной погрешности измерений представляют в виде

 м2×°С/Вт.

где DRS - максимальная абсолютная погрешность измерений.

Если в соответствии с поставленной задачей допускается большая чем в примере погрешность измерения, натурные испытания могут быть проведены при более высоких температурах наружного воздуха.

Так, например, используя формулы (1) - (6), вычислим, что при натурных испытаниях такой же ограждающей конструкции с использованием тех же средств при средней температуре наружного воздуха за расчетные периоды -5 °С, доверительный интервал определения сопротивления теплопередаче составит 0,98 - 1,1 м2×°С/Вт.


Приложение 4

Рекомендуемое

Журнал записи измеряемых параметров при определении сопротивления теплопередаче ограждающих конструкций

Характеристика ограждающей конструкции

Номера термически однородных зон конструкций

Номера установленных термодатчиков

Текущие значения температур поверхности

Средняя температура термически однородной зоны

Номера датчиков тепловых потоков

Текущие значения плотности тепловых потоков

Средняя плотность теплового потока

Номера датчиков измерения относительной влажности воздуха

Текущие значения относительной влажности воздуха, %

Средняя относительная влажность воздуха, %

Примечания

tвi, °С

tнi, °С

tвi, °С

tнi, °С

мВ

Вт/м2

 

 

 

 

 

 

 

 

 

 

 

 

 

 

 


Приложение 5

Справочное

Термическое сопротивление замкнутой воздушной прослойки

Толщина воздушной прослойки, м

Термическое сопротивление замкнутой воздушной прослойки Rв.п, м2×°С/Вт

горизонтальной при потоке тепла снизу вверх и вертикальной

горизонтальной при потоке тепла сверху вниз

при температуре воздуха в прослойке

положительной

отрицательной

положительной

отрицательной

0,01

0,13

0,15

0,14

0,15

0,02

0,14

0,15

0,15

0,19

0,03

0,14

0,16

0,16

0,21

0,05

0,14

0,17

0,17

0,22

0,1

0,15

0,18

0,18

0,23

0,15

0,15

0,18

0,19

0,24

0,2 - 0,3

0,15

0,19

0,19

0,24

Примечание. При оклейке одной или обеих поверхностей воздушной прослойки алюминиевой фольгой термическое сопротивление следует увеличить в два раза.

Приложение 6

Справочное

Коэффициент теплотехнической однородности ограждающей конструкции r, учитывающий влияние стыков, обрамляющих ребер и других теплопроводных включений, для основных наиболее распространенных наружных стен

Вид стен и использованные материалы

Коэффициент

Из однослойных легкобетонных панелей

0,85 - 0,90

Из трехслойных железобетонных панелей с эффективным утеплителем и гибкими связями

0,75 - 0,85

Из трехслойных железобетонных панелей с эффективным утеплителем и железобетонными шпонками или ребрами из керамзитобетона

0,70 - 0,80

Из трехслойных железобетонных панелей с эффективным утеплителем и железобетонными ребрами

0,50 - 0,65

Из трехслойных панелей на основе древесины, асбестоцемента и других листовых материалов с эффективным утеплителем при полистовой сборке при ширине панелей 6 и 12 м без каркаса

0,90 - 0,95

Из трехслойных металлических панелей с утеплителем из пенопласта без обрамлений в зоне стыка

0,85 - 0,95

Из трехслойных металлических панелей с утеплителем из пенопласта с обрамлением в зоне стыка

0,65 - 0,80

Из трехслойных металлических панелей с утеплителем из минеральной ваты с различным каркасом

0,55 - 0,85

Из трехслойных асбестоцементных панелей с минераловатным утеплителем с различным каркасом

0,50 - 0,75

Примечание. Значение коэффициента r определяют на основе расчета температурных полей или экспериментально.

Приложение 7

Рекомендуемое

Пересчет температуры внутренней поверхности ограждения, полученной в результате испытаний, на расчетные температурные условия

1. Температуру внутренней поверхности ограждения при расчетных температурных условиях определяют по формуле

,                                                (1)

где tв - расчетная температура внутреннего воздуха, °С, принимаемая по ГОСТ 12.1.005 и нормам проектирования соответствующих зданий и сооружений;

t - температура внутренней поверхности ограждения при tв - tн без учета изменения коэффициента теплоотдачи aв, определяемая по формуле

,                                      (2)

aв = aк + aл - коэффициент теплоотдачи внутренней поверхности ограждения в эксперименте, Вт/(м2×°С);

a¢в = a¢к + a¢л - то же, при tв и t¢в, Вт/(м2×°С);

aк, aл - коэффициенты конвективного теплообмена внутренней поверхности стен соответственно при  и , Вт/(м2×°С), определяемые по графику на черт. 1 настоящего приложения. Для потолков полученное значение aк умножают на 1,3, а для полов умножают на 0,7;

aл, a¢л - коэффициенты лучистого теплообмена внутренней поверхности ограждения при

 и  Вт/(м2×°С),

определяемые по графику на черт. 2 настоящего приложения;

 - средняя за период наблюдений температура внутреннего воздуха, °С;

 - средняя за период наблюдений температура внутренней поверхности ограждения в рассматриваемой точке, °С;

tн - расчетная температура наружного воздуха, °С;

 - средняя за период наблюдений температура наружного воздуха, °С.

2. Пример. В результате эксперимента при  = 20,7 °С и  = -10,5 °С получена температура внутренней поверхности вертикального ограждения  = 13,2 °С. Какова будет tв при расчетных tв = 18 °С и tн = -30 °С?

Предварительно находят t¢в

 °С.

По графику на черт. 1 определяют:

при  °С ... aк = 3,21 Вт/(м2×°С);

при Dt = tв - t¢в = 18 - 6,5 = 11,5 °С ... a¢к = 3,76 Вт/(м2×°С).

По графику на черт. 2 определяют:

при  °С ... aл = 4,84 Вт/(м2×°С);

при  °С ... a¢л = 4,64 Вт/(м2×°С).

Находят

aв = aк + aл = 3,21 + 4,84 = 8,05 Вт/(м2×°С);

a¢в = a¢к + a¢л = 3,76 + 4,64 = 8,4 Вт/(м2×°С).

Температуру внутренней поверхности ограждения при расчетных температурных условиях определяют по формуле (1)

 °С.

График для определения aк

Черт. 1

График для определения aл

Черт. 2

Информационные данные

1. РАЗРАБОТАН

Научно-исследовательским институтом строительной физики (НИИСФ) Госстроя СССР

Научно-исследовательским институтом строительных конструкций (НИИСК) Госстроя СССР

Центральным научно-исследовательским и проектным институтом типового и экспериментального проектирования жилища (ЦНИИЭПжилища) Госгражданстроя

РАЗРАБОТЧИКИ

И.Г. Кожевников, канд. техн. наук (руководитель темы); И.Н. Бутовский, канд. техн. наук; В.П. Хоменко, канд. техн. наук; Г.Г. Фаренюк, канд. техн. наук; Е.И. Семенова, канд. техн. наук; Г.К. Авдеев, канд. техн. наук; А.П. Цепелев, канд. техн. наук; И.С. Лифанов

ВНЕСЕН

Научно-исследовательским институтом строительной физики (НИИСФ) Госстроя СССР

Директор В.А. Дроздов

2. УТВЕРЖДЕН И ВВЕДЕН В ДЕЙСТВИЕ Постановлением Государственного комитета СССР по делам строительства от 2 августа 1984 г. № 127

3. ВВЕДЕН ВПЕРВЫЕ

4. ССЫЛОЧНЫЕ НОРМАТИВНО-ТЕХНИЧЕСКИЕ ДОКУМЕНТЫ

Обозначение НТД, на который дана ссылка

Номер пункта, приложения

ГОСТ 12.1.005-88

6.11, приложение 7

ГОСТ 12.1.013-78

7.1

ГОСТ 112-78

3.4, приложение 1

ГОСТ 1790-77

3.4, приложение 1

ГОСТ 3044-84

3.4, 6.5, приложение 1

ГОСТ 6376-74

3.9, приложение 1

ГОСТ 6416-75

3.5, приложение 1

ГОСТ 6651-84

3.4

ГОСТ 7076-87

Приложение 1

ГОСТ 7164-78

3.1

ГОСТ 7165-78

3.4

ГОСТ 7193-74

3.9, приложение 1

ГОСТ 8711-78

3.4

ГОСТ 9245-79

3.4

ГОСТ 9736-91

3.4

ГОСТ 9987-77

3.1

ГОСТ 11161-84

3.6, приложение 1

ГОСТ 16617-87

3.1

ГОСТ 17083-87

3.1

ГОСТ 21718-84

5.7

ГОСТ 22787-77

3.1

ГОСТ 23215-78

3.1

ГОСТ 24104-88

3.8, приложение 1

ГОСТ 24816-81

5.7

ГОСТ 25336-82

3.8, приложение 1

ГОСТ 25380-82

3.3, 4.12, 5.4, приложение 3

ГОСТ 25891-83

5.7

ГОСТ 27544-87

3.4, приложение 1

ОСТ 16.0.801.397-87

3.8, приложение 1

ОСТ 26-03-2039-87

3.1

ТУ 25-05.2792-82

5.7

5. ПЕРЕИЗДАНИЕ. Апрель 1994 г.

СОДЕРЖАНИЕ

1. Общие положения. 1

2. Метод отбора образцов. 2

3. Аппаратура и оборудование. 2

4. Подготовка к испытаниям.. 4

5. Проведение испытаний. 6

6. Обработка результатов. 7

7. Требования безопасности. 10

Приложение 1 Перечень приборов и оборудования для определения сопротивления теплопередаче ограждающих конструкций. 10

Приложение 2 Схема размещения термопар на испытываемой ограждающей конструкции и подключения их к измерительной аппаратуре. 11

Приложение 3 Пример определения диапазона температур наружного воздуха и погрешности вычисления сопротивления теплопередаче ограждающей конструкции. 12

Приложение 4 Журнал записи измеряемых параметров при определении сопротивления теплопередаче ограждающих конструкций. 16

Приложение 5 Термическое сопротивление замкнутой воздушной прослойки. 17

Приложение 6 Коэффициент теплотехнической однородности ограждающей конструкции r, учитывающий влияние стыков, обрамляющих ребер и других теплопроводных включений, для основных наиболее распространенных наружных стен. 17

Приложение 7 Пересчет температуры внутренней поверхности ограждения, полученной в результате испытаний, на расчетные температурные условия. 17

 

 




ГОСТЫ, СТРОИТЕЛЬНЫЕ и ТЕХНИЧЕСКИЕ НОРМАТИВЫ.
Некоммерческая онлайн система, содержащая все Российские Госты, национальные Стандарты и нормативы.
В Системе содержится более 150000 файлов нормативно-технической документации, действующей на территории РФ.
Система предназначена для широкого круга инженерно-технических специалистов.

Рейтинг@Mail.ru Яндекс цитирования

Copyright © www.gostrf.com, 2008 - 2026