Крупнейшая бесплатная информационно-справочная система онлайн доступа к полному собранию технических нормативно-правовых актов РФ. Огромная база технических нормативов (более 150 тысяч документов) и полное собрание национальных стандартов, аутентичное официальной базе Госстандарта. GOSTRF.com - это более 1 Терабайта бесплатной технической информации для всех пользователей интернета. Все электронные копии представленных здесь документов могут распространяться без каких-либо ограничений. Поощряется распространение информации с этого сайта на любых других ресурсах. Каждый человек имеет право на неограниченный доступ к этим документам! Каждый человек имеет право на знание требований, изложенных в данных нормативно-правовых актах!

  


 

ГОСУДАРСТВЕННЫЙ СТАНДАРТ СОЮЗА ССР

ЛЮКИ ЧУГУННЫЕ

ДЛЯ СМОТРОВЫХ КОЛОДЦЕВ

ТЕХНИЧЕСКИЕ УСЛОВИЯ

ГОСТ 3634-89

ГОСУДАРСТВЕННЫЙ СТРОИТЕЛЬНЫЙ КОМИТЕТ СССР

СОДЕРЖАНИЕ

Дата введения 01.07.89

Настоящий стандарт распространяется на круглые чугунные люки смотровых колодцев сетей водопровода и канализации.

1. ТЕХНИЧЕСКИЕ ТРЕБОВАНИЯ

1.1. Люки и ремонтную вставку должны изготовлять в соответствии с требованиями настоящего стандарта по рабочим чертежам, утвержденным в установленном порядке.

1.2.Основные параметры и размеры

1.2.1. Типы, масса и область применения люков, в зависимости от условий эксплуатации, указаны в таблице.

1.2.2. Основные размеры люков должны соответствовать указанным на черт. 1 - 4.

1.2.3. Условное обозначение люка должно состоять из обозначения типа, наименования инженерной сети, для которой он предназначен, и обозначения настоящего стандарта. Наименование инженерных сетей, для которых предназначен люк, обозначают: В - водопровод; Г - пожарный гидрант; К - бытовая и производственная канализация; Д - дождевая канализация.

Тип

Наименование

масса деталей люка по исполнениям, кг

Область применения

I

II

корпус

крышка

корпус

крышка

Л

Легкий люк (черт. 1)

35

30

-

-

В зоне зеленых насаждении и на проезжей части улиц

Т

Тяжелый люк (черт. 2)

50

50

50

48

На общегородских автомобильных дорогах

ТМ

Тяжелый магистральный люк (черт. 3)

50

45

50

43

На магистральных автомобильных дорогах с интенсивным движением транспорта

Р

Ремонтная вставка (черт. 4)

35

В корпусах люков типов Т и ТМ при ремонтных работах на дорогах (при наращивании дорожного полотна)

Пример условного обозначения легкого люка на сети водопровода:

ЛВ ГОСТ 3634-89;

то же, тяжелого магистрального люка для дождевой канализации исполнения П:

ТМД П ГОСТ 3634-89;

то же, ремонтной вставки для люков типов Т и ТМ для всех наименований инженерных сетей:

Р ГОСТ 3634-89.

1.3. Характеристики

1.3.1. Конфигурация ребер на наружной поверхности крышек люков типов Т и ТМ может иметь как волнообразную (исполнение 1, черт. 2), так и тангенциальную (исполнение П, черт. 3) формы.

1.3.2. Допускается наружный контур верха корпуса люков типов Л и Т выполнять квадратным, того же размера, с размещением карманов под ушки крышки по диагонали.

1.3.3. Корпуса люков всех типов, крышки и ремонтную вставку отливают из чугуна не ниже марки СЧ15 по ГОСТ 1412.

Крышки люков типа ТМ отливают из чугуна не ниже марки ВЧ45 по ГОСТ 7293.

Тип Л

А-А

1 - крышка; 2 - корпус; 3 - обозначение настоящего стандарта и год выпуска; 4 - обозначение типа люка; 5 - товарный знак

Черт. 1

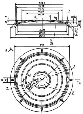
Тип Т

А-А

1 - крышка; 2 - корпус; 3 - обозначение настоящего стандарта и год выпуска; 4 - обозначение типа люка; 5 - товарный знак

Черт. 2

Тип ТМ

А-А

1 - крышка; 2 - корпус; 3 - эластичная прокладка; 4 - скоба; 5 - обозначение настоящего стандарта и год выпуска; 6 - обозначение типа люка; 7 - товарный знак

Черт. 3

Тип Г

А—A

1 - корпус; 2 - эластичная прокладка; 3 - скоба

Черт. 4

1.3.4. Эластичную прокладку изготовляют из резины твердостью не менее 40 ед. по Шору А.

Скобы для закрепления эластичной прокладки в канавке корпуса люка или ремонтной вставки изготовляют из ленты 65Г-Н-1, 0Х10 по ГОСТ 2283. Допускается применять ленты толщиной 0,8-1,2 мм той же марки.

1.3.5. Отливки люков и ремонтной вставки должны соответствовать требованиям ГОСТ 26358.

На поверхности отливок допускаются раковины диаметром не более 10 мм и глубиной не более 3 мм, занимающие не более 5 % поверхности отливок. На нижней опорной поверхности корпусов люков при заливке их в открытую форму допускаются шлаковые включения и заливы, занимающие не более 10% общей площади поверхности.

1.3.6. Допуски отливок люков и ремонтной вставки должны соответствовать: массы - 11-му классу точности, размеров - 10-му классу точности по ГОСТ 26645, за исключением указанных на чертежах.

1.3.7. Крышка люков должна плотно прилегать к опорной поверхности корпуса.

Допуск плоскостности опорной поверхности крышки люков, а также соответствующих поверхностей корпуса и ремонтной вставки не должен быть более 2 мм.

1.3.8. В крышке люков, кроме водопроводных, должно быть выполнено отверстие для отбора проб загазованности колодцев.

1.3.9. Крышка люков при испытании на механическую прочность должна выдерживать усилие: типа Л-30 кН (3 тс), типа Т- 150 кН (15 тс), типа ТМ- 250 кН (25 тс).

1.4. Комплектность

1.4.1. Люки следует поставлять комплектно. В состав комплекта входит:

корпус -1 шт.

крышка -1 шт.

паспорт - 1 экз. (на партию люков)

В состав комплекта типа ТМ, кроме указанного, входит, шт.:

эластичная прокладка -1

скоба - 5

1.4.2. Ремонтную вставку изготовляют по дополнительному заказу. В комплект ремонтной вставки входит, шт.:

корпус -1

эластичная прокладка - 1

скоба - 5

1.5. Маркировка

1.5.1. На верхней плоской поверхности крышки люков, ограниченной кольцевым ребром, должно быть отлито условное обозначение люка, год выпуска и товарный знак предприятия-изготовителя. При этом наименование тала люка и инженерной сети следует располагать вдоль осевой линии, соединяющей ушки.

1.5.2. Буквы на крышке люка, обозначающие наименование инженерной сети, должны иметь размеры, мм:

высоту - для люков типов Т и ТМ - 140±10, типа Л - 80±10

ширину -  ,,                     „ Т и ТМ - 100±10,        Л - 50±10

Толщина линий букв должна быть не менее 15 мм. Размеры остальных маркировочных знаков устанавливают предприятия-изготовители.

1.5.3. Транспортную маркировку следует выполнять несмываемой краской в соответствии с требованиями ГОСТ 14192 на фанерных ярлыках, прикрепляемых проволокой диаметром не менее 1 мм к каждому грузовому месту (пакету).

1.6. Упаковка

1.6.1. Пакетирование люков проводят по ГОСТ 21929.

1.6.2. Пакеты формируют отдельно из корпусов и крышек люков, размещенных в горизонтальном положении на двух деревянных брусьях. Каждый пакет состоит из 10 корпусов или 10 крышек люков. Схемы, размеры и массы пакетов указаны в приложении.

Размеры пакетов допускается уменьшать по согласованию с потребителем.

Обвязку корпусов люков проводят в четырех местах через центральное отверстие, крышек люков - с захватом ушек.

Для формирования пакетов используют стальную проволоку диаметром 6-8 мм по ГОСТ 3282. Концы проволоки свивают.

2. ПРИЕМКА

2.1. Приемку люков производят партиями. Объем партии равен сменной выработке люков из одной плавки.

2.2. Люки следует подвергать приемо-сдаточным и периодическим испытаниям.

2.3. При приемо-сдаточных испытаниях необходимо проверять внешний вид крышек, корпусов и ремонтных вставок люков и механическую прочность крышек. Проверке по внешнему виду подвергают каждый люк, проверке на механическую прочность - только крышки люка в количестве 3 %, но не менее двух люков от партии.

2.4. При неудовлетворительных результатах проверки при приемо-сдаточных испытаниях хотя бы по одному из показателей проводят повторную проверку по этому показателю удвоенного числа люков. Результаты повторной проверки распространяют на всю партию, и являются окончательными.

2.5. При периодических испытаниях проверяют размеры, массу деталей люков, отклонения от плоскостности крышки не менее чем на трех люках, прошедших приемо-сдаточные испытания, не реже двух раз в год, а также после каждой замены технологической оснастки.

2.6. Потребитель имеет право проводить контрольную проверку соответствия люков любому требованию настоящего стандарта, соблюдая приведенные порядок отбора образцов и методы контроля.

2.7. Люки, отгруженные потребителю, сопровождают паспортом, в котором указывают:

наименование министерства или ведомства предприятия-изготовителя;

наименование или товарный знак изготовителя;

условное обозначение изделия;

номер партии;

число изделий;

гарантийный срок эксплуатации;

штамп и дату приемки техническим контролем;

обозначение настоящего стандарта.

3. МЕТОДЫ КОНТРОЛЯ

3.1. Размеры крышек, корпусов и других деталей люков проверяют универсальным и специальным мерительным инструментом, а также шаблонами.

3.2. Твердость резины по Шору А определяют прибором по ГОСТ 263.

3.3. Массу крышек, корпусов люков и ремонтной вставки проверяют отдельно на товарных весах с пределом взвешивания не более 500 кг по ГОСТ 23711.

3.4. Отклонение от плоскостности опорной поверхности крышки люков, соответствующих поверхностей корпуса и ремонтной вставки проверяют набором щупов по ГОСТ 882.

3.5. Испытание крышки люка на механическую прочность производят на прессе, обеспечивающем необходимые усилия и снабженном манометром класса точности 0,4 по ГОСТ 6521. Пресс должен быть оборудован стальным пуансоном диаметром 200 мм, нижний край пуансона должен иметь радиус закругления 10 мм.

3.6. Для испытаний крышку люка устанавливают на станине пресса, имеющей отверстие диаметром 500 - 600 мм.

Между пуансоном и крышкой люка прокладывают слой картона по ГОСТ 9347 или резины по ГОСТ 7338 толщиной не более 3,0 мм.

Усилие пресса увеличивают равномерно до указанного и выдерживают крышку под этим усилием не менее 30 с.

Крышку люка считают выдержавшей испытание на прочность, если при этом не будут обнаружены какие-либо разрушения.

Крышки, выдержавшие испытания, допускается поставлять потребителю.

4. ТРАНСПОРТИРОВАНИЕ И ХРАНЕНИЕ

4.1. Люки транспортируют любым видом открытых или закрытых транспортных средств.

4.2. Транспортирование люков автомобильным транспортом производят в соответствии с правилами перевозок грузов, действующими на автотранспорте.

При перевозке автомобильным транспортом люки можно не пакетировать, загрузка при этом должна быть равномерной и исключать возможность перемещения груза.

4.3. При перевозке люков железнодорожным транспортом в крытых вагонах или на платформах должна осуществляться повагонная отправка с максимальным использованием вместимости и грузоподъемности.

4.4. Условия хранения люков - по группе Ж 1 ГОСТ 15150.

5. УКАЗАНИЯ ПО ЭКСПЛУАТАЦИИ

5.1. Корпус люка устанавливают горизонтально на подготовленное бетонное основание или кирпичную кладку и бетонируют.

Верх корпуса люка при установке должен совпадать с уровнем полотна дороги.

5.2. Люки на проезжей части улиц устанавливают ушками вдоль основного направления движения транспорта. При этом наименования типа люка и инженерной сети следует располагать навстречу движущемуся транспорту.

5.3. При наращивании дорожного полотна следует применять ремонтную вставку.

6. ГАРАНТИИ ИЗГОТОВИТЕЛЯ

6.1. Изготовитель гарантирует соответствие люков требованиям настоящего стандарта при соблюдении условий транспортирования, хранения и эксплуатации.

6.2. Гарантийный срок эксплуатации - три года со дня ввода люков в эксплуатацию, но не более пяти лет с момента отгрузки продукции предприятием-изготовителем.

приложение

Рекомендуемое

ТРАНСПОРТНОЕ ПАКЕТИРОВАНИЕ

1 - обвязка; 2 - место строповки

мм

Тип люка

D

Н

D1

H1

B

Масса пакета, кг

корпус

крышка

Л

770

900

626

400

650

350

300

Т

870

1200

646

500

695

500

500

ТМ

500

450

ИНФОРМАЦИОННЫЕ ДАННЫЕ

1 РАЗРАБОТАН И ВНЕСЕН Государственным комитетом по архитектуре и градостроительству при Госстрое СССР

ИСПОЛНИТЕЛИ

Ю.М. Соснер (руководитель темы); П.И. Круглякова; Л.Б. Когаи, д-р техн. наук; А.В. Островерхов, канд. техн. наук; А.П. Чекрыган; Л.С. Васильева

2. УТВЕРЖДЕН И ВВЕДЕН В ДЕЙСТВИЕ Постановлением Государственного строительного комитета СССР от 06.04.89 № 62

3. ВЗАМЕН ГОСТ 3634-79

4. ССЫЛОЧНЫЕ НОРМАТИВНО-ТЕХНИЧЕСКИЕ ДОКУМЕНТЫ

Обозначение НТД, на который дана ссылка

Номер пункта, подпункта

Обозначение НГД, на который дана ссылка

Номер пункта, подпункта

ГОСТ 882-75

3.4

ГОСТ 9347-74

3.6

ГОСТ 1412-85

1.3.3

ГОСТ 14192-77

1.5.3

ГОСТ 2283-79

1.3.4

ГОСТ 15150-69

4.4

ГОСТ 3282-74

1.6.2

ГОСТ 21929-76

1.6.1

ГОСТ 6521-72

3.5

ГОСТ 23711-79

3.3

ГОСТ 7293-85

1.3.3

ГОСТ 26358-84

1.3.5

ГОСТ 7338-77

3.6

ГОСТ 26645-85

1.3.6

 

 




ГОСТЫ, СТРОИТЕЛЬНЫЕ и ТЕХНИЧЕСКИЕ НОРМАТИВЫ.
Некоммерческая онлайн система, содержащая все Российские Госты, национальные Стандарты и нормативы.
В Системе содержится более 150000 файлов нормативно-технической документации, действующей на территории РФ.
Система предназначена для широкого круга инженерно-технических специалистов.

Рейтинг@Mail.ru Яндекс цитирования

Copyright © www.gostrf.com, 2008 - 2026