Крупнейшая бесплатная информационно-справочная система онлайн доступа к полному собранию технических нормативно-правовых актов РФ. Огромная база технических нормативов (более 150 тысяч документов) и полное собрание национальных стандартов, аутентичное официальной базе Госстандарта. GOSTRF.com - это более 1 Терабайта бесплатной технической информации для всех пользователей интернета. Все электронные копии представленных здесь документов могут распространяться без каких-либо ограничений. Поощряется распространение информации с этого сайта на любых других ресурсах. Каждый человек имеет право на неограниченный доступ к этим документам! Каждый человек имеет право на знание требований, изложенных в данных нормативно-правовых актах!

  


 

ГОСУДАРСТВЕННЫЙ СТАНДАРТ СОЮЗА ССР

ТРУБЫ ЧУГУННЫЕ

КАНАЛИЗАЦИОННЫЕ И ФАСОННЫЕ ЧАСТИ К НИМ. РАСТРУБЫ И ХВОСТОВИКИ ФАСОННЫХ ЧАСТЕЙ

ТИПЫ, КОНСТРУКЦИИ И РАЗМЕРЫ

ГОСТ 6942.2-80

ГОСУДАРСТВЕННЫЙ КОМИТЕТ СССР ПО ДЕЛАМ СТРОИТЕЛЬСТВА

Москва

РАЗРАБОТАНЫ Министерством промышленности строительных материалов СССР

ИСПОЛНИТЕЛИ

О.П. Михеев, канд. техн. наук (руководитель темы); В.И. Фельдман, канд. техн. наук; В.Н. Бехалов, канд. техн. наук

ВНЕСЕНЫ Министерством промышленности строительных материалов СССР

Зам. министра Н. П. Кабанов

УТВЕРЖДЕНЫ И ВВЕДЕНЫ В ДЕЙСТВИЕ Постановлением Государственного комитета СССР по делам строительства от 4 сентября 1980 г. № 137

ГОСУДАРСТВЕННЫЙ СТАНДАРТ СОЮЗА ССР

ТРУБЫ ЧУГУННЫЕ КАНАЛИЗАЦИОННЫЕ

И ФАСОННЫЕ ЧАСТИ К НИМ

РАСТРУБЫ И ХВОСТОВИКИ

ФАСОННЫХ ЧАСТЕЙ

Типы, конструкция и размеры

Cast iron waste pipes and fittings.

Sockets and spigot ends of fittings. Types, construction and dimensions

ГОСТ

6942.2-80

Взамен

ГОСТ 6942.2-69

Постановлением Государственного комитета СССР по делам строительства от 4 сентября 1980 г. №137 срок введения установлен

с 01.01 1982 г.

1. Настоящий стандарт распространяется на раструбы и хвостовики фасонных частей к чугунным трубам, предназначенным для систем внутренней канализации зданий.

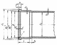
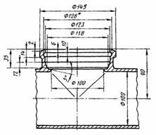
2. Раструбы фасонных частей изготовляют четырех типов: I, II, III и IV.

3. Конструкция и размеры раструбов типа I должны соответствовать указанным на черт. 1 и в табл. 1, типа II - на черт. 2 и в табл. 2, типа III - на черт. 3 и типа IV - на черт. 4. Размеры даны без учета антикоррозионного покрытия.

Раструб типа I

* Размеры для справок.

Черт. 1

Таблица 1

Условный проход Dy

D

D1

D2

D3

D4

D5

b

b1

b2

s

s1

l

с

r

50

55

65

72

76

81

90

13

8

15

4,0

4,5

55

9

6,0

100

105

118

123

128

133

145

14

10

20

4,5

5,0

65

10

6,0

150

155

168

176

182

187

202

15

12

25

5,0

5,5

70

12

7,5

Раструб типа II

* Размеры для справок.

Черт. 2

Таблица 2

мм

Условный проход Dy

D

D1

D2

D3

D4

b

b1

l

с

 

r

50

72

76

81

90

67

13

8

47

9

4,5

6,0

100

123

128

133

145

118

14

10

65

10

5,0

6,0

150

176

182

187

202

170

15

12

70

12

5,5

7,5

Раструб типа III

Черт. 3.

Раструб типа IV

* Размер для справок

Черт. 4

4. Конструкция и размеры хвостовиков фасонных частей должны соответствовать указанным на черт. 5 и в табл. 3.

Таблица 3

мм

Условный проход Dу

D

D1

s

50

58

62

4,0

100

109

114

4,5

150

160

164

5,0

Черт. 5

 




ГОСТЫ, СТРОИТЕЛЬНЫЕ и ТЕХНИЧЕСКИЕ НОРМАТИВЫ.
Некоммерческая онлайн система, содержащая все Российские Госты, национальные Стандарты и нормативы.
В Системе содержится более 150000 файлов нормативно-технической документации, действующей на территории РФ.
Система предназначена для широкого круга инженерно-технических специалистов.

Рейтинг@Mail.ru Яндекс цитирования

Copyright © www.gostrf.com, 2008 - 2026