Крупнейшая бесплатная информационно-справочная система онлайн доступа к полному собранию технических нормативно-правовых актов РФ. Огромная база технических нормативов (более 150 тысяч документов) и полное собрание национальных стандартов, аутентичное официальной базе Госстандарта. GOSTRF.com - это более 1 Терабайта бесплатной технической информации для всех пользователей интернета. Все электронные копии представленных здесь документов могут распространяться без каких-либо ограничений. Поощряется распространение информации с этого сайта на любых других ресурсах. Каждый человек имеет право на неограниченный доступ к этим документам! Каждый человек имеет право на знание требований, изложенных в данных нормативно-правовых актах!

  


 

ГОСУДАРСТВЕННЫЙ СТАНДАРТ СОЮЗА ССР

МУФТЫ И СОЕДИНИТЕЛЬНЫЕ ДЕТАЛИ

ЧУГУННЫЕ ДЛЯ АСБЕСТОЦЕМЕНТНЫХ

НАПОРНЫХ ТРУБ

ГОСТ 17584-72

ИЗДАТЕЛЬСТВО СТАНДАРТОВ

Москва

СОДЕРЖАНИЕ

ГОСУДАРСТВЕННЫЙ СТАНДАРТ СОЮЗА ССР

МУФТЫ И СОЕДИНИТЕЛЬНЫЕ ДЕТАЛИ
ЧУГУННЫЕ ДЛЯ АСБЕСТОЦЕМЕНТНЫХ
НАПОРНЫХ ТРУБ

Cast iron joining rings and fittings
for asbestos cement pressure pipes

ГОСТ
17584-72

Дата введения 01.01.73

в части тройников и полумуфт -                                                                                                            01.01.74

Настоящий стандарт распространяется на муфты и детали чугунные, предназначаемые для соединения асбестоцементных напорных труб систем водоснабжения и мелиорации, работающих под давлением до 15-ти, присоединения их к металлическим фланцам арматуры и устройства отводов.

Герметичность соединений труб обеспечивается за счет сжатия резиновых колец, изготовляемых по ГОСТ 5228.

(Измененная редакция, Изм. № 1).

1. СОРТАМЕНТ

1.1. Наименование, комплектность деталей, а также их обозначения должны соответствовать указанным в табл. 1.

1.2. Муфты и соединительные детали (тройники и полумуфты) состоят из чугунной втулки и фланцев, стягиваемых болтами.

1.3. Муфты и соединительные детали должны изготовляться в соответствии с требованиями настоящего стандарта по технической документации, утвержденной в установленном порядке.

Конструкция, размеры и справочная масса втулок и фланцев, а также размеров болтов должны соответствовать указанным в табл. 2-6 и на черт. 1-7.

1.4. Допускаемые отклонения размеров d1, D2 и D3 втулок и фланцев должны быть не ниже II класса точности, а остальных размеров - не ниже III класса точности по ГОСТ 26645.

1.3., 1.4. (Измененная редакция, Изм. № 1).

Таблица 1

Наименование комплекта

Муфта

Тройник

Полумуфта

Общий вид

Наименование деталей

Фланец

Втулка

Фланец

Втулка-тройник

Фланец

Втулка

Условное обозначение

ФЧМ

ВЧМ

ФЧМ

ВТЧМ

ФЧ

ВЧ

Номер чертежа

1-3

4

1-3

5

6

7

Номер таблицы

2

3

2

4

5

6

Назначение

Для соединения труб в водо- и газопроводах

Для устройства отводов Dу  =50 - 150 мм от водо- и газопроводов

Для присоединения металлических фланцев арматуры и соединительных частей (ГОСТ 12815, Ру = 10 кгс/см2) к трубам в водо- и газопроводах

Примечание. Поставка тройников и полумуфт должна производиться c 01.01.74.

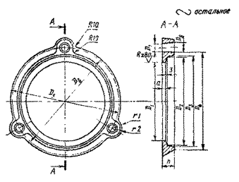
Таблица 2

Размеры в мм

Для асбестоцементных труб

Размеры фланцев ФЧМ

Справочная масса

Болты

Условный проход

Наружный диаметр

D1

D2

D3

D4

D5

D6

D7

D8

r1

r2

a

h

кг.

Диаметр

Длина

Кол.

100

122

125

146

150

160

186

176

14

16

16

14

5

23

1,4

М12

110

3

150

168

171

194

198

208

236

230

20

22

20

18

6

24

2,0

М16

130

3

200

224

227

252

256

269

297

291

20

22

20

18

6

24

2,7

М16

130

4

250

274

278

305

309

319

354

345

24

26

24

22

8

30

4,3

М20

160

4

300

324

328

357

361

373

438

399

2:

26

24

22

8

30

5,6

М20

160

5

350

373

377

408

413

425

465

451

24

26

24

22

9

34

8,2

М20

180

5

400

427

431

464

469

482

522

508

24

26

24

22

9

34

9,0

М20

180

5

500

528

533

538

573

585

625

611

24

26

24

22

10

36

11,5

М20

180

5

Фланец ФЧМ для труб Dу = 100-150 мм

Черт. 1

Фланец ФЧМ для труб Dy=200-250 мм

Черт. 2

Фланец ФЧМ для труб Dу, =300- 500 мм

Черт. 3

Втулка ВЧМ

Черт. 4

Таблица 3

Размеры в мм

Асбестоцементные трубы

Размеры втулок ВЧМ для муфт

Справочная

масса, кг

Условный проход

Наружный диаметр

D1

D2

D3

D4

B

S

100

122

125

143

129

147

50

9

1,3

150

168

171

191

175

195

70

10

2,8

200

224

227

249

231

253

70

11

4,0

250

274

278

302

282

306

80

12

6,9

300

324

328

354

332

358

90

13

8,8

350

373

377

405

382

410

90

14

10,9

400

427

431

461

436

465

100

15

14,4

500

528

533

565

538

570

100

16

19,5

Втулка-тройник ВТЧМ

Черт. 5

Таблица 4

Размеры в мм

Асбестоцементные трубы,

Размеры втулок тройников ВТЧМ

Справочная

масса кг

Болты

Условный проход

Наружный диаметр

D1

D2

D3

D4

D5

D6

D7

d

n

S

B

l

Диаметр

Длина

Кол.

100

122

125

113

129

50

102

125

165

20

4

9

17

110

6,0

180

M12

3

100

122

125

143

129

100

158

180

220

20

4

9

19

160

9,0

220

M12

3

150

168

171

191

175

50

102

125

165

20

4

10

17

110

7,5

180

M16

3

150

168

171

191

175

100

158

180

220

20

4

10

19

160

11,8

220

M16

3

150

168

171

191

175

150

212

210

285

24

8

10

21

210

15,5

270

M16

3

200

224

227

249

231

50

102

125

165

20

4

11

17

110

9,8

180

M16

4

200

224

227

249

231

100

158

180

220

20

4

11

19

160

15,2

220

M16

4

200

224

227

249

231

150

212

240

285

24

8

11

21

210

21,3

270

M16

4

300

324

328

351

332

100

158

180

220

20

4

13

19

160

20,7

250

M20

5

300

324

328

354

332

150

212

240

285

24

8

13

21

210

28,3

300

M20

5

Таблица 5

Размеры в мм

Асбестоцементные трубы

Размеры фланцев ФЧ

Справочная

масса кг

Болты

Условный проход

Наружный диаметр

D1

D2

D3

D4

D5

D6

D7

a

b

h

Диаметр

Длина

Кол.

100

122

125

146

150

180

218

220

19

5

8

23

2,4

M16

140

4

150

168

171

194

198

240

283

285

23

6

9

24

4,0

M20

140

8

200

224

227

252

256

295

338

340

23

6

9

24

5,0

M20

140

8

250

274

278

305

309

350

393

395

23

8

11

30

7,9

M20

153

12

300

324

328

357

361

400

443

415

23

8

11

30

8,5

M20

150

12

350

373

377

403

413

460

502

505

23

9

12

3t

12,4

M20

150

16

400

427

431

464

469

515

562

565

26

9

12

34

14,5

M22

150

16

500

528

553

568

573

620

667

670

26

10

13

36

20,5

M22

150

20

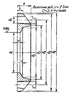
Таблица 6

Размеры в мм

Асбестоцементные трубы

Размеры втулок ВЧ

Справочная

масса, кг

Условный проход

Наружный диаметр

D1

D2

D3

D4

s

100

122

125

143

100

158

9

2,2

150

168

l71

191

150

212

10

3,4

200

224

227

249

200

268

11

5,0

260

274

278

302

250

320

12

6,7

300

324

328

364

300

370

13

8,5

350

873

377

405

350

430

14

11,2

400

427

431

461

.399

482

15

13,8

500

528

533

567

498

585

16

18,4

Фланец ФЧ

Черт. 6

Втулка ВЧ

Черт. 7

2. ТЕХНИЧЕСКИЕ ТРЕБОВАНИЯ

2.1. Втулки и фланцы должны отливаться из чугуна марки не ниже СЧ 12-28 по ГОСТ 1412.

2.2. Отливки деталей не должны иметь дефектов: недолива, неслитин, пригаров, заливов, пористости, трещин, раковин глубиной более 15 % номинальной толщины стенки.

Допускается заварка дефектных мест с последующей зачисткой. Общее количество заваренных мест не должно быть более двух на деталь.

При неровной поверхности отливки допускается местная зачистка глубиной не более 1 мм только под гайки или головки болтов.

На изделиях высшей категории качества дефекты не допускаются.

2.3. Втулки должны быть водонепроницаемы и выдерживать без разрушения давление:

25 ати - при условном проходе до 300 мм;

20 ати - при условном проходе св. 300 мм, а втулки муфт высшей категории качества-30 ати при условном проходе до 300 мм и 25 ати - при условном проходе св. 300 мм.

2.4. Поверхности втулок и фланцев должны быть покрыты нефтяным битумом, температура размягчения которого должна быть не ниже 65°С. Битум должен отвечать требованиям ГОСТ 9812. Покрытие должно быть прочным, гладким и не иметь видимых глазом трещин, не должно быть липким и растворимым в воде. Покрытие поверхности втулок битумом должно производиться после их гидравлического испытания.

Примечание. Поверхности втулок и фланцев муфт, предназначенных для систем мелиорации, допускается покрывать битумным лаком БТ 577 по ГОСТ 5631.

2.5. Размеры болтов и гаек должны соответствовать ГОСТ 7798 и ГОСТ 5915, а технические требования к ним - ГОСТ 1759.0.

Допускается применение болтов грубой точности с уменьшенной головкой по ГОСТ 15590, а также шпилек соответствующей длины и диаметра резьбы по ГОСТ 22042 с гайками.

2.4. - 2.5. (Измененная редакция, Изм. № 1).

2.6. Болты и гайки должны быть оцинкованы.

Примечание. Допускается по согласованию с потребителем поставка неоцинкованных болтов и гаек.

2.7. Готовые детали должны быть приняты техническим контролем предприятия-изготовителя.

3. МЕТОДЫ ИСПЫТАНИЙ

3.1. Муфты и соединительные детали должны поставляться комплектно партиями. Размер партии устанавливают соглашением между предприятием-изготовителем и потребителем.

3.2. Приемку муфт и соединительных деталей производят путем проведения приемочного контроля по внешнему виду и размерам, а также по водонепроницаемости.

Для проверки по внешнему виду и размерам отбирают 5 % фланцев, втулок и др. деталей, а для испытания гидравлическим давлением - 1 % втулок от партии, но не менее 5 шт.

При приемке изделий высшей категории качества для проверки по всем показателям отбирают 10% изделий от партии.

Если при контрольной проверке хотя бы одно изделие по какому-либо показателю не будет удовлетворять требованиям настоящего стандарта, производят повторную проверку по этому показателю удвоенного количества изделий, отобранных от той же партии. В случае неудовлетворительных результатов повторной проверки, партию бракуют.

(Измененная редакция, Изм. № 1).

3.3. Проверка размеров должна проводиться универсальным инструментом или шаблонами.

3.4. Гидравлические испытания втулок проводят на специальном прессе.

При установке на прессе торцы втулок герметизируют резиновыми кольцами. Испытание проводят нагнетанием воды в испытуемую втулку. Величину давления определяют по манометру.

Под гидравлическим давлением, указанным в п. 2.3, втулка должна находиться не менее 15 с. При испытании втулку слегка обстукивают стальным молотком массой 700г.

Если в процессе, этого испытания на наружной поверхности втулки не образуется капелек воды, то ее считают выдержавшей испытание на водонепроницаемость.

3.5. Методы испытаний физико-механических показателей и химического анализа чугуна втулок и фланцев, должны соответствовать указанным в ГОСТ 1412 и ГОСТ 22536.0 - ГОСТ 22536.14.

3.6. Температура размягчения битума должна определяться по ГОСТ 11506.

4. МАРКИРОВКА, ТРАНСПОРТИРОВАНИЕ И ХРАНЕНИЕ

4.1. На наружной поверхности каждой муфты или детали должны быть указаны: товарный знак предприятия-изготовителя, буква В на муфтах, предназначенных для систем питьевого водоснабжения, буква М на муфтах для систем мелиорации, условное обозначение детали, диаметр труб, для которых они предназначены, а на втулке-тройнике дополнительно указывают диаметр отвода.

На муфтах и деталях высшей категории качества должно быть нанесено изображение государственного Знака качества. Например, на втулке-тройнике, предназначенной для соединения асбестоцементных труб для мелиорации с диаметром условного прохода 150 мм и устройства отвода с условным проходом 50 мм, должны быть указаны после товарного знака наименование детали и диаметр труб: М-ВТЧМ -150/50, а на фланцах, комплектующих такую втулку, должно быть соответственно указано: М-ФЧ-150.

4.2. Предприятие-изготовитель должно сопровождать каждую партию изделий паспортом (сертификатом), в котором указывают:

а) наименование завода-изготовителя;

б) номер партии;

в) наименование комплекта;

г) результаты гидравлических испытаний втулок;

д) температуру размягчения битума;

е) обозначение настоящего стандарта.

(Измененная редакция, Изм. № 1).

4.3. Втулки, фланцы и болты для муфт, тройников и полумуфт перевозят комплектно, для этого их связывают проволокой или стягивают болтами.

При перевозке чугунных деталей, связанных проволокой, необходимое количество болтов отправляют в ящиках одновременно с чугунными деталями.

4.4. Муфты, тройники и полумуфты должны храниться под навесом уложенными раздельно в стопы и должны быть защищены от воздействия атмосферных осадков.

5. ГАРАНТИИ ИЗГОТОВИТЕЛЯ

5.1. Предприятие-изготовитель должно гарантировать соответствие поставляемых изделий требованиям настоящего стандарта.

5.2. Гарантийный срок эксплуатации (хранения) изделий при условии соблюдения потребителем правил транспортирования и хранения, предусмотренных настоящим стандартом,-12 мес. со дня сдачи муфт (других изделий) в эксплуатацию, но не более 18 мес. со дня отгрузки с предприятия, а муфт (других изделий) высшей категории качества - два года со дня сдачи в эксплуатацию, но не более двух с половиной лет со дня отгрузки с предприятия-изготовителя.

Раздел 5. (Введен дополнительно, Изм. № 1).

ИНФОРМАЦИОННЫЕ ДАННЫЕ

1. РАЗРАБОТАН Научно-исследовательским и проектным институтом асбестоцементной промышленности «НИИасбестцемент» Минстройматериалов СССР

РАЗРАБОТЧИКИ

М. Е. Чеченин (руководитель темы), Г. А. Пугачев, Л. М. Лейбенгруб.

ВНЕСЕН Министерством промышленности строительных материалов СССР

2. УТВЕРЖДЕН И ВВЕДЕН В ДЕЙСТВИЕ Постановлением Госстроя СССР от 10.03.72 № 37

3. ВВЕДЕН ВПЕРВЫЕ

4. ССЫЛОЧНЫЕ НОРМАТИВНО-ТЕХНИЧЕСКИЕ ДОКУМЕНТЫ

5. ПЕРЕИЗДАНИЕ (август 1993 г.) с Изменением № 1, утвержденным в июне 1978 г. (ИУС 8-78)

 




ГОСТЫ, СТРОИТЕЛЬНЫЕ и ТЕХНИЧЕСКИЕ НОРМАТИВЫ.
Некоммерческая онлайн система, содержащая все Российские Госты, национальные Стандарты и нормативы.
В Системе содержится более 150000 файлов нормативно-технической документации, действующей на территории РФ.
Система предназначена для широкого круга инженерно-технических специалистов.

Рейтинг@Mail.ru Яндекс цитирования

Copyright © www.gostrf.com, 2008 - 2026