Крупнейшая бесплатная информационно-справочная система онлайн доступа к полному собранию технических нормативно-правовых актов РФ. Огромная база технических нормативов (более 150 тысяч документов) и полное собрание национальных стандартов, аутентичное официальной базе Госстандарта. GOSTRF.com - это более 1 Терабайта бесплатной технической информации для всех пользователей интернета. Все электронные копии представленных здесь документов могут распространяться без каких-либо ограничений. Поощряется распространение информации с этого сайта на любых других ресурсах. Каждый человек имеет право на неограниченный доступ к этим документам! Каждый человек имеет право на знание требований, изложенных в данных нормативно-правовых актах!

  


 

ГОСТ Р 50851-96

ГОСУДАРСТВЕННЫЙ СТАНДАРТ РОССИЙСКОЙ ФЕДЕРАЦИИ

Мойки
из нержавеющей стали

Технические условия

Министерство строительства российской федерации

Москва

Предисловие

1 РАЗРАБОТАН Научно-исследовательским институтом санитарной техники (НИИсантехники) Российской Федерации

ВНЕСЕН Главным управлением стандартизации, технического нормирования и сертификации Минстроя России

2 ПРИНЯТ И ВВЕДЕН В ДЕЙСТВИЕ Постановлением Минстроя России от 15 ноября 1995 г. № 18-97

3 ВВЕДЕН ВПЕРВЫЕ

ГОСТ Р 50851-96

ГОСУДАРСТВЕННЫЙ СТАНДАРТ РОССИЙСКОЙ ФЕДЕРАЦИИ

Мойки из нержавеющей стали

Технические условия

Stainless steel sinks.

Specifications

Дата введения 1996-01-01

1 ОБЛАСТЬ ПРИМЕНЕНИЯ

Настоящий стандарт распространяется на мойки из нержавеющей стали, устанавливаемые в кухнях и бытовых помещениях зданий различного назначения.

Обязательные требования к качеству продукции изложены в 3.1 - 3.6, 4.2.1 - 4.2.5, 4.4.1.

2 НОРМАТИВНЫЕ ССЫЛКИ

ГОСТ 2.601-95 ЕСКД. Эксплуатационные документы

ГОСТ 427-75 Линейки измерительные металлические. Технические условия

ГОСТ 5582-75 Сталь тонколистовая коррозионностойкая, жаростойкая и жаропрочная

ГОСТ 10905-86 Плиты поверочные и разметочные. Технические условия

ГОСТ 14192-77 Маркировка грузов

ГОСТ 15150-69 Машины, приборы и другие технические изделия. Исполнения для различных климатических районов. Категории, условия эксплуатации, хранения и транспортирования в части воздействия климатических факторов внешней среды

ГОСТ 15846-79 Продукция, отправляемая в районы Крайнего Севера и труднодоступные районы. Упаковка, маркировка, транспортирование и хранение

ГОСТ 19300-86 Средства измерения шероховатости поверхности профильным методом. Профилографы-профилометры контактные. Типы и основные размеры

3 КЛАССИФИКАЦИЯ И ОСНОВНЫЕ РАЗМЕРЫ

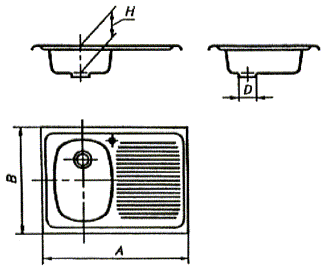
3.1 Типы и основные размеры моек должны соответствовать указанным на рисунках 1 - 8 и в таблице 1.

Рисунок 1 - Мойка из нержавеющей стали с одной чашей накладная (Тип МН)

Рисунок 2 - Мойка из нержавеющей стали с одной чашей, сливной полкой, накладная (Тип МНП)

Рисунок 3 - Мойка из нержавеющей стали с двумя чашами, накладная (тип МН2)

Рисунок 4 - Мойка из нержавеющей стали с двумя чашами, сливной полкой, накладная (Тип МНП2)

Рисунок 5 - Мойка из нержавеющей стали с одной чашей, встраиваемая (Тип МНВ)

Рисунок 6 - Мойка из нержавеющей стали с одной чашей, сливной полкой, встраиваемая (Тип МНВП)

Рисунок 7 - Мойка из нержавеющей стали с двумя чашами, встраиваемая (Тип МНВ2)

Рисунок 8 - Мойка из нержавеющей стали с двумя чашами, сливной полкой, встраиваемая (Тип МНВП2)

Таблица 1

В миллиметрах

Тип мойки

Длина А,

±3

Ширина В,

±3

Глубина чаши Н, не менее

Накладные

МН

500

600

150

МНП

800

МН2

800

МНП2

1200

Встраиваемые

МНВ

450

500 - 520

 

МНВП

750 - 780

МНВ2

750 - 780

МНВП2

1150

(Измененная редакция).

3.2 Конструкция мойки должна предусматривать наличие отверстий для установки выпуска и водоразборной арматуры.

3.3 Диаметры и расположение отверстий для установки водоразборной арматуры должны соответствовать указанным на рисунке 9 с отклонениями ±1 мм.

По требованию потребителя мойки могут изготовляться без отверстий для водоразборной арматуры.

Диаметр отверстия для установки выпуска должен быть 52 мм с отклонениями: +1, -3 мм. По согласованию с потребителем допускается предусматривать выпускное отверстие диаметром 60 мм с теми же отклонениями.

3.4 Размеры и расположение отверстий в мойках для установки водоразборной арматуры должны соответствовать указанным на рисунке 9 с отклонениями ±1,0 мм.

3.5 Конструкция и конфигурация моек, расположение отверстия под выпуск, а также расположение отверстия под дополнительный смеситель настоящим стандартом не регламентируются, а определяются рабочими чертежами, утвержденными в установленном порядке.

3.6 Условное обозначение моек в технической документации и при заказе должно состоять из слова «Мойка», обозначения ее типа и обозначения настоящего стандарта.

Для моек после обозначения типа указывают буквы:

Ц - для моек с отверстиями для установки центрального смесителя;

Щ - для моек с отверстиями для установки смесителя со щеткой или душем на гибком шланге;

Р - для моек с отверстиями для установки смесителя с раздельными подводками;

Л - для моек типов МНП, МНВП, изготовленных в левом исполнении (чаша расположена слева при взгляде на мойку спереди);

О - для моек с отверстием для установки дополнительного смесителя очистки воды.

Для центрального смесителя

Для смесителя с раздельными подводками

Для смесителя с моечной щеткой или душем на гибком шланге

Рисунок 9 - Расположение и размеры отверстий на мойках для водоразборной арматуры

* Для моек типов МН, МНП, МН2, МНП2.

** Для моек типов МНП, МНВП, МНП2, МНВП2.

Пример условного обозначения мойки из нержавеющей стали накладной, с одной чашей, с отверстием для установки центрального смесителя:

Мойка МНЦ ГОСТ Р 50851-96

То же, с двумя чашами, со сливной полкой, в левом исполнении, с отверстиями для установки смесителя со щеткой на гибком шланге:

Мойка МНП2ЩЛ ГОСТ Р 50851-96

4 ТЕХНИЧЕСКИЕ ТРЕБОВАНИЯ

4.1 Мойки следует изготовлять в соответствии с требованиями настоящего стандарта, конструкторской и технологической документации, утвержденной предприятием-изготовителем. При разработке конструкторской и технологической документации на изделия конкретных видов необходимо применять показатели качества, указанные в приложении А.

4.2 Характеристики

4.2.1 При горизонтальном положении бортов мойки дно ее чаши должно иметь уклон к выпускному отверстию, обеспечивающий полный слив воды через выпуск, а сливная полка - в сторону чаши.

4.2.2 Допуски плоскостности и формы заданной поверхности моек не должны превышать значений, указанных ниже:

2,0 мм - допуск плоскостности продольных и поперечных бортов;

0,5 мм - допуск формы заданной поверхности бортов;

0,1 мм - то же, боковых стенок, днища и радиусов перехода борта к стенкам.

4.2.3 Мойки должны иметь на невидимой поверхности чаши шумопоглощающее покрытие.

4.2.4 Мойки должны выдерживать механическую нагрузку.

4.2.5 Видимая поверхность моек должна быть полированной и ее шероховатость должна быть не более 0,32 мкм. Не допускается наличие пятен различных оттенков, волнистости и царапин.

4.2.6 Сварные швы на видимой поверхности моек должны быть тщательно зачищены и отполированы.

4.3 Требования к сырью, материалам и комплектующим изделиям

4.3.1 Мойки должны изготовляться из тонколистовой нержавеющей коррозионностойкой стали улучшенной плоскостности, пригодной для штамповки и полировки, в соответствии с утвержденной технической документацией. Перечень рекомендуемых марок нержавеющих сталей приведен в приложении В.

4.3.2 Детали крепления моек, выполненные на сварке, должны изготовляться из стали той же марки, что и мойки.

4.4 Комплектность

4.4.1 Мойки должны поставляться предприятием-изготовителем комплектно. В состав комплекта моек входят: мойка, водосливная арматура (сифон, выпуск, перелив), водоразборная арматура, детали крепления мойки к подстолью и детали для обеспечения водонепроницаемости мест соединения мойки с подстольем.

По согласованию потребителя и изготовителя мойки могут поставляться частично или полностью без комплектующих изделий, за исключением деталей, обеспечивающих водонепроницаемость.

4.4.2 Мойки, отгружаемые потребителю в одной транспортной единице по одному сопроводительному документу, должны сопровождаться паспортом.

4.4.3 В паспорте должны быть указаны:

- наименование предприятия-изготовителя, его товарный знак и адрес;

- условное обозначение мойки;

- комплектность и количество;

- гарантии предприятия-изготовителя;

- дата выпуска или отгрузки;

- штамп ОТК.

4.4.4 При поставке в торговую сеть паспорт должен прикладываться в каждой мойке, а в состав комплекта должна входить также инструкция по монтажу и эксплуатации.

4.4.5 Допускается совмещать паспорт с инструкцией по монтажу и эксплуатации.

4.5 Маркировка

4.5.1 На мойках должен быть нанесен товарный знак предприятия-изготовителя. Маркировка должна быть четкой, сохраняющейся в течение всего срока службы мойки.

4.5.2 Место и способ нанесения маркировки определяет предприятие-изготовитель.

4.5.3 Упакованные мойки должны иметь транспортную маркировку в соответствии с ГОСТ 14192.

4.6 Упаковка

4.6.1 Мойки должны быть упакованы в соответствии с технической документацией предприятия-изготовителя. Упаковка должна обеспечивать сохранность моек при транспортировании и хранении.

4.6.2 Мойки упаковывают на деревянных поддонах, в деревянные ящики или обрешетки, прокладывая между мойками бумагу.

4.6.3 При поставке в торговую сеть каждую мойку упаковывают отдельно в картонную коробку или в деревянную обрешетку.

5 ПРАВИЛА ПРИЕМКИ

5.1 Мойки принимают партиями. В состав партии входят мойки одного типа. Объем партии устанавливается предприятием-изготовителем, но не более сменной выработки.

5.2 Для проверки соответствия моек требованиям настоящего стандарта должны проводиться приемосдаточные, периодические и типовые испытания.

5.3 Приемосдаточные испытания

5.3.1 При приемосдаточных испытаниях каждую мойку проверяют на соответствие требованиям 3.2, 4.2.2, 4.2.3, 4.2.5, 4.4, 4.5.

5.3.2 Проверке на соответствие требованиям 3.1, 3.3, 4.2.1, 4.2.4, 4.4.1 подвергают 1 % моек от партии, но не менее 3 шт.

5.3.3 Проверке на соответствие требованиям 4.3.1 подвергают каждую партию металла, поступившую на предприятие-изготовитель.

5.3.4 Проверке на соответствие требованиям 4.6 подвергают партию моек, подготовленную к отправке и поставляемую по одному сопроводительному документу. Проверку проводят не реже одного раза в квартал.

5.3.5 При получении неудовлетворительных результатов проверки хотя бы по одному показателю при выборочном контроле, проводят повторный контроль по этому показателю удвоенного количества моек, отобранных от той же партии.

В случае неудовлетворительных результатов повторного контроля партию моек бракуют. Допускается поштучная приемка моек.

5.4 Периодические испытания проводят на соответствие всем требованиям настоящего стандарта.

Проверке подвергают не менее трех моек, прошедших приемосдаточные испытания, не реже одного раза в год.

5.5 Типовые испытания проводят с целью определения эффективности и целесообразности предполагаемых изменений конструкций и технологии изготовления, которые могут повлиять на технические характеристики продукции.

Типовые испытания проводят на образцах моек, в конструкцию которых на основании временных документов внесены изменения. Виды и объем испытаний определяет организация-разработчик.

6 МЕТОДЫ КОНТРОЛЯ

6.1 Внешний вид и качество поверхностей моек (3.2, 4.2.6) проверяют визуально, сравнивая с образцом, без применения увеличительных приборов при естественном или искусственном освещении с расстояния 0,7 м и освещенности не менее 200 лк.

6.2 Размеры моек и допуски (3.1, 3.3, 3.4) определяют универсальными или специальными средствами измерений, обеспечивающими необходимую точность измерений (металлической линейкой, штангенциркулем, высотомером), или шаблонами.

6.3 Определение допуска плоскостности и формы заданной поверхности (4.2.2)

6.3.1 Средства контроля и вспомогательные материалы

Поверочная плита по ГОСТ 10905.

Набор щупов.

Линейка измерительная металлическая по ГОСТ 427.

Индикатор рычажно-механического типа.

6.3.2 Порядок проведения контроля

На поверочной плите измеряют наибольший зазор между плитой и проверяемой поверхностью набором щупов.

Отклонение формы заданной поверхности (гофры) определяют с помощью индикатора.

Допускается проводить проверку плоскостности при помощи поверочной линейки и набора щупов.

Допускаются другие методы контроля, обеспечивающие заданную точность.

6.3.3 Контроль уклона дна к отверстию для выпуска и уклона сливной полки в сторону чаши (4.2.1) определяют частичным заполнением мойки водой.

После слива в мойке не должна оставаться вода.

6.4 Контроль применяемых материалов осуществляют по сопроводительной документации на материалы при входном контроле или путем лабораторных анализов.

6.5 Контроль шероховатости поверхности (4.2.5) проводят профилометром-профилографом или другим прибором, указанным в ГОСТ 19300, или сравнением с образцами-эталонами шероховатости.

6.6 Проверку наличия шумопоглощающего материала (4.2.3), комплектности (4.4), маркировки (4.5) осуществляют визуально.

6.7 Определение механической прочности мойки (4.2.4)

6.7.1 Средства контроля и вспомогательные материалы

Деревянная доска 200´300 мм и толщиной 40 мм.

Резина листовая 250´400 мм и толщиной 15 мм.

Набор грузов массой 50 кг.

6.7.2 Порядок проведения контроля

Прочность моек проверяют постепенным нагружением деревянной доски, уложенной через резиновую прокладку на дно чаши, грузом 50 кг в течение 10 мин.

6.7.3 Правила определения результатов испытаний

Мойки считают выдержавшими испытание, если:

- после проверки габаритных и присоединительных размеров не обнаружено отклонений, выходящих за пределы допусков;

- при осмотре с помощью лупы 4-кратного увеличения не обнаружено деформации поверхностей, деформации крепежных деталей, срыва резьбы, выдавливание прокладок.

7 ТРАНСПОРТИРОВАНИЕ И ХРАНЕНИЕ

7.1 Мойки следует перевозить крытым транспортом любого вида согласно правилам перевозки грузов, действующим на данном виде транспорта.

7.2 При транспортировании моек в районы Крайнего Севера и в труднодоступные районы тара и упаковка должны соответствовать ГОСТ 15846.

7.3 Мойки должны храниться в закрытом помещении или под навесом, исключающим возможность попадания на них атмосферных осадков.

8 УКАЗАНИЯ ПО МОНТАЖУ И ЭКСПЛУАТАЦИИ

8.1 Сведения по монтажу и эксплуатации должны быть изложены в эксплуатационной документации (инструкции, паспорте), составленной в соответствии с ГОСТ 2.601.

Мойки должны иметь горизонтальное положение бортов, отклонение не должно превышать 2 мм по длине мойки.

Мойки должны быть прочно закреплены на подстолье. Рекомендуемые монтажные схемы установки моек на подстолье приведены в приложениях В и Г.

8.2 При чистке моек не допускается применение моющих средств, содержащих абразивные материалы.

9 ГАРАНТИИ ИЗГОТОВИТЕЛЯ

9.1 Предприятие-изготовитель должно гарантировать соответствие моек требованиям настоящего стандарта при соблюдении условий транспортирования и хранения, установленных настоящим стандартом.

9.2 Гарантийный срок эксплуатации моек - два года со дня сдачи объекта в эксплуатацию или продажи (при реализации приборов через торговую сеть), но не более двух с половиной лет со дня их отгрузки предприятием-изготовителем.

Приложение А

(обязательное)

НОМЕНКЛАТУРА ПОКАЗАТЕЛЕЙ КАЧЕСТВА МОЕК ИЗ НЕРЖАВЕЮЩЕЙ СТАЛИ

1 Механическая прочность прибора

2 Присоединительные размеры

3 Габаритные размеры, отклонение от них

4 Отклонение от плоскостности и коробление

5 Показатели внешнего вида

Приложение Б

(рекомендуемое)

ПЕРЕЧЕНЬ НЕРЖАВЕЮЩИХ СТАЛЕЙ ДЛЯ ИЗГОТОВЛЕНИЯ МОЕК

Сталь тонколистовая коррозионностойкая улучшенной плоскостности, травленая или после светлого отжига с чистотой поверхности М2а и по ГОСТ 5582 марок 08Х18Н10, 08Х18Н10Т, 12Х18Н10Т, 08Х18Тч (Ди77), 10Х13Г18Д (Ди61).

Приложение В

(рекомендуемое)

МОНТАЖНАЯ СХЕМА УСТАНОВКИ МОЙКИ ТИПА МНП НА ПОДСТОЛЬЕ

1 - мойка; 2 - нагель; 3 - выпуск; 4 - сифон; 5 - гайка; 6 - винт; 7 - прокладка резиновая; 8 - воронка; 9 - сетка; 10 - пробка

Приложение Г

(рекомендуемое)

МОНТАЖНАЯ СХЕМА УСТАНОВКИ МОЙКИ ТИПА МНВП НА ПОДСТОЛЬЕ

1 - прокладка; 2 – зажим

 

Ключевые слова : мойки из нержавеющей стали, технические требования, маркировка, упаковка, транспортирование, хранение

 

СОДЕРЖАНИЕ

1 область применения. 1

2 нормативные ссылки. 1

3 классификация и основные размеры.. 2

4 технические требования. 7

5 правила приемки. 8

6 методы контроля. 9

7 транспортирование и хранение. 10

8 указания по монтажу и эксплуатации. 10

9 гарантии изготовителя. 10

Приложение а Номенклатура показателей качества моек из нержавеющей стали. 10

Приложение б Перечень нержавеющих сталей для изготовления моек. 10

Приложение в Монтажная схема установки мойки типа мнп на подстолье. 11

Приложение г Монтажная схема установки мойки типа мнвп на подстолье. 12

 

 




ГОСТЫ, СТРОИТЕЛЬНЫЕ и ТЕХНИЧЕСКИЕ НОРМАТИВЫ.
Некоммерческая онлайн система, содержащая все Российские Госты, национальные Стандарты и нормативы.
В Системе содержится более 150000 файлов нормативно-технической документации, действующей на территории РФ.
Система предназначена для широкого круга инженерно-технических специалистов.

Рейтинг@Mail.ru Яндекс цитирования

Copyright © www.gostrf.com, 2008 - 2026