Крупнейшая бесплатная информационно-справочная система онлайн доступа к полному собранию технических нормативно-правовых актов РФ. Огромная база технических нормативов (более 150 тысяч документов) и полное собрание национальных стандартов, аутентичное официальной базе Госстандарта. GOSTRF.com - это более 1 Терабайта бесплатной технической информации для всех пользователей интернета. Все электронные копии представленных здесь документов могут распространяться без каких-либо ограничений. Поощряется распространение информации с этого сайта на любых других ресурсах. Каждый человек имеет право на неограниченный доступ к этим документам! Каждый человек имеет право на знание требований, изложенных в данных нормативно-правовых актах!

  


 

ГОСУДАРСТВЕННЫЙ СТАНДАРТ СОЮЗА ССР

ГРУНТЫ

МЕТОДЫ РАДИОИЗОТОПНЫХ ИЗМЕРЕНИЙ
ПЛОТНОСТИ И ВЛАЖНОСТИ

ГОСТ 23061-90

ГОСУДАРСТВЕННЫЙ СТРОИТЕЛЬНЫЙ КОМИТЕТ СССР

Москва

ГОСУДАРСТВЕННЫЙ СТАНДАРТ СОЮЗА ССР

ГРУНТЫ

Методы радиоизотопных измерений
плотности и влажности

Soils.
Methods for radioisotope measurement
of density and humidity

ГОСТ
23061-90

Дата введения 01.09.90

Настоящий стандарт распространяется на песчаные, глинистые, крупнообломочные, скальные грунты и устанавливает методы радиоизотопных измерений плотности и влажности при исследовании их свойств.

Стандарт не распространяется на крупнообломочные валунные грунты, а также грунты, в которых содержание фракций размером более 100 мм превышает 20 %, фосфоритосодержащие грунты с содержанием фосфоритов более 20 %.

Пояснения к терминам, используемым в настоящем стандарте, приведены в приложении 1.

1. ОБЩИЕ ПОЛОЖЕНИЯ

1.1. Методы радиоизотопных измерений плотности и влажности грунтов основаны на использовании закономерностей взаимодействия гамма- и нейтронного излучений с электронами и ядрами атомов вещества среды (грунта).

1.2. Метод радиоизотопного измерения плотности грунтов основан на зависимости между плотностью контролируемого грунта и характеристиками ослабления и рассеяния измеряемого потока энергии гамма-излучения.

1.3. Плотность грунта следует измерять путем детектирования и регистрации плотности потока:

рассеянного первичного гамма-излучения (метод альбедо);

ослабленного первичного гамма-излучения (метод абсорбции);

рассеянного и ослабленного первичного гамма-излучения (альбедно-абсорбционный метод).

1.4. Метод альбедо заключается в детектировании и регистрации плотности потока гамма-квантов, рассеянных на электронах атомов вещества при взаимодействии потока энергии первичного гамма-излучения источника ионизирующего излучения с материалом грунта.

1.5. Метод абсорбции заключается в детектировании и регистрации плотности потока гамма-квантов, прошедших через слой материала между радиоактивным источником и детектором гамма-излучения.

1.6. Альбедо-абсорбционный метод заключается в детектировании и регистрации плотности потока гамма-квантов, рассеянных в объеме грунта и прошедших через слой между источником ионизирующего излучения и детектором гамма-излучения.

1.7. Метод нейтронного измерения влажности основан на зависимости между водосодержанием грунта и плотностью потока замедленных нейтронов в процессе их рассеяния на ядрах атомов водорода. Этим методом измеряют влажность грунта в исследуемом объеме между источником нейтронов и измерительным преобразователем.

1.8. Плотность грунта r следует измерять радиоизотопным плотномером или определять по зарегистрированной плотности потока гамма-излучения с помощью градуировочного графика радиоизотопного плотномера или по специальной формуле.

1.9. Влажность грунта следует измерять нейтронным влагомером или определять по зарегистрированной плотности потока замедленных нейтронов с помощью градуировочного графика нейтронного влагомера или по специальным формулам.

2. СРЕДСТВА ИЗМЕРЕНИЯ

2.1. Для измерения плотности грунта применяют радиоизотопные переносные или возимые плотномеры по ГОСТ 25932.

2.2. Для измерения влажности грунта применяют нейтронные переносные или возимые влагомеры по ГОСТ 19611, ГОСТ 21196.

2.3. Для одновременного измерения плотности и влажности грунта применяют переносные влагоплотномеры по ГОСТ 25932.

2.4. Радиоизотопные плотномеры и влагоплотномеры должны обеспечивать возможность измерения плотности грунта от (0,8 ± 0,2) г/см3 до (2,3 ± 0,2) г/см3, от (800 ± 200) кг/м3 до (2300 ± 200) кг/м3.

Для измерения плотности торфа, заторфованных и других рыхлых грунтов допускается применять радиоизотопные плотномеры с нижним пределом измерений плотности менее 0,8 г/см3 (800 кг/м3) и верхним пределом измерений плотности ниже 2,3 г/см3 (2300 кг/м3).

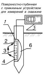
2.5. При измерении плотности грунта методом альбедо применяют следующие схемы измерений (черт. 1):

глубинную - измерительный преобразователь с источником ионизирующего излучения помещают в скважину по ее центру на глубину более 400 мм для измерения плотности в радиусе до 100 - 250 мм;

поверхностную - измерительный преобразователь и источник ионизирующего излучения помещают на поверхности грунта для измерения плотности грунта в слое толщиной до 120 мм;

поверхностно-глубинную - измерительный преобразователь и источник ионизирующего излучения прижимают к боковой поверхности скважины или обсадной трубы для измерения плотности грунта в слое толщиной до 120 мм.

Схемы измерений радиоизотопными плотномерами методом альбедо

1 - измерительный преобразователь; 2 - детектор; 3 - защитный экран; 4 - радиоизотопный источник; 5 - измерительный прибор; 6 - прижимное устройство

Черт. 1

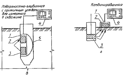
2.6. При измерении плотности грунта абсорбционным методом применяют схему измерений с расположением источника ионизирующего излучения в одной скважине, а измерительного преобразователя - в другой (черт. 2а) с расстоянием между источником ионизирующего излучения и детектором преобразователя, фиксированным с погрешностью не более ± 0,5 %. Для послойного измерения плотности в объеме грунта между скважинами источник ионизирующего излучения и измерительный преобразователь могут быть размещены в жесткой конструкции (черт. 2б), погружаемой в грунт.

2.7. При измерении плотности грунта альбедо-абсорбционным методом применяют схему измерений (черт. 2в), при которой источник ионизирующего излучения погружают в грунт, а измерительный преобразователь помещают на поверхности грунта - для измерения средней плотности грунта в слое между источником ионизирующего излучения и измерительным преобразователем.

2.8. Нейтронные влагомеры и радиоизотопные влагоплотномеры должны обеспечивать возможность измерения объемной влажности в пределах от 2 до 100 % при глубинных измерениях и от 2 до (40 ± 10) % - в остальных случаях.

Схемы измерений радиоизотопными плотномерами

1 - измерительный преобразователь; 2 - детектор; 3 - радиоизотопный (нуклид) источник; 4 - измерительный прибор

Черт. 2

2.9. При измерениях влажности грунта нейтронным методом применяют следующие схемы измерений (черт. 3):

глубинную (скважинную) - измерительный преобразователь с источником нейтронов помещают в скважину по ее центру для измерения влажности грунта в радиусе вокруг измерительного преобразователя от 200 до 250 мм при объемной влажности (Wоб) 40 - 45 % и в радиусе до 450 мм при Wоб £ 5 %;

поверхностную - измерительный преобразователь и источник нейтронов помещают на поверхности грунта для измерения влажности грунта в слое толщиной до 150 мм под измерительным преобразователем;

поверхностно-глубинную - измерительный преобразователь и источник нейтронов прижимают к боковой поверхности скважины или обсадной трубы для измерения влажности в слое толщиной до 150 мм под измерительным преобразователем;

комбинированную - измерительный преобразователь помещают на поверхности грунта, а источник нейтронов в грунте - для измерения влажности грунта в слое между источником нейтронов и измерительным преобразователем.

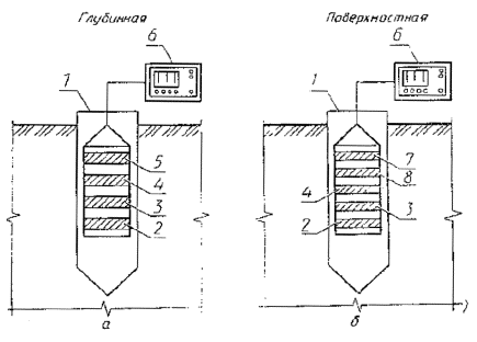
2.10. При одновременном измерении плотности и влажности грунта радиоизотопными влагоплотномерами применяют следующие схемы измерений (черт. 4):

глубинную (скважинную) - измерительный преобразователь, содержащий детектор (детекторы) для одновременной или раздельной регистрации плотности потока гамма-излучения и замедленных нейтронов и источники гамма-излучения и медленных нейтронов, помещают в скважину по ее центру для измерения плотности грунта по п. 2.5 и влажности по п. 2.9;

поверхностную - измерительный преобразователь устанавливается на поверхности грунта для измерения плотности и влажности грунта в слое толщиной до 150 - 200 мм под измерительным преобразователем;

поверхностно-глубинную - измерительный преобразователь прижимают к боковой поверхности скважины или обсадной трубы для измерения плотности в слое толщиной до 120 мм и влажности грунта в слое толщиной до 150 мм под измерительным преобразователем;

комбинированную - измерительный преобразователь помещают на поверхности грунта, а источники нейтронов и гамма-излучения погружают поочередно в грунт для измерения плотности и влажности грунта в слое между измерительным преобразователем и источником ионизирующего излучения.

Схемы измерений нейтронными влагомерами

1 - измерительный преобразователь; 2 - детектор; 3 - источник нейтронов; 4 - измерительный прибор; 5 - прижимное устройство

Черт. 3

Схемы измерений радиоизотопными влагоплотномерами

1 - измерительный преобразователь; 2 - источник гамма-излучения; 3 - экран; 4 - источник нейтронов; 5 - детектор гамма-излучения и нейтронов; 6 - измерительный прибор; 7 - детектор гамма-излучения; 8 - детектор нейтронов

Черт. 4

2.11. При глубинных (скважинных) измерениях плотности, влажности в необсаженных скважинах или скважинах с переменным диаметром обсадных труб следует применять индикаторы диаметра (каверномеры и диаметромеры) в составе измерительного преобразователя плотномера, влагомера или влагоплотномера, или в виде отдельных преобразователей. Индикаторы диаметра (каверномеры или диаметромеры) должны обеспечивать возможность измерения диаметра скважин до 90+5 мм с погрешностью не более ± 2 мм при доверительной вероятности 0,95.

2.12. При глубинных измерениях плотности (влажности) в процессе зондирования (пенетрации) следует учитывать требования ГОСТ 25260.

2.13. При поверхностно-глубинных измерениях плотности, влажности в скважинах следует применять прижимные устройства, обеспечивающие надежный контакт измерительного преобразователя со стенкой скважины (обсадной трубы), а также экранирующие устройства в составе измерительного преобразователя, обеспечивающие снижение влияния излучений, рассеянных от стенок скважины (трубы), до постоянных значений.

3. ПОДГОТОВКА И ПРОВЕДЕНИЕ ИЗМЕРЕНИЙ

3.1. Для глубинных (скважинных) измерений плотности и (или) влажности следует пробурить скважину и (или) погрузить трубу. Скважина должна иметь диаметр не более 90 мм и не должна быть заполнена водой. При соединении отрезков труб не допускается применять муфтовые или ниппельные соединения.

Отклонение диаметра скважины от принятого при градуировке прибора не должно быть более 2 мм при измерении плотности и не более 5 мм при измерении влажности. Отклонения толщины стенки от принятого при градуировке для стальных и титановых труб не должны быть более 0,5 мм для дюралевых и керамических труб - не более 1 мм. Трубы, погружаемые в грунт, должны иметь диаметр не более 90 мм, в том числе стальные и титановые со стенкой толщиной не более 6 мм, дюралевые и керамические со стенкой толщиной не более 10 мм. Трубы и их стыки должны быть водонепроницаемыми.

При погружении обсадных труб в скважины труба должна входить в скважину.

При измерениях следует применять обсадные трубы, материал и толщина стенки которых не отличаются от принятых при градуировке приборов. Рекомендуемые типоразмеры обсадных труб приведены в приложении 6.

3.2. При поверхностно-глубинных измерениях в скважинах (обсадных трубах) плотности или влажности диаметр скважины (трубы) должен быть не более 146 мм. Скважины (трубы) не должны быть заполнены водой.

При измерении плотности грунта методами альбедо и альбедо-абсорбционным, а также при поверхностных и комбинированных измерениях влажности измерительный преобразователь, содержащий источник гамма-излучения или замедленных нейтронов, следует устанавливать на расчищенную и выровненную поверхность грунта. Опорная плоскость измерительного преобразователя должна быть плотно прижата (без зазора) к поверхности грунта.

При измерении плотности альбедо-абсорбционным методом и влажности по комбинированной схеме блок источника ионизирующего излучения помещают (внедряют) в грунт на глубину, фиксируемую с погрешностью не более ± 0,5 мм. Расстояние между измерительным преобразователем плотномера (влагомера) от стенок сооружения или выработки должно быть более 500 мм.

3.3. Градуировку и метрологическую аттестацию радиоизотопных плотномеров, влагомеров и влагоплотномеров проводят в заводских или лабораторных условиях по образцовым мерам (стандартным образцам) плотности и влажности, метрологически аттестованными в установленном порядке, а в полевых условиях - в соответствии с приложением 2.

3.4. При измерениях по глубинной (скважинной) схеме измерений преобразователь плотномера (влагомера, влагоплотномера) помещают в скважину на заданную глубину св. 0,4 м, центрируют по оси скважины и производят отсчеты по табло прибора.

В необсаженной скважине или скважине, обсаженной трубами переменного диаметра, измеряют диаметр на глубине, совпадающей с точкой отсчета радиоизотопного плотномера и нейтронного влагомера, с погрешностью не более ± 10 мм.

3.5. Метрологическую аттестацию радиоизотопных плотномеров, влагомеров и влагоплотномеров как средств измерений осуществляют в соответствии с требованиями ГОСТ 8.009.

Поверку радиоизотопных плотномеров выполняют по соответствующей методической инструкции, а нейтронных влагомеров по ГОСТ 8.442. Периодичность поверки определяют типом применяемого прибора.

3.6. Относительная основная погрешность плотномеров при измерении плотности грунта (в процентах) должна быть не более ± 3 % при доверительной вероятности 0,95.

3.7. Абсолютная основная погрешность влагомеров при измерении объемной влажности грунта (в процентах) должна быть не более ± 3 % при доверительной вероятности 0,95.

4. ОБРАБОТКА РЕЗУЛЬТАТОВ

4.1. Плотность грунта определяют по градуировочной зависимости радиоизотопного плотномера (влагоплотномера), выраженной в виде графика, таблицы или формулы для принятых условий измерений.

Виды графиков градуировочных зависимостей приведены в приложениях 7 и 8.

Объемную влажность грунта (Wоб) определяют по градуировочной зависимости нейтронного влагомера (радиоизотопного влагоплотномера), построенной с учетом влияния плотности сухого грунта rd.

Методика градуировки радиоизотопного плотномера, нейтронного влагомера, радиоизотопного влагоплотномера приведена в приложении 2.

4.2. При измерении объемной влажности грунтов, содержащих растительные остатки в количестве, превышающем 5 % по массе при определении Wоб по п. 4.1, следует вводить поправку (Wоб.испр), рассчитываемую по формуле

Wоб.испр » Wоб.изм - mФоргrd,                                                       (1)

где Wоб.изм - измеренная объемная влажность грунта, %;

Форг - среднее содержание по массе органического вещества, определяемое по ГОСТ 23740, % вес.;

m - коэффициент, принимаемый равным 5 × 10-4;

rd - плотность сухого грунта, г/см3.

4.3. Результаты измерения плотности и объемной влажности грунта фиксируют в журнале измерений, форма которого указана в приложении 10.

4.4. По результатам измерения плотности и объемной влажности (Wоб, %) вычисляют плотность сухого грунта, rd, г/см3, по формуле

,                                                             (2)

где rв - плотность воды, равная 1,0 г/см3.

Влажность грунта по массе W в процентах определяют по формуле

.                                                                   (3)

Результаты вычисления W и rd фиксируют в журнале измерений.

4.5. К журналу измерений прилагают схему расположения пунктов измерения или скважин.

5. ТРЕБОВАНИЯ БЕЗОПАСНОСТИ

При проведении измерений радиоизотопными плотномерами, нейтронными влагомерами, радиоизотопными влагоплотномерами должны соблюдаться «Основные санитарные правила работы с радиоактивными веществами и другими источниками ионизирующих излучений» (ОСН 72/87), утвержденные Минздравом СССР, Нормы радиационной безопасности (НРБ 76/87), «Правила безопасности при транспортировании радиоактивных веществ» (ПБТРВ-73), «Инструкция по эксплуатации приборов».

ПРИЛОЖЕНИЕ 1

Справочное

ТЕРМИНЫ И ПОЯСНЕНИЯ

Термин

Пояснение

1. Радиоизотопный плотномер

Плотномер, принцип действия которого основан на регистрации рассеянного и поглощенного гамма-излучения на электронах атомов вещества объекта измерения

2. Нейтронный влагомер

Влагомер, принцип действия которого основан на регистрации замедленных нейтронов в процессе их рассеяния на ядрах атомов водорода, входящих в состав молекул воды, содержащихся в веществе или материале объекта измерения, т.к. замедление и рассеяние нейтронного потока происходит не только на ядрах водорода, но и на атомах других веществ

3. Радиоизотопный измерительный преобразователь (РИП)

Устройство, включающее источник ионизирующего излучения с блоком защиты и формирования потока и детектор со схемами усиления, дискриминации и т.д. для преобразования потока ПИ в выходной электрический сигнал

4. Основная погрешность плотномера (влагомера)

Разность между показаниями плотномера (влагомера) и действительными значениями измеряемой плотности (влажности) материала

5. Блок обработки и управления (плотномера, влагомера, влагоплотномера)

Составная часть прибора, управляющая приемом сигнала и выполняющая его обработку для вычисления плотности и влажности

6. Образцовая мера плотности (влажности) или стандартный образец

Аттестованное средство измерения в виде вещества или материала, служащее для градуировки и поверки плотномера (влагомера)

7. База измерительного преобразователя (длина зонда)

Середина расстояния между центрами источника и детектора излучения

ПРИЛОЖЕНИЕ 2

Обязательное

ГРАДУИРОВКА РАДИОИЗОТОПНЫХ ПЛОТНОМЕРОВ, НЕЙТРОННЫХ ВЛАГОМЕРОВ И РАДИОИЗОТОПНЫХ ВЛАГОПЛОТНОМЕРОВ В ЛАБОРАТОРНЫХ И ПОЛЕВЫХ УСЛОВИЯХ

1. Градуировку радиоизотопных приборов выполняют на метрологически аттестованных образцовых мерах (стандартных образцах) плотности и влажности грунта для наиболее распространенных условий измерений.

2. При построении градуировочной зависимости радиоизотопного плотномера для рабочих условий измерений (например, для обсадной трубы заданных материала, диаметра и толщины стенки) в диапазоне значений плотности 0,8 - 2,3 г/см3 (800 - 2300 кг/м3) должны быть изготовлены и метрологически аттестованы не менее пяти образцовых мер плотности с номинальными значениями в следующих поддиапазонах 0,8 - 1,0; 1,0 - 1,3; 1,3 - 1,6; 1,6 - 2,0; 2,0 - 2,3 г/см3.

3. При построении градуировочной зависимости нейтронного влагомера для рабочих условий измерений в диапазоне объемной влажности 0 (1 - 2 %) - 100 % должны быть изготовлены и метрологически аттестованы образцовые меры объемной влажности Wоб с номинальными значениями в следующих поддиапазонах: 0 - 5; 5 - 20; 20 - 35; 35 - 60; 60 - 100; 100 % (вода). Одновременно эти же меры могут быть аттестованы по массовой (весовой) влажности.

По крайней мере две из указанных образцовых мер объемной влажности должны быть изготовлены с постоянным значением плотности сухого грунта rd, определенным с погрешностью не более 200 кг/м3.

4. Образцовые меры плотности (ОМП) и объемной влажности должны быть изготовлены из материала, аналогичного по химическому составу алюмосиликатным грунтам с суммарным содержанием химических элементов с атомным номером более 50 (железа, марганца), не превышающим 10 %.

Для изготовления образцовых мер объемной влажности не должны применяться материалы, содержащие нейтронопоглощающие химические элементы: хлор - в количестве более 0,1 %; бор - более 0,001 %; редкоземельные - более 1 × 10-4 %.

5. Материал образцовой меры (стандартного образца) должен быть однородным по плотности и влажности.

Однородность изготовленной образцовой меры определяют при помощи специальных измерений преобразователями плотномера, влагомера, влагоплотномера.

При изготовлении образцовой меры однородность по объемной влажности оценивают путем отбора образцов и определения в них влажности по ГОСТ 5180. Из каждой меры должно быть отобрано не менее 25 - 30 образцов. Коэффициент вариации показаний плотномера и влагомера (в единицах отсчетов) в образцовых мерах, определяемый по формуле (4), не должен быть более 0,05.

,                                           (4)

где  - средние значения показаний (в единицах отсчетов) плотномера, влагомера при каждом i-м положении измерительного преобразователя и в средней мере соответственно;

n - количество измерений.

Коэффициент вариации средней объемной влажности материала в мере, определяемый по формуле (5), не должен быть более 0,025.

,                                                   (5)

где  - значения влажности по ГОСТ 5180 в i-м образце грунта и в среднем в мере;

n - количество образцов.

6. Образцовые меры плотности могут одновременно быть образцовыми мерами объемной влажности.

7. Образцовые меры плотности и объемной влажности (более 5 %) для испытаний и градуировки глубинных радиоизотопных плотномеров, нейтронных влагомеров и радиоизотопных влагоплотномеров размещаются в цилиндрических емкостях (баках) диаметром D ³ 800 мм, изготавливаемых из стального листа (ГОСТ 1050), образцовые меры объемной влажности менее 5 % - в емкостях диаметром D ³ 1000 мм. Высота емкости (бака) для меры должна быть не менее расстояния от детектора до нижнего конца измерительного преобразователя плюс 300 мм.

Образцовые меры плотности и влажности для испытаний и градуировки поверхностных радиоизотопных плотномеров, нейтронных влагомеров и радиоизотопных влагоплотномеров должны изготавливаться в зависимости от типа прибора.

8. Исходными материалами для изготовления образцовых мер плотности и влажности могут быть:

песок однородной фракции;

глинопорошок (из местных глин) однородный;

керамзитовый гравий мелкий (фракции диаметром 5 мм), плотностью в сухом состоянии r ³ 0,800 г/см3 (800 кг/м3);

гравий и щебень однородных фракций;

стекло (в виде листов или гранул), не содержащее примесей тяжелых и нейтронопоглощающих элементов;

вода, не содержащая примесей тяжелых и нейтронопоглощающих элементов.

9. Образцовые меры плотности и влажности могут быть метрологически аттестованы как временные и постоянные. Временные меры метрологически аттестуют на период испытаний радиоизотопного плотномера, нейтронного влагомера, радиоизотопного влагоплотномера или на срок не более 3 мес.; постоянные меры - на срок более года.

10. Поверхность образцовых мер после их изготовления должна быть герметизирована для предотвращения их высыхания и повреждения.

11. На наружной поверхности емкости (бака), содержащей образцовую меру, должны быть нанесены номер меры и номинальные значения плотности и объемной влажности.

12. В емкостях для образцовых мер или в изготовленные меры плотности и влажности, предназначенные для испытаний и градуировки глубинных радиоизотопных плотномеров, устанавливают обсадные трубы необходимого номинала способом, соответствующим методике полевых испытаний.

13. При градуировке глубинных радиоизотопных приборов измерительный преобразователь прибора помещают на заданную глубину обсадную трубу, установленную в образцовой мере плотности (влажности), и производят не менее 10 измерений плотности потока гамма-излучения (замедленных нейтронов). Измерения повторяют при расположении преобразователя в 3 - 4 точках по глубине меры для определения коэффициента вариации  по формуле (4).

14. Образцовые меры плотности грунта аттестуют по результатам измерения объема емкостей для ОМП и массы помещенного в них материала.

15. Образцовые меры влажности (ОМВ) грунта аттестуют по результатам определения средней влажности образцов материала в мере по ГОСТ 5180 и измерения плотности материала в мере по п. 14.

16. По результатам измерений средней плотности потока гамма-излучения (медленных нейтронов) и определения средней плотности (объемной влажности) материала в мерах строят градуировочные зависимости радиоизотопного плотномера (приложение 7), нейтронного влагомера (приложение 8).

Градуировочные зависимости влагомера следует строить в виде серии графиков для различных rd в рабочем диапазоне измерений; в том числе в двух мерах с различными значениями объемной влажности, отличающихся не менее чем на 20 % Wоб (при постоянном значении плотности сухого материала).

17. Допускается представлять градуировочные зависимости плотномера и влагомера в виде формул (алгоритмов).

18. Пределы погрешности градуировки при построении градуировочных зависимостей плотномера и влагомера следует оценивать по формуле

,                                                 (6)

где  - пределы суммарной, систематической и случайной погрешностей градуировки прибора по значениям плотности и влажности соответственно в аттестованных ОМП и ОМВ. Пределы относительной погрешности измерения плотности в ОМП и абсолютной погрешности в ОМВ не должны быть более указанных в пп. 3.6 и 3.7.

19. Градуировочные зависимости радиоизотопного плотномера, нейтронного влагомера, радиоизотопного влагоплотномера, построенные по метрологически аттестованным образцовым мерам плотности и влажности применительно к рабочим условиям измерений, являются основными для проведения измерений в этих условиях; для условий измерений, отличающихся от принятых при градуировке, указанные выше градуировочные зависимости являются опорными.

20. Градуировку (параметрическое опробывание) радиоизотопных плотномеров, нейтронных влагомеров, радиоизотопных влагоплотномеров в полевых условиях производят путем сравнения показаний приборов с результатами определения плотности, влажности образцов по ГОСТ 5180, отобранных на участке градуировки.

21. Для построения градуировочных зависимостей плотномера, влагомера, влагоплотномера выбирают однородные участки, плотность грунта которых находится в поддиапазонах 0,8 - 1,0; 1,0 - 1,3; 1,3 - 1,6; 1,6 - 2,0; 2,0 - 2,3; (2,5 г/см3); объемная влажность - в поддиапазонах 0 - 5; 2 - 20; 20 - 35; 36 - 60; 60 - 100 %.

Должны быть выбраны по крайней мере два участка, грунты которых имеют объемную влажность, отличающуюся более чем на 20 % при постоянной плотности сухого грунта, определенной с погрешностью не более ± 0,2 г/см3.

22. Размеры участков, выбранных для градуировки, должны быть не менее:

для схем измерений (черт. 1 а, в; 3 а, в; 4 а, б) - в плане (1000´1000) мм, по глубине при Wоб < 5 % - » 1000 мм, Wоб > 5 % - » 800 мм;

для схем измерений (черт. 1 б; 2 а, б, в; 3 б, г; 4 в, г) - в плане (600´600) мм, по глубине - 400 - 500 мм.

23. Градуировку приборов следует выполнять при тех же условиях, что и производственные измерения (вид грунта, материал и размеры обсадных труб, диаметр скважины).

24. Предварительную оценку однородности участка, выбранного для градуировки, производят по результатам измерений радиоизотопным плотномером, нейтронным влагомером, (радиоизотопным влагоплотномером), выполняемых по п. 25 настоящего приложения.

Коэффициент вариации показаний (в единицах отсчетов) радиоизотопного плотномера, нейтронного влагомера, определяемый по формуле (4), не должен быть более 0,05.

При этом  - средние значения показаний (в единицах отсчетов) плотномера, влагомера при каждом i-м положении измерительного преобразователя и в среднем на участке соответственно;

n - количество однократных измерений.

Коэффициент вариации средних значений плотности и влажности грунта не должен быть более 0,025.

25. Градуировку радиоизотопных плотномеров, нейтронных влагомеров, радиоизотопных влагоплотномеров следует выполнить в следующем порядке:

при измерениях по глубинной схеме (черт. 3а) по центру выбранного участка производят бурение скважины или погружение трубы (на глубину более 1 м), измеряют диаметр скважины в каждой точке радиоизотопных измерений, помещают измерительный преобразователь на заданные глубины (с интервалом по глубине не более 10 см), центрируют его и производят не менее 10 отсчетов на каждой глубине. При измерениях в скважине с прижимным устройством измерительный преобразователь помещают на заданной глубине, фиксируют положение преобразователя при прижатии к стенке скважины последовательно в трех положениях относительно оси скважины и производят не менее пяти отсчетов по прибору в каждом положении.

При измерениях по поверхностной схеме (черт. 3б) производят измерения не менее чем в 10 точках участка (не менее пяти отсчетов по прибору в каждой точке).

При измерениях по поверхностной комбинированной схеме (черт. 3г) блок источника ионизирующего излучения помещают на заданную глубину в грунт и производят измерения не менее чем в трех положениях детектора относительно источника ионизирующего излучения (не менее пяти отсчетов в каждом положении). Измерения повторяют не менее чем в трех пунктах участка.

26. На каждом участке градуировки по завершении измерений плотномером (влагомером, влагоплотномером) отбирают не менее 15 - 20 образцов грунта для определения плотности и объемной влажности грунта по ГОСТ 5180, не менее двух образцов для определения плотности частиц грунта по ГОСТ 5180, в грунтах с возможным присутствием органического вещества - не менее трех образцов для определения его содержания по ГОСТ 23740.

Образцы отбирают послойно, с интервалом по глубине 100 - 150 мм.

Среднюю плотность , среднюю влажность по массе  (весовую) и плотность сухого грунта rd вычисляют для каждого участка градуировки.

Среднюю объемную влажность грунта  вычисляют по формуле

,                                                                  (7)

где  - средняя влажность грунта, %;

где  - средняя плотность сухого грунта, г/см3;

rв - плотность воды, равная 1,0 г/см3.

Для глинистых грунтов и грунтов, содержащих гипс, дополнительно определяют содержание связной воды в образцах:

для глинистых грунтов - при сушке образцов при температуре 105 °С до постоянной массы и при температуре 250 °С в течение 1 - 2 ч;

для грунтов, содержащих гипс, - при сушке образцов при температуре 65° и 180 °С до постоянной массы.

Содержание связанной воды по массе в образце (Wсвяз) в процентах определяют по формуле

,                                                     (8)

где p(t1) и p(t2) - соответственно масса образца грунта после сушки при температурах:

для глинистых грунтов t1 = 105 °C и t2 = 250 °C;

для грунтов, содержащих гипс t1 = 65 °C и t2 = 180 °C.

Среднее объемное содержание связанной воды вычисляют по формуле, аналогичной формуле (7).

Содержание органических веществ Форг определяют по ГОСТ 23740.

Среднюю суммарную объемную влажность (WобS) в процентах вычисляют по формуле

.                              (9)

Среднюю квадратическую погрешность определения объемной влажности грунта ) вычисляют по формуле

                                            (10)

Среднюю квадратическую погрешность определения плотности грунта (Sr) вычисляют по формуле

                                                (11)

27. Градуировочную зависимость плотномера строят по средним значениям показаний прибора и результатам определения средней плотности грунта на участках градуировки.

Градуировочную зависимость влагомера строят по средним значениям показаний приборов и результатам определения средней объемной влажности с учетом средней плотности сухого грунта на участках градуировки.

На графики наносят средние значения плотности: сухого грунта участков градуировки, по которым строят градуировочные зависимости показаний влагомера от объемной влажности для различных (с интервалом 100 - 200 кг/м3). На градуировочных графиках или таблицах также указывают плотность частиц грунта на каждом участке градуировки.

28. Основную погрешность радиоизотопных плотномеров, нейтронных влагомеров оценивают путем сравнения показаний приборов и результатов определения плотности и объемной влажности образцов однородного грунта, отобранных на участке измерений в условиях, соответствующих условиям градуировки и массовых измерений радиоизотопными плотномерами, влагоплотномерами, нейтронными влагомерами.

Оценку основной погрешности приборов при измерении плотности и влажности следует выполнять на участках (в слоях грунта, размеры и степень однородности которых соответствуют пп. 22 - 24 настоящего приложения).

Измерения плотномером, влагомером, влагоплотномером, отбор образцов и определения плотности и влажности грунта выполняют в соответствии с пп. 25 - 26 настоящего приложения.

29. Обработку результатов измерений нейтронным влагомером, радиоизотопным влагоплотномером следует выполнять с учетом известных (измеряемых плотномером или по ГОСТ 5180) значений плотности грунта, если обработка не выполняется автоматически на месте испытаний (при помощи блока БНО прибора ЛКС).

Обработку производят в следующей последовательности:

по показаниям влагомера определяют приблизительное значение объемной влажности W¢об (в долях единицы) с использованием графика градуировки для произвольного значения плотности сухого грунта rd;

вычисляют приблизительное значение плотности сухого грунта r¢d по формуле

r¢d = r - W¢обrв,                                                       (12)

где r - измеренная прибором плотность грунта, г/см3;

rв - плотность воды, равная 1,0 г/см3.

по показаниям влагомера и интерполированному графику градуировки, соответствующему вычисленному значению rd, определяют значение объемной влажности W²об (во втором приближении).

Интерполяцию завершают, когда вычисленные значения объемной влажности в двух последовательных приближениях отличаются не более чем на 1 % абс.;

в результаты измерений вводят поправки на содержание связанной воды и органического вещества.

30. Обработку результатов однократных измерений при оценке основных погрешностей приборов выполняют в следующей последовательности:

с учетом плотности сухого грунта определяют объемную влажность (в приборе ЛКС) непосредственно по табло прибора;

в результаты измерений объемной влажности вводят поправки на среднее содержание связанной воды и органического вещества на участке измерений;

вычисляют влажность по массе (весовую) в слое грунта по формуле (3), которую сравнивают с результатами определенных значений влажности образцов по ГОСТ 5180. Пределы основных погрешностей плотномеров и влагомеров не должны быть более величин, указанных в пп. 3.5 и 3.6.

В противном случае следует переградуировать каждый прибор.

ПРИЛОЖЕНИЕ 3

Справочное

ОСНОВНЫЕ ТЕХНИЧЕСКИЕ ХАРАКТЕРИСТИКИ РАДИОИЗОТОПНЫХ ПЛОТНОМЕРОВ

Тип плотномера

Диапазон измерений, кг/м3

Основная погрешность прибора, кг/м3

Схема измерений

Габариты, масса

Изготовитель

ППГР-1

600 - 2500

± 50

Глубинная, поверхностная

Преобразователь ППИ-1 Æ 35 ´ 78,2 мм.

Устройство контрольно-транспортное УКТ (1150 ´ 228 ´ 250) мм, масса (с преобразователем) 12,4 кг.

Регистратор СИП-1м (298 ´ 135 ´ 185) мм, масса 4,6 кг

Полтавский опытный завод «Прибор» Госстандарта СССР

УР-70

800 - 2500

± 50

Глубинная

Преобразователь (45 ´ 900) мм, масса 2 кг. Масса УКТ - 10 кг.

Регистратор (304 ´ 234 ´ 184) мм, масса 8,5 кг

НПО «Геофизика», г.

Ленинград

РПП-2

1000 - 2500

± 40

Поверхностная комбинированная

Радиоизотопный преобразователь (500 ´ 150 ´ 500) мм. Регистратор СИП-2м (290 ´ 135 ´ 185) мм, масса 4,6 кг

Киевский опытный завод «Эталон» Госстандарта СССР

РПП-1

500 - 1500

± 30

Поверхностная

Радиоизотопный преобразователь (250 ´ 100 ´ 300) мм. Регистратор СИП-2м (290 ´ 135 ´ 185) мм, масса 4,6 кг

То же

ПРИЛОЖЕНИЕ 4

Справочное

ОСНОВНЫЕ ТЕХНИЧЕСКИЕ ХАРАКТЕРИСТИКИ НЕЙТРОННЫХ ВЛАГОМЕРОВ

Тип влагомера

Диапазон измерений, %

Основная погрешность прибора, % объемной влажности

Схема измерений

Габариты, масса

Изготовитель

ВПГР-1

1 - 100

В диапазоне 1 - 50 % не более ± 2,5 %

В диапазоне 50 - 100 % не более ± 4 %

Глубинная

Устройство контрольно-транспортное УКТ (880 ´ 228 ´ 240) мм, масса (с преобразователем) не более 13 кг.

Преобразователь (35 ´ 600) мм.

Регистратор СИП-1м (298 ´ 135 ´ 135) мм, масса 4,6 кг

Завод «Эталон», г. Полтава

УР-70

3 - 100

В диапазоне 3 - 50 % не более ± 2,5 %

В диапазоне 50 - 100 % не более ± 4 %

»

Преобразователь (45 ´ 887) мм, масса 1,7 кг.

Масса УКТ 7,5 кг.

Регистратор (304 ´ 234 ´ 184) мм.

НПО «Геофизика», г. Ленинград

ПРИЛОЖЕНИЕ 5

Справочное

ОСНОВНЫЕ ТЕХНИЧЕСКИЕ ХАРАКТЕРИСТИКИ РАДИОИЗОТОПНЫХ ВЛАГОПЛОТНОМЕРОВ

Тип влагоплотномера

Диапазон измерений

Основная погрешность

прибора

Схема измерений

Габариты, масса

Изготовитель

РВПП-1

1 - 30 %

Не более ± 2,5 мм

Поверхностная (измерения влажности)

Преобразователь (390 ´ 231 ´ 477) мм, масса 16,6 кг.

РНИИРП, г. Рига

1000 - 2500 кг/м3

Не более ± 3 % относительных

Поверхностная комбинированная (измерения плотности)

Регистратор (290 ´ 135 ´ 185) мм, масса 4,6 кг

МАК-80

0 - 60 % (по влажности)

В диапазоне 1 - 25 % не более ± 2 %

Глубинная

Приемно-регистрирующее устройство (300 ´ 200 ´ 400) мм, масса 15 кг.

Завод «Геоприбор» ВПО «Геотехника»

В диапазоне 25 - 60 % не более ± 5 %

Преобразователь (80 ´ 1300) мм, масса 40 кг

1400 - 2300 кг/м3

Не более ± 50 кг/м3 (по плотности)

»

 

ПИКА-14

1 - 100 %

Не более ± 2,5 %

 

Устройство контрольно-транспортное УКТ (215 ´ 240) мм, масса 15 кг.

Бюро внедрения ВНИИОСП, г. Москва

800 - 2400 кг/м3 (по плотности)

Не более ± 50 кг/м3 (по плотности)

Преобразователь (46 ´ 1200) мм, масса 6 кг.

Измерительный усилитель (200 ´ 240 ´ 130) мм, масса 6 кг

ЛКС-1К

2 - 100 %

Не более ± 3 %

»

Преобразователь (36 ´ 1000) мм, масса 2,5 кг.

РНИИРП, г. Рига (опытные образцы)

800 - 2500 кг/м3 (по плотности)

Не более ± 3 % при доверительной вероятности 0,95

Блок обработки информации (475 ´ 250 ´ 130) мм, масса 4 кг.

Контрольно-транспортное устройство (1100 ´ 158) мм, масса 16 кг

Опытный завод «Прибор» Госстандарта СССР

ПРИЛОЖЕНИЕ 6

Рекомендуемое

ОСНОВНЫЕ ТИПОРАЗМЕРЫ ПО ГОСТ 8732, ГОСТ 9567, ГОСТ 8731 ПРИМЕНЯЕМЫХ ОБСАДНЫХ ТРУБ

Трубы стальные бесшовные горячедеформированные

мм

Толщина стенки

Наружный диаметр

Глубина погружения 3 м

2,5

45

50

-

-

-

-

-

-

-

-

-

-

-

2,8

45

50

-

-

-

-

-

-

-

-

-

-

-

3,0

45

50

54

57

60

63,5

68

70

73

76

-

-

-

3,5

-

50

54

57

60

63,5

68

70

73

76

83

89

95

4,0

-

50

54

57

60

63,5

68

70

73

76

83

89

95

4,5

-

50

54

57

60

63,5

68

70

73

76

83

89

95

Глубина погружения 20 м

2,5

45

50

-

-

-

-

-

-

-

-

-

-

-

2,8

45

50

-

-

-

-

-

-

-

-

-

-

-

3,0

45

50

-

-

-

-

-

-

-

-

-

-

-

3,5

-

50

54

57

60

63,5

70

73

76

-

-

-

-

4,0

-

50

54

57

60

63,5

70

73

76

83

89

95

-

4,5

-

50

54

57

60

63,5

70

73

76

83

89

95

-

5,0

-

50

54

57

60

63,5

70

73

76

83

89

95

-

5,5

-

50

54

57

60

63,5

70

73

76

83

89

95

-

6,0

-

-

54

57

60

63,5

70

73

76

83

89

95

-

ПРИЛОЖЕНИЕ 7

Рекомендуемое

ГРАФИК ГРАДУИРОВКИ РАДИОИЗОТОПНОГО ПЛОТНОМЕРА

Черт. 5

ПРИЛОЖЕНИЕ 8

Рекомендуемое

ГРАДУИРОВОЧНАЯ ЗАВИСИМОСТЬ НЕЙТРОННОГО ВЛАГОМЕРА

Черт. 6

ПРИЛОЖЕНИЕ 9

Рекомендуемое

ФОРМА ЗАПИСИ РЕЗУЛЬТАТОВ ИЗМЕРЕНИЙ

ПОКАЗАНИЯ ПРИБОРА В КОНТРОЛЬНО-ТРАНСПОРТНОМ УСТРОЙСТВЕ (КТУ)

Число _____________________

Месяц _____________________

Год _______________________

Номер пункта измерения или скважины

Глубина, пог. м

Вид грунта

Время измерения, с, мин

Диаметр скважин, мм

Отсчет радиоизотопного плотномера

Плотность грунта, кг/м3

Отсчет нейтронного влагомера

Объемная влажность

Плотность сухого грунта, кг/м3

Объемная влажность грунта, %, с поправкой на Форг

Примечание

Единичные измерения

Среднее

Единичные измерения

Среднее

 

 

 

 

 

 

 

 

 

 

 

 

 

 

ПРИЛОЖЕНИЕ 10

Рекомендуемое

ФОРМА ЖУРНАЛА ИЗМЕРЕНИЙ ПЛОТНОСТИ И ВЛАЖНОСТИ ГРУНТА

Организация ______________________________________________________________

Экспедиция _______________________________________________________________

Партия (отряд) ____________________________________________________________

Тема (заказ) _______________________________________________________________

Объект ___________________________________________________________________

Участок __________________________________________________________________

Абсолютная отметка _______________________________________________________

Местоположение __________________________________________________________

Тип радиоизотопного плотномера _____________________________________________

Номер радиоизотопного плотномера __________________________________________

Тип нейтронного влагомера __________________________________________________

Номер нейтронного влагомера _______________________________________________

Дата градуировки радиоизотопного плотномера _________________________________

Дата градуировки нейтронного влагомера ______________________________________

Дата поверки радиоизотопного плотномера _____________________________________

Дата поверки нейтронного влагомера __________________________________________

Начат ______________________ 19 ____ г. Окончен ____________________ 19 ____ г.

ИНФОРМАЦИОННЫЕ ДАННЫЕ

1.   РАЗРАБОТАН И ВНЕСЕН Государственным строительным комитетом СССР

РАЗРАБОТЧИКИ

И.В. Лавров, канд. техн. наук (руководитель темы); В.Г. Копытов, канд. техн. наук; Н.Н. Рынин, канд. техн. наук; В.В. Лисицын; Т.А. Грязнов, канд. техн. наук; В.Т. Дубинчук, канд. техн. наук; Н.Д. Корниенко, канд. техн. наук; Л.В. Селиванов, канд. техн. наук; А.А. Морозов, канд. техн. наук; В.Н. Кириллин; В.Н. Гринченко; В.П. Иванов, канд. техн. наук; В.В. Пушкарев; В.В. Поспеев; А.П. Кучерко; В.С. Вериго; В.А. Дубиняк

2.   УТВЕРЖДЕН И ВВЕДЕН В ДЕЙСТВИЕ Постановлением Государственного строительного комитета СССР от 11.06.90 № 55.

3.   Срок первой проверки - 1995 г.

4.   ВЗАМЕН ГОСТ 23061-78 и ГОСТ 24181-80

5.   ССЫЛОЧНЫЕ НОРМАТИВНО-ТЕХНИЧЕСКИЕ ДОКУМЕНТЫ (НТД)

Обозначение НТД, на который дана ссылка

Номер пункта, приложения

ГОСТ 8.009-84

3.5

ГОСТ 8.442-81

3.5

ГОСТ 1050-72

Приложение 2

ГОСТ 5180-84

»

ГОСТ 8731-74

Приложение 6

ГОСТ 8732-78

»

ГОСТ 9567-75

»

ГОСТ 19611-74

2.2

ГОСТ 21196-75

2.2

ГОСТ 23740-79

4.2, приложение 2

ГОСТ 25260-82

2.12

ГОСТ 25932-83

2.1, 2.3

ОСН 72/87

5

НРБ 76/87

5

ПБТРВ-73

5

СОДЕРЖАНИЕ

1. Общие положения. 1

2. Средства измерения. 2

3. Подготовка и проведение измерений. 7

4. Обработка результатов. 8

5. Требования безопасности. 8

Приложение 1 Термины и пояснения. 9

Приложение 2 Градуировка радиоизотопных плотномеров, нейтронных влагомеров и радиоизотопных влагоплотномеров в лабораторных и полевых условиях. 9

Приложение 3 Основные технические характеристики радиоизотопных плотномеров. 15

Приложение 4 Основные технические характеристики нейтронных влагомеров. 15

Приложение 5 Основные технические характеристики радиоизотопных влагоплотномеров. 16

Приложение 6 Основные типоразмеры по ГОСТ 8732, ГОСТ 9567, ГОСТ 8731 применяемых обсадных труб. 17

Приложение 7 График градуировки радиоизотопного плотномера. 18

Приложение 8 Градуировочная зависимость нейтронного влагомера. 19

Приложение 9 Форма записи результатов измерений. 19

Приложение 10 Форма журнала измерений плотности и влажности грунта. 20

 

 




ГОСТЫ, СТРОИТЕЛЬНЫЕ и ТЕХНИЧЕСКИЕ НОРМАТИВЫ.
Некоммерческая онлайн система, содержащая все Российские Госты, национальные Стандарты и нормативы.
В Системе содержится более 150000 файлов нормативно-технической документации, действующей на территории РФ.
Система предназначена для широкого круга инженерно-технических специалистов.

Рейтинг@Mail.ru Яндекс цитирования

Copyright © www.gostrf.com, 2008 - 2026