|
|
|
ГОСУДАРСТВЕННЫЙ СТАНДАРТ СОЮЗА ССР СВАИ ЗАБИВНЫЕ ЖЕЛЕЗОБЕТОННЫЕ СВАИ ЗАБИВНЫЕ ЖЕЛЕЗОБЕТОННЫЕ
ЦЕЛЬНЫЕ Конструкция и размеры ГОСТ 19804.2-79* ИЗДАТЕЛЬСТВО СТАНДАРТОВ МОСКВА ГОСУДАРСТВЕННЫЙ СТАНДАРТ СОЮЗА ССР
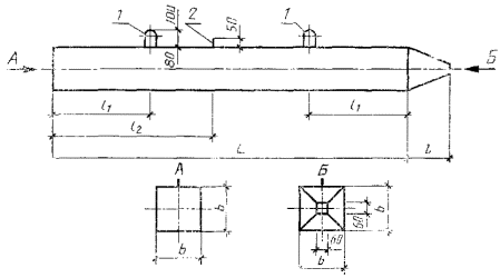
Постановлением Государственного комитета СССР по делам строительства от 24 октября 1979 г. № 208 срок введения установлен с 01.01.81 * Переиздание (май 1995 г.) с Изменением № 1, утвержденным в июне 1983 г.; Пост. №54 от 31.03.83 (ИУС 9-83) 1. Настоящий стандарт распространяется на забивные железобетонные цельные сваи сплошного квадратного сечения с поперечным армированием ствола с напрягаемой арматурой и устанавливает конструкцию свай и арматурных изделий к ним. 2. Железобетонные сваи сплошного квадратного сечения с напрягаемой продольной арматурой должны удовлетворять требованиям ГОСТ 19804-91 и требованиям настоящего стандарта. 3. Форма, марки, номинальные размеры свай и проектные марки бетона по прочности на сжатие должны соответствовать указанным на черт. 1 и в табл. 1. Сваи сплошного квадратного сечения с поперечным армированием ствола с напрягаемой продольной арматурой 1 - подъемные петли; 2 - штырь для фиксации места строповки при подъеме на копер Черт. 1 Таблица 1
Примечание. Расход стали на одну сваю приведен при условии армирования проволокой класса B-I. (Измененная редакция, Изм. № 1). 4. Сваи длиной до 7 м включ. допускается изготовлять без фиксирующих штырей, при этом строповка свай при подъеме на копер должна осуществляться у верхней подъемной петли. 5. При соответствующем технико-экономическом обосновании для восприятия больших горизонтальных или вертикальных нагрузок допускается изготовлять сваи сечением 350´350 и 400´400 мм длиной, менее указанной в табл. 1. При этом марка бетона свай по прочности на сжатие должна быть: - для свай сечением 350´350 мм - М300 и М350 (при армировании свай арматурой из канатов); - для свай сечением 400´400 мм - М400. 6. В качестве крупного заполнителя для бетона свай должен применяться фракционированный щебень из естественного камня и гравия по ГОСТ 26633-91, при этом размер фракции должен быть не более 40 мм. По согласованию с заказчиком допускается применять в качестве крупного заполнителя гравий по ГОСТ 26633-91 для свай длиной до 12 м включ. Примечание. Возможность применения гравия в качестве крупного заполнителя указывается в заказной спецификации, устанавливается проектной организацией для условий погружения свай в пески средней плотности и рыхлые, супеси пластичные и текучие, суглинки и глины от текучих до тугопластичных, илы и торфы, и опирания свай на все виды грунтов, за исключением скальных и крупнообломочных. 7. В качестве продольной напрягаемой арматуры должна применяться: а) высокопрочная арматурная проволока периодического профиля класса Вр-II по ГОСТ 7348-81; б) горячекатаная арматурная сталь классов A-IV и A-V по ГОСТ 5781-82 и классов A-IV и A-V по ГОСТ 10884-81. Для свай длиной до 12 м включ. предпочтительно применять арматуру класса Ат-IVС. в) арматурные канаты класса К-7 по ГОСТ 13840-68. 8. Натяжение арматуры классов Вр-II и К-7 следует осуществлять механическим способом, натяжение арматуры классов A-IV, A-V, Ат-V, Ат-IVС - электротермическим (для свай длиной до 12 м включ.) или механическим способами. Допускается использовать электротермический способ для натяжения проволочной арматуры класса Вр-II. При натяжении электротермическим способом высокопрочной проволоки и термически упрочненной стержневой арматуры дополнительно должны производиться контрольные испытания арматуры на растяжение после электронагрева. Образцы испытываются на растяжение в соответствии с требованиями ГОСТ 10446-80. Температура нагрева напрягаемой арматуры при электротермическом способе натяжения не должна превышать величин, установленных нормативными документами по технологии изготовления предварительно напряженных конструкций. 9. Предельная величина предварительного напряжения арматуры so принята: а) при механическом способе натяжения so = 0,95 RaII кгс/см2; б) при электротермическом способе натяжения
где RaII - расчетное сопротивление арматуры растяжению для предельных состояний второй группы, кгс/см2; l - длина натягиваемого стержня, м. 7-9. (Измененная редакция, Изм. № 1). 10. При количестве продольных проволок и канатов 8 и более расстояние между их осями должно быть не более 15 мм для проволок и 50 мм для канатов. 11. Прочность бетона в момент отпуска натяжения арматуры (передаточная прочность) должна быть не ниже: 200 кгс/см2 - при проектной марке бетона по прочности на сжатие М300; 300 кгс/см2 - при проектных марках бетона по прочности на сжатие М350 и М400. 12. После отпуска натяжения арматура должна быть срезана заподлицо с бетоном. 13. Для поперечного армирования свай следует применять проволоку класса B-I или Вр-I диаметром 5 мм по ГОСТ 6727-80. Шаг спирали поперечной арматуры по обоим концам сваи на длине 1 м должен быть равным 100 мм, в средней части для свай длиной до 12 м включ. - 300 мм и для свай длиной 13 м и более - 200 мм. Поперечная арматура должна быть привязана вязальной проволокой к продольной арматуре в каждом четвертом пересечении с тем, чтобы шаг спирали был зафиксирован. 14. Голова сваи должна быть усилена сетками марок С30-С40. 15. Острие сваи должно быть усилено приставным каркасом марок КО30-КО-40. 16. Расположение арматуры (продольной и поперечной, сеток головы свай, каркасов острия, петель и штырей) в сваях должно соответствовать указанному на черт. 2. 17. Спецификация арматурных изделий и выборка стали на сваю приведены в табл. 2-5. Черт. 2 18. Ведомость стержней, выборка стали и усилия натяжения продольной арматуры должны соответствовать табл. 6-8. 13-18. (Измененная редакция, Изм. № 1). 19. Допускаются диаметры и классы продольной арматуры свай в соответствии с приложением 1. 20. Ведомость стержней и выборка стали на спираль и сетки головы, каркаса острия, петли и штырь приведена в табл. 9-11. (Измененная редакция, Изм. № 1). 21. Сетки, петли и каркас острия должны быть привязаны к продольной арматуре вязальной проволокой. Штырь устанавливается после формования бетона. 22. (Исключен, Изм. № 1). 23. Сваи с продольной арматурой, предусмотренной настоящим стандартом, должны быть испытаны на трещиностойкость путем укладки их на две опоры, расположенные по схеме, указанной на черт. 3.
Черт. 3 Таблица 2 Спецификация арматурных изделий на сваю
Таблица 3 Выборка стали на сваи марок СНпр3-30¸СНпр15-40
Таблица 4 Выборка стали на сваи марок СН9-30¸СН20-40
Таблица 5 Выборка стали на сваи марок СНк11-30¸СНк20-40
24. После укладки свай на две опоры через 10 мин производят осмотр ее верхней грани над опорами. Сваю считают выдержавшей испытание, если на ее гранях: а) не появятся трещины - для свай с арматурой из высокопрочной проволоки и канатов; б) раскрытие трещин не превышает 0,2 мм - для свай со стержневой арматурой. Ширину раскрытия трещин измеряют с точностью до 0,05 мм. 25. Испытание на трещиностойкость свай, в которых площадь поперечного сечения продольной арматуры увеличена по сравнению с приведенной в настоящем стандарте, проводят в соответствии со схемой, которая должна быть приложена в заказной спецификации. 26. Условия расчета и применения свай даны в приложении 2. 27. Сваи длиной до 12 м включ. допускается изготовлять с технологическим уклоном двух противоположных сторон поперечного сечения, не превышающим 1:15 без изменения площади поперечного сечения. При этом защитный слой бетона не должен быть менее 30 мм. Расположение арматуры в поперечном сечении сваи должно соответствовать черт. 4а, б.
Черт 4 Таблица 6 Ведомость стержней, выборка стали и усилие натяжения продольной арматуры свай марок СНпр3-30¸СНпр15-40
Примечание. Усилие натяжения одной проволоки составляет 2,4 тс. Таблица 7 Ведомость стержней, выборки стали и усилие натяжения продольной арматуры свай марок СН9-30¸СН20-40
Таблица 8 Ведомость стержней, выборка стали и усилие натяжения продольной арматуры свай марок СНк11-30¸СНк20-40
Таблица 9 Ведомость стержней и выборка стали на спираль марок Сп3-30¸Сп20-40
Таблица 10 Ведомость стержней на один элемент (сетки головы, каркас острия, петли, штырь)
Таблица 11 Выборка стали на один элемент (сетки головы, каркас острия, петли, штырь)
ПРИЛОЖЕНИЕ 1
|
|||||||||||||||||||||||||||||||||||||||||||||||||||||||||||||||||||||||||||||||||||||||||||||||||||||||||||||||||||||||||||||||||||||||||||||||||||||||||||||||||||||||||||||||||||||||||||||||||||||||||||||||||||||||||||||||||||||||||||||||||||||||||||||||||||||||||||||||||||||||||||||||||||||||||||||||||||||||||||||||||||||||||||||||||||||||||||||||||||||||||||||||||||||||||||||||||||||||||||||||||||||||||||||||||||||||||||||||||||||||||||||||||||||||||||||||||||||||||||||||||||||||||||||||||||||||||||||||||||||||||||||||||||||||||||||||||||||||||||||||||||||||||||||||||||||||||||||||||||||||||||||||||||||||||||||||||||||||||||||||||||||||||||||||||||||||||||||||||||||||||||||||||||||||||||||||||||||||||||||||||||||||||||||||||||||||||||||||||||||||||||||||||||||||||||||||||||||||||||||||||||||||||||||||||||||||||||||||||||||||||||||||||||||||||||||||||||||||||||||||||||||||||||||||||||||||||||||||||||||||||||||||||||||||||||||||||||||||||||||||||||||||||||||||||||||||||||||||||||||||
|
Кол., диаметр, мм, класс |
Усилие натяжения, тс |
|||||
|
Механический способ |
Электротермический способ |
|||||
|
одного стержня |
всех |
одного стержня |
всех |
|||
|
СН12-30 |
4Æ12AIV |
6,4 |
25,6 |
6,1 |
24,4 |
|
|
СН13-30 |
4Æ12AIV |
6,4 |
25,6 |
- |
- |
|
|
СН14-30 |
4Æ12AIV |
6,4 |
25,6 |
- |
- |
|
|
СН15-30 |
4Æ14AIV |
8,8 |
35,2 |
- |
- |
|
|
СН12-35 |
4Æ12AIV |
6,4 |
25,6 |
6,1 |
24,4 |
|
|
СН13-35 |
4Æ12AIV |
6,4 |
25,6 |
- |
- |
|
|
СН14-35 |
4Æ14AIV |
8,8 |
35,2 |
- |
- |
|
|
СН15-35 |
4Æ14AIV |
8,8 |
35,2 |
- |
- |
|
|
СН16-35 |
4Æ16AIV |
11,5 |
46,0 |
- |
- |
|
|
СН17-35 |
4Æ18AIV |
14,5 |
58,0 |
- |
- |
|
|
СН18-35 |
4Æ18AIV |
14,5 |
58,0 |
- |
- |
|
|
СН19-35 |
4Æ18AIV |
14,5 |
58,0 |
- |
- |
|
|
СН20-35 |
4Æ20AIV |
17,9 |
71,6 |
- |
- |
|
|
СН14-40 |
4Æ14AIV |
8,8 |
35,2 |
- |
- |
|
|
СН16-40 |
4Æ16AIV |
11,5 |
46,0 |
- |
- |
|
|
СН17-40 |
4Æ18AIV |
14,5 |
58,0 |
- |
- |
|
|
СН18-40 |
4Æ18AIV |
14,5 |
58,0 |
- |
- |
|
|
СН19-40 |
4Æ20AIV |
17,9 |
71,6 |
- |
- |
|
|
СН20-40 |
4Æ20AIV |
17,9 |
71,6 |
- |
- |
|
Таблица 2
Варианты замены продольной арматуры из канатов
|
Кол., диаметр, мм, класс |
Усилие натяжения, тс |
|||
|
одного каната |
всех |
|||
|
СНк15-30 |
8Æ9К7 |
6,8 |
54,4 |
|
|
СНк15-35 |
8Æ9К7 |
6,8 |
54,4 |
|
|
СНк16-35 |
8Æ9К7 |
6,8 |
54,4 |
|
|
СНк17-35 |
12Æ9К7 |
6,8 |
81,6 |
|
|
8Æ12К7 |
11,7 |
93,6 |
||
|
СНк18-35 |
12Æ9К7 |
6,8 |
81,6 |
|
|
СНк19-35 |
16Æ9К7 |
6,8 |
108,8 |
|
|
12Æ12К7 |
11,7 |
140,4 |
||
|
СНк20-35 |
20Æ9К7 |
6,8 |
136,0 |
|
|
12Æ12К7 |
11,7 |
140,4 |
||
|
СНк17-40 |
12Æ9К7 |
6,8 |
81,6 |
|
|
8Æ12К7 |
11,7 |
93,6 |
||
|
СНк18-40 |
12Æ9К7 |
6,8 |
81,6 |
|
|
СНк19-40 |
16Æ9К7 |
6,8 |
108,8 |
|
|
12Æ12К7 |
11,7 |
140,4 |
||
|
СНк20-40 |
20Æ9К7 |
6,8 |
136,0 |
|
|
12Æ12К7 |
ill,7 |
140,4 |
||
Примечание. Замена арматуры в сваях, не включенных в табл. 1 и 2, экономически нецелесообразна.
(Измененная редакция, Изм. № 1).
1. Сваи, предусмотренные настоящим стандартом, рассчитаны на изгиб от усилий, возникающих при подъеме на копер за одну точку, расположенную от торца на расстоянии, равном 0,294 длины призматической части сваи, по прочности и раскрытию (кратковременному) трещин до ат.кр = 0,3 мм при армировании свай стержневой арматурой; по образованию трещин при армировании свай проволокой и арматурными канатами.
Коэффициент перегрузки к собственной массе не учитывается. Коэффициент динамичности принят равным:
1,5 - при расчете по прочности;
1,25 - при расчете по образованию и раскрытию трещин.
2. При проектировании свайных фундаментов сваи должны быть рассчитаны на нагрузки, передаваемые на сваи в строительный и эксплуатационный периоды, по прочности и трещиностойкости. При этом категории трещиностойкости свай в зависимости от условий их работы и вида продольной арматуры, а также величина предельно допустимой ширины раскрытия трещин должны быть приняты согласно главе СНиП II.21-75.
Допускается увеличивать поперечное сечение продольной арматуры, если это требуется по расчету. При этом в конце марки сваи добавляется буква «у» (усиленная) и в заказной спецификации дополнительно указывается класс, диаметр и количество стержней продольной арматуры.
3. При проверке свай по прочности и образованию трещин для свай, армированных проволокой и канатами, и по прочности и раскрытию трещин до ат.кр = 0,2 мм для свай, армированных стержневой арматурой, на внецентренное сжатие от эксплуатационных нагрузок рекомендуется пользоваться графиками.
4. Графики для проверки свай, предусмотренных настоящим стандартом, на внецентренное сжатие от эксплуатационных нагрузок М и N приведены на черт. 1-17.
На графиках приняты обозначения: N - нормальная сила, тс; М - изгибающий момент относительно оси сваи, тс×м, передаваемые на сваю при эксплуатации здания и сооружения.
3-4. (Измененная редакция, Изм. № 1).
5. Предполагается, что свая по всей длине находится в грунте и продольный изгиб сваи не учитывается.
6. После выбора длины и сечения сваи (по теологическим условиям) устанавливается класс, диаметр и количество стержней, проволок или канатов продольной арматуры в соответствии с табл. 2-11 настоящего стандарта.
7. Если точка с координатами М и N лежит ниже линии, соответствующей принятому армированию свай, то выбранная свая удовлетворяет расчету по прочности, раскрытию или образованию трещин (для соответствующей продольной арматуры) на эксплуатационные нагрузки М и N, если точка лежит выше - не удовлетворяет.
Сваи сечением 30 ´ 30 см. Бетон М300
Черт. 1
Сваи сечением 30 ´ 30 см. Бетон М400

Черт. 2
Сваи сечением 35 ´ 35 см. Бетон М300

Черт. 3
Сваи сечением 35 ´ 35 см. Бетон М400

Черт. 4
Сваи сечением 40 ´ 40 см. Бетон М400

Черт. 5
Сваи сечением 30 ´ 30 см. Бетон М300

Черт. 6
Сваи сечением 30 ´ 30 см. Бетон М400

Черт. 7
Сваи сечением 35 ´ 35 см. Бетон М300

Черт. 8
Сваи сечением 35 ´ 35 см. Бетон М400

Черт. 9
Сваи сечением 40 ´ 40 см. Бетон М400

Черт. 10
Сваи сечением 40 ´ 40 см. Бетон М400

Черт. 11
Сваи сечением 40 ´ 40 см. Бетон М400

Черт. 12
Сваи сечением 30 ´ 30 см. Бетон М350

Черт. 13
Сваи сечением 30 ´ 30 см. Бетон М400

Черт. 14
Сваи сечением 35 ´ 35 см. Бетон М350

Черт. 15
Сваи сечением 35 ´ 35 см. Бетон М400

Черт. 16
Сваи сечением 40 ´ 40 см. Бетон М400
Черт. 17
|
ГОСТЫ, СТРОИТЕЛЬНЫЕ и ТЕХНИЧЕСКИЕ НОРМАТИВЫ. Некоммерческая онлайн система, содержащая все Российские Госты, национальные Стандарты и нормативы. В Системе содержится более 150000 файлов нормативно-технической документации, действующей на территории РФ. Система предназначена для широкого круга инженерно-технических специалистов. Copyright © www.gostrf.com, 2008 - 2026 |