Крупнейшая бесплатная информационно-справочная система онлайн доступа к полному собранию технических нормативно-правовых актов РФ. Огромная база технических нормативов (более 150 тысяч документов) и полное собрание национальных стандартов, аутентичное официальной базе Госстандарта. GOSTRF.com - это более 1 Терабайта бесплатной технической информации для всех пользователей интернета. Все электронные копии представленных здесь документов могут распространяться без каких-либо ограничений. Поощряется распространение информации с этого сайта на любых других ресурсах. Каждый человек имеет право на неограниченный доступ к этим документам! Каждый человек имеет право на знание требований, изложенных в данных нормативно-правовых актах!

  


 

ГОСУДАРСТВЕННЫЙ СТАНДАРТ СОЮЗА ССР

ЛОТКИ ЖЕЛЕЗОБЕТОННЫЕ
ОРОСИТЕЛЬНЫХ СИСТЕМ

ТЕХНИЧЕСКИЕ УСЛОВИЯ

ГОСТ 21509-76

 

ГОСУДАРСТВЕННЫЙ КОМИТЕТ СССР ПО ДЕЛАМ СТРОИТЕЛЬСТВА

Москва

 

ГОСУДАРСТВЕННЫЙ СТАНДАРТ СОЮЗА ССР

ЛОТКИ ЖЕЛЕЗОБЕТОННЫЕ ОРОСИТЕЛЬНЫХ СИСТЕМ

Технические условия

Reinforced concrete shoots for irrigation systems. Specifications

ГОСТ

21509-76*

Постановлением Государственного комитета Совета Министров СССР по делам строительства от 31 декабря 1975 г. № 247 срок введения установлен

с 01.01.77

Настоящий стандарт распространяется на железобетонные раструбные лотки параболического сечения, изготовляемые из тяжелого бетона средней плотностью 2200-2500 кг/м3 включительно и предназначенные для устройства сборных распределительных каналов оросительных систем на расход воды до 5 м3/с.

Установленные настоящим стандартом показатели технического уровня предусмотрены для лотков первой категории качества.

(Измененная редакция, Изм. № 1).

1. ТИПЫ, МАРКИ И РАЗМЕРЫ

1.1. По условиям эксплуатации железобетонные параболические лотки подразделяют на следующие типы:

ЛР - лотки, сооружаемые на сваях, стоечных опорах и плитах;

ЛРГ - лотки, укладываемые в грунт.

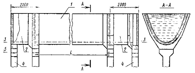
Форма, основные размеры и показатели материалоемкости (расход бетона и стали) лотков должны соответствовать указанным на черт. 1 и в табл. 1.

Черт. 1

Таблица 1

Марка лотка

Код ОКП

Основные размеры, мм

Расход материала

Справочная масса, т

L

Н

Н1

Н2

Н3

b

bн

bp

bpн

d

S

Бетон, м3

Сталь, кг

ЛР4

58 5821 0401

5980

400

450

465

540

800

908

940

1058

50

400

0,430

26,89

1,08

ЛРГ4

58 5821 0394

14,99

ЛР6

58 5821 0402

600

650

665

755

980

1084

1114

1228

50

0,568

33,95

1,42

ЛРГ6

58 5821 0395

23,43

ЛР8

58 5821 0403

800

860

875

965

1132

1240

1270

1396

60

0,767

42,65

1,92

ЛРГ8

58 5821 0396

33,15

ЛР10

58 5821 0393

1000

1075

1090

1210

1674

1804

1834

1994

75

700

1,320

68,62

3,31

ЛРГ10

58 5821 0397

61,04

Примечание. Справочная масса лотка приведена для бетона средней плотностью 2400 кг/м3.

1.2. Лотки следует обозначать марками в соответствии с ГОСТ 23009-78.

Марка лотка состоит из одной буквенно-цифровой группы и содержит обозначение типа лотка и номинальную высоту лотка в дециметрах, значение которой округляют до целого числа.

Пример условного обозначения (марки) железобетонного раструбного лотка типа ЛР высотой 400 мм:

ЛР4.

1.1, 1.2. (Измененная редакция, Изм. № 1).

2. ТЕХНИЧЕСКИЕ ТРЕБОВАНИЯ

2.1. Лотки следует изготовлять в соответствии с требованиями настоящего стандарта и технологической документации, утвержденной в установленном порядке, по рабочим чертежам типовых конструкций серии 3.820.1-34с/85.

Лотки следует изготовлять с применением термощитов-пригрузов.

2.2. Значения действительных отклонений геометрических параметров не должны превышать предельных, указанных в табл. 2.

Таблица 2

Вид отклонения геометрического параметра

Наименование геометрического параметра

Предельное отклонение, мм

Отклонение от линейного размера

Длина лотка

± 10

Высота лотка марок: ЛР4, ЛРГ4

± 8

ЛР6, ЛРГ6, ЛР8, ЛРГ8, ЛР10, ЛРГ10

± 10

Толщина стенки лотка марок:

 

ЛР4, ЛРГ4, ЛР6, ЛРГ6, ЛР8, ЛРГ8

+2, -1

ЛР10, ЛРГ10

+3, -1

Положение закладных изделий:

 

в плоскости лотка

5

из плоскости лотка

3

Отклонение от прямолинейности

Прямолинейность образующей поверхности лотка на длине:

 

1000 мм

5

на всей длине

10

Отклонение от перпендикулярности

Перпендикулярность торцевой поверхности к продольной оси лотка марок:

 

ЛР4, ЛРГ4

6

ЛР6, ЛРГ6, ЛР8, ЛРГ8, ЛР10, ЛРГ10

8

2.3. Лотки должны быть водонепроницаемыми и выдерживать гидростатические испытания при нагружении расчетной эксплуатационной нагрузкой.

Лотки должны удовлетворять требованиям ГОСТ 13015.0-83:

по показателям фактической прочности бетона (в проектном возрасте и отпускной);

по морозостойкости и водонепроницаемости бетона;

к качеству материалов, применяемых для приготовления бетона;

к бетону, а также к материалам для приготовления бетона лотков, применяемых в условиях воздействия агрессивных грунтов и грунтовых вод;

к форме и размерам арматурных и закладных изделий и их положению в лотке;

к маркам сталей для арматурных и закладных изделий, в том числе для монтажных петель;

от отклонению толщины защитного слоя бетона;

по защите от коррозии;

по применению форм для изготовления лотков.

2.4. Лотки следует изготовлять из тяжелого бетона марки по прочности на сжатие М300.

2.5. Нормируемая отпускная прочность бетона должна составлять 70 % марки бетона по прочности на сжатие.

2.6. Заполнители, применяемые для приготовления бетона лотков, должны удовлетворять требованиям ГОСТ 10268-80. Наибольшая крупность заполнителя должна быть не более 15 мм.

2.7. Бетон, применяемый для изготовления лотков, должен приготовляться на портландцементе марки не ниже 400 по ГОСТ 10178-76, а для изготовления лотков, предназначенных для эксплуатации в грунтах с агрессивными водами, - на сульфатостойком портландцементе по ГОСТ 22266-76.

Применение шлакопортландцемента, пуццоланового портландцемента, а также портландцемента с активными добавками не допускается.

2.8. Толщина защитного слоя бетона до рабочей арматуры должна быть не менее 15 мм.

Для лотков, эксплуатируемых в условиях агрессивной среды, отклонения толщины защитного слоя бетона до арматуры не должны быть более плюс 3 мм.

2.9. Сварные арматурные и закладные изделия должны удовлетворять требованиям ГОСТ 10922-75.

Продольные стержни сеток ненапряженных лотков должны выполняться из горячекатаной стали периодического профиля диаметром 6 мм класса A-III по ГОСТ 5781-82.

Поперечное армирование лотков должно выполняться из арматурной проволоки периодического профиля класса Вр-1 диаметром 5 мм по ГОСТ 6727-80.

2.1.-2.9. (Измененная редакция, Изм. № 1).

2.10. (Исключен, Изм. № 1).

2.11. На внутренней поверхности раструба и на наружной поверхности конца лотка в зоне расположения уплотняющих материалов не допускаются наплывы и околы бетона, а также раковины диаметром более 3 мм и глубиной более 2 мм. Число раковин на площади 0,01 м2 (100´100 мм) на любом участке указанной зоны поверхности должно быть не более трех. Остальная бетонная поверхность лотка должна быть категории А6 по ГОСТ 13015.0-83.

На поверхности лотков не допускаются трещины, за исключением местных усадочных трещин шириной не более 0,1 мм на наружной поверхности раструба и технологического прилива в шелыге лотка.

(Измененная редакция, Изм. № 1).

2.12. Закладные изделия фиксаторов в лотках типа ЛРГ следует изготовлять из стальной полосы марки ВСт3сп2 по ГОСТ 103-76, арматуры класса А-1 по ГОСТ 5781-82 и приваривать к арматурной сетке раструба.

2.13. Предприятия-изготовители лотков должны поставлять потребителям лотки в комплекте с уплотняющими материалами для герметизации стыковых соединений: жгуты из резины круглого сечения по ГОСТ 6467-79 или резиновые пористые прокладки по ГОСТ 19177-81.

2.12, 2.13. (Введены дополнительно, Изм. № 1).

3. ПРАВИЛА ПРИЕМКИ И МЕТОДЫ ИСПЫТАНИЙ

3.1. Приемку лотков следует производить партиями в соответствии с требованиями ГОСТ 13015.1-81 и настоящего стандарта. Число лотков в партии должно быть не более:

200 - для лотков высотой 400-800 мм;

100 - для лотков высотой 1000 мм.

3.2. Приемку лотков по показателям морозостойкости и водонепроницаемости бетона следует проводить по результатам периодических испытаний.

3.3. Приемку лотков по показателям их водонепроницаемости, прочности бетона (марке по прочности на сжатие и отпускной прочности), соответствия арматурных и закладных изделий проектной документации, прочности сварных соединений, точности геометрических параметров, толщины защитного слоя бетона до арматуры, ширины раскрытия усадочных трещин, категории бетонной поверхности следует проводить по результатам приемо-сдаточных испытаний и контроля.

Испытанию на водонепроницаемость следует подвергать 1 % лотков от партии, но не менее двух лотков.

3.4. Приемку лотков по показателям точности геометрических параметров, толщины защитного слоя бетона до арматуры, качества бетонных поверхностей, контролируемым путем измерений, следует осуществлять по результатам одноступенчатого выборочного контроля.

3.5. Размеры лотков, положение монтажных петель, толщину защитного слоя бетона до арматуры, а также качество поверхностей и внешний вид лотков проверяют по ГОСТ 13015-75.

Измерение толщины стенки производят в торцах лотков равномерно по периметру сечения лотка не менее чем в пяти точках.

Неперпендикулярность торцевых плоскостей лотка к его продольной оси определяют измерением наибольшего зазора между торцевой плоскостью лотка и металлическим поверочным угольником, установленным под прямым углом к борту лотка.

Определение толщины защитного слоя бетона, размеров и расположения арматуры может производиться также просвечиванием ионизирующими излучениями по ГОСТ 17625-83.

3.6. Прочность бетона на сжатие следует определять по ГОСТ 10180-78.

Контроль и оценку однородности и прочности бетона лотков следует производить по ГОСТ 18105.1-80.

В случае, если при проверке будет установлено, что фактическая отпускная прочность бетона лотков ниже требуемой отпускной прочности, то поставку лотков потребителю следует производить после достижения бетоном прочности, соответствующей марке бетона по прочности на сжатие.

3.7. Морозостойкость бетона следует определять по ГОСТ 10060-76, водонепроницаемость бетона - по ГОСТ 12730.5-78.

3.1.-3.7. (Измененная редакция, Изм. № 1).

3.8, 3.9. (Исключены, Изм. № 1).

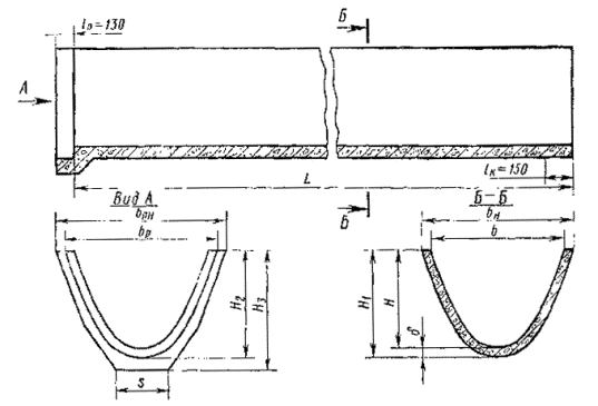
3.10. Испытание лотков на водонепроницаемость проводят на специальном стенде по схеме, приведенной на черт. 2, в следующем порядке.

Схема гидростатических испытаний лотка на водонепроницаемость

1 - испытуемый лоток; 2 - укороченный лоток (2 шт.); 3 - заглушки; 4 - опоры лотков; 5 - прокладка

Черт. 2

При перевозке лотков железнодорожным транспортом их погрузка и крепление должны производиться в соответствии с действующими инструкциями по перевозке грузов, утвержденными Министерством путей сообщения.

После приложения каждой ступени нагрузки лоток выдерживают под этой нагрузкой в течение 15 мин и производят осмотр лотка с целью обнаружения трещин, течи или влажных пятен.

Лоток, полностью заполненный водой, выдерживают в течение суток.

3.11. Партию лотков считают выдержавшей испытание на водонепроницаемость, если во всех лотках, отобранных из этой партии в количестве, установленном в п. 3.3, через сутки после их наполнения не будет обнаружено фильтрации воды в виде влажных пятен или течи.

При получении неудовлетворительных результатов испытаний хотя бы на одном лотке, проводят повторное испытание удвоенного количества образцов, взятых из той же партии. При неудовлетворительном результате повторных испытаний партию считают не выдержавшей испытания.

3.10, 3.11. (Измененная редакция, Изм. № 1).

4. МАРКИРОВКА, ХРАНЕНИЕ И ТРАНСПОРТИРОВАНИЕ

4.1. Маркировка лотков - по ГОСТ 13015.2-81. Маркировочные надписи и знаки следует наносить на наружной поверхности раструба лотка.

4.2. Транспортирование и хранение лотков - по ГОСТ 13015.4-84 и настоящему стандарту.

Лотки укладывают в штабели на специальных прокладках, исключающих возникновение распорных усилий, раструбами в разные стороны. Под нижний лоток устанавливают подкладки. Высота штабеля не должна превышать 2 м.

4.1, 4.2. (Измененная редакция, Изм. № 1).

4.3. Проходы между штабелями следует устраивать в продольном направлении через каждые два смежных штабеля, а в поперечном - не реже чем через 25 м. Ширина проходов должна быть не менее 0,7 м, а величина зазоров между смежными штабелями - не менее 0,2 м.

4.4. Перевозка лотков автотранспортом должна производиться на автомашинах, оборудованных специальными контейнерами.

4.5. Лотки транспортируют как в рабочем, так и в нерабочем положении (дном вверх).

4.4, 4.5. (Измененная редакция, Изм. № 1).

4.6. (Исключен, Изм. № 1).

4.7. Требования к документу о качестве лотков, поставляемых потребителю, - по ГОСТ 13015.3-81.

(Измененная редакция, Изм. № 1).

СОДЕРЖАНИЕ

 

 




ГОСТЫ, СТРОИТЕЛЬНЫЕ и ТЕХНИЧЕСКИЕ НОРМАТИВЫ.
Некоммерческая онлайн система, содержащая все Российские Госты, национальные Стандарты и нормативы.
В Системе содержится более 150000 файлов нормативно-технической документации, действующей на территории РФ.
Система предназначена для широкого круга инженерно-технических специалистов.

Рейтинг@Mail.ru Яндекс цитирования

Copyright © www.gostrf.com, 2008 - 2026