|
|
|
ГОСУДАРСТВЕННЫЙ СТАНДАРТ СОЮЗА ССР ПЛИТЫ ПОДОКОННЫЕ ЖЕЛЕЗОБЕТОННЫЕ ДЛЯ ЖИЛЫХ, ОБЩЕСТВЕННЫХ И ВСПОМОГАТЕЛЬНЫХ ЗДАНИЙ ТЕХНИЧЕСКИЕ УСЛОВИЯ ГОСТ 26919-86 ГОСУДАРСТВЕННЫЙ КОМИТЕТ СССР ПО ДЕЛАМ СТРОИТЕЛЬСТВА Москва РАЗРАБОТАН Государственным комитетом по гражданскому строительству и архитектуре при Госстрое СССР ИСПОЛНИТЕЛИ Э.Л. Шахова (руководитель темы); В.Н. Греков; Н.П. Каляпкина; А.А. Тучнин, канд. техн. наук; В.И. Деньщиков ВНЕСЕН Государственным комитетом по гражданскому строительству и архитектуре при Госстрое СССР Зам. председателя М.П. Коханенко УТВЕРЖДЕН И ВВЕДЕН В ДЕЙСТВИЕ Постановлением Государственного комитета СССР по делам строительства от 6 июня 1986 г. № 77 СОДЕРЖАНИЕ
ГОСУДАРСТВЕННЫЙ СТАНДАРТ СОЮ3А ССР
Постановлением Государственного комитета СССР по делам строительства от июня 1986 г. № 77 срок введения установлен с 01.07.87 Настоящий стандарт распространяется на подоконные железобетонные плиты (далее плиты). изготовляемые из тяжелого и плотного силикатного бетонов и предназначенные для применения в жилых и общественных зданиях, а также в вспомогательных зданиях и помещениях промышленных и сельскохозяйственных предприятий. Допускается применять плиты в условиях воздействия агрессивной среды при соблюдении дополнительных требований, установленных проектной документацией в соответствии с требованиями СНиП 2.03.11-85 и СН 165-76 и указанных в заказе на изготовление плит. 1. ТИПЫ, ОСНОВНЫЕ ПАРАМЕТРЫ И РАЗМЕРЫ1.1. Плиты в зависимости от отделки верхних лицевых поверхностей подразделяют на три типа: ПОШ - с шлифованной мозаичной поверхностью; ПОГ - с глянцевой поверхностью; ПОО - с гладкой поверхностью, предназначенной под окраску. 1.2. Форма и размеры плит, а также их показатели материалоемкости должны соответствовать указанным на черт. 1 и в табл. 1. 1.3. В случаях, предусмотренных проектной документацией, плиты могут иметь: лицевой профиль, отличающийся от указанного на черт. 1 (с валиком, без капельника, с закругленными углами); вырезы в углах и срезы торцов. 1.4. Плиты длиной до 1450 мм включительно предусмотрены для опирания на стену (с заведением в паз коробки оконного блока) при вылете свободной консоли не более, мм: 100 - для плит шириной до 200 мм; 150 - для плит шириной более 200 мм. Плиты длиной 1600 мм и более предусмотрены для опирания на стену и металлические кронштейны с приваркой к ним закладных изделий, расположенных в середине длины плиты или по торцам и в середине длины плиты (при ленточном остеклении). 1.6. Конструкции плит, а также арматурных и закладных изделий к ним приведены в обязательном приложении. 1.7. Плиты следует обозначать марками в соответствии с требованиями ГОСТ 23009-78. Марка плит состоит из буквенно-цифровых групп, разделенных дефисами. Первая группа содержит обозначение типа плиты и ее габаритные размеры. Длину плиты указывают в дециметрах (значение которой округляют до целого числа), ширину - в сантиметрах. Подоконные плиты дли жилых, общественных н вспомогательных зданий
1 - вырез; 2 - срез торца; 3 - технологический уклон не более 3 мм. Во второй группе для плит, изготовляемых из плотного силикатного бетона, указывают вид бетона, обозначаемый прописной буквой «С». В третьей группе (или во второй группе марки плит, изготовляемых из тяжелого бетона) указывают: наличие в плите закладных изделий, обозначаемых арабскими цифрами: 1 - для плит с закладными изделиями, расположенными в середине длины плиты; 2 - для плит с закладными изделиями, расположенными по торцам и в середине длины плиты; наличие в плите вырезов в углах или срезов торцов, обозначаемых строчными буквами; левый вариант исполнения плиты, обозначаемый строчной буквой «л»; дополнительные характеристики плит, применяемых в условиях воздействия агрессивных сред, - проницаемость бетона, обозначаемую прописными буквами: «Н» - нормальная, «П» - пониженная и «О» - особо низкая проницаемость. Пример условного обозначения (марки) плиты типа ПОШ, длиной 1300 мм, шириной 150 мм, из тяжелого бетона: ПОШ13.15 То же, плиты типа ПОГ, длиной 1600 мм, шириной 250 мм, из тяжелого бетона, с закладным изделием в середине длины плиты ПОГ16.25-1 То же, плиты типа ПОО, длиной 2200 мм, шириной 350 мм, в правом варианте исполнения, из плотного силикатного бетона, с закладными изделиями по торцам и в середине длины плиты: ПОО22.35-С-2
Примечания: 1. В марках плит по табл. 1 не указаны варианты исполнения длит (п. 1.5). 2. В случае устройства в плитах вырезов в углах или срезов торцов (п. 1.3) расход бетона и стали на плиту, указанный в табл. 1, следует соответственно изменить. 3. Масса плит приведена для плит из тяжелого бетона средней плотности 2400 кгс/м3 и плотного силикатного бетона - 1800 кгс/м3. 2. ТЕХНИЧЕСКИЕ ТРЕБОВАНИЯ2.1. Плиты следует изготовлять в соответствии с требованиями настоящего стандарта и технологической документации, утвержденной в установленном порядке. 2.2. Плиты должны удовлетворять требованиям ГОСТ 13015.0-83: по прочности; по показателям фактической прочности бетона (в проектном возрасте и отпускной); по морозостойкости бетона; к качеству материалов, применяемых для приготовления бетона; к бетону плит, применяемых в условиях воздействия агрессивных сред; к качеству арматурных и закладных изделий и их положению в плите; к маркам сталей для арматурных и закладных изделий; по отклонению толщины защитного слоя бетона; по защите от коррозии; по применению форм для изготовления плит. 2.3. Плиты следует изготовлять из бетона класса по прочности на сжатие В15. 2.4. Коэффициент вариации прочности бетона по сжатию в партии для плит высшей категории качества не должен быть более: 9 % - для тяжелого бетона; 10 % - для плотного силикатного бетона. 2.5. Значение нормируемой отпускной прочности бетона плит в процентах от класса бетона по прочности на сжатие следует принимать равным: 70 - для плит из тяжелого бетона; 100 - для плит из плотного силикатного бетона. При поставке плит из тяжелого бетона в холодный период года допускается повышать нормируемую отпускную прочность бетона, но не более 80 % класса по прочности на сжатие. Значение нормируемой отпускной прочности тяжелого бетона следует принимать по проектной документации на конкретное здание в соответствии с требованиями ГОСТ 13015.0-83. 2.6. Плотный силикатный бетон должен иметь среднюю плотность (в высушенной до постоянной массы состоянии) не менее 1800 кг/м3. 2.7. Арматурная сталь должна удовлетворять требованиям: стержневая арматурная сталь класса A-III - ГОСТ 5781-82; проволока класса Вр-1 - ГОСТ 6727-80. 2.8. Форма и размеры сварных арматурных сеток, закладных изделий и их положение в плитах должны соответствовать указанным и обязательном приложении. 2.9. Арматуру в плитах из плотного силикатного бетона, предназначенных для применения в помещениях с относительной влажностью внутреннего воздуха свыше 60%, следует защищать от коррозии. Способ защиты арматуры должен соответствовать установленному проектной документацией (согласно требованиям СН 165-76) и указанному в заказе на изготовление плит. 2.10. Значения действительных отклонений геометрических параметров плит не должны превышать предельных, указанных в табл. 2. мм
2.11. Устанавливаются следующие категории бетонных поверхностей плиты: А0 или Al - лицевой шлифованной или глянцевой; А2 - лицевой гладкой, предназначенной под окраску; А7 - нелицевой, невидимой в условиях эксплуатации. Требования к качеству поверхностей и внешнему виду плит - по ГОСТ 13015.0-83 и настоящему стандарту. 2.11.1. Верхняя лицевая поверхность плит одной партии должна иметь одинаковый цвет и тон окраски. Расположение мраморного щебня на лицевых шлифованных поверхностях плит должно быть равномерным или предусмотренным проектной документацией на конкретное здание и заказом. В первом случае участки без мраморного щебня площадью более 3 см2 не допускаются. 2.11.2. На поверхностях плит не допускаются трещины в бетоне, за исключением усадочных и других местных технологических шириной не более 0,1 мм на нижней поверхности плит. 2.11.3. Плиты высшей категории качества должны быть типов ПОШ или ПОГ. 3. ПРАВИЛА ПРИЕМКИ3.1. Приемку плит следует проводить партиями в соответствии с требованиями ГОСТ 13015.1- 81 и настоящего стандарта. 3.2. Приемку плит по показателям их прочности, морозостойкости бетона следует проводить по результатам периодических испытаний. 3.3. Приемку плит по показателям прочности бетона (классу бетона по прочности на сжатие и отпускной прочности бетона), средней плотности плотного силикатного бетона, соответствия арматурных и закладных изделий требованиям обязательного приложения, прочности сварных соединений, точности геометрических параметров, толщины защитного слоя бетона до арматуры, ширины раскрытия усадочных трещин, категории бетонной поверхности следует проводить по результатам приемо-сдаточных испытаний. 3.4. При приемке плит по показателям точности геометрических параметров, толщины защитного слоя бетона до арматуры, ширины раскрытия усадочных трещин и категории бетонной поверхности следует применять одноступенчатый выборочный контроль. 3.5. Приемку плит по наличию закладных изделий, правильности нанесения маркировочных надписей и знаков, соответствию вида отделки установленным требованиям и эталону следует проводить путем сплошного контроля с отбраковкой плит, имеющих дефекты по указанным показателям. 4. МЕТОДЫ КОНТРОЛЯ4.1. Испытания плит нагруженном для определения их прочности следует проводить по достижении бетоном прочности, соответствующей классу по прочности на сжатие. Прочность плит следует контролировать по ГОСТ 8829-85. 4.1.1. Схема опирания и загружения плиты при испытании ее нагруженном приведена на черт. 2, а значения контрольных нагрузок при проверке прочности плит указаны в табл. 3.
1 - подвижная опора; 2 - неподвижная опора; 3 - подоконная плита.
Примечания: 1. Значения контрольных нагрузок указаны без учета веса плиты. 2. Значение коэффициента С принимают в зависимости от возможного характера разрушения плиты согласно ГОСТ 8829-85. 4.2. Прочность бетона на сжатие следует определять по ГОСТ 10180-78 на серии образцов, изготовленных из бетонной смеси рабочего состава и хранившихся в условиях, установленных ГОСТ 18105.1-80. При испытании плит неразрушающими методами фактическую отпускную прочность бетона на сжатие следует определять ультразвуковым методом по ГОСТ 17624-78 или приборам механического действия по ГОСТ 22690.0-77 - ГОСТ 22690.4-77, а также другими методами, предусмотренными стандартами на методы испытания бетона. 4.3. Морозостойкость бетона следует определять по ГОСТ 10060-76 на серии образцов, изготовленных из бетонной смеси рабочего состава. 4.4. Среднюю плотность плотного силикатного бетона следует определять по ГОСТ 12730.0-78 и ГОСТ 12730.1-78 на серии образцов, изготовленных из бетонной смеси рабочего состава. 4.5. Методы контроля и испытаний сварных арматурных и закладных изделий - по ГОСТ 10922 -75. 4.6. Положение арматурных и закладных изделий, а также толщину защитного слоя бетона до арматуры следует определять по ГОСТ 17625-83 и ГОСТ 22904-78. 4.7. Размеры плит, отклонения от прямолинейности и плоскостности верхних лицевых поверхностей, качество бетонных поверхностей, ширину раскрытия усадочных трещин и внешний вид плит следует проверять методами, установленными ГОСТ 13015-75. 5. МАРКИРОВКА, ТРАНСПОРТИРОВАНИЕ И ХРАНЕНИЕ5.1. Маркировка плит - по ГОСТ 13015.2-81. Маркировочные надписи и знаки следует наносить на нелицевой поверхности плит. Допускается по соглашению изготовителя с потребителем и проектной организацией - автором проекта конкретного здания вместо марок наносить на плиты их сокращенные условные обозначения, принятые в проектной документации. 5.2. Требования к документу о качестве плит, поставляемых потребителю, - по ГОСТ 13015.3-81. 5.3. Транспортировать и хранить плиты следует в соответствии с требованиями ГОСТ 13015.4- 84 и настоящего стандарта. 5.3.1. Плиты следует транспортировать и хранить в контейнерах или пакетах. 5.3.2. Плиты следует укладывать на нелицевую грань шириной 45 мм лицевыми поверхностями вплотную одна к другой. Подкладки под нижний ряд и прокладки между рядами плит должны быть толщиной не менее 25 мм и уложены на расстоянии от торцов плит: 100 мм - для плит длиной 700-1000 мм; 200 мм - для плит длиной 1300-2800 мм. 5.3.3. Грузовые стропы и другие захватные приспособления применяемые для погрузки, разгрузки и складирования плит, в местах соприкосновения их с плитами должны иметь мягкое покрытие. ПРИЛОЖЕНИЕ
|
|||||||||||||||||||||||||||||||||||||||||||||||||||||||||||||||||||||||||||||||||||||||||||||||||||||||||||||||||||||||||||||||||||||||||||||||||||||||||||||||||||||||||||||||||||||||||||||||||||||||||||||||||||||||||||||||||||||||||||||||||||||||||||||||||||||||||||||||||||||||||||||||||||||||||||||||||||||||||||||||||||||||||||||||||||||||||||||||||||||||||||||||||||||||||||||||||||||||||||||||||||||||||||||||||||||||||||||||||||||||||||||||||||||||||||||||||||||||||||||||||||||||||||||||||||||||||||||||||||||||||||||||||||||||||||||||||||||||||||||||||||||||||||||||||||||||||||||||||||||||||||||||||||||||||||||||||||||||||||||||||||||||||||||||||||||||||||||||||||||||||||||||||||||||||||||||||||||||||||||||||||||||||||||||||||||||||||||||||||||||||||||||||||||||||||||||||||||||||||||||||||||||||||||||||||||||||||||||||||||||||||||||||||||||||||||||||||||||||||||||||||||||||||||||||||||||||||||||||||||||||||||||||||||||||||||||||||||||||||||||||||||||||||||||||||||||||||||||||||||||
|
Марка плиты |
а |
Марка плиты |
а |
Марка плиты |
а |
|
ПО 16-15-1 |
770 |
ПО 25.20-1 |
1220 |
ПО 19.35-1 |
820 |
|
ПО 19.15-1 |
920 |
ПО 28.20-1 |
1370 |
ПО 22.35-1 |
1070 |
|
ПО 22.15-1 |
1070 |
ПО 16.25-1 |
770 |
ПО 25.35-1 |
1220 |
|
ПО 25.15-1 |
1220 |
ПО 19.25-1 |
920 |
ПО 28.35-1 |
1370 |
|
ПО 28.15-1 |
1370 |
ПО 22.25-1 |
1070 |
ПО 16.45-1 |
770 |
|
ПО 16.20-1 |
770 |
ПО 25.25-1 |
1220 |
ПО 19.45-1 |
920 |
|
ПО 19.20-1 |
920 |
ПО 28.25-1 |
1370 |
ПО 22.45-1 |
1070 |
|
ПО 22.20-1 |
1070 |
ПО 16.35-1 |
770 |
ПО 25.45-1 ПО 28.45-1 |
1220 1370 |
Плиты длиной 2200-2800 мм (с тремя закладными изделиями)

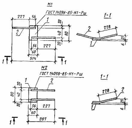
1 - сетка; 2 - закладное изделие M1; 3 - закладное изделие М2.
Размеры в мм
|
Марка плиты |
а |
Марка плиты |
а |
Марка плиты |
а |
|
ПО 22.15-2 |
1070 |
ПО 28.20-2 |
1370 |
ПО 25.35-2 |
1220 |
|
ПО 25.15-2 |
1220 |
ПО 22.25-2 |
1070 |
ПО 28.35-2 |
1870 |
|
ПО 28.15-2 |
1370 |
ПО 25.25-2 |
1220 |
ПО 22.45-2 |
1070 |
|
ПО 22.20-2 |
1070 |
ПО 28.25-2 |
1370 |
ПО 25.45-2 |
1220 |
|
ПО 25.20-2 |
1320 |
ПО 22.35-2 |
1070 |
ПО 28.45-2 |
1370 |
Таблица 3
Спецификация арматурных и закладных изделии и выборка стали на одну плиту
|
Мерка платы
|
Сетка |
3акладное изделие |
Выборка стали, кг |
|
|||||||||||
|
Марка
|
Количество
|
Арматурное изделие |
Закладное изделие |
Всего
|
|||||||||||
|
Марка
|
Количество
|
||||||||||||||
|
Арматурная сталь по ГОСТ 6727-80 |
Арматурная сталь по ГОСТ 5781-82 |
Полосовая сталь по ГОСТ 103-76 |
Итого
|
|
|||||||||||
|
Класс Вр-I |
Класс А-III |
Марка ВСт3кп2 по ГОСТ 380-71 |
|
||||||||||||
|
Диаметр, мм |
Итого
|
Диаметр, мм
|
Итого
|
|
|||||||||||
|
3 |
4 |
5 |
-60´6 |
Итого |
|
||||||||||
|
ПО 7.15 ПО 10.15 |
С1 С2 |
|
- - |
- - |
0,17 0,09 |
- 0,27 |
- - |
0,17 0,36 |
- - |
- - |
- - |
- - |
- - |
0,17 0,36 |
|
|
ПО 13.15 ПО 15.15 |
С12 С3 |
|
- - |
- - |
0,11 0,13 |
- - |
0,37 0,62 |
0,48 0,75 |
- - |
- - |
- - |
- - |
- - |
0,48 0,75 |
|
|
ПО 16.15-1 ПО 19.15-1 ПО 22.15-1 ПО 25.15-1 ПО 28.15-1 |
С13 С14 С15 С4 С5 |
|
Ml |
1 |
0,31 0,36 0,42 0,60 0,68 |
- - - - - |
- - - - - |
0,31 0,36 0,42 0,60 0,68 |
0,22 0,22 0,22 0,22 0,22 |
0,22 0,22 0,22 0,22 0,22 |
0,17 0,17 0,17 0,17 0,17 |
0,17 0,17 0,17 0,17 0,17 |
0,39 0,39 0,39 0,39 0,39 |
0,70 0,75 0,81 0,99 1,07 |
|
|
ПО 7.20 ПО 10.20 ПО 13.20 ПО 15.20 |
С6 С7 С16 С8 |
|
- - - - |
- - - - |
0,18 0,10 0,12 0,14 |
- 0,27 - - |
- - 0,37 0,62 |
0,18 0,37 0,49 0,76 |
- - - - |
- - - - |
- - - - |
- - - - |
- - - - |
0,18 0,37 0,49 0,76 |
|
|
ПО 16-20-1 ПО 19.20-1 ПО 22.20-1 ПО 25.20-1 ПО 28.20-1 |
С17 С18 С9 С10 С11 |
|
Ml |
1 |
0,33 0,38 0,56 0,63 0,27 |
- - - - 0,77 |
- - - - - |
0,33 0,38 0,56 0,63 1,04 |
0,22 0,22 0,22 0,22 0,22 |
0,22 0,22 0,22 0,22 0,22 |
0,17 0,17 0,17 0,17 0,17 |
0,17 0,17 0,17 0,17 0,17 |
0,39 0,39 0,39 0,39 0,39 |
0,72 0,77 0,95 1,02 1,43 |
|
|
ПО 7.25 ПО 10.25 ПО 13.25 ПО 15.25 |
С19 С20 С21 С22 |
|
- - - - |
- - - - |
0,18 0,11 0,14 0,16 |
- 0,27 - - |
- - 0,37 0,62 |
0,18 0,38 0,51 0,78 |
- - - - |
- - - - |
- - - - |
- - - - |
- - - - |
0,18 0,38 0,51 0,78 |
|
|
ПО 16.25-1 ПО 19.25-1 ПО 22.25-1 ПО 25.25-1 ПО 28.25-1 |
С23 С24 С25 C26 С17 |
1 |
Ml |
1 |
0,34 0,50 0,58 0,27 0,30 |
- - - 0,68 0,77 |
- - - - - |
0,34 0,50 0,58 0,95 1,07 |
0,22 0,22 0,22 0,22 0,22 |
0,22 0,22 0,22 0,22 0,22 |
0,17 0,17 0,17 0,17 0,17 |
0,17 0,17 0,17 0,17 0,17 |
0,39 0,39 0,39 0,39 0,39 |
0,73 0,89 0,97 1,34 1,46 |
|
|
ПО 7.35 ПО 10.35 ПО 13.35 ПО 15.35 |
С28 С29 С30 С31 |
|
- - - - |
- - - - |
0,20 0,33 0,16 0,19 |
- - 0,47 0,53 |
- - - - |
0,20 0,33 0,63 0,72 |
- - - - |
- - - - |
- - - - |
- - - - |
- - - - |
0,20 0,33 0,63 0,72 |
|
|
ПО 16.35-1 ПО 19.35-1 ПО 22.35-1 ПО 25.35-1 ПО 28.35-1 |
С32 С33 С34 С35 С36 |
|
Ml |
1 |
0,46 0,54 0,74 0,32 0,36 |
- - - 0,91 1,02 |
- - - - - |
0,46 0,54 0,74 1,23 1,38 |
0,22 0,22 0,22 0,22 0,22 |
0,22 0,22 0,22 0,22 0,22 |
0,17 0,17 0,17 0,17 0,17 |
0,17 0,17 0,17 0,17 0,17 |
0,39 0,39 0,39 0,39 0,39 |
0,85 0,93 1,03 1,62 1,77 |
|
|
ПО 7.45 ПО 10.45 ПО 13.45 ПО 15.45 |
С37 С38 С39 С40 |
|
- - - - |
- - - - |
0,21 0,35 0,19 0,22 |
- - 0,47 0,53 |
- - - - |
0,21 0,35 0,66 0,75 |
- - - - |
- - - - |
- - - - |
- - - - |
- - - - |
0,21 0,35 0,66 0,75 |
|
|
ПО 16.45-1 ПО 19.45-1 ПО 22.45-1 ПО 25.45-1 ПО 28.45-1 |
C41 С42 С43 С44 С45 |
|
Ml |
1 |
0,58 0,68 0,33 0,37 0,41 |
- - 0,60 0,91 - |
- - - - 1,60 |
0,58 0,68 0,93 1,28 2,01 |
0,22 0,22 0,22 0,22 0,22 |
0,22 0,22 0,22 0,22 0,22 |
0,17 0,17 0,17 0,17 0,17 |
0,17 0,17 0,17 0,17 0,17 |
0,39 0,39 0,39 0,39 0,39 |
0,97 1,07 1,32 1,67 1,40 |
|
|
ПО 22.15-2 ПО 25.15-2 ПО 28.15-2 ПО 22.20-2 ПО 25.20-2 |
С15 С14 С5 С9 С10 |
|
Ml M2 |
1 2 |
0,42 0,61 0,68 0,55 0,63 |
- - - - - |
- - - - - |
0,42 0,61 0,68 0,55 0,63 |
0,66 0,66 0,66 0,66 0,66 |
0,66 0,66 0,66 0,66 0,66 |
0,51 0,51 0,51 0,51 0,51 |
0,51 0,51 0,51 0,51 0,51 |
0,17 0,17 0,17 0,17 0,17 |
1,59 1,78 1,85 1,72 1,80 |
|
|
ПО 28.20-2 ПО 22.25-2 ПО 25.25-2 ПО 28.25-2 ПО 22.35-2 ПО 25.35-2 ПО 28.35-2 ПО 22.45-2 ПО 25.45-2 ПО 28.45-2 |
С11 С25 С26 С27 С34 С35 С36 С43 С44 С45 |
1 |
Ml М2 |
1 2 |
0,27 0,58 0,27 0,30 0,74 0,32 0,36 0,33 0,37 0,41 |
0,77 - 0,67 0,77 - 0,91 1,02 0,59 0,92 - |
- - - - - - - - - 1,60 |
1,04 0,58 0,94 1,07 0,74 1,23 1,38 0,92 1,29 2,01 |
0,66 0,66 0,66 0,66 0,66 0,66 0,66 0,66 0,66 0,66 |
0,66 0,66 0,66 0,66 0,66 0,66 0,66 0,66 0,66 0,66 |
0,51 0,51 0,51 0,51 0,51 0,51 0,51 0,51 0,51 0,51 |
0,51 0,51 0,51 0,51 0,51 0,51 0,51 0,51 0,51 0,51 |
0,17 0,17 0,17 0,17 0,17 0,17 0,17 0,17 0,17 0,17 |
2,21 1,75 2,11 2,24 1,91 2,40 2,55 2,09 2,46 3,18 |
|

Размеры арматурных сеток С1-С45
|
|
Размеры в мм |
|
||||||
|
Марка сетки |
l |
l1 |
b |
b1 |
a |
a1 |
a2 |
n |
|
С1 С2 С3 С4 С5 |
680 980 1430 2480 2780 |
500 750 1250 2250 2500 |
- |
- |
- |
- |
- |
- |
|
С6 С7 С8 С9 С10 С11 |
690 980 1430 2180 2480 2780 |
500 750 1250 2000 2250 2500 |
- |
- |
- |
- |
- |
- |
|
С12 С13 С14 C15 |
1280 1580 1880 2180 |
1000 1500 1750 2000 |
170 |
140 |
100
|
40 |
20
|
|
|
С16 C17 С18 |
1280 1580 1880 |
1000 1500 1750 |
220 |
190 |
90 |
- |
||
|
С19 С20 |
680 980 |
500 750 |
|
|
40
|
2 |
||
|
С21 |
1280 |
1000 |
|
|
200 |
- |
||
|
C22 |
1430 |
1250 |
270 |
240 |
100 |
2 |
||
|
С23 |
1580 |
1500 |
|
|
200 |
- |
||
|
С24 С25 С26 С27 |
1880 2180 2480 2780 |
1750 2000 2250 2500 |
|
|
|
2 |
||
|
С28 |
680 |
500 |
|
|
|
- |
60 |
|
|
С29 С30 С31 |
980 1280 1430 |
750 1000 1250 |
|
|
100 |
40 |
20 |
|
|
С32 С33 |
1580 1880 |
1500 1750 |
370 |
340 |
|
- |
60 |
3 |
|
С34 С35 С36 |
2180 2480 2780 |
2000 2250 2500 |
|
|
|
40
|
20
|
|
|
С37 |
680 |
500 |
|
|
200 |
2 |
||
|
С38 С39 С40 С41 С42 |
980 1280 1430 1580 1880 |
750 1000 1250 1500 1750 |
470 |
440 |
100 |
- |
60 |
4 |
|
С43 |
2180 |
2000 |
|
|
200 |
40 |
20 |
2 |
|
С44 С46 |
2480 2780 |
2250 2500 |
|
|
100 |
- |
60 |
4 |

Таблица 5
Спецификация и выборка стали на одну арматурную сетку
|
Марка сетки |
Позиция |
Эскиз стержня |
Диаметр, мм |
Длина, мм |
Количество |
Общая длина, м |
Выборка стали |
||
|
Диаметр, мм |
Масса, кг |
Масса изделия, кг |
|||||||
|
С1 |
1 2 |
- |
3Bp1 3Вр1 |
170 680 |
3 4 |
0,51 2,72 |
3Bp1 |
0,17 |
0,17 |
|
С2 |
1 2 3 |
- |
3Bp1 4Вр1 3Bp1 |
170 980 980 |
4 3 1 |
0,68 2,94 0,98 |
3Bp1 4Вр1 |
0,09 0,27 |
0,36 |
|
C3 |
1 2 3 |
- |
3Bp1 5Вр1 3Bpl |
170 1430 1430 |
6 3 1 |
1,02 4,29 1,43 |
3Bpl 5Вр1 |
0,13 0,62 |
0,75 |
|
С4 |
1 2 |
- |
3Bpl 3Bpl |
170 2480 |
10 4 |
1,70 9,92 |
3Bpl |
0,60 |
0,60 |
|
С5 |
1 2 |
- |
3Bpl 3Bpl |
170 2780 |
11 4 |
1,87 11,12 |
3Bpl |
0,68 |
0,68 |
|
С6 |
1 2 |
- |
3Bpl ЗВр1 |
220 680 |
3 4 |
0,66 2,72 |
3Bpl |
0,18 |
0,18 |
|
С7 |
1 2 3 |
|
3Bpl 4Вр1 3Bpl |
220 980 980 |
4 3 1 |
0,88 2,94 0,98 |
3Bpl 4Вр1 |
0,10 0,27 |
0,37 |
|
С8 |
1 2 3 |
- |
3Bpl 5Bp1 3Bpl |
220 1430 1430 |
6 3 1 |
1,32 4,29 1,43 |
3Bpl 6Bp1 |
0,14 0,62 |
0,76 |
|
С9 |
1 2 |
- |
3Bpl 3Bpl |
220 2180 |
9 4 |
1,98 8,72 |
3Bpl |
0,56 |
0,56 |
|
С10 |
1 2 |
- |
3Bpl 3Bpl |
220 2480 |
10 4 |
2,20 9,92 |
3Bpl |
0,63 |
0,63 |
|
С11 |
1 2 3 |
- |
3Bpl 4Bp1 3Bpl |
220 2780 2780 |
11 3 1 |
2,42 8,34 2,78 |
3Bpl 4Bp1 |
0,27 0,77 |
1,04 |
|
С12 |
1 2 3 |
- |
3Bpl 3Bpl 5Вр1 |
170 1280 1280 |
5 1 2 |
0,85 1,28 2,56 |
3Bpl 5Bp1 |
0,11 0,37 |
0,48 |
|
С13 |
1 3 |
- |
3Bpl 3Bpl |
170 1580 |
7 3 |
1,19 4,74 |
3Bpl |
0,31 |
0,31 |
|
С14 |
1 3 |
- |
3Bpl 3Bpl |
170 1880 |
8 3 |
1,36 5,64 |
3Bpl |
0,36 |
0,36 |
|
С15 |
1 2 |
- |
3Bpl 3Bpl |
170 2180 |
9 3 |
1,53 6,54 |
3Bpl |
0,42 |
0,42 |
|
С16 |
1 2 3 |
- |
3Bpl 3Bpl 5BpI |
220 1280 1280 |
5 1 2 |
1,10 1,28 2,56 |
3Bpl 5BpI |
0,12 0,37 |
0,49 |
|
С17 |
1 3 |
- |
3Bpl 3Bpl |
220 1580 |
7 3 |
1,54 4,74 |
3Bpl |
0,33 |
0,33 |
|
С18 |
1 3 |
- |
3Bpl 3Bpl |
220 1880 |
8 3 |
1,76 5,64 |
3Bpl |
0,38 |
0,38 |
|
С19 |
1 3 |
- |
3Bpl 3Bpl |
270 680 |
3 4 |
0,81 2,172 |
3Bpl |
0,18 |
0,18 |
|
С20 |
1 2 3 |
- |
3Bpl 3Bpl 4BpI |
270 980 980 |
4 1 3 |
1,08 0,98 2,94 |
3Bpl 4BpI |
0,11 0,27 |
0,38 |
|
С21 |
1 2 3 |
- |
3Bpl 3Bpl 5BpI |
270 1280 1280 |
5 1 2 |
1,35 1,28 2,56 |
3Bpl 5BpI |
0,14 0,37 |
0,51 |
|
С22 |
1 2 3 |
- |
3Bpl 3Bpl 5BpI |
270 1430 1430 |
6 1 3 |
1,62 1,43 4,29 |
3Bp1 5Bp1 |
0,16 0,62 |
0,78 |
|
С23 |
1 3 |
- |
3Bpl 3Bpl |
270 1580 |
7 3 |
1,89 4,74 |
3Bpl |
0,34 |
0,34 |
|
С24 |
1 3 |
- |
3Bpl 3Bpl |
270 1880 |
8 4 |
2,16 7,52 |
3Bpl |
0,50 |
0,50 |
|
С25 |
1 3 |
- |
3Bpl 3Bpl |
270 2180 |
9 4 |
2,43 8,72 |
3Bpl |
0,58 |
0,58 |
|
С26 |
1 2 3 |
- |
3Bpl 3Bpl 4BpI |
270 2480 2480 |
10 1 3 |
2,70 2,48 7,44 |
3Bpl 4BpI |
0,27 0,68 |
0,95 |
|
С27 |
1 2 3 |
- |
3Bpl 3Bpl 4Bp1 |
270 2780 2780 |
11 1 3 |
2,97 2,78 8,34 |
3Bpl 4BpI |
0,30 0,77 |
1,07 |
|
С28 |
1 3 |
- |
3Bpl 3Bpl |
370 680 |
3 4 |
1,11 2,72 |
3Bpl |
0,20 |
0,20 |
|
С29 |
1 3 |
- |
3Bpl 3Bpl |
370 980 |
4 5 |
1,48 4,90 |
3Bpl |
0,33 |
0,33 |
|
C30 |
1 2 3 |
- |
ЗВр1 ЗВр1 4Вр1 |
370 1280 1280 |
5 1 4 |
1,85 1,28 5,12 |
ЗВр1 4Вр1 |
0,16 0,47 |
0,63 |
|
C31 |
1 3 3 |
- |
ЗВр1 ЗВр1 4Вр1 |
370 1430 1430 |
6 1 4 |
2,22 1,43 5,72 |
ЗВр1 4Вр1 |
0,19 0,53 |
0,72 |
|
C32 |
1 3 |
- |
ЗВр1 ЗВр1 |
370 1580 |
7 4 |
2,59 6,32 |
ЗВр1 |
0,46 |
0,46 |
|
C33 |
1 3 |
- |
ЗВр1 ЗВр1 |
370 1880 |
8 4 |
2,96 7,52 |
ЗВр1 |
0,54 |
0,54 |
|
C34 |
1 3 |
- |
ЗВр1 ЗВр1 |
370 2180 |
9 5 |
3,33 10,90 |
ЗВр1 |
0,74 |
0,74 |
|
C35 |
1 2 3 |
- |
ЗВр1 ЗВр1 4Вр1 |
370 2480 2180 |
10 1 4 |
3,70 2,48 9,92 |
ЗВр1 4Вр1 |
0,32 0,91 |
1,23 |
|
C36 |
1 2 3 |
- |
ЗВр1 ЗВр1 4Вр1 |
370 2780 2780 |
11 1 4 |
4,07 2,78 11,12 |
ЗВр1 4Вр1 |
0,36 1,02 |
1,38 |
|
C37 |
1 3 |
- |
ЗВр1 ЗВр1 |
470 680 |
3 4 |
1,41 2,72 |
ЗВр1 |
0,21 |
0,21 |
|
C38 |
1 3 |
- |
3Bp1 ЗВр1 |
470 980 |
4 5 |
1,88 4,90 |
ЗВр1 |
0,35 |
0,35 |
|
C39 |
1 2 3 |
- |
ЗВр1 ЗВр1 4Вр1 |
470 1280 1280 |
5 1 4 |
2,35 1,28 5,12 |
ЗВр1 4Вр1 |
0,19 0,47 |
0,66 |
|
C40 |
1 2 3 |
- |
ЗВр1 ЗВр1 4Вр1 |
470 1430 1430 |
6 1 4 |
2,82 1,43 5,72 |
ЗВр1 4Вр1 |
0,22 0,53 |
0,75 |
|
C41 |
1 3 |
- |
ЗВр1 ЗВр1 |
470 1580 |
7 5 |
3,29 7,90 |
ЗВр1 |
0,58 |
0,58 |
|
C42 |
1 3 |
- |
ЗВр1 ЗВр1 |
470 1880 |
8 5 |
3,76 9,40 |
ЗВр1 |
0,68 |
0,68 |
|
C43 |
1 2 3 |
- |
ЗВр1 ЗВр1 4Вр1 |
470 2180 2180 |
9 1 3 |
4,23 2,18 6,54 |
ЗВр1 4Вр1 |
0,33 0,60 |
0,93 |
|
C44 |
1 2 3 |
- |
ЗВр1 ЗВр1 4Вр1 |
470 2480 2480 |
10 1 4 |
4,70 2,48 9,92 |
ЗВр1 4Вр1 |
0,37 0,91 |
1,28 |
|
C45 |
1 2 3 |
- |
ЗВр1 ЗВр1 6Вр1 |
470 2780 2780 |
11 1 4 |
5,17 2,78 11,12 |
ЗВр1 5BpI |
0,41 1,60 |
2,01 |
Таблица 6
Спецификация и выборка стали на одно закладное изделие
|
Марка изделия |
Позиция |
Эскиз стержня (размеры в мм) |
Диаметр или сечение, мм |
Длина, мм |
Количество |
Масса, кг |
Выборка стали |
||
|
Диаметр или сечение, мм |
Длина, м |
Масса, изделия, кг |
|||||||
|
Ml
М2 |
1 |
Полоса |
-60´6 |
80 |
1 |
0,17 |
-60´6 |
0,08 |
0,39
|
|
2 |
|
8AIII |
284 |
2 |
0,22 |
8AIII |
0,57 |
||
|
ГОСТЫ, СТРОИТЕЛЬНЫЕ и ТЕХНИЧЕСКИЕ НОРМАТИВЫ. Некоммерческая онлайн система, содержащая все Российские Госты, национальные Стандарты и нормативы. В Системе содержится более 150000 файлов нормативно-технической документации, действующей на территории РФ. Система предназначена для широкого круга инженерно-технических специалистов. Copyright © www.gostrf.com, 2008 - 2026 |