Крупнейшая бесплатная информационно-справочная система онлайн доступа к полному собранию технических нормативно-правовых актов РФ. Огромная база технических нормативов (более 150 тысяч документов) и полное собрание национальных стандартов, аутентичное официальной базе Госстандарта. GOSTRF.com - это более 1 Терабайта бесплатной технической информации для всех пользователей интернета. Все электронные копии представленных здесь документов могут распространяться без каких-либо ограничений. Поощряется распространение информации с этого сайта на любых других ресурсах. Каждый человек имеет право на неограниченный доступ к этим документам! Каждый человек имеет право на знание требований, изложенных в данных нормативно-правовых актах!

  


 

ГОСТ 24045-94

МЕЖГОСУДАРСТВЕННЫЙ СТАНДАРТ

ПРОФИЛИ СТАЛЬНЫЕ ЛИСТОВЫЕ ГНУТЫЕ С ТРАПЕЦИЕВИДНЫМИ ГОФРАМИ ДЛЯ СТРОИТЕЛЬСТВА

Технические условия

Межгосударственная научно-техническая комиссия по стандартизации и техническому нормированию в строительстве (МНТКС)

Москва

Предисловие

1 РАЗРАБОТАН Центральным научно-исследовательским и проектным институтом строительных металлоконструкций им. Н.П. Мельникова (ЦНИИПСК) Российской Федерации

ВНЕСЕН Минстроем России

2 ПРИНЯТ Межгосударственной научно-технической комиссией по стандартизации и техническому нормированию в строительстве (МНТКС) 17 ноября 1994 г.

За принятие проголосовали:

Наименование государства

Наименование органа государственного управления строительством

Азербайджанская Республика

Госстрой Азербайджанской Республики

Республика Армения

Госупрархитектуры Республики Армения

Республика Беларусь

Госстрой Республики Беларусь

Республика Казахстан

Минстрой Республики Казахстан

Кыргызская Республика

Госстрой Кыргызской Республики

Республика Молдова

Минархстрой Республики Молдова

Российская Федерация

Минстрой России

Республика Таджикистан

Госстрой Республики Таджикистан

Республика Узбекистан

Госкомархитектстрой Республики Узбекистан

3 Постановлением Минстроя России от 07.02.95 № 18-9 межгосударственный стандарт ГОСТ 24045-94 введен в действие непосредственно в качестве государственного стандарта Российской Федерации с 1 сентября 1995 г.

4 ВЗАМЕН ГОСТ 24045-86

ГОСТ 24045-94

МЕЖГОСУДАРСТВЕННЫЙ СТАНДАРТ

ПРОФИЛИ СТАЛЬНЫЕ ЛИСТОВЫЕ ГНУТЫЕ С ТРАПЕЦИЕВИДНЫМИ ГОФРАМИ ДЛЯ СТРОИТЕЛЬСТВА

Технические условия

Steel sheet cold-formed sections with trapezoidal
corrugations for building. Specifications

Дата введения 1995-09-01

1 Область применения

Настоящий стандарт распространяется на стальные холодногнутые листовые профили с трапециевидной формой гофра (далее - профилированные листы), изготавливаемые на профилегибочных станах и предназначенные для применения в строительстве и других отраслях промышленности.

Обязательные требования к качеству профилированных листов изложены в пунктах 3.3, 3.4, 4.3.

2 Нормативные ссылки

В настоящем стандарте использованы ссылки на следующие нормативные и технические документы.

ГОСТ 164-90 Штангенрейсмасы. Технические условия

ГОСТ 427-75 Линейки измерительные металлические. Технические условия

ГОСТ 380-88 Сталь углеродистая обыкновенного качества. Марки

ГОСТ 1050-88 Прокат сортовой, калиброванный, со специальной отделкой поверхности из углеродистой качественной конструкционной стали. Общие технические условия

ГОСТ 3749-77 Угольники поверочные 90°. Технические условия

ГОСТ 7502-89 Рулетки измерительные металлические. Технические условия

ГОСТ 7566-81 Прокат и изделия дальнейшего передела. Правила приемки, маркировки, упаковки, транспортирования и хранения

ГОСТ 9045-80 Прокат тонколистовой холоднокатаный из низкоуглеродистой качественной стали для холодной штамповки. Технические условия

ГОСТ 14918-80 Сталь тонколистовая оцинкованная с непрерывных линий. Технические условия

ГОСТ 15150-69 Машины, приборы и другие технические изделия. Исполнения для различных климатических районов. Категории, условия эксплуатации, хранения и транспортирования в части воздействия климатических факторов внешней среды

ГОСТ 15846-79 Продукция, отправляемая в районы Крайнего Севера и труднодоступные районы. Упаковка, маркировка, транспортирование и хранение

ГОСТ 16523-89 Прокат тонколистовой из углеродистой стали качественной и обыкновенного качества общего назначения. Технические условия

ГОСТ 19904-90 Прокат листовой горячекатаный. Сортамент

ГОСТ 30246-94 Прокат тонколистовой рулонный с защитно-декоративным лакокрасочным покрытием для строительных конструкций. Технические условия

СНиП 2.03.11-85 Строительные нормы и правила. Защита строительных конструкций от коррозии

ТУ 2.034-225-87. Щупы. Технические условия

ТУ 14-1-4695-89 Прокат тонколистовой холоднокатаный электролитический оцинкованный с полимерными покрытиями. Технические условия

ТУ 14-11-236-88 Прокат тонколистовой холоднокатаный алюминированный. Технические условия

ТУ 14-11-247-88 Прокат тонколистовой холоднокатаный с алюмоцинковым покрытием. Технические условия

3 Сортамент

3.1 Профилированные листы классифицируют по:

- назначению;

- материалу исходной заготовки;

- наличию защитно-декоративного лакокрасочного покрытия.

3.1.1 По назначению профилированные листы подразделяют на типы:

Н - для настила покрытий;

НС - для настила и стеновых ограждений;

С - для стеновых ограждений.

3.1.2 По материалу исходной заготовки профилированные листы подразделяют:

- на листы из тонколистового оцинкованного проката по ГОСТ 14918 (без обозначения);

- на листы из тонколистового проката с алюмоцинковым покрытием по ТУ 14-11-247-88 (обозначение АЦ);

- на листы из тонколистового алюминированного проката и проката с алюмокремниевым покрытием по ТУ 14-11-236-88 (обозначение А и АК);

- на листы из тонколистового проката с электролитическим цинковым покрытием по ТУ 14-1-4695-89 (обозначение ЭОЦП).

3.1.3 По наличию защитно-декоративного лакокрасочного покрытия профилированные листы подразделяют:

- на листы без лакокрасочного покрытия (без обозначения);

- на листы с лакокрасочным покрытием по ГОСТ 30246 (указывается обозначение лакокрасочных материалов).

3.2 Схемы и примеры условных обозначений профилированного листа приведены в приложении А.

3.3 Форма, размеры, площадь сечения, масса 1 м длины, справочные величины на 1 м ширины профилированных листов и масса 1 м должны соответствовать указанным на рисунках 1-9 и в таблицах 1-8.

(Поправка, ИУС 4-96).

3.4 Профилированные листы по длине должны изготовляться:

- кратной (250 мм) мерной длины от 3 до 12 м - для настила (типов Н и НС);

- кратной (300 мм) мерной длины от 2,4 до 12 м - для стеновых ограждений (типов НС и С).

По согласованию изготовителя и потребителя допускается изготовлять профилированные листы любой мерной длины, а также длиной менее 3 и более 12 м для настила.

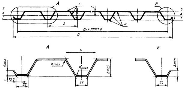
Рисунок 1 - Профилированный лист типа Н высотой 57 и 60 мм


Таблица 1

Обозначение профилированного листа

Размеры сечения, мм

Площадь сечения А, см2

Масса 1м длины, кг

Справочные величины на 1 м ширины

Масса 1 м2, кг

Ширина заготовки, мм

h

B1

t

B

b

b1

b2

b3

b4

b5

b6

h1, не менее

h2

R, не более

S

при сжатых узких полках

при сжатых широких полках

момент инерции, Ix, см4

момент сопротивления, см3

момент инерции, Ix, см4

момент сопротивления, см3

Wx1

Wx2

Wx1

Wx2

Н57-750-0,6

57

750

0,6

801

94,5

44

42

20

93

46,5

18

10

7

4

187,5

6,6

5,6

46,2

12,0

18,0

46,2

13,8

15,9

7,5

1100

Н57-750-0,7

0,7

7,7

6,5

53,8

14,8

21,1

53,8

16,4

19,7

8,7

Н57-750-0,8

0,8

8,8

7,4

61,2

17,9

24,4

61,2

18,9

24,0

9,8

Н60-845-0,7

60

845

0,7

902

89,5

50

47

22

122

61

16

14

5

3,5

211,2

8,8

7,4

62,1

14,6

24,4

59,1

16,5

18,7

8,8

1250

Н60-845-0,8

0,8

10,0

8,4

70,6

17,7

28,1

69,9

19,0

22,7

9,9

Н60-845-0,9

0,9

11,3

9,3

79,0

20,9

31,8

78,7

21,5

27,0

11,1


Рисунок 2 - Профилированный лист типа Н высотой 75 мм

Таблица 2

Обозначение профилированного листа

t, мм

Площадь сечения А, см2

Масса 1 м длины, кг

Справочные величины на 1 м ширины

Масса 1 м, кг

Ширина заготовки, мм

при сжатых узких полках

при сжатых широких полках

момент инерции, Ix, см4

момент сопротивления, см3

момент инерции, Ix, см4

момент сопротивления, см3

Wx1

Wx2

Wx1

Wx2

Н75-750-0,7

0,7

8,8

7,4

104,5

22,5

29,1

104,5

25,6

28,1

9,8

1250

Н75-750-0,8

0,8

10,0

8,4

114,9

25,8

32,2

114,9

28,5

33,1

11,2

Н75-750-0,9

0,9

11,3

9,3

129,6

30,2

37,6

129,6

31,6

38,0

12,5

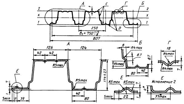
Рисунок 3 - Профилированный лист типа Н высотой 114 мм, шириной 600 мм

________________

* Размер технологический, а ³ 0.

Рисунок 4 - Профилированный лист типа Н высотой 114 мм, шириной 750 мм

________________

* Размер технологический, а ³ 0.

Таблица 3

Обозначение профилированного листа

t, мм

Площадь сечения А, см2

Масса 1 м длины, кг

Справочные величины на 1 м ширины

Масса 1 м, кг

Ширина заготовки, мм

при сжатых узких полках

при сжатых широких полках

момент инерции, Ix, см4

момент сопротивления, см3

момент инерции, Ix, см4

момент сопротивления, см3

Wx1

Wx2

Wx1

Wx2

Н114-600-0,8

0,8

10,0

8,4

320,9

53,3

59,7

320,9

52,4

55,8

14,0

1250

Н114-600-0,9

0,9

11,3

9,3

361,0

60,0

67,2

361,0

59,6

65,9

15,6

Н114-600-1,0

1,0

12,5

10,3

405,4

67,6

75,0

405,4

67,6

75,0

17,2

Н114-750-0,8

0,8

11,2

9,4

307,9

51,2

57,1

307,9

51,2

57,1

12,5

1400

Н114-750-0,9

0,9

12,6

10,5

345,2

57,4

64,0

345,2

57,4

64,0

14,0

Н114-750-1,0

1,0

14,0

11,7

383,6

63,8

71,1

383,6

63,8

71,1

15,4

Рисунок 5 - Профилированный лист типа НС высотой 35 мм

Таблица 4

Обозначение профилированного листа

t, мм

Площадь сечения А, см2

Масса 1 м длины, кг

Справочные величины на 1 м ширины

Масса 1 м, кг

Ширина заготовки, мм

при сжатых полках по оси 2 - 2

при сжатых полках по оси 1 - 1

момент инерции, Ix, см4

момент сопротивления, см3

момент инерции, Ix, см4

момент сопротивления, см3

Wx1

Wx2

Wx1

Wx2

НС35-1000-0,6

0,6

7,5

6,4

14,92

8,56

8,27

15,41

9,25

8,4

6,4

1250

НС35-1000-0,7

0,7

8,75

7,4

17,36

9,95

9,58

17,87

10,73

9,74

7,4

НС35-1000-0,8

0,8

10,0

8,4

19,89

11,44

10,92

20,25

12,16

11,04

8,4

Рисунок 6 - Профилированный лист типа НС высотой 44 мм

________________

* Размер технологический, а ³ 0.

Таблица 5

Обозначение профилированного листа

t, мм

Площадь сечения А, см2

Масса 1 м длины, кг

Справочные величины на 1 м ширины

Масса 1 м, кг

Ширина заготовки, мм

при сжатых узких полках

при сжатых широких полках

момент инерции, Ix, см4

момент сопротивления, см3

момент инерции, Ix, см4

момент сопротивления, см3

Wx1

Wx2

Wx1

Wx2

НС44-1000-0,7

0,7

9,8

8,3

32,9

13,4

16,8

32,9

13,0

13,6

8,3

1400

HС44-1000-0,8

0,8

11,2

9,4

37,66

15,41

19,25

37,66

15,07

16,76

9,4

Рисунок 7 - Профилированный лист типа С высотой 10 и 18 мм

________________

* Размер технологический, а ³ 0.

Таблица 6

Обозначение профилированного листа

Размеры сечения, мм

Площадь сечения А, см2

Масса 1 м длины, кг

Справочная величина - момент инерции на 1 м ширины при сжатых широких полках, Ix, см4

Масса 1 м2, кг

Ширина заготовки, мм

В

В1

t

n

С10-899-0,6

С10-899-0,7

918

899

0,6

0,7

9

6,0

7,0

5,1

5,9

0,81

0,97

5,7

6,6

1000

С10-1000-0,6

С10-1000-0,7

1022

1000

0,6

0,7

10

6,6

7,7

5,6

6,5

0,80

0,98

5,6

6,5

1100

С18-1000-0,6

С18-1000-0,7

1023

1000

0,6

0,7

10

7,5

8,8

6,4

7,4

3,04

3,59

6,4

7,4

1250

Рисунок 8 - Профилированный лист типа С высотой 15 мм

________________

* Размер технологический, а ³ 0.

Таблица 7

Обозначение профилированного листа

Размеры сечения, мм

Площадь сечения А, см2

Масса 1 м длины, кг

Справочная величина - момент инерции на 1 м ширины при сжатых широких полках, Ix, см4

Масса 1 м2, кг

Ширина заготовки, мм

В

В1

t

n

С15-800-0,6

940

800

8

0,6

6,6

5,60

2,10

6,0

1100

С15-800-0,7

0,7

7,7

6,55

2,55

6,9

С15-1000-0,6

1018

1000

10

0,6

7,5

6,4

2,80

6,4

1250

С15-1000-0,7

0,7

8,7

7,4

3,00

7,4

Рисунок 9 - Профилированный лист типа С высотой 21 и 44 мм


Таблица 8

Обозначение профилированного листа

Размеры сечения, мм

Площадь сечения А, см2

1 м длины, кг

Справочные величины на 1 м ширины

Масса 1 м, кг

Ширина заготовки, мм

при сжатых узких полках

при сжатых широких полках

h

B

b

R

S

t

момент инерции, Ix, см4

момент сопротивления, см3

момент инерции, Ix, см4

момент сопротивления, см3

Wx1

Wx2

Wx1

Wx2

С21-1000-0,6

21

1051

65

5

100

0,6

7,5

6,4

5,49

4,83

4,96

5,46

5,24

4,51

6,4

1250

С21-1000-0,7

0,7

8,75

7,4

6,32

6,07

5,81

6,28

6,14

5,66

7,4

С44-1000-0,7

44

1047

100

10

200

0,7

8,8

7,4

25,4

9,3

15,2

20,7

8,3

8,5

7,4


Примечания к таблицам 1 - 8.

1. При вычислении массы плотность стали принята равной 7,85 г/см3; масса цинкового покрытия, нанесенного на 1 м2 с двух сторон листа, принята равной 414 г. Масса лакокрасочного покрытия не учитывалась.

2. Данные по геометрическим характеристикам профилей (моменты инерции и сопротивления) являются справочными и получены, допуская рабочую ширину (bp) плоских участков сжатых полок равной: bp = 40t при определении моментов сопротивления; bp = 60t при определении моментов инерции.

3. Справочные величины на 1 м ширины получены делением расчетных характеристик на ширину B1. Масса 1 м2 получена делением массы 1 м длины на ширину B1.

4 Технические требования

4.1 Требования к исходным материалам

4.1.1 Профилированные листы без лакокрасочных покрытий всех типов должны изготовляться из тонколистового холоднокатаного проката, приведенного в таблице 9.

Таблица 9

Наименование материала исходной заготовки для профилирования

Характеристика покрытия и условные обозначения материала

Марка сталей, требования к сортаменту

1. Сталь тонколистовая оцинкованная с непрерывных линий по ГОСТ 14918

I класс толщины цинкового покрытия, нормальной разнотолщинности НР, групп ХП и ПК, нормальной точности прокатки по толщине БТ и ширине БН, нормальной плоскостности ПН с обрезной кромкой О:

08пс по ГОСТ 9045, 08, 08пс по ГОСТ 1050, Ст1, Ст2, Ст3 всех способов раскисления по ГОСТ 380.

Сортамент по ГОСТ 19904

2. Прокат тонколистовой холоднокатаный с алюмоцинковым покрытием по ТУ 14-11-247-88

Покрытие АЦ, по массе - класса 170, по виду - с обычной кристаллизацией Кр или дрессированное Др, по назначению - групп 230, 260:

АЦ 170-Кр-230 ТУ 14-11-247-88

То же

3. Прокат тонколистовой холоднокатаный алюминированный по ТУ 14-11-236-88

Покрытие алюминиевое А или алюмокремниевое АК, по массе - класса 150, по назначению - группы 230:

А (АК) 150-230 ТУ 14-11-236-88

-"-

4. Прокат тонколистовой холоднокатаный электролитически оцинкованный по ТУ 14-1-4695-89

Марка ЭОЦ, 1-й класс покрытия, нормальной точности прокатки по толщине БТ и ширине БН, нормальной плоскостности ПН:

08кп, 08пс, 10кп по ГОСТ 1050; 08кп, 08пс по ГОСТ 9045.

Сортамент - по ГОСТ 19904

Примечание - Применение материалов исходной заготовки 1-4, а также с другими покрытиями выбирается потребителем в зависимости от условий эксплуатации конструкций.

Допускается применять прокат, получаемый по импорту, показатели качества которого соответствуют требованиям соответствующих нормативных документов.

4.1.2 Профилированные листы с лакокрасочными покрытиями должны изготовляться из проката с защитно-декоративным лакокрасочным покрытием для строительных конструкций по ГОСТ 30246.

4.1.3 Материал лакокрасочного покрытия, его толщина, цвет должны соответствовать ГОСТ 30246 и устанавливаются по согласованию изготовителя с потребителем.

Основные лакокрасочные материалы, применяемые для покрытия профилированных листов, и условия их применения приведены в приложении Б.

4.2 Требования к защитным покрытиям

4.2.1 Качество покрытия (цинкового, алюмоцинкового, алюмокремниевого, алюминиевого), профилированных листов должно удовлетворять требованиям нормативных документов на материал исходной заготовки для профилирования.

4.2.2 Качество лакокрасочного покрытия профилированных листов должно удовлетворять требованиям ГОСТ 30246.

4.2.3 На поверхности цинкового, лакокрасочного покрытий допускаются потертости, риски, следы формообразующих валков, не нарушающие сплошность покрытия.

4.3 Требования к геометрической точности

4.3.1 Предельные отклонения размеров всех типов профилей не должны превышать указанных в таблице 10.

4.3.2 Предельные отклонения по толщине профилированных листов должны соответствовать предельным отклонениям по толщине заготовки нормальной точности прокатки по ГОСТ 19904 без учета толщины покрытия. Предельные отклонения не распространяются на отклонения по толщине в местах изгиба.

Таблица 10

В миллиметрах

Высота профиля

Предельные отклонения

по высоте

по ширине

по длине

От 10 до 20 включ.

± 1,0

 

 

Св. 20 до 60 включ.

± 1,5

± 8,0

 

Св. 60 до 75 включ.

± 2,0

 

+10,0

Св. 75 до 114 включ.

± 2,5

+15,0

-8,0

 

Примечания.

1. По согласованию изготовителя с потребителем отклонение по длине вышеуказанного предела браковочным признаком не является.

2. Размеры шага, ширины, радиусов кривизны и глубины гофров, высоты ступенек на готовых профилях не контролируются.

4.3.3 Разность ширины крайних узких полок гофров профилированных листов должна быть не менее 2 мм.

На плоской части более узких полок рекомендуется производить маркировку в виде продольного зига, окраски или другими способами.

4.3.4 Серповидность профилированных листов не должна превышать 1 мм на 1 м длины при длине профилей до 6 м и 1,5 мм на 1 м длины при длине профилей более 6 м. Общая серповидность не должна превышать произведения допускаемой серповидности на 1 м на длину листа в метрах.

4.3.5 Волнистость на плоских участках профилированных листов не должна превышать 1,5 мм, а на отгибах крайних полок - 3 мм.

4.3.6 Косина резов профилированных листов не должна выводить длину листов за номинальный размер и предельное отклонение по длине.

4.4 Комплектность

4.4.1 В комплект поставки должны входить:

- профилированные листы одного типоразмера, материала исходной заготовки, вида лакокрасочного покрытия;

- крепежные изделия (по согласованию потребителя с изготовителем);

- документ на отгружаемую продукцию.

4.5 Маркировка

4.5.1 Маркировка профилированных листов - по ГОСТ 7566.

4.5.2 Маркировку наносят на ярлык, который крепят к пакету.

Маркировка должна содержать:

- наименование или товарный знак предприятия-изготовителя;

- условное обозначение профилированного листа;

- длину и количество профилированных листов в пакете;

- теоретическую массу пакета;

- номер пакета и партии;

- клеймо технического контроля предприятия-изготовителя.

4.6 Упаковка

4.6.1 Упаковку производят по чертежам предприятия-изготовителя, утвержденным в установленном порядке. Упаковка должна обеспечить сохранность профилированных листов и защитного покрытия от механических повреждений, а также от смещения листов в пакете относительно друг друга.

4.6.2 Упаковка профилированных листов, предназначенных для экспорта, должна соответствовать нормативной документации, утвержденной в установленном порядке, и контракту.

При отгрузке профилей в районы Крайнего Севера и труднодоступные районы упаковка должна производиться в соответствии с ГОСТ 15846.

5 Правила приемки

5.1 Приемку профилированных листов производят партиями.

Партией считают листы одного типоразмера, изготовленные из заготовок одной партии. Допускается формирование партий из листов, изготовленных из заготовок разных партий одного предприятия-изготовителя.

Масса партии не должна превышать 75 т. Партия должна состоять из пакетов. Масса пакета не должна превышать 10 т.

5.2 Для контроля показателей качества на соответствие требованиям 4.2.3 и 4.3 отбирают по одному верхнему листу из каждого пакета одной партии профилированных листов.

Допускается для контроля отбирать по одному листу из первого и последнего пакетов одной партии, если установленные показатели качества обеспечиваются технологией производства.

5.3 Партию считают принятой, если показатели качества соответствуют требованиям настоящего стандарта.

5.4 При получении неудовлетворительных результатов контроля хотя бы по одному из показателей качества, по нему проводят повторный контроль на удвоенном количестве профилированных листов, отобранных от той же партии.

Если при повторной проверке окажется хотя бы один лист, не удовлетворяющий требованиям настоящего стандарта, то всю партию подвергают поштучной приемке.

5.5 Каждая партия отгружаемой продукции должна сопровождаться документом, содержащим:

- наименование или товарный знак предприятия-изготовителя;

- наименование потребителя;

- номер заказа;

- номер партии;

- условное обозначение профилированного листа;

- данные о количестве и номера пакетов с указанием теоретической массы каждого пакета;

- данные об общей теоретической массе профилированных листов в партии;

- штамп технического контроля предприятия-изготовителя.

6 Методы контроля

6.1 Марка, свойства, толщина проката, а также качество лакокрасочного покрытия исходной заготовки должны быть удостоверены документом о качестве предприятия-изготовителя заготовки.

6.2 Качество поверхности металлического и лакокрасочного покрытия профилированных листов определяют визуально.

6.3 Размеры профилированных листов контролируют рулеткой по ГОСТ 7502, металлической линейкой по ГОСТ 427, штангенрейсмасом по ГОСТ 164. Ширину и высоту листов измеряют на расстоянии от 40 до 500 мм, длину - по двум сторонам.

6.4 Серповидность по ребру гофра и волнистость профилированных листов проверяют поверочной линейкой длиной 1 м по ГОСТ 8026 и набором щупов по ТУ 2.034-225-87.

Общую серповидность определяют с помощью струны, закрепленной на плоской горизонтальной поверхности, и линейки по ГОСТ 427.

6.5 Косину резов профилированных листов измеряют линейкой по ГОСТ 427 и угольником по ГОСТ 3749, установленным по крайнему гофру профиля.

6.6 За результат измерения размеров по 6.3 - 6.5 принимают среднее значение, полученное при трех замерах в одном сечении или по одной линии, при этом результаты каждого измерения должны находиться в пределах нормируемых допусков.

6.7 Для контроля продольных стыков профилированных листов каждого типа в соответствии с требованиями 4.3.3 периодически, не реже одного раза в квартал, проводится контрольная сборка.

Сборка должна осуществляться свободно, без дополнительных механических воздействий, при этом крайние узкие полки накладывают внахлест на более широкие крайние полки.

6.8 Размеры и форму профилированных листов допускается контролировать другими средствами измерения, утвержденными в установленном порядке и обеспечивающими необходимую точность измерения.

7 Транспортирование и хранение

7.1 Профилированные листы перевозят транспортом всех видов в соответствии с правилами перевозки и условиями погрузки и крепления грузов, действующими на транспорте данного вида.

7.2 Пакеты при транспортировании и хранении должны быть уложены на деревянные или из другого материала подкладки одинаковой толщины не менее 50 мм, шириной не менее 150 мм и длиной больше габаритного размера пакета не менее чем на 100 мм, расположенные не реже чем через 3 м.

Пакеты при транспортировании должны быть закреплены и надежно предохранены от перемещения.

7.3 При транспортировании и хранении пакеты должны быть размещены в один ярус.

Допускается размещение транспортируемых и хранимых пакетов в два и более яруса при условии, что масса 1 м2 всех профилей, расположенных над нижним профилем, не должна превышать 3000 кг/м2.

7.4 Условия транспортирования профилированных листов при воздействии климатических факторов должны соответствовать условиям 7, хранения - условиям 3 по ГОСТ 15150.

Приложение А
(обязательное)

Схема и примеры условных обозначений профилированного листа

1 - тип профилированного листа (3.1.1); 2 - размеры в миллиметрах (высота h, ширина B1 и толщина t); 3 - материал исходной заготовки (3.1.2); 4 - обозначение лакокрасочного покрытия листа по поверхности С (3.1.3, черт. 1-9); 5 - обозначение лакокрасочного покрытия листа по поверхности Д (3.1.3, рис. 1-9); 6 - обозначение настоящего стандарта

Примеры условных обозначений

Профилированный лист типа Н высотой 57 мм, шириной 750 мм, толщиной 0,8 мм, имеющий лакокрасочное покрытие эмалью МЛ-1202 по поверхности С и лакокрасочное покрытие эмалью МЛ-1203 по поверхности Д, изготовленный из проката с алюмоцинковым покрытием:

Н57-750-0,8 АД МЛ-1202/МЛ-1203 ГОСТ 24045-94

То же, имеющий лакокрасочное покрытие краской ОД-ХВ-221 по поверхности С и без лакокрасочного покрытия поверхности Д, изготовленный из алюминированного проката:

Н57-750-0,8 АЛ ОД-ХВ-221/ ГОСТ 24045-94

То же, без лакокрасочного покрытия, изготовленный из оцинкованного проката:

Н57-750-0,8 ГОСТ 24045-94

Приложение Б
(справочное)

Основные лакокрасочные материалы для покрытия профилированных листов и условия их применения

Системы лакокрасочных покрытий

Степень агрессивного воздействия среды при материале покрытия заготовки

Наименование и обозначение материала покрывного слоя

Обозначение грунтовки

Толщина покрытия, мкм

цинковое

алюмоцинковое

алюминиевое

Без покрытия

-

-

А

В*

В*

Эмаль ГФ-2107

-

10-12

А

В*

В*

Полиэфирсиликоновые эмали МЛ-1202

ЭП-0200

25-34

В

В

В

Акрилсиликоновые эмали АС-1171, АС-5122

ЭП-0200

25-30

В

В

В

Органодисперсные краски ОД-ХВ-221

АК-0138

40-50

В

В

В

Эпоксидная грунтовка ЭП-0140

-

70-80

В

В

В

Полихлорвиниловые пластикаты ПЛ-ХВ-122

АК-0138

180-220

В

С*

С*

* Применяется с ограничениями при строго определенном сочетании факторов, определяющих коррозионную агрессивность среды, в соответствии с рекомендациями компетентных организаций.

Обозначения степеней агрессивного воздействия среды по СНиП 2.03.11, принятые в таблице:

- неагрессивная - А;

- слабоагрессивная - В;

- среднеагрессивная - С.

 

 

Ключевые слова: профили холодногнутые, гофры трапециевидные, строительство

 

СОДЕРЖАНИЕ

1 Область применения. 1

2 Нормативные ссылки. 2

3 Сортамент. 2

4 Технические требования. 10

4.1 Требования к исходным материалам.. 10

4.2 Требования к защитным покрытиям.. 10

4.3 Требования к геометрической точности. 11

4.4 Комплектность. 11

4.5 Маркировка. 11

4.6 Упаковка. 11

5 Правила приемки. 12

6 Методы контроля. 12

7 Транспортирование и хранение. 13

Приложение А Схема и примеры условных обозначений профилированного листа. 13

Приложение б Основные лакокрасочные материалы для покрытия профилированных листов и условия их применения. 13

 

 




ГОСТЫ, СТРОИТЕЛЬНЫЕ и ТЕХНИЧЕСКИЕ НОРМАТИВЫ.
Некоммерческая онлайн система, содержащая все Российские Госты, национальные Стандарты и нормативы.
В Системе содержится более 150000 файлов нормативно-технической документации, действующей на территории РФ.
Система предназначена для широкого круга инженерно-технических специалистов.

Рейтинг@Mail.ru Яндекс цитирования

Copyright © www.gostrf.com, 2008 - 2026